Виды технического обслуживания и ремонта электровоза

  • Вид работы:
    Контрольная работа
  • Предмет:
    Транспорт, грузоперевозки
  • Язык:
    Русский
    ,
    Формат файла:
    MS Word
    347,88 kb
  • Опубликовано:
    2011-08-21
Вы можете узнать стоимость помощи в написании студенческой работы.
Помощь в написании работы, которую точно примут!

Виды технического обслуживания и ремонта электровоза












Контрольная работа

Виды технического обслуживания и ремонта электровоза

Введение

Для обеспечения заданных объемов перевозки грузов и пассажиров ТПС должен содержатся в технически исправном состоянии, это условие зависит от следующих факторов:

надежность конструкции;

грамотная эксплуатация;

правильная организация системы технического обслуживания и ремонта ТПС.

В настоящее время для поддержания ТПС в технически исправном состоянии и в должном культурном виде применяются планово-предупредительная система организации ТО и ремонта, утвержденная указанием ОАО РЖД №13284 от 24.07.2001 г. и дополненное указанием начальника Забайкальской железной дороги №413/4 от 19.06.2003 г.

Для поддержания ТПС в технически исправном состоянии производятся следующие виды ТО и ремонтов:

ТО-1 - выполняется локомотивными бригадами в объеме служебного ремонта.

ТО-2 - производится в пунктах ПТОЛ, слесарями комплексных бригад.

ТО-3 - выполняется только для тепловозов и мотор-вагонного подвижного состава.

ТО-1 и ТО-2 служат для предупреждения, появления неисправностей, поддержания электровозов в работоспособном состоянии и надлежащем санитарно-гигиеническом состоянии, обеспечение бесперебойной безотказной работы и пожарной безопасности.

ТО-4 выполняется специализированными работниками, которые производят обточку бандажей колесных пар без выкатки их из под ТПС с целью поддержания оптимальной величины проката и толщины гребней бандажа.

ТО-5 - выполняется в процессе подготовки электровоза для постановки в запас МПС и длительного содержания в резерве железной дороги.

В процессе подготовки электровоза к эксплуатации после постройки, ремонта на заводах или в других депо, в процессе подготовки электровоза к эксплуатации перед выдачей из запаса МПС, тоже производят ТО-5.

ТР и ТРС - служат для выявления неисправностей и их устранения в депо, восстановления основных эксплуатационных характеристик и работоспособности электровозов.

СР - проводится демонтаж с ревизией, модернизацией отдельных узлов. Выполняется на стойлах депо приписки электровозов комплексными и специализированными бригадами. Производятся работы по подъему и опусканию кузова, ремонтом тележек, сборки и разбором колесно-моторных блоков, а также осуществляется ревизия и ремонт деталей и узлов, требующих ремонта, но не ремонтируемых на этом виде технического ремонта.

КР - является главным средством оздоровления ЭПС и предусматривают восстановление несущих конструкций кузова, сложный ремонт рамы тележек, колесных пар и зубчатых передач, вспомогательных машин, восстановление геометрических параметров деталей до чертежных размеров и т.д.

КРП предназначен для восстановления эксплуатационных характеристик, исправности и полного восстановления ресурса всех агрегатов, узлов и деталей, включая базовые, полной замены проводов и кабелей, а также модернизации ЭПС.

Таблица 1

Нормы межремонтных периодов ТПС

Виды и серии ТПС

Нормативы межремонтных периодов, тыс.км


Техническое обслуживание

Текущий  ремонт

Средний ремонт

Капит. ремонт


ТО-2

ТО-3

ТР

ТРС

ТРЗ

СР

КРП

ВЛ-80 в/и

72 час.

-

24

220

440

600

3000/ 2400

ВЛ-65

48 час.

-

24

200

600

600

2400

ВЛ-60

ТО-2

ТО-3

ТР-1

ТР-2

ТР-3

КР-1

-


48

-

18

180

360

720

-


Продолжительность ТО и ТР электровоза ВЛ-80 2-х секционного:

ТО-2 - в течение 1-го часа

ТО-4 - 48 часов

ТР - 34 часа

ТРЗ - 7,5 суток

СР - 8,5 суток

Локомотивы могут подаваться в депо для выполнения технического обслуживания и ремонта с отклонением пробега ±20%, судя по техническому состоянию ТПС, исходя из этого составляются месячные, квартальные и годовые планы выполнения ТО и ремонтов.

Ремонтные пункты

Локомотивные депо делятся на основные и оборотные. Основные депо имеют приписной парк локомотивов для обслуживания грузовых и пассажирских поездов для производства осмотра и ремонта, экипировочные устройства, ремонтные цеха.

В оборотном депо производят ТО-1 и ТО-2, экипировку локомотивов и обслуживание поездов. Оборотное депо имеет цеха со стойлами, которые оборудованы: смотровыми канавами, оборудованными освещением, с повышенным уровнем полов, повышенными платформами.

Основные депо служат для производства ТО-4, ТО-5 и всех видов ремонта. Выполняются на специальных стойлах, которые оборудованы подобно цехам технического обслуживания оборотных депо с добавлением различных подъемно-опускных и подъемно-транспортных средств механизации, а также станками КЖ-20М для производства ТО-4. Цех среднего ремонта располагается в отдельном корпусе и рассчитан на программу ремонта до 300 единиц в год.

Методы ремонта

Методы ремонта могут быть индивидуальными и агрегатными.

Индивидуальный метод - это когда оборудование, снятое с электровоза, после ремонта устанавливается на тот же электровоз. При увеличении программы ремонта увеличиваются нормы простоя, поэтому более выгодным становится агрегатный метод.

При агрегатном методе с локомотива снимают узла и агрегаты и направляют их для ремонта в соответствующие отделения или цеха депо, а взамен получают заранее отремонтированные узлы и агрегаты. Агрегатный метод позволяет сократить простои локомотивов в ремонте, выпускать локомотивы из ремонта по графику, увеличить на существующих площадях программу ремонта.

Основными условиями агрегатного метода являются: взаимозаменяемость агрегатов, узлов, деталей локомотивов и наличие их оборотного фонда. Включение в оборотный фонд при ТР-3 крупных узлов: тележек, КМБ, тяговых трансформаторов и других крупных агрегатов привело к значительному простою локомотивов снизились в ремонте, позволило повысить пропускную способность ремонтных стойл. Специализация и концентрация ремонта локомотивов при выполнении ТР-3 и ТРС позволяет более эффективно применять крупно-агрегатный и поточный метод ремонта с использованием поточных линий по ремонту и сборке узлов и агрегатов. При крупно-агрегатном поточном методе организуется ремонт кузова, тележек эл.машин и других узлов по потоку с перемещением их по отдельным ремонтным позициям. При крупно-агрегатном методе отдельные узлы и агрегаты заранее ремонтируются и монтируются в комплект, например, полностью собирается рама тележки, которая подкатывается под кузов вместо выкаченных для ремонта.

Одной из наиболее эффективных форм организации ремонта ТПС является поточное производство, сущность которого состоит в том, что ремонтируемые узлы и детали перемещаются по установленному маршруту в соответствии с технологической последовательностью операций в заранее рассчитанных темпах. Как правило, поточное производство отличается высокой степенью механизации, автоматизации технического оборудования, оснастки его транспортными устройствами, а также специализации рабочих мест.

электровоз железнодорожный локомотивный электромагнитный контактор

Назначение, конструкция и техническая характеристика сборочной единицы

Электромагнитный контактор предназначен для управления вспомогательными цепями и цепями управления с помощью блокировочных контактов.

Электромагнитные контакторы по конструкции делятся на две группы: контакторы с прямоходной контактной системой типа МК-64, МК-69, МК-116, все они по конструкции аналогичны, контакторы второй группы с поворотной контактной системой типа: МК-82, МК-85, МК-96 также по своей конструкции аналогичны.

Контактор состоит из трех основных узлов:

. Электромагнитный привод

. Электромагнитная система дугогашения контактной системы

. Блокировочное устройство

Основу электромагнитного привода составляет П-образная скоба, на которой смонтированы все узлы и детали аппарата: в окне скобы на призме установлен якорь, удерживаемый специальными накладками. К скобе болтом прикреплена втягивающая катушка. Контакторы снабжены системой электромагнитного дугогашения, состоящей из дугогасительной катушки и дугогасительной камеры с полюсами. Вся система смонтирована на изоляционном основании.

Неподвижный контакт, подвижный контакт, гибкий шунт и на шину. Изоляционный кронштейн при помощи тяги переключит блокировочное устройство. При снятии напряжения с катушки контактора якорь под действием пружины повернется изоляционный кронштейн переместит подвижный контакт, размыкая его с неподвижным. Между ними возникает дуга, магнитным потоком дугогасительной катушки она выдуется в дугогасительную камеру, где гасится.

Таблица 2

Техническая характеристика электромагнитного контактора МК

Параметры

МК 96

Номинальное напряжение главной цепи, В Номинальный ток главной цепи, А Номинальное напряжение цепи управления и вспомогательной цепи, В Тип и количество силовых контактов Разрыв контактов, мм Провал контактов, мм Нажатие КГС начальное  конечное Число и тип блокировочных контактов Раствор блокировочных контактов, мм Провал блокировочных контактов, мм Сопротивление активное катушки Ом t 20 С

380 150 50 1 замыкающиеся 15±2 м 3±1 1,6±0,3 1,9±0,3 2 замыкающих 6 3 43,78



Магнитный контактор МК 96 состоит из:

. П-образная скоба (стальная)

. Якорь (стальной)

. Изолированная планка (пластическая масса)

. Регулировочные пластины

. Дугогасительная камера (асбесто-цементная)

. Неподвижный контакт (медь)

. Подвижный контакт (медь)

. Электрическая блокировка

. Регулировочная шайба

. Включающая катушка (4300 витков, д. провода 0,55 мм, ПТТВ)

. Отключающая пружина (сталь)

Условия работы сборочной единицы на ТПС, характерные неисправности

Электромагнитные контакторы работают в тяжелых условиях, которые связаны со значительными механическими неисправностями, возникающих вследствие ударов, вибрации, инерционной силы и воздействие электрического тока. Постоянные включения и выключения под нагрузкой способствуют возникновению дуги, которая ведет к пригоранию контактов, выгоранию дугогасительной камеры. Повышенная температура совместно с атмосферным воздействием крайне ухудшают условия работы контактора.

Таблица 3

Характерные неисправности и причины их возникновения

Наименование неисправности

Причины их возникновения

1. Износ контактов

Трение между контактами

2. Подгар контактов

Электрическая дуга, плохое соприкосновение контактов, недостаточное нажатие контактов

3. Выгорание и оплавление рабочей поверхности контактов

Электрическая дуга между контактами

4. Оплавление дугогасительной катушки

Электрическая дуга

5. Обратное выдувание электрической дуги

Неправильное вкл. дугогасительной катушки

6. Обрыв включающих катушек

Вследствие механического воздействия при обслуживании и из-за межвиткового и короткого замыкания

7. Межвитковое замыкание

Воздействие недопустимо большого тока, ускоренное старение изоляции, вследствие температуры и влажности

8. Пробой изоляции на корпус

Воздействие большого напряжения, старение изоляции, высокая температура, влажность

9. Ослабление крепления кабелей и гибкого шунта

Вибрация, возникающая в процессе эксплуатации

10. Распайка крепления кабелей и гибкого шунта

Высокая температура

11. Износ и обрыв соединительных шунтов

Циклические нагрузки

Неправильный монтаж контактора

13. Трещины на стенке дугогасительной камеры

Механическое воздействие

14. Нагар на стенках и деиновых решетках дугогасительной камеры

Воздействие электрической дуги

15. Выгорание стенок дугогасительной камеры

Воздействие электрической дуги

16. Нечеткость включения

Неправильная полярность при подключении

17. Трещины и излом изоляционных планок

Статические нагрузки и воздействие динамических сил

18. Неправильное прилегание якоря

Износ и деформация шарниров, возникающая в процессе эксплуатации

19. Недостаточное контактное нажатие

Потеря упругости пружин

20. Раствор не соответствует норме

Износ контактов, неправильная регулировка контактора

21. Провал не соответствует норме

Износ контактов, неправильная регулировка

22. Потеря упругости у пружин

Старение металла (усталость), трещины у пружин

23. Подгар вспомогательных контактов

Эл.дуга, возникающая между контактами

24. Попадание посторонних предметов под якорь

Вследствие вибрации

25. Якорь неправильно прилегает к сердечнику

Неправильно произведен монтаж


Характеристика работ при техническом обслуживании и текущих ремонтах сборочной единицы

Контактор при ТО-2 осматривают непосредственно на ТПС. При этом виде технического обслуживания нужно осмотреть, нет ли у контактора каких-либо повреждений. Проверить составные крепежных деталей, надежность крепления шунтов, проводов и контактных деталей. Обратить внимание на работу подвижных частей, они должны перемещаться свободно, без перекосов и заеданий. Проверить состояние контактов. На контактных поверхностях не допускается каплеобразного наплава, посторонние включения, на контактных пластинах - надломы, трещины, снижающие механическую прочность. Контакты, содержащие серебро, зачистки не требуют. На медных контактных поверхностях устраняют наплавы, капли металла. Проверяют четкость работы аппарата, при подаче напряжения на включающую катушку контактор должен четко сработать без заедания.

На ТР нужно выполнить работы в объеме ТО-2. Удалить пыль и грязь с деталей контактора. Проверить состояние контактов, убедиться в отсутствии механических повреждений изоляции. Поверхность изоляторов протереть тканью смоченной керосином, а затем вытереть насухо. Осмотреть гибкие соединения и призматические опоры. Гибкие шунты со следами чрезмерного нагрева - выплавление припоя, неисправные наконечники, обрывом жил более 20% площади сечения заменить. Проверить соответствие деталей аппаратов нормам.

На ТРС необходимо выполнить объем работы ТР и дополнительно снимают дугогасительные камеры, осматривают, обращая внимание на состояние деиновых решеток и внутренних стенок камеры, очищают от нагара и копоти. Изломы прогара и трещины в стенках не допускаются. При установке дугогасительных камер проверяют отсутствие заедания подвижных частей контактора о стенки дугогасительной камеры. Полюса дугогасительной камеры должны плотно прилегать к полюсам дугогасительной катушки.

Проверяют состояние и крепления силовых контактов и шунтов. При наличии подгаров и оплавлений контакты зачищаются. Проверяют и регулируют раствор, провал смешения и нажатие силовых контактов. Проверяют состояние и крепление дугогасительных катушек и включающих. Ослабление катушки закрепляют. Мелкие трещины в изоляции закрашиваются изоляционной эмалью. Проверяют состояние сердечника дугогасительной катушки. Ослабшие полюса закрепляют. Изношенные контакты и просевшие пружины заменяют. Регулируют разрыв и провал вспомогательных контактов.

На СР необходимо выполнить все работы ТРС. Ремонтируют контактор в аппаратном цехе депо с полной разборкой (при необходимости). Включающую катушку с поврежденной изоляцией, обрывом витков или межвиткового замыкания и с активным сопротивлением, превышающие номинальное более чем на 16%, ремонтируют или заменяют. Якорь, сердечник и магнитопровод при необходимости оцинковывают. Ремонтируют или заменяют детали призматических опор, крепления, гибкие шунты, провода, наконечники и пружины. Разбирают и ремонтируют дугогасительную камеру. Контакты с незначительной выработкой опиливают напильником и шлифуют, а при значительных износах и оплавлениях восстанавливают или заменяют на новые. Убедившись в исправности всех деталей контактор собирают. Регулирование контактов проверяют одновременно с проверкой правильности их сборки.

На КР выполняют все работы СР. И восстанавливают эксплуатационные характеристики, исправности и ресурсы.

На КРП восстанавливают эксплуатационные характеристики, исправности и полного ресурса контактора.

Таблица 4

Предельно допустимые (монтажные, габаритные, геометрические) размеры и рабочие параметры деталей и сборочной единицы

Наименование размеров параметров

Виды ремонтов


чертеж-ный

КР

СР/ ТРЗ

ТРС

ТР

1. Толщина главных контактов без накладок:  подвижный, мм неподвижный, мм

 8 6

 7-8,2 4,5-6

 6-8,2 3,5-6

 6-5 3,5-3

 менее 5 менее 3

2. Высота контактов, измеренная от середины поверхности до основания

 23

 23

 20-23

 19-20

 менее 18

3. Раствор главных контактов, мм

15±2

15-19

13-17

15-19

менее 13 более 20

4. Размер, контролирующий провал главных контактов, мм

 3+1

 3-4

 2-4

 1-2

 менее 1

5. Наибольшее поперечное смещение контактов, мм

-

2

2,5

более 2

6. Линия касания главного контакта не менее %

80

80

80

80

менее 80

7. Толщина накладок вспомогательных контактов

1,2-0,15

0,8-1,2

0,5-1,2

0,1-1

менее 0,1

8. Раствор вспомогательных контактов

4+1

4,5

4,5

5

менее 4 более 6

9. Провал вспомогательных контактов

2+1

2-3

2-3

2

менее 2

10. Ход штока блокировки

6+0,5

6-6,5

6-7

6

менее 6

11. Свободный ход штока блокировки прим вкл. контактора

не менее 1

 1-2

 1-3

 1-4

менее 1 более 4

12. Износ стоек дугогасительной камеры

-

10

25

35

более 50


Методы и технология ремонта сборочной единицы

При СР магнитный контактор снимается с ТПС и отправляется для ремонта в аппаратный цех. Там контактор разбирается и каждая деталь ремонтируется отдельно.

Контакты осматривают на предмет выявления износа поверхности, подгара, оплавления, недостаточную площадь или линию их касания. Потемневшие контакты являются признаком ослабления их крепления, недостаточной площади их касания. Контакты, имеющие толщину рабочей части менее нормы, заменяют. Подгары и оплавления удаляют с силовых контактов бархатным напильником, с блокировочных стальной хромированной или посеребренной пластиной. Нагары с серебряных контактов удаляют смоченной в бензине салфеткой, после чего протирают их насухо.

Если рабочие поверхности силового контакта имеют дефекты или неравномерные износы, и его толщина не соответствует допустимым нормам, то поверхность контактов восстанавливают, напайкой медных пластин марки М1 латунным припоем Л62. После устранения подгаров и оплавлений или после напайки поверхности контактов обтягивают по шаблону, соответствующей профилю данного контакта. При этом следить чтобы радиусы округления углов были не менее 3 мм, а площадь касания контролируют не менее 80% их поверхности. Площадь касания контролируют по отметке на полировальной бумаге на белой полосе. Бумагу закладывают между контактами перед их замыканием. Боковое смещение подвижных силовых контактов относительно неподвижных допускается не более 2-х мм.

Болтовые соединения.

Со следами чрезмерного нагрева или ослабления разбирают. Проверяют состояние болтов, гаек, простых и пружинных шайб. Неисправные шайбы, гайки и болты с трещинами или сорванной резьбой, пружинные шайбы, потерявшие упругость или лопнувшие восстанавливать не рекомендуют, а заменяют новыми. Затяжку болтовых соединений проверяют с помощью гаечного ключа.

Пользоваться при завертывании или вывертывании болтов зубилом, ключом не соответствующего размера или наращивать ключ другими ключами категорически запрещается.

Соединительные провода.

С повреждением более 10% жил у входа в наконечник переплавляют по «здоровому» сечению, если длина провода позволяет удалить поврежденный участок. При недостаточной длине этого провода или в случае обрыва внутренних жил провод заменить. Конец провода под установку наконечника освободить от изоляции и припаять припоем пос-40. Длина неизолированного провода должна быть такой, чтобы после установки наконечника расстояние между срезом изоляции и торцом наконечника было около 15 мм.

Ревизия и дефектация катушки. Проводят для выявления как видимых дефектов: прогаров, механических повреждений наружней изоляции, повреждение выводов и наконечников катушки, так и невидимых дефектов - обрыв обмотки, межвитковое замыкание. Для выявления пробоев замеряют активное сопротивление катушки с помощью мегаметра. Оно не должно отклоняться от установленного более чем на 8% в большую или на 5% в меньшую сторону. Повышенное сверх допустимого значения сопротивление катушки на возможный внутренний обрыв катушки или на ухудшение контакта между жилой вывода обмотки и наконечника. Возможное межвитковое замыкание выявляют с помощью двухстержневого трансформатора. Если проверяемая катушка исправна, то при установке и снятии эталонной катушки, ток, измеряемый амперметром и показание вольтметров должны оставаться неизменными или изменяться с отклонением ±5%. Если отклонения больше, это указывает на наличие межвиткового замыкания. Проверять катушки с межвитковыми замыканиями на импульсной установке ИУ-57 или ВИ-3 не следует.

Ремонт катушек.

Ремонт катушек с полной разборкой выполняют при наличии обрывов проводников или межвитковом замыкании. Если у катушки повреждена покровная изоляция, то при ремонте ограничиваются только частичной разборкой или сменой изоляции. У межвитковых катушек допускается наличие двух обрывов обмотки. Концы обмоточных проводов в местах обрыва зачищают, скручивают и пропаивают припоем пос-40. Мегомметром замеряют сопротивление изоляции катушки по отношению к сердечнику. Оно должно быть не менее 500 Ком. Катушки с меньшим сопротивлением изоляции подвергают пропитке.

Неисправный каркас катушки заменяют новым, изготовленный из пластических масс или собран из отдельных деталей.

Пропитка катушек.

Пропитки катушек необходимо для восстановления электрической прочности изоляции, ее влагостойкости и теплопроводности. Перед пропиткой катушку сушат для удаления влаги при температуре 100-1100С в течение 3-х часов. После остывания катушки до температуры 50-600С погружают в бак с лаком №447. Катушку выдерживают до тех пор, пока из них не будет удален весь воздух. Затем катушку держат над баком, пока не прекратится каплепадение. После этого их снова помещают в печь и при температуре 100-1100С выдерживают до полного высыхания. Высохшие катушки покрывают лаком БТ-99 и сушат на воздухе в течение 3-4 часов.

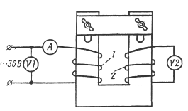
Двухстержневой трансформатор

При наличии в проверяемой катушке 2 межвиткового замыкания ток в эталонной катушке 1 и показания вольтметров V1, V2 в момент установки и снятия эталонной катушки будут заметно изменяться.

Установка наконечника на соединительный провод

Дугогасительные камеры

Дугогасительную камеру снимают с контактора и продувают сжатым воздухом, очищают от копоти и грязи, подгаров и брызг металла, и разбирают. Асбестоцементные стенки, перегородки и деиновые решетки очищают на столе обрубной установке. Стенки с толщиной менее 4 мм, со сколами, трещинами и прогарами глубиной более 25% и толщины, заменяют. Места менее глубоких прогаров и трещин разделывают, тщательно зачищают напильником или крупнозерновой шлифовальной бумагой, очищают от пыли и песка и заделывают специальной замазкой или эпоксидной смолой.

В качестве замазки применяют асбестоцементный порошок, разведенный жидким раствором стекла. Замазку наносят так, чтобы ее уровень был немного выше ремонтируемой поверхности, так как по мере затвердевания она дает осадку. Сушить при температуре 25-300С (комнатной) в течение 7-8 часов. Сквозные прожоги, трещины можно удалить специальной замазкой. Замазку наносить немедленно после ее приготовления, так как она быстро затвердевает.

Негодные медные и стальные перегородки деиновых решеток заменяют. Дугогасительные пластины с небольшими оплавлениями зачищают и используют повторно. Дугогасительные рога с оплавлениями глубиной более 3 мм наплавляют или припаивают медно-вольфрамовые наконечники.

Электромагнитный привод.

Цилиндрические пружины.

Пружины с изломами и трещинами заменяют новыми. Растянутые или просевшие пружины, но не имеющие механических повреждений, восстанавливают. Для этого пружину нагревают до температуры 920-9800С, сжимают или растягивают до нужных размеров и для придания необходимой упругости подвергают закалке. Пружина после восстановления должна иметь характеристику соответствующей чертежной. Проверяют ее на специальном приспособлении. На нем пружину сжимают под действием груза необходимой массы и по линейке определяют ее просадку. Отклонение от чертежных размеров допускается не более ±8%. Устанавливать на аппарат пружины с числом витков и диаметром не соответствующей чертежным не разрешается.

Проверка правильности включения дугогасительной катушки

По правилу левой руки направление перемещения дуги 3 от взаимодействия ее как проводника с током 1 с магнитным полем 2 катушки при указанной полярности выводов.

Также проверить правильность выдувания дуги к контактору подводят ток напряжением 75 В. Плюс источника питания присоединяют к плюсовому зажиму контактора. Вручную замыкают и размыкают контакты, визуально определяя направление перемещения дуги. Если она перемещается внутрь контактора, то следует переменить полярность на выводах дугогасительной катушки.


Техническое оборудование и оснастка, применяемая при ремонте сборочной единицы. Назначение и техническая характеристика

Наименование

Тип (марка)

Назначение

Стенд для испытания электрической прочности изоляции

А 1299 ТУ 32 ЦТ632-74

Для проверки электрической прочности изоляции включающих катушек

Электрованна для напайки наконечников


Для напайки наконечников

Приспособление для испытания контактов

ПР-2192

Для определения момента включения и выключения

Печь для сушки

ПАП-32

Для сушки катушки от влаги и изоляционного лака

Мегаомметр


Для выявления обрыва и межвиткового замыкания

Двухстержневой трансформатор


Для выявления межвиткового замыкания

Верстак


Для удобства при ремонте

Ванна с лаком


Для пропитки катушки

Шкаф для сушки, охлаждения катушек

А 298.02.00 ТУ 32 ЦТ 138-70

Для просушки деталей

Шаблон


Для проверки рабочей поверхности контактов после напайки

Динамометр


Для определения контактного нажатия

Обдувочная камера

ПР 1969.01.00

Для очистки деталей контактора от пыли и грязи

Линейка


Для замера рабочих характеристик контактора

Гаечный ключ


Для операций с болтовыми соединениями

Отвертка


Для операций с винтовыми соединениями

Напильник


Для подгонки и обработки деталей


Техника безопасности

При ТО и ТР, ТРС которые производятся непосредственно на ТПС, перемещаясь в цехах депо быть внимательным при прохождении путей и путей движения машин, т.к. движущиеся машины или локомотивы при вводе и выводе из цехов депо является одним из основных опасных вредных факторов.

Непосредственно в аппаратном цехе при выполнении СР нужно следить за тем, чтобы аппарат или инструмент не упал и не нанес травму. Вредными факторами так же являются недостаточная освещенность, запыленность и загазованность рабочего места. Длительное воздействие вредных факторов делает их опасными.

При испытаниях на электрическую прочность в помещениях не допускается присутствие посторонних лиц. Запрещается проведение испытаний одним лицом, при испытании должно находиться не менее двух человек. Работники, проводящие испытания должны быть в резиновых перчатках и стоять на резиновых ковриках или деревянных настилах. Запрещается закорачивать блокировки и блок-контакты безопасности, а так же осуществлять сборку электрических цепей или переключение отдельных проводников при наличии напряжения на пробивном трансформаторе.

Изоляционные стержни контактов для испытания на пробу устанавливают в специальном приспособлении металлическом кожухе или коробке.

Эпоксидные смолы и мази токсичны. Поэтому все работы с ними следует выполнять в резиновых перчатках, защитных очках и в помещениях с хорошей вентиляцией. При попадании клея на кожу его следует сразу смыть спиртом, мыльным раствором или слабым раствором питьевой соды.

Верстаки должны иметь жесткую и прочную конструкцию. Верхний щит верстака обивается железом. Ширина верстака должна быть не менее 0,75 метра.

Для защиты от отлетающих частиц металла устанавливаются на верстаках предохранительные мелкие сетки (с ячейкой не более 3 мм) или щиты высотой не менее 1 метра. Расстояние между верстаками должно быть не менее 900 мм.

Напильники должны быть вставлены в исправные ручки без трещин, сбитых мест и других неисправностей. На концах ручек в местах их насадки укрепляются металлические кольца.

Гаечные ключи должны соответствовать размерам гаек и головок болтов и не иметь трещин и забоин; губки ключей должны быть параллельны. Наращивать гаечные ключи другими ключами и трубами. А также применять прокладки между гайкой и ключом не разрешается.

Влияние технического состояния сборочной единицы на безопасность движения

От исправности и четкости работы контакторов зависит надежность и безотказность работы ТПС. Поэтому все контакторы должны обеспечивать хороший контакт, четкую работу системы дугогашения и привода, быть надежно закреплены и защищены от проникновения в них пыли и грязи и иметь изоляцию требуемого качества.

От исправности магнитного контактора МК-96 будет зависеть работа расщепителя фаз, а значит всех вспомогательных машин питающихся переменным 3-х фазным током (напряжением 380В). Значит электровоз полностью выйдет из строя и дальнейшее его перемещение по перегону прекратиться, а если он был послан при сбое средств сигнализации и связи, то вслед идущий поезд может врезаться в хвост поезду, что приведет к неминуемым большим затратам финансовым и к сбою движения на данном участке пути. Состояние магнитного контактора напрямую влияет на работоспособность ТПС и лишь косвенно может явиться причиной крушения поезда.

Безопасность движения поездов является одной из основных обязанностью работников железнодорожного транспорта и для обеспечения высокого уровня безопасности при перевозке грузов и пассажиров работники железнодорожного транспорта в частности работников, занимающихся техническим обслуживанием и ремонтом подвижного состава и специального самоходного подвижного состава особое внимание при производстве ТО и ремонта уделять узлам и агрегатам, от которых напрямую зависит безопасность движения ТПС (т.е. колесным парам, буксам, рессорному и люлечному подвешиванию), а узлам и агрегатам от которых лишь косвенно зависит безопасность движения, т.е. магнитным контакторам и другим аппаратам.

Список использованной литературы

1.        Указание ОАО РЖД № 13284 от 24.07.2008г.

2.       Указание начальника Забайкальской железной дороги № 413/4 от 19.06.2003г.

.        «Временное ремонтное руководство» ОАО РЖД 2008г.

.        «Правила технического обслуживания и ремонта электровозов переменного тока». Департамент локомотивного хозяйства утвержденный зам ТЦ Постовой А.В. 2009.

.        «Технология ремонта тягового подвижного состава» Автор: В.М. Находкин, Р.Г. Черепащенец. 2009.

.        «Электровоз ВЛ 80» руководство по эксплуатации. Автор: Завод-изготовитель.

.        «Устройство и работа электровозов переменного тока» Автор: Х.Я. Быстрицкий, З.Н. Дубровский.



Не нашли материал для своей работы?
Поможем написать уникальную работу
Без плагиата!
Без нейросетей!