|
№
|
Наименование
регенерационного пункта.
|
Выделяемые
потоки информации
|
|
1
|
Учалинский ЛАЦ
|
21*E1
|
|
2
|
Белорецкий ЛАЦ
|
21*E1
|
|
3
|
Аскаровский ЛАЦ
|
7*E1
|
|
4
|
Баймакский ЛАЦ
|
7*Е1
|
В соответствии с данной таблицей предполагается в Белорецке и
Учалах выделение по 21 потоку Е1 (2,048 Мбит/с), обеспечивающих организацию до
630 оконечных каналов автоматической междугородней телефонной связи (АМТС),
интернет, мобильной связи арендованных каналов.
В Аскарово и Баймаке предполагается выделить для этих целей
по 7 потоков Е1 (2,048 Мбит/с). Проектируемое оборудование размещается в
существующих помещениях линейно-аппаратных залов Учалинского, Белорецкого,
Аскаровского, Баймакского РУС а также в ЛАЗ станции Ташбулатово.
По трассе прохождения оптического кабеля на участке Белорецк
- Учалы, в населенных пунктах Уральск, Уразово, на участке Ташбулатово -
Аскарово в населенных пунктах Кусимувский рудник и на участке Аскарово - баймак
в населенных пунктах Темясово, Тубинский. Предусмотренна отпайка волокон с
использованием разветвленных муфт для организации сельской телефонной связи.
Схема организации Восточного кольца СЦИ республики
Башкортостан строится на использовании волоконно-оптического 16 ти волоконного
кабеля подвешиваемого на опорах питающей сети железной дороги Уфа -
Магнитогорск, на участке Уфа - Архангельское - Белорецк - Ташбулатово в данном
кабеле выделенно 8 оптических волокон, которые используют и в настоящем
депломном проекте для организации связи между населенными пунктами Белорецк и
Аскарово, входящие в состав проектируемой ВОЛП.
В генеральном плане строительства синхронной цифровой сети
Башкортостана в восточном направлении предусмотрено III этапа.
На II этапе будет продолжено строительство кольца от
города Баймака на город Зилаир, Исянгулово, Мраково, Мелеуз.
На III этапе реализация восточного кольца завершается
строительство ВОЛП Уфы - Архангельское - Белорецк.
Настоящий дипломный проект реализует I этап строительства
Восточного кольца.
Проектом предусматривается: см. ситуационную схему рис.3.2.
Прокладка волоконного-оптического кабеля в грунте от г.
Учалов до г. Белорецка протяженностью 100 км.
Прокладка ВОК в грунте от станции Ташбулатово Южно-Уральской
железной дороги до р. ц Аскарово протяженностью 40 км.
Прокладка ВОК в грунте от р. ц Аскарово до г. Баймака,
протяженностью 80км.
Количество и распределение волокон на проектируемом участке
ВОЛП определим с учетом;
1передачи каналов междугородней связи;
2организации отдельных систем передачи для сельской телефонной
связи (СТС) и в интересах гражданской обороны (ГО) и чрезвычайных ситуаций;
3передачи 3х - 4х каналов телевидения;
4обеспечение выхода на новую сеть челябинской области через город
Магнитогорск.
Принятые исходя из этого распределения волокон приведено в
таблице I.
Схема распределения волокон показана на рис.3.3
Рис.3.3 распределения волокон в кабеле.
Распределение
потоков информации в Южном кольце предполагает организацию самозалечивающегося
кольца на 63 потока Е1 и 1 поток Е3 для 3 каналов телевидения.
3.2
Структурная схема волоконно-оптической линии передачи
Рис.3.2 Схема трасы ВОЛП участка восточного кольца
3.3
Технические характеристики оборудования линейного тракта
При построении современных ВОЛС стараются использовать
технологию синхронной цифровой иерархии (СЦИ/SDH). Это вызвано рядом
преимуществ СЦИ над плезиохронной системой (PDH), рассмотрим основные
преимущества этой системы.
Упрощение схемы построения и развития сети. Упрощение
структурной схемы сети и сокращение числа требуемого оборудования стали
возможными благодаря тому, что SDH-мультиплексор заменил собой по функциональным
возможностям стойку мультиплексоров PDH. Плезиохронный мультиплексор демультиплексировал
поток для выведения нескольких компонентных сигналов, а затем мультиплексировал
весь набор компонентных сигналов снова. SDH-мультиплексор выделяет
требуемые компонентные сигналы, не разбирая весь поток. Оборудования нужно
меньше, требования к питанию снижаются, площади освобождаются, затраты на
эксплуатацию уменьшаются.
Высокая надежность сети. Централизованное управление сетью
обеспечивает полный мониторинг состояния каналов и узлов (мультиплексоров).
Использование кольцевых, топологий предоставляет возможность автоматической
перемаршрутизации каналов при любых аварийных ситуациях на резервный путь.
Полный программный контроль. Управление конфигурацией сети,
отслеживание и регистрация аварийных ситуаций осуществляются программными
средствами с единой консоли управления. В функции центральной управляющей
системы входят также средства поддержки тестирования каналов и контроля за
качеством работы основных блоков мультиплексоров.
Предоставление услуг по требованию. Создание новых или
перемаршрутизация старых каналов пользователя - вопрос одного часа.
"Высокий уровень" стандартизации SDH-технологии позволяет использовать
оборудование разных фирм-производителей в одной сети.
Технология СЦИ/SDH поддерживает уровни иерархии каналов (по
европейскому стандарту) со скоростями передачи 2,048 Мбит/с (пользовательский
интерфейс Е1 по стандарту G.703) и 155,520 Мбит/с, 622,080 Мбит/с, 2,488 Гбит/с, и т.д.
(интерфейсы передачи, соответствующие синхронным транспортным модулям STM-N (N=1, 4,16,.).
Рассмотрим используемые в SDH устройства.
Функционально мультиплексор SDH имеет два набора
интерфейсов: пользовательский и агрегатный. Пользовательский набор отвечает за
подключение пользователей, а агрегатный - за создание линейных межузловых
соединений.
Данные интерфейсы позволяют создавать следующие базовые
топологии:
кольцо;
цепочка;
точка-точка.
Из данных базовых элементов, как из кубиков, складывается
топология всей сети мультиплексоров. Сложные сети обычно имеют многоуровневую
структуру. Первый уровень оборудование доступа пользователей. Этот уровень
состоит из оборудования "последней мили" и, как правило, мультиплексоров
STM-1. Первое отвечает за
доведение сигнала пользователей (чаще всего сигнала Е1, Е2) *до мультиплексоров
первого уровня. В роли оборудования "последней мили" обычно выступают
так называемые оптические модемы, по сути являющиеся конвертерами электрического
сигнала в оптический и обратно. Мультиплексоры данного уровня собирают каналы
пользователей для дальнейшей транспортировки. Следующий уровень составляют
мультиплексоры доступа к сети (как правило, STM-4). Они осуществляют
сбор потоков STM-1 и дальнейшее их мультиплексирование. Последний уровень -
транспортный - на данный момент определяют мультиплексоры STM-16, которые занимаются
сбором и дальнейшей передачей STM-4.
Исходя из сложившихся экономической и политической
составляющих коньюнктуры рынка для строительства синхронных сетей республики
Башкортостан в основном в иерархии SDH применяется оборудование немецкой фирмы BOSCH (Marconi). Поскольку
перспективная схема развития сети SDH разработана с применением этого типа
оборудования и с учетом требований для данной ВОЛП, отраженных в пункте 3.1 в
данном проекте в качестве оборудования линейного тракта применены
мультиплексоры типа FlexPlex MS 1/4. Богатые возможности этого SDH - мультикомплексора
придают сети передачи универсальный характер. Соответствие системы
международным стандартам и вытекающая отсюда согласованность с существующими и
будущими передающими системами создают идеальные условия для дальнейшего
развития уже имеющихся сетей связи Башкортостана.
Общая характеристика системы
Синхронный мультиплексор FLEX-PLEX MS 1/4 с функциями ADD/ DROP и возможностями Cross-Connect обобщает созданные
фирмой Bosch Telecom (Marconi) системы дальних передач, местных и абонентских линий. Концепция
этих систем соответствует всем требованиям, которые определены для мультиплексоров
SDH - структур и
Рекомендации G
709 ITU - T и в ETSIETS 300147 которые отображены на рисунке 2.3.
Рис. № 2.3 Синхронная мультиплексная структура, отвечающая
требованиям рекомендация ITU-T и ETSI
В состав мультиплексора FLEX-PLEX MS 1/4 входят следующие
модули:
Модуль LM (линейный модуль)
Модуль SWM (коммутационный модуль)
Модуль АМ (абонентский модуль)
Модули LM позволяют включать оптические волокна
входа-выхода (Восток-Запад) со скоростью передачи STM-4 (622мбит/с). С помощью
модуля АМ может осуществляться доступ для следующих сигналов 1,5 мбит/с; 2
мбит/с; 34 мбит/с; 45 мбит/с; 140 мбит/с - плезиохранных сигналов STM-1 (155 мбит/с) и STM-4 (622 мбит/с).
Управление системой, техническое обслуживание, структура FLEX PLEX MS 1/4
Концепция качества и надежности.
Обеспечение качества передачи.
Программа обеспечения надежности служит для считывания и
вывода на дисплей информации об ошибках, которые ведут к ухудшению качества
передачи или к нарушения соединения в сети.
Концепция сохранения постоянного качественного уровня
передачи базируется на 4 взаимодополняющих компонентах:
. Контроль системы
. Контроль сигналов
. Расчет качества данных
. Анализ и локализация неполадок
Контроль системы - система считывает и немедленно сообщает на
дисплей обо всех неординарных случаях (например о неисправности системы
элементов и т.д.)
Контроль сигналов - система непрерывно следит за подключением
входов. Все указанные в рекомендациях ITU-T неполадки немедленно считываются и локализуются.
Расчет качества данных - основой этого расчета является
расчет частоты ошибок по битам (BER). BER определяется при сигналах STM-N и SDH методами BIP-8, BIP 24x Nu и BIP2, при плезнохронных
цифровых сигналах - любым обычным методом (например, CRC-4).
Качественные данные переданных цифровых сигналов
рассчитываются в соответствии с рекомендациями G 82 или G826 ITU-T. Расчеты сохраняются
определенное время в системе и могут запрашиваться при необходимости.
Анализ и локализация неполадок - вся информация о неполадках,
оценивается, запоминается в локальной памяти, выводится на дисплей панели
управления и передается в систему управления сетью.
Лазерное блокирование выключения
Оптически узлы MS 1/4 оснащены лазерным блокировочным выключением.
Оно служит для защиты персонала от лазерного излучения при нарушениях в линиях
дальней передачи.
Обеспечено автоматическое восстановление передачи после
восстановления линии. Наряду с этим имеется возможность запуска линии вручную
или принудительного подключения лазера в целях тестирования.
Концепция технического обслуживания - позволяет проводить
некоторые ремонтные работы (например, замену дефектного узла) на включенных
приборах не причиняя вреда другим системам узла.
Неправильно, сделанные по недосмотру, вставки не причинит
вреда ни узлам, ни самой системе, а быстро выявляется и устраняется.
Конструкция и монтаж - монтаж мультиплекора FLEX PLEX MS 1/4 соответствует
требованиям ETSI T/TM 02-13. в одном блок-карсе размером 600мм*2200мм*300мм монтируется
до 3-х опорных рам с одной совместной панелью подключения и предохранителей.
Соединительные кабели подключаются к СРМ. СРМ - это
устройства с отдельными фронтальными платами, позволяющими осуществлять гибкую
адаптацию соединений к требованиям потребителя и различным скоростям передачи
(коаксильно, симметрично…). Фронтальное расположение кабелей делает возможным
монтаж стойки на стене. Стойки выполняются открытыми и не нуждаются в
дополнительной вентиляции.
Технические характеристики оптических интерфейсов приведены в
таблице IV
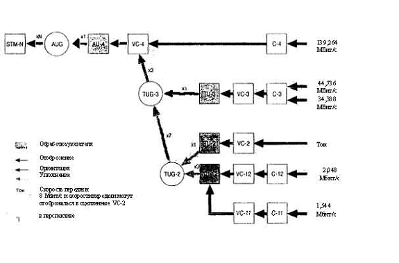
Рассмотрим структурную схему мультиплексирования сигнала SDH рис.2.3.
На самом низком уровне мы имеем контейнер С-n. где п варьируется от 1
до 4. Этот базовый элемент сигнала STM (Synchronous Transport Module - название принято для
обозначения Г уровней SDH-иерархии; например, сигнал STM-1 - 155,52 Мбит/с, STM-4 - 622,08 Мбит/с и
т.д.) представляет собой группу байтов, выделенных для переноса сигналов со
скоростями по рекомендации G.702. Другими словами, это то, что мы имеем на входе в SDH-мультиплексор.
Данные сигналы преобразуются в так называемые виртуальные
контейнеры (VC-n),
где п варьируется от 1 до 4. Виртуальные контейнеры низкого порядка формируются
из контейнера С-1 или С-2 и дополнительной емкости для трактового заголовка
(РОН - Path Overhead). В виртуальные контейнеры высокого порядка (п=3 или п=4)
вместо С-n
может входить также сборка компонентных блоков (TUG). РОН включает в себя
информацию для контроля характеристик VC, сигналы для техобслуживания и признаки
тревожных ситуаций. В случае VC высокого порядка в РОН входят еще и признаки
структуры мультиплексирования.
Компонентный блок (TU-n), где п варьируется от 1 до 3, состоит из VC и указателя
компонентного блока и обеспечивает сопряжение уровней высокого и низкого
порядка. Значение указателя определяет согласование фазы VC с добавленным к нему РОН
компонентного блока. Группа компонентных блоков (TUG-n), где п=2 или п=3, - это
группа идентичных TU или TUG, позволяющая осуществлять смешение полезной нагрузки.
Административный блок (AU-n), где п=3 или п=4,
состоит из УС-3 или УС-4 и указателя AU. Он обеспечивает сопряжение путей более высокого
порядка и уровня секции с мультиплексированием. Значение указателя определяется
согласованием фазы VC-n
с кадром STM-1. Группа административных блоков (AUG) - группа AU с чередующимися байтами
- занимает фиксированное положение в нагрузке STM-1. Синхронный
транспортный модуль (STM-N) содержит п групп AUG с информацией SOH (Section Overhead), касающейся
кадрирования, обслуживания и работы. N групп AUG чередуются через один
байт и находятся в фиксированном положении по отношению к STM-N.
Основываясь на рассчитанном количестве каналов, таблица II выбираем аппаратуру
синхронной цифровой иерархии STM-4 FlexPlex MS 1/4 фирмы "Marconi". При выборе
аппаратуры мультиплексирования решающую роль сыграло наличие в Республике
Башкортостан аналогичных существующих синхронных систем передачи и управляющего
комплекса "NSU/SISA" этой же фирмы, который установлен ЛАЦе Уфимской АТС. Этот
комплекс позволяет управлять и контролировать 200 объектов. В настоящее время в
данный комплекс включены объекты: Уфа-0, Уфа-1, Тазларово, Покровка, Салават,
Чишмы, Давлеканово, Раевский, Белебей, Туймазы, Благовещенск, Бирск, Бураево,
Калтасы и Нефтекамск.
Мультиплексор STM-4 предназначен для организации цифрового потока
со скоростью передачи 622,08 Мбит/с, работающий по одномодовому оптическому
кабелю с длиной волны 1300 нм, или 1500 нм. Для кольпевьгххтруктур построения
сети используется мультиплексор с функцией вставки/выделения рис 3.3.1 предназначенный
для обеспечения простого доступа к трибутарным потокам PDH и SDH.

Синхронные мультиплексоры MS 1/4 представляют собой
модульные подстативы, в котором каждый модуль выполняет соответствующие
функции, такие как:
PRM - блок процессора управляет и контролирует все
модули, размещенные в секции мультиплексора. Кроме этого PRM оценивает, обрабатывает
и создает сигналы для следующих интерфейсов;
Интерфейс Q3p для подключения, мультиплексора к сети управления сетью OPEN NSU; Интерфейс QD2 для подключения
сетевого элемента к сети SISA; Интерфейс UAI для подключения
локального терминала оператора;
SWM4M - блок коммутации СЦИ, имеет 16 входов STM1S и 16 выходов STM1S и в связи с этим может
устанавливать до 1008 соединений (16x63) для эквивалентов TU-12. Он представляет
собой пространственную матрицу кроссовых соединений, которая устанавливает
соединения на уровне контейнеров. В мультиплексорах MS 1/4 может использоваться
до восьми модулей доступа, каждый из которых создает цикл STM1S. При установке блока SWM4M в мультиплексоре MS 1/4 дополнительно могут
быть активны одновременно до двух линейных модулей. При передаче сигналов STM-4 каждый из них создает
четыре цикла STM1S.
Из них получают до 16 сигналов STM1S. Кроме того блок SWM4M содержит генератор тактовых сигналов СЦИ (SETS) для получения основного
тактового сигнала 2048 кГц, необходимого для системы. Из него образуется также
системный тактовый сигнал СЦИ и тактовый сигнал для цикловой синхронизации СЦИ;
SWM4M-24 - модуль коммутационного поля. В этом блоке находится
матрица кроссовых соединений SDH с 24x24 точками коммутации для внутреннего цикла
переключения STM1S.
Через эти внутренние циклы подключения, которые имеют ёмкость сигнала STM-1 (63 эквивалента TU-12). блок коммутации
осуществляет кроссовое соединение сигналов для линейного модуля и модуля
доступа. Ядром коммутационного поля является не блокируемая полнодоступная
матрица временного коммутатора ёмкостью 1008 эквивалентов VC-12. Матрица осуществляет
все переключения под управлением встроенного микроконтроллера. Все подключаемые
к мультиплексору плезиохронные сигналы перед вводом в коммутатор преобразуются
в виртуальный контейнер соответствующего уровня на основании рекомендации ITU-T № G.709. коммутатор
обеспечивает подключение сигналов уровней: TU-12 (2 Мбит/с), TU-2 (8 Мбит/с), TU-3 (34 Мбит/с) и AU-4 (140 Мбит/с). При этом
возможна организация следующих видов соединений:
однонаправленное;
двунаправленное;
шлейф:
доступ с разделениями:
метание.
СРМ-РКМ модуль. напели соединении, используется для
подключения блока процессора. Модуль СPM-PRM содержит следующие интерфейсы:
Интерфейс Q3p для подключения мультиплексора FlexPlex MSI/4 к системе управления сетью
OPHN NSU:
интерфейс QD2 для подключения сетевого элемента к сети SISA;
интерфейс I I. A1 для подключения локального терминала оператора (UA1 или LMT);
интерфейс для сигнализации типа 7R;
ЛМ-2 - модуль доступа. Данный модуль позволяет обработать до
21 потока Е1 (2 Мбит/с), имеет матрицы кроссовых соединений и временную ступень
время - пространство - время матрицы кроссовых соединений. Принимаемые сигналы
Е1 объединяются в два цикла STM1S и передаются на блок коммутации. В противоположном
направлении производится соответствующее демультиплексирование сигналов F, 1. В области доступа
или при переходе на другие сети модули. ЛМ-2 могут выполнять функции интерфейса
S2M и V2M (функции NT п HI первичного
мультиплексного доступа ISDN). Кроме того, модуль ЛМ-2 выполняет функции
синхронизации выходного сигнала. г) та функция реализуется посредством передачи
2 Мбит/с с синхронным тактовым сигналом системы. Принимаемый сигнал 2.
Мои г/с должен иметь точность тактовой синхронизации СЦИ, в противном случае
буфер приема переполняется, что ведет к контролируемому проскальзыванию цикла,
однако, ошибки не возникают;
AM-34MUX - модуль доступа обеспечивает обработку одного
34 Мбит/с сигнала и пяти сигналов HI. Принимаемые в одной из частей интерфейса
сигналя 34 Мбит/с вначале разбираются на сигналы 16x2 Мбит/с. а затем вместе с
пятью сигналами 2 Мбит/с объединяю гея в два цикла STM1S и передаются на блок
коммутации. В противоположном направлении производится соответствующее
демультиплексирование;
АМ-34 - модуль доступа обеспечивает обработку для трёх
сигналов 34 Мбит/с. а также матрица кроссовых соединений;
AM-140 системный модуль обеспечивает обработку
одного сигнала 40 Мбит/с. и имеет матрицы кроссовых соединений:
AM-STM I - HI. системный модуль обработки одного электрического
сигнала STM-1.11р|1 принимаемые сигналы S ГМ-1 завершаются и
разбираются на содержащиеся в них ip-пoлярные сигналы. Все компоненты сигналов объединяются в два
цикла STM1S
и передаются па блок коммутации. В противоположном направлении производится
соответствующее объединение в сигналы STM-1;
ПМ-4 - модуль оптического линейного тракта. Модуль LM-4 обеспечивает обработку
одного оптического сигнала STM-4 (агрегатный интерфейс 622.08 Мбит/с согласно
рекомендации (i.
c) 57) и имеет матрицу
кроссовых соединений и временные ступени временной - пространственной -
временной матрицы кроссовых соединений:
С'РМ-ПМ - модуль позволяет установить в агрегатных местах
секции модуль LM:
СРМ-ЛМ-2 - закрепляется за модулем доступа АМ-2 и
предоставляет 21 компонентный интерфейс 2 Мбит/с на шести штекерах Sub-D;
СРМ-АМ-34 используется для подсоединения системного модуля
АМ-34. и предоставляет ipn комнонентных интерфейса 34 Мбит/с на шести
коаксиальных штекерах:
Каждый мультиплексор снабжён панелью локальной сигнализации
аварийных состояний. По бокам статива предусмотрено пространство для подводимых
к мультиплексору кабелей.
При разработке мультиплексоров MS 1/4 были использованы
принципы децентрализации, что позволило отказаться от единого блока питания.
Каждый модуль содержит свой преобразователь, вырабатывающий напряжения,
используемые модулями. Применение такого подхода значительно увеличило
надёжность устройства и уменьшило потребляемую мощность.
1.4
Характеристика транспортной системы
Достижения современной техники коммутации и передачи привели
к тому, что возникла необходимость в создании современной цифровой транспортной
сети или системы. Транспортная система (ТС) - это инфраструктура, объединяющая
ресурсы сети, выполняющие функции транспортирования. При транспортировании выполняются
не только перемещение информации, но и автоматизированное и программное
управление сложными конфигурациями (кольцевыми и разветвлёнными), контроль,
оперативное переключение и другие сетевые функции. ТС является базой для всех
существующих и планируемых служб, для интеллектуальных, персональных и других
перспективных сетей, в которых могут использоваться синхронный или асинхронный
способы переноса информации.
Транспортная система СЦИ - органическое соединение
информационной сети и системы контроля и управления SDH. Нагрузкой
информационной сети СЦИ могут быть сигналы существующих сетей ПЦИ, а также
сигналы новых служб и сетей связи. Аналоговые сигналы предварительно
преобразовываются в цифровую форму с помощью имеющегося на сети оборудования.
В информационной сети СЦИ четко выдерживается деление по
функциональным слоям. Сеть содержит три топологически независимых слоя (каналы,
тракты и среда передачи), которые подразделяются на более специализированные
слои. Каждый слой выполняет определённые функции и имеет точки доступа. Они
оснащены собственными средствами контроля и управления, что минимизирует усилия
при ликвидации аварий и снижает их влияние на другие слои. Функции слоя зависят
от физической реализации нижнего обслуживающего слоя. Каждый слой может
создаваться и совершенствоваться независимо.
В информационной сети используются принципы контейнерных
перевозок. Благодаря этому сеть SDH достигает универсальных возможностей
транспортирования разнородных сигналов. В транспортной системе SDH перемещаются не сами
сигналы нагрузки, а новые цифровые структуры - виртуальные контейнеры, в
которых размещаются сигналы нагрузки, подлежащие транспортировке. Сетевые
операции с контейнерами выполняются независимо от содержания. После доставки на
место и выгрузки сигналы нагрузки обретают исходную форму. Поэтому транспортная
система SDH является прозрачной.
Создание сетевых конфигураций, контроль и управление
отдельными станциями и всей информационной сетью осуществляется программно и
дистанционно с помощью системе обслуживания SDH.
В слое среды передачи самыми крупными структурами SDH являются синхронные
транспортные модули (STM), представляющие собой форматы линейных
сигналов. Для создания высокоскоростных линейных сигналов используется
синхронное мультиплексирование.
Применяемая транспортная система относится к четвертому
уровню синхронной цифровой иерархии. Образование синхронного транспортного
модуля STM-4 происходит путём мультиплексирования четырех синхронных
транспортных модулей первого уровня (STM-1).
Для понимания образования структуры цикла синхронного
транспортного модуля четвертого уровня (STM-4), необходимо
первоначально рассмотреть структуру цикла STM-1.
Рассмотрим логическую структуру модуля STM-1, представленную в виде
цикла STM-1 с его заголовками. Модуль STM-1 имеет скорость 155
Мбит/с. Кроме информационной нагрузки модуль STM-1 имеет избыточные
сигналы (ОН), обеспечивающие автоматизацию функций контроля, управления и
обслуживания (ОАМ) и вспомогательные функции. Такие избыточные сигналы
называются "заголовками". Поскольку STM используется в сетевом
слое секций, его заголовок называется секционным (SOH). Он подразделяется на
заголовки регенерационной (R SOH) и мультиплексной (М SOH) секций. R SOH передаётся между
регенераторами, а М SOH между пунктами, в которых формируется и расформировывается STM, проходя регенераторы
транзитом. R SOH - выполняет функции цикловой синхронизации, контроля ошибок,
указания порядка синхронизируемого модуля, а также создаёт каналы передачи
данных, служебной связи и пользователя. М SOH - выполняет функции
контроля ошибок и создаёт каналы управления системой автоматического
переключения на резерв, передачи данных и служебной связи. Структура цикла
модуля STM-1 приведена на рисунке 1.2.
Цикл STM имеет период повторения 125 мкс. Обычно цикл
представляется в виде двумерной структуры (матрицы), формат которой: 9 строк на
270 однобайтных столбцов (9x270=2430 элементов). Каждый элемент соответствует
одному байту (8 бит) информации и скорости 64 кбит/с. Весь цикл STM-1 имеет скорость
передачи равную 64x2430=155520 кбит/с. Цикл STM-1 состоит из трёх групп
полей: поле секционных заголовков - регенерационной секции (R SOH) формата 3x9 байтов и
мультиплексной секции (М SOH) формата 5x9 байтов; поле указателя AU-4 формата 1x9 байтов;
поле полезной нагрузки формата 9x261 байтов.
Блок AU-4 служит для переноса одного виртуального
контейнера VC-4, имеющего свой маршрутный (трактовый) заголовок РОН (левый
столбец размером 9 байтов). Основное назначение РОН - обеспечить целостность на
маршруте от точки сборки виртуального контейнера до точки его разборки.
Байты заголовка имеют следующие значения:
байт Л - используется для передачи в циклическом режиме 64x8
битовых структур для проверки целостности связи;
байт ВЗ - BIP-8 код, контролирующий ошибки чётности в
предыдущем контейнере;
байт С2 - указатель типа полезной нагрузки. Несёт информацию
о наличии полезной нагрузки:
байт G1 - указатель состояния маршрута. Используется для передачи
информации о состоянии линии к удалённому терминалу (например, о наличии ошибок
или сбоев на дальнем конце);
F2,Z3 - байты, которые могут быть задействованы пользователем данного
маршрута для организации канала связи;
Н4 - обобщённый индикатор положения нагрузки, используется
для организации мультифреймов;
Z4 - байт зарезервирован для возможного развития системы;
Z5 - байт оператора, зарезервирован для целей
администрирования сети.
Рассмотрим структуру заголовков цикла STM-1. Заголовок SOH (рисунок 1.4) состоит из
двух блоков: R SOH - заголовка регенераторной секции размером 3x9=27 байт и М SOH - заголовка
мультиплексной секции размером 5x9=45 байт. Заголовки R SOH и М SOH содержат следующие
байты:
байты А1, А1, А1, А2, А2, А2 являются идентификаторами
наличия цикла STM-1 в цикле STM-N (А1 = 11110110, А2=00101000);
байт В1 и три байта В2 формируют две кодовые
последовательности, используемые для проверки на чётность с целью обнаружения
ошибок в предыдущем фрейме: BIP-8 формирует 8-битную последовательность для
размещения в В1 и BIP-24 - 24-битную последовательность для размещения в трёх В2;
байт С1 определяет значение третьей координаты "с"
- глубину интерливинга в схеме мультиплексирования STM-N;
байты D1-D12 формируют служебный канал передачи данных DCC: D1-D3 формируют DO канал регенераторной
секции (192 кбит/с), D4-D12-DCC канал мультиплексной секции (5 кбит/с);
байты El, E2 могут быть использованы для создания служебных каналов
голосовой связи: I для регенераторной секции (64 кбит/с), Е2 для мультиплексной
секции (64 кбит/с);
байт F1 зарезервирован для создания канала передачи данных
голосовой связи, для нужд пользователя;
байты К1, К2 используются для сигнализации и управлением
автоматическим переключением на исправный канал при работе в защищённом режиме
- APS;
байты Zl, Z2 являются резервными за исключением бит 5-8 байтов Z1, используемых для
сообщений о статусе синхронизации;
байт S1 - байт SSM - Сигнал маркера синхронизации. В нём передаётся
информация о качестве источника синхронизации;
шесть байтов, помеченных знаком Д, могут быть использованы
как поля определённые средой передачи;
байты, помеченные звёздочками, не подвергаются (в отличие от
остальных) процедуре шифрования заголовка;
все непомеченные байты зарезервированы для последующей
международной стандартизации.
Структура заголовка SOH фрейма STM-4 имеет формат 9x36. Заголовок регенераторной
секции имеет размер 3x36. Это увеличение происходит за счет увеличения, в
четыре раза, количества байтов Al, A2, Cl, B2, Zl, Z2.
Рисунок 3.3.2 Структура заголовков SOH цикла STM-1
3.4 Выбор и
обоснование комплектации оборудования
Состав и комплектация проектируемого оборудования определен
на основе схемы организации связи рис.3.1 И приведен в табл V
При выборе аппаратуры мультиплексирования было решено
использовать оборудование FlexPlex MS1/4 фирмы "Marconi". Проектом
предусмотрено использование пяти мультиплексоров, по одному в каждом из
населённых пунктов.
В ЛАЗе Учалинского РУС устанавливается мультиплексор MS 1/4, укомплектованный
абонентским модулем АМ - 2 на 21 цифровой поток Е1 (2048 Кбит/с), и линейной
оптической картой LM - 1, работающей в III окне прозрачности волокна и позволяющей
компенсировать затухание 100 километрового участка Учалы - Белорецк; а так - же
высоко чувствительный приемник.
В ЛАЗе Белорецкого РУС, мультиплексор MS 1/4 комплектуется
линейным модулем LM - 4 (1300) абонентским модулем АМ - 2, а так - же оптическим
модулем доступа АМ - STM1 (1500) для связи с г. Учалы. В ЛАЗе ст.
Ташбулатово Устанавливается мультиплексор, укомплектованный только линейным
модулем, и служит как регистратор оптического сигнала.
В Аскарово и Баймаке в ЛАЗ устанавливается мультиплексоры с
одинаковой комплектующей кроме линейных модулей, т. к Баймак - оконечная
станция, то линейным модулем выхода не комплектуется.
Общие вопросы размещения оборудования.