Расчет устройства защиты от ошибок

  • Вид работы:
    Дипломная (ВКР)
  • Предмет:
    Информатика, ВТ, телекоммуникации
  • Язык:
    Русский
    ,
    Формат файла:
    MS Word
    176,44 kb
  • Опубликовано:
    2011-11-26
Вы можете узнать стоимость помощи в написании студенческой работы.
Помощь в написании работы, которую точно примут!

Расчет устройства защиты от ошибок

МОСКОВСКИЙ ТЕХНИЧЕСКИЙ УНИВЕРСИТЕТ СВЯЗИ И ИНФОРМАТИКИ

Кафедра Мультимедийных Систем и Услуг Связи








КУРСОВОЙ ПРОЕКТ

НА ТЕМУ

Расчет устройства защиты от ошибок












Москва 2010

I. ПОСТАНОВКА ЗАДАЧИ ПРОЕКТИРОВАНИЯ УЗО

Устройство защиты от ошибок на основе системы с обратной связью (ОС) характеризуется многими параметрами. Задача его проектирования всегда является оптимизационной задачей, т.е. при заданных ограничениях на ряд параметров требуется найти наилучший вариант по какому-то критерию. В качестве критерия оптимизации выбирается одна из характеристик УЗО: верность, скорость передачи, задержка передачи или сложность устройства.

В настоящем курсовом проекте рассматривается вариант оптимизации УЗО по критерию сложности. При этом принимается во внимание сложность алгоритма работы системы с ОС, алгоритма кодирования и декодирования и объем накопителей на передаче и приеме. Таким образом, при курсовом проектировании ставятся и решаются локальные задачи расчета УЗО, однако они позволяют отобразить ряд важных, ключевых особенностей реальных проектов и теоретических положений курса.

Задание на курсовое проектирование может быть сформулировано в следующем виде.

Задание на разработку УЗО.

Требуется построить УЗО на основе системы с РОС, обеспечивающее передачу информации в системе документальной электросвязи по заданному дискретному каналу (ДК) с заданным качеством при минимальной сложности устройства. Качество определяется следующими параметрами:

·   скоростью передачи;

·   вероятностью ошибки при получении сообщения источника не более Pош.доп;

·   вероятностью выпадения сообщения не более Рвып.доп;

·   вероятностью вставки сообщения не более Рвст.доп;

·   вероятностью стирания сообщения не более Рст.доп ;

·   задержкой сообщения не более tз.доп .

ИСХОДНЫЕ ДАННЫЕ

Характеристики УЗО:

L = 60 - число разрядов

M = 13 - число сообщений в секунду

Pош.доп = 0.5·10-9 - допустимая вероятность ошибки в сообщении

Рвып.доп = 7∙10-6 - допустимая вероятность выпадения сообщения

Рвст.доп = 5 10-3 - допустимая вероятность вставки сообщения

Рст.доп = 10-10 - допустимая вероятность стирания сообщения

Τз.доп = 2 с - допустимое время задержки сообщения

Характеристики прямого канала:

В = 1200 Бод - максимальная скорость работы по каналу

α = 0.48 - коэффициент группирования ошибок

ре = 10-3 - вероятность ошибки в двоичном символе

tр = 32 мс - время распространения

Характеристики обратного канала:

В1 = 200 Бод - максимальная скорость передачи по специальному каналу

α1 = 0.52 - коэффициент группирования ошибок в специальном канале

pе = 10-3 - вероятность ошибки в двоичном символе в специальном канале

tр = 50 мс - время распространения в специальном канале

РАСЧЕТ ПРОЕКТИРУЕМОЙ СИСТЕМЫ

устройство защита ошибка электросвязь

Выбор корректирующего кода для обеспечения вероятности ошибки в сообщении не более допустимой

Вероятность выдачи сообщения получателю с ошибкой Рош определяется в основном вероятностью не обнаружения ошибки Р кодом, принятым в системе. Корректирующие свойства кода зависят от его длины n и избыточности Wk . С увеличением длины кода необходимая избыточность для достижения тех же корректирующих свойств уменьшается.

Код, который может быть применен в проектируемой системе, должен обеспечивать вероятность не обнаруживаемой ошибки Р меньше допустимой, при этом избыточность его не должна быть больше допустимой избыточности. Допустимая избыточность может быть определена из соотношения:

Wдоп = (B-Bист) / B

Вист - скорости выдачи информации источником

В - допустимой скорости работы в ДК


Теперь необходимо найти минимальную длину кода, который бы при избыточности Wk < Wдоп обеспечивал вероятность не обнаруживаемой ошибки Р не больше допустимой Рош.доп. Для этого построим зависимость Wн = f(n), где


(Wn - необходимая избыточность, n - число символов в коде)

Рис.2. Зависимость необходимой избыточности от длины кода

Как видно на рисунке nmin = 69. Из таблицы, приведенной в приложении, находим подходящий циклический код (85,61). У этого кода n = 85, а k = 61. но k на единицу больше требуемого значения. Так как желательно иметь код, длина информационной последовательности которого кратна длине сообщения источника L=60, укоротим выбранный код на один разряд. Получим код (84, 60).То есть n>=nmin.

Для этого кода избыточность равна:

Величина необходимой избыточности:

Pош.доп - допустимая вероятность ошибки в сообщении

У нас получилось, что Wк£ Wн, но при расчете графика зависимости необходимой избыточности от длины кода мы брали приближенные значения. Поэтому считаем что наш код удовлетворяет условию.

Pош.доп - допустимая вероятность ошибки в сообщении

Pn(³ 1) - распределение вероятности возникновения хотя бы одной ошибки на длине n.

Эти значения удовлетворяют         Wн£ Wk £ Wдоп

Найдем образующий полином выбранного кода g(x) и кодовое расстояние d = 7. Из таблицы циклических кодов, приведенной в приложении, имеем fj(x) = 727, f2j(x) = 675, f2j(x) = 567. Запишем каждый знак этих чисел тремя знаками двоичного кода:

g(x) = fj · f2j· f3j

= 001110100111101

= 001011011010001

= 101110111

Порождающий полином:

g(x) = x24 + x22 + x21 + x17 + x16 + x15 + x14 +x10 + x6 + x5 + x4 + x3 + 1

Уточним значение вероятности не обнаруживаемой кодом ошибки P. Значение Pn(³ d) найдем по заданному распределению распределению Pn(³ t)


Вероятность ошибки кратности d.


Вероятность необнаруживаемой кодом ошибки.

P < Pош.доп

.767·10-10 < 0,5·10-9

Вероятность обнаруживаемой ошибки равна

q = Pn(³ 1) = n1- a pe = 0,01

Вероятность правильного приема согласно равна

Q = 1-q = 0,99

Расчет вероятностей вставок, выпадений и стираний

Вероятности выпадений и вставок зависят в первую очередь от вероятностей искажений сигналов ОС. Если сигналы обратной связи передаются по специальному каналу, то в качестве сигналов ОС могут быть выбраны две двоичные последовательности длины m с максимально возможным кодовым расстоянием d=m. Скорости передачи в прямом и обратном каналах могут существенно различаться. Однако, длительность сигнала обратной связи (m1) не должна превышать длительность сигнала, соответствующего кодовому слову, в прямом канале (n0).

n0  m1

0 и 1 -длительности единичных элементов сигналов в прямом и обратном ДК соответственно.

0=1/В1     1=1/В2 ,

где В и В1 - скорость передачи в прямом и обратном канале соответственно.

Выберем длину m сигналов решения (обратной связи).


В случае, когда декодирование сигналов ОС осуществляется по максимуму правдоподобия, то сигнал "подтверждение" будет принят как "запрос" и наоборот сигнал "запрос" принимается как "подтверждение", если в передаваемой последовательности исказится больше половины символов. Тогда вероятность искажения сигнала "подтверждение" (р0) равна вероятности искажения сигнала "запрос" (р?) и равна вероятности того, что на длине последовательности m символов исказится больше половины, то есть больше m/2 символов.

Длина двоичной последовательности обратной связи

m =13

Для упрощения алгоритма работы декодера сигналов ОС m должно выбираться нечетным.

Вероятность искажения сигнала подтверждения

p0 = p? = 6.848·10-11

 

Найдем вероятность вставок


Q - вероятность правильного приема

Pвст < Pвст.доп

,734·10-4 < 5 10-3 удовлетворяет условию задачи.

Найдем вероятность выпадений


,858∙10-6 < 7∙10-6 удовлетворяет условию задачи.

Найдем вероятность стирания:

Pст = (q q?) j,

где j = ] lg Pст.доп / lg(q q?) [

Допустимое число передач одного сообщения


где tp’ и tp’’ -время распространения сигналов в прямом и обратном каналах соответственно;

tc- длительность сигнала ОС;

ta.k. - время анализа кодового слова;

ta.c. - время анализа сигнала ОС;

Q- вероятность правильного приема кодового слова.

В реальных системах ta.k ≈ ta.c. << tp Поэтому можно принять ta.k ≈ ta.c.=0

 время распространения в прямом канале.

 время распространения в обратном канале

Тогда

где tс=n∙τ0

Рассмотрим возможность использования системы РОСож:

Wож=1- Rozh = 1- 0. 23 =0.77

Так как для системы РОСож что Wож> Wдоп, система РОСож не удовлетворяет требованиям по скорости передачи.

Рассмотрим возможность использования системы РОСн.п.бл.

В системах РОСож средняя скорость передачи относительно низка из-за плохого использования прямого канала. Прямой канал простаивает в промежутки времени между передачами отдельных сообщений в ожидании получения сигналов решения. Повышение средней скорости передачи достигается в системах с непрерывной передачей информации.

В этих системах передатчик передает непрерывную последовательность кодовых слов, не ожидая получения сигналов "подтверждение". За время от начала передачи данного кодового слова до получения сигнала решения по этому слову может быть передано h кодовых слов.

h³ 1 +] tож /(nt0)[  


количество переданных кодовых слов за время от начала передачи данного слова до получения сигнала решения по этому слову.

h = 4


Для системы РОСн.п.бл. что Wож< Wдоп , система удовлетворяет требованиям по скорости передачи.

Максимальное время задержки сообщения

з max = nt0 + tp + ( j-1)(nt0 + tож)

tзmax < tз доп = 2 с.

Рис. Временная диаграмма работы схемы с РОСн.п.бл с односторонней передачей сообщений (специальный обратный канал) для случая h=4 кодовых слов.

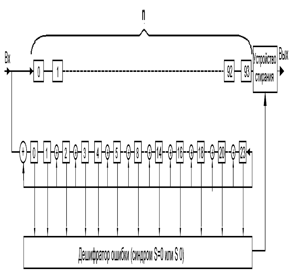
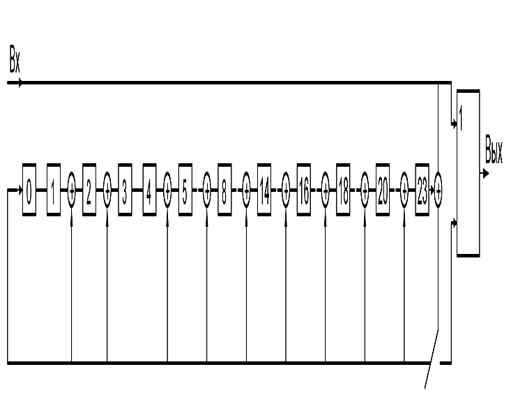
Реализация структурных схем кодера и декодера.

Реализация структурных схем кодера и декодера циклического кода с параметрами (98,74) и образующим полиномом


Рис.2. Структурная схема кодера

Рис.3. Структурная схема декодера

Выводы

По результатам расчетов имеем, что устройство защиты от ошибок имеет следующие характеристики:

·   В УЗО используется система РОСн.п.бл со специальным обратным каналом.

·   В прямом канале используется циклический код (98,74) в режиме обнаружения ошибок. Информационные разряды кода содержат два сообщения источника и один разряд номера кодового слова.

·   Сигнал ОС имеет длину m=15. Приемник сигналов обратной связи ОС принимает решение по максимуму правдоподобия.

·   Максимальное число передач каждого сообщения, допустимое в системе, равно 4.

СПИСОК ЛИТЕРАТУРЫ

1. Передача дискретных сообщений / Под ред. В.П. Шувалова. - М.: Радио и связь, 1990. - 464 с.

2. Генкина Н.Ф., Яковленко Н.В. Расчет устройства защиты от ошибок: Учебное пособие / МТУСИ. - М., 2003. - 34 с.

3. Сайт кафедры ПДСиТ http://pdst.narod.ru.


Не нашли материал для своей работы?
Поможем написать уникальную работу
Без плагиата!
Без нейросетей!