ЗИЛ–130. Передний мост

  • Вид работы:
    Дипломная (ВКР)
  • Предмет:
    Транспорт, грузоперевозки
  • Язык:
    Русский
    ,
    Формат файла:
    MS Word
    2,27 Mb
  • Опубликовано:
    2011-12-16
Вы можете узнать стоимость помощи в написании студенческой работы.
Помощь в написании работы, которую точно примут!

ЗИЛ–130. Передний мост

Негосударственное образовательное учреждение

Высшего профессионального образования

«Черноморская гуманитарная академия»

Информационно-технический факультет

Кафедра Организации и безопасности движения

КУРСОВАЯ РАБОТА

по дисциплине: Основы теории надёжности и диагностики

на тему: «ЗИЛ - 130. Передний мост»

Исполнитель: студент 4 курса

заочной формы обучения

Джамиев Казим Эрзиманович

Научный руководитель:

кандидат технических наук, доцент

Раков Борис Петрович


Сочи-2010 г

Содержание

Введение

Автомобиль ЗИЛ-130 и его модификации

Технические характеристики автомобиля

Устройство переднего моста


Введение

ЗИЛ-130 один из самых распространенных автомобилей, выпуск которых был освоен в 1964 году. Хотя в данное время автомобиль ЗИЛ-130 не выпускается, число таких машин в автохозяйствах достаточно высокое. Высокие цены на бензин и большой расход топлива двигателя автомобиля ЗИЛ-130 ограничивают его применение. Однако, учитывая экономическую ситуацию в стране и финансовые возможности автопредприятий, особенно в сельском хозяйстве, а именно: невозможность вовремя обновлять автомобильный парк, ЗИЛ-130 еще будет использоваться. В городах, где существует сеть газонаполнительных станций, многие автохозяйства переводят ЗИЛ-130 на использование сжатого газа. Но слишком высокая стоимость газонаполнительных станций ограничивает их массовое внедрение.

Автомобиль ЗИЛ-130 и его модификации

Автомобиль ЗИЛ-130 (рис. 1) с базой 3800 мм предназначен для перевозки грузов по любым автомобильным дорогам в составе автопоезда (общая масса прицепа не должна превышать 8000 кг). Масса перевозимого автомобилем груза составляет 6000 кг.

На базе ЗИЛ-130 выпускались следующие основные модификации:

автомобиль ЗИЛ-130Г (рис. 2) для перевозки различных длинномерных грузов и грузов малой плотности и для буксировки прицепов общей массой 8000 кг; масса перевозимого автомобилем груза на всех автомобильных дорогах составляет 6000 кг (база 4500 мм);

седельный тягач ЗИJI-130В1 (рис. 3) для буксировки различных полуприцепов c грузом общей массой, включая массу полуприцепа, 14 400 кг по дорогам c твердым покрытием (база 3300 мм);

- шасси ЗИJI-130Д1 для оборудования самосвалов 3ИЛ-ММ3-4502 (изготавливал Мытищинский машиностроительный завод) и ЗИЛ-ММЗ-555 (рис. 4)




- шасси ЗИЛ-130Д2 с пневматическим выводом и тягово-сцепным устройством, предназначенное для оборудования самосвала-тягача 3ИЛ-ММЗ-45022;

шасси ЗИЛ-130Б2 c пневматическим выводом на прицеп и тягово-сцепным устройством, предназначенное для оборудования сельскохозяйственного самосвала-тягача ЗИЛ-ММЗ-554М.

Кроме перечисленных завод выпускал несколько модификаций автомобилей, предназначенных для работы в различных климатических зонах. Каждая такая модель автомобиля ЗИЛ-130 имеет свой буквенный или цифровой индекс.

Технические характеристики автомобиля

Рис. 5. Основные размеры автомобиля


Устройство переднего моста

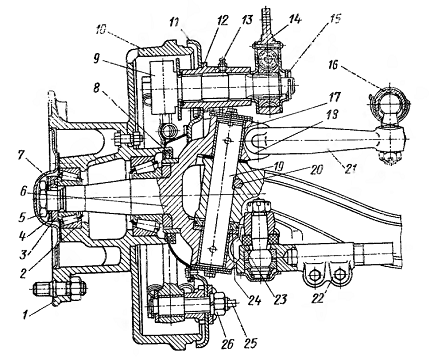
Передний мост (рис. 6) неразрезной, с кулаками вильчатого типа. Цилиндpическиe шкворни (19) снабжены двумя лысками под клин, расположенными под углом 90°, что позволяет поворачивать шкворень при одностороннем его износе.

Наибольший угол поворота внутреннего колеса по отношению к центру поворота вправо равен 34°, а влево 36°, что обеспечивает хорошую маневренность автомобиля. Углы поворота устанавливаются с помощью упорных болтов рычагов поворотных кулаков, которые упираются в бобышки на балке моста.

Для регулирования осевого зазора между поворотным кулаком и проушиной балки имеются регулировочные прокладки. Зазор считается правильно отрегулированным, если прокладка толщиной 0,25 мм не устанавливается в него.

Гайки рычагов поворотного кулака затягивают и шплинтуют. Момент затяжки равен 300 - 350 Нм (30 - 35 кгс м).

Подшипники ступиц колес регулируют в такой последовательности:

после установки наружного подшипника ступицы затягивают гайку крепления подшипников [момент затяжки составляет 60 - 80 Нм (6 - 8 кгс м)], поворачивая ступицу колеса в обеих направлениях для предотвращения перекоса роликов;

Отвертывают гайку на 75 - 90° (1/5 - 1/4 оборота) так, чтобы штифт гайки совпадал с отверстием установленного замочного кольца, и проверяют наличие осевого зазора;

Устанавливают замочную шайбу и затягивают контргайку [момент затяжки равен 250 - 300 Нм (25 - 30 кгс м)].

После регулирования ступица должна вращаться свободно и не иметь заметного осевого зазора (более 0,15 мм).

автомобиль передний мост грузовой

Рис. 6. Передний мост: 1- ступица; 2 - подшипник ступицы; 3 - гайка; 4 - замочное кольцо; 5 - контргайка; 6 - поворотная цапфа; 7 - замочная шайба; 8 - сальник; 9 - разжимной кулак; 10 - тормозной барабан; 11 - опорный диск; 12 - кронштейн тормозной камеры; 13 - масленка; 14 - регулировочный рычаг; 15 - вал разжимного кулака; 16 - продольная рулевая тяга; 17 - втулка шкворня; 18 - регулировочные прокладки; 19 - шкворень; 20 - клин шкворня; 21 - верхний рычаг; 22 - поперечная рулевая тяга; 23 - нижняя опорная шайба подшипника; 24 - верхняя опорная шайба подшипника; 25 - ось колодки; 26 - гайка.

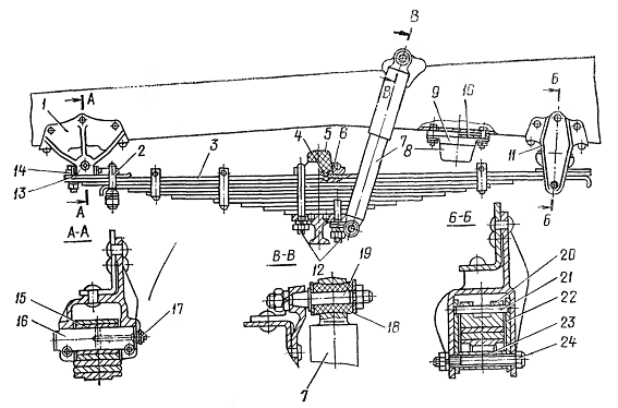
Рис. 46. Передняя подвеска: 1 - передний кронштейн; 2 - стремянка ушка; 3 - рессора; 4 - фиксатор накладки; 5 - буфер рессоры; 6 - накладка; 7 - амортизатор; 8 - буфер; 9 - обойма; 9 - проставка; 11 - задний кронштейн; 12 - стремянки; 13 -подкладка ушка рессоры; 14 - ушко рессоры; 15 - втулка ушка; 16 - палец рессоры; 17 - масленка; 18 - резиновая втулка; 19 - палец амортизатора; 20 - сухарь; 21 - палец сударя; 22 - вкладыш; 2З - втулка стяжного болта; 24 - стяжной болт.

Список используемой литературы

1. Техническая эксплуатация автомобилей: Учебник для Вузов/ под ред. Г.В. Крамаренко. - М: Транспорт, 1983

. Техническая эксплуатация автомобилей: Методические указания к курсовой работе/ сост. Дажин В.Г, Фомягин Л.Ф. - Вологда:ВоПИ, 1995,

. Положение о техническом обслуживании и ремонте подвижного состава автомобильного транспорта. Ч. 2. Автомобиль ЗИЛ-130. - М: Транспорт - 1979.

. Александров Л.А. Техническое нормирование труда на автотранспорте. - М: Транспорт, 1976.

. Гмурман В.Е. Руководство к решению задач по теории вероятности и математической статистике. - М: Высшая школа, 1979.

. Иванов В.Б. Справочник по нормированию труда на автомобильном транспорте. - Киев: Тэхника, 1991.

Похожие работы на - ЗИЛ–130. Передний мост

 

Не нашли материал для своей работы?
Поможем написать уникальную работу
Без плагиата!
Без нейросетей!