Технічне обслуговування системи живлення двигуна автомобіля ЗИЛ-130

  • Вид работы:
    Контрольная работа
  • Предмет:
    Транспорт, грузоперевозки
  • Язык:
    Русский
    ,
    Формат файла:
    MS Word
    2,42 Mb
  • Опубликовано:
    2010-09-18
Вы можете узнать стоимость помощи в написании студенческой работы.
Помощь в написании работы, которую точно примут!

Технічне обслуговування системи живлення двигуна автомобіля ЗИЛ-130

 










ТЕХНІЧНЕ ОБСЛУГОВУВАННЯ СИСТЕМИ ЖИВЛЕННЯ АВТОМОБІЛЯ ЗИЛ-130

1. Будова і принцип дії системи живлення двигуна автомобіля ЗИЛ-130

Система живлення карбюраторного двигуна слугує для очищення палива й повітря, приготування пальної суміші, подавання її в циліндри та видаляння продуктів згоряння.

До системи живлення карбюраторних двигунів входять: карбюратор; паливний бак; фільтри для очищення палива й повітря; паливо підкачувальний насос; впускний і випускний трубопроводи; глушник.

1.1 Карбюратор К-88А.


Карбюратор К-88А. На восьмициліндровому двигуні автомобіля ЗИЛ-130 установлено карбюратор К-88А (рис. 1.1.), що має дві змішувальні камери, кожна з яких живить чотири циліндри. Поплавцева камера, її корпус 18 з повітряною заслінкою 16, економайзер і прискорювальний насос – спільні деталі для обох камер карбюратора.

Поплавцева камера сполучається каналом 6 із вхідним патрубком карбюратора, над яким розташовано повітряний фільтр. Це запобігає збагаченню пальної суміші (в разі забруднення повітряного фільтра) внаслідок збільшення перепаду розріджень у дифузорах і поплавцевій камері. Такі поплавцеві камери називаються балансованими.

У змішувальній камері встановлено малий 10 і великий 11 дифузори. Двома дифузорами досягається підвищення швидкості повітря в малому дифузорі при порівняно невеликому загальному опорі потокові повітря.

Компенсація складу суміші в карбюраторі К-88А здійснюється пневматичним гальмуванням палива.

Дросельні заслінки 30 обох змішувальних камер, жорстко закріплені на одній осі, відкриваються одночасно.

Під час пуску й прогрівання холодного двигуна закривають повітряну заслінку 16. Водночас за допомогою важелів і тяг, які з'єднують повітряну заслінку з валиком дросельних заслінок, трохи відкриваються дросельні заслінки 30. У змішувальних камерах створюється велике розрідження. В результаті подаватимуться велика кількість палива з кільцевих щілин малих дифузорів 10 та емульсія з отворів 32 й 33 системи холостого ходу [2].


Рис. 1.1.

Схема карбюратора К-88А:

1 – головний жиклер; 2 – поплавець; 3 – корпус поплавцевої камери;

4 – голчастий клапан; 5 – сітчастий фільтр; 6 – канал балансування поплавцевої камери; 7 – жиклер холостого ходу; 8 – повітряний жиклер головної дозувальної системи; 9 – розпилювач головної дозувальної системи; 10 – малий дифузор;

11 – великий дифузор; 12 – нагнітальний клапан; 13 – порожнистий гвинт;

14 – отвір розпилювача прискорювального насоса; 15 – отвір у повітряній заслінці; 16 – повітряна заслінка; 17 – запобіжний клапан; 18 – корпус поплавцевої камери; 19 – кульковий клапан економайзера; 20 – штовхач клапана економайзера; 21 – шток клапана економайзера; 22 – планка; 23 – шток поршня прискорювального насоса; 24 – тяга; 25 – поршень; 26 – зворотний клапан;

27 – серга; 28 – важіль дросельних заслінок; 29 – жиклер повної потужності;

30 – дросельні заслінки; 31 – гвинти регулювання холостого ходу;

32, 33 – відповідно регульований круглий і нерегульований прямокутний отвори системи холостого ходу; 34 – корпус змішувальних камер.

 
 





















У разі несвоєчасного відкриття повітряної заслінки після перших спалахів робочої суміші в циліндрах двигуна повітря, що надходить крізь запобіжний клапан 17 отвір 75 у повітряній заслінці, не допустить надмірного збагачення суміші.

На малій частоті обертання колінчастого вала (режим холостого ходу) дросельні заслінки 30 прикриті, тому швидкість повітря й розрідження в дифузорах 10 невеликі, й паливо не витікатиме 3 їхніх кільцевих щілин. За дросельними заслінками створюється велике розрідження, що передається крізь отвори 32 в емульсійні канали, а з них до жиклерів 7 системи холостого ходу. При ньому паливо з поплавцевої камери надходить крізь головні жиклери 1 до жиклерів холостого ходу.

Повітря, що надходить крізь верхні отвори жиклерів системи холостого ходу, перемішується з паливом. Утворена емульсія рухається емульсійними каналами й крізь отвори 32 виходить у за дросельний простір обох змішувальних камер. Коли дросельні заслінки відкриті, крізь отвори 33 підсмоктуватиметься повітря, що поліпшить емульгування палива. В міру відкривання дросельних заслінок зростатиме зрідження біля отворів 33, і з них також надходитиме емульсія, що забезпечить плавний перехід від роботи двигуна з малою частотою обертання колінчастого вала до роботи під навантаженням.

Перехід від холостого ходу до малих і середніх навантажень здійснюється збільшенням відкриття дросельних заслінок. Система холостого ходу плавно зменшує подачу емульсії. В цей час зростають швидкість руху повітря й розрідження в дифузорах, а отже, починає працювати головний дозувальний пристрій. Паливо з поплавцевої камери надходить крізь головні жиклери / і жиклери 29 повної потужності, змішується з повітрям, що потрапляє крізь повітряні жиклери 8, і у вигляді емульсії виходить крізь кільцеві щілини малих дифузорів. Повітря, що надходить у розпилювачі 9 крізь повітряні жиклери 8 і жиклери 7 системи холостого ходу, сповільнює підвищення розрідження біля головних жиклерів 1 і жиклерів 29 повної потужності. Завдяки цьому гальмується витікання палива з головних жиклерів, і пальна суміш збіднюватиметься до потрібного складу [3].

У разі повного навантаження двигуна збагачення суміші забезпечується економайзером. Як тільки дросельні заслінки 30 майже повністю відкриються, шток 21 натисне на штовхач 20 і відкриє кульковий клапан економайзера 19. Завдяки цьому збільшиться приплив палива до жиклерів 29 повної потужності, суміш збагатиться, й двигун розвине повну потужність.

У разі різкого відкриття дросельних заслінок короткочасне збагачення суміші,

потрібне для швидкого розганяння автомобіля, забезпечується прискорювальним насосом. Різке відкривання Дросельних заслінок супроводжується швидким переміщенням униз важеля 28, серги 27 і тяги 24, а заразом і планки 22, яка через пружину Швидко відпускає шток 23 з поршнем 25. Тиск під поршнем зростає, зворотний клапан 26 закривається, й відкривається нагнітальний клапан 12. Паливо під тиском проходить крізь отвір порожнистого гвинта 13, а потім у вигляді тонких струменів впорскується крізь отвори 14 у змішувальні камери. Нагнітальний клапан 12 не дає повітрю надходити в колодязь прискорювального насоса під час швидкого піднімання поршня 25 насоса, а паливу – підсмоктуватися з колодязя прискорювального насоса в змішувальні камери при великій частоті обертання колінчастого вала й постійному положенні дросельних заслінок.

Передача зусилля від планки 22 на поршень 25 прискорювального насоса через пружину потрібна для затяжного впорскування палива й захисту деталей під час різкого відкривання дросельних заслінок [2].

1.2 Паливний бак


Паливо на автомобілі зберігається в одному чи декількох паливних баках. Кожен бак виготовлений штампуванням з освинцьованої сталі з двох половин, з'єднаних між собою зварюванням. Усередині бака маються перегородки з отворами для запобігання швидкого перетекания палива з однієї порожнини бака в іншу, коли автомобіль різко змінює напрямок руху, чи гальмує рухається на підйом. Крім того, перегородки підвищують жорсткість бака.

У верхній половині бака встановлюється паливозаливна горловина, що закривається кришкою з ущільнювальною прокладкою і двома клапанами. Клапан навантажений сильною пружиною і запобігає витоку парів палива, особливо в жаркий час року, коли бензин інтенсивно випаровується, чим досягається значна економія палива. Однак при підвищенні тиску в баці більш 0,1 – 0,18 Мпа клапан відкривається і випускає пари бензину в атмосферу, запобігаючи ушкодженню (розрив) бака. Так як паливо при роботі двигуна увесь час витрачається, то в баці може створитися розрідження, і паливо перестане надходити до паливного насосу. Щоб цього не відбулося, у кришці встановлений клапан розрідження, навантажений слабкою пружиною. Тому коли в баці тиск нижче атмосферного (0,016 – 0,034 Мпа), клапан відкривається і пропускає в бак повітря, підтримуючи в ньому атмосферний тиск.

Забирається паливо з бака по трубопроводу через кран трубки із сітчастим фільтруючим елементом. Кран фланцем кріпиться на верхній частині бака. Для контролю рівня палива в баці мається електричний датчик з поплавцем, що проводом з'єднаний з покажчиком, установленим на щитку приладів автомобіля. Кріпиться паливний бак хомутами на рамі автомобіля. Паливний бак виконують такої ємності, щоб автомобіль міг проїхати на одному заправленні 300 – 600 км [3].

1.3 Фільтри для очищення палива


Фільтр-відстійник (рис. 1.2. а) служить для попередньої (грубої) чистки палива від часток більш 0,05 мм і встановлюється автомобілях ЗИЛ між паливним баком і насосом. Він складається з корпуса 4, до якого через ущільнювальну прокладку болтом 5 кріпиться склянка-відстійник 11. У склянці на пустотілому стрижні установлений фільтруючий елемент 7, набраний з латунних чи алюмінієвих пластин 9 на стійці 10 і пружиною 2 піджимається до корпуса 4 через ущільнювальну прокладку. На кожній пластині видавлені виступи висотою 0,05 мм і просвердлені отвори 8 для проходу палива. Завдяки виступам між пластинами утворяться щілини, крізь які проходить паливо, домішки затримуються і разом з водою опускаються вниз у склянку-відстійник, звідки періодично виддаляються. Паливо підводиться по штуцері 6 і, очистивши, по отворах 8 проходить у корпус і штуцером 3 відводяться в паливний насос [4].

Фільтр тонкого очищення служить для остаточного очищення палива від дрібних домішок і води. Встановлюється між паливним насосом і карбюратором. Він складається (рис. 1.2. б) з корпуса 12 з паливопідвідним і відвідним штуцерами і вушком, для кріплення на двигуні. Знизу до корпуса через ущільнювальну бензостійку прокладку скобою 16 і смушковою гайкою 17 кріпиться склянка-відстійник 13, усередині якої встановлений керамічний чи латунний сітчастий фільтруючий елемент 14 із пружиною 15.




Рис. 1.2.

Фільтри грубої (а) і тонкої (б) очистки палива.

 
 









Паливо під тиском, створюваним паливним насосом, по паливопроводу підводиться в корпус фільтра й опускається в склянку-відстійник, де відокремлюються вода й інші домішки. Далі воно проходить крізь пори фільтруючого елемента, остаточно очищується і по трубопроводу потрапляє в поплавцеву камеру.

Паливні фільтри, насос, бак, карбюратор герметично з'єднуються між собою паливопроводами, виготовленими з міді, латуні або стали. Сталеві паливопроводи мають антикорозійне покриття з олова, свинцю або міді. У місцях вигину встановлюють бензостійкі шланги.

Повітряний фільтр служить для очищення повітря, що надходить у карбюратор і піддон картера, а в двигуні автомобіля ЗИЛ компресор, що значно підвищує термін його служби. На двигунах автомобілів ЗИЛ, встановлюють інерційно-масляні (контактні) фільтри з подвійним очищенням повітря. [3].

Повітряний фільтр інерційно-масляного типу ВМ-16 двигуна автомобіля ЗИЛ-130 (рис 1.3., а) складається з корпуса 1, у нижню частину якого залита олія до заданого рівня – таке ж, що й у піддоні картера. У центрі корпуса встановлений повітряний патрубок 10 із тримачем 8 і смушковою гайкою 7 для кріплення кришки фільтра. Над оливою знаходиться відбивач 2, а над ним – фільтруючий елемент 3 із кришкою 4, набраний з капронових чи металевих ниток, змочених оливою. Обойма фільтруючого елемента кріпиться в корпусі з зазором для проходу повітря до оливної ванни. Кришка гумовим перехідним патрубком 5 з розширювальною пружиною 6 з'єднується з повітряним каналом 12, до якого повітря надходить через забірники 11. У каналі встановлена заслінка 13, керування якою виведене в кабіну водія. При закритій заслінці непрогріте повітря надходить у прийомний патрубок через забірники (рис. 1.3. б), а при відкритій – з-під капотного простору (рис. 1.3., в), де воно підігрівається від зіткнення з нагрітими частинами двигуна, що поліпшує сумішоутворення в карбюраторі.


Рис. 1.3.

 Повітряний фільтр (а), надходження повітря з зовнішнього середовища (б), з-під капота (в)

 
 












Суть очищення повітря полягає в тому, що воно направляється до масляної ванни, вдаряється об оливу, з нього випадають великі частки пилу, волокна (перша ступінь очищення). При цьому повітря захоплює частки олії, змінює напрямок руху і проходить у фільтруючий елемент, де стикається з вологими нитками, остаточно очищується (друга ступінь очищення) і по патрубку 10 надходить у карбюратор. Частина повітря по паливопроводу 9 надходить у компресор і піддон картера.

Частки пилу, затримані фільтруючим елементом, стікають разом з оливою в корпус фільтра. Тому в оливній ванні фільтра при роботі в курних умовах оливу заміняють щодня, а взимку, навесні і у вологу осінь – при першому технічному обслуговуванні [5].

У сухому повітряному фільтрі фільтруючий елемент виготовлений зі спеціального пористого паперу у виді гофрованої стрічки, укладеної в металевий перфорований каркас, встановлений у корпусі на пенопластових прокладках. При роботі двигуна повітря проходить через пори паперу, очищається і надходить у карбюратор. Фільтруючий елемент заміняють новим через 10 – 12 тис. км про бігу. Під час роботи в курних умовах його заміняють частіше. Крім того, періодично виймають фільтруючий елемент і струшують його від пилу, очищаючи при цьому і корпус фільтра

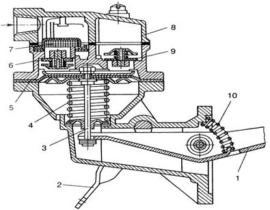
1.4 Паливопідкачувальний насос


Паливопідкачувальний насос призначається для подавання палива з бака в поплавцеву камеру карбюратора. Найбільш поширені паливопідкачувальні насоси діафрагмового типу (рис. 1.4.). Після того, як ексцентрик розподільного вала двигуна натиснув на зовнішній кінець важеля 1 насоса, діафрагма 5 штоком 3 відтягується вниз. У порожнині над діафрагмою створюється розрідження, під дією якого відкриваються впускні клапани 6. Паливо з бака, пройшовши крізь сітчастий фільтр 7, заповнює порожнину над діафрагмою [4].

Коли виступ ексцентрика сходить із важеля 7, пружина 10 повертає останній у вихідне положення. Водночас діафрагма 5 під дією пружини 4 прогинається вгору. Під тиском палива, що надійшло в порожнину над діафрагмою, закриваються впускні клапани й відкривається випускний 9. Паливо з насоса надходить у поплавцеву камеру карбюратора. Під час заповнювання поплавцевої камери паливом діафрагма насоса залишається в нижньому положенні, а важіль 1 переміщується по штоку 3 вхолосту. Паливо до карбюратора в цьому разі не надходить. Щоб заповнити поплавцеву камеру карбюратора, коли двигун не працює, треба натиснути на важіль 2 ручного підкачування, зв'язаний із діафрагмою насоса.

Діафрагму 5 виготовляють із лакотканини або прогумованої тканини, клапани – з бензооливостійкої гуми, а їхні пружини – з бронзового дроту.

Паливопідкачувальний насос Б-10, що встановлюється на двигунах ЗИЛ-130, має три впускних і три випускних клапани. Зусилля від ексцентрика розподільного вала двигуна до важеля привода паливного насоса передається штангою [3].



Рис. 1.4.

Паливопідкачувальний насос діафрагмового типу:

1  –  важіль привода;  2 – важіль ручного підкачування;  3 – шток;  4 – пружина;

5 – діафрагма;  6, 9 – відповідно впускний і випускний клапани; 7 – фільтр;

8 – кришка насоса;   10 – пружина важеля

 
 















1.5 Впускний і випускний трубопроводи

Впускний трубопровід двигуна автомобіля ЗИЛ-130 являє собою кришку міжциліндрового простору, відлитий з алюмінієвого сплаву. У кришці виконані канали для підведення пальної суміші до циліндрів і фланець для установки карбюратора. Канали омиваються охолодною рідиною, що сприяє підігріванню пальної суміші, запобіганню утворення плівки на внутрішній поверхні впускного трубопроводу в холодний час року. Охолодна рідина відводяться через фланець, у якому встановлений термостат. На кришці виконаний фланець для кріплення оливозаливної горловини і штуцер вентиляції картера.

 

1.6 Глушник


Глушник служить для зменшення шуму випуску відпрацьованих газів, і гасіння тліючих часток сажі. Він складається (рис. 1.5) з циліндричного корпуса 3, усередині якого встановлені перегородки 4, що утворюють розширювальні камери. Гази, що відробили, підводяться по випускних трубах 1 і попадають у перфоровані труби 2, де змінюють напрямок і швидкість руху, завдяки чому зменшується шум випуску. Тліючі частки сажі труться об стінки труб і, втрачаючи енергію, гаснуть. Гази, що відробили, відводяться по трубі 5 в атмосферу [4].

2. Технічне обслуговування системи живлення двигуна автомобіля ЗИЛ-130


2.1 Основні несправності


Технічне обслуговування системи живлення карбюраторних двигунів. Основні несправності проявляються, як правило, в порушенні роботи дозувальних систем карбюратора, внаслідок чого він приготовляє занадто багату або бідну суміш, під час згоряння якої двигун не розвиває повної потужності, перевитрачає бензин і викидає з відпрацьованими газами багато токсичних (шкідливих) речовин.

Ознака сильного порушення дозування суміші карбюратором – робота двигуна з різкими ударами («стрільба»): в карбюратор – у разі перезбіднення суміші, в глушник – у разі перезбагачення. Ознакою роботи двигуна на перезбідненій суміші є також його перегрівання. В разі сильного перезбагачення суміші відпрацьовані гази набувають темного кольору [4].

Поширена причина несправності карбюратора – встановлення жиклерів невідповідної пропускної спроможності.

Причини нерезбагачення суміші:

­   високий рівень палива в поплавцевій камері;

­   викручування й випадання жиклерів;

­   негерметичність клапана економайзера й порушення регулювання його привода;

­   неповне відкривання повітряної заслінки.

Причини перезбіднення суміші:

­   зменшення подачі бензину;

­   підсмоктування повітря в місцях кріплення карбюратора та впускного трубопроводу до головок циліндрів;

­   мала подача бензину в карбюратор;

­   пошкодження діафрагми підкачувального насоса або нещільне прилягання його клапанів;

­   нещільне кріплення паливопроводів до штуцерів;

­   низький рівень бензину в поплавцевій камері;

­   заїдання повітряного клапана в пробці бензобака;

­   засмічення паливопроводів і фільтрів.

Надмірне збагачення суміші спричинює прискорене спрацьовування циліндро-поршневої групи. Особливо шкодить двигуну погане очищення повітря повітряним фільтром [4].

 

2.2 Роботи що виконуються при ТО


ЩТО

 
Поглиблене діагностування карбюратора здійснюють на безмоторній установці НИИАТ-489М, яка дає змогу перевірити, чи забезпечує він потрібний склад суміші.

ТО-1

 
Оглянути систему живлення, пересвідчившись, що не підтікає бензин. У разі експлуатації автомобіля на дорогах із великою запиленістю повітря очистити повітряний фільтр. Перевірити рівень бензину в баці й, якщо треба, заправити його.

ТО-2

 
Перевірити стан усіх приладів системи живлення, герметичність їхніх з'єднань, усунути виявлені не справності.

Перевірити: кріплення приладів і агрегатів системи до автомобіля (двигуна), а також їхніх деталей між собою; правильність роботи привода дроселя (повноту відкривання й закривання) та привода повітряної заслінки. Виконати потрібні профілактичні роботи з паливним і повітряним фільтрами. Перевірити за допомогою манометра або приладу НИИАТ (модель 527Б) роботу бензонасоса, не знімаючи його з двигуна, рівень палива в по плавцевій камері, легкість пуску та роботу двигуна. В разі потреби відрегулювати карбюратор на режимі холостого ходу, контролюючи вміст оксиду вуглецю у відпрацьованих газах.

Обслуговування повітряного фільтра полягає в заміні оливи в оливній ванні, промиванні фільтрувального елемента та перевірці кріплення його до двигуна. Фільтрувальний елемент треба промити, потім занурити в чисту оливу, вийняти, дати стекти оливі й постави ти на місце. Корпус фільтра слід старанно очистити зсередини від бруду, оливи та відстою. У ванну фільтра залити оливу для двигуна (свіжу або відпрацьовану).

Із паливного фільтра грубої очистки слід періодично зливати від стій бруду й води та промивати фільтрувальний елемент у бензині або ацетоні з наступним продуванням стисненим повітрям. Розбирати фільтрувальний елемент не рекомендується.

Для доступу до фільтрувального елемента фільтра тонкої очистки треба відкрутити гайку-баранець і зняти відстійник разом із фільтру вальним елементом. Відстійник слід очистити від бруду й осадків, Фільтрувальний елемент промити, а потім продути стисненим повітрям.

Розбирати карбюратори слід обережно, щоб не пошкодити прокладки й деталі. Жиклери, клапани, голки та канали треба промити в чистому гасі або неетильованому бензині. Роботу виконують на посту з відсмоктуванням повітря або у витяжній шафі. Промивши Жиклери й канали в корпусі карбюратора, їх слід продути стисненим повітрям.

Для прочищення жиклерів, каналів та отворів не можна застосовувати жорсткий дріт або які-небудь металеві предмети. Не допускається продувати стисненим повітрям складений карбюратор крізь штуцер, що підводить бензин, і балансувальний отвір, оскільки це призводить до пошкодження поплавця.

Щоб очистити деталі карбюратора від смол, їх слід на кілька хвилин покласти в розчинник (ацетон, бензол), а потім старанно про терти чистою ганчіркою, змоченою в розчиннику.

Якщо на запірній голці поплавцевої камери карбюратора є ущільнювальна шайба, то не рекомендується знімати її з голки. Для промивання слід застосовувати лише бензин або гас.

Рівень бензину в поплавцевій камері перевіряють, установивши автомобіль на горизонтальній площадці й вимкнувши двигун.

У карбюраторі К-88А (автомобіль ЗИЛ-130) треба викрутити пробку в нижній частині колодязя економайзера й вкрутити замість неї перехідник із гумовим шлангом і скляною трубкою. Розташувавши трубку вертикально, важелем ручного підкачування паливного насоса нагнітати бензин у поплавцеву камеру. Рівень бензину над площиною розняття верхньої та середньої частин карбюратора має становити 18…19 мм.

У разі потреби регулюють рівень бензину підгинанням важелька поплавця або зміною кількості прокладок під корпусом голчастого клапана карбюратора [4].

3. Асортимент бензинів

У нашій країні товарним автомобільним бензином служить суміш бензинів прямої перегонки та крекінгу, до якої додають високооктанові компоненти й різноманітні присадки. За ГОСТ 2084–77 випускають чотири марки бензинів: А-72,

А-76, АИ-93 та АИ-98. Крім цього, згідно з технічними умовами виробляють бензини АИ-92, АИ-95 та АИ-96 (АИ – бензини з октановим числом за дослідницьким методом, А – за моторним методом).

З 1998 р. введено в дію ТУУ 00149943.501–98, згідно з якими в Україні виробляються бензини з підвищеною температурою кінця кипіння (гк. к = 215 °С) А-80, А-92, А-95, А-96 та А-98 (нова індексація). Якість їх зовсім незначною мірою відрізняється від якості бензинів, що випускаються за ГОСТ 2084–77.

Усі бензини, крім АИ-98, бувають двох видів – літні та зимові. Літні бензини використовують з 1 квітня до 1 жовтня, а зимові – з 1 жовтня до 1 квітня. У перехідний період допускається змішування зимових і літніх сортів.

Бензини марок А-76 (А-80) готують змішуванням відповідних фракцій каталітичного крекінгу з бензиновими фракціями, які отримують іншими способами (наприклад, каталітичним реформінгом) з додаванням 15…30% фракцій прямої перегонки.

Бензин А-76 містить не більш як 0,24% тетраетилсвинцю. Виготовляючи бензини АИ-93, АИ-98 та АИ-95, використовують бензинові фракції каталітичного крекінгу й реформінгу та компоненти, синтезовані з вуглеводневих газів.

Бензин АИ-93 випускають в етильованому та неетильованому варіантах. Вміст тетраетилсвинцю у ньому обмежений 0,5%. Бензин АИ-98 виготовляють на основі неетильованого варіанта АИ-93 з додаванням тетраетилсвинцю не більш як 0,5%.

Фізико-хімічні показники бензинів за ТУУ 00149943.501–98 наведені в табл. 1.

 

Таблиця 1. Нормативні показники бензинів А-80, А-92, А-95 та А-96

Показники

Значення показників


Густина, кг/мЗ, при /= 20 °С

Не нормується; визначення обов'язкове


Детонаційна стійкість:



мінімальне октанове число за

80 (А-80); 92 (А-92);


дослідницьким методом

95 (А-95); 96 (А-96)


те саме, за моторним методом

76 (А-80); 82,5 (А-92); 85 (А-95, А-

96)

Фракційний склад:



мінімальна температура початку

30


перегонки, °С



максимальна температура, °С, за якої

75


переганяється 10% бензину



те саме, 50% бензину

120


те саме, 90% бензину

190


максимальна температура кінця

215


кипіння, °С



максимальний залишок у колбі, %

1,5


максимальні втрати, %

4

79,9


бензину, кПа



Максимальна кислотність, мг

3


КОН на 100 смЗ бензину



Максимальна концентрація фактичних



смол, мг на 100 смЗ бензину:



на місці виробництва

5


на місці споживання

10


Мінімальний індукційний період

600


бензину на місці виробництва, хв.



Максимальна масова частка сірки, %

0,05


Максимальна масова частка

0,001


меркаптанової сірки, %



Випробування на мідній пластинці

Витримує


Показники

Значення показників


Наявність водорозчинних кислот і лугів

Не повинно бути


Наявність механічних домішок і води

Те саме


Забарвлення

Безбарвний або блідо-жовте


Максимальна концентрація свинцю, л



на 1 дм3 бензину:



Етильованого

0,05


Не етильованого

0,013


Сумарний вміст ароматичних

Не нормується; визначення


вуглеводнів, %

обов'язкове


Максимальна масова частка бензолу, %

5



Автомобільні бензини мають відповідати вимогам ТУУ 00149943.501–98 і виготовлятися за технологічною документацією, затвердженою в установленому порядку.

Продукція, що пройшла сертифікацію, повинна мати сертифікат відповідності і (або) знак відповідності за ДСТУ 2296–93.

Виробник гарантує відповідність якості бензинів вимогам ТУУ 00149943.501–98 та дотримання вимог до транспортування і зберігання.

Гарантійний термін зберігання бензинів – 3 роки від дня виготовлення. По закінченні гарантійного терміну зберігання бензини мають бути перевірені споживачем на відповідність їх вимогам ТУУ 00149943.501–98.

Розробник і виробник бензинів не несуть відповідальності за наслідки їх застосування, якщо бензини використовувались не за прямим призначенням без дотримання встановлених заводом попереджень або за умов, не передбачених ТУУ 00149943.501–98.

У промислово розвинених країнах (країни Європи, США, Японія та ін.) застосовують два види бензинів – «Преміум» з октановим числом за дослідницьким методом (ОЧД) 97…98 і «Регуляр» з ОЧД 90…94. Рішенням ради країн Європейської економічної співдружності на перспективу затверджено єдиний неетильований бензин «Преміум» з ОЧД 95. Октанове число бензину «Регуляр» може бути 91…92.

У країнах ЄЕС частка бензину «Преміум» становить 78%, а бензину «Регуляр» – 22%. До 1990 р. всі бензини були, як правило, етильовані із вмістом свинцю 0,15…0,4 г/л (в Україні і країнах СНД -0,14…0,37 г./л).

Перелік використаної літератури

1. Автомобили ВАЗ-2105. Руководство по ремонту, эксплуатации и техническому обслуживанию: М.: Третий Рим, 2002. – 185 с.

2. Бабушко С.М. Ремонт тракторов и автомобилей. – К.: Высшая школа. 1982. – 344 с.

3. Дзюба П.Я. Программированное пособие по устройству автомобиля. – К.: Урожай, 1985. – 576 с.

4. Кисликов В.Ф., Лущик В.В. Будова і експлуатація автомобілів: Підручник. – К.: Либідь, 2002. – 400 с.

5. Костів Б.Ф. Експлуатація автомобільного транспорту: Підручник. – Львів: Світ, 2004. – 496 с.; іл

6. Лауш П.В. Техническое обслуживание и ремонт машин. – К.: Высшая школа, 1989. – 350 с.

7. Полянський С.К. Будівельно-дорожні та вантажопідіймальні машини. – К.: Техніка, 2001. – 624 с.

8. Родичев В.А., Родичева Г.И. Тракторы и автомобили – М.: Высш. школа, 1982. – 320 с.

9. Токаренко В.М. Практикум по устройству, техническому обслуживанию и ремонту автотранспорта. – К.: Урожай, 1989. – 350 с.

Похожие работы на - Технічне обслуговування системи живлення двигуна автомобіля ЗИЛ-130

 

Не нашли материал для своей работы?
Поможем написать уникальную работу
Без плагиата!
Без нейросетей!