Проект организационно-технических мероприятий

  • Вид работы:
    Другое
  • Предмет:
    Другое
  • Язык:
    Русский
    ,
    Формат файла:
    MS Word
    385,60 kb
  • Опубликовано:
    2012-03-28
Вы можете узнать стоимость помощи в написании студенческой работы.
Помощь в написании работы, которую точно примут!

Проект организационно-технических мероприятий

Министерство образования Российской Федерации

ГОУВПО «Удмуртский государственный университет»

Институт экономики и управления






 

ДИПЛОМНАЯ РАБОТА

на тему: «Проект организационно-технических мероприятий по энергоресурсосбережению (на примере ОАО «Ижмаш-авто»)»

Выполнил студент

гр.ЗС (ИУУ) 060800 – 53 (к)                                    Г.Г. Цветков

Руководитель:

ст. преподаватель каф.РиМЭ                                   А.Н Девятов

Допущен к защите в ГАК                               «        »                 2004 г.

Зам. директора ИЭиУ, к.э.н.                                    Г.Ю. Галушко

Зав. кафедрой РиМЭ, к.т.н.                                               В.А. Иванов


Ижевск, 2004


Содержание

 

ВВЕДЕНИЕ                                                                                                                                         3

1. организационная ХАРАКТЕРИСТИКА объекта  исследования                  5

1.1. Историческая справка                                                                                                         5

1.2. Основные виды деятельности предприятия                                                                   7

1.3. Структура управления                                                                                                        10

1.4. Динамика технико-экономических показателей                                                       16

2. Оценка и анализ техники и технологии  энергоресурсосбережения 20

2.1. Опыт энергоресурсосбережения                                                                                      20

2.2. Техника и технология энергоресурсосбережения в ОАО «Иж-авто»                     27

3. Предложения по энергоресурсосбережению                                                   33

3.1. Повышение надежности и эффективности работы источников тепла                  33

3.2. Применение комплексонов для промывки, борьбы с  накипеобразованиями и отложениями                                                                                                                                                        43

3.3. Анализ режимов работы системы теплоснабжения                                                   47

3.4. Технико-экономический анализ энергосберегающих мероприятий                     53

Заключение                                                                                                                                67

Список литературы                                                                                                                70

Приложение                                                                                                                                73



 

ВВЕДЕНИЕ


Важнейшим звеном реформирования промышленности в современных условиях становится снижение издержек на производство услуг. Экономической основой этого процесса является энергоресурсосбережение.

Принципиальные подходы к решению такой задачи изложены в Федеральной целевой программе "Энергоресурсосбережение России" на 1998 - 2005 годы и подпрограмме "Энергосбережение в жилищно-коммунальном хозяйстве", утвержденных Постановлением Правительства Российской Федерации от 24.01.98 N 80.

В развитие положений этих документов Госстроем России разработаны "Основные направления и механизм энергоресурсосбережения ".

В рамках реализации таких программ предполагается обеспечить:

-   снижение потерь воды и тепловой энергии в зданиях, сооружениях и коммуникациях за счет улучшения тепловой изоляции, автоматического регулирования работы насосных агрегатов, рациональной ценовой политики;

-   модернизацию систем водо- и теплоснабжения путем оптимизации режимов работы оборудования и сетей, децентрализации источников теплоснабжения, диспетчеризации и автоматизации, новой технологии замены и прочистки сетей;

-   повышение надежности и устойчивости работы оборудования и коммуникаций на основе выполнения необходимого объема работ по замене изношенных сетей, применения современных материалов, подготовка теплоносителя;

-   использование тепловых насосов и других нетрадиционных источников энергии с учетом местных условий.

Значительный эффект в экономии бюджетных средств может быть получен за счет развития системы учета и регулирования потребления энергоресурсов и воды от границ раздела сфер ответственности производящих и реализующих услуги организаций до конечных потребителей.

Цель данной дипломной работы - раскрыть сущность работ по анализу затрат на ресурсы и их влияния на себестоимость продукции предприятия, выработать рекомендации по совершенствованию энергоресурсосбережению.

Объектом исследования является ОАО "Иж-авто". В работе использованы результаты исследований зарубежных и отечественных специалистов в области экономики. Исследование основано на системном подходе с использованием методов комплексного экономического анализа, экономико-статистического, сравнения и других.

1. организационная ХАРАКТЕРИСТИКА объекта
исследования

1.1. Историческая справка


Город Ижевск – столица Удмуртской Республики, крупный промышленный центр Предуралья. Изделия с эмблемой «Иж» известны не только в нашей стране, но и за ее пределами: бумагоделательные машины, радиоприемники, пианино, ковры, охотничьи и спортивные ружья, металлургия. Но более всего Ижевск известен как родина отечественного машиностроения. Вместе с выпуском первой промышленной партии мотоциклов в 1932 году, в третьем году первой пятилетки в городе Ижевске были собраны первые пять советских опытных образцов малолитражных автомобилей НАТИ-2, разработанные московским научным автотранспортным институтом.

В середине 60-ых годов в стране началось быстрое развитие легкого автомобилестроения. На 23 съезде КПСС было выработана широкая социально - экономическая программа, направленная на то, чтобы поднять автомобильную отрасль до уровня развития капиталистических стран, полнее удовлетворить растущие потребности трудящихся, особенно в малолитражках, двинуть вперед дело дорожного строительства.

По контракту  с итальянской фирмой «ФИАТ» началось невиданное по своим масштабам  строительство автомобильного завода в городе Тольятти, развертывалась реконструкция Горьковского автозавода, шла подготовка к техническому перевооружению Московского завода малолитражных автомобилей – МЗМА, а ныне АЗЛК. Набирая мощности Запорожский автозавод.

В этот период встал вопрос о строительстве еще одного автозавода. Причем задача была сформулирована так: создать в основном за счет резервов крупных машиностроительных предприятий, объявить соревнование с иностранными фирмами, которые были привлечены к оснащению автомобильной промышленности, и доказать в нем умение советских рабочих и специалистов решать сложные технические задачи.

На создание такого завода претендовали многие города Советского Союза, в том числе Киев, Минск, Свердловск, Пермь. Они находили у себя резервы, заявили о своей готовности быстро организовать экспериментальное производство автомобилей с последующим наращиванием его мощностей.

Была среди претендентов и Удмуртская Республика. На чем основывались ее заявки на такое большое дело? Развитый промышленный потенциал, в первую очередь, металлургия и машиностроение. Многолетний опыт мотоциклостроения, а отсюда наличие грамотных специалистов, квалифицированных рабочих. Довольна мощная энергетическая база, достаток водных и других ресурсов. Наконец, желание вернуться к той идее автомобилестроения, которая по ряду существенных причин не получила развития в Ижевске в начале 30-ых годов.

Датой рождения предприятия считается 21 октября 1965 года.

За прошедшие годы автозаводцы освоили выпуск десятка моделей автомобилей: «М-408»; «Иж-Ралли»; «УАЗ-Фургон»; «М-412»; «М-434»; «ИЖ-2125»; «Иж-2715»; «Иж-27151»; «Иж-21251»; «Иж-2717»; «Иж-2717»; «Иж-2126»; «Иж-2126 4х4».

Автомобили, выпущенные автозаводом, не раз экспонировались на ВДНХ и международных выставках.

Сегодня здесь на десятках гектаров раскинулся современный автосборочный завод производственного объединения «Ижмаш», являющимся головным в автомобильном комплексе.

Завод занимает площадь более одного миллиона квадратных метров. Все производственные цеха расположены так, чтобы были обеспечены кратчайшие пути доставки узлов, деталей и покупных изделий на линию главного конвейера. В 12-и этажном инженерном корпусе размещены: администрация, отделы главного конструктора и главного технолога, вычислительный центр и другие службы завода.

На заводе установлено более 5000 единиц оборудования, свыше 50 километров конвейеров, 28 автоматизированных линий с 33 встроенными многоточечными сварочными машинами, 25 автоматических и механизированных линий в цехе гальванопокрытий, автоматическая линия изготовления колес и многое другое.

Уровень технического оснащения постоянно повышается, снижается трудоемкость изготовления и металлоемкость автомобиля.

13 августа 1996 года авто производство ОАО «Ижмаш» получило статус Открытого акционерного общества «Иж-Авто» в соответствии с решением Совета директоров, является юридическим лицом и действует на основании Устава. Оно было создано в соответствии с программой развития АО «Ижмаш».

Открытое акционерное общество «Иж-Авто» осуществляет свою деятельность на территории РФ и имеет юридический адрес: 426042, город Ижевск, ул. Автозаводская, 5.

Акционерное общество имеет уставный капитал, разделенный на 1350 млн. обыкновенных акций, номинальной стоимостью 1000 руб. Таким образом, Уставный капитал составляет 1350.000.000 рублей.

1.2. Основные виды деятельности предприятия


Предприятие создано и осуществляет свою деятельность на основе законодательства РФ. Основной целью ОАО «Иж-Авто» является получение прибыли. А также целями предприятия являются:

-   насыщение отечественного рынка современными моделями автомобилей  отечественного производства;

-   расширение ассортимента товарной продукции и автозапчастей;

-   мобилизация внутренних резервов предприятия по повышению эффективности управления;

-   снижение затрат по выпуску продукции и стабилизации работы предприятия;

-   создание дополнительных рабочих мест;

-   получение прибыли.

Основными видами деятельности ОАО «Ижмаш-Авто» являются:

-   производство и реализация товаров, работ и услуг юридическим и физическим лицам;

-   коммерческая деятельность;

-   внешнеэкономическая деятельность;

-   операции с ценными бумагами, валютой и другими активами на финансовом рынке;

-   комплексное гарантийное и техническое обслуживание;

-   строительство промышленных и культурно – бытовых объектов;

-   ведение охранной деятельности;

-   организация рекламно-издательской деятельности, проведение выставок-продаж и т.п.;

-   другие виды деятельности, не запрещенные законодательством РФ.

Для наиболее наглядного рассмотрения масштабов деятельности организации ниже приводится таблица 1.

Таблица 1

Технико-экономические показатели деятельности предприятия

Показатель

2001 г.

2002 г.

2002 г. к 2001 г.

2003 г.

2003 г. к 2002 г.

Объем производства, млн. руб.

1679,8

3500,5

1820,7

6041,5

2541

Объем реализованной продукции, млн.руб.

1600,2

3456,5

1856,3

6267,4

2810,9

Площадь территории, га

176,7

176,7

-

176,7

-

Площадь зданий и сооружений, тыс.кв.м., в том числе производственные площади

385,5                                                             

98,5

433,7    

120,8

112,5    

122,6

433,7 

    181,4

     -

150,2

Количество технологического оборудования, единиц

3050

3310

108,5

4550

119,4

Затраты на 1 рубль объема производства

1,02

1,06





Из таблицы 1 видно, что валовая продукция увеличивается с каждым годом, в 2003 г. она возросла в 1,7 раза. Объем  реализованной продукции в 2002 г. увеличился на 1856,3 млн. руб., в 2003 г. по сравнению с 2002 г. на 2810,9 млн.руб. Площадь самого предприятия за анализируемый период не изменилась, но возросла производственная площадь – за три года она увеличилась на 84,2 %, что свидетельствует об расширении производства и увеличении его объема. Это же подтверждает увеличение количества технологического оборудования на производстве и расширение штата сотрудников организации. В состав крупных производственных объектов входят цеха крупной штамповки, сварки, окраски, сборки автомобилей, цеха тормозных систем, экспериментальный цех и др.

ОАО «Иж-Авто» – специализированное предприятие по выпуску следующих легковых автомобилей:

-   Автомобиль ИЖ 2126

-   Автомобиль ИЖ 2104

-   Автомобиль ИЖ 27171

-   Автомобиль ИЖ 2717

и автозипа к ним, а также предприятие оказывает огромный перечень услуг, как населению, так и юридическим лицам.

В таблице 2 представлена структура товарной продукции предприятия.

Таблица 2

Структура товарной продукции организации

Продукция

2001 г.

2002 г.

2003 г.

Выручено, млн. руб

В % к итогу

Выручено, млн. руб

В % к итогу

Выручено, млн. руб

В % к итогу

1. Автомобили

980,4

58,34

2540,9

73,51

4827,7

77,02

2. Автозип

380,5

22,65

478,3

13,84

799,9

12,76

3. Кузова, запчасти

210,3

12,52

320,3

9,27

478,3

7,64

4. Услуги

108,6

6,49

117,0

3,38

161,5

2,58

Всего

1679,8

100,0

3456,5

100,0

6267,4

100,0


Из таблицы 2 видно ,что на протяжении всего рассматриваемого периода производство ориентировано на выпуск автомобилей.

Как видно из рассмотренных выше показателей деятельности организации, ОАО «Иж-Авто» после почти десятилетнего застоя, увеличивает объемы производства, завоевывая рынки сбыта, которые переполнены как отечественной продукцией, так и зарубежной. Не секрет что, признанным «монополистом» в стране по выпуску легковых автомобилей является предприятие ВАЗ, он является главным конкурентом нашего предприятия. Но «Иж-Авто» является монополистом по выпуску фургонов, пикапов, которые востребованы в современных условиях рынка, так как появилось много частных малых предпринимателей, фермерских хозяйств которым достаточно иметь маленький «грузовик».

1.3. Структура управления


Современное организационное устройство ОАО «Иж-Авто» представляет собой типовую, традиционную линейно-функциональную структуру управления (Приложение 1).

Высшим органом управления общества является общее собрание акционеров, к исключительной компетенции которого относятся:

-   внесение изменений и дополнений в Устав или утверждение новой редакции Устава (кроме случаев, связанных с увеличением Уставного капитала);

-   утверждение годовых отчетов, бухгалтерских балансов, счета прибылей и убытков;

-   принятие решений о реорганизации и ликвидации предприятия.

Общее собрание состоит из всех акционеров общества или назначенных ими представителей, действующих по доверенности.

На общем собрании акционеров с правом совещательного голоса может присутствовать представитель трудового коллектива.

Общее собрание проводится раз в год помимо других собраний. Решение принимается, если за него подано не менее ¾ голосов, присутствующих акционеров (по числу акций).

Совет директоров избирается Общим собранием акционеров. В компетенцию Совета директоров входит решение вопросов общего руководства деятельностью общества.

Председатель совета директоров избирается членами совета директоров из их числа. Советом директоров избирается также Генеральный директор общества, который осуществляет оперативное руководство работой общества в соответствии с программой Общества и текущее управление.

Из получаемой прибыли Общество создает резервный фонд в размере 15% от Уставного капитала. При недостатке средств резервного фонда для покрытия убытков используется Уставный капитал с последующим обязательным его восстановлением за счет первоочередного направления средств прибыли.

Публикации по делам Общества производятся Правлением Общества в газете «Машиностроитель».

Контроль за финансовой и хозяйственной деятельностью осуществляется Ревизионной комиссией. Ревизионная комиссия избирается Общим Собранием из числа акционеров или их представителей сроком на 1 год в количестве 3 человек и состоит из лиц, не являющихся членами Совета.

Совет директоров и Правление обязаны оказывать Ревизионной комиссии необходимое содействие, предоставлять все материалы и документы, необходимые для осуществления ревизий, и обеспечивать условия для их проведения.

Директору ОАО «Иж-Авто» непосредственно подчиняются:

а) зам. директора ОАО «Иж-Авто» по маркетингу и сбыту, который    организует и координирует работу в части:

-   обеспечения  ОАО «Иж-Авто» железнодорожными вагонами и контейнерами;

-   приема  и хранения материальных ценностей на складах;

-   проводит работу по изучению нужд потребителя;

-   анализа и оценке товаров и рыночной политики конкурентов;

-   разрабатывает товарную, сбытовую, рекламную и сервисную стратегию маркетинга ОАО «Иж-Авто».

Ему непосредственно подчинены:

-   отдел маркетинга и сбыта №308;

-   цех железнодорожных перевозок и реализации автомобилей и ЗИПа №398.

б) зам. директора ОАО «Иж-Авто» по персоналу и социальным вопросам, который организует и координирует работу по:

-   обеспечению кадрами рабочих, руководителей, специалистов и служащих требуемых специальностей и квалификаций;

-   обучению и повышению квалификации работников ОАО «Иж-Авто»;

-   качественному содержанию, эксплуатации и своевременному техническому обслуживанию, ремонту зданий и сооружений культурно – оздоровительного назначения;

-   бесперебойной работе объектов социальной сферы.

Ему непосредственно подчинены:

-   отел кадров №310;

-   отдел по социальным вопросам №311;

-   комбинат питания №395.

в) зам. директора ОАО «Иж-Авто» по охране и режиму, который  координирует работу по охране режиму предприятия.

Ему непосредственно подчиняется отдел охраны и режима №316.

г) зам. директора ОАО «Иж-Авто» по экономике и финансам осуществляет руководство организацией и совершенствованием планово – экономической, финансовой и инвестиционной деятельностью  ОАО «Иж-Авто».  Основные задачи деятельности зам. директора ОАО «Иж-Авто» по экономике и финансам   направлены на:

-   достижение наилучших результатов при наименьших затратах материальных, трудовых и финансовых ресурсов;

-   ускорение темпов роста производительности труда, повышение рентабельности производства и снижение себестоимости продукции;

-   повышение уровня организации управления производством, организация работы по технико – экономическому анализу, стратегическому и бюджетному планированию и контролю;

-   обеспечение финансовыми ресурсами заданий по производству продукции, эффективности использование основных фондов и оборотных средств, организация обеспечения своевременности платежей в госбюджет, поставщикам, учреждениям банков;

-   изыскание путей увеличения прибыли и повышение рентабельности производства;

-   совершенствование структуры управления подразделений и ОАО «Иж-Авто» в целом, системы оплаты труда и материального стимулирования;

-   разработка инвестиционных проектов, организация работ по проведению операций с недвижимостью и ценными бумагами;

Ему непосредственно подчинены:

-   отдел организации труда, управления и заработной платы;

-   планово – экономический отдел;

-   финансовый отдел.

д) зам. директора ОАО «Иж-Авто» - директор НТЦ  осуществляет:

-   организацию технического развития ОАО «Иж-Авто»;

-   обеспечивает высокую рентабельность деятельности ОАО «Иж-Авто»;

-   технический уровень и качество выпускаемой продукции;

-   совершенствует работу подведомственных ему структурных подразделений.

Ему непосредственно подчинены:

а) зам. директора НТЦ по текущему производству с подчиненными ему службами:

-   управление главного технолога №327, имеющем в своем составе службы главного химика, главного сварщика,  главного металлурга, КТО организации производства и механизации ПРТС работ;

-   главного метролога №328;

-   отдел охраны труда и техники безопасности №312

б) зам. директора НТЦ по опытно – промышленному производству с подчиненными ему:

-   экспериментальный цех №370;

-   отдел главного конструктора №336.

е) зам. директора ОАО «Иж-Авто» по жизнеобеспечению и  реконструкции обеспечивает:

-   бесперебойное снабжение ОАО «Иж-Авто» всеми видами энергии в количествах, достаточных для выполнения производственных заданий ОАО «Иж-Авто»;

-   постоянный контроль за работой очистных сооружений завода, соблюдением цехами норм ПДК;

-   постоянную эксплуатационную готовность действующего технологического и подъемно – транспортного оборудования с целью выполнения производственных заданий  ОАО «Иж-Авто»;

-   сохранность производственных зданий и сооружений, путем организации правильной эксплуатации и проведения качественного их ремонта;

-   повышение архитектурно-художественного уровня зданий и сооружений с целью создания архитектурно-выразительного облика ОАО «Иж-Авто»;

-   постоянный контроль за капитальным ремонтом технологического оборудования, зданий и сооружений.

Ему непосредственно подчинены:

а) главный энергетик   ОАО «Иж-Авто» с подчиненными ему подразделениями:

-   отдел главного энергетика №329;

-   цех электросилового оборудования, средств связи, охранной и противопожарной сигнализации №375;

-   теплосиловой цех №376,

б) главный механик ОАО «Иж-Авто» с подчиненными ему подразделениями:

-   цех ремонтно-механического и нестандартного оборудования №371;

-   цех ремонта и обслуживания оборудования кор.1 №335;

-   цех ремонта и обслуживания оборудования кор.2 №365;

-   цех ремонта и обслуживания конвейеров №379;

-   отдел технологической автоматики №321

в) управление строительства и архитектуры №382.

ж) зам. директора – начальник управления по качеству №333,главными задачами которого являются:

-   контроль качества и комплектности выпускаемой продукции;

-   предотвращение выпуска продукции, не соответствующей требованиям стандартов и технических условий, конструкторской и технологической документации, утвержденными образцом (эталоном)   условиям поставки и договоров, или некомплектной продукции.

з) 1-ый зам. директора  - директор по производству.

Ему непосредственно подчинены:

а) зам. директора ОАО «Иж-Авто» по МТО организует и координирует работу в части бесперебойного и комплексного обеспечения    ОАО «Иж-Авто» металлом и материалами с подчиненными ему подразделениями:

-   отдел снабжения №309;

-   отдел обеспечения металлом №349.

б) зам. директора ОАО «Иж-Авто» по комплектации организует и координирует работу в части обеспечения ОАО «Иж-Авто» комплектующими изделиями, приема и хранения материальных ценностей на складах и доставки их в производственные цехи с подчиненными ему подразделениями:

-   отдел внешней кооперации №342;

-   цех материальной подготовки производства №386;

-   автотранспортный цех №388.

Всего в состав завода входят 46 подразделений, в том числе основных и вспомогательных цехов – 22, отделов –21, управлений –2, подразделений непромышленного характера –1.

1.4. Динамика технико-экономических показателей


Одним из важнейших показателей, характеризующих производственные возможности предприятия, является численность промышленно-производственного персонала. Чем больше ППП, тем при прочих равных условиях больше объем производственной продукции.

Анализ численности и трудовых показателей работы предприятия представлены в табл. 3.

Таблица 3

Численность и трудовые показатели работы предприятия

Показатель

2001г.

2002г.

2002г. к 2001г. (%)

2003г.

2003г. к 2002г. (%)

Общая численность,

в том числе:

7118

8902

125,1

11162

125,4

основные рабочие

1863

2547

136,7

3194

125,4

вспомогательные рабочие

3152

3847

122

4755

123,6

служащие

2103

2508

119,3

3213

128,1

Производительность труда на 1 чел.   (тыс.руб.)

231,3

393,2

170

541,3

137,7

ФОТ (млн.руб.)

118,9

304,6

256

513,9

168,7

Среднемесячная заработная плата (руб.)

1600,4

3070

191,8

3836,4

124,9


Численность работников в 2002 г. по сравнению с 2001 г. возросла на 25,1%, в 2003 г. по сравнению с 2002 г. на 25,4%. Как видно из таблицы основную долю в численности предприятия составляют вспомогательные рабочие.

За 2002 г.  произошло значительное улучшение трудовых показателей работы предприятия в сравнении с 2001 г. Так производительность труда в 2002 г. составила 393,2 тыс. руб. и увеличилась в 1,7 раза при увеличении среднесписочной численности на 25,1%. Среднемесячная заработная плата выросла в 1,9 раз и составила 3070 руб. При этом годовой фонд оплаты труда увеличился на 156% и составил 304,6 млн. руб.

В 2003 г. производительность труда составила 541,3 тыс. руб. на одного человека, что на 37,7 % больше чем в 2002 г. Годовой фонд заработной платы по сравнению с предыдущим периодом увеличился на 68,7%, а среднемесячная заработная плата возросла в 1,2 раза и составила 3836,4 руб.

Для общего представления о деятельности предприятия рассчитаем коэффициент прибыльности и рентабельности по результатам финансово-хозяйственной деятельности представленным в таблице 4.

Таблица 4

Результаты хозяйственной деятельности

Показатели

2001 г.

2002 г.

2003 г.

1

Выручка от реализации продукции

1523720

3456517

6267415

2

Себестоимость продукции 

1600187

3556628

6095126

3

Коммерческие расходы

24760

114117

171029

5

Прибыль (убыток) от продаж (строки1-2-3)

-101227

-214228

6

Прочие доходы

1380121

2985918

3911583

7

Прочие расходы

1462874

2870567

3876918

8

Налоги

602

15445

10462

9

Чистая прибыль (убыток)

(строки 5+6-7-8)

-184582

-114322

25463


По данным таблицы можно рассчитать  коэффициент прибыльности  по формуле:

Кп = (П - Д) х 100,                                                                                      (1)

где П – прибыль от продажи,

Д – выручка от реализации.

Коэффициент рентабельности вычисляется по формуле

Кр = (Пч : Д) * 100, где

Пч – чистая прибыль.

Как  видно по данным финансово-хозяйственной деятельности в 2001 г. и в 2002 г. у предприятия убыток от продажи продукции, это объясняется тем, что при низком уровне реализации затраты не окупались рыночной ценой продукции. Поэтому коэффициенты прибыльности и рентабельности не рассчитываются. А в 2003 г. коэффициент прибыльности составил:

Кп = (1260тыс.руб. : 6267415 тыс. руб.) * 100 = 0,02%

То есть на каждый рубль реализации приходится 2 коп. дохода.

Коэффициент рентабельности

Кр = (25463 тыс. руб. : 6267415тыс. руб.) * 100 = 0,41%

Конечно сами по себе эти цифры представляют потери, но при сравнении с 2001 и 2002 гг. это говорит о том что предприятие начинает становится прибыльным и рентабельным.

Таким образом, в условиях рыночных отношений предприятия приобретают самостоятельность и несут ответственность за результаты своей деятельности перед акционерами и работниками. Поэтому анализ финансового состояния предприятия играет важную роль.

Причины финансовой несостоятельности ОАО «Иж-Авто» можно разделить на внешние и внутренние. К внешним причинам относятся прежде всего экономические факторы (общий спад производства в стране, кризис неплатежей, банкротство партнеров, изменение конъюктуры рынка), политические (политическая нестабильность общества, несовершенство законодательства в области хозяйственного права, внешнеэкономическая политика государства, потеря рынков сбыта),усиление международной конкуренции, демографические (платежеспособный спрос населения, культурный уклад общества).

К внутренним причинам несостоятельности могут относится: производственный потенциал, организация маркетинга, кадровый потенциал, организация управления финансами, управление инвестициями, производительность труда.

Причины неплатежеспособности, в общем, могут быть сведены к двум основным:

-   отставанию от запросов рынка (по предлагаемому ассортименту, по качеству, по цене и т.д);

-   неудовлетворительному финансовому руководству предприятия (большая текучесть руководящего персонала и служащих).

Обнаружение признаков предстоящей кризисной ситуации требует проведения оперативных текущих мероприятий, препятствующих дальнейшему ухудшению положения. Это могут быть активные маркетинговые исследования, модернизация продукции, пересмотр цен на продукцию, совершенствование управления. По результатам проведенной оценки финансового состояния можно сделать вывод, что перед предприятием стоит проблема выживания. Его финансовая политика решает кратковременные задачи, дающие положительные результаты только сегодня с возможным отрицательным эффектом в будущем, что во многом обуславливается отсутствием финансовой политики.

2. Оценка и анализ техники и технологии
энергоресурсосбережения

2.1. Опыт энергоресурсосбережения


Энергосбережение – это реализация правовых, организационных, научных, производственных, технических и экономических мер, направленных на эффективное использование энергетических ресурсов и на вовлечение в хозяйственный оборот возобновляемых источников энергии.

Законодательство Российской Федерации об энергосбережении состоит из Федерального закона и принимаемых в соответствии с ним других федеральных законов, иных нормативных правовых актов Российской Федерации, а также законов и иных нормативных правовых актов субъектов Российской Федерации по вопросам энергосбережения, принимаемых в соответствии с договорами по разграничению предметов ведения и полномочий между органами государственной власти Российской Федерации и органами государственной власти субъектов Российской Федерации.

Объектом государственного регулирования в области энергосбережения являются отношения, возникающие в процессе деятельности, направленной на:

-   эффективное использование энергетических ресурсов при их добыче, производстве, переработке, транспортировке, хранении и потреблении;

-   осуществление государственного надзора за эффективным использованием энергетических ресурсов;

-   развитие добычи и производства альтернативных видов топлива, способных заменить энергетические ресурсы более дорогих и дефицитных видов;

-   создание и использование энергоэффективных технологий, топливо-, энергопотребляющего и диагностического оборудования, конструкционных и изоляционных материалов, приборов для учета расхода энергетических ресурсов и для контроля за их использованием, систем автоматизированного управления энергопотреблением;

-   обеспечение точности, достоверности и единства измерения в части учета отпускаемых и потребляемых энергетических ресурсов.

Энергосберегающая политика государства основана на следующих принципах:

-   приоритет эффективного использования энергетических ресурсов;

-   осуществление государственного надзора за эффективным использованием энергетических ресурсов;

-   обязательность учета юридическими лицами производимых или расходуемых ими энергетических ресурсов, а также учета физическими лицами получаемых ими энергетических ресурсов;

-   включение в государственные стандарты на оборудование, материалы и конструкции, транспортные средства показателей их энергоэффективности;

-   сертификация топливо-, энергопотребляющего, энергосберегающего и диагностического оборудования, материалов, конструкций, транспортных средств, а также энергетических ресурсов;

-   сочетание интересов потребителей, поставщиков и производителей энергетических ресурсов;

-   заинтересованность юридических лиц - производителей и поставщиков энергетических ресурсов в эффективном использовании энергетических ресурсов.

Энергосберегающая политика государства осуществляется на основе реализации федеральных и межрегиональных программ в области энергосбережения путем:

-   стимулирования производства и использования топливо- и энергосберегающего оборудования;

-   организации учета расхода энергетических ресурсов, а также контроля за их расходом;

-   осуществления государственного надзора за эффективным использованием энергетических ресурсов;

-   проведения энергетических обследований организаций;

-   проведения энергетической экспертизы проектной документации для строительства;

-   реализации демонстрационных проектов высокой энергетической эффективности;

-   реализации экономических, информационных, образовательных и других направлений деятельности в области энергосбережения.

Весь объем добываемых, производимых, перерабатываемых, транспортируемых, хранимых и потребляемых энергетических ресурсов с 2000 года подлежит обязательному учету. Очередность и правила оснащения организаций приборами для учета расхода энергетических ресурсов, а также правила пользования электрической и тепловой энергией, природным и сжиженным газом, продуктами нефтепереработки устанавливаются в порядке, определяемом Правительством Российской Федерации.

Учет потребляемых энергетических ресурсов осуществляется в соответствии с установленными государственными стандартами и нормами точности измерений.

Потребителям и производителям энергетических ресурсов, осуществляющим мероприятия по энергосбережению, в том числе за счет производства и потребления продукции с лучшими, чем предусмотрено государственными стандартами, показателями, предоставляются льготы в порядке, определяемом Правительством Российской Федерации.

Производители электрической и тепловой энергии, не входящие в региональные энергоснабжающие организации, имеют право на отпуск энергии в сети этих организаций в количествах и режимах, согласованных с энергоснабжающей организацией и региональной энергетической комиссией. Энергоснабжающие организации обязаны обеспечить прием энергии от указанных производителей в свои сети по ценам, формируемым в порядке, утвержденном региональными энергетическими комиссиями.

Для энергетических установок, которые используют возобновляемые источники энергии и сооружение которых осуществляется в соответствии с программами в области энергосбережения, цены на электрическую энергию должны обеспечить окупаемость капитальных вложений в строительство этих установок в срок, согласованный с региональной энергетической комиссией.

Строительство и эксплуатация энергетических установок, которые используют сертифицированное оборудование и имеют производительность тепловой энергии до трехсот киловатт или электрическую мощность до ста киловатт, осуществляются без лицензии. В целях стимулирования эффективного использования энергетических ресурсов в порядке, определяемом Правительством Российской Федерации, осуществляется установление сезонных цен на природный газ и сезонных тарифов на электрическую и тепловую энергию, а также внутрисуточных дифференцированных тарифов на электрическую энергию.

Потребители энергетических ресурсов - юридические лица в случае использования энергетических ресурсов не в том объеме, который предусмотрен договорами с энергоснабжающими организациями, освобождаются от возмещения расходов, понесенных указанными энергоснабжающими организациями, если недоиспользование энергетических ресурсов является следствием осуществления мероприятий по энергосбережению.

При реализации российскими организациями совместно с российскими и иностранными инвесторами проектов в области энергосбережения Правительство Российской Федерации или уполномоченный им федеральный орган исполнительной власти может выступать в качестве поручителя перед указанными инвесторами в пределах средств, предусмотренных федеральным бюджетом на финансирование мероприятий по энергосбережению.

Информационное обеспечение энергосбережения осуществляется путем:

-   обсуждения федеральных и межрегиональных программ в области энергосбережения;

-   координации работ по подготовке демонстрационных проектов высокой энергетической эффективности;

-   организации выставок энергоэффективного оборудования и технологий;

-   предоставления потребителям энергетических ресурсов информации по вопросам энергосбережения;

-   пропаганды эффективного использования энергетических ресурсов.

Рассмотрим опыт работ по энергосбережению в городском хозяйстве Санкт-Петербурга. К числу наиболее значимых энергосберегающих мероприятий, реализованных в Санкт-Петербурге, необходимо отнести следующие:

По ГП "ТЭК СПб":

Внедрение энергоэффективных мероприятий в ГП "ТЭК СПб" позволило получить экономию энергоресурсов на сумму 24,5 млн. рублей.

Наиболее эффективными мероприятиями являлись:

-   внедрение на котлах КВГМ-1000 современных средств автоматического регулирования горения, что позволило сэкономить более 3 тыс. тонн условного топлива;

-   увеличение поверхности нагрева на котлах ПТВМ-50 позволило сэкономить 3,4 тыс. тонн условного топлива;

-   отремонтировано и реконструировано около 140 км теплопроводов, в т.ч. 87 км с использованием пенополиуретановой изоляции;

-   с целью повышения КПД проведена механическая и химическая очистка поверхностей нагрева паровых и водогрейных котлов;

-   для снижения отложений внутренних поверхностей котлов выполнена защита деаэрированной подпиточной воды в аккумуляторных баках под "зеркалом" воды и ряд других мер.

По ОАО "Ленэнерго":

-   капитально отремонтировано 34 км теплотрасс с применением пенополиуретановой изоляции;

-   проведена защита от коррозии теплофикационного оборудования в 30 теплофикационных камерах, что увеличивает его срок службы и снижает аварийность теплопроводов;

-   осуществлена замена более 60 клиновых задвижек на шаровые, что существенно сокращает утечки сетевой воды, и другие меры.

Внедрение этих мероприятий в 2003 году в ОАО "Ленэнерго" оценивается суммой свыше 4,0 млн. рублей.

По ГУП "Водоканал СПб":

-   реализуется программа управляемого электропривода, в рамках которой установлены частотные преобразователи вращения электродвигателей на насосных станциях, что позволило получить экономию электроэнергии в размере 3,7 млн. кВт·ч;

-   реализуется программа установки приборов учета холодной воды в бюджетной сфере и нежилом фонде (арендаторов);

-   внедрена энергосберегающая система аэрации на Центральной станции аэрации, в результате получена экономия электроэнергии более 1,0 млн. кВт·ч;

-   осуществлено регулирование режима насосов на Главной насосной станции и поддержание оптимального уровня в мокром отделении на Северной станции аэрации, что позволило сэкономить 232 тыс. кВт·ч;

-   проведена оптимизация работы аэротенков и усовершенствование процесса очистки стоков в Петродворцовом филиале и замена устаревшего оборудования 3-го подъема водопроводной станции в Колпино, что дало экономию электроэнергии 715 тыс. кВт·ч.

Внедрение энергосберегающих технологий в ГУП "Водоканал СПб" в 2003 году обеспечило суммарную экономию электроэнергии в размере 6,5 млн. кВт·ч на сумму около 2-х млн. рублей.

По ГЭСП "Ленсвет":

-   осуществлена установка современных светильников с источниками света меньшей мощности и замена ламп ДРЛ на ДНаТ в количестве 2613 штук;

-   внедрен второй этап АСУ наружного освещения.

Все это обеспечило экономию свыше 200 тыс. кВт·ч на сумму 1,8 млн. рублей.

По ПК ГГХ "Ленгаз":

-   установлено 511 узлов учета расхода газа;

-   капитально отремонтировано с использованием прогрессивной технологии (без вскрытия грунта) около 600 м газопроводов. Еще в стадии строительства находится 3,75 км газопроводов;

-   переведено на единое (среднее) давление 1,21 км газовых сетей;

-   выполнена диспетчеризация 2 ГРП.

Это позволило сэкономить около 1 млн. рублей.

В целом за 2003 год в инженерно-энергетическом комплексе Санкт-Петербурга достигнута экономия топливно-энергетических ресурсов от внедрения энергосберегающих технологий:

-   по топливу - 510,0 тыс. тут;

-   по электроэнергии - 12431 МВт·ч;

-   по воде - 10,3 млн.м3, что составляет более 5% от общего потребления энергоресурсов городом, а в денежном выражении более 200 млн. рублей.

За 2003 год на объектах городского хозяйства установлено:

-   334 узла учета тепловой энергии;

-   1015 узлов учета расхода газа;

-   1703 газовых квартирных счетчика;

-   5199 водосчетчиков.

В течение 2003 года значительное внимание было уделено пропагандистской работе. В средствах массовой информации проводилось широкое освещение хода реализации программы "Энергосбережение", включая городские и районные газеты, телевидение и местное радиовещание. Центром энергетики по Северо-Западу России совместно с Комитетом по энергетике и инженерному обеспечению организован ряд практических семинаров по обучению кадров по вопросам энергосбережения.

В течение года проведен ряд семинаров, выставок, конференций по вопросам энергосбережения и приборного учета расхода энергоресурсов и воды во всех отраслях городского хозяйства совместно с Северо-Западным отделением Центра ЕС, Академическим центром теплоэнергоэффективных технологий, Санкт-Петербургским строительным центром, Санкт-Петербургским архитектурно-строительным университетом, "ЛЕНЭКСПО" и другими организациями.

Одним из наиболее эффективных путей реализации политики энергоресурсосбережения в сфере водопотребления в Санкт-Петербурге является создание механизма экономического стимулирования населения к бережному использованию горячей и холодной воды, поскольку, как упоминалось ранее, расходование именно этих видов энергоресурсов определяется потребителем, т.е. влиянием человеческого фактора, поэтому резервы экономии в этой сфере гораздо больше, чем, например, при экономии тепла на отопление.

С этой целью планируется ввести систему расчетов для населения за потребленные ТЭР и воду по нормативам, отвечающим реальному современному уровню водопотребления в Санкт-Петербурге, что позволит более справедливо распределять и потреблять хотя бы имеющееся тепло, сократить непроизводительные его потери.

На решение той же задачи направлена разработка дифференцированных тарифов и норм потребления электрической мощности в жилом секторе. Комитетом по энергетике и инженерному обеспечению совместно с Региональной энергетической комиссией эта работа будет проведена в первом полугодии 2004 года.

Для снижения бюджетной нагрузки предусматривается усовершенствование системы лимитирования ТЭР и воды для организаций бюджетной сферы. Ожидаемое снижение энергоресурсопотребления составит около 5%. Эти средства будут направлены на дальнейшее развитие энергосбережения в Санкт-Петербурге.

2.2. Техника и технология энергоресурсосбережения в ОАО «Иж-авто»


Энергосберегающая политика проводится в ОАО «Иж-авто» через реализацию программ энергосбережения, осуществление экономических, научно-исследовательских, информационных, образовательных и других мероприятий.

В 2003 году на предприятии за счет проведения организационно-технических мероприятий получена экономия электроэнергии в объеме 2672 тыс.кВтч, тепловой энергии 7800 Гкал, котельно-печного топлива 1876 т.у.т.

Тепловые пункты оборудуются системами автоматики. Смонтировано более 230 регулируемых частотных электроприводов, обеспечивших экономию более 50 тыс. кВтч электрической энергии. На тепловых станциях также установлены высоковольтные регулируемые электроприводы, позволяющие экономить до 20% электроэнергии.

Вместе с тем работа по энергосбережению из-за целого ряда сдерживающих факторов не получила должного развития. Это связано с недостаточным платежеспособным спросом на энергоресурсы, отсутствием средств у предприятия на проведение энергосберегающих мероприятий, со сложностью получения кредитов на приемлемых условиях.

Отсутствуют положения, способствующие притоку инвестиций в энергосберегающие проекты, не задействованы методы экономического стимулирования производителей и потребителей энергоресурсов. Отсутствуют централизованные источники финансирования энергосбережения.

Работа ОАО «Иж-авто» в области энергосбережения принимает все более системный характер.  Целью программы является:

-   существенное снижение объема потребляемых предприятием топливно-энергетических ресурсов,

-   снижение расходов на оплату энергоресурсов, потребленных объектами.

В рамках данной программы будет решена задача привлечения к работе по энергосбережению как потребителей энергии, так и ее поставщиков, а также структур, отвечающих за финансовое сопровождение программы. В программу включены научно-технические, технические и организационно-технические мероприятия.

Основными показателями программы выступают: стоимость (затраты на проведение) энергосберегающих мероприятий и ожидаемый от них эффект (экономия в натуральных и стоимостных показателях).

Напряженное финансовое состояние ОАО «Иж-авто» вынуждает резко снизить финансовые затраты на энергоресурсы уже в ближайшие 2-3 года. На эти цели ОАО «Иж-авто» ежегодно расходует около 6 млн.рублей.

Необходимость экономить топливно-энергетические ресурсы продиктована и сбытовой политикой крупнейших естественных монополий - РАО "Газпром" и РАО "ЕЭС России", стремящихся в силу ценовых пропорций ограничить сбыт энергоносителей внутренним потребителям и максимизировать поставки энергии на экспорт.

Суммарный экономический эффект (нарастающим итогом за 2004-2006 годы) составит 8180 т.у.т. Это только прямой эффект, без учета косвенного эффекта, в частности экологического и др.

В результате осуществления в полном объеме запланированных энергосберегающих мероприятий ожидаемое снижение объемов выбросов вредных веществ (в основном NОх) в воздушный бассейн города составит (нарастающим итогом относительно 2000 базового года) 22,92 тонны (расчет производился, исходя из показателя за 2000-й год в 2,8 кг/т.у.т. удельных выбросов вредных веществ в воздушную среду энергетическими предприятиями г. Ижевска).

Сберегающие мероприятия у производителя энергоресурсов, проводимые за счет их собственных средств, обеспечивают некоторое снижение себестоимости выработки электрической и тепловой энергии. Незначительность снижения себестоимости производства энергии объясняется действием удорожающих факторов, в частности, включением в структуру себестоимости затрат на обязательные энергетические обследования. Соответственно в краткосрочной перспективе энергосбережение у производителя не повлияет существенно на уровень тарифов.

Экономия топливно-энергетических ресурсов в объеме 8180 т.у.т. эквивалентна 4,0 млн.рублей (в расчет принималась текущая цена тонны условного топлива, рассчитанная планово-экономическими службами ОАО "Иж-авто" и составляющая 482 руб/т.у.т.).

Одним из важнейших аспектов реформирования промышленности является энергоресурсосбережение, т.е. снижение затрат на производство, передачу и потребление энергоресурсов и воды и связанное с этим смягчение для населения условий перехода отрасли на безубыточное функционирование.

Концепция реализации мер по экономии энергоресурсов и воды изложена в документе "Основные направления и механизм энергоресурсосбережения ", разработанном Госстроем России.

Работы по энергоресурсосбережению основываются на значительном потенциале возможной экономии энергоресурсов и воды.

По данным предварительных обследований, проведенных в ряде регионов России резервы экономии составляют:

- по теплу: от 25 до 60%;

- по воде: от 15 до 30%;

- по электроэнергии: от 10 до 25%.

Для целенаправленной работы по экономии энергоресурсов и воды  разрабатываются программы энергоресурсосбережения, содержащие перечень конкретных мероприятий по внедрению энергосберегающих технологий и устройств.

Мероприятия по энергоресурсосбережению разделяются:

-   долгосрочные высокозатратные мероприятия, требующие значительных капитальных затрат со сроком окупаемости более 5 лет;

-   среднезатратные мероприятия со сроком окупаемости от 2-х до 5 лет;

-   первоочередные малозатратные мероприятия со сроком окупаемости до 1-2 лет.

К долгосрочным высокозатратным мероприятиям относятся:

-   строительство новых крупных тепло- и водоисточников;

-   модернизация действующих, котельных и насосных станций с установкой высокопроизводительного котельного оборудования и насосных агрегатов;

-   использование нетрадиционных источников энергии (тепловые насосы, биогаз, геотермальные воды, солнечная энергия, ветровая энергия и т.п.);

-   прокладка новых или капитальный, ремонт существующих тепловых магистралей с использованием труб с пенополиуретановой теплоизоляцией, обеспечивающей снижение тепловых потерь в 2-3 раза;

-   прокладка новых или капитальный ремонт действующих водопроводных сетей с использованием труб с внутренними покрытиями;

-   утепление наружных стеновых ограждений зданий с использованием жестких плит и гибких матов, замена оконных блоков.

К среднезатратным мероприятиям относится строительство модульных котельных с тепловой мощностью от 1-3 до 30 МВт. Их строительство становится необходимым в условиях острого дефицита тепла в отдельных районах, например, на концевых участках тепломагистралей. При изменении схемы теплоснабжения, необходимо ТЭО такого изменения.

Блочные котельные, построенные в последние годы, отличаются высоким КПД котельного оборудования, высокой степенью автоматизации, минимальным количеством обслуживающего персонала.

Блочные котельные обеспечивают значительную экономию тепла за счет сокращения протяженности наружных тепловых сетей или отказа от них при применении пристроенных, встроенных и крышных котельных.

В блочных котельных необходимо с начала их эксплуатации обеспечить качественную водоподготовку. При этом рекомендуется для умягчения воды использовать обработку воды комплексонами, а для деаэрации - современные методы, обеспечивающие содержание остаточного кислорода на требуемом уровне в отсутствии пара в котельных. При этом рекомендуется в блочных котельных организовать с помощью одного деаэратора деаэрацию воды одновременно для систем теплоснабжения и горячего водоснабжения (обязательно с ТЭО).

К среднезатратным мероприятиям также относятся следующие:

-   повышение экономичности и эффективности работы котельных путем перевода их с дефицитного и дорогостоящего жидкого топлива на газ или местные виды топлива (торф, отходы деревообрабатывающих предприятий и др.);

-   оптимизация процессов горения на котлах и внедрение оптимальных графиков регулирования с использованием средств автоматики и контроля;

-   оптимизация водоподготовки на источниках тепла с использованием современных средств противонакипной и противокоррозионной обработки воды;

-   внедрение рациональных схем теплопотребления установок на ЦТП, обеспечивающих минимальное потребление сетевой воды. Реконструкция ЦТП с применением энергоэффективного оборудования;

-   замена наиболее изношенных участков тепловых сетей, находящихся в аварийном состоянии, на трубы с заводской теплоизоляцией на основе пенополиуретана;

-   утепление наружных стеновых панелей эксплуатируемых зданий путем напыления пенополиуретана;

-   уплотнение оконных и дверных проемов;

-   устранение промерзаний и утепление стыков, крыш, чердаков, подвалов и лестничных клеток.

3. Предложения по энергоресурсосбережению

3.1. Повышение надежности и эффективности работы источников тепла


Система теплоснабжения ОАО «Иж-авто» состоит из теплогенерирующей установки (котельная), системы магистральных теплотрасс, разводящих тепло к центральным тепловым пунктам, разводящих теплотрасс, индивидуальных тепловых пунктов и систем отопления зданий.

В основе проведения мероприятий по энергоресурсосбережению должно лежать положение о стимулировании энергоресурсобережения, сочетающее общую заинтересованность Заказчика и Исполнителей, осуществляющих внедрение соответствующих мероприятий. Стимулирование следует распространять на всех участках процесса теплоснабжения: жителей, муниципальные организации и предприятия, службы теплоснабжения и жилищного хозяйства, органы местного самоуправления.

Часть средств, сэкономленных в процессе внедрения энергоресурсосберегающих мероприятий должна вкладываться в дальнейшие работы по энергоресурсосбережению. Целесообразно создавать специальные фонды энергоресурсосбережения.

Основные резервы энергосбережения лежат в сфере реконструкции. Ранее построенные здания потребляют 85-90% тепловой энергии жилого сектора и их реконструкция может позволить достичь большой экономии энергоресурсов.

При сокращении тепловых потерь через ограждающие конструкции имеется возможность экономить около 42% на отоплении и около 39% на горячем водоснабжении по сравнению с ранее действовавшими нормами (рис.1,2).

На рис. 1 приведено соотношение долей потребления топлива для отопления, вентиляции и горячего водоснабжения жилых и общественных зданий.

Рис. 1. Соотношение долей потребления топлива для отопления (1), горячего водоснабжения (2), и вентиляции (З) жилых и общественных зданий

Ниже (рис.2, 3) приведено (для наглядности в виде количества сжигаемого топлива) сравнение величин теплопотерь для двух одинаковых домов, один из которых построен в соответствии с ранее действовавшими нормами теплозащиты (СНиП II-3-79* "Строительная теплотехника") (А), другой для построенного в соответствии с новыми требованиями, введенными с 1995 года (постановлением Минстроя России от 11.08.95 г. N 18-81) (Б).

Рис. 8. Важность экономии затрат теплоты на отопление при сокращении теплопотерь через ограждения и модернизации систем зданий

Важно оценить вклад конкретных мероприятий при возможном использовании общего резерва энергосбережения (рис. 3 и 4).

Рис. 3. Роль систем инженерного оборудования в общем резерве
энергосбережения в жилых и общественных зданиях

Рис. 4. Роль различных мероприятий по энергосбережению в общем резерве энергосбережения в жилых и общественных зданиях 1 - нетрадиционные источники, 2 - модернизация, 3 - учет расхода теплоты, 4 - тепловая изоляция

Использование термодинамического потенциала пара котельной для выработки электроэнергии для собственных нужд снижает общие финансовые затраты на обеспечение работы котельной. Себестоимость выработки электроэнергии на небольшой противодавленческой турбине получается в три - четыре раза ниже, чем закупаемая из энергосистемы. При этом на выработку электроэнергии тратится дополнительно не более 10% используемого топлива.

Учитывая, что стоимость электрической энергии с учетом затрат на ее транспортировку и распределение в 8-10 раз дороже тепловой, все большее применение находят системы децентрализованного комбинированного производства тепловой и электрической энергии, - (мини ТЭЦ), где тепловая энергия частично преобразуется в более эффективную электрическую. Установка в паровой котельной турбины или винтовой паровой машины с противодавлением позволяет преобразовывать срабатываемый теплоперепад в электроэнергию, которую можно использовать для собственных нужд, а избыток продавать другим потребителям.

Экономию термодинамического потенциала топлива нужно проводить на всех этапах генерирования и использования тепловой энергии для целей теплоснабжения объектов ЖКХ, в котельных, в системах транспортировки и распределения, у потребителя.

Например, в котельной с четырьмя паровыми котлами ДКВР-10 может быть установлена одна турбина мощностью 1,5 МВт, что позволяет полностью обеспечить собственные нужды котельной (0,5 МВт), а избыток продать другим потребителям. Наиболее распространенным у потребителей является давление 0,12, 0,4, 0,6 МПа. Удельная выработка электроэнергии на установках приведенного типа составляет от 50 до 120 кВтчас/Гкал, удельный расход пара на турбину - от 30 до 50 кг/с/кВт. Расход пара и топлива при этом увеличивается, как правило, на 5-7%. Стоимость дополнительного расхода топлива в 8-9 раз ниже стоимости выработанной электроэнергии (сравнение в кДж). Турбины с противодавлением мощностью 0,5-1,5 МВт на общей раме с генератором, комплектно со щитом КИП поставляет Калужский турбинный завод (имеется информация и о менее мощных турбинах), разработана и проходит испытания паровая винтовая машина мощностью 200 кВт.

Турбина ПТГ-1000 производства ГНПП "Пролетарский завод" (г. Санкт-Петербург) с генератором на общей раме имеет габариты 5,5 х 2,5 х 2 м и может быть установлена либо в свободных ячейках котельной, либо в сборном металлическом модуле заводской поставки. Расход пара на турбину 38 т/ч, масса турбогенератора 7 т.

Экономическая целесообразность превращения котельной в мини-ТЭЦ должна определяться только на этапе окупаемости. Прибыль на втором этапе является текущим показателем, повышающим эффективность системы.

Раз в три - пять лет в котельных проводятся пуско-наладочные работы и тепловые балансовые испытания, в которых проверяется КПД котлов, подбирается оптимальный, по результатам газового анализа, коэффициент избытка воздуха альфа на различных режимах нагрузки котлов. Составляются режимные карты работы котлов. Целесообразно провести газовый анализ уходящих дымовых газов для проверки q2, рз и а (коэффициент избытка воздуха в уходящих газах позволяет оценить подсосы воздуха и качество обмуровки котла, допустимое значение а при работе на газообразном топливе равно 1,05 - 1,20). Низкое содержание CO и альфа указывают на правильную настройку режимов работы горелочных устройств.

Рис. 5. Влияние избытка воздуха на потери газа при его сжигании

Высокие значения альфа в хвостовой части котла указывают на плохое качество обмуровки и большие подсосы наружного воздуха, приводящие к снижению КПД котлоагрегата и перерасходу электроэнергии на привод дымососов.

По температуре уходящих газов необходимо оценить возможность применения экономайзера и контактных теплообменников для увеличения КПД котельных агрегатов. При использовании газообразного топлива интерес представляет применение контактных теплообменников, позволяющих значительно снизить температуру уходящих газов, т.к. при хорошо организованном процессе горения нагреваемая при орошении топочных газов вода практически не загрязняется продуктами сгорания.

Рис. 6. Влияние избытка воздуха на перерасход мазута

Рис. 7. Влияние содержания CO (химический недожег) в топочном газе
на перерасход топлива (газ, нефть)

Более точные результаты получают при проведении тепловых балансовых испытаний котельных агрегатов, которые проводятся специальными лицензированными организациями.

Рис. 8. Влияние процессов смесеобразования и коэффициента избытка воздуха в горелочных устройствах на КПД горения газа, t vx = 183°C

Плохая работа деаэратора приводит к наличию в питательной воде растворенных газов (особенно, вредных для металлоконструкций кислорода и углекислого газа). При нагреве недеаэрированной воды растворимость растворенных в ней газов (в их составе O2 и CO2) уменьшается, они становятся как бы избыточными, более химически активными и агрессивными к металлам. Практика показывает, что при наличии избыточного кислорода и углекислого газа в системах горячего теплоснабжения, котлов, отопления трубы могут выйти из строя на 3-5 год эксплуатации. Коррозионный коэффициент кислорода при наличии углекислого газа увеличивается почти в 3 раза.

При переводе паровых котлов на водогрейный режим по отопительному графику без предварительного подогрева воды на входе в котел возникает низкотемпературная коррозия хвостовых поверхностей нагрева котла. Иногда такая коррозия выводит из строя котлы на 3-5-й год эксплуатации. Согласно СНиП 11-35-76 температура питательной воды на входе в экономайзер и в водогрейные котлы должна на 5-10°C превышать температуру точки росы дымовых газов. Эта температура для продуктов сгорания природного газа составляет 60°C, для мазута - 43°C. При работе котла на сернистом мазуте температура питательной воды на входе в стальной экономайзер должна превышать 135°C.

В связи с возрастанием стоимости топлива необходимо оценить целесообразность улучшения теплоизоляции котлов, водоподогревателей, трубопроводов для уменьшения потерь в системах генерирования и распределения теплоты. Рекомендуемая наружная температура обмуровки современных котлов не превышает на 10-15°C температуру окружающего воздуха.

По результатам измерения расходов подпиточной воды определяются потери воды в системе теплоснабжения и степень возврата конденсата в систему питания котлов. Анализ показывает, что экономические потери от невозврата конденсата в систему питания котлов значительно превышают потери тепловой энергии, связанные с частичным недоиспользованием его тепла.

Таблица 5

Экономическая эффективность предлагаемых энергосберегающих
мероприятий и их эффективность при эксплуатации котлоагрегатов

 ———————————————————————————————————————————————————————————————————————

|N  |              Мероприятия              |        Топливо (%)        |

|п.п|                                       |———————————————————————————|

|.  |                                       |  Экономия   | Перерасход  |

|———|———————————————————————————————————————|—————————————|—————————————|

|  1|                 2                     |       3     |      4      |

|———|———————————————————————————————————————|—————————————|—————————————|

|1. |Снижение присосов воздуха  по  газовому|     0,5     |      -      |

|   |тракту котлоагрегата на 0,1%           |             |             |

|———|———————————————————————————————————————|—————————————|—————————————|

|2. |Увеличение коэффициента избытка воздуха|      -      |     0,7     |

|   |в топке на 0,1%                        |             |             |

|———|———————————————————————————————————————|—————————————|—————————————|

|3. |Установка  водяного     экономайзера за|     5-6     |      -      |

|   |котлом                                 |             |             |

|———|———————————————————————————————————————|—————————————|—————————————|

|4. |Применение за котлоагрегатами установок|    до 15    |             |

|   |глубокой  утилизации  тепла,  установок|             |             |

|   |использования      скрытой      теплоты|             |             |

|   |парообразования уходящих дымовых  газов|             |             |

|   |(контактный теплообменник)             |             |             |

|———|———————————————————————————————————————|—————————————|—————————————|

|5. |Применение вакуумного деаэратора       |     1,0     |      -      |

|———|———————————————————————————————————————|—————————————|—————————————|

|6. |Отклонение содержания  CO2  в  уходящих|             |     0,6     |

|   |дымовых газах от оптимального  значения|             |             |

|   |на 1%                                  |             |             |

|———|———————————————————————————————————————|—————————————|—————————————|

|7. |Снижение температуры отходящих  дымовых|  0,6 и 0,7  |      -      |

|   |газов  на  10°C  для  сухих  и  влажных|             |             |

|   |топлив                                 |             |             |

|———|———————————————————————————————————————|—————————————|—————————————|

|8. |Повышение температуры питательной  воды|     2,0     |      -      |

|   |на входе в барабан котла на 10°C  (Р  =|             |             |

|   |13 ата, и кпд = 0,8)                   |             |             |

|———|———————————————————————————————————————|—————————————|—————————————|

|9. |Повышение температуры питательной  воды|      -      |    0,23     |

|   |на входе в водяной экономайзер на 10°C |             |             |

|———|———————————————————————————————————————|—————————————|—————————————|

|10.|Подогрев  питательной  воды  в  водяном|     1,0     |      -      |

|   |экономайзере на 6°C                    |             |             |

|———|———————————————————————————————————————|—————————————|—————————————|

|11.|Увеличение   продувки    котла    свыше|      -      |     0,3     |

|   |нормативных значений на 1%             |             |             |

|———|———————————————————————————————————————|—————————————|—————————————|

|12.|Установка  обдувочного   аппарата   для|     2,0     |      -      |

|   |очистки наружных поверхностей нагрева  |             |             |

|———|———————————————————————————————————————|—————————————|—————————————|

|13.|Наличие    накипи     на     внутренней|      -      |     2,0     |

|   |поверхности нагрева котла, толщиной 1мм|             |             |

|———|———————————————————————————————————————|—————————————|—————————————|

|14.|Замена 1т  невозвращенного  в  тепловую|      -      | 20 кг у.т.  |

|   |схему  котельной  конденсата  химически|             |             |

|   |очищенной водой.                       |             |             |

|———|———————————————————————————————————————|—————————————|—————————————|

Продолжение табл. 5

|———|———————————————————————————————————————|—————————————|—————————————|

|  1|                 2                     |       3     |      4      |

|———|———————————————————————————————————————|—————————————|—————————————|

|15.|Перевод  работы   парового     котла на|     2,0     |      -      |

|   |водогрейный режим                      |             |             |

|———|———————————————————————————————————————|—————————————|—————————————|

|16.|Работа  котла  в   режиме   пониженного|      -      |     6,0     |

|   |давления (с 13 ата)                    |             |             |

|———|———————————————————————————————————————|—————————————|—————————————|

|17.|Отклонение    нагрузки         котла от|             |             |

|   |оптимальной на 10%                     |             |             |

|———|———————————————————————————————————————|—————————————|—————————————|

|   |- в сторону уменьшения                 |             |     0,2     |

|   |                                       |             |             |

|   |- в сторону увеличения                 |      -      |     0,5     |

|———|———————————————————————————————————————|—————————————|—————————————|

|18.|Испытания  (наладка)     оборудования и|     3,0     |      -      |

|   |эксплуатация его  в  режиме  управления|             |             |

|   |КИП                                    |             |             |

|———|———————————————————————————————————————|—————————————|—————————————|

|19.|Утечка пара через отверстие 1 мм при  Р|      -      | 3,6 кг у.т. |

|   |= 6 ата                                |             |             |

|———|———————————————————————————————————————|—————————————|—————————————|

|20.|Забор   воздуха   из       верхней зоны| 17 кг у. т. |      -      |

|   |котельного  зала  на  каждые    1000 м3|             |             |

|   |газообразного топлива                  |             |             |

|———|———————————————————————————————————————|—————————————|—————————————|

|21.|Повышение температуры воды на выходе из|             |      4      |

|   |котла.                                 |             |             |

|———|———————————————————————————————————————|—————————————|—————————————|

|22 |Применение щелевых деаэраторов         |             |             |

|———|———————————————————————————————————————|—————————————|—————————————|

|23 |Применение  трансоников   (пароструйных|             |             |

|   |смесительных          теплообменников),|             |             |

|   |экономящих затраты энергии на перекачку|             |             |

|   |воды в системе.                        |             |             |

 ———————————————————————————————————————————————————————————————————————

Образующаяся из солей кальция и магния накипь в 10-700 раз хуже проводит теплоту, чем сталь. Имеющиеся в составе питательной воды хлориды натрия и магния усиливают коррозию. При толщине слоя накипи 0,5 мм перерасход топлива составляет 1%, при 2 мм - 4%. Вследствие термического сопротивления слоя накипи уже при ее толщине 0,2 мм температура стенок котла может сильно отличаться от температуры котловой воды и в современных котлах достигать 700°C.

3.2. Применение комплексонов для промывки, борьбы с
накипеобразованиями и отложениями


Серьезная проблема борьбы с отложениями возникает в теплообменниках системы горячего водоснабжения, когда проходное сечение труб почти полностью зарастает накипью. При механической очистке часто повреждаются эти трубки и на ремонт требуются значительные - финансовые затраты.

Для тепловых систем, питаемых водой из водозаборных скважин, задача борьбы с отложениями накипи в котлах, теплообменниках и трубопроводах является сложной технической проблемой. Традиционно применяемые системы ионообменных фильтров капиталоемкие, требуют больших эксплуатационных затрат и не всегда технически грамотно эксплуатируются в небольших тепловых системах.

Зарастание отложениями трубопроводов тепловых систем, в том числе и оборотного водоснабжения, приводит к значительному увеличению их гидравлического сопротивления, разрегулировке систем отопления и большим энергетическим потерям на прокачку системы.

Борьба с отложениями является сложной технической проблемой. Она проводится как механическим, так и химическим способами и требует остановки сетей на ремонт.

В системе водоподготовки питательной воды начали применяться новые, более дешевые способы ее обработки: ультразвуковые, магнитные, присадки комплексонов и др.

Большой интерес представляет дешевый и эффективный способ борьбы с накипеобразованиями в зонах нагрева сырой воды с помощью комплексонов.

Ультразвуковой способ основан на разрыхлении и смывке образующихся отложений при воздействии ультразвукового излучателя. Мощность излучателя составляет несколько кВт и зона воздействия ограничена.

Магнитная обработка не требует постоянных затрат энергии, но эффективность действия зависит от состава воды.

Электроискровой высоковольтный способ очистки отложений возможен только в период ремонтных работ при остановке системы.

Промывка котлов и тепловых систем с помощью слабых растворов соляной кислоты производится также при остановке системы в период ремонтных работ.

Применение комплексонов, содержащих фосфоновые группировки РО(ОН)2, и комплексонатов, производных от комплексонов, в системах теплоснабжения позволяет не только избежать отложения накипи в котлоагрегатах и теплообменниках, но и отмыть контуры систем теплоснабжения и водогрейных котлоагрегатов от предыдущих отложений. При применении комплексонов в системах с большими объемами воды, где накопилось большое количество отложений, целесообразна установка фильтров шламоудалителей твердых мелкодисперсных отложений. В связи с низкой скоростью витания они начинают скапливаться в зонах с низкими скоростями течения, которые часто расположены в нижних коллекторах котлов, а это может привести к прогоранию труб. После очистки системы от накипи эта опасность уменьшается. Возможно, перед началом применения комплексонов необходимо промыть систему.

Эффективность применения комплексонов зависит от их концентрации и химического состава воды. При обработке комплексонами воды с содержанием железа более 0,3 мг/л целесообразно предварительно провести ее обезжелезивание.

До начала применения комплексонов системы с отложениями целесообразно отмыть, предпочтительно, в несколько этапов, при больших дозировках концентрации комплексонов.

При эксплуатации сетей с накопившимися отложениями поддерживается концентрация комплексонов, соответствующая равновесному состоянию, когда старые отложения не отмываются, а новые не образуются.

Нарушение этого равновесия в сторону интенсивной отмывки сетей приводит к тому, что все накопившиеся шламы попадают в воду и начинают скапливаться в зонах системы с низкой скоростью движения воды. Особенно это опасно для котлов.

В системах, использующих комплексоны, необходимо применять интенсивные методы шламоудаления, правильно размещая неполнопоточные шламоотделители. В процессе эксплуатации в конечном счете вся вода пройдет через них.

Расход комплексонов рассчитывают исходя из объема отмываемого контура и количества отложений. На завершение очистки указывает стабильность во времени концентраций ионов железа, комплексона и значения pH.

Учитывая возросшие экономические затраты на традиционные способы обработки питательной и сетевой воды с применением ионообменных фильтров (стоимость достигает 10 и более руб./м3), представляет интерес переход на новую автоматизированную (стоимостью около 30-50 тыс.руб. за установку) систему обработки воды. При цене комплексона 25-30 руб./кг одного килограмма комплексона достаточно для обработки до 1500 м3 питательной воды. Себестоимость обработки одного м3 воды при этом достигает нескольких копеек, нет сброса хлоридов металлов на очистные сооружения, трубы системы подвергаются обработке замедляющей химическую коррозию (при применении цинконата комплексонов), происходит отмывка тепловой системы от ранее накопившихся отложений.

Обработка комплексонами воды не предотвращает образование биологических и наносных отложений. Поэтому используемая из поверхностных источников вода должна пройти предварительную механическую очистку.

Применение комплексонов не исключает необходимость деаэрации подпиточной воды. Остаточное содержание комплексона в системе не должно превышать предельных допустимых концентраций указанных в Санитарно-гигиенические характеристики оксиэтилидедифосфоновой кислоты ОЭДФ, тринатриевой Na3ОЭФД, монокалиевой КОЭФД ее кислот, нитрилотриметилфосфоновой кислоты НТФ по данным Института реактивов и особо чистых веществ (ИРЭА), г.Москва, приведены в табл. 6.

Таблица 6

Допустимые нормы концентрации комплексонов в воде
хозяйственно-бытового назначения

 ———————————————————————————————————————————————————————————————————————

|Соедине- |  ПДК в воде   |  ПДК в воде  |ОБУВ в воздухе|    ОБУВ в     |

|   ние   |   водоемов    |рыбохозяйстве-| рабочей зоны |  атмосферном  |

|         |санитарно-быто-|нных водоемов |              |    воздухе    |

|         |вого назначения|              |              |               |

|—————————|———————————————|——————————————|——————————————|———————————————|

|         |    Перечень   |Дополнительный|  Список N 6  |Список 21-91-80|

|         | N 2932-83 ПДК |   перечень   |   вредных    |от 01.08.80 г. |

|         | и ОБУВ в воде |  N 30-11-Т1  |  веществ в   | Дополнение к  |

|         |   веществ в   |Главрыбвода к |   воздухе    |списку 14-30-76|

|         |водных объектах|приложению N 3|рабочей зоны. |от 03.07.76 г. |

|         | хозяйственно- |"Правил охраны|   Перечень   |     ОБУВ      |

|         |  питьевого и  |поверхностных |  N 2155-80   | загрязняющих  |

|         |культурно-быто-|    вод от    |   МЗ СССР    |   веществ в   |

|         |     вого      | загрязнения  |от 18.03.80 г.|  атмосферном  |

|         |  пользования  |   сточными   |              |    воздухе    |

|         |    МЗ СССР    |    водами"   |              |  населенных   |

|         |               |              |              |      мест     |

|—————————|———————————————|——————————————|——————————————|———————————————|

|  ОЭДФ   |   0,6 мг/л    |   0,9 мг/л   |  2,0 мг/м3   |  0,04 мг/ м3  |

|—————————|———————————————|——————————————|——————————————|———————————————|

|—————————|———————————————|——————————————|——————————————|———————————————|

|  КОЭДФ  |   0.3 мг/л    |              |  2,0 мг/м3   |               |

|—————————|———————————————|——————————————|——————————————|———————————————|

| Zn ОЭДФ |   5,0 мг/л    |              |              |               |

|         | (для горячей  |              |              |               |

|         |     воды)     |              |              |               |

|—————————|———————————————|——————————————|——————————————|———————————————|

|   НТФ   |   1,0 мг/л    |   0,1 мг/л   |  2,0 мг/м3   |  0,03 мг/м3   |

 ———————————————————————————————————————————————————————————————————————

Перечисленные вещества умеренно токсичны с умеренно - выраженной способностью к кумуляции. Относятся к 3 классу умеренно - опасных веществ (ГОСТ 12.1.007-76). Слабо раздражают кожу и слизистую оболочку глаз. Проливы концентрата цинкового комплексона ZпОЭДФ смываются водопроводной водой. При попадании на кожу или в глаза необходимо промыть пораженное место водой, а затем соответствующим раствором бикарбоната натрия (2% раствор для нейтрализации раствора на поверхности кожи и 0,5% - для промывки глаз). Эти рекомендации необходимо иметь в виду при приготовлении концентрированных рабочих растворов для позирующих устройств.

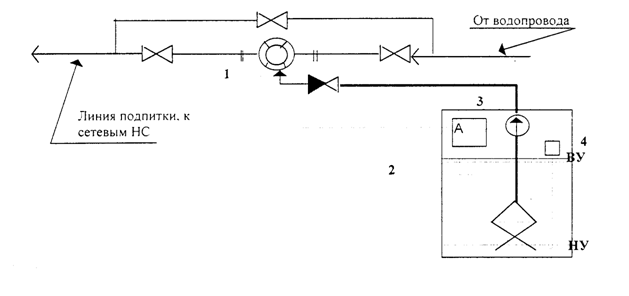
Рис. 9. Схема установки для дотирования комплексонов

Таблица 7

Рекомендуемые концентрации комплексонов ОЭДФ в сетевой и воде, по данным ИРЭА для различных значений индекса насыщения исходной воды

 ———————————————————————————————————————————————————————————————————————

|     Индекс     | Водородный |3-4 | 4-5 | 5-6 | 6-7 | 7-8 | 8-9 | 9-10 |

|  насыщенности  | показатель |—————————————————————————————————————————|

|   карбонатом   | (величина) |C_ОЭДФ - концентрация комплексона ОЭДФ в |

|   кальция, I   |     рН     |    подпиточной и сетевой воде, мг/л.    |

|————————————————|————————————|—————————————————————————————————————————|

|       -2       |     <5     |0,5 | 0,8 |  1  |  2  |  2  |  4  |  4   |

|————————————————|————————————|————|—————|—————|—————|—————|—————|——————|

|       -1       |    5-6     |0,5 | 0,8 |  1  |  2  |  3  |  4  |  5   |

|————————————————|————————————|————|—————|—————|—————|—————|—————|——————|

|       0        |    6-7     |0,5 | 0,8 |  1  |  2  |  3  |  4  |  5   |

|————————————————|————————————|————|—————|—————|—————|—————|—————|——————|

|       1        |    7-8     | 1  |  2  |  2  |  3  |  4  |  5  |  5   |

|————————————————|————————————|————|—————|—————|—————|—————|—————|——————|

|       2        |    8-9     | 2  |  3  |  3  |  -  |  5  |  5  |  5   |

|————————————————|————————————|————|—————|—————|—————|—————|—————|——————|

|       3        |    9-10    | 3  |  4  |  4  |  -  |  5  |     |      |

|————————————————|————————————|————|—————|—————|—————|—————|—————|——————|

|       4        |   10-11    | 4  |  5  |  5  |  5  |     |     |      |

|————————————————|————————————|————|—————|—————|—————|—————|—————|——————|

|       5        |   11-12    | 5  |  5  |  5  |     |     |     |      |

 ———————————————————————————————————————————————————————————————————————

3.3. Анализ режимов работы системы теплоснабжения


Тепловая энергия, получаемая службами ОАО «Иж-авто» с различными энергоносителями (газ, топливо, водяной пар, горячая вода и др.), используется для обеспечения потребностей на:

- отопление и вентиляцию;

- горячее водоснабжение;

- собственные нужды.

Наиболее распространенными теплоносителями являются водяной пар и горячая вода с температурой до 150°C, производимые в котельной и по трубопроводам направляемые к потребителям.

Регулирование отопления в основном осуществляется по температуре при постоянном расходе теплоносителя. Во многих случаях расход воды в системе отопления регулируется дважды в год в начале и конце отопительного периода. Расход воды по сети летом составляет около 80% от зимнего расхода. Обычно температура воды в прямой линии колеблется от 70 до 150°C, в обратной линии в основном находится в пределах 42-70°C.

Системы отопления, работающие при постоянном расходе и регулировании температурой теплоносителя (качественное регулирование), имеют недостатки по сравнению с системой регулирования подачей воды (количественное регулирование). Система инерционна, изменение температуры в системе затягивается на несколько часов. Система имеет большое значение постоянной времени переходных процессов, плохо отслеживает потребности в тепле на отопление при резких колебаниях наружной температуры воздуха, которое иногда бывает более десяти градусов за сутки. Температура иногда регулируется только несколько раз в сутки. Особенно большая проблема в обеспечении экономичных режимов больших городов, тепловые сети которых характеризуются большой протяженностью и инерционностью.

При регулировании системы теплоснабжения подачей количества сетевой воды, нагретой до заданной постоянной температуры, мощность насосного агрегата пропорциональна расходу горячей воды в системе в третей степени (для турбулентного режима) и график зависимости мощности насоса во времени отопительного сезона напоминает отопительный график. Площадь под графиком Q-H равна энергии, затраченной на прокачку теплоносителя, которая меньше, чем в первом случае (см. рис. 10).

При создании и реконструкции систем отопления нужно шире внедрять количественные методы регулирования систем.

Переход к системе отопления с регулированием по расходу воды в системе позволяет достичь 60% экономии электроэнергии на привод циркуляционных сетевых насосов. Кроме того, замена элеваторных узлов экономичными малошумящими циркуляционными насосами с системой автоматического регулирования отопления дополнительно экономит энергию циркуляционных насосов.

Рис. 10. Экономия энергии циркуляционного насоса при переходе на
количественное регулирование системы теплоснабжения

Оценку перерасхода тепла на отопление k_пер приближенно можно определить по фактическому превышению (t_д - 18) средней температуры воды в стояках системы отопления над температурой (t = 18°C) внутри здания по сравнению с расчетными значениями по отопительному графику (t_p-18) для заданной температуры наружного воздуха.

В настоящее время находят применение автоматизированные блочные и крышные котельные, которые работают без постоянного обслуживающего персонала. Эти котельные при определенных условиях могут быть экономически выгоднее других решений реализации системы теплоснабжения объекта. Применение таких технических решений позволяет избежать затрат на создание внешних магистральных теплосетей, уменьшить тепловые потери в системе, рассредоточить выбросы вредных веществ в атмосферу. Экономические затраты при теплоснабжении от собственной котельной могут быть в 3-5 раз ниже по сравнению с централизованным теплоснабжением, особенно в условиях рыночной экономики. В каждом конкретном случае необходимо проводить технико-экономический анализ.

Для составления теплового баланса и оценки состояния системы отопления необходимо оценить значения тепловой мощности, потребляемой на отопление зданий различного назначения.

Сравнительный анализ позволяет определить наличие "перетопа" здания и необходимость настройки его системы на проектные показатели. Это особенно важно при настройке на номинальные показатели системы централизованного теплоснабжения. Превышение теплопотерь в зданиях и элементах системы централизованного теплоснабжения больше проектных значений приводит к необходимости выявления причин и проведения работ по их устранению.

В таблице 8 приведены характеристики теплотехнические характеристики зданий, использованные при укрупненных теплотехнических расчетах.

Таблица 8

Теплотехнические характеристики зданий

 ——————————————————————————————————————————————————————————————————————————————————

|  Здание   |Объем V_н|  Удельн. тепловые   |Здание   |Объем |  Удельн. тепловые   |

|           |         |       хар-ки        |         | V_н  |       хар-ки        |

|           |—————————|—————————————————————|         |——————|—————————————————————|

|           | тыс. м3 |   q_о,   |   q_в,   |         | тыс. |   q_о,   |   q_в,   |

|           |         |Вт/(м3°C) |Вт/(м3°C) |         |  м3  |Вт/(м3°C) |Вт/(м3°C) |

|———————————|—————————|——————————|——————————|—————————|——————|——————————|——————————|

|     1     |     2   |     3    |     4    |    5    |  6   |     7    |     8    |

|———————————|—————————|——————————|——————————|—————————|——————|——————————|——————————|

|Жилые,     |  до 3   |   0.49   |          |Поликли- | до 5 |   0.46   |    -     |

|гостиницы, |         |          |          |ники,    |      |          |          |

|общежития, |         |          |          |амбулато-|      |          |          |

|залы       |         |          |          |рии,     |      |          |          |

|ожидания   |         |          |          |диспансе-|      |          |          |

|           |         |          |          |ры       |      |          |          |

|           |—————————|——————————|——————————|         |——————|——————————|——————————|

|           |   <5    |   0.44   |    -     |Больницы | <10  |   0.42   |   0.29   |

|           |—————————|——————————|——————————|         |——————|——————————|——————————|

|           |   <10   |   0.4    |    -     |         | <15  |   0.37   |   0.29   |

|           |—————————|——————————|——————————|         |——————|——————————|——————————|

|           |  < 15   |   0.36   |    -     |         | >15  |   0.35   |   0.26   |

|           |—————————|——————————|——————————|         |——————|——————————|——————————|

|           |   <20   |   0.33   |    -     |         |  <5  |   0.47   |   0.34   |

Продолжение табл.8

|———————————|—————————|——————————|——————————|—————————|——————|——————————|——————————|

|     1     |     2   |     3    |     4    |    5    |  6   |     7    |     8    |

|———————————|—————————|——————————|——————————|—————————|——————|——————————|——————————|

|           |   <25   |   0.32   |    -     |         | <10  |   0.42   |   0.33   |

|           |—————————|——————————|——————————|         |——————|——————————|——————————|

|           |   <30   |   0.31   |    -     |         | <15  |   0.37   |   0.30   |

|           |—————————|——————————|——————————|         |——————|——————————|——————————|

|           |   >30   |   0.3    |    -     |         | >15  |   0.35   |   0.29   |

|           |—————————|——————————|——————————|         |——————|——————————|——————————|

|Администра-|   <5    |   0.5    |   1.02   |Прачечные|  <5  |   0.44   |   0.93   |

|тивные     |—————————|——————————|——————————|         |——————|——————————|——————————|

|           |   <10   |   0.44   |   0.09   |         | <10  |   0.38   |   0.90   |

|           |—————————|——————————|——————————|         |——————|——————————|——————————|

|           |   <15   |   0.40   |   0.08   |         | >10  |   0.36   |   0.87   |

|           |—————————|——————————|——————————|         |——————|——————————|——————————|

|           |   >15   |   0.37   |          |Предприя-|  <5  |   0.40   |   0.81   |

|           |—————————|——————————|——————————|тия      |——————|——————————|——————————|

|Клубы,     |   <5    |   0.43   |   0.29   |обществе-| <10  |   0.38   |   0.75   |

|дворцы     |—————————|——————————|——————————|нного    |——————|——————————|——————————|

|культуры   |   <10   |   0.38   |   0.27   |питания  | >10  |   0.35   |   0.70   |

|           |—————————|——————————|——————————|         |——————|——————————|——————————|

|           |   >10   |   0.35   |   0.23   |Лаборато-|  <5  |   0.43   |   1.16   |

|           |         |          |          |рии      |      |          |          |

|           |—————————|——————————|——————————|         |——————|——————————|——————————|

|Детские    |   <5    |   0.44   |   0.13   |         | <10  |   0.40   |   1.10   |

|сады и ясли|         |          |          |         |      |          |          |

|           |—————————|——————————|——————————|         |——————|——————————|——————————|

|           |   >5    |   0.40   |   0.12   |         | >10  |   0.38   |   1.05   |

|           |—————————|——————————|——————————|         |——————|——————————|——————————|

|Учебные    |   <10   |   0.41   |    -     |Пожарное |  <2  |   0.56   |   0.16   |

|заведения  |         |          |          |депо     |      |          |          |

|           |—————————|——————————|——————————|         |——————|——————————|——————————|

|           |   <15   |   0.38   |   0.12   |         |  <5  |   0.54   |   0.11   |

|           |—————————|——————————|——————————|         |——————|——————————|——————————|

|           |   <20   |   0.35   |   0.09   |         |  >5  |   0.53   |   0.11   |

|           |—————————|——————————|——————————|         |——————|——————————|——————————|

|           |   >20   |   0.28   |   0.09   |Гаражи   |  <2  |   0.81   |    -     |

|           |—————————|——————————|——————————|         |——————|——————————|——————————|

|Механосбо- |  5-10   |0.64-0.53 | 0.47-029 |         |  <3  |   0.70   |    -     |

|рочные,    |—————————|——————————|——————————|         |——————|——————————|——————————|

|механичес- |  10-15  |0.53-0.47 | 0.29-018 |         |  <5  |   0.64   |   0.8    |

|кие и      |—————————|——————————|——————————|         |——————|——————————|——————————|

|слесарные  | 50-100  |0.47-0.44 |0.18-0.14 |         |  >5  |   0.57   |   0.75   |

|отделения  |—————————|——————————|——————————|         |——————|——————————|——————————|

|инструмен- | 100-200 |0.44-0.41 |0.14-0.09 |Деревооб-|  <5  | 0.7-0.64 | 0.7-0.58 |

|тальных    |         |          |          |делочные |      |          |          |

|цехов      |         |          |          |цеха     |      |          |          |

|           |—————————|——————————|——————————|         |——————|——————————|——————————|

|Цеха       |   <2    | 0.76.0.7 |  6-4.7   |         | 5-10 |0.64-0.53 |0.58-0.53 |

|покрытий   |—————————|——————————|——————————|         |——————|——————————|——————————|

|(гальванич.|   2-5   | 0.7-0.64 | 4.7-3.5  |Ремонтные| 5-10 | 0.7-0.58 |0.23-0.18 |

|и др.)     |         |          |          |цеха     |      |          |          |

|           |—————————|——————————|——————————|         |——————|——————————|——————————|

|           |  5-10   |0.64-0.53 | 3.5-2.3  |         |10-20 |0.58-0.53 |0.18-0.12 |

|           |—————————|——————————|——————————|         |——————|——————————|——————————|

|Компрессор-|  <0.5   | 0.81-2.3 |    -     |Котельные| 2-10 |   0.12   | 0.35-0.6 |

|ные        |         |          |          |         |      |          |          |

|           |—————————|——————————|——————————|         |——————|——————————|——————————|

|           |  0.5-1  | 0.7-0.81 |    -     |         |10-20 |   0.09   |0.23-0.47 |

|           |—————————|——————————|——————————|         |——————|——————————|——————————|

|           |   1-2   | 0.52-0.7 |    -     |Газогене-| 5-10 |   0.12   |   2.1    |

|           |         |          |          |раторные |      |          |          |

|           |—————————|——————————|——————————|         |——————|——————————|——————————|

|           |   2-5   |0.47-0.53 |    -     |Регенера-| 2-3  | 0.7-0.87 | 0.58-0.7 |

|           |         |          |          |ция масел|      |          |          |

|           |—————————|——————————|——————————|         |——————|——————————|——————————|

|           |  5-10   |0.40-0.47 |     -    |Склады   |  <1  | 1.0-0.87 |     -    |

|           |—————————|——————————|——————————|химикатов|——————|——————————|——————————|

Продолжение табл.8

|———————————|—————————|——————————|——————————|—————————|——————|——————————|——————————|

|     1     |     2   |     3    |     4    |    5    |  6   |     7    |     8    |

|———————————|—————————|——————————|——————————|—————————|——————|——————————|——————————|

|Служебные и|  0.5-1  | 0.7-0.52 |     -    |и красок | 1-2  |0.87-0.75 |     -    |

|администра-|         |          |          |и т.п.   |      |          |          |

|тивно-вспо-|—————————|——————————|——————————|         |——————|——————————|——————————|

|могательные|   1-2   | 0.52-047 |          |         | 2-5  |0.75-0.67 | 0.7-0.52 |

|здания     |         |          |          |         |      |          |          |

|           |—————————|——————————|——————————|         |——————|——————————|——————————|

|           |   2-5   |0.47-0.38 |0.16-0.14 |Проходные| <0.5 | 1.5-1.4  |    -     |

|           |—————————|——————————|——————————|         |——————|——————————|——————————|

|           |  5-10   |0.38-0.35 |0.14-0.13 |         |0.5-2 | 1.4-0.81 |    -     |

|           |—————————|——————————|——————————|         |——————|——————————|——————————|

|           |  10-20  |0.35-0.29 |0.13-0.12 |         | 2-5  |0.81-0.64 |0.17-0.12 |

|           |—————————|——————————|——————————|         |——————|——————————|——————————|

|Казармы   и|  5-10   |0.44-0.38 |    -     |         |      |          |          |

|помещения  |—————————|——————————|——————————|         |——————|——————————|——————————|

|ВОХР       |  10-15  |0.38-0.36 |    -     |         |      |          |          |

 ——————————————————————————————————————————————————————————————————————————————————

Экономии тепла в системе отопления объектов ОАО «Иж-авто» также можно достичь техническими и организационными мероприятиями:

- Переход системы отопления на режим дежурного отопления при сниженной (12-14°C) температуре в нерабочие смены и выходные дни  позволяет достичь 8-10% экономии тепловой энергии на отопление (в климатических условиях средней полосы России). Возможно применение автоматизированных систем отопления, снижающих температуру в ночное время (переключается централизованно и индивидуально).

- Применение систем лучистого отопления с обогреваемыми полами и стеновыми панелями, которые создают комфортные условия при температурах 15-16°C. Таким образом, снижается расход топлива примерно на 20-30%.

Потери тепловой энергии в центральных тепловых пунктах формируются и определяются:

- нарушением теплоизоляции;

- утечками теплоносителя;

- плохой регулировкой оборудования теплового пункта;

- несогласованным режимом работы сетевых насосов;

- наличием отложений в теплообменниках, приводящих к увеличению их гидравлического сопротивления и ухудшению процессов теплообмена.

На потребление тепловой энергии в здании оказывают воздействие следующие факторы:

- климат;

- теплоизоляционные характеристики здания;

- режим работы системы отопления и применение систем учета и регулирования;

- оснащение потребителей приборами учета теплопотребления и отношение потребителей к режимам экономии.

Большинство систем отопления традиционно имеет качественное регулирование отпуска тепловой энергии (из центральной котельной) по температуре воды, подаваемой в теплосеть. Общие недостатки такой системы отмечались выше.

3.4. Технико-экономический анализ энергосберегающих мероприятий


В конечном итоге работа по проведению энергоресурсоаудита должна заканчиваться разработкой программы устранения нерациональных потерь энергии и связанным с этим повышением экономической эффективности работы коммунальных предприятий и объектов. Проводится технико-экономический анализ эффективности предлагаемых мероприятий, определяются сроки окупаемости, разрабатывается очередность их внедрения. Предпочтение отдается тем предложениям, которые имеют небольшие затраты и малые сроки окупаемости.

Как правило, малозатратные организационно-технические мероприятия, наводящие элементарный порядок в энергопользовании, позволяют получить в самый короткий срок экономию до 10-25% энергоресурсов (срок окупаемости - до 3 лет).

Реализация проектов с большими финансовыми затратами и сроками окупаемости переносится на более поздний период и учитывается при планировании капитальных ремонтных работ.

В простейшем случае оценка эффективности применения энергосберегающих проектов проводится по сроку окупаемости инвестиций, необходимых для реализации этих проектов:

Более глубокой является оценка эффективности инвестиций на реализацию энергосберегающих проектов, учитывающая также оплаты по банковской кредитной ставке, инфляцию, в некоторых случаях обесценивающую положительный эффект от энергосбережения. Инвестиционный анализ позволяет сравнить эффективность различных энергосберегающих проектов, оценить, насколько эффективнее вкладывать денежные средства в реализацию энергосберегающего проекта по сравнению с использованием их в банковском бизнесе и других финансовых проектах, в которых можно получить заранее обусловленный процент прибыли.

По второй схеме анализа строится график погашения кредита, полученного на реализацию энергосберегающего проекта, при заданной процентной банковской ставке и экономическом эффекте, направляем на погашение кредита.

Если в течение периода вводятся дополнительные кредиты, то расчет ведется по этапам, заключенным между дополнительными кредитами.

Рис. 11. Оценка сроков окупаемости кредита на реализацию
энергосберегающего проекта

Целью настоящего раздела является формирование принципов и методов оценки, определение процедуры расчета экономии средств, используемых для финансирования процессов производства.

Осуществление указанной цели требует решения следующих основных задач:

-   выявление возможных источников экономии средств;

-   прогнозная оценка затрат и потенциальной экономии;

-   учет фактически полученной экономии;

-   определение путей рационального использования полученной экономии для стимулирования процессов энергоресурсосбережения.

Кроме того, предусматривается оценка и сопоставление затрат на проведение энергоресурсосберегающих мероприятий и результатов от их реализации, которые выражаются в абсолютном или относительном сокращении потребности в бюджетных средствах.

В конечном итоге это позволит оценить эффективность действий различных участников процессов производства, прямо или косвенно влияющих на сокращение затрат средств.

Предусматривается комплексный подход к рассмотрению вопросов внедрения технических и организационных мероприятий по совершенствованию обслуживания и энергосбережению, а также по реализации форм и методов экономического стимулирования энергосберегающих мероприятий.

Основные направления энергосбережения, обеспечивающие экономию средств в сфере потребления, производства и оказания услуг, представлены на рис.12.

 ———————————————————————————————————————————————————————————————————————

| —————  —————  —————  —————  ——————  —————  ————  ——————  ——————  ———— |

||Ис-  ||Теле-||Внед-||Тепло||Рекон-||Аудит||Соз-||Совер-||Совер-||Пла-||

||поль-||меха-||рение||изо- ||струк-||тари-||да- ||шенст-||шенст-||ни- ||

||зова-||низа-||новых||ляция||ция   ||фов, ||ние ||вова- ||вова- ||ро- ||

||ние  ||ция  ||тех- ||зда- ||источ-||энер-||ние ||ние   ||ние   ||ва- ||

||не-  ||объ- ||ноло-||ний  ||ников ||гоау-||бил-||хозяй-||норма-||ние ||

||тра- ||ектов||гиче-||     ||т/с,  ||дит  ||лин-||ствен-||тив-  ||и   ||

||дици-||ЖКХ, ||ских ||     ||насос-||     ||го- ||ного  ||нопра-||фи- ||

||онных||опти-||про- ||     ||ных   ||     ||вых ||меха- ||вовой ||нан-||

||ис-  ||миза-||цес- ||     ||агре- ||     ||ком-||низма ||базы  ||си- ||

||точ- ||ция  ||сов  ||     ||гатов,||     ||па- ||в час-||      ||ро- ||

||ников||рабо-||ре-  ||     ||сетей ||     ||ний,||ти ре-||      ||ва  ||

||т/с  ||ты   ||монта||     ||      ||     ||ус- ||сурсо-||      ||ние ||

||     ||обо- ||и об-||     ||      ||     ||та- ||сбере-||      ||ме- ||

||     ||рудо-||слу- ||     ||      ||     ||нов-||жения ||      ||роп-||

||     ||вания||жива-||     ||      ||     ||вка ||      ||      ||рия-||

||     ||и се-||ния  ||     ||      ||     ||при-||      ||      ||тий ||

||     ||тей  ||объ- ||     ||      ||     ||бо- ||      ||      ||    ||

||     ||     ||ектов||     ||      ||     ||ров ||      ||      ||    ||

||     ||     ||ЖКХ  ||     ||      ||     ||уче-||      ||      ||    ||

||     ||     ||     ||     ||      ||     ||та  ||      ||      ||    ||

| —————  —————  —————  —————  ——————  —————  ————  —————— ———————  ———— |

|                                                                       |

|           Оценка инвестиционных затрат           средств              |

|          (непосредственно из бюджета или части кредитных              |

|              ресурсов, подлежащих возврату из бюджета)                |

 ———————————————————————————————————————————————————————————————————————

                                 |

 ———————————————————————————————————————————————————————————————————————

|        ———————————————————————————————————————————————————            |

|       |   Организация деятельности реконструированных     |           |

|       |         или вновь созданных объектов              |           |

|        ———————————————————————————————————————————————————            |

|                                                                       |

|          Оценка инвестиционных затрат           средств               |

|              на эксплуатацию, обслуживание и ремонт                   |

|              реконструированных или вновь созданных                   |

|               объектов    , оценка изменения этих                     |

|              затрат в результате ресурсосберегающих                   |

|                           мероприятий                                 |

 ———————————————————————————————————————————————————————————————————————

                                 |

 ———————————————————————————————————————————————————————————————————————

|        ———————————————————————————————————————————————————            |

|       |        Использование полученной экономии          |           |

|       |     от энергоресурсосберегающих мероприятий       |           |

|        ———————————————————————————————————————————————————            |

|                                                                       |

|          Оценка части бюджетных средств, сэкономленных                |

|               в результате проведенных мероприятий                    |

|                 и направленных на стимулирование                      |

|                        ресурсосбережения                              |

 ———————————————————————————————————————————————————————————————————————

Рис.12. Алгоритм энергоресурсосберегающих мероприятий

Основой методики расчета экономии средств, определяющих эффективность реализации энергоресурсосберегающих технологий, являются следующие принципы:

-   необходимость учета прямых и косвенных расходов средств, которые могут быть полностью или частично сокращены в результате проводимых мероприятий;

-   необходимость учета как абсолютного сокращения средств, направляемых на проведение энергосберегающих мероприятий, на дотации организациям, полную оплату тех или иных видов услуг и другие цели, так и их относительного сокращения за счет уменьшения темпов прироста потребности в этих средствах по отношению к темпам прироста объема услуг при одновременном повышении их качества, предотвращения новых видов платежей из бюджета при реализации других источников финансирования, дополнительных налоговых поступлений в бюджет (при увеличении балансовой прибыли организаций, а также промышленных потребителей услуг в условиях постепенной ликвидации перекрестного субсидирования, соответствующего снижения тарифов на услуги ЖКХ для этой группы потребителей и, как следствие, себестоимости их продукции);

-   сопоставление экономии средств с затратами из различных источников, включая кредитные ресурсы, требующие возврата за счет финансово - экономических процедур.

Минимизация затрат заемных средств на энергосберегающие проекты на предприятиях при гарантированном сроке их возврата и дальнейшей экономии обеспечит повышение ранга приоритетности проекта. Экономическая целесообразность такого подхода определяется существенным объемом необходимых инвестиционных вложений в проект энергосбережения.

Экономическая привлекательность проектов ресурсосбережения, как для инвестора, так и для организаций, состоит в наличии гарантированного источника погашения кредита из средств, сэкономленных в результате сокращения издержек производства.

Расчет экономии средств от внедрения энергоресурсосберегающих технологий основан на сравнительной оценке прогнозных значений затрат средств при отсутствии энергосберегающего мероприятия с параметрами, ожидаемыми или фактически полученными в результате его внедрения, и последующем сопоставлении этой экономии с затратами на реализацию проекта.

При этом прогнозные значения каждого параметра определяются с учетом влияния на изменение его величины всех факторов:

-   объема реализации услуг под влиянием изменения объективных демографических, градостроительных и социальных условий (то есть без проведения ресурсосберегающих мероприятий);

-   удельных финансовых и ресурсных затрат на производство единицы услуги под влиянием организационно-экономических и технических факторов;

-   возможных изменений тарифа.

При отсутствии возможности определения прогнозируемых параметров с учетом действующих на них факторов производится экстраполяционная оценка каждого параметра по динамическому ряду за предшествующий период.

Экономия бюджетных средств, достигнутая за счет реализации энергосберегающих проектов, характеризуется сокращением потребности в них на:

-   оплату услуг тепло-, энерго-, газо-, водоснабжения и водоотведения, потребляемых бюджетными организациями;

-   приобретение топливно-энергетических ресурсов;

-   дотации организациям жилищно-коммунального хозяйства в части, не перекрываемой средствами, поступающими от оплаты услуг населением.

При этом наряду с сокращением потребности в бюджетных средствах необходимо учитывать как дополнительные поступления средств в бюджет в виде налоговых и других платежей, так и необходимое текущее выделение средств из бюджета на финансирование реализации энергоресурсосберегающего проекта (рис.13).

  ——————————————————————————

 |      ———————    ———————  |                         ———————————————

 |Ин-  |На пря-|  |На воз-| |                        |Возврат процен-|

 |вес- |мое фи-|  |врат   | |                        |тов по кредиту |

 |ти-  |нанси- |  |кредит-| |                        |в федеральный и|

 |ции  |рование|  |ных ре-| |                        |региональный   |

 |     |проекта|  |сурсов | |                        |фонды энерго-  |

 |      ———————    ———————  |                        |сбережения     |

  ——————————————————————————                          ———————————————

           |          |                                        |

            <————————>                                    <————

  ——————————————————         ————————————            —————————————————

 |Выплаты из бюджета|       |  Сальдо    |          |   Поступление   |

 |(планируемые ин-  |<——————|поступлений |<———————--|средств в бюджет |

 |вестиции и текущие|       | и выплат   |          |    (снижение    |

 |затраты)          |       |из бюджета  |          |     затрат)     |

  ——————————————————         ————————————            —————————————————

        <————>—————>               <——                     <—————————

       |      |     |                 |                              |

 ——————|——————|—————|—————————————    |                              |

|   —————  —————  ——————  ——————— | ——————  ——————  ——————  —————  —————

|Т |На   ||На   ||На    ||Допол- |||Сокра-||Умень-||Сни-  ||Со-  ||До-  |

|е |оп-  ||при- ||дота- ||нитель-|||щение ||шение ||жение ||вер- ||пол- |

|к |лату ||обре-||ции   ||ные    |||пот-  ||объема||утечек||шенс-||ни-  |

|у |услуг||тение||пред- ||затраты|||реб-  ||реали-||и не- ||тво- ||тель-|

|щ |теп- ||топ- ||прия- ||бюджет-|||ности ||зации ||рацио-||вание||ные  |

|и |ло-  ||лив- ||тиям  ||ных    |||в бюд-||мате- ||наль- ||сис- ||нало-|

|е |элек-||но-  ||ЖКХ в ||средств|||жетных||риаль-||ных   ||темы ||ги и |

|  |тро- ||энер-||части,||на об- |||средс-||ного  ||произ-||фи-  ||пла- |

|з |газо-||гети-||не пе-||служи- |||за    ||носи- ||водст-||нан- ||тежи |

|а |и во-||чес- ||рекры-||вание  |||счет  ||теля  ||венных||сиро-||в    |

|т |газо-||ких  ||ваемой||нового |||реали-||услуги||зат-  ||вания||бюд- |

|р |и во-||ре-  ||средс-||обору- |||зации ||и пот-||рат,  ||и оп-||жет  |

|а |до-  ||сур- ||твами ||дования|||проек-||ребно-||соот- ||латы ||от   |

|т |снаб ||сов  ||от оп-||       |||тов   ||сти в ||ветст-||ус-  ||более|

|ы |же-  ||     ||латы- ||       |||      ||бюдже-||венно ||луг, ||ус-  |

|  |ния, ||     ||услуг ||       |||      ||тных  ||пот-  ||сок- ||пешно|

|  |пот- ||     ||насе- ||       |||      ||сред- ||реб-  ||раще-||рабо-|

|  |реб- ||     ||лением||       |||      ||ствах ||ности ||ние  ||таю- |

|  |ляе- ||     ||и фи- ||       |||      ||на до-||в бюд-||дота-||щих  |

|  |мых  ||     ||нанси-||       |||      ||тации ||жетных||ций  ||пред-|

|  |орга-||     ||рова- ||       |||      ||и льго||дота- ||     ||прия-|

|  |низа-||     ||ние   ||       |||      ||ты на ||циях, ||     ||тий  |

|  |циями||     ||льгот ||       |||      ||оплату||оплаты||     ||ЖКХ  |

|  |бюд- ||     ||      ||       |||      ||услуг ||в бюд-||     ||     |

|  |жет- ||     ||      ||       |||      ||в бюд-||жетной||     ||     |

|  |ной  ||     ||      ||       |||      ||жетной||сфере ||     ||     |

|  |сферы||     ||      ||       |||      ||сфере ||      ||     ||     |

|   —————  —————  ——————  ——————— | ——————  ——————  ——————  —————  —————

 —————————————————————————————————     |      |       |       |

                                        <——————<———————<——————

Рис.13. Определение экономии энергосберегающего проекта

Эффективность использования средств, выделенных на цели энергосбережения, должна определяться по критерию сокращения потребности в бюджетных средствах, направляемых в виде дотаций организациям.

Для расчета экономии средств, определяющих эффективность энергосберегающих проектов в сфере производства, необходимо располагать следующими данными:

-   изменение объема реализации услуг в натуральном и денежном выражении;

-   изменение затрат на производство и оказание услуг;

-   изменение размера прибыли и др.

В целом набор показателей, используемых для расчета экономии бюджетных средств, представлен в таблицах 9 - 12.

Объем средств, необходимых для проведения работ по подготовке и организации внедрения энергосберегающего проекта, а также по его реализации, приведен в таблице 9.

При этом необходимо отдельно учитывать не только общую потребность в средствах для финансирования проекта, но и источники поступления этих средств, в частности:

- собственные средства организации, направляемые на финансирование проекта (фонд накопления, формируемый из прибыли, амортизация, выручка от реализации основных средств, ремонтный фонд (в части, направляемой на замену изношенных фондов));

- заемные средства (кредиты банков, кредиты иностранных инвесторов и др.);

- средства местного бюджета, которые выделяются, как правило, на безвозмездной основе;

- средства регионального фонда энергоресурсосбережения, которые выделяются только на возвратной и платной основе.

При определении потребности в бюджетных средствах для финансирования энергосберегающего проекта отдельно должен учитываться объем бюджетных средств, необходимых для реализации проекта, и объем средств, требующихся для возврата кредитных ресурсов.

Затраты на производство и оказание услуг, доходы от их реализации, а также прибыль определяется на основании данных, представленных в таблице 10.

Исходными данными для заполнения этой таблицы, а также проведения необходимых расчетов служат:

-   производственная программа предприятия;

-   калькуляция себестоимости услуг;

-   расчет экономически обоснованных тарифов;

-   постановление (распоряжение) региональной энергетической комиссии об установлении цен на энергоресурсы, поставляемые субъектами естественных монополий;

-   постановление (распоряжение) органа местного самоуправления об установлении тарифов для населения и организаций бюджетной сферы на оплату коммунальных услуг (кроме тарифов на газ и электроэнергию), а также нормативов их потребления;

-   договоры с промышленными потребителями, которыми согласованы цены на предоставление услуг;

-   данные бухгалтерского учета в части начисления амортизации, ремонтного фонда, уплаты налогов, процентов за кредит, определения размера прибыли и др.

Оценка показателей, приведенных в таблице 10, позволяет в конечном итоге определить размер чистой прибыли, полученной в результате реализации энергосберегающего мероприятия, потребность в бюджетных средствах на оплату коммунальных услуг бюджетными организациями, приобретение топливно-энергетических ресурсов и на дотации организациям ЖКХ в части, не перекрываемой от оплаты услуг населением, а также изменение этих показателей по сравнению с их прогнозными значениями, рассчитанными без учета влияния энергосберегающего проекта.

Таблица 9

Объем и источники финансирования энергосберегающего проекта

|      Наименование показателя        |  I год   |  II год |Последующие |

|                                     |          |         |годы и всего|

|—————————————————————————————————————|——————————|—————————|————————————|

|                 1                   |    2     |    3    |     4      |

|—————————————————————————————————————|——————————|—————————|————————————|

|1. Собственные средства организации  |          |         |            |

|     направляемые на финансирование  |  254,23  |   287,6 |   348,0    |

|проекта                              |          |         |            |

|—————————————————————————————————————|——————————|—————————|————————————|

|в том числе:                         |          |         |            |

|1.1. Прибыль (фонд накопления) на    |   59,3   |    63,8 |    87,0    |

|начало реализации проекта            |          |         |            |

|—————————————————————————————————————|——————————|—————————|————————————|

|1.2. Разница между начисленной и     |          |         |            |

|использованной амортизацией за       |   46,9   |    57,3 |    70,0    |

|отчетный период                      |          |         |            |

|—————————————————————————————————————|——————————|—————————|————————————|

|1.3. Выручка от реализации основных  |   88,2   |    84,6 |   102,9    |

|средств                              |          |         |            |

|—————————————————————————————————————|——————————|—————————|————————————|

|1.4. Ремонтный фонд (в части, направ-|  47,6    |    69,3 |    90,6    |

|ляемой на замену изношенных фондов)  |          |         |            |

|—————————————————————————————————————|——————————|—————————|————————————|

|2. Заемные средства - всего          |  600,0   |   700,0 |   1000,0   |

|—————————————————————————————————————|——————————|—————————|————————————|

|в том числе:                         |          |         |            |

|2.1. Кредиты банков                  |   400,0  |   500,0 |   700,0    |

|—————————————————————————————————————|——————————|—————————|————————————|

|2.2. Кредиты иностранных инвесторов  |      -   |     -   |     -      |

|—————————————————————————————————————|——————————|—————————|————————————|

|2.3. Другие заемные средства         |   200,0  |   200,0 |   300,0    |

|—————————————————————————————————————|——————————|—————————|————————————|

|3. Средства регионального фонда      |          |         |            |

|энергосбережения                     |   200,0  |   300,0 |   300,0    |

|—————————————————————————————————————|——————————|—————————|————————————|

|4. Средства местного бюджета,        |          |         |            |

|в том числе:                         |   100,0  |   150,0 |    200,0   |

|—————————————————————————————————————|——————————|—————————|————————————|

|- для финансирования энергосберега-  |          |         |            |

|ющего проекта                        |   80,0   |   100,0 |    150,0   |

|—————————————————————————————————————|——————————|—————————|————————————|

|- для возврата кредитных ресурсов    |    20,0  |    50,0 |     50,0   |

|—————————————————————————————————————|——————————|—————————|————————————|

|Итого                                |  1154,23 |  1437,6 |  1548,0    |

 ———————————————————————————————————————————————————————————————————————

Таблица 10

Затраты на производство и оказание услуг, доходы

от реализации услуг, прибыль (отдельно по каждому виду

услуг: тепло-, электро-, водоснабжение)

 ———————————————————————————————————————————————————————————————————————

|    Наименование показателя        |  I год    |  II год   |Последу-   |

|                                   |           |           |ющие годы  |

|                                   |———————————|———————————|———————————|

|                                   |прог-|факт |прог-|факт |прог-|факт |

|                                   |ноз  |     |ноз  |     |ноз  |     |

|———————————————————————————————————|—————|—————|—————|—————|—————|—————|

|1. Натуральные показатели          |     |     |     |     |     |     |

|1.1. Выработка тепло-, электро-    |2546 |2678 |2700 |2729 |3000 |3150 |

|энергии и воды                     |     |     |     |     |     |     |

|———————————————————————————————————|—————|—————|—————|—————|—————|—————|

|1.2. Получено ресурса (тепло-,     |     |     |     |     |     |     |

|электроэнергии, воды) со стороны   | 820 | 816 | 760 | 745 | 720 | 698 |

|———————————————————————————————————|—————|—————|—————|—————|—————|—————|

|1.3. Потери ресурсов               |  42 | 40  | 38  | 37  |  36 | 34  |

|———————————————————————————————————|—————|—————|—————|—————|—————|—————|

|1.4. Объем реализации услуг        | 468 | 507 | 510 | 522 | 530 | 546 |

|потребителям                       |     |     |     |     |     |     |

|в том числе:                       |     |     |     |     |     |     |

|- населению                        |   - |  -  |  -  | -   |  -  | -   |

|———————————————————————————————————|—————|—————|—————|—————|—————|—————|

|- организациям бюджетной сферы     |   - |  -  |  -  | -   |  -  |  -  |

|———————————————————————————————————|—————|—————|—————|—————|—————|—————|

|- промышленным потребителям        | 458 | 507 | 510 | 522 |  530| 546 |

|———————————————————————————————————|—————|—————|—————|—————|—————|—————|

|1.5. Удельное потребление услуг    |     |     |     |     |     |     |

|на 1 чел. (на 1 кв. м)             | 0,32| 0,32| 0,31| 0,30| 0,28| 0,28|

|———————————————————————————————————|—————|—————|—————|—————|—————|—————|

|2. Экономически обоснованный тариф |  -  |  -  |  -  |  -  |  -  |  -  |

|———————————————————————————————————|—————|—————|—————|—————|—————|—————|

|3. Тарифы за единицу услуги,       | 0,98| 0,98| 0,98| 0,98| 1,0 | 1,0 |

|в том числе:                       |     |     |     |     |     |     |

|———————————————————————————————————|—————|—————|—————|—————|—————|—————|

|- для населения                    |  -  |  -  |  -  |  -  |  -  |  -  |

|———————————————————————————————————|—————|—————|—————|—————|—————|—————|

|а) за нормативное потребление      |  -  |  -  |  -  |  -  |  -  |  -  |

|услуг                              |     |     |     |     |     |     |

|———————————————————————————————————|—————|—————|—————|—————|—————|—————|

|б) за сверхнормативное потребление |  -  |  -  |  -  | -   | -   | -   |

|услуг                              |     |     |     |     |     |     |

|———————————————————————————————————|—————|—————|—————|—————|—————|—————|

|- для организаций бюджетной сферы  |   - |  -  |  -  |  -  |  -  | -   |

|———————————————————————————————————|—————|—————|—————|—————|—————|—————|

|- для промышленных потребителей    | 0,98| 0,98| 0,98|0,98 | 1,0 |  1,0|

|———————————————————————————————————|—————|—————|—————|—————|—————|—————|

|4. Общая сумма дохода от реализации| 3162| 3248| 3300|3384 |3500 | 3745|

|услуг, в том числе:                |     |     |     |     |     |     |

|———————————————————————————————————|—————|—————|—————|—————|—————|—————|

|а) населению                       |  -  |  -  |  -  |  -  |  -  |  -  |

|———————————————————————————————————|—————|—————|—————|—————|—————|—————|

|б) организациям бюджетной сферы    |  -  |  -  |  -  |  -  |  -  |  -  |

|———————————————————————————————————|—————|—————|—————|—————|—————|—————|

|в) промышленным потребителям       | 3162| 3248| 3300| 3384| 3500| 3745|

|———————————————————————————————————|—————|—————|—————|—————|—————|—————|

|5. Доходы от прочих видов          |     |     |     |     |     |     |

|деятельности:                      |  -  |  -  |  -  |  -  |  -  |  -  |

|———————————————————————————————————|     |     |     |     |     |     |

|———————————————————————————————————|     |     |     |     |     |     |

|———————————————————————————————————|—————|—————|—————|—————|—————|—————|

|6. Затраты на производство и       |     |     |     |     |     |     |

|оказание услуг - всего, тыс. руб.  | 2846|2897 |2974 |2964 | 3056| 3041|

|в том числе:                       |     |     |     |     |     |     |

|———————————————————————————————————|—————|—————|—————|—————|—————|—————|

|а) материалы                       | 425 | 421 | 436 | 439 | 487 | 469 |

|———————————————————————————————————|—————|—————|—————|—————|—————|—————|

|б) топливо                         | 1364| 1308| 1390| 1374| 1400| 1347|

|———————————————————————————————————|—————|—————|—————|—————|—————|—————|

|в) электроэнергия                  |  387| 341 | 350 | 309 | 320 | 267 |

|———————————————————————————————————|—————|—————|—————|—————|—————|—————|

|г) оплата труда, включая отчис-    | 741 | 749 | 760 | 788 | 790 | 806 |

|ления на социальные нужды          |     |     |     |     |     |     |

|———————————————————————————————————|—————|—————|—————|—————|—————|—————|

|д) амортизация                     | 22  | 22  |  22 |  22 |  25 |  25 |

|———————————————————————————————————|—————|—————|—————|—————|—————|—————|

|е) ремонтный фонд                  | 187 | 183 | 166 | 178 | 206 | 199 |

|———————————————————————————————————|—————|—————|—————|—————|—————|—————|

|ж) оплата ресурсов (тепло-,        |     |     |     |     |     |     |

|электроэнергии, воды), полученных  |  -  |   - |  -  |  -  |   - |  -  |

|со стороны                         |     |     |     |     |     |     |

|———————————————————————————————————|—————|—————|—————|—————|—————|—————|

|з) налоги и другие обязательные    | 274 | 279 | 304 | 318 | 320 | 320 |

|платежи, относимые на себестоимость|     |     |     |     |     |     |

|———————————————————————————————————|—————|—————|—————|—————|—————|—————|

|и) прочие затраты                  |  -  |  -  |  -  |  -  |  -  |  -  |

|———————————————————————————————————|—————|—————|—————|—————|—————|—————|

|7. Ассигнования из бюджета на      |     |     |     |     |     |     |

|дотации организациям ЖКХ в части,  |  -  |  -  |  -  |  -  |   - |  -  |

|не перекрываемой средствами,       |     |     |     |     |     |     |

|поступающими от оплаты услуг       |     |     |     |     |     |     |

|населением                         |     |     |     |     |     |     |

|———————————————————————————————————|—————|—————|—————|—————|—————|—————|

|8. Ассигнования из бюджета на      |     |     |     |     |     |     |

|приобретение топливно-энерге-      |  -  |  -  |  -  |  -  |  -  |  -  |

|тических ресурсов                  |     |     |     |     |     |     |

|———————————————————————————————————|—————|—————|—————|—————|—————|—————|

|9. Балансовая прибыль              | 316 | 351 | 326 | 420 | 444 | 704 |

|(4) + (5) - (6)                    |     |     |     |     |     |     |

|———————————————————————————————————|—————|—————|—————|—————|—————|—————|

|10. Платежи из прибыли в бюджет    |  76 | 84  |  78 |  101|  107|  169|

|———————————————————————————————————|—————|—————|—————|—————|—————|—————|

|11. Уплата процентов за кредит,    |     |     |     |     |     |     |

|в том числе:                       |     |     |     |     |     |     |

|———————————————————————————————————|  -  |  -  | -   |  -  |  -  |  -  |

|———————————————————————————————————|     |     |     |     |     |     |

|———————————————————————————————————|     |     |     |     |     |     |

|———————————————————————————————————|—————|—————|—————|—————|—————|—————|

|12. Чистая прибыль                 | 240 | 267 | 248 | 319 | 337 | 535 |

|(9) - (10) - (11)                  |     |     |     |     |     |     |

|———————————————————————————————————|—————|—————|—————|—————|—————|—————|

|в том числе:                       |     |     |     |     |     |     |

|———————————————————————————————————|     |     |     |     |     |     |

|———————————————————————————————————|     |     |     |     |     |     |

|———————————————————————————————————|—————|—————|—————|—————|—————|—————|

|12. То же нарастающим итогом       |  -  |   - |  -  |  -  |  -  |  -  |

|———————————————————————————————————|—————|—————|—————|—————|—————|—————|

|13. Изменение величины чистой      |     |     |     |     |     |     |

|прибыли                            |  X  | 27  |  X  |  71 |  X  |  198|

|———————————————————————————————————|—————|—————|—————|—————|—————|—————|

|14. То же нарастающим итогом       |  X  |  27 |  X  |  98 |  X  |  296|

 ———————————————————————————————————————————————————————————————————————

При определении величины каждого показателя, приведенного в данной таблице, учитывается его прогнозное значение (в условиях отсутствия энергосберегающих мероприятий) и фактическое значение, полученное в результате внедрения энергосберегающего мероприятия.

Основой для определения эффективности энергосберегающего проекта служат данные о денежных поступлениях и выплатах. При этом отдельно оцениваются:

- денежные поступления и выплаты, связанные с производством и оказанием услуг;

- поступления средств на реализацию проекта за счет собственных источников организации и соответствующие выплаты;

- поступления средств за счет заемных источников финансирования проекта и денежные выплаты на погашение кредитов, процентов по ним, уплату налогов и других обязательных платежей.

На базе данных, представленных в таблицах, определяется общий сводный результат денежных поступлений и выплат, то есть денежный поток по годам реализации проекта.

Необходимым условием для принятия решения о реализации проекта является положительная динамика показателя денежных потоков.

Общая экономия средств, определяющая эффективность внедрения энергосберегающих технологий, определяется как сальдо выделяемых средств из бюджета (на финансирование проекта, полную оплату услуг ЖКХ, потребляемых бюджетными организациями, и частичную оплату (дотирование процессов производства и оказания услуг) и поступающих средств в бюджет в связи с реализацией данного проекта (в виде налоговых платежей, возврата процентов по кредиту, возврата основного долга и др.).

Для стимулирования действий по энергоресурсосбережению различных участков процесса производства и реализации жилищно-коммунальных услуг необходимо основываться на следующих основных принципах использования и распределения полученной экономии:

-   оставление в распоряжении всех участников ресурсосберегающего проекта экономии бюджетных средств, полученной в результате реализации мер по энергосбережению (возможно в снижающемся по годам размере). Например, при выделении бюджетных ассигнований на приобретение топливно-энергетических ресурсов в целях стимулирования энергосбережения следует сохранять за предприятием 100% экономии средств, достигнутой за счет реализации энергосберегающего проекта, на период, превышающий на один год срок окупаемости данного проекта;

-   оставленную в распоряжении организаций экономию целесообразно направлять в фонд развития предприятия и использовать для проведения работ по энергосбережению, а также погашения кредитов, взятых на эти цели;

-   сохранение расчетного уровня тарифов на продукцию естественных монополий топливно-энергетического комплекса на период, превышающий на 1 год срок и окупаемости затрат на энергоснабжение, при снижении субъектами естественных монополий производственных расходов топлива и энергии за счет реализации энергосберегающих программ;

-   введение дифференцированных тарифов на коммунальные услуги в зависимости от объемов их потребления, позволяющих осуществить взимание повышенной платы за сверхнормативное потребление коммунальных услуг;

-   создание системы поощрения за реализацию энергосберегающих проектов и обеспечение экономии бюджетных средств, а также системы штрафных санкций за нерациональное расходование энергии.

Заключение


Как показало проведенное исследование, экономической основой процесса реформирования промышленности в современных условиях является энергоресурсосбережение.

Объектом исследования данной работы является ОАО "Иж-авто".  13 августа 1996 года авто производство ОАО «Ижмаш» получило статус Открытого акционерного общества «Иж-Авто» в соответствии с решением Совета директоров, является юридическим лицом и действует на основании Устава. Оно было создано в соответствии с программой развития АО «Ижмаш».  ОАО «Иж-Авто» – специализированное предприятие по выпуску легковых автомобилей.

ОАО «Иж-Авто» после почти десятилетнего застоя, увеличивает объемы производства, завоевывая рынки сбыта, которые переполнены как отечественной продукцией, так и зарубежной.

Энергосбережение – это реализация правовых, организационных, научных, производственных, технических и экономических мер, направленных на эффективное использование энергетических ресурсов и на вовлечение в хозяйственный оборот возобновляемых источников энергии.

Энергосберегающая политика проводится в ОАО «Иж-авто» через реализацию программ энергосбережения, осуществление экономических, научно-исследовательских, информационных, образовательных и других мероприятий.

В 2003 году на предприятии за счет проведения организационно-технических мероприятий получена экономия электроэнергии в объеме 2672 тыс.кВтч, тепловой энергии 7800 Гкал, котельно-печного топлива 1876 т.у.т.

Тепловые пункты оборудуются системами автоматики. Смонтировано более 230 регулируемых частотных электроприводов, обеспечивших экономию более 50 тыс. кВтч электрической энергии. На тепловых станциях также установлены высоковольтные регулируемые электроприводы, позволяющие экономить до 20% электроэнергии.

Вместе с тем работа по энергосбережению из-за целого ряда сдерживающих факторов не получила должного развития. Это связано с недостаточным платежеспособным спросом на энергоресурсы, отсутствием средств у предприятия на проведение энергосберегающих мероприятий, со сложностью получения кредитов на приемлемых условиях.

Отсутствуют положения, способствующие притоку инвестиций в энергосберегающие проекты, не задействованы методы экономического стимулирования производителей и потребителей энергоресурсов. Отсутствуют централизованные источники финансирования энергосбережения.

Напряженное финансовое состояние ОАО «Иж-авто» вынуждает резко снизить финансовые затраты на энергоресурсы уже в ближайшие 2-3 года. На эти цели ОАО «Иж-авто» ежегодно расходует около 6 млн.рублей.

Суммарный экономический эффект (нарастающим итогом за 2004-2006 годы) составит 8180 т.у.т. Это только прямой эффект, без учета косвенного эффекта, в частности экологического и др.

Экономия топливно-энергетических ресурсов в объеме 8180 т.у.т. эквивалентна 4,0 млн.рублей (в расчет принималась текущая цена тонны условного топлива, рассчитанная планово-экономическими службами ОАО "Иж-авто" и составляющая 482 руб/т.у.т.).

Работы по энергоресурсосбережению основываются на значительном потенциале возможной экономии энергоресурсов и воды.

По данным предварительных обследований, проведенных в ряде регионов России резервы экономии составляют:

- по теплу: от 25 до 60%;

- по воде: от 15 до 30%;

- по электроэнергии: от 10 до 25%.

Часть средств, сэкономленных в процессе внедрения энергоресурсосберегающих мероприятий должна вкладываться в дальнейшие работы по энергоресурсосбережению. Целесообразно создавать специальные фонды энергоресурсосбережения.

Высшим этапом работ по контролю и учету расхода энергоресурсов и воды является создание автоматизированных систем диспетчерского контроля и управления (АСДКУ).

Основными задачами АСДКУ являются оперативный контроль текущих параметров производства и потребления ресурсов, а также анализ режимов эксплуатации, оптимальное управление и регулирование объектами тепловодоснабжения.

Для этих целей объекты оснащаются датчиками и управляемыми исполнительными механизмами, а также аппаратурой сбора и передачи данных от контролируемых объектов на диспетчерский пункт, оснащенный компьютером с соответствующими программными средствами (АРМ-диспетчера).

Предусматривается комплексный подход к рассмотрению вопросов внедрения технических и организационных мероприятий по совершенствованию обслуживания и энергосбережению, а также по реализации форм и методов экономического стимулирования энергосберегающих мероприятий.

Расчет экономии средств от внедрения энергоресурсосберегающих технологий основан на сравнительной оценке прогнозных значений затрат средств при отсутствии энергосберегающего мероприятия с параметрами, ожидаемыми или фактически полученными в результате его внедрения, и последующем сопоставлении этой экономии с затратами на реализацию проекта.

Список литературы


1. Федеральный закон РФ "Об энергосбережении" от 3 апреля 1996 N 28-ФЗ.

2. Постановление Правительства РФ "О федеральной целевой программе "Энергосбережение России" на 1998-2005 годы" от 24 января 1998 N 80.

3. Постановление Правительства РФ от 15 июня 1998 N 588 "О дополнительных мерах по стимулированию энергосбережения в России".

4. Решение Комитета Совета Федерации РФ по вопросам экономической политики от 28 марта 2000 г. N 35-56/2 "По вопросу о ходе реформирования жилищно-коммунального хозяйства".

5. Постановление Правительства РФ от 17 ноября 2001 г. N 797 "О подпрограмме "Реформирование и модернизация жилищно-коммунального комплекса Российской Федерации" федеральной целевой программы "Жилище" на 2002-2010 годы".

6. Постановление Правительства РФ от 24 февраля 1999 г. N 205 "О федеральных стандартах перехода на новую систему оплаты жилья и коммунальных услуг".

7. Постановление Правительства УР от 20 августа 2001 г. N 861 "О финансировании расходов по подготовке объектов жилищно-коммунального хозяйства Удмуртской Республики к отопительному сезону 2001 - 2002 годов".

8. Приказ Госстроя РФ от 30 апреля 1998 г. N 17-106 "Об утверждении "Методики расчета экономии бюджетных средств, определяющей эффективность мероприятий при внедрении энергосберегающих технологий в сфере производства и оказания жилищно-коммунальных услуг".

9. Телеграмма Госстроя РФ от 14 августа 2001 г. N ЛЧ-4456/13 О выполнении комплекса мер по обеспечению топливно-энергетическими ресурсами и подготовке ЖКХ к работе в зимних условиях.

10.   Постановление Мэра г.Ижевска от 5 июня 2001 г. N 221 "Об утверждении норматива на содержание Службы заказчика (Управляющей компании) в муниципальном жилищном фонде".

11.   Положение о проведении энергетических обследований предприятий. Минтопэнерго, 2002.

12.   Нормативные документы и извлечения из них по вопросам энергосбережения. М., Минстрой РФ, 2003.

13.   Инструктивные материалы Главгосэнергонадзора России по проведению обследования электрических и теплопотребляющих установок и тепловых сетей. М.: Энергосервис", 2003.

14.   Инструкция по эксплуатации тепловых сетей. М. Энергия, 2002.

15.   Строительные нормы и правила. Часть II, Нормы проектирования, гл. 3, "Строительная теплотехника", СНиП II-3-79. - М.: Стройиздат, 1996.

16.   Строительные нормы и правила. "Отопление, вентиляция и кондиционирование". СНиП 2.04.05-91. - М.: Стройиздат, 1988.

17.   Богословский В.Н., Поз М.Я.. Теплофизика аппаратов утилизации тепла систем отопления, вентиляции и кондиционирования воздуха. - М.: Стройиздат, 2002.

18.   Булгаков К.В. Энергоснабжение промышленных предприятий. М-Л.: Энергия, 2003.

19.   Энергосбережение в системах теплоснабжения, вентиляции и кондиционирования воздуха. (Справочное пособие), под ред. Богуславского Л.Д. - М.: Стройиздат, 2003.

20.   Манкж В.И. и др. Наладка и эксплуатация водяных тепловых сетей. Справочник. - М.: Стройиздат, 1983.

21.   Рекомендации по испытанию и наладке систем отопления, вентиляции и кондиционирования воздуха. - М.: Минмонтажспецстрой, 2002.

22.   Пособие по проведению инспекционных обследований состояния жилищно-коммунального обслуживания населения, осуществляемых муниципальной жилищной инспекцией Москвы. - М.: Стройиздат, 1994.

23.   Справочник по электроснабжению промышленных предприятий. Общая редакция Федорова А.А., Сербиновского Г.В., в двух книгах. - М.: Энергия, 1973.

24.   Методические рекомендации по разработке эксплуатационных режимов систем централизованного теплоснабжения на межотопительный период. М.: Роскоммунэнерго, 2002.

25.   Материалы курса лекций по энергоаудиту. Российско-Датский институт энергоэффективности. М., 2002.

26.   Основы энергетического менеджмента. Библиотека энергоменеджера. ЭНИЗАН. - М., 2003.

27.   Пособие по курсу "Методология проведения энергетического аудита" Библиотека энергоменеджера. ЭНИЗАН. М., 2003.

28.   Справочник по проектированию электроэнергетических систем. В.В.Ершович, А.Н.Зейлигер, Г.А.Илларионов и др. Под редакцией С.С.Рокотяна и И.М.Шапиро. 3 изд. - М.: Энергоатомиздат, 1985.

29.   Энергоаудит промышленных и коммунальных предприятий. Учебное пособие. Б.П.Варнавский, А.И.Колесников, М.Н.Федоров. – М.: Издательство АСЭМ, 2002.

30.   Энергетический менеджмент. Руководство по энергосбережению. Нижний Новгород, 2003.


 

 

 

 

 

 

 

 

 

 

 

Приложение




Организационная структура ОАО «Иж-авто»

Похожие работы на - Проект организационно-технических мероприятий

 

Не нашли материал для своей работы?
Поможем написать уникальную работу
Без плагиата!
Без нейросетей!