Проектирование водоочистной станции

  • Вид работы:
    Курсовая работа (т)
  • Предмет:
    Экология
  • Язык:
    Русский
    ,
    Формат файла:
    MS Word
    859,96 kb
  • Опубликовано:
    2011-03-17
Вы можете узнать стоимость помощи в написании студенческой работы.
Помощь в написании работы, которую точно примут!

Проектирование водоочистной станции

Введение

Во все времена поселения людей и размещение промышленных объектов реализовались в непосредственной близости от пресных водоемов, используемых для питьевых, гигиенических, сельскохозяйственных и производственных целей. В процессе использования воды человеком она изменяла свои природные свойства и в ряде случаев становилась опасной в санитарном отношении. Впоследствии с развитием инженерного оборудования городов и промышленных объектов возникла необходимость в устройстве организованных способов отведения загрязненных отработавших потоков воды по специальным гидротехническим сооружениям.

В настоящее время значение пресной воды как природного сырья постоянно возрастает. При использовании в быту и промышленности вода загрязняется веществами минерального и органического происхождения. Такую воду принято называть сточной водой.

В зависимости от происхождения сточных вод они могут содержать токсичные вещества и возбудители различных инфекционных заболеваний. Водохозяйственные системы городов и промышленных предприятий оснащены современными комплексами самотечных и напорных трубопроводов и других специальных сооружений, реализующих отведение, очистку, обезвреживание и использование воды и образующихся осадков. Такие комплексы называются водоотводящей системой.

В 1898 г. в Москве введена в эксплуатацию первая водоотводящая система, включавшая самотечные и напорные водоотводящие сети, насосную станцию и люблинские поля орошения. Она стала родоначальницей самой крупной в Европе московской системы водоотведения и очистки сточных вод.

Комплексное развитие систем водоотведения с очистными сооружениями началось после установленных норм очистки сточных вод при выпуске их в реку, разработанных в Англии в 1876 г. Достижения науки и техники способствовали повышению степени благоустройства городов до уровня современной цивилизации.

Особое значение имеет развитие современной системы водоотведения бытовых и производственных сточных вод, обеспечивающих высокую степень защиты окружающей природной среды от загрязнений. Наиболее существенные результаты получены при разработке новых технологических решений в вопросах эффективного использования воды систем водоотведения и очистки производственных сточных вод.

Предпосылками для успешного решения этих задач при строительстве водоотводящих систем являются разработки, выполняемые высококвалифицированными специалистами, использующими новейшие достижения науки и техники в области строительства и реконструкции водоотводящих сетей и очистных сооружений.

Исходные данные

Общий расход воды: Q =48,742 л/сек.

Общая численность населения: Nчел =4546 чел.

Концентрация БПК: 300 г/м3 .

Концентрация взв. в-в для смеси: 250мг/л.

Квз= 189,5 г/м3.

KN= 23,25 г/м3.

КР205= 9,59г/м3.

КCl= 26,15г/м3.

Кпав=7,26г/м3.

1. Сооружения для механической очистки сточных вод

Механическая очистка сточных вод представляет собой технологический процесс, благодаря которому механическими и физическими методами из сточных вод удаляются нерастворенные примеси. Как правило, она является методом предварительной очистки и предназначена для подготовки сточных вод к биологическим или физико-химическим методам очистки. В результате механической очистки обеспечивается снижение взвешенных веществ до 90%, а органических веществ до 20%.

Приемный резервуар

решетки


песколовки


отстойники

Рис1 Схема сооружений при механической отчистке

1.1   Подбор решеток

Решетки применяются для задержания из сточных вод крупных загрязнений и являются сооружениями, подготовляющими сточные воды к дальнейшей, более полной очистке.

Прозоры между стержнями решеток должны быть возможно меньшими, чтобы задерживать как можно больше грубых примесей для облегчения работы отстойников.

Решетки делают преимущественно из стали и располагают в отапливаемом здании. При количестве отбросов, снимаемых с решеток до 0,1 м3/сут , предусматривается ручная очистка, если больше –механическая очистка. СНиП 2.04.03-85 п.5.16.

Количество отбросов, задерживаемых на решетках принимается по таблице 23 СНиП 2.04.03-85, средняя плотность отьросов принимает 750 кг/м3.

Рис.1. схема решетки

В-ширина подводящего и отводящего лотков, Вр-ширина решетки,hp- расчетная глубина воды, h1- потери напора в решетке, 1-решетка

1. Используя формулы Павловского:

Q=

R=ω/χ

υ =

с =

Находим уклон трубопровода (i), для этого сначала определяем площадь живого сечения (ω)

ω =Q/υ

Общий расход воды Q=48,742 л/с, или Q=0,05 м3/с. Скорость воды в подводящем канале (υ) располагается в пределах 0,6<υ<0,8, берем значение υ=0,8 м/с.

ω =0,05 /0,8 =0,0625 м2.

Исходя из этого, размеры лотка будут иметь следующие числовые значения:

ширина В=0,25 м, слой воды h=0,25 м.

Смоченный периметр χ=0,25+2×0,25= 0,75 м.

Гидравлический радиус R=0,0625 /0,75 = 0,083 м.

Значение коэффициента шероховатости (n) подбираем на основе СНиПа 2.04.03-85, для самотечного режима n=0,014.

с = =47,18

i==0,64/309,67=0,0032

Можно выполнить следующую проверку

Q==0,05025 м3/с,

а было Q=0,05 м3/с. Такое изменение допускается.

2.Определяем размеры решетки. Для нахождения общей ширины решетки определяем ширину имеющихся прозоров и стержней.

Находим общую площадь прозоров (Wпр)

Wпр =Q/υр =0,05/0,8=0,0625 м2

где υр –скорость воды в решетке, не превышающая 1м/с.

Рассчитываем площадь одного прозора (ωпр)

ωпр=впр×hл=0,016×0,25=0,004

где впр- оптимальная ширина прозора, равная 16 мм.

Определяем количество прозоров (Nпр)

Nпр= Wпр /ωпр=0,0625 /0,004=15,625=16

Отсюда следует, что стержней 15 шт.

Находим общую площадь прозоров 16×16=256мм.=0,256 м.

Общая ширина стержней 15×7=105 мм.=0,105 м.

Следовательно общая ширина решетки 0,256 +0,105 =0,361 м.

3.На основании того, что ширина прозоров решетки равна 16мм, следует, что количество отбросов снимаемых с решеток на одного человека Р =8л/год

Общая численность населения (N) равна 4546 чел.

Определяем объем отбросов, задерживающихся за год (Vотбр)

Vотбр =4546×8=36368л/год=36,368 м3/год

Средняя плотность отбросов П =750км/м3, отсюда масса отбросов (М) равна

М= =750×36,368 /365=74,7 кг/сут.

Рассчитываем количество поступивших в решетку взвешенных веществ за сутки для этого

Qсут ×Ксмвзв=4211,3×189,5=798041 г/сут=798,04 кг/сут

Qсут =×24=4211,3 м3/сут

Количество незадержавшихся взвешенных частиц равно

798,04 -74,7 =723,34 кг/сут

Концентрация взвешенных веществ на выходе К’взв

К’взв==0,17 кг/м3=170 г/м3.

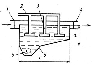
1.2   Расчет песколовок

Песколовки предназначены для задержания песка и других минеральных примесей крупностью свыше 0,2-0,25 мм, содержащихся в сточной воде. Применяются на очистных сооружениях производительностью 100м3 /сут и более. Число песколовок или отделений следует принимать не менее двух, причем все песколовки или отделения должны быть рабочими. На очистных сооружениях малой производительности применяют горизонтальные песколовки, горизонтальные с круговым движением воды и тангенциальные песколовки. Принцип работы песколовки основан на том, что поток сточной воды замедляется, тяжелый песок оседает, а мягкая органическая примесь поступает в отстойник.

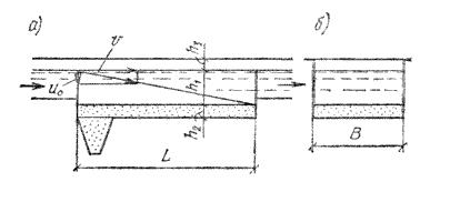
Расчет горизонтальных песколовок

Рис 2. Схема горизонтальной песколовки.

а) продольный разрез; б) поперечный разрез

При расчете горизонтальных и аэрируемых песколовок следуют определять их длину Ls, м, по формуле


где Ks — коэффициент, принимаемый по табл. 27 СНиПа 2.04.03-85;

Hs — расчетная глубина песколовки, м, принимаемая для аэрируемых песколовок равной половине общей глубины;

vs скорость движения сточных вод, м/с, принимаемая по табл. 28 СНиПа 2.04.03-85;

u0 — гидравлическая крупность песка, мм/с, принимаемая в зависимости от требуемого диаметра задерживаемых частиц песка.

Ks=1,55, при диаметре задерживаемых частиц 0,23 мм

u0=22 мм/с

Скорость движения воды при максимальном притоке vs=0,3 м/с

Hs=0,5 м

= 10,56 м

Для горизонтальных песколовок — продолжительность протекания сточных вод при максимальном притоке не менее 30 с.

Площадь живого сечения

ω =Q/υ

ω=0,05/0,3=0,17 м2

Количество песка, задерживаемого в песколовках, для бытовых сточных вод надлежит принимать 0,02 л/чел×сут, влажность песка 60%, объемный вес 1,5 т/м3. Объем пескового приемка следует принимать не более двухсуточного объема выпадающего песка, угол наклона стенок приямка к горизонту — не менее 60°.

Исходя из того, что численность населения составляет 4546 человек, находим количество песка, задерживаемого в песколовках. V= Nчел×0,02

V=4546×0,02 = 90,92л/сут =0,091 м3/сут

Плотность песка принимаем равную П=1,5 т/м3

Отсюда масса, задерживаемого песка m =П×V

M=1500×0,091 =136,5 кг/сут

Рассчитываем количество поступивших в песколовку взвешенных веществ за сутки для этого

Qсут × К’взв =4211,3×170=715921 г/сут=715,9 кг/сут

Количество песка незаржавшегося в песколовке равно

715,9 -136,5 =579,4кг/сут

Концентрация взвешенных веществ на выходе К”взв

К”взв=×1000=137,6 г/м3.

Отношение ширины к глубине отделения — В:Н = 1

Отсюда Ширина отделения равна 0,5 м, так как глубина Н=0,5

Площадь песколовки S=10,56 м2

Для поддержания в горизонтальных песколовках постоянной скорости движения сточных вод на выходе из песколовки надлежит предусматривать водослив с широким порогом.

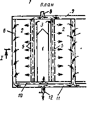
Расчет аэрируемых песколовок

Рис. 45. Схема аэрируемой песколовки

Рис 3. Схема аэрируемой песколовки.

Для разделения механических загрязнений по фракционному составу или по плотности применяют аэрируемые песколовки (рис.), в состав которых входят входная труба -1, воздуховод- 2, воздухораспределители- 3, выходная труба- 4, шламосборник -5 с отверстием- 6 для удаления шлама. Крупные фракции осаждаются,как и в горизонтальных песколовках. Мелкие же частицы, обволакиваясь пузырьками воздуха, всплывают наверх и с помощью скребковых механизмов удаляются с поверхности.

Для аэрируемых песколовок:

интенсивность аэрациии — 3—5 м3/(м2 × ч);

поперечный уклон дна к песковому лотку — 0,2—0,4;

впуск воды — совпадающий с направлением вращения воды в песколовке, выпуск — затопленный;

отношение ширины к глубине отделения — В:Н = 1:1,5;

Расчет ведем по аналогии с расчетом горизонтальных песколовок

Ks=2,08 при диаметре задерживаемых частиц 0,23 мм

u0=22 мм/с

Скорость движения воды при максимальном притоке vs=0,1 м/с

Hs- расчетная глубина песколовки,принимаемая 0,8м

=3,78 м

Площадь живого сечения ω =Q/υ

ω=0,05/0,1=0,5 м2

Количество песка, задерживаемого в песколовках, для бытовых сточных вод надлежит принимать 0,03 л/чел×сут.

Объем задерживаемого песка:

W=4546×0,03 = 136,38 л/сут =0,14 м3/сут

Масса задерживаемого песка:

M=1500×0,14=210 кг/сут

Рассчитываем количество поступивших в песколовку взвешенных веществ за сутки для этого

Qсут × К’взв =4211,3×170=715921 г/сут=715,9 кг/сут

Количество песка не задержавшегося в песколовке равно

715,9 -210=505,9 кг/сут

Концентрация взвешенных веществ на выходе К”взв

К”взв=×1000=120,1 г/м3.

Отношение ширины к глубине отделения — В:Н = 1:1,5

Отсюда ширина отделения равна 0,53 м, так как глубина Н=0,8

Интенсивность аэрациии — 3—5 м3/(м2 × ч);

Для данной песколовки расход воздуха Q 2,36 ×3= 7,08 м3/ ч

Таблица 1. Сравнение песколовок

Параметры

Аэрируемая песколовка

Горизонтальная песколовка

Ширина, м

0,53

1

Глубина, м

0,8

0,5

Площадь,м2

2,03

10,56

Длинна, м

3,78

10,56

К”взв г/м3

120,1

137,6


Из представленной таблицы 1 очевидно, что аэрируемая песколовка более компактна по объёму и в сравнении с горизонтальной, качественне очищает поступающие сточные воды. Но при установке аэрируемой песколовки необходимо учитывать, что для её функционирования потребуется постройка воздуходувной насосной станции. С экономической точки зрения горизонтальная песколовка более выгоднее. Она так же проста в эксплуатации. Учитывая что концентрации взвешенных веществ на выходе из песколовок не сильно отличаются, то предпочтем более экономичный вариант.

1.3 Расчет отстойников

Отстойники - резервуары или бассейны для выделения из жидкости взвешенных примесей осаждением их под действием силы тяжести при пониженной скорости потока. Отстаивание является наиболее простым и часто применяемым в практике способом выделения из сточных вод грубодисперсных примесей. которые под действием гравитационной силы оседают на дно отстойника или всплывают на его поверхность.

В зависимости от требуемой степени очистки сточных вод отстаивание применяется или в целях предварительной их обработки перед очисткой на других, более сложных сооружениях, или как способ окончательной очистки, если по местным условиям требуется выделить из сточных вод только нерастворенные (осаждающиеся или всплывающие) примеси.

В зависимости от назначения отстойников в технологической схеме очистной станции они подразделяются на первичные и вторичные. Первичными называются отстойники перед сооружениями для биологической очистки сточных вод; вторичными — отстойники, устраиваемые для осветления сточных вод, прошедших биологическую очистку. Тип отстойника (вертикальный, радиальный, с вращающимся сборно- распределительным устройством, горизонтальный, двухъярусный и др.) необходимо выбирать с учетом принятой технологической схемы очистки сточных вод и обработки их осадка, производительности сооружений, очередности строительства, числа эксплуатируемых единиц, конфигурации и рельефа площадки, геологических условий, уровня грунтовых вод и т. п.

Горизонтальный отстойник

Рис. 4. Схема горизонтального отстойника

а) разрез; б) план;

1- подводящий лоток; 2 -распределительный лоток; 3- полупогружные доски; 4- сборный лоток; 5- отводной лоток; 6 - лоток для сбора и удаления плавающих веществ; 7 - трубопровод для удаления осадка.

Расчетное значение гидравлической крупности u0, мм/с, необходимо определять по кривым кинетики отстаивания Э = f(t), получаемым экспериментально, с приведением полученной в лабораторных условиях величины к высоте слоя, равной глубине проточной части отстойника, по формуле


где Hset — глубина проточной части в отстойнике, м; Hset=1,5м

Kset — коэффициент использования объема проточной части отстойника; Kset=0,5

tset — продолжительность отстаивания, с, соответствующая заданному эффекту очистки и полученная в лабораторном цилиндре в слое h1; для городских сточных вод данную величину допускается принимать по табл. 30; tset=7200с.

n2 — показатель степени, зависящий от агломерации взвеси в процессе осаждения; для городских сточных вод следует определять по черт. 2 СНиПа 2.04.03-85, n2=0,34, h1=500мм.

=1,82 мм/с

Определяем длину Ls, м, по формуле


где Ks — коэффициент, принимаемый по табл. 27; Ks=0,5

Hs — расчетная глубина, м, Hs=1,5

vs — скорость движения сточных вод, м/с, принимаемая по табл. 28;

u0 — гидравлическая крупность песка, мм/с, принимаемая в зависимости от требуемого диаметра задерживаемых частиц песка

=11,5 м.

Площадь живого сечения

ω =Q/υ

ω=0,05/0,007=7,14 м2

Определяем ширину

Вset= ω/Hs=7,14/1,5=4,76 м.

Количество осадка Qmud, м3/ч, выделяемого при отстаивании определем исходя из концентрации взвешенных веществ в поступающей воде Cen и концентрации взвешенных веществ в осветленной воде Cex:


где qw — расход сточных вод, м3/ч;

rmud — влажность осадка, %; rmud=95%

gmud — плотность осадка, г/см3. gmud=1,05 г/см3

=0,3 м3

Принимая по внимание, что при проектировании очистных установок, как правило, применяются типовые или экспериментальные конструкции отстойных сооружений с известными геометрическими размерами, за расчетную величину следует принимать производительность одного отстойника qset, при которой обеспечивается заданный эффект очистки. После расчета qset исходя из общего расхода сточных вод определяется количество рабочих единиц отстойников N

N =

Производительность одного отстойника qset, м3/ч, следует определять исходя из заданных геометрических размеров сооружения и требуемого эффекта осветления сточных вод по формуле

=272,8 м3

N =175,5/272,8 =0,6

Из расчетов видно, что на очистных сооружения будет один первичный отстойник.

Радиальный отстойник

Широкое применение для очистки производственных сточных вод на больших заводах находят радиальные отстойники, обладающие высокой производительностью. На рис. представлена схема радиального отстойника. Подача шлама в шламосборник осуществляется вращающимся механическим скребком.

Рис. 47. Схема радиального отстойника: 1 - входная труба; 2 - отводящая труба; 3 - шламосборник; 4 - канал вывода шлама; 5 - механический скребок

Рис.5. Схема радиального отстойника

1 - входная труба; 2 - отводящая труба; 3 - шламосборник; 4 - канал вывода шлама; 5 - механический скребок

Расчетное значение гидравлической крупности u0, мм/с,

 

Hset глубина проточной части в отстойнике, м; Hset=1,5м

Kset — коэффициент использования объема проточной части отстойника; Kset=0,45

tset — продолжительность отстаивания, с, tset=7200с.

n2 — показатель степени, зависящий от агломерации взвеси в процессе осаждения; для городских сточных вод следует определять по черт. 2.

n2=0,44, h1=500мм.

=1,82 мм

Расчетный объем W

W==qmax* tset=0,05*7200=360м3

Fкруг= W/ Hset=360/1,5=240м2

,

отсюда следует, что

=17,5

Колличество отстойников рассчитывается по формуле N = .        

Производительность одного радиального отстойника qset, м3/ч, следует определять исходя из заданных геометрических размеров сооружения и требуемого эффекта осветления сточных вод по формуле


где Кset коэффициент использования объема, принимаемый по табл. 31;

Кset= 0,5;

Dset диаметр отстойника, м;

Dset= 17,5 м;

den —диаметр впускного устройства, м;

den = 0,2 м;

u0 — гидравлическая крупность задерживаемых частиц, мм/с, определяемая по формуле (30);

u0 = 1,82 мм;

vtb турбулентная составляющая, мм/с, принимаемая по табл. 32 в зависимости от скорости потока в отстойнике vw, мм/с;

vtb = 0,05 мм/с;


N =175,5/42,9 =4

Из расчетов видно, что на очистных сооружения будет 4 первичных радиальных отстойников.

Таблица 2.Сравнение отстойников

Параметры

Горизонтальный отстойник

Радиальный отстойник

Количество, шт.

1

1

Длина/ диаметр, м

11,5

17,5

Глубина, м

1,5

1,5

Ширина, м

4,76


Площадь, м2

87,108

240

«+»конструкции

простота конструкции,

возможность использования одного сгребающего механизма

Высокий эффект очистки

«-»конструкции

Быстрый износ сгребающего оборудования,

большие размеры сооружения

Дорогой с экономической точки зрения


Исходя из полученных расчетов экономически выгоднее использование горизонтального отстойника, если сравнивать размеры сооружений, то предпочтение так же отдается горизонтальному отстойнику.

2. Биологическая отчистка в искусственных условиях

Биологическая очистка основана на жизнедеятельности микроорганизмов, которые способствуют окислению или восстановлению органических веществ, находящихся в сточных водах в виде тонких суспензий, коллоидов, в растворе и являются для микроорганизмов источником питания, в результате чего и происходит очистка сточных вод от загрязнения. Очистные сооружения биологической очистки можно разделить на два основных типа:

сооружения, в которых очистка происходит в условиях, близких к естественным;

сооружения, в которых очистка происходит в искусственно созданных условиях.

К первому типу относятся сооружения, в которых происходит фильтрование очищаемых сточных вод через почву (поля орошения и поля фильтрации) и сооружения, представляющие собой водоемы (биологические пруды) с проточной водой. В таких сооружениях дыхание микроорганизмов кислородом происходит за счет непосредственного поглощения его из воздуха. В сооружениях второго типа микроорганизмы дышат кислородом главным образом за счет диффундирования его через поверхность воды (реаэрация) или за счет механической аэрации. В искусственных условиях биологическую очистку применяют в аэротенках, биофильтрах и аэрофильтрах. В этих условиях процесс очистки происходит более интенсивно, так как создаются лучшие условия для развития активной жизнедеятельности микроорганизмов.

2.1 Расчет аэротенков

Аэротенк для очистки сточных вод представляет собой прямоугольный резервуар для биологической очистки сточных вод с аэрацией воздухом, в котором медленно движется смесь очищаемой сточной воды и активного ила.

Активный ил - колония микроорганизмов.(коловратки, амебы..)

Аэротенки - смесители без регенераторов. Сооружения этого типа целесообразно применять для очистки производственных сточных вод при относительно небольших колебаниях их состава и присутствии в воде преимущественно растворенных органических веществ, например на второй ступени биологической очистки сточных вод и системы канализации нефтеперерабатывающих заводов.

Аэротенки-смесители без регенератора.

Период аэрации tatm, ч, в аэротенках, работающих по принципу смесителей, следует определить по формуле:


где Len — БПКполн поступающей в аэротенк сточной воды (с учетом снижения БПК при первичном отстаивании), мг/л;

Len =220,44 мг/л

Lex — БПКполн очищенной воды, мг/л;

Lex=12 мг/л

ai доза ила, г/л, определяемая технико-экономическим расчетом с учетом работы вторичных отстойников;

ai=3 г/л

s — зольность ила, принимаемая по табл. 40;

s=0,3

r удельная скорость окисления, мг БПКполн на 1 г беззольного вещества ила в 1 ч, определяемая по формуле


здесь rmax — максимальная скорость окисления, мг/(г×ч), принимаемая по табл. 40;

rmax = 85 мг/(г×ч),

CO концентрация растворенного кислорода, мг/л;

CO=2 мг/л

Kl — константа, характеризующая свойства органических загрязняющих веществ, таблица 40, мг БПКполн/л,

Kl=33 мг БПКполн

КО — константа, характеризующая влияние кислорода, мг О2/л, и

КО=0,625 мг О2

j — коэффициент ингибирования продуктами распада активного ила, таблица 40, л/г, j=0,07

=23,7 мг/г×ч

 ч.

Объем аэротенков

 

Wat = q* tatm = 175,5×4 = 706,8 м3

Глубину аэротенка принимаем h=4 м,отсюда площадь аэротенка S равна

S=706,8 /4=176,7 м2, отсюда длина аэротенка принимается равной 15 м.

Внутренняя часть аэротенка делится на коридоры. Размеры коридора принимаются из условия отношения ширины коридора к рабочей глубине 2:1. Глубина равна 4 м, отсюда следует что ширина коридора равна 8 м. Ширина аэротенка 176,7/15= 11,78. Следовательно количество коридоров 11,78/4=3.

Таблица 3. Размеры аэротенка

Глубина, м

Ширина, м

Длина, м

4

11,78

15


Нагрузку на ил qi, мг БПКполн на 1 г беззольного вещества ила в сутки, надлежит рассчитывать по формуле


Степень рециркуляции активного ила Ri, в аэротенках следует рассчитывать по формуле


где ai доза ила в аэротенке, г/л;

Ji — иловый индекс, см3/г.

Величину илового индекса необходимо определять экспериментально при разбавлении иловой смеси до 1 г/л в зависимости от нагрузки на ил. Для городских и основных видов производственных сточных вод допускается определять величину Ji по табл. 41. Ji= 120,4 см3

Степень рециркуляции равна:


Рециркуляцию активного ила следует осуществлять насосами.

Аэраторы в аэротенках допускается применять:

· мелкопузырчатые — пористые керамические и пластмассовые материалы (фильтросные пластины, трубы, диффузоры) и синтетические ткани;

· среднепузырчатые — щелевые и дырчатые трубы;

· крупнопузырчатые — трубы с открытым концом;

· механические и пневмомеханические

Используем мелкопузырчатые аэраторы, так как они при наших условия будут более эффективными.

Удельный расход воздуха qair, м33 очищаемой воды, при пневматической системе аэрации определяем по формуле


где qO — удельный расход кислорода воздуха, мг на 1 мг снятой БПКполн, принимаемый при очистке до БПКполн 15—20 мг/л — 1,1

K1 — коэффициент, учитывающий тип аэратора и принимаемый для мелкопузырчатой аэрации в зависимости от соотношения площадей аэрируемой зоны и аэротенка faz /fat по табл. 42, K1=0,5,


Площадь аэратора=0,5×176,7 =88,35 м2

K2 — коэффициент, зависимый от глубины погружения аэраторов ha и принимаемый по табл. 43;

ha= 3;м K2= 2,08; Ja,min, м3/(м2×ч)= 4

KT коэффициент, учитывающий температуру сточных вод, который следует определять по формуле:


здесь Tw — среднемесячная температура воды за летний период, °С;

Tw=15°С

 

Ca растворимость кислорода воздуха в воде, мг/л, определяемая по формуле


здесь CT — растворимость кислорода в воде в зависимости от температуры и атмосферного давления, принимаемая по справочным данным; CT=10        

 

CO — средняя концентрация кислорода в аэротенке, мг/л; в первом приближении СО допускается принимать 2 мг/л

 м33 очищаемой воды

Интенсивность аэрации Ja, м3/(м2×ч) определяем по формуле


где Hat — рабочая глубина аэротенка, м;

tat период аэрации, ч.


Если вычисленная интенсивность аэрации свыше Ja,max для принятого значения K1, необходимо увеличить площадь аэрируемой зоны; если менее Ja,min для принятого значения K2 — следует увеличить расход воздуха, приняв Ja,min по табл. 43.

В нашем случае Ja,max=50 >29,1; Ja,min= 29,1 <42,4 что не противоречит данному условию, значит расчеты проведены правильно.

Прирост активного ила Pi мг/л, в аэротенках определяем по формуле:

Pi= 0,8×Ccdr+Kg×Lпост =0,8× 136,74+0,3× 220,44 = 175,5(мг/л)

где Ссdr — концентрация взвешенных веществ в сточной воде, поступающей в аэротенк=136,74 мг/л;

Kg — коэффициент прироста; для городских и близких к ним по составу производственных сточных вод Kg = 0,3;

Lпост -БПКполн поступающей в аэротенк сточной воды=220,44 мг/л.

Аэротенки-смесители с регенераторами

Описание: Безымянный

Рис.6 Схема аэротенка смесителя.

1 - регенератор; 2 - аэрационное отделение, 3-распределительные каналы активного ила; 4 - распределительные каналы отстоенной воды, 5-впуск отстоенной воды в аэрационное отделение; 6-сборный канал аэрируемой жидкости; 7 - входные отверстия активного ила, S - подводящий канал от первичных отстойников; 9 - сборный канал «сырой» воды; J0 - верхний канал активного ила; 11 - сборный канал аэрируемой жидкости; 12 - отводящий канал

Технологическая суть такой модификации заключается в том, что после извлечения загрязнений из сточной воды в собственно аэротенках активный ил с накопленными в нем загрязнениями отделяется от очищенной воды и подается не в аэротенк, а в специальное аэрационное сооружение, называемое регенератором, в котором активный ил аэрируется в течение определенного времени без сточной жидкости. В регенераторе ил освобождается от накопленных им в аэротенке загрязнений и восстанавливает свою метаболическую активность. Регенерированный ил направляется затем из регенератора в собственно аэротенк для нового контакта с очищаемой жидкостью и повторения цикла изъятия из нее загрязнений. В конструктивном отношении регенераторы ничем не отличаются от собственно аэротенков и могут устраиваться в виде как отдельно стоящих сооружений, так и емкостей, выделяемых в объеме аэротенков. В собственно аэротенке обеспечивается контакт активного ила с загрязнениями такой длительности, которой достаточно только для изъятия загрязнений из очищенной воды, составляющей примерно 1,5-2,5 ч аэрации в зависимости от характера загрязнений сточных вод и условий реализации процесса. Режим аэрации здесь должен быть направлен на создание условий, наиболее благоприятных для доступа активного ила к загрязнениям, т.е. постоянного и эффективное перемешивания и аэрации иловой смеси. Концентрация растворенного в жидкости кислорода поддерживается в пределах 0,5-2,0 мг/л. Скорость же потребления кислорода здесь значительно более высокая, чем в регенераторе, поскольку в собственно аэротенке протекают более быстрые процессы первичной трансформации загрязнений при их изъятии из очищенной воды. Поэтому интенсивность аэрации здесь должна быть также существенно выше, чем в регенераторах. Длительность пребывания ила в регенераторе значительно больше длительности аэрации в собственно аэротенке.

Для обеспечения 50% регенерации можно принять под регенератор либо 2 коридора 4 коридорных аэротенков, либо 1 коридор 2 коридорных аэротенков. Поскольку типовые аэротенки разработаны в виде 2,3,4- коридорных, то в них можно обеспечить 25, 33, 50, 66, 75% регенерации, выделяя от 1 до 3 коридоров аэротенка под регенерацию. В принципе, можно обеспечить любой процент регенерации, выделяя под регенераторы соответствующий объем аэротенков.

При проектировании аэротенков с регенераторами продолжительность окисления органических загрязняющих веществ t0 , ч, надлежит определять по формуле:


Len - БПКполн поступающей в аэротенк сточной воды: 220,44 мг/л;

Lex- БПКполн очищенной воды: 20 мг/л;

S - зольность ила: 0,3;

ai доза ила в аэротенке: 3 г/л;

r - удельная скорость окисления для аэротенков — смесителей и вытеснителей, определяемая по формуле (49) при дозе ила ar.

= 23,7 мг/(г×ч).

По формуле (52) СНиП 2.04.03-85 определяем коэффициент рециркуляции

 

ar — доза ила в регенераторе, г/л, определяемая по формуле

= 14 ч.

Продолжительность обработки воды в аэротенке tat, ч определяем по формуле

 

= 2

Продолжительность регенерации tr, ч,

= 14 - 2= 12 ч.

Вычисляем вместимость аэротенка Wat, м3

=547,56 м3

где qw — расчетный расход сточных вод, м3/ч.

Вместимость регенераторов Wr, м3

=294,84м3

Для аэротенков и регенераторов надлежит принимать:

число секций — не менее двух;

рабочую глубину — 3—6 м, свыше — при обосновании;

отношение ширины коридора к рабочей глубине — от 1:1 до 2:1. Глубина равна 4 м, отсюда следует, что ширина коридора равна 8 м.

Глубину аэротенка принимаем h=4 м, отсюда площадь аэротенка S равна

S=547,56 /4=136,89 м2

Принимаем длину аэротенка 15 м, отсюда ширина аэротенка равна

136,89 /15 =9,126 м.

Рассчитываем количество коридоров 9,126/4=2 шт.

Прирост активного ила Pi, мг/л, в аэротенках надлежит определять по формуле (60) СНиП 2.04.03-85

Pi= 0,8×136,74+0,3× 220,44 = 175,5(мг/л)

Удельный расход воздуха qair, м33 очищаемой воды, при пневматической системе аэрации определяем по формуле


где qO — удельный расход кислорода воздуха, мг на 1 мг снятой БПКполн, принимаемый при очистке до БПКполн 15—20 мг/л — 1,1

K1 — коэффициент, учитывающий тип аэратора и принимаемый для мелкопузырчатой аэрации в зависимости от соотношения площадей аэрируемой зоны и аэротенка faz /fat по табл. 42, K1=0,75,


Площадь аэратора=0,75×136,89 =102,7 м2

K2 — коэффициент, зависимый от глубины погружения аэраторов ha и принимаемый по табл. 43;

ha= 3;м K2= 2,08; Ja,min, м3/(м2×ч)= 4

 

KT коэффициент, учитывающий температуру сточных вод, который следует определять по формуле:


здесь Tw — среднемесячная температура воды за летний период, °С;

Tw=15°С

 

K3 — коэффициент качества воды, принимаемый для городских сточных вод 0,85;

Ca растворимость кислорода воздуха в воде, мг/л, определяемая по формуле


здесь CT — растворимость кислорода в воде в зависимости от температуры и атмосферного давления, принимаемая по справочным данным; CT=10        

CO — средняя концентрация кислорода в аэротенке, мг/л; в первом приближении СО допускается принимать 2 мг/л

 м33 очищаемой воды

Интенсивность аэрации Ja, м3/(м2×ч) определяем по формуле


где Hat — рабочая глубина аэротенка, м;

tat период аэрации, ч.

 м32×ч

Если вычисленная интенсивность аэрации свыше Ja,max для принятого значения K1, необходимо увеличить площадь аэрируемой зоны; если менее Ja,min для принятого значения K2 — следует увеличить расход воздуха, приняв Ja,min по табл. 43.

В нашем случае Ja,max=50 >38,9; Ja,min=4 <38,9 что не противоречит данному условию, значит расчеты проведены правильно.

Нагрузку на ил qi, мг БПКполн на 1 г беззольного вещества ила в сутки, надлежит рассчитывать по формуле(53)

 мг/г×сут

Таблица 4. Сравнение аэротенков

Параметры

Аэротенки - смесители без регенераторов

Аэротенки-смесители с регенераторами

Длина, м

15

15

Глубина, м

4

4

Ширина, м

11,78

9

Период аэрации, ч

4

2


Для проектирования используем аэротенки – смесители с регенераторами, так как по расчетам они более компактные , а также в них меньшая нагрузка на ил.

2.2 Расчет биологических фильтров

Биологические фильтры (рис.) представляют собой резервуары, заполненные твердым кусковым материалом (шлак, кокс, щебенка, керамзит), через который фильтруется поступающая на поверхность загрузки сточная вода.

Поверхность всех частиц загрузки покрывается сплошной биологической пленкой за счет адсорбции микробов из сточной воды и последующего их размножения. Биологическая пленка играет роль основного активного агента в очистке воды.

Биологические фильтры следует проектировать в виде резервуаров со сплошными стенками и двойным дном: нижним — сплошным, а верхним — решетчатым (колосниковая решетка) для поддержания загрузки. При этом необходимо принимать: высоту междудонного пространства — не менее 0,6 м; уклон нижнего днища к сборным лоткам — не менее 0,01; продольный уклон сборных лотков — по конструктивным соображениям, но не менее 0,005. Капельные биофильтры следует устраивать с естественной аэрацией, высоконагружаемые — как с естественной, так и с искусственной аэрацией (аэрофильтры). Естественную аэрацию биофильтров надлежит предусматривать через окна, располагаемые равномерно по их периметру в пределах междудонного пространства и оборудуемые устройствами, позволяющими закрывать их наглухо. Площадь окон должна составлять 1 —5 % площади биофильтра. В качестве загрузочного материала для биофильтров следует применить щебень или гальку прочных горных пород, керамзит, а также пластмассы, способные выдержать температуру от 6 до 30 ° С без потери прочности. Загрузка фильтров по высоте должна быть выполнена из материала одинаковой крупности с устройством нижнего поддерживающего слоя высотой 0,2 м, крупностью 70—100 мм.

В зависимости от климатических условий района строительства, производительности очистных сооружений, режима притока сточных вод, их температуры биофильтры надлежит размещать либо в помещениях (отапливаемых или неотапливаемых), либо на открытом воздухе.

Капельные биологические фильтры

Рис.7 Капельный биофильтр

1-дозирующие баки сточной воды; 2-спринклеры; 3-загрузка биофильтров; 4-железобетонные стенки; 5-подача сточной воды на очистку.

БПКполн сточных вод Len =300 мг/л > 220 мг/л поэтому надлежит предусматривать рециркуляцию очищенных сточных вод.

Для капельных биофильтров надлежит принимать:

рабочую высоту Hbf = 1,5—2 м;

гидравлическую нагрузку qbf = 1—3 м3/(м2×сут);

БПКполн очищенной воды Lex = 15 мг/л.

В качестве загрузочного материала берем керамзит.

Рассчитываем коэффициент рециркуляции


где Lmix — БПКполн смеси исходной и циркулирующей воды, при этом Lmix — не более 300 мг/л;

Len, Lex БПКполн соответственно исходной и очищенной сточной воды

При расчете капельных биофильтров величину qbf при заданных Len и Lex, мг/л, температуре воды Tw определяем по табл. 37, где

 .

Оптимальная температура t=10; гидравлическая нагрузка qbf, м3/(м2×сут)=1; высота слоя загрузки Hbf = 2м.

Определяем площадь биофильтра по формуле


Расчитываем объем загрузочного материала

W=F*H м3

Исходя из того, что фильтр цилиндрической формы, определяем радиус R

 м

Аэрофильтры

Аэрофильтры – высоконагружаемые биологические фильтры с искусственной аэрацией.

В аэрофильтрах необходимо предусматривать подачу воздуха в междудонное пространство вентиляторами с давлением у ввода 980 Па (100 мм вод. ст.). На отводных трубопроводах аэрофильтров необходимо предусматривать устройство гидравлических затворов высотой 200 мм.

БПКполн сточных вод, подаваемых на аэрофильтры, не должна превышать 300 мг/л. При большей БПКполн необходимо предусматривать рециркуляцию очищенных сточных вод.

БПКполн сточных вод Len =300 мг/л , следовательно коэффициент рециркуляции не предусматриваем.

При расчете аэрофильтров допустимую величину qaf, м3/(м2×сут), при заданных qa и Haf следует определять по табл. 38, где

=20

Оптимальная температура t=10; гидравлическая нагрузка

Qаf, м3/(м2×сут)=10; высота слоя загрузки Hbf = 3,8м ; удельный расход воздуха qa=12 м33

Площадь аэрофильтров Faf, м2, при очистке без рециркуляции необходимо рассчитывать по принятой гидравлической нагрузке qaf, м3/(м2×сут), и суточному расходу сточных вод Q, м3/сут.

 

Faf,= Q,/ qaf=4546/10=454,6 м2

Расчитываем объем загрузочного материала

W=F*H=454,6×3,8= 1727,48 м3

Количество аэрофильтров N=2, отсюда следует, что площадь одного аэрофильтра равна 454,6 /2 =227,3 м2

Объем загрузочного материала для одного фильтра равен

227,3×3,8= 863,74 м3

Исходя из того, что фильтр цилиндрической формы, определяем радиус R

= 12 м

Таблица 5.Размеры одного аэрофильтра

Площадь, м2

Диаметр, м

Глубина, м

454,6

12

3,8


Таблица 6. Параметры аэрофильтра.

Параметры

Аэрофильтр

Количество, шт.

2

Площадь,м2

454,6

Диаметр ,м

12

Глубина,м

3,8

Объем загрузочного материала,м3

863,74


Проектируем аэрофильтр, так как из-за высокой БПК в капельном биофильтре нужно предусматривать многократную рециркуляцию сточных вод.

3. Вторичные отстойники

Горизонтальный отстойник

Вторичные отстойники всех типов после аэротенков надлежит рассчитывать по гидравлической нагрузке qssa, м3/(м2×ч), с учетом концентрации активного ила в аэротенке ai, г/л, его индекса Ji, см3/г, и концентрации ила в осветленной воде at, мг/л, по формуле


где Kss — коэффициент использования объема зоны отстаивания, принимаемый для радиальных отстойников — 0,4, вертикальных — 0,35, вертикальных с периферийным выпуском — 0,5, горизонтальных — 0,45;

at следует принимать не менее 10 мг/л,

ai — не более 15 г/л.


Нагрузку на 1 м сборного водослива осветленной воды следует принимать не более 8—10 л/с.

=  (м2)

Количество вторичных отстойников в проекте должно быть не менее трех.

Число отстойников определяем по формуле:

=

3. Биологическая очистка в естественных условиях

Биологическая очистка сточных вод представляет собой технологические процессы, основанные на способности биологических организмов разлагать загрязняющие вещества. Основная цель биологической очистки - обезвредить, минерализовать коллоидные и растворенные органические вещества сточной воды, которые нельзя извлечь механическим путем. Биологическая очистка в основном протекает по типу аэробного окислительного процесса, в котором участвуют органические вещества сточной воды, микробы и кислород воздуха.

Поля фильтрации и поля орошения представляют собой земельные участки, на которых сточная вода подводится, равномерно распределяется, фильтруется через слой почвы и в процессе фильтрации подвергается биологической очистке (рис.).

#

Рис 8. Разрез поля фильтрации с закрытым дренажем.

1. Участковая дорога

2. канал, подводящий сточные воды

3. шибера для регулирования напуска на карту

4. картовый ороситель

5. ограждающие валики на полях

6. дренажи

7. линия депрессии инфильтрированный воды

Поля орошения отличаются от полей фильтрации тем, что их используют для выращивания сельскохозяйственных культур.

Поля фильтрации

Поглощение стоков грунтом является наиболее часто применяемым и экономичным способом очистки. Возможность применения данного способа определяется способностью грунта поглощать сточные воды. При фильтрации стоков в землю, органические вещества распадаются под воздействием микроорганизмов, в так называемом биослое, образующемся в слое фильтрационной загрузки.

Поля фильтрации - это участки земли, приспособленные для естественной биологической очистки сточных вод путём фильтрации их через почвенные горизонты. Это система подземных канав в суглинистых грунтах, в каждой из которых под площадкой со щебнем (40 см) необходимо установить фильтрующий слой из песка (10 см), в котором проложены дренажные трубы. На дне канавы - 10-сантиметровый слой почвы, хорошо пропускающий влагу. Слой щебня накрывают геотекстильным материалом, который защищает дренажную трубу от загрязнения верхним слоем земли и от несильных морозов (до - 5°С). Трубы для полей фильтрации и поглощения должны иметь специальную схему расположения отверстий, обеспечивающую равномерное распределение стоков и благоприятные условия для развития микроорганизмов, что гарантирует: эффективность очистки и долгий срок службы поля фильтрации. Применение гибких трубопроводов в системах фильтрации и инфильтрации категорически запрещено, т.к. это приводит к нарушению норм и требований природопользования, а так же к выводу из строя системы очистки сточных вод на базе септиков.

Сточные воды, очищенные от механических примесей, жира, яиц гельминтов и пр., подаются в карту слоем 20—30 см (зимой намораживают до 75 см) по открытым каналам через водовыпуски и просачиваются через почву. Сточные воды, пройдя слой песка, поступают в дренажные трубы и затем отводятся в канаву, реку или в технический колодец. Продолжительность отстаивания сточных вод перед поступлением их на поля фильтрации следует принимать не менее 30 мин.

Поля фильтрации для полной биологической очистки сточных вод надлежит предусматривать на песках, супесях и легких суглинках с хорошими фильтрационными свойствами. Но, если почва глинистая, то этот вид биореактора не подойдет. Глина практически не пропускает воду, и очищенная в канаве вода не сможет уйти в более глубокие слои грунта. А выемка глины (до глубины залегания песка) обойдется дороже, чем приобретение готового очистного сооружения.

Поля фильтрации состоят из участков (карт) с почти горизонтальной

поверхностью площадью 0,5—2 га, огражденных валами высотой 0,8-1 м.

обработке тракторами площадь одной карты должна быть не менее 1,5 га.

Отношение ширины карты к длине следует принимать от 1:2 до 1:4. Ширина одной подземной канавы - минимум 50 см, глубина - 120 см (ниже отсутствуют аэробные бактерии, необходимые для биологической очистки), диаметр дренажной трубы - 11 см. Площадки для полей фильтрации необходимо выбирать: со спокойным и слабовыраженным рельефом с уклоном до 0,02; с расположением ниже течения грунтового потока от сооружений для забора подземных вод на расстоянии, равном величине радиуса депрессионной воронки, но не менее 200 м для легких суглинков, 300 м — для супесей и 500 м — для песков. Если местность неровная, то поля фильтрации должны размещаться на возвышенности (чтобы очищенная вода самотеком уходила вниз, а не застаивалась).

Нагрузку бытовых и близких к ним по составу производственных сточных вод допускается принимать по табл. 47.

Площадь полей фильтрации в необходимых случаях надлежит проверять на намораживание сточных вод. Продолжительность намораживания следует принимать равной числу дней со среднесуточной температурой воздуха ниже минус 10 °С.

Величину фильтрации сточных вод в период их намораживания необходимо определять с уменьшением на величину коэффициента, приведенного в табл. 48.

Грунт – супесь, среднегодовая температура воздуха от 0 до 3,5 °С. Нагрузка сточных вод, м3/(га×сут) при залегании грунтовых вод на глубине, 1,5 м, равна 80.

=52,6 га

Размеры карт полей фильтрации надлежит определять в зависимости от рельефа местности, общей рабочей площади полей, способа обработки почвы. При обработке тракторами площадь одной карты должна быть не менее 1,5 га. Отношение ширины карты к длине следует принимать от 1:2 до 1:4; при обосновании допускается увеличение длины карты.

Количество карт определяем по формуле:

==26

Отношение ширины к длине карты 1:2

Длина карты = 200 м.

Ширина карты = 100 м.

Длина поля фильртации = 5200 м,

Ширина поля фильтрации =2600 м.

Заключение

очистка сточная вода отстойник

Защита водных ресурсов от истощения и загрязнения и их рационального использования для нужд народного хозяйства - одна из наиболее важных проблем, требующих безотлагательного решения. В России широко осуществляются мероприятия по охране окружающей Среды, в частности по очистке сточных вод.

Очищенная сточная вода и обработанный осадок могут полноценно использоваться для различных целей, например, в сельском хозяйстве. Известный метод использования очищенных и обеззараженных стоков, которые имеют достаточную удобрительную ценность, - в поливном земледелии для выращивания тепличных культур.

Из всех видов осадков, образующихся на на биологических очистных сооружениях с небольшой производительностью, наибольший объем имеет избыточный активный ил (биопленка). Для утилизации этого осадка широкое распространение получил метод компостирования совместно с твердыми бытовыми и сельскохозяйственными отходами. В процессе компостирования происходит аэробная деструкция органических отходов в условиях повышенной температуры (80-90 'С). В результате получается гумифицированный стабильный продукт, который может быть использован как удобрение и средство, улучшающее структуру почв. На практике компостирование производится в грядах (длинные кучи). Срок созревания компоста - 30-60 суток.

Возможность утилизации очищенных стоков и обработанных осадков в каждом конкретном случае определяется экономическим расчетом. Экономический эффект зависит от соотношения доходов от продажи и расходов, которые складываются из затрат на транспортировку и устройство сооружений для утилизации.

Основные вопросы защиты окружающей среды необходимо решать на основе следующих принципов:

форма и масштабы человеческой деятельности должны быть соизмеримы с запасами невозобновляемых природных ресурсов;

неизбежные отходы производства должны попасть в окружающую среду в форме и концентрации, безвредных для жизни. Особенно это относится к водным ресурсам.

Для правильного подхода к решению актуальных задач в области окружающей среды необходимы определенные знания в этой области. Учебные программы, разработанные во многих университетах и институтах можно разбить на две крупные группы:

решение экологических вопросов в политическом, юридическом, экономическом и других гуманитарных направлениях;

решение экологических вопросов в техническом аспекте, где решаются общетехнические задачи или частные задачи отдельной или близких отраслей промышленности.

 


Не нашли материал для своей работы?
Поможем написать уникальную работу
Без плагиата!
Без нейросетей!