Методы и технологические схемы улучшения качества воды
МЕТОДЫ И ТЕХНОЛОГИЧЕСКИЕ СХЕМЫ УЛУЧШЕНИЯ КАЧЕСТВА ВОДЫ
Содержание
1) Методы, технологические процессы и сооружения
2) Классификация основных технологических схем
3) Основные критерии для выбора технологической схемы и состава
сооружений для подготовки питьевой воды
Литература
1. Методы, технологические процессы и сооружения
Обработка воды с целью подготовки ее для питья, хозяйственных и
производственных целей представляет собой комплекс физических, химических и
биологических методов изменения ее первоначального состава. Под обработкой воды
понимают не только очистку ее от ряда нежелательных и вредных примесей, но и
улучшение природных свойств путем обогащения ее недостающими ингредиентами.
Все многообразие методов обработки воды можно подразделить на следующие
основные группы: улучшение органолептических свойств воды (осветление и
обесцвечивание, дезодорация и др.); обеспечение эпидемиологической безопасности
(хлорирование, озонирование, ультрафиолетовая радиация и др.);
кондиционирование минерального состава (фторирование и обесфторивание,
извлечение ионов тяжелых металлов, обезжелезивание, деманганация, умягчение или
обессоливание и др.). Метод обработки воды выбирают на основе
предварительного изучения состава и свойств воды источника, намеченного
к использованию, и их сопоставления с требованиями потребителя.
Наиболее характерными и общими признаками примесей воды являются
формы их нахождения в ней, т. е. фазовое состояние, которое характеризуется
дисперсностью веществ. По Л.А. Кульскому фазово-дисперсное состояние примесей
воды обусловливает их поведение в процессе водообработки. Каждому
фазово-дисперсному состоянию примесей отвечает совокупность методов
воздействия, позволяющая достичь требуемых качественных показателей воды
изменением этого состояния или без изменения его.
На этой основе все многообразие загрязнений (примесей)
природных и промышленных вод разделено на четыре группы с общим для каждой
группы набором методов водоочистки, предопределяемым формой нахождения примесей
в воде.
В основу технологии очистки воды от примесей каждой группы
положены процессы, протекающие под воздействием сил, наиболее эффективно
влияющих на данную дисперсную систему. Так, для удаления взвесей, являющихся
кинетически неустойчивыми системами, используют гравитационные и адгезионные
силы, для удаления коллоидных и высокомолекулярных веществ, агрегативно
неустойчивых в водных растворах, — адгезионные и адсорбционные. Примеси,
находящиеся в виде молекулярных растворов, удаляют путем ассоциации молекул ,
под влиянием сил межмолекулярного взаимодействия. И, наконец, для удаления из
воды электролитов используют силы химических связей, характерные для ионных
процессов.
Технология кондиционирования воды предполагает процессы, связанные
с корректированием ее физических и химических свойств, а также процессы
обеззараживания. Однако, несмотря на принципиальное различие задач этих методов
обработки, они могут быть общими в зависимости от фазово-дисперсного состояния
минеральных, органических и биологических примесей воды.
К первой группе примесей воды
относятся взвешенные в воде вещества (от высокодисперсных взвесей до крупных
частичек), а также бактериальные взвеси и другие биологические загрязнения.
Удалять эти примеси можно как безреагентными, так и реагентными методами.
Вторую группу примесей воды
представляют разные типы гидрофильных и гидрофобных коллоидных систем,
высокомолекулярные вещества и детергенты, способные в зависимости, от условий
менять свою агрегативность. Их можно удалять из воды различными методами и
технологическими приемами. Например, обработкой воды коагулянтами,
флокулянтами, известью, а также хлором, озоном и другими окислителями.
При этом снижается цветность воды, уничтожаются микроорганизмы,
разрушаются гидрофильные коллоиды, проявляющие защитные свойства по отношению к
гидрофобным примесям воды, тем самым создавая благоприятные условия для
последующего коагулирования, ускоряется процесс образования и осаждения
хлопьев.
Для третьей группы примесей,
являющихся молекулярными растворами, наиболее эффективные процессы,
обеспечивающие их удаление из воды, — аэрирование, окисление, адсорбция.
Для четвертой группы примесей,
представляющих собой электролиты, технология очистки воды сводится к связыванию
реагентами ионов, подлежащих устранению, в малорастворимые и
малодиссоциированные соединения. При выборе реагентов целесообразно исходить из
произведения растворимости образующихся соединений. (Произведением
растворимости (ПР) называется произведение концентраций ионов в насыщенном
растворе малорастворимого соединения, характеризующее способность его
растворяться.) В случае малых значений ПР полнота очистки воды возрастает,
особенно при избытке иона-осадителя. Присутствие в воде посторонних солей
обусловливает увеличение ионной силы раствора (ионная сила является мерой
напряженности электрического поля, создаваемого присутствующими в растворе
ионами), вследствие чего уменьшаются' коэффициенты активности реагирующих ионов
и растворимость осадков возрастает. (Активность — эффективная концентрация
вещества, учитывающая степень связанности его молекул или ионов в растворе. Она
позволяет судить об отклонении свойств данного вещества в сложном растворе от
свойств в чистом его растворе при этой же молярной концентрации вещества.
Активность вещества зависит от вида и концентрации других компонентов раствора,
а также от температуры и давления.)
Все примеси, загрязняющие водоемы, полностью охватываются четырьмя
группами предлагаемой классификации. Используя особенности, характеризующие
каждую группу примесей, можно находить эффективные методы удаления всего
комплекса находящихся в воде примесей небольшим числом соответствующим образом
скомпонованных элементов очистных сооружений.
При проектировании водоочистных комплексов использование этого
принципа классификации помогает определять главные элементы очистных
сооружений, компоновать их, а также подбирать реагенты и процессы, которые
должны в них протекать. Это наиболее сложная часть проектирования, которое
следует развивать в направлении уточнения параметров сооружений и режима работы
с учетом индивидуальных особенностей и состава примесей природных вод.
При составлении схемы водообработки следует выбирать методы и
режимы, наиболее эффективные для удаления примесей каждой из групп. Желательна
предварительная лабораторная проверка и сравнительная технико-экономическая
оценка нескольких вариантов.
Для устранения микрогетерофазных примесей II группы более
эффективны процессы окисления органических коллоидных веществ и
высокомолекулярных соединений, адгезия и адсорбция их на гидроксидах алюминия и
железа, агрегация флокулянтами катионного типа и др.; для вирусов —
вирулицидное воздействие.
Как в случае примесей I группы, комплекс очистных сооружений,
необходимых для осуществления этих процессов, состоит из типовых элементов,
используемых в двух- или одноступенчатой схемах очистки воды.
Для удаления молекулярно растворенных веществ, входящих в III
группу, применяют следующие процессы: десорбцию летучих соединений; окисление
органических веществ; адсорбцию на активированном угле и других сорбентах;
экстракцию органическими растворителями; отгонку паром — эвапорацию и др.
Методы удаления таких примесей специфичны и поэтому здесь используется
аппаратура специального назначения.
Для удаления электролитов лучше использовать ионные процессы:
перевод в малодиссоциированные (нейтрализация, комплексообразование) или
малорастворимые соединения; фиксация на твердой фазе ионитов (Н—Na - катионирование, ОН-
анионирование); сепарация изменением фазового состояния воды с переводом ее в
газообразное состояние (дистилляция) или в твердую фазу (вымораживание,
гидратообразование); перераспределение ионов в жидкой фазе (экстракция,
обратный осмос); подвижность ионов в электрическом поле и др.
Установки, предназначенные для осуществления этих процессов, могут
дополнять основные очистные сооружения. Иногда молекулярные и ионные примеси
можно удалять параллельно с выделением гетерофазных загрязнений в типичной для
них аппаратуре.
В соответствии с рекомендациями СНиП 2.04.02—84, метод обработки
воды, состав и расчетные параметры очистных сооружений, и расчетные дозы
реагентов надлежит устанавливать в зависимости от качества воды в
источнике водоснабжения, ее назначения, производительности комплекса и местных
условий, а также на основании данных технологических исследований и
эксплуатации сооружений, работающих в аналогичных условиях.
примесь вода очистка технологический
2. Классификация основных технологических схем
Для разработки технологических схем улучшения качества воды
требуются многие данные. Прежде всего, устанавливается целевое назначение воды,
т. е. требования потребителя к ее физическим, химическим и бактериологическим
показателям; учитывается качество воды самого источника водоснабжения и в
разные времена года, степень и возможность загрязнения его бытовыми и
промышленными сточными водами и др.
Ответственным и сложным этапом является правильная оценка
источника водоснабжения. Важно не только определить примеси воды,
обусловливающие ее привкусы, запахи, цветность, мутность, жесткость и т. д., но
и изучить химические и биологические процессы, протекающие в водоеме и
влияющие на стабильность состава воды. Поэтому оценка водоема, как правило,
складывается в результате длительного наблюдения за составом примесей воды, за
изменением во времени каждого отдельного компонента. Только при таком изучении
можно правильно расшифровать данные анализа воды.
Кроме специфических особенностей очистки воды, определяемых
требованиями потребителя и устанавливаемых в каждом отдельном случае,
существуют и некоторые общие положения, которыми можно руководствоваться при
выборе схем очистки воды, подборе элементов очистных сооружений и их
компоновке.
При подготовке питьевой воды в случае, если забор ее производится
из открытых водоемов, воду обычно осветляют, обесцвечивают и обеззараживают.
Если же источники водоснабжения — подземные напорные и безнапорные воды или
вода чистых озер и прудов, ее обработка ограничивается только обеззараживанием.
Конструктивное оформление принятой схемы определяется
производительностью и составом проектируемых сооружений, рельефом и
гидрогеологией площадки, климатическими данными и возможностью создания зон
санитарной охраны, а также технико-экономическими расчетами.
При проектировании очистных сооружений комплекс и типы основного и
вспомогательного оборудования определяются принятым методом обработки воды.
Объем отдельных сооружений рассчитывают по времени, необходимому для протекания
тех или иных физико-химических процессов в воде, поступающей на обработку. При
непрерывной работе этих сооружений расчет их обязательно предполагает
нахождение времени пребывания воды в различных элементах схемы при скорости
потока, соответствующей нормальному течению процесса очистки.
Реагенты в воду подают таким образом, чтобы обработка ее
заканчивалась в проектируемом комплексе оборудования и выходящая вода
соответствовала требованиям потребителя и чтобы в дальнейшем вода не
изменяла своего состава и свойств. Для этого реагенты следует вводить в начале
очистных сооружений и специальными устройствами обеспечивать быстрое и полное
смешение отдозированных реагентов со всей массой очищаемой воды. Исключение
составляют методы обработки воды, предназначенные для устранения воздействия
разветвленной сети трубопроводов на качество воды (повторное бактериальное
загрязнение, коррозия и т. д.), а также для ее обогащения микроэлементами
(фторирование). В этом случае реагенты, не содержащие взвешенных веществ и не'
образующие их при взаимодействии с солями, содержащимися в воде, разрешается
вводить в очищенную воду.
При использовании для очистки воды нескольких методов обработки
размещение соответствующего оборудования для дополнительных процессов не должно
влиять на основную технологическую схему сооружений.
Сочетание соответствующих технологических процессов и сооружений
составляет технологическую схему улучшения качества воды. Используемые в практике водоподготовки технологические схемы
можно классифицировать следующим образом: реагентные и безреагентные;
по эффекту осветления-, по числу технологических процессов и
числу ступеней каждого из них; напорные и безнапорные.
Реагентные и безреагентные технологические схемы применяют при подготовке воды для хозяйственно-питьевых целей
и нужд промышленности. Указанные технологические схемы существенно
различаются по размерам водоочистных сооружений и условиям их эксплуатации
(рис. 2.1). Процессы обработки воды с применением реагентов протекают
интенсивнее и значительно эффективнее. Так, для осаждения основной массы
взвешенных веществ с использованием реагентов необходимо 2— 4 ч, а без
реагентов — несколько суток. С использованием реагентов фильтрование
осуществляется со скоростью 5—12 м/ч и более, а без реагентов — 0,1—0,3
м/ч (медленное фильтрование).
Водоочистные сооружения для обработки воды с применением реагентов
значительно меньше по объему, компактнее и дешевле, но сложнее в
эксплуатации, чем сооружения безреагентной схемы. Поэтому безреагентные
технологические схемы (с гидроциклонами, акустическими, намывными и медленными
фильтрами), как правило, применяют в небольших системах водоснабжения при
цветности исходной воды до 50 град, безреагентные схемы, применяют при
неглубоком осветлении воды в системах водоснабжения промышленных объектов. Для
этих целей иногда используют одно отстаивание или одно фильтрование на
грубозернистых фильтрах или микрофильтрах.
По эффекту осветления различают
технологические схемы для полного или глубокого осветления воды и
для неполного или грубого осветления. В первом случае очищенная вода
соответствует требованиям питьевой воды (ГОСТ 2874—82), во втором — содержание
взвеси в очищенной воде во много раз больше (до 50—100 мг/л). Обычно
грубоосветленную воду используют для охлаждения различного производственного
оборудования.

Количество технологических процессов и число ступеней каждого из
них зависят от требований, предъявляемых к воде потребителем, и качества
исходной воды. Так, для грубого осветления воды можно ограничиться процессом
осаждения, центрифугирования или только фильтрованием, в то время как при
обработке высокомутных вод для хозяйственно-питьевых целей применяют осаждение
в две ступени с последующим фильтрованием в одну ступень или используют
технологическую схему, предусматривающую предварительное осветление воды в
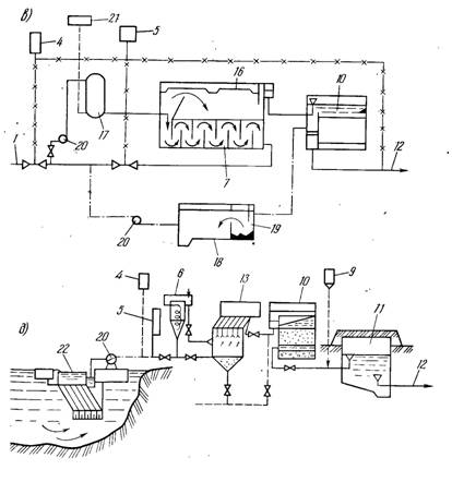
гидроциклонах с последующей очисткой по технологическим схемам на рис. 2.2, а
или 2.2, б.
В практике подготовки воды для нужд промышленности (ТЭС,
химической и др.) применяют напорные технологические схемы с
многоступенчатым фильтрованием.
По характеру движения обрабатываемой воды технологические схемы
подразделяют на самотечные (безнапорные) и напорные (см. рис. 2.2). На городских и крупных промышленных водоочистных
комплексах исходная вода движется по сооружениям самотеком, при этом уровень
воды в каждом' последующем сооружении ниже уровня в предыдущем. Разность
уровней определяет напор, требуемый для преодоления гидравлических
сопротивлений внутри сооружения и в коммуникациях от одного сооружения к
другому. Поэтому увязка взаимного расположения отдельных очистных сооружений
технологической схемы (т. е. построение высотной схемы) имеет первостепенное
значение.
При напорной технологической схеме обрабатываемая вода от
сооружения к сооружению движется под давлением выше атмосферного, поэтому
отдельные сооружения можно располагать на одной отметке. Напорные очистные
сооружения должны быть герметичными и рассчитаны на давление, развиваемое
насосами. При использовании напорных технологических схем резервуары чистой
воды и насосную станцию II подъема можно не устраивать. В отдельных случаях
очищенная вода под напором насосов I подъема передается непосредственно в сеть
потребителей (см. рис. 2.2, а). Наоборот, при безнапорном движении воды по
очистным сооружениям необходимы две насосные станции и резервуары чистой воды.
При напорных технологических схемах значительно повышается металлоемкость водоочистных
сооружений, что ограничивает их производительность.
3. Основные критерии для выбора технологической схемы и состава
сооружений для подготовки питьевой воды
Выбор технологической схемы улучшения качества воды зависит не
только от качества воды источника и требований потребителя, но и от
количества потребляемой воды. Например, для обработки небольшого количества
цветной или мутной воды не может быть рекомендована без изменения (по
экономическим соображениям) основная технологическая схема. В этом случае
вместо горизонтальных отстойников следует применять вертикальные, а смеситель
можно заменить соплом Вентури или шайбой.
Ориентировочно технологическая схема для осветления и
обесцвечивания воды до лимитов ГОСТ 2874—82 может быть выбрана по рекомендациям
СНиП 2.04.02—84 «Водоснабжение, наружные сети и сооружения» (табл. 2.1).
Определение оптимального состава реагентов, мест их ввода в
обрабатываемую воду, выбор типа и конструкции водоочистного сооружения должны
производиться на основании тщательного рассмотрения данных химического и технологического
анализов исходной воды и изучения опыта использования аналогичной технологии в
подобных условиях. Однако, некоторые решения могут быть приняты априорно на
основании обобщения имеющегося опыта эксплуатации водоочистных комплексов в
аналогичных условиях. Так, использование железных коагулянтов или смеси
алюминиевых и железных предпочтительнее в условиях длительного весеннего
паводка, сопровождающегося не только возрастанием цветности и мутности и
понижением щелочности, но и низкими температурами обрабатываемой воды. Хранение
коагулянта в сухом виде навалом по технологическим и экономическим мотивам
допустимо для небольших водоочистных комплексов производительностью примерно до
30 тыс. м3/сут.
Применение в качестве флокулянта активированной кремнекислоты
активированной хлором рекомендуется при обработке цветных вод, для этих же
целей, в качестве коагулянта целесообразно использование хлорного железа или
оксихлорида алюминия, а для мутных вод — оптимально применять полиакриламид,
К-4, ВА-102, ВПК-402 и др.
Необходимо предусматривать рассредоточенный ввод реагентов в
обрабатываемую воду при помощи специальных распределителей, размещаемых в
смесителях, подающих трубопроводах и каналах.
Для дезодорации, создания благоприятных условий пред- очистки воды,
интенсификации работы водоочистных сооружений, экономии коагулянта, следует
применять ее аэрацию путем излива и падения с некоторой высоты, каскадной
аэрации или барбатирования потока в смесителе. Аэрирование может и должно
осуществляться при использовании любых технологических схем подготовки воды для
хозпитьевых нужд.
При кондиционировании цветных вод во избежание образования
канцерогенных хлорорганических соединений следует отказываться от
предварительного их хлорирования или предусматривать на посточистке непременное
дехлорирование, а еще лучше первичный хлор заменить озоном.
В технологических схемах с осветлителями со взвешенным осадком и с
контактными осветлителями следует применять вертикальные смесители,
обеспечивающие не только надлежащий и стабильный эффект смешения вводимых
реагентов с водой, но и воздухоотделение. Для водоочистных установок с суточной
подачей до 8 тыс. м3/сут. смешение реагентов с водой целесообразно производить
в трубчатых смесителях, вставках и соплах Вентури и шайбах.
В технологических схемах с отстойниками камеры хлопьеобразования
должны встраиваться в них и по возможности оборудоваться тонкослойными
модулями.
При обработке маломутных цветных вод следует применять камеры
хлопьеобразования с рециркуляторами осадка, зашламленного или контактного типа,
а также осветлители со взвешенным осадком — рециркуляторы и флотаторы. В
качестве сооружений первой ступени для осветления высокомутных вод
рекомендуются: осветлители-водозаборы на плаву, тонкослойные, горизонтальные и
радиальные отстойники с тонкослойными модулями, гидро- и мультициклоны,
акустические фильтры. В горизонтальных отстойниках должна быть напорная
гидравлическая система смыва и удаления осадка. Для извлечения из воды
планктона или крупных плавающих примесей следует применять в первом случае —
микрофильтры или флотаторы, а во втором — барабанные сита.
В качестве скорых фильтров следует рекомендовать фильтры большой
грязеемкости с водовоздушной промывкой и боковым отводом промывной воды. В
прямоточных реагентных и безреагентных схемах следует использовать контактные
фильтры КФ-5, каркасно-засыпные и фильтры с пенополистирольной загрузкой
(открытые и напорные).
При кратковременных периодах возникновения в водоисточнике
нежелательных привкусов и запахов следует применять углевание воды или ввод
суспензий цеолитсодержащих пород в конце смесителя. При этом из воды
извлекаются ионы железа, меди, хрома, на 30—50% снижается остаточный алюминий и
на 50—70% снижается содержание хлорорганических соединений (по хлороформу).
ЛИТЕРАТУРА
1.
Алексеев Л.С., Гладков В.А. Улучшение качества мягких вод. М., Стройиздат,
1994 г.
2.
Алферова Л.А., Нечаев А.П. Замкнутые системы водного хозяйства
промышленных предприятий, комплексов и районов. М., 1984.
3.
Аюкаев Р.И., Мельцер В.3. Производство и применение фильтрующих материалов
для очистки воды. Л., 1985.
4.
Вейцер Ю.М., Мииц Д.М. Высокомоллекуляриые флокулянты в процессах очистки
воды. М., 1984.
5.
Егоров А.И. Гидравлика напорных трубчатых систем в водопроводных
очистных сооружениях. М., 1984.
6.
Журба М.Г. Очистки воды на зернистых фильтрах. Львов, 1980.
Размещено на