Камеры хлопьеобразования

  • Вид работы:
    Реферат
  • Предмет:
    Химия
  • Язык:
    Русский
    ,
    Формат файла:
    MS Word
    1,07 Mb
  • Опубликовано:
    2011-03-07
Вы можете узнать стоимость помощи в написании студенческой работы.
Помощь в написании работы, которую точно примут!

Камеры хлопьеобразования

 











КАМЕРЫ ХЛОПЬЕОБРАЗОВАНИЯ

 

Место камер хлопьеобразования в технологической схеме, их классификация

Процесс конвективной коагуляции во времени состоит из двух этапов. Ход процесса перекинетической коагуляции определяется интенсивностью теплового броуновского движения. В момент ввода и распределения раствора коагулянта в воде ионы алюминия или железа начинают взаимодействовать с гидроксильными ионами и спустя некоторое время появляется опалесценция и вода мутнеет от формирования огромного количества первичных мельчайших хлопьев. Под действием броуновского движения хлопья контактируют друг с другом и укрупняются, а их число в единице объема уменьшается. Наступает момент, когда энергия броуновского движения недостаточно для перемещения первичных агрегатов с целью их дальнейшей агломерации. На этом заканчивается перекинетическая фаза коагуляции и наступает ортокинетическая, для успешного протекания которой необходимо обеспечить дальнейшее контактирование уже сформировавшихся агрегатов.

Таким образом, камеры хлопьеобразования предназначены для создания благоприятных условий на завершающей второй стадии процесса коагуляции — хлопьеобразования, чему способствует плавное перемешивание потока. На размеры образующихся хлопьев в процессе медленного перемешивания обрабатываемой воды влияет его интенсивность и продолжительность, солевой состав воды, природа примесей (коллоидные или диспергированные), а также силы адгезии, удерживающие частицы примесей связанными между собой. Укрупнение образующихся в процессе гидролиза коагулянта хлопьев происходит постепенно в течение некоторого времени, варьируемого согласно СНиПа в пределах 6 ... 30 мин и более. Первоначально протекает стадия скрытой коагуляции, характеризующаяся формированием первичных мельчайших хлопьев, которые затем укрупняются и образуют крупные видимые агрегаты. При этом структура образующихся хлопьев гидроксида железа значительно прочнее и они имеют большую плотность, чем гидроксид алюминия. На структурообразование хлопьев оказывает влияние солевой состав воды. Так, возрастание концентрации гидрокарбонатов и хлоридов повышает прочность формирующихся хлопьев и, наоборот, увеличение содержания сульфатов понижает ее.

Как показали результаты исследований, выполненных в МГСУ (Г. И. Николадзе, А. Мирзаев и др.) и в НИИ КВОВ АКХ (Г. Н. Луценко и др.), существенное влияние на процесс хлопьеобразования оказывают интенсивность и продолжительность перемешивания обрабатываемой воды в камерах хлопьеобразования. При этом основополагающей является интенсивность перемешивания G = 50 ... 60 с-1, влияние продолжительности процесса проявляется в меньшей степени.

Ниже приводятся формулы для определения градиента скорости в камерах хлопьеобразования разных типов:

Перегородчатая

Вихревая и водоворотная

флокулятор (механическая)

в аэрофлокуляторе  

где n — число перегородок; υ1 и υ2 — соответственно скорости движения воды в коридоре камеры и на повороте, м/с; Q — расход коагулируемой воды, м3/с; р — плотность воды, кг/м3; V — объем камеры, м3; т]— динамическая вязкость воды, Пас; о — скорость входа воды в камеру из подводящего трубопровода, м/с; т — частота вращения мешалки, с-1; N — начальная мощность, затрачиваемая на вращение, Вт; q — расход воздуха, м3/с; ро — атмосферное давление, Па; Л — высота слоя воды над воздухораспределительной системой.

Интенсивность перемешивания воды в камерах хлопьеобразования не должна быть слишком большой, чтобы не разрушить сформировавшиеся хлопья. Необходимая интенсивность перемешивания воды достигается путем изменения скорости ее движения или частоты вращения мешалки во флокуляторах, а оптимальная продолжительность процесса обеспечивается надлежащим объемом сооружения.

Из практики известно, что скорость хлопьеобразования понижается при низкой температуре обрабатываемой воды, а размер и структура образующихся при этом хлопьев неудовлетворительны. Это негативное явление удается локализовать путем увеличения интенсивности и продолжительности перемешивания.

При обработке маломутных цветных вод ускорения хлопьеобразования можно достичь искусственным замутнением обрабатываемой воды, вводя в нее осадок из отстойников или суспензию глины, частицы которых являются центром агрегации. Такой же результат дает применение флокуляторов в сочетании с флокулянтами. Из сказанного становится очевидной роль и назначение камер хлопьеобразования.


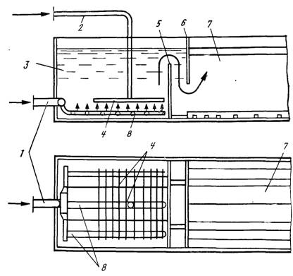
Рис. 6.1. Камеры хлопьеобразования вихревого (а) и зашламленного (б) типа, встроенные в горизонтальный отстойник.

1 — отвод осветленной и подача исходной воды; 2 — водосборный карман; 3 — лотки децентрализованного сбора осветленной воды; 4 — тонкослойные модули; 5 — зона осветления воды; 6 — струенаправляющая перегородка; 7 — лотки для сбора и отведения воды из камеры; 8 — камера хлопьеобразования; 10 — перфорированные водораспределительные трубы; 11 — удаление осадка из отстойника; 12 — короба для сбора и удаления осадка из отстойника; 13 — затопленный водослив; отделяющий камеру от отстойника.

По принципу действия камеры хлопьеобразования подразделяют на гидравлические, механические (флокуляторы) и аэро- флокуляторы. Из камер гидравлического типа на практике отдают предпочтение вихревым (рис. 6.1,а) я зашламленного типа (рис. 6.1,б), водоворотным (рис. 6.2,а) и контактным (рис. 6.2,б), перегородчатым с горизонтальным или вертикальным движением воды, камерам с рециркуляцией осадков (рис. 6.3). При числе камер хлопьеобразования менее шести следует принимать одну резервную.

Рис. 6.2. Водоворотная (а) и контактная (б) камеры хлопьеобразования, встроенные в вертикальный отстойник.

1,5 — подача исходной и отвод осветленной воды; 2 и 3 — кольцевой и радиальные водосборные лотки; 4 — водоворотная камера; 6 — зона осветления воды; 7 — гаситель; 8 — зона накопления и уплотнения осадка; 9 — конусный отражатель; 10 — удаление осадка; 11 — контактная загрузка из вспененного полистирола; 12 —• сетка; 13 — контактная камера

хлопьеобразование конвективный коагуляция

Камеры хлопьеобразования гидравлического типа

При выборе типа камеры хлопьеобразования следует руководствоваться производительностью водоочистного комплекса, качеством исходной воды и конструкцией отстойника.

Перегородчатая камера хлопьеобразования (применяют с горизонтальными отстойниками) представляет собой прямоугольный железобетонный резервуар с перегородками, образующими 9 ... 11 коридоров шириной не менее 0,7 м, через которые последовательно проходит вода со скоростью 0,2 ... 0,3 м/с в начале камеры и 0,05 ... 0,1 м/с в конце за счет увеличения ширины коридоров. Подключая к работе то или иное число коридоров, можно регулировать продолжительность пребывания обрабатываемой воды в камере в зависимости от ее качества. Дно коридоров камеры выполняют с продольным уклоном 0,02 ... 0,03 для удаления осадка при чистке. Среднюю глубину камеры принимают 2 ... 2,5 м, продолжительность пребывания воды в камере 20 ...40 мин (минимальное время —для мутных вод, максимальное — для цветных с пониженной температурой).

В перегородчатых (одно- или двухэтажных) камерах, вплотную примыкающих к горизонтальным отстойникам, перемешивание воды достигается многократным изменением направления ее движения в вертикальной или горизонтальной плоскости. Перегородчатые камеры применяют на крупных водоочистных комплексах: с вертикальным движением воды до 60 тыс. м3/сут; с горизонтальным — при большей подаче.

Расчет камеры перегородчатого типа заключается в нахождении ее объема, размеров в плане, числа и ширины коридоров и общей потери напора в сооружении.

Вихревая камера хлопьеобразования (рис. 6.1, а), предложенная Е. Н.Тетеркиным, выполнена в виде железобетонного конического или пирамидального резервуара (с углом конусности 50... 70°), обращенного вершиной вниз. Обычно ее встраивают в горизонтальный отстойник или располагают вплотную к нему. Принцип работы камеры заключается в том, что перемешивание воды происходит при ее движении снизу вверх вследствие значительного уменьшения скорости движения (от 0,7 ... 1,2 до 0,004 ... 0,005 м/с) в результате резкого увеличения площади поперечного сечения. Время пребывания воды в камере составляет от 6 (для мутных вод) до 12 мин (для цветных вод). Передачу воды из камеры в отстойник следует осуществлять при скорости ее движения в сборных лотках или трубах, а также в их отверстиях не более 0,05 м/с для цветных вод и 0,1 м/с — для мутных.

При устройстве желоба необходимо предусматривать треугольные водосливы или затопленные отверстия для равномерного сбора воды. В современных конструкциях вихревых камер хлопьеобразования предусматривают встраивание тонкослойных модулей, что повышает эффект хлопьеобразования и улучшает гидравлические условия их работы.

Камера хлопьеобразования зашламленного типа (рис. 6.1,б), предложенная И. М. Миркисом, с вертикальными перегородками применяется для вод с мутностью до 1500 мг/л. Ее размещают в начале коридора отстойника или вплотную с ним и выполняют в виде железобетонного пирамидального резервуара (с углом конусности порядка 45°). В основаниях перевернутых пирамид размещают напорные перфорированные водораспределительные трубы, расстояние между которыми в осях — 2 м, от стенки камеры— 1 и. Отверстия трубы диаметром не менее 25 мм направлены вниз под углом 45°, их суммарная площадь должна составлять 30 ... 40% от площади сечения распределительной трубы. Скорость движения воды в распределительных трубах принимают 0,5 ... 0,6 м/с. Для соблюдения постоянства скорости движения воды распределительные трубы рекомендуется выполнять телескопическими с косыми переходами.

При скорости восходящего потока 0,65 ... 1,6 (для вод мутностью 50 ... 250 мг/л) и 0,8 ... 2,2 мм/с (для вод мутностью 250 ... 1500 мг/л) образуется и поддерживается во взвешенном состоянии слой осадка высотой не менее 3 м, частицы которого являются центрами коагуляции. Время пребывания воды в камере не менее 20 мин. Применение камер хлопьеобразования со слоем взвешенного осадка позволяет увеличить расчетную скорость осаждения взвеси в отстойниках при осветлении вод средней мутности на 15...20% и для мутных вод— на 20%. Передача воды из камеры в отстойник осуществляется при скорости ее движения до 0,1 м/с для мутных вод и до 0,05 м/с — для цветных.

При расчете камеры первоначально определяют ее объем по времени пребывания воды и площадь ее верхней части по скорости восходящего движения. Затем находят габариты широкой и узкой частей камеры, вычисляют их объемы, складывают и проверяют фактическое время пребывания воды в ней.

Водоворотная камера хлопьеобразования (рис. 6.2,а) совмещается с вертикальным отстойником и располагается в центральном стакане. Вода подается в верхнюю часть камеры соплом, расположенным на расстоянии 0,2 диаметра камеры от стенки на глубине 0,5 м от поверхности воды, или соплами, закрепленными в ее центре в виде неподвижного сегнерова колеса. Выходя из сопел со скоростью 2 ... 3 м/с, вода приобретает вращательное движение вдоль ее стенок и движется сверху вниз. Для гашения вращательного движения воды при ее переходе в отстойник, которое могло бы ухудшить его работу, в низу камеры устанавливают гаситель в виде крестообразной перегородки высотой 0,8 м с ячейками 0,5x0,5 м. Время пребывания воды в камере принимают 15 ... 20 мин, а ее высоту 3,5 ... 4 м.

Область применения водоворотных камер определяется применимостью вертикальных отстойников, т. е. качество обрабатываемой воды практически любое при суточной подаче до 5—8 тыс. м3.

При расчете водоворотных камер первоначально находят ее площадь по времени пребывания воды, а затем зная ее высоту, определяют диаметр.

Для интенсификации процесса хлопьеобразования при коагулировании примесей маломутных и цветных вод в свободном объеме А. Б. Гальберштадтом предложена гравийная камера с псевдоожиженной зернистой загрузкой, позволяющей в результате оптимизации параметров турбулентности потока увеличить число взаимных контактов первичных агрегатов и снизить кинетическую энергию их взаимодействия. Оптимальные условия протекания процесса хлопьеобразования создаются при использовании зернистой загрузки из антрацита (керамзита, песка и др.) с эквивалентным диаметром 0,6 ... 0,9 мм и высотой слоя в статических условиях 0,3 ... 0,5 м, работающей при расширении 10 ... 15%, что соответствует восходящей скорости потока 2,6 ... 4,0 мм/с. Первоначально контактный слой антрацита покоится на слое гравия крупностью 5 ... 20 мм высотой 0,3 ... 0,4 м.

Примерно аналогичная конструкция контактной камеры хлопьеобразования (без поддерживающего гравийного слоя) предложена М. Г. Журбой. Для создания псевдоожиженного слоя использованы вспененные гранулы полистирола марки ПСВ (ОСТ 6—05—202—83) крупностью 0,5 ... 4,5 мм, удерживаемые в верхней части камеры дренажной сеткой. Первоначальная высота слоя гранул около 1 м. Восходящая скорость движения воды в камере 5 ... 6 мм/с.

Хорошо себя зарекомендовала на практике при обработке маломутных цветных вод камера хлопьеобразования зашламленного типа с рециркуляцией шлама, предложенная ЛНИИ АКХ им. К. Д. Памфилова (рис. 6.3). Обрабатываемая вода вводится в нижние части секций камеры со скоростью 1 м/с и поступает в центрально расположенные эжектируемые вставки, засасывая воду с осадком из объема секций. Таким образом, в каждой секции происходит непрерывное движение взвешенного осадка, обеспечивающее контактирование агрегативно неустойчивых примесей и их агрегацию. Постепенно обрабатываемая вода переходит из камеры в камеру и далее в отстойник. Время пребывания воды в камере 20 ... 30 мин.

Флокуляторы

В механических камерах хлопьеобразования (флокуляторах), рекомендуемых СНиП при обработке мутных вод и применяемых на крупных водоочистных комплексах (рис. 6.4), плавное перемешивание воды для завершения процесса коагулирования ее примесей осуществляется механическими пропеллерными или лопастными мешалками. Мешалка может иметь одну или несколько лопастей. Флокуляторы обычно встраивают в горизонтальные отстойники и рассчитывают на время пребывания воды в них 30 ... 40 и до 60 мин при реагентом умягчении. Число мешалок принимают 3 ... 5. Скорость движения воды во флокуляторе уменьшается по ходу потока от 0,5 до 0,1 м/с за счет сокращения числа оборотов мешалок или уменьшающейся по ходу воды площади их лопастей. Скорость вращения мешалок принимают 0,3 ... 0,55 м/с в зависимости от качества исходной воды.











Флокуляторы устраивают с мешалками на вертикальной или горизонтальной оси. В первом случае их обычно оборудуют моторами с переменной скоростью вращения, во втором — один двигатель обслуживает несколько мешалок. Мешалки располагают в начале коридора отстойники в два ряда и более и разделяют перегородками для циркуляции воды. Флокуляторы выполняют различной формы в плане: квадратными, круглыми и прямоугольными. Оптимально применение пропеллерных мешалок, создающих аксиальные потоки, что ослабляет процесс разрушения образовавшихся хлопьев.

Исследования флокуляторов, выполненные в МГСУ (Г. И. Николадзе, Ч. С. Лай), показали, что число цилиндрических секций камеры следует принимать не менее трех с зигзагообразной траекторией движения воды, структура градиента скорости должна быть убывающей по ходу воды от 100 до 25 ... 50 с-1 в последней секции, мешалки целесообразно размещать на вертикальной оси. Данные табл. 6.1 дают представление о величинах критерия Кэмпа при обработке вод разного состава.

Таблица 6.1

Схема очистки воды

Критерий GT

Маломутные цветные воды, рН = 5,5 ...6,5, обрабатываемые сульфатом алюминия

40*103…55*10

То же, при рН = 4,5 ... 5,5, обрабатываемые хлорным железом


100*103…150*103

Маломутные цветные воды, рН = 5,5 ... 6,8, обрабатываемые ПАА

200*103…300*103


Воды средней мутности и средней цветности, рН=6...7, обрабатываемые сульфатом алюминия

25*103…36*103

Воды средней мутности, рН = 6,6 ... 7,2, обрабатываемые хлорным железом

35*103…50*103


Преимуществами флокуляторов по сравнению с камерами гидравлического типа являются небольшие потери напора, конструктивная простота, оптимизация процесса хлопьеобразования адекватно качеству обрабатываемой воды.

К числу недостатков флокуляторов следует отнести дополнительный расход электроэнергии, наличие в воде деталей, к материалам на изготовление которых предъявляются высокие требования, что удорожает сооружение в целом.


Аэрофлокуляторы

Хорошее хлопьеобразование достигается барбатированием обрабатываемой воды сжатым воздухом. При этом одновременно с хлопьеобразованием происходит насыщение воды кислородом воздуха и удаление оксида углерода. Равномерное распределение воздуха в массе обрабатываемой воды достигается либо системой из пористых или перфорированных труб (рис. 6.5), либо ложным дном из пористых плит. Глубина слоя воды принимается в пределах 2,5—4,5 м, интенсивность подачи воздуха варьируется в пределах 0,05— 0,06 л/(с-м2), давление воздуха в подающем трубопроводе должна быть порядка 5 МПа. Воздухораспределительные трубы, располагаемые поперек камеры с шагом 0,2—0,3 м, на расстоянии 1,0 м от дна, имеют по нижней образующей отверстия диаметром 2 мм при шаге 0,125—0,15 м. По А. В. Бутко преимущества аэрофлокуляторов заключаются в гибкости регулирования процесса хлопьеобразования адекватно качеству обрабатываемой воды, низкой стоимости и простоте устройства. К числу недостатков следует отнести дополнительный расход электроэнергии на компрессию воздуха.

Рис. 6.5. Схема аэрофлокулятора.

1 и 2 — подача исходной воды н воздуха; 3 — камера аэрофлокулятора; 4 и 8 — воздухо- и водораспределительная система; 5 — затопленный водослив; 6 — струенаправляющая перегородка; 7 — горизонтальный отстойник

ЛИТЕРАТУРА

Алексеев Л. С., Гладков В. А. Улучшение качества мягких вод. М., Стройиздат, 1994 г.

Алферова Л. А., Нечаев А. П. Замкнутые системы водного хозяйства промышленных предприятий, комплексов и районов. М., 1984.

Аюкаев Р. И., Мельцер В. 3. Производство и применение фильтрующих материалов для очистки воды. Л., 1985.

Вейцер Ю. М., Мииц Д. М. Высокомолекулярные флокулянты в процессах очистки воды. М., 1984.

Егоров А. И. Гидравлика напорных трубчатых систем в водопроводных очистных сооружениях. М., 1984.

Журба М. Г. Очистки воды на зернистых фильтрах. Львов, 1980.

 


Не нашли материал для своей работы?
Поможем написать уникальную работу
Без плагиата!
Без нейросетей!