Технічне обслуговування та ремонт двигунів змінного струму

  • Вид работы:
    Курсовая работа (т)
  • Предмет:
    Физика
  • Язык:
    Русский
    ,
    Формат файла:
    MS Word
    129,19 kb
  • Опубликовано:
    2011-01-15
Вы можете узнать стоимость помощи в написании студенческой работы.
Помощь в написании работы, которую точно примут!

Технічне обслуговування та ремонт двигунів змінного струму

Зміст

ВСТУП

1. ТЕОРЕТИЧНА ЧАСТИНА

1.1     ЗАГАЛЬНІ ВІДОМОСТІ ПРО ЕЛЕКТРИЧНІ МАШИНИ

1.2     ЄДИНА СЕРІЯ ТРИФАЗНИХ АСИНХРОННИХ ДВИГУНІВ 4А

2. МЕХАНІЧНА ЧАСТИНА

2.1     ТЕХНІЧНЕ ОБСЛУГОВУВАННЯ ЕЛЕКТРОДВИГУНІВ ЗМІННОГО СТРУМУ

2.2     ОСНОВНІ НЕПОЛАДКИ ЕЛЕКТРОДВИГУНІВ ТА СПОСОБИ ЇХ УСУНЕННЯ

2.3     СУШІННЯ ЕЛЕКТРИЧНИХ МАШИН

2.4     ПІДГОТОВКА ЕЛЕКТРИЧНИХ МАШИН ДО ПУСКУ

2.5     ВИПРОБУВАННЯ ЕЛЕКТРИЧНИХ МАШИН

3. ТЕХНІКА БЕЗПЕКИ

3.1     ТЕХНІКА БЕЗПЕКИ ПІД ЧАС МОНТАЖУ ЕЛЕКТРИЧНИХ МАШИН

3.2     ТЕХНІКА БЕЗПЕКИ ПРИ ЕКСПЛУАТАЦІЇ ЕЛЕКТРОПРИВОДА

СПИСОК ВИКОРИСТАНОЇ ЛІТЕРАТУРИ

ВСТУП

Рівень технічного розвитку будь-якої країни в наш час визначається в основному станом її енергетики, потужністю електростанцій і виробництвом електроенергії.

Науково-технічний прогрес безперервно супроводиться кількісними і якісними змінами в області електроенергетики і електротехніки, зростанням потужності промислових і сільськогосподарських підприємств, що будуються, вдосконаленням технологічних процесів і підвищенням енергоозброєння народного господарства.

Високий розвиток електроенергетики дає змогу переозброювати всі галузі народного господарства, широко впроваджувати електричну енергію в такі її провідні галузі, як промисловість, сільське господарство, будівництво і транспорт.

Зростання кількості і потужності електроустановок супроводиться ускладненням і вдосконаленням їх конструкцій. Постійно розширюється номенклатура обладнання, що випускається електротехнічною промисловістю, апаратів, приладів, електромонтажних конструкцій і матеріалів. Застосовуються нові методи індустріального будівництва і провадження електромонтажних робіт. Відповідно переглядаються і вносяться корективи в діючі будівельні і електротехнічні норми і правила.

У технічному перетворенні галузей народного господарства ведуча роль належить електричним засобам автоматизації і механізації виробничих процесів. Найважливішим засобом електрифікації, механізації і автоматизацій, основою збільшення продуктивності машини і масштабів виробництва є сучасний електропривод, на частку якого доводиться до 63% загального споживання електроенергії в країні.

Електричні машини широко застосовуються у всіх галузях народного господарства. Середні і великі електричні машини використовують в машинобудівній промисловості для приводу великих вентиляторів і компресорів, могутніх металоріжучих станків, важких конвеєрних ліній; у вугільній промисловості для приводу шахтних підіймальних машин, великих насосів, компресорів, вентиляторів і інших установок; в металургійній промисловості для приводу прокатних станів.

Машини постійного струму по своїй конструкції є найбільш складними електричними машинами. Це пояснюється наявністю колектора, щіткового вузла, якірної обмотки, а також складними процесами комутації, що вимагають після монтажу машин спеціальної наладки. Для експлуатації машин постійного струму потрібний досвідчений персонал.

Електрифікація народного господарства України розвивається по шляху розробки і впровадження електроустановок з використанням сучасних високоефективних електричних машин і апаратів, ліній електропередачі, різноманітного електротехнологічного обладнання, коштів автоматики і телемеханіки.

Безпечна і безаварійна експлуатація систем електропостачання ставить перед працівниками електрогосподарств різносторонні і складні задачі з охорони праці.

Здорові і безпечні умови праці електротехнічного персоналу й працівників, що експлуатують електрифіковані виробничі установки, можуть бути забезпечені виконанням науково обґрунтованих правил і норм як при проектуванні і монтажі, так і при їх експлуатації.

1. ТЕОРЕТИЧНА ЧАСТИНА

1.1 Загальні відомості про електричні машини

Електричні машини широко використовують на електростанціях, транспорті, у промисловості, авіації, системах автоматичного регулювання і керування.

За призначенням електричні машини поділяють на двигуни і генератори.

Двигуни — це машини, які перетворюють електричну енергію в механічну.

Генератори — це машини, які перетворюють механічну енергію в електричну.

Будь-яка електрична машина може працювати у режимі як двигуна, так і генератора.

За видом струму електричні машини поділяють — на машини постійного і машини змінного струму.

За принципом роботи електричні машини змінного струму можуть бути синхронні та асинхронні.

Синхронна машина змінного струму — це машина, в якій частота обертання магнітного поля збігається з частотою обертання ротора.

Асинхронна машина — це машина, в якій частота обертання магнітного поля не збігається з частотою обертання ротора.

Машини постійного струму поділяють на машини з незалежним, паралельним, послідовним та змішаним збудженням.

Асинхронні двигуни становлять більш ніж 95% усіх електродвигунів, які використовують у народному господарстві. За конструкцією ротора їх поділяють на двигуни з короткозамкненим ротором і двигуни з фазним ротором.

Синхронні двигуни поділяють на двигуни з явно вираженими і неявно вираженими полюсами.

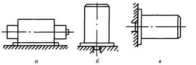
За формою виконання електричні двигуни можуть бути дев'яти груп. Найбільш поширені наступні двигуни:

· на лапах з підшипниковими щитами та горизонтальним валом (рис. 1, а);

· на лапах з підшипниковими щитами, фланцем на підшипниковому щиті, вертикальним валом (рис. 1, б);

· без лап з підшипниковими щитами та фланцем на підшипниковому щиті (рис. 1, в).

За рівнем захисту від контакту зі струмопровідними частинами, потрапляння сторонніх тіл, пилу і вологи електричні машини бувають такої модифікації:

Рис. 1 Форми виконання електричних двигунів

1.   відкриті (1 Р00) — електродвигун не захищений від випадкового дотикання до обертових і струмопровідних частин і від потрапляння середину сторонніх предметів (встановлюють у приміщенні);

2.   закриті (1 Р44) — електродвигун не має сполучення внутрішньої частини і навколишнього середовища (встановлюють у запорошених приміщеннях і на відкритому повітрі);

3.   захищені (1 Р23) — електродвигун має пристрій для захисту від потрапляння всередину сторонніх предметів (встановлюють у закритому приміщенні);

4.   краплезахищені (1 Р31) — електродвигун має пристрій для захисту від вертикально падаючих крапель;

5.   бризкозахищені (1 Р34) — електродвигун має пристрій для захисту від потрапляння всередину його крапель, які падають під повним кутом до вертикалі;

6.   водозахишені (1 Р55) — електродвигун виконано так, що при обливанні водою вода всередину не потрапляє;

7.   порохозахищені (1 Р55) — електродвигун виконаний так, що порох всередину не потрапляє (встановлюють у запорошених приміщеннях);

8.   герметичні (1 Р68) — електродвигун виконаний так, що виключається можливість сполучення між внутрішнім простором і зовнішнім середовищем при певній різниці тисків ззовні та всередині двигуна;

9.   вибухозахищені — електродвигуни спеціального використання (призначені для роботи у вибухонебезпечному середовищі).

За способом охолодження електричні машини класифікують за такими ознаками:

· з природним охолодженням — це машина, теплота якої передається навколишньому середовищу шляхом конвекції повітря;

· з штучним охолодженням — машина, в якій за допомогою спеціальних пристроїв збільшується швидкість руху повітря;

· з вентиляцією — машина з штучним охолодженням повітря або іншого газу;

· з самовентиляцією — вентилююча електрична машина, в якій обертові частини зв'язані з вентилюючим пристроєм;

· з незалежною вентиляцією — вентилююча електрична частина, з вентилюючим пристроєм, обертові частини якого не зв'язані з обертовими частинами машини;

· продуваюча — це вентилююча електрична машина, в якій охолоджене повітря (газ) проходить через внутрішній простір машини;

· з водневим охолодженням — машина із замкненою системою вентиляції, охолоджується воднем.

За номінальними режимами роботи електричних двигунів виділяють три основні режими (рис. 2): тривалий, короткочасний і повторно-короткочасний (існує вісім номінальних режимів).

Рис. 2 Режим роботи електричних двигунів:

а - тривалий; б - короткочасний; в - повторно-короткочасний

Тривалий режим (S1) — електричний двигун працює при постійному навантаженні Рн. При цьому за час роботи температура всіх частин двигуна досягає встановленого значення.

Короткочасний режим (S2) — періоди незмінного номінального навантаження чергуються з періодами вимкнення двигуна. За час роботи під навантаженням двигуни не встигають нагріватися до встановленої температури, а за час зупинки — охолоджуватися до температури навколишнього середовища (рис. 2, б). Розрізняють двигуни з тривалістю вмикання 10; 30; 60; 90 хв.

Передбачені такі номінальні повторно-короткочасні режими: 15; 25; 40 і 60%.

1.2 Єдина серія трифазних асинхронних двигунів 4А

Електричні машини поділяються на мікромашини, машини малої потужності, машини середньої потужності та машини великої потужності. Зараз немає чіткого поділу електричних машин за потужністю. Умовно можна прийняти: мікромашини — до 500 Вт; машини малої потужності — від 0,5 до 10 кВт; машини середньої потужності — від 10 до 200 кВт; машини великої потужності — від 200 кВт і більше.

Електричні двигуни, що використовують у народному господарстві, випускають серіями, які є рядом електричних машин зростаючої потужності, однотипної конструкції і відповідають спільному комплексу вимог. У країні є серії для трифазних двигунів змінного струну (4 А) і постійного струму (2П) .

Єдина серія 4А охоплює потужності 0,05...400 кВт. В основі поділу двигунів за типорозмірами (всього 17) лежить конструктивний параметр — висота осі обертання 50...355 мм.

Двигуни кожного типорозміру виготовляють з довжиною пакета осердя S (короткою), М (проміжною), L (найдовшою) .

Двигуни з синхронною частотою обертання 1500 і 3000 об/хв виконують усіх типорозмірів, а з частотою 1000, 750, 600 і 500 об/хв з меншим числом.

Рис. 3. Асинхронний двигун серії 4А:

а — закритий обдувний; б — захищений

За ступенем захисту від навколишнього середовища асинхронні двигуни серії 4А виготовляють закриті обдувні та захищені з внутрішньою самовентиляцією (рис. 3).

Асинхронні двигуни залежно від потужності випускають на напругу 220, 300, 660 В; вони мають шість виводів, які з'єднують у трикутник або зірку. Номінальні напруги двигунів серії 4 А наведені в таблиці 1.

Таблиця 1

Номінальні напруги двигунів

Потужність двигуна, кВт

Номінальна напруга, В

0,06...0,37

220/380

0,05...110

220/380

132…400

380/660


Позначення двигуна серії 4А складається з цифр і букв, які означають наступне: 4 — порядковий номер серії, А — асинхронний, Н — двигун захисного виконання (відсутність букви вказує на закрите виконання двигуна); А (третя буква після номера серії) — щит і станина алюмінієва; X — станина алюмінієва, а щити чавунні; 355 — висота осі обертання; А, В — довжина осердя; 2; 4; 6; 8; 10 і 12 — кількість полюсів; У — кліматичне виконання; 3 — для розміщення на відкритому повітрі; S — корпус найкоротший; L (long) — найдовший; М (middle) — корпус середній.

Наприклад, умовне позначення асинхронного двигуна з короткозамкненим ротором типу 4AP160S6Y3 розшифровується так: двигун четвертої серії, асинхронний, з підвищеним ковзанням (буква Р); висота осі обертання — 160 мм; корпус S — найкоротший (short), шестиполюсний, для помірного клімату — У; третя категорія розміщення. У позначенні двошвидкісних двигунів після розмірів корпуса показують через дріб обидва числа полюсів, наприклад 4А160 S4/243. Тут цифри 4 і 2 означають, що обмотки статора можуть перемикатися так, що в двигуні утворюються чотири або два полюси.

Асинхронні двигуни серії 4А виконують з короткозамкненим, а також з нормальним підвищенням пускових моментів, з підвищеним ковзанням, багатошвидкісні на дві, три, чотири частоти обертання.

2. МЕХАНІЧНА ЧАСТИНА

2.1 Технічне обслуговування електродвигунів змінного струму

Згідно з системою планово-запобіжного ремонту і технічного обслуговування електрообладнання технічна експлуатація електродвигунів передбачає:

а)   виробниче технічне обслуговування;

б) міжремонтне технічне обслуговування;

в)   поточний ремонт, який виконує за графіками ремонтний персонал, щоб забезпечити безперебійну роботу електродвигунів і попередити їх передчасне спрацювання.

Крім цього, у процесі експлуатації електродвигунів необхідно: вимірювати опір ізоляції, контролювати їх навантаження, змінювати масло, стежити за правильним вибором і роботою захисних апаратів, дотримуватись правил пуску і зупинки та своєчасно усувати несправності.

Контроль за станом ізоляції є дуже важливим при експлуатації електрообладнання. Опір ізоляції електродвигунів вимірюють перед пуском після тривалої зупинки (більше ніж 30 діб) і під час проведення поточного ремонту. В електродвигунах напругою до 1000 В опір ізоляції вимірюють мегомметром на напругу 500...1000 В.

Перед вимірюванням опору ізоляції обмоток необхідно електропроводку від'єднати від статора. При вимірюванні опору ізоляції обмоток відносно корпуса обмотки залишають з'єднаними в зірку чи трикутник, як це було в процесі експлуатації електродвигуна.

Щоб виміряти опір ізоляції обмоток між фазами, з'єднання на зірку або трикутник роз'єднують. В електродвигунів, місця з'єднання обмоток яких не виведені назовні, опір ізоляції обмоток між фазами не вимірюють.

Згідно з правилами технічної експлуатації, опір ізоляції електродвигунів напругою до 1000 В не нормується, але вважають достатнім опір ізоляції обмотки статора не менше ніж 0,5 МОм при робочій температурі двигуна (60…125 °С).

Якщо опір ізоляції виявиться меншим за 0,5 МОм, необхідно виявити, чи не зволожилась вона. У разі необхідності ізоляцію сушать.

У тих випадках, коли обслуговуючий персонал повинен регулювати завантаження робочої машини, навантаження двигунів контролюють за амперметром у колі статора. Найповніше уявлення про завантаження електродвигуна можна одержати за значенням коефіцієнта завантаження, який визначають так:

Кз = І / Іном,

де І, Іном — відповідно споживаний та номінальний струм електродвигуна.

Електродвигуни серії 4А випускають з шариковими та роликовими підшипниками кочення. У нормальних умовах експлуатації масло в цих підшипниках потрібно замінювати через 12000 год. роботи, але не рідше одного разу на рік.

Перед заповненням підшипників свіжим маслом їх промивають бензином з додаванням 5-8% об'єму мінерального масла. Промитий підшипник витирають чистими ганчірками і ретельно оглядають.

При заповненні підшипникових камер 50% масла необхідно закладати безпосередньо в підшипники, а решту — в кришки підшипника. Зайве масло в підшипники закладати недопустимо, оскільки це може зумовити їх перегрівання та викидання в лобові частини обмотки двигуна. Нагрівання підшипника понад 80°С є небезпечним. Причина такого нагрівання — погана якість масла.

Нормальна робота електричної машини постійного струму залежить від стану колектора, контактних кілець і щіток.

Колектор і кільця раз у зміну протирають сухою чистою ганчіркою. Якщо на колекторі та кільцях з'явилися нагар і подряпини, їх шліфують скляним абразивним папером, закріпленим на дерев'яному бруску.

Коли на поверхні колектора з'являються виступи ізоляції, то їх потрібно усунути фрезеруванням або випилюванням. Оброблений колектор шліфують, полірують до появи блиску і продувають стисненим повітрям. Щітки у щіткотримачах повинні переміщуватися вільно, мати однакове зусилля натиску, що забезпечує їм рівномірне зношування. Сильно притиснені щітки зношуються швидше. Силу тиску щіток вимірюють динамометром. Зношені щітки необхідно своєчасно замінити. Замінюють щітки також при зменшенні їх висоти або площі контактної поверхні менше ніж 2/3 геометричної площі контакту.

Рис. 4. Розміщення щіток на колекторі:

1-щітки;2-колектор

Щітки встановлюють так, щоб краї були паралельні до колекторних пластин (рис. 4). Розміщення щіток і по колу колектора 2 має бути рівномірним.

2.2 Основні неполадки електродвигунів та способи їх усунення

Усі неполадки електродвигунів, що перешкоджають пуску або нормальній їх роботі, можуть виникати з механічних та електричних причин.

До механічних причин належать: заклинювання або перевантаження робочої машини, зачіплювання ротора за статор, перекіс підшипникових щитів при складанні двигуна, пошкодження підшипників та вібрація.

У разі таких неполадок електродвигун при пуску не обертається або обертається важко зі зменшеною швидкістю. Для того, щоб упевнитись, що двигун справний, а його пуску перешкоджають поломка або перевантаження робочої машини, необхідно відокремити двигун від машини і пустити його без навантаження. Якщо двигун вільно обертається з номінальною частотою, то неполадки потрібно шукати в робочій машині.

Якщо робоча машина справна, а двигун не запускається, то насамперед необхідно перевірити правильність встановлення підшипникових щитів електродвигуна і в разі їх перекосу ударами молотка через дерев'яну прокладку встановити щити на місце і підтягнути їх кріпильні гвинти.

Ознакою того, що двигун не запускається з механічних причин, є однаковий струм в усіх трьох фазах статора.

Вібрація електродвигуна зумовлює порушення різних з'єднань, перегрівання підшипників, пошкодження ізоляції обмоток і навіть вихід двигуна з ладу. Розрізняють внутрішні та зовнішні причини вібрації електродвигуна. До внутрішніх причин належать: неврівноваженість обертових частин, несправність підшипників кочення, скривлення шийок вала, послаблення посадки шківа або напівмуфти на валу. Для усунення внутрішніх причин вібрації двигун необхідно відправити для поточного ремонту.

Зовнішніми причинами вібрації є: неправильне зшивання приводного паса, неточне центрування валів двигуна і робочої машини, спрацювання пальців муфти, ослаблення гвинтів кріплення двигуна до фундаменту або робочої машини та недостатня короткість рами або плити, на якій встановлений двигун.

До основних електричних причин належать: обрив однієї фази живильної мережі або перегоряння плавкої вставки запобіжника, обрив фази в обмотці статора двигуна, неправильне з'єднання початків і кінців обмотки статора (перевернута фаза) та зниження напруги мережі живлення. У всіх цих випадках електродвигун при пуску під навантаженням не обертається, гуде або обертається уповільнено і швидко нагрівається.

Щоб виявити причину неполадок, необхідно за допомогою вольтметра, контрольної лампочки або мегомметра перевірити цілість запобіжників, електропроводки і обмотки статора.

Виводи обмотки статора електродвигуна необхідно з'єднувати згідно зі схемою, зображеною на щитку, і напругою в мережі відповідно до маркування. Для з'єднання у зірку кінці обмотки С4, С5, С6 з'єднують разом, а живлення підводять до початків фаз С1, С2, С3 чи навпаки. Для з'єднань обмотки трикутником кінець першої фази С1 з'єднують з початком другої С2, кінець другої С5 — з початком третьої С3, а кінець третьої С6 — з початком першої С1. З'єднання підводять до з'єднаних виводів обмотки. З'єднання обмоток трикутником буде також правильним, якщо воно виконане шляхом з'єднання виводів С1, С2, С3 відповідно до С5, С6,С4.

Спад напруги в мережі може бути наслідком її перевантаження та недостатньої напруги, яка подається на підстанцію, що живить даний електродвигун. Для перевірки напруги необхідно увімкнути двигун у мережу і виміряти вольтметром напругу на його затискачах.

У процесі роботи в двигуні можуть виникнути підвищене нагрівання або сторонні шуми.

Тривала допустима температура нагрівання обмоток електродвигуна залежить від класу теплостійкості матеріалу ізоляції.

Розрізняють рівномірне сильне нагрівання електродвигуна і перегрівання окремих його частин. Причинами рівномірного сильного нагрівання двигуна можуть бути перевантаження, зміна напруги, погіршення охолодження. Для виявлення цих причин необхідно виміряти струм, який споживає електродвигун, і порівняти його значення з номінальним, виміряти напругу на затискачах двигуна та перевірити справність вентилятора.

Місцеві перегрівання обмотки статора можуть бути зумовлені замиканням між витками котушки в одній фазі або між фазами, а також замикання обмотки на корпус. У цих випадках двигун гуде, частота обертання зменшується, сила струму у фазах неоднакова. Двигун необхідно відправити на капітальний ремонт.

Перегрівання окремих частин електродвигуна може бути наслідком сильного нагрівання контактів у місцях приєднання затискачів двигуна до мережі або нагрівання підшипників. Значне нагрівання іноді пояснюється слабким затягуванням гайок гвинтів. Для усунення цієї несправності необхідно вимкнути двигун, розібрати контакти і зачистити напилком або шкуркою контактні поверхні, потім скласти контакти і міцно затягнути гайки контактних гвинтів. Перегрівання підшипників може бути зумовлене забрудненням пилом, металевою стружкою, надлишком масла, спрацюванням, неправильним встановленням підшипників.

Для виявлення й усунення причин перегрівання підшипників необхідно вимкнути електродвигун і перевірити стан підшипників, знявши їх верхні кришки.

Надмірне спрацювання підшипників призводить до осідання ротора, що може стати причиною зачіплювання ротора за статор і виходу двигуна з ладу. Ненормальний шум у двигуні може виникнути з наступних причин: короткого замикання в обмотках статора; неправильного з'єднання обмоток при вмиканні в мережу; вібрації двигуна; несправності підшипників.

При цьому двигун необхідно вимкнути та перевірити його технічний стан з метою виявлення й усунення причин шуму.


Перед пуском сушінню піддають усі нові машини, а також ті, які тривалий час не експлуатувались.

Машини потужністю до 50 кВт і напругою до 500 В, які не могли відсиріти, можуть бути пущені в роботу без сушіння, якщо опір їх ізоляції відповідає вимогам, наведеним в таблиці 2, 3.

Таблиця 2

Найменші допустимі значення опору ізоляції електричних машин

Назва машин та їх частин

Найменший допустимий опір ізоляції, МОм

Статори машин змінного струму напругою

до 500 В

2, 3 і 6 кВ



1

1



0,5

0,3

Статори синхронних генераторів з кабелями

15...20

1

Ротори:

асинхронних машин

синхронних машин

синхронних генераторів


0,5

0,5

1...2


0,5

0,15

0,5


Після закінчення сушіння, а також при зупинках під час експлуатації не допускається охолодження машин нижче температури 3...4°С. Температуру великих машин підтримують у фундаментних ямах.

Таблиця 3

Сушіння електричних машин

Машини

Час для досягнення температури

Тривалість сушіння, год

50°С, год.

70°С, год.

після досягнення встановленого опору ізоляції

загальна

1

2

3

4

5

1

2

3

4

5

Малі і середні

2...3

6...7

3...5

10...20

Великі відкритого типу

10...15

15...25

5...10

40...60

Середньої потужності і турбогенератори потужністю до 12000 кВт

20...30

30...50

10

70...100

Великі закритого типу і турбогенератори до 24000 кВт

20...30

30...50

10...15

70... 100

Турбо і гідрогенератори потужністю понад 24000 кВт

20...30

30...50

15...20



2.4 Підготовка електричних машин до пуску

Перед першим запуском електричної машини слід:

1.   прибрати машинне приміщення і фундаментну яму від сміття, пилу та будь-якого бруду;

2.   старанно перевірити наявність у машині сторонніх предметів — продути машину стисненим повітрям під тиском, що не перебільшує 200 кПа (повітря має бути сухе і чисте);

3.   прочистити і промити гасом підшипники і заповнити їх маслом високої якості;

4.   перевірити рівномірність зазору в машині;

5.   перевірити ротор від руки, його вільне обертання і наявність розбігання;

6.   перевірити всі механічні кріплення (фундаментні, підшипникові та контактні болти та ін.);

7.   перевірити опір ізоляції машини;

8.   перевірити правильність приєднання виводів машини до мережі та надійність заземлення її корпусу;

9.   перевірити дію захисту і сигнальної апаратури;

10. запустити машину на холостий хід, перевірити роботу її електричної і механічної частини, обертання кілець, подачу масла, правильність напряму обертання, а також роботу вентиляційних пристроїв.

Якщо машина постійного струму, то слід також:

1.   перевірити встановлення щіток на нейтралі колектора;

2.   перевірити повне прилягання щіток до колектора, рівномірність розміщення по колу колектора, а також однаковість зусиль натискування;

3.   прочистити канавки між пластинами колектора.

2.5 Випробування електричних машин

Після складання і зовнішнього огляду електричну машину випробовують. Випробовування проводять для перевірки якості ремонту та монтажу і своєчасного виявлення дефектів, які неможливо було виявити при огляді машини. Обсяг випробовувань залежить від можливостей ремонтної служби, місця проведення ремонту та потужності електричної машини.

При випробовуванні вимірюють опір ізоляції обмоток відносно корпуса і між собою, омічний опір обмоток, електричну міцність ізоляції. Перевіряють обмотку на відсутність виткових замикань. У машин постійного струму перевіряють стан комутації при нормальному та короткочасному перевантаженні. Іскріння на колекторі під краєм щітки оцінюють за шкалою, показаною в технічних вимогах на машину. При номінальному режимі роботи ступінь іскріння повинен бути не вище 1,5. Стан колектора і щіток перевіряють по досягненні сталої температури машини, але не раніше ніж через 2 год. після початку роботи.

3. ТЕХНІКА БЕЗПЕКИ

3.1 Техніка безпеки під час монтажу електричних машин

Приміщення, в якому відбувається монтаж електричних машин, звільняють від будівельного сміття і забезпечують достатню освітленість. Усі ніші в перекриттях, канали в підлогах на час монтажу забивають тимчасовими щитами.

У машинних приміщеннях чітко визначають межі монтажних майданчиків, розрахованих на вагу машин, які тут монтуватимуться. Усі піднімальні пристрої повинні мати відповідний паспорт.

При користуванні електрифікованим інструментом, зварювальними трансформаторами і машинами необхідно забезпечити надійне заземлення їх частин, які можуть виявитися під небезпечною напругою. Місця для зварювання слід огороджувати металевими щитами.

Роботи організовують так, щоб запобігти одночасному їх виконанню на різних висотах. Крім загальних заходів, що забезпечують безпеку обслуговуючого персоналу при виконанні робіт, слід дотримуватися таких заходів безпеки: не залишати піднятими вантажі, конструкції, обладнання; не переміщувати, піднімати і встановлювати щити, блоки, магнітні станції без вживання заходів, які б запобігли їх перевертанню; не прикріпляти стропи, троси і канати за ізолятори, контактні деталі або отвори в лапах; уважно стежити за сигналами, що подаються.

При допуску до роботи в діючих електротехнічних пристроях до і вище 1000 В і роботі на висоті кожний монтажник проходить медичний огляд та перевірку знань правил техніки безпеки та технічної експлуатації електроустановок у відповідній комісії, про що йому видається посвідчення з певною групою допуску. Він повинен не тільки знати, але й практично засвоїти методи надання першої допомоги при нещасних випадках, пов'язаних з ураженням електричним струмом.

Робоче місце має бути огороджене і достатньо освітлене, а в місцях, де є небезпека попадання під напругу, повинні висіти плакати «Стій, небезпечно для життя», «Під напругою, не торкатись», «Працювати тут» і т.д. На робоче місце категорично забороняється допускати сторонніх осіб.

При виконанні налагоджувальних робіт під напругою, керівник групи оформляє допуск до роботи і перевіряє наявність умов, що створюють безпечність проведення робіт.

3.2 Техніка безпеки при експлуатації електропривода

Перед тим, як розпочати будь-яку роботу з обслуговування електропривода, перевіряють стан захисного заземлення. У тому випадку, коли роботу дозволено виконувати лише при знятій напрузі, наявність її на електроприводі перевіряють за допомогою показника напруги.

При огляді елементів працюючого електропривода не слід наближатися до струмопровідних частин електроустановки. Потрібно пам'ятати, що небезпека, зумовлена порушенням правил техніки безпеки, при обслуговуванні електроприводів зростає в цехах, які належать до категорії з «підвищеною небезпекою» і «особливо небезпечні».

Без зняття напруги з електроустановки, але з дотримуванням заходів безпеки при експлуатації, можна виконувати чищення і обтирання корпусів електрообладнання, доливання масла в підшипники електродвигунів, заміну запобіжників.

Ремонтні роботи в електродвигунах, а також заміну плавких вставок відкритого типу, дозволяється виконувати одній особі після попереднього відімкнення двигуна чи апарата від джерела живлення не менше як у двох місцях вимикачем, зі зняттям запобіжників. Щоб запобігти помилковій подачі напруги, персонал, що виконав відімкнення, повинен вивісити попереджувальний плакат "Не вмикати — працюють люди!" на ручках відімкнених апаратів, за допомогою яких може бути подано напругу. По закінченні робіт плакати знімають. В інших випадках ремонтні роботи слід виконувати двома способами.

Ручне керування пусковими пристроями, що мають відкриті стру-мопровідні частини, виконують у діелектричних рукавицях. У сирих приміщеннях перед пусковими пристроями кладуть ізолюючі підкладки.

Проведення роботи в колі реостата під час обертання електродвигуна, можливе тільки при піднятих щітках або повністю виведеному реостаті. Цю роботу виконують у діелектричних рукавицях або інструментом з ізольованою ручкою, стоячи на гумовому килимку.

Якщо електродвигун тривалий час працює з підвищеною вібрацією, що шкідливо для здоров'я обслуговуючого персоналу, то цей недолік слід усунути.

Залежно від призначення і застосування попереджувальні плакати ділять на застережливі, заборонні, дозволяючі, нагадуючі, постійні й переносні. Для установок напругою до 1000 В застосовують плакати: застережливі — «Під напругою! Небезпечно для життя!», «Стій! Небезпечно для життя!»; заборонні — «Не вмикати працюють люди!», «Не вмикати — робота на лінії!»; нагадуючі — «Заземлення!».

СПИСОК ЛІТЕРАТУРИ

1. А.А. Осьмаков. Технология и оборудование производства электрических машин. «Высшая школа», 1971.

2. А.И. Вольдек. Электрические машины. «Энергия», 1974.

3. А.И. Важнов. Электрические машины. «Энергия», 1969.

4.   Атабеков В.Б. Монтаж електричних мереж і силового електроустаткування: Підруч. / Пер. з рос. Т.А. Сиротинко. – Вища шк.; 1995.

5.   Атабеков В.Б. Ремонт электрооборудования промышленных предприятий.— М.: Высшая школа, 1985.

6. В.И. Зимин [и др.]. Обмотки электрические машины. ГЭИ, 1961.

7.   Вернер В.В. Электромонтер-ремонтник: Учеб. для профессион. обучения рабочих на производстве. – 7-е изд., перераб. и доп. – М.: Высш. шк., 1987.

8. Воронина А.А., Шибенко Н.Ф. Безопасность труда в электроустановках: Учеб. пособ. для сред. ПТУ. – 4-е изд., перераб. и доп. – М.: Высш. шк., 1984. – 192 с.: ил. – (Профессионально-техническое образование).

9. Г.Н. Петров. Электрические машины. Ч. І, 1974, ч. ІІІ, «Энергия», 1968.

10.   Д.А. Завалишин [и др.]. Электрические машины малой мощности. ГЭИ, 1963.

11.   Д.Э. Брускин, А.Е. Зорохович, В.С. Хвостов. Электрические машины и микромашины. «Высшая школа», 1971.

12.   Каминский М. Л. и Получанкин В. Т. Монтаж электрических машин. Учебное пособие для рабочих-электромонтажников. М., «Энергия», 1974.

13.   Кацман М.М. Электрические машины и трансформаторы. Машины постоянного тока и трансформаторы. Учебник для техникумов. Изд. 4-е, доп. и перераб. М., «Высш. школа», 1976.

14.   Корнилов Ю.В., Бредихин А.Н. Слесарь-электромонтажник: Учеб. пособ. для СПТУ. 2-е изд., перераб. и доп. – М.: Высш. шк., 1988. – 256 с.: ил.

15.   М.П. Костенко, Л.М. Пиотровский. Электрические машины. Ч. І. «Энергия», 1973.

16.   П.С. Сергеев, Н.В. Виноградов, Ф.А. Горяипов. Проектирование электрических машин. «Энергия», 1969.

17.   П.С. Сергеев. Электрические машины. ГЭИ, 1955.

18. Перельмутер Н.М. Электромонтер обмотчик и изолировщик по ремонту электрических машин и трансформаторов.— М.: Высшая школа, 1984.

19. Принц М.В., Цимбалістий В.М. Освітлювальне і силове електроустаткування. Монтаж і обслуговування. — Львів: Оріяна-Нова, 2005.

20.   Токарев Б. Ф. Электрические машины. Учебник для техникумов.- М.: Энергоатомиздат, 1989.-672 с.: ил.

21. Электротехнический справочник. Т. І, «Энергия», 1971.

Похожие работы на - Технічне обслуговування та ремонт двигунів змінного струму

 

Не нашли материал для своей работы?
Поможем написать уникальную работу
Без плагиата!
Без нейросетей!