Индивидуальное задание по изучению оборудования и процессов теплоэнергетических установок

  • Вид работы:
    Реферат
  • Предмет:
    Физика
  • Язык:
    Русский
    ,
    Формат файла:
    MS Word
    1,96 Mb
  • Опубликовано:
    2010-12-02
Вы можете узнать стоимость помощи в написании студенческой работы.
Помощь в написании работы, которую точно примут!

Индивидуальное задание по изучению оборудования и процессов теплоэнергетических установок














Индивидуально задание по изучению оборудования и процессов теплоэнэргетических установок

1. Изучение принципа работы парового котла ТЭЦ. Определение КПД котлоагрегата

Паровой котёл — установка, предназначенная для генерации насыщенного или перегретого пара, а также для подогрева воды, путём выделения теплоты, полученной при сжигании топлива и перехода его химической энергии в тепловую.

Котел паровой- сосуд давления, в котором нагревается вода, превращающаяся в пар. Тепловая энергия, подводимая к паровому котлу, может представлять собой тепло от сгорания топлива, электрическую, ядерную, солнечную или геотермальную энергию. Поскольку котел дает только насыщенный пар, его следует отличать от парогенератора, в состав которого в качестве неотъемлемых и необходимых агрегатов могут входить пароперегреватели, экономайзеры и воздухоподогреватели. Котлы применяются как источники пара для отопления зданий и питания технологического оборудования в промышленности, а также машин и турбин, приводящих в действие электрогенераторы. Самые малые паровые котлы бытового назначения дают ок. 20 кг пара в час при давлениях порядка атмосферного. В то же время котлы крупнейших электростанций производят до 4500 т пара в час при давлениях до 28 МПа. Такие давления называются сверхкритическими, поскольку они превышают критическое давление воды (22,1 МПа), при котором вода превращается в пар. Большой паровой котел такого типа может, потребляя несколько сот тонн пылевидного угля в час, производить столько пара при 550° C, сколько необходимо для выработки 1300 МВт электроэнергии. На рис. 1-3 представлены схемы (с указанием основных агрегатов) одного газотрубного и двух водотрубных котлов. Во всех этих котлах имеется топочная камера, в которой сжигается топливо. Горячие газообразные продукты горения уходят из зоны горения и на своем пути омывают поверхности парообразующих (кипятильных) труб, расположенных в газовом тракте. Проходя по шахте котла, эти газы охлаждаются от максимальной температуры в топочной камере до самой низкой в дымоходе. Тепло, отдаваемое газами, поглощается водой, которая нагревается и испаряется. Процесс испарения вызывает естественную циркуляцию (принудительная циркуляция создается механическими средствами - насосами).

ТИПЫ ПАРОВЫХ КОТЛОВ

Существуют два основных типа паровых котлов: газотрубные и водотрубные. Все котлы (жаротрубные, дымогарные и дымогарно-жаротрубные), в которых высокотемпературные газы проходят внутри жаровых и дымогарных труб, отдавая тепло воде, окружающей трубы, называются газотрубными. В водотрубных котлах по трубам протекает нагреваемая вода, а топочные газы омывают трубы снаружи. Газотрубные котлы опираются на боковые стенки топки, тогда как водотрубные обычно крепятся к каркасу котла или здания.

ГАЗОТРУБНЫЕ КОТЛЫ

В современной теплоэнергетике применение газотрубных котлов ограничивается тепловой мощностью ок. 360 кВт и рабочим давлением около 1 МПа. Дело в том, что при проектировании сосуда высокого давления, каким является котел, толщина стенки определяется заданными значениями диаметра, рабочего давления и температуры. При превышении же указанных предельных параметров требуемая толщина стенки оказывается неприемлемо большой. Кроме того, необходимо учитывать требования безопасности, так как взрыв крупного парового котла, сопровождающийся мгновенным выбросом больших объемов пара, может привести к катастрофе. При современном уровне техники и существующих требованиях к безопасности газотрубные котлы можно считать устаревшими, хотя пока еще находятся в эксплуатации многие тысячи таких котлов тепловой мощностью до 700 кВт, обслуживающих промышленные предприятия и жилые здания (рис. 1).

Рис. 1. ГОРИЗОНТАЛЬНЫЙ ОБОРОТНЫЙ ДЫМОГАРНЫЙ ГАЗОТРУБНЫЙ ПАРОВОЙ КОТЕЛ. 1 - подвод топлива и воздуха; 2 - топочная камера; 3 - дымогарные трубы прямого прохода; 4 - дымогарные трубы обратного прохода; 5 - задняя трубная решетка; 6 - вход воды; 7 - выход пара; 8 - сепаратор пара; 9 - барабан; 10 - пар; 11 - вода; 12 - водомерное стекло; 13 - дымоход к дымовой трубе; 14 - дымовой короб; 15 - слив.

ВОДОТРУБНЫЕ КОТЛЫ

Водотрубный котел был разработан в связи с непрерывно растущими требованиями повышения паропроизводительности и давления пара. Дело в том, что, когда пар и вода повышенного давления находятся в трубе не очень большого диаметра, требования к толщине стенки оказываются умеренными и легко выполнимыми. Водотрубные паровые котлы по конструкции значительно сложнее газотрубных. Однако они быстро разогреваются, практически безопасны в отношении взрыва, легко регулируются в соответствии с изменениями нагрузки, просты в транспортировке, легко перестраиваемы в проектных решениях и допускают значительную перегрузку. Недостатком водотрубного котла является то, что в его конструкции много агрегатов и узлов, соединения которых не должны допускать протечек при высоких давлениях и температурах.

Кроме того, к агрегатам такого котла, работающим под давлением, затруднен доступ при ремонте. Водотрубный котел состоит из пучков труб, присоединенных своими концами к барабану (или барабанам) умеренного диаметра, причем вся система монтируется над топочной камерой и заключается в наружный кожух. Направляющие перегородки заставляют топочные газы несколько раз проходить через трубные пучки, благодаря чему обеспечивается более полная теплоотдача. Барабаны (разной конструкции) служат резервуарами воды и пара; их диаметр выбирается минимальным во избежание трудностей, характерных для газотрубных котлов (см. выше). Водотрубные котлы бывают следующих типов: горизонтальные с продольным или поперечным барабаном, вертикальные с одним или несколькими паровыми барабанами, радиационные, вертикальные с вертикальным или поперечным барабаном и комбинации перечисленных вариантов, в некоторых случаях с принудительной циркуляцией.

Топочные экраны. В топках водотрубных котлов часто предусматривают радиационные экраны, которые позволяют повысить тепловыделение в топке при меньшей тепловой нагрузке на ее стенки, благодаря чему снижаются затраты времени на техническое обслуживание и повышается КПД, а кроме того, существенно снижаются требования к теплоизоляции стенок. Экраны выполняют в виде частых труб, по которым проходит котловая вода; образующийся в них пар отводится в паровой барабан. Такими экранами обычно защищают (полностью или частично) стены котельной установки. Трубы могут быть гладкими, с проставкой, плавниковыми, ошипованными, с огнеупорной обмазкой.

Горизонтальный водотрубный котел. Для паровых котлов такого типа характерно наличие коллекторов, соединяющихся с навесным барабаном, который может быть расположен либо вдоль топочной камеры, как показано на рис. 2 (продольный барабан), либо поперек (поперечный барабан).

Рис. 2. ПРОДОЛЬНЫЙ ГОРИЗОНТАЛЬНЫЙ ВОДОТРУБНЫЙ ПАРОВОЙ КОТЕЛ. 1 - подвод топлива и воздуха; 2 - огнеупорная топочная камера; 3 - водяные трубы; 4 - передний коллектор (пароводяная смесь); 5 - первый проход; 6 - второй проход; 7 - третий проход; 8 - направляющие перегородки; 9 - дымовой короб; 10 - дымоход к дымовой трубе; 11 - задний коллектор (вода); 12 - слив; 13 - вход воды; 14 - выход пара; 15 - сепаратор пара; 16 - барабан; 17 - водомерное стекло; 18 - пар; 19 - пароводяная смесь.

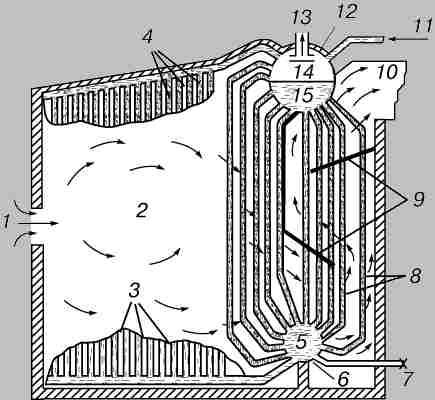
Вертикальный водотрубный котел. В вертикальном паровом котле имеются два или несколько барабанов, установленных на разной высоте, причем зеркало воды находится в самом верхнем из них (рис. 3). Трубы присоединяются непосредственно к барабану. Вблизи места присоединения они изгибаются так, что образуют ряд пучков. Поток горячих газов перегородками направляется поперек труб. Такая конструкция позволяет легко изменять геометрию поверхности нагрева.

Рис. 3. ДВУХБАРАБАННЫЙ ВЕРТИКАЛЬНЫЙ ВОДОТРУБНЫЙ ПАРОВОЙ КОТЕЛ С ЭКРАНИРОВАННОЙ ТОПКОЙ. 1 - подвод топлива и воздуха; 2 - экранированная (радиационная) топочная камера; 3 - огнеупорная обмазка или металлическая обшивка труб экрана; 4 - трубы экрана; 5 - вода; 6 - цилиндрический водяной барабан; 7 - слив; 8 - вертикальные водяные трубы; 9 - направляющие перегородки; 10 - дымоход к дымовой трубе; 11 - вход воды; 12 - цилиндрический паровой барабан; 13 - выход пара; 14 - пар; 15 - кипящая вода.

Прямоточные котлы. Прямоточные паровые котлы могут работать как в докритическом, так и в сверхкритическом режиме. В трубы котла насосом подается питательная вода, и она за один проход набирает достаточно тепла, чтобы превратиться в пар высокого давления. Теплообмен осуществляется в основном в многочисленных параллельно включенных экранных панелях, окружающих топочную камеру. Прямоточные котлы применяются главным образом на крупных электростанциях, работающих на ископаемом топливе. Благодаря своему широкому диапазону рабочих условий они отличаются простотой пуска и перехода с режима на режим.

СЕКЦИОНИРОВАННЫЕ ЧУГУННЫЕ КОТЛЫ

Широко распространенный секционированный чугунный отопительный котел рассчитан на максимальное избыточное давление ок. 100 кПа. Он состоит из отдельных чугунных секций, собираемых вместе подобно радиаторам центрального отопления. В крупных паровых котлах такого типа пар из каждой секции поступает в продольный верхний коллектор, а конденсат возвращается по двум нижним продольным коллекторам, расположенным по разные стороны секций. Основное достоинство такого котла состоит в легкости его демонтажа на небольшие блоки. Кроме того, при необходимости его легко наращивать. Однако в случае слишком быстрого разогрева при холодном пуске такой котел может дать трещину; для ремонта же, скажем, средней секции необходима полная разборка. Секционированные котлы работают с довольно высоким КПД и быстро разогреваются, поскольку внутренние поверхности секций образуют непосредственно топочную камеру. Чугунные секции такого котла не гарантируют безопасной работы при высоких давлениях пара; поэтому его тепловая мощность не превышает примерно 200 кВт, а максимальная производительность составляет ок. 4300 кг пара в час. Для этого требуется тепловыделение топлива КОТЕЛ ПАРОВОЙ12 ГДж/ч, что соответствует сжиганию ок. 300 кг антрацита в час.

СОВРЕМЕННЫЕ БЛОЧНО-ТРАНСПОРТИРУЕМЫЕ КОТЛЫ

Во время Второй мировой войны возник огромный спрос на мощные, компактные модульные парогенераторы, простые в эксплуатации и техническом обслуживании, для использования вооруженными силами на суше и на море. Дальнейшее развитие в этом направлении привело к созданию компактных блочно-транспортируемых автоматизированных агрегатов, полностью оборудованных всей контрольно-измерительной аппаратурой и готовых к пуску сразу же, как только после доставки на место к ним будут подключены вода, электроэнергия, топливоподводы и дымоходы. В настоящее время промышленность выпускает такие модули тепловой мощностью до нескольких тысяч киловатт с рабочим давлением до 9 МПа. Они поставляются полностью собранными на опорной раме или плите из конструкционной стали с равномерным распределением веса и допускают стационарную установку на обычном промышленном полу или на постаменте.

ТОПКА ПАРОВОГО КОТЛА

Топка котла - это один из важнейших агрегатов парогенераторной системы. В топке сжигается топливо, в результате чего выделяется тепло, которое передается через металлические стенки рабочей жидкости и превращает ее в пар.

Конструкция. Современная топка представляет собой клетку из вертикальных труб, присоединенных концами к коллекторным барабанам малого диаметра, включенным в циркуляционную систему котла. С наружной стороны клетка снабжена легкой огнеупорной и теплоизолирующей обшивкой, вес которой несут сами трубы. Промежуток между обшивкой и трубами заполнен кирпичами специальной формовки, которые закрывают задние, т.е. наружные, поверхности труб, но оставляют открытыми их передние поверхности. В результате образуется довольно гладкая конструкция, на которой не задерживаются зола и шлак.

Топливо. Обычное твердое топливо (каменный уголь или дрова) располагается в виде горящего слоя на колосниковой решетке. Воздух пронизывает этот слой через возникающие сами по себе каналы в измельченном топливе. Если уголь коксуется, размягчаясь и частично спекаясь, то приходится время от времени его перемешивать, что способствует образованию новых и устранению слишком широких старых каналов. Так называемое подвижное топливо (угольная пыль, мазут или топливный газ) вводится в топку горелкой, в которой струя топлива смешивается с сильно закрученным потоком воздуха. Например, угольная пыль сначала подхватывается потоком первичного воздуха, которого, вообще говоря, недостаточно для полного сгорания. Горелка придает этому вращающемуся потоку форму узкого конуса. Затем к нему подводится полный поток вторичного воздуха, и конус дополнительно закручивается (рис. 4).

Рис. 4. ВИХРЕВАЯ ГОРЕЛКА для сжигания смеси угольной пыли с воздухом.

Для эффективной работы топки необходима тяга. Под тягой понимается разность давлений, заставляющая воздух и топочные газы проходить через топку и связанные с ней устройства. Поскольку эта разность давлений мала, тягу обычно указывают в миллиметрах водяного столба (1 мм вод. ст. равен 9,8 Па).

Дымовая труба. Самое простое устройство для создания тяги - дымовая труба без какого-либо механического оборудования. Тягу, создаваемую такой дымовой трубой, называют естественной. Эта тяга обусловлена разностью давлений столба нагретого газа, находящегося внутри высокой трубы, и такого же столба более холодного наружного воздуха. Чтобы возникла тяга, нужно вначале создать небольшую разность давлений в нижней части трубы. После этого развивается полная тяга, которая ограничивается только трением газов о стенки. Чем уже труба, тем сильнее эффект трения. Поскольку при температуре ниже 150° C тяга, развиваемая дымовой трубой, едва достаточна для преодоления сил трения в ней, современные электростанции работают исключительно с принудительной тягой, создаваемой ротационными вентиляторами и воздуходувками. Расположенная ниже топки воздуходувка гонит воздух под давлением, необходимым для преодоления сопротивления системы подготовки топлива, воздухоподогревателя и горящего слоя или горелок. Установленный над котлом вытяжной вентилятор, засасывая поток еще не остывших газов, создает разность давлений, необходимую для поддержания быстрого течения газов через котел и все другие теплообменные устройства.

ПАРОПЕРЕГРЕВАТЕЛЬ

Пароперегреватель - это теплообменный аппарат, предназначенный для повышения температуры пара выше нормальной точки кипения. Высокотемпературный перегретый пар позволяет повысить экономичность паровых машин и турбин, так как потребление ими пара снижается примерно на 1% с увеличением перегрева на 5° C. Верхняя граница температуры определяется лишь нагревостойкостью механического оборудования и материалов. Крупные электростанции работают с температурами перегретого пара до 500° C. Пароперегреватель изготавливается из стальных труб, образующих поверхность нагрева для проходящего по ним пара. Насыщенный пар из котла входит в один конец трубы и нагревается до нужной выходной температуры теплом топочных газов, подводимым к ее наружной поверхности. Площадь поверхности нагрева пароперегревателей примерно вдвое меньше площади поверхности нагрева котла при умеренных температурах пара и вдвое больше - при высоких. Хотя пароперегреватель может быть выполнен в виде подключенного к котлу отдельного агрегата с собственной топкой, как правило, пароперегреватели встраивают в систему парогенератора. Встроенные пароперегреватели бывают двух видов: радиационные и конвекционные. Поверхность радиационного пароперегревателя, расположенного так, что он воспринимает лучистую теплоту из зоны горения в топке парогенератора, передает пару в 2-3 раза больше тепла, чем такая же поверхность конвекционного. Конвекционные пароперегреватели размещаются в высокотемпературных зонах газовых проходов котлов.

ПАРОГЕНЕРАТОР

Парогенератором обычно называют котел, снабженный отдельными агрегатами или полным набором такого оборудования, как пароперегреватели, экономайзеры, воздухоподогреватели, промежуточные пароперегреватели, а также вспомогательным оборудованием, необходимым для нормальной работы установки. Современная парогенераторная установка может иметь следующие значения рабочих параметров: паропроизводительность более 4500 т/ч, давление 28 МПа, температура 550° C, КПД 85%.

ЭКСПЛУАТАЦИЯ ПАРОВЫХ КОТЛОВ

Водоподготовка. Вопросы водоподготовки имеют важнейшее значение для эксплуатации современных котлов и парогенераторов. Дело в том, что минеральные соли, содержащиеся в воде, образуют накипь в водяных трубах. По мере ее накопления ухудшается теплопередача от топочных газов к воде в трубах, что может закончиться их прогаром. Таким образом, неправильная подготовка воды может привести не только к снижению КПД, но и к аварии. Характер и степень необходимой химической очистки воды зависят от качества источников воды для питания котла. Для снижения содержания минеральных солей в питательную воду, как правило, добавляют какое-либо химическое вещество, например натриевый цеолит. Из питательной воды необходимо также удалять растворенный в ней кислород, так как он вызывает ржавление труб котла. Важное значение имеет периодическая проверка и очистка труб. Все эти меры по защите котла на стороне воды существенно удорожают очищенную питательную воду по сравнению с обычной водопроводной. Нельзя забывать и о защите котла со стороны факела. Для снижения риска выгорания труб котла их в наиболее уязвимых местах покрывают современными плавленолитыми огнеупорами. Обязательно ведется непрерывный контроль за накоплениями золы на наружных стенках, и ее периодически удаляют. Такой контроль на крупных электростанциях ведется централизованно из диспетчерских с помощью замкнутых телевизионных систем.

Управление. В систему управления парового котла входят устройства для включения и выключения горения топлива, задания и регулирования расходов топлива, воздуха и воды, для сбора и обработки данных обратной связи от турбин и устройств, управляющих производительностью котла. В прошлом многие из этих функций выполнялись вручную. Позднее для реализации некоторых из них были применены электронные схемы, сначала на электровакуумных, а затем на полупроводниковых приборах.


НЕКОТОРЫЕ ПАРОТЕПЛОВЫЕ АППАРАТЫ

Паровой аккумулятор. Паровой аккумулятор - это аппарат, который накапливает и сохраняет тепловую энергию пара, когда ее подвод превышает потребность в ней, и отдает ее позднее, когда в этом появляется необходимость. Он действует подобно маховику в механических системах. Аккумулятор устанавливается между двумя паровыми системами, в одной из которых рабочее давление больше, чем в другой, и накапливает тепло от системы с более высоким давлением, а в периоды пиковой нагрузки отдает его системе с меньшим давлением. Такая схема позволяет системе с более высоким давлением неизменно работать в оптимальном для парового котла режиме постоянного давления и постоянной нагрузки.

Сепаратор пара. Сепаратор пара удаляет жидкую фазу из влажного пара, проходящего по трубе, так что в паропотребляющий аппарат попадает только сухой пар. Влага может содержаться в потоке пара уже при его поступлении в трубу, но даже если подается сухой пар, он частично конденсируется в самой трубе, отдавая ей часть своего тепла. Жидкая фаза в потоке пара нежелательна потому, что она снижает эффективность теплоотдачи в паропотребляющем аппарате. Кроме того, резкое торможение или ускорение конденсата, накопившегося в какой-либо полости линии пара, может приводить к гидравлическому удару, способному вызвать повреждение клапанов и другого оборудования. Две типовые конструкции сепаратора пара схематически представлены на рис. 6.

Рис. 6. СЕПАРАТОРЫ ПАРА, устанавливаемые перед паропотребляющим аппаратом (слева - лабиринтный, справа - центробежный).

Конденсационные горшки. Конденсационные горшки - это автоматические клапаны для слива конденсата (а иногда и для выпуска воздуха) по мере его образования в замкнутых паровых объемах. Такое устройство действует как регулятор: закрываясь, оно предотвращает расходование пара и, открываясь, дает конденсату возможность выйти под давлением пара в конденсатоотводную линию. Конденсационные горшки бывают разных типов: механические (поплавковые), терморелейные и лабиринтные (диафрагменные).

Паровой калориметр. Паровой калориметр предназначен для определения массового паросодержания влажного пара. Массовое паросодержание такой смеси может изменяться от нуля (вода) до 100% (сухой пар). В этих пределах температура при данном давлении может быть одной и той же, так что одновременного измерения только температуры и давления недостаточно для определения паросодержания и других характеристик пара - удельного объема, энтропии и энтальпии. Паровой калориметр же позволяет определять паросодержание смеси, а тем самым и другие указанные характеристики. Это один из важнейших приборов для испытания и эксплуатации паровых машин и другого оборудования, работающего на неперегретом паре.

2. Определение КПД котла

Мгновенный КПД котла – это соотношение полезной мощности, сообщаемой греющему контуру, и мощности, потребляемой котлом (теплопотребление). Мгновенный КПД котла зависит от нескольких параметров: качества горелки, работы теплообменника, качества и чистоты сгорания, управления горелкой и изоляции котла. Современные жидкотопливные и газовые котлы имеют КПД от 92 до 95 %. Конденсационные котлы обеспечивают еще более высокий КПД (от 98 до 105%). Однако мгновенный кпд – не единственный параметр, по которому оценивается производительность котла. Лучший показатель энергопроизводительности котла – это годовая эксплуатационная эффективность, которая учитывает и систему отопления, и систему ГВС.

КПД отопительного котла

Коэффициентом полезного действия отопительного котла называют отношение полезной теплоты, израсходованной на выработку пара (или горячей воды), к располагаемой теплоте отопительного котла. Не вся полезная теплота, выработанная котельным агрегатом, направляется потребителям, часть теплоты расходуется на собственные нужды. С учетом этого различают КПД отопительного котла по выработанной теплоте (КПД-брутто) и по отпущенной теплоте (КПД-нетто).

По разности выработанной и отпущенной теплот определяется расход на собственные нужды. На собственные нужды расходуется не только теплота, но и электрическая энергия (например, на привод дымососа, вентилятора, питательных насосов, механизмов топливоподачи), т.е. расход на собственные нужды включает в себя расход всех видов энергии, затраченных на производство пара или горячей воды.

В итоге КПД-брутто отопительного котла характеризует степень его технического совершенства, а КПД-нетто — коммерческую экономичность. Для котельного агрегата КПД-брутто, %:

по уравнению прямого баланса:

ηбр = 100 Qпол / Qрр

где Qпол — количество полезно используемой теплоты, МДж/кг; Qрр — располагаемая теплота, МДж/кг;

по уравнению обратного баланса:

ηбр = 100 - (qу.г + qх.н + qн.о)

где qу.г, qх.н, qн.о — относительные потери теплоты с уходящими газами, от химической неполноты сгорания топлива, от наружного охлаждения.

Тогда КПД-нетто отопительного котла по уравнению обратного баланса


где qс.н — расход энергии на собственные нужды, %.

Определение КПД по уравнению прямого баланса проводят преимущественно при отчетности за отдельный период (декада, месяц), а по уравнению обратного баланса — при испытании отопительного котла. Вычисление КПД отопительного котла по обратному балансу значительно точнее, так как погрешности при измерении потерь теплоты меньше, чем при определении расхода топлива.

Зависимость КПД котла ηк от его нагрузки (D/Dном) 100

qу.г, qх.н, qн.о — потери теплоты с уходящими газами, от химической и механической неполноты сгорания, от наружного охлаждения и суммарные потер.

Таким образом, для повышения эффективности отопительного котла недостаточно стремиться к снижению тепловых потерь; необходимо также всемерно сокращать расходы тепловой и электрической энергии на собственные нужды, которые составляют в среднем 3...5% теплоты, располагаемой котельным агрегатом.

Изменение КПД отопительного котла зависит от его нагрузки. Для построения этой зависимости (рис.) нужно от 100% вычесть последовательно все потери котельного агрегата, которые зависят от нагрузки, т.е. qу.г, qх.н, qн.о. Как видно из рисунок, КПД отопительного котла при определенной нагрузке имеет максимальное значение. Работа котла на этой нагрузке наиболее экономична.

Похожие работы на - Индивидуальное задание по изучению оборудования и процессов теплоэнергетических установок

 

Не нашли материал для своей работы?
Поможем написать уникальную работу
Без плагиата!
Без нейросетей!