Создание электрической подстанции "Шершнёвская" ЗАО "Лукойл-Пермь"
Содержание
Введение
1. Особенности
технологического процесса добычи и транспортировки нефти "Белопашинской"
группы месторождений
1.1 Краткая характеристика
района строительства
1.2 Краткая
характеристика технологического процесса добычи и транспортировки нефти в
условиях Белопашинской группы месторождений
1.3 Система электроснабжения
процесса добычи и транспортировки нефти и газа
2. Проектирование
подстанции 35/6кв "Шершневская"
2.1 Характеристика
электропотребителей
2.2 Определение
электрических нагрузок
2.3 Обоснование системы
электроснабжения и выбор места расположения подстанции
2.4 Обоснование
построения воздушной линии электропередач номинальным напряжением 35кВ
2.5 Выбор мощности
количества и типа силовых трансформаторов
2.6 Выбор марок и
сечения ЛЭП
2.7 Потери напряжения в
силовых трансформаторах и ЛЭП
2.8 Определение токов
короткого замыкания и выбор коммутационной аппаратуры ГПП
2.9 Выбор
распределительных устройств высокого напряжения ГПП и конструкций
трансформаторной подстанции
2.10 Компенсация
реактивной мощности
2.11 Обоснование
основных видов релейных защит
2.12 Защита отходящих
линий 6,3кВ




2.13
Автоматизация основных электропотребителей
2.14 Защита от
перенапряжения
2.15 Защита от молний
2.16 Заземление
оборудования подстанции
2.17 Контроль состояния
изоляции
3. Безопасность
жизнедеятельности

3.1
Общий анализ вредных и опасных факторов
3.2 Мероприятия по
предотвращению поражением электрическим током
3.3 Безопасное ведение
монтажных работ на подстанции
4. Экономическая часть
4.1 Технико-экономическое
обоснование выбора силовых трансформаторов
Заключение
Литература
Введение
В результате сейсморазведочных работ,
проведенных ООО "Пермнефтегеофизика" в 1982 году в районе
Белопашинской площади, было открыто два участка пригодных для промышленной
добычи нефти, позднее названные как "Шершневское" месторождение и
месторождение "имени Архангельского".
В настоящее время в связи с завершением
доразведочных работ и увеличения производственной добычи нефти введено в
промышленную эксплуатацию 11 скважин. Извлечение нефти предусматривается
осуществлять с помощью глубинонасосных установок. На территории Белопашенской
площади пробурено также 6 поисково-разведочных скважин и ведутся дальнейшие
поисково-разведочные работы.
Существующая понизительная подстанция
6/0,4кВ мощностью 630кВА обладает недостаточной мощностью, необходимой на этапе
разработки и эксплуатации месторождений.
В связи с этим в специальной части
проекта рассмотрены вопросы обоснования и создания новой подстанции требуемой
мощности, а также строительство двухцепной ВЛ-35кВ, необходимых для полного
освоения месторождения.
В частности предусматривается:
-
обоснование
и выбор местоположения подстанции;
-
учет
мощности приемников месторождения;
-
выбор
и проверка силовых трансформаторов;
-
выбор
и проверка основного оборудования подстанции и распределительных устройств;
-
расчёт
параметров электрической сети;
-
проектирование
защиты силовых трансформаторов;
-
расчёт
релейной защиты подстанции;
-
расчёт
компенсирующих устройств, заземления и молниезащиты подстанции.
Трансформаторная подстанция
расчитывается с учетом дальнейшего увеличения площадей освоения данного
месторождения и связанного с этим увеличения потребления электроэнергии.
1. Особености технологического процесса добычи и
транспортировки нефти и газа белопашенской группы месторождений
1.1
Краткая характеристика района строительства
Белопашинская
группа месторождений расположена в Усольском районе Пермской области на землях
Березниковского лесхоза Романовского лесничества.
В
непосредственной близости от района строительства расположена населенные
пункты: Романово, Белая пашня, Малое Романово, д. Володин камень.
В
районе работ проходит старая автодорога Пермь-Березники. Населенные пункты
соединяются существующими грунтовыми дорогами.
Климат
района континентальный с холодной продолжительной зимой, но сравнительно теплым
летом, ранними осенними и поздними весенними заморозками. Средняя температура
воздуха = +0,80С. Самым холодным месяцем в году является январь, со
средней температурой воздуха = –15,00С, самым теплым – июль, со
средней температурой +23,60С. Абсолютный минимум температуры воздуха
–500С, максимум +360С. Годовая сумма осадков составляет
771мм. Максимум осадков за месяц наблюдается в ноябре – 84мм, минимум в феврале
– 41мм. Преобладающее направление ветра в течении года – южное и юго-западное.
Среднегодовая скорость ветра – 4,5м/с.
Максимальная
высота снежного покрова за зиму на открытом участке соответствует 81см.
Месторождение
расположено на правом пологом склоне долины р. Яйва, в междуречье правых
притоков Яйва – р. Сюзьва и Волим. Рельеф эрозийно – аккумулятивный, полого –
холмистый, с сетью неглубоких логов. Общий уклон поверхности на запад и
северо-запад.
В
геоморфологическом отношении район представляет собой всхолмленную равнину,
расчлененную долинами рек, ручьев, логов. Дно логов часто заболочено. Возможны
временные водотоки.
Скважины
месторождения им. Архнгельского находятся в зоне калийных солей категории С
Палашерского участка ВКМКС.
Ближайшее
месторождение, находится в промышленной эксплуатации – "Уньвинское",
ближайшая сепарационно-насосная установка находится на площадке ДНС-1 "Уньва".
1.2
Краткая характеристика технологического процесса добычи и транспортировки нефти
в условиях Белопашенской группы месторождений
Исходя из геологических строений
залежей, физико-геологических характеристик нефтеносных пластов, установленного
режима нефтяного месторождения и продуктивности скважин, на начальном этапе
предусматривается разработка освоением 11-ти добывающих скважин, 3-х
нагнетательных скважин, а также 6- исследовательских и разведочных скважин.
Система воздействия на залежь - законтурное и внутриконтурное заводнение с
расстоянием между скважинами 400-500м.
Построение технологической
схемы добычи нефти (рис. 1.1.), осуществляется на принципе подпора водой
крыльев антиклинальной структуры содержащих нефть, а в сводной части - газ.
Пласт эксплуатируют нефтяными скважинами, служащими для извлечения пластовой
жидкости, а другие скважины служат для нагнетания воды в пласт. Для подъема по
скважине добываемой пластовой жидкости используется специальный комплекс -
оборудование для эксплуатации скважин 1. Пластовую жидкость, содержащую кроме
нефти воду, газ, механические примеси, с помощью системы сбора собирают и
разделяют на нефть, воду и газ, после чего
нефть обессоливают, обезвоживают и, как товарную, направляют потребителям.
После первичной обработки из газа получают дополнительный продукт - сухой газ.
Все технологические процессы выполняются комплексом оборудования 2. Для более
полного и интенсивного извлечения запасов нефти из пласта используют комплекс
оборудования 9, обеспечивающего кислотную обработку пласта, его гидроразрыв и
термовоздействие.
Для поддержания и восстановления
пластовой энергии в пласт с помощью напорного и коммуникационного оборудования
4 закачивают воду, в том числе воду, добытую из эксплуатационных скважин. Кроме
того, для восполнения разницы в объемах, извлеченных пластовой жидкости и воды
к возвращаемой воде, добавляется вода из других источников, которая
подвергается специальной подготовке в оборудовании 4.
Исходя из принятой технологической схемы
добычи нефти в условиях Белопашинской группы месторождений, на 1 этапе
осуществляется отработкой 11-ти скважин, оборудованных погружными
электрическими центробежными насосами типа ЭЦН (лист 3.).
Сбор и транспортирование нефти на
месторождении предусматривает и осуществляется по групповой автоматизированной
системе, с подачей продукции скважин на групповые замерные установки АГЗУ-"Спутник
Б-40". От замерных установок пластовая жидкость по трубопроводам поступает
на насосную станцию перекачки нефти (ДНС), оборудованную центробежными насосами
с электродвигателями типа ВAO-250.
С ДНС скважинная жидкость по трубопроводу поступает на пункт предварительного
сбора и обработки нефти, находящегося на Уньвинском месторождении ЗАО "
Лукойл-Пермь".
Рис.1.1. Технологическая
схема добычи нефти
Условные обозначения: 1- оборудование
добычных и нагнетательных скважин; 2- комплекс оборудования разделения
пластовой жидкости; 3- комплексы по перекачке нефти и воды; 4- оборудование
насосных станций; 5- устьевое оборудование скважин; 6-шапка газа; 7- нефтяной
пласт; 8- пластовые воды; 9- комплекс оборудования воздействия на пласт; 10-
подъемное и нагнетательное оборудование скважин; 11- обсадные колонны скважин.
С целью поддержания необходимого пластового
давления, увеличения темпа отбора нефти из залежи и повышения ее нефтеотдачи в
пласт нагнетается вода. С этой целью на месторождении используются 3 скважины,
с применением законтурного и внутриконтурного заводнения. Исходя из значений
требуемого устьевого давления и максимальных годовых объемов, закачиваемой
воды, для создания давления используется, блочная кустовая насосная станция
типа БКНСЗ-200-РЦВ-СТД с подачей до 540 мЗ/ч. и давлением нагнетания 19МПа.
Источником производственного водоснабжения является водопровод, питание
которого осуществляется водой ближайших рек Яйва, Ситовка и Ивановка.
Организация работы оборудования основана
на технологии эксплуатации месторождения. Извлечение пластовой жидкости
осуществляется круглосуточно, оптимальные режимами
работы оборудования и параметрами
добычи обеспечиваются диспетчерской службой.
Комплексы скважин, подъемное и
нагнетательное оборудование обеспечивают работоспособность ограниченное время,
продолжительность которого значительно меньше периода разработки пласта и
соответствует межремонтному периоду. Поэтому эксплуатация каждой скважины
циклична и прерывиста. Время перерывов, то есть время текущих и капитальных
ремонтов, а так же и количество труда затрачиваемого на ремонт по каждой
скважине определяется геологическими условиями, надежностью оборудования
скважины и спущенного в неё оборудования. Суммарные затраты времени и труда на
ремонты обоих видов весьма значительны, что вызывает необходимость иметь службу
ремонта, оснащенную большим количеством сложного оборудования для ремонта
скважин, также при вводе новых скважин необходимо использование специального
оборудования.
Обслуживание и ремонт оборудования
осуществляется в первую смену, тремя бригадами, каждая из которых обслуживает
свой технологический комплекс оборудования. Управление и контроль за работой
осуществляется инженерно-техническим персоналом управления Пермского дивизиона
добычи ЗАО "ЛУКойл-Пермь".
1.3 Система электроснабжения процесса
добычи и транспортировки нефти и газа
История развития нефтяной и газовой
промышленности тесно связана с историей нефтяной энергетики, так как именно она
во многом способствовала бурному росту темпов освоения нефтяных и газовых
районов.
Электрический привод на нефтяных и
газовых промыслах признан самым надежным, наиболее эффективным и для
большинства агрегатов единственно приемлемым.
На рис. 1.2. представлена структурная
схема электроснабжения Шершнёвского месторождения нефти.
Центральная понизительная подстанция
(ЦП) получает питание от районной электрической сети энергосистемы по ЛЭП
110кВ. От ЦП "Уньва" электроэнергия при напряжений 35кВ
предполагается подаваться на промысловую подстанцию ГПП 35/6кВ.
Электроприёмники промысла получат электроэнергию с шин КРУ 6,3кВ ГПП.
Станция по внутрипромысловой перекачке нефти
и станция БКНС получают энергию непостредственно с шин КРУ 6,3кВ по ЛЭП 6,3кВ.
Электроэнергия от ГПП по воздушным линиям электропередачи поступает на РУ ДНС и
БКНС, а непосредственный подвод к приемникам осуществляется кабелями.
Электродвигатели вспомогательных механизмов и станции управления и автоматики
питаются от ТП 6/0,4кВ.
Электрооборудование водонасосных станций
может быть нормального исполнения, так как здесь отсутствуют взрывоопасные
смеси. По необходимой бесперебойности питания электроэнергией ДНС и БКНС
относятся к потребителям 2-й категории. Остановка части глубиннонасосных
установок в случае прекращения подачи электроэнергии связана только с потерей
нефти, определяемой прекращением ее откачки из скважин и не вызывает серьезных
осложнений при дальнейшей эксплуатации.
Установки центробежных электронасосов
(ЭЦН) питаются по схеме: от сети 6кВ с промежуточной трансформацией напряжения
на скважине до 0,4кВ, подводимого к автотрансформаторам или трансформаторам
установки ЭЦН. В настоящее время для питания погружных электронасосов
используются силовые масляные трансформаторы типов ТМП и ТМПН мощностью от 40
до 400кВа. Подвод электроэнергии к погружному электродвигателю осуществляется
специальным маслонефтестойким трехжильным кабелем с резиновой или
полиэтиленовой изоляцией, прикрепляемым к насосным трубам с помощью
металлических поясов. Верхний конец кабеля намотан на барабан, служащий для
транспортировки кабеля и его спуска-подъема. Кабельная
линия в скважине выполняется плоским кабелем марки КРБК (с резиновой изоляцией)
или марки КРШ (с полиэтиленовой изоляцией) на конечном участке вдоль насоса и
круглым кабелем марки КРБК ( КПБК) - на остальной длине линии (диапазоном
сечений 3х16; 3х5; 3х35мм2). При этом площадь сечения плоского кабеля принимается
на одну ступень ниже площади сечения круглого кабеля. Применение плоского
кабеля позволяет уменьшить поперечные размеры погружного устройства.
Рис.1.2. Структурная схема
электроснабжения Белопашенской
группы месторождений.
Условные обозначения: 1-двигатели и
потребители станции по местной перекачке нефти; 2-двигатели
и потребители БКНС; 3-двигатели станков-качалок; 4-двигатели
погружных электронасосов.
Управление и защита электродвигателей
погружных центробежных насосов осуществляется с помощью комплекса аппаратуры
смонтированной в станции управления типа ШГС-5802, обеспечивает возможность
ручного и автоматического управления, управления с диспетчерского пункта,
работы установки по программе.
В настоящее время на месторождении
имеется понизительная подстанция 6/0,4кВ с трансформаторами ТМГ-630(кВА). В
связи с доразведкой месторождения и вводом первой очереди в эксплуатацию,
имеющаяся подстанция не способна обеспечить преёмники месторождения необходимым
количеством электроэнергии, т.к. мощность ее недостаточна, поэтому возникает
задача создания новой подстанции, которая обеспечит надежное и экономичное
электроснабжение всех токоприемников месторождения.
При создании подстанции необходимо учитывать
и дальнейший рост электропотребления, который вызван дальнейшим увеличением
числа токоприемников и окончательным вводом месторождения в эксплуатацию, что
повлечет за собой увеличение протяженности линий, установку новых подстанций
6/0,4кВ и т.д.
Схема электроснабжения Шершнёвского
месторождения нефти приведена на графическом листе 2.
2. Проектирование
подстанции "Шершневская" 35/6кв.
2.1 Характеристика
электропотребителей
Электроприёмники нефтедобывающей
промышленности имеют свои специфические особенности и разделяются на несколько
групп. Одни работают в условиях нефтеводной среды, другие со сложными
механическими нагрузками, третьи работают в нормальных условиях.
Работу по добыче нефти на Шершнёвском
месторождении предполагается выполняеть электрическим приводом. Применяются погружные,
электронасосные установки.
Работа электродвигателя погружного
насоса происходит в нефтеводяной среде, установка подвешена на колонне труб, и
запитана кабелем с поверхности. Применяются двигатели серии ПЭД (погружные
электродвигатели) трехфазные, синхронные, короткозамкнутые, маслонаполненные, с
гидрозащитой, мощностью 32кВт, и синхронной скоростью вращения 3000об/мин.
Электрооборудование насосных установок,
из-за широкого применения искусственного способа поддержания пластового
давления на нефтепромыслах, является одним из главных потребителей
электроэнергии. Насосные установки, преимущественно, центробежного типа. Малые
габариты, возможность непосредственного соединения с электродвигателем,
простота конструкции, отсутствие клапанов, плавная и непрерывная подача воды
без гидравлических ударов – обеспечивает целесообразность использования
центробежных насосов.
Для поддержания пластового давления
предполагается установить блочную кустовую насосную станцию
(БКНС), оборудованную тремя центробежными насосными установками (одна из
которых выведена в резерв). Электропривод будет оснащен синхронными двигателями
типа СТД-1600, рабочее напряжение 6кВ, мощность 1600кВт. БКНС относится ко
второй группе потребителей электроэнергии нефтепромысла /15/.
Мощным потребителем электроэнергии на
месторождении также будет является дожимная насосная станция, с центробежными
насосными агрегатами перекачивающая собранную на месторождении жидкость на
пункт предварительной подготовки нефти.
Дожимная насосная станция будет
оборудована двумя центробежными насосными установками с электродвигателями
(серии ВАО), мощностью 250кВт каждый.
А так как сырая нефть относится к группе
взрывоопасных смесей категории 1А, то по правилам изготовления взрывозащищенного
оборудования, электропривод станций выполняется взрывозащищенным (серии ВАО) и
вся электрическая коммутационная аппаратура двигателей должна быть удалена на
безопасное расстояние от установки и обычно выполняется в общепромышленном
исполнении.
Основные электроприемники Шершнёвского
месторождения приведены в таблице 2.1.
2.2 Определение электрических нагрузок
Эксплуатация энергосистем месторождений
нефти показывает, что все группы электроприемников работают в длительных
режимах, редко отключаются, а если и отключаются, то в основном сразу
включаются резервные агрегаты. Это относится как к станции заводнения, так и к
дожимным насосным станциям и добывающим насосам на скважинах.
Для оценки расчетной мощности
электроприёмников промысла, точнее самых ответственных и мощных групп
приёмников, воспользуемся методом определения расчетных нагрузок по
установленной мощности и коэффициенту спроса. Основными достоинствами этого
метода является: простота и достаточно высокая степень достоверности
полученного результата /4/.
Используя таблицу электрических нагрузок
(табл.2.1.) определим расчетные нагрузки для однородных по режиму работы
приемников по выражениям:
Рном, - номинальная мощность приемника;
Рр, - активная расчетная мощность;
Qp, - реактивная
расчетная мощность;
Sр, - полная
расчетная мощность;
Кс, - коэффициент спроса
принимаем по данным практики;
tgφ
- соответствует характерному для данной группы приёмников cosφ.
Расчетную нагрузку для узла системы
электроснабжения, содержащего группы приемников электроэнергии с различными
режимами работы, определяют с учетом разновременности максимумов нагрузки отдельных
групп.


кВА,
где:
-
сумма расчетных активных нагрузок отдельных групп приемников; (табл.2.1).
-
сумма расчетных реактивных нагрузок отдельных групп приемников (табл.2.1);
Км.= 0,9 - коэффициент разновременности
максимумов нагрузок отдельных групп приемников /16/;
Находим расчетные нагрузки для насосной
станции ДНС:
Аналогичным методом определяем нагрузки
других электроприемников и результаты расчета сводим в таблицу 2.1.
Основные группы токоприемников
месторождения и их показатели приведены на графическом листе 3.
Таблица 2.1.
|
Наименование
группы токоприемников
|
Тип
эл. двигателя
|
Номинальное
напряж. U ном. (КВ)
|
Номинальная
мощность Рном. (КВт.)
|
Номинальный
COSφ ном.
|
Частота
вращения n ном.
(об/мин.)
|
Кол-во
двигателей, (штук)
|
Суммарная
мощ ность эл. двигате- лей (кВт.)
|
Коэффициент
спроса, Кс
|
Активная
мощность расчетная Рр, (кВт.)
|
Реактивная
мощ ность расчетн Qр, (квар.). кзар.
|
Полная мощностъ S (кВА)
|
|
1 ГРУППА
|
|
(насосная
станция по перекачке нефти)
|
ВАО-250
|
6
|
250
|
0,9
|
I500
|
2
|
500
|
0,6
|
300
|
145
|
333
|
|
2 ГРУППА
|
|
(насосная
станция по закачке воды)
|
СТД-1600
|
6
|
1600
|
0,85
|
3000
|
3
|
4800
|
0,7
|
3360
|
2080
|
3952
|
|
3 ГРУППА
|
|
(погружные
насосы)
|
ПЭД35-123АВ5
|
0,52
|
32
|
0.85
|
3000
|
11
|
352
|
0,5
|
176
|
85
|
196
|
|
ВСЕГО
|
|
|
|
|
|
|
5652
|
|
3836
|
2310
|
4030
|
2.3 Обоснование системы электроснабжения и выбор места
расположения подстанции
Для обеспечения оборудования
месторождения нефти электрической энергией и его бесперебойной работы
необходимо создать надежную и экономичную систему электроснабжения.
Широкое
распространение получили следующие мероприятия по повышению эффективности
использования электрической энергии:- перевод систем электроснабжения на
повышенное номинальное напряжение;- приближение источников питания к центрам
нагрузок;- выбор рациональной конфигурации электрических сетей;- рациональный
выбор и оптимизация режима использования, с учетом фактического графика
нагрузки, силовых трансформаторов;- разработка и внедрение мероприятий по
оптимальной компенсации реактивной мощности с автоматическим управлением её
режимами;- поддержание в узлах нагрузки и у электроприемников рационального
уровня напряжения, а также нормируемых показателей качества электроэнергии в
соответствии с требованиями ГОСТ13109-87;- выбор типа, мощности и числа
электродвигателей основных производственных установок в зависимости от условий
их работы и фактической загрузки.
Питание месторождения осуществляется от
Уральской энергетической системы Березниковских электрических сетей АО
"ПЕРМЭНЕРГО".
Наиболее рациональным местом
расположения собственного источника питания месторождения является центр
электрических нагрузок (ЦЭН). В случае совпадения ЦЭН с местом расположения
технологических объектов или коммуникаций источник питания располагаем с
максимально возможным приближением к центру нагрузок.
Для потребителей электроэнергии,
относящихся к 1 категории, в соответствии с ПУЭ предусматриваем не менее двух
независимых источников питания.
К числу независимых источников питания
относят две секции или системы шин одной или двух электростанций и подстанций
при одновременном соблюдении следующих двух условий /3/:
1)
каждая
секция шин, в свою очередь, имеет питание от независимого источника питания.
2)
Секции
(системы) шин не связаны между собой или имеют связь, автоматически
отключающуюся при нарушении нормальной работы одной секции (системы) шин.
Исходя из этих требований и условий
Шершнёвского месторождения, необходимо создать понизительную
подстанцию "Шершнёвская" 35/6кВ, которая позволит обеспечить
электроэнергией оборудование и технологические установки месторождения.
Подстанцию предполагается строить на равномерном расстоянии от потребителей и,
в тоже время, рядом с мощными потребителями электроэнергии, расположенными на
территории месторождения.
Согласно инженерно-геологическим
изысканиям, грунты на площадке строительства следующие: глина светло-бурая,
полутвердая до глубины 2м. Грунтовые воды до глубины 7м не обнаружены.
Нормативная глубина промерзания грунта 1,5м. Наиболее холодная температура
-50°С.
2.4 Обоснование
построения воздушной линии электропередач номинальным напряжением 35 кВ
При проектировании системы
электроснабжения должны рассматриваться следующие вопросы:
1)
перспектива
развития энергосистемы и системы электроснабжения с учетом рационального
сочетания вновь сооружаемых электрических сетей с действующими и вновь
сооружаемыми сетями других классов напряжения;
2)
обеспечение
комплексного централизованного электроснабжения всех потребителей,
расположенных в зоне действия электрических сетей, независимо от их
ведомственной принадлежности;
3)
ограничение
токов короткого замыкания предельными уровнями, определяемыми на перспективу; снижение
потерь электрической энергии.
В связи с выше перечисленным, принимаем
номинальный уровень напряжения для питания новой подстанции – 35кВ, с
последующей трансформацией напряжения на уровень 6кВ и строим двухцепную линию
электропередач – "Нефтяная-Шершневская".
2.5 Выбор
мощности колличества и типа силовых трансформаторов
Для более точного выбора числа и
мощности силовых трансформаторов необходимо определить суммарную мощность на
стороне низкого напряжения силовых трансформаторов. Поэтому произведем подсчет
потребляемой мощности в узлах системы внутреннего энергоснабжения (см.
рис.2.1.). Расчет производится от скважин по ступеням к секциям шин на стороне
низкого напряжения ГПП.
Приведем пример расчета, определения
расчетной мощности и тока для группы двигателей скважин, эксплуатируемых
погружными электрическими центробежными насосами.
Данные расчета: n=3
- число двигателей;
Рном.=32 (кВт) - номинальная мощность;
Ки=0,45 - коэффициент использования;
Cosf ном.=0.85;
К=1,1 - коэффициент максимума для данной
группы.
Расчет /4/:
1) Определяем
эффективное число приемников в группе
так как мощности двигателей одинаковы,
то nэф.=3
2) Средние
активные и реактивные нагрузки составят:
Полная
мощность узла составит:
Рис.2.1. Обобщённая схемa
электроснабжения
месторождения
3)
Определяем
расчетный ток линии питающей группу двигателей:
Аналогичный расчет произведен и по
другим линиям, отходящим от фидеров ГПП, результаты расчета сведены в табл.
2.2. При расчете учитывалось, что собственная потребляемая мощность КТП
составит(4)
где Spнн
- расчетная мощность на стороне низкого напряжения КТП;
На основании данных табл. 2.2.
рассчитываем потребляемую мощность на секциях шин ГПП, при этом считаем, что
потребление электроэнергии на собственные нужды незначительно.
где Кр.м=0.9
коэффициент разновременности максимума нагрузки.
Таблица 2.2.
Результаты
расчета мощностей и токов по основным фидерным
линиям
|
Номер фидера и
название приемников, подключенных к нему
|
Sр (квА)
|
Iр
(А)
|
|
6 БКНС № 1
|
1777
|
171,3
|
|
7 БКНС № 2
|
1777
|
171,3
|
|
8 БКНС № 3
|
1777
|
171,3
|
|
 3 ДНС № 1
|
445
|
43
|
|
 4
ДНС № 2
|
445
|
43
|
|
12 Скважины
63,64,69,68.
|
239
|
23
|
|
11 Скважины
65,66,67.
|
159
|
15,3
|
|
13 Скважины
55,56,60.
|
159
|
15,3
|
|
14 Скважины
61,62.
|
80
|
7,7
|
Рассчитываем групповой коэффициент
использования:
,
где
=4804 (кВт) - суммарная
расчетная мощность групп электроприёмников (табл.2.1.);
=7488
(кВт) - суммарная номинальная мощность групп электроприёмников.
Киг.=4804/7488 =0,64
За расчетную нагрузку принимаем:
Sp=Smaxp*Kи.г.=6630*0,64
=4245 (кВА)
Намечаем два варианта мощности силовых
трансформаторов, при этом допустимая перегрузка не должна превышать 50% от
номинальной, принимаем согласно (5):
Sgn =0.4Sном.
Первый вариант: два трансформатора по
6,3МВА (2Sном=12,6МВА). В
нормальном режиме намечается работа одного трансформатора, с коэффициентом
загрузки в часы максимума
К3=Smax.p
/ Sном.=6630/6300=1,05
Трансформатор будет работать с
незначительной перегрузкой.

Второй
вариант: два трансформатора по 4МВА (2Sном=8МВА).
В нормальном режиме трансформаторы будут
работать с коэффициентом загрузки в часы максимума
K3 =
6630/8000 = 0,83
С точки зрения номинальных режимов работы
второй вариант более приемлем.
Проверяем возможность перегрузки
намеченных трансформаторов при отключении одного из них:
Первый вариант: при отключении одного из
трансформаторов на 6,3МВА, оставшийся в работе может пропустить мощность:
1,4Sном.=1,4*6,3=8,8МВА,
то есть всю мощность потребляемую электроприёмниками. Коэффициент 1,4
определяет допустимую перегрузку трансформатора.
Второй вариант: при отключении одного из
трансформаторов оставшийся в работе сможет пропустить мощность:
1,4Sном.=1,4*4=5,6МВА,
то есть всю мощность потребляемую электроприемниками, при этом К3=6630/5600=1,2
-это значение не превышает допустимое. По
рассмотренным выше критериям оба варианта трансформаторов приемлемы. По
определению экономической целесообразности режима работы двух вариантов
трансформаторов, приведенных выше, выбираем первый вариант с использованием
двух трансформаторов мощностью по 6,3МВА каждый, с учетом того, что в
нормальном режиме работать будет один трансформатор, а другой будет выведен в
резерв. Этот вариант еще предпочтителен и тем, что на месторождении планируется
дальнейший рост энергопотребления. Принимаем трансформаторы типа ТМ
6300/35/6,3. Основные технические данные приведены в табл. 3.1.

2.6 Выбор марок и сечения ЛЭП
Подвод напряжени35кВ к
подстанции "Шершневская" предполагается осуществлять воздушной
линией. Расчетный ток для нее определяем по формуле:
Iр.в.л.= 
,
Где Sр.тр.- расчетная мощность
трансформатора, из пункта 2.4.;
Sосн. мех.- мощность двигателей основных механизмов;
Uном.(вн) – номинальное напряжение питания, 35кВ.
Iр.вл. =
=197,2 А
Выбираем для воздушной линии
алюминиевый провод марки АС, сечением 50 мм2 (допустимая длительная
токовая нагрузка 215А стр. 31 /3/ )

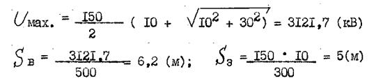
2.7 Потери напряжения в силовых трансформаторах и ЛЭП
Потеря напряжения на участке
сети – это алгебраическая разность между величинами напряжения в начале и в
конце этого участка.
Допустимые потери напряжения
в нашем случае определяются для электроприемников с номинальным напряжением 35
кВ.
Сумарные потери напряжения в
сети при нормальной работе 
электроприемников определяются выражением

Uнорм.=
Uтр.+
Uл.
Где
Uтр
-
потери напряжения на обмотках трансформатора;
Uл. – потеря напряжения в линии:
Потерю напряжения в линии,
т.е. арифметическую разность между напряжением в начале и в конце линии с
достаточной точностью определим из выражения:
U =
*Iрl*(r cosj + х sinj),
Где l – длина линии ,км.;
r и x – активное и индуктивное сопротивление 1 км. одной фазы линии,
Ом/км;
Iр – расчетный ток нагрузки, А.:
Iр =
,
Где U ном – номинальное линейное напряжение
линии электропередачи, кВ
Iр = 197,2 А из пункта 2.5.
rвл = 0,63 Ом/км ; хвл = 0,363 Ом/км /3/
U
=
*197,2*12*(0,63*0,7+0,363*0,71)=1400,3 В
что составляет 4% от U ном = 35 кВ
Допустимая потеря напряжения
в воздушной линии составляет 8% /3/.
4
8
По полученному результату
видим, что выбранное сечение удовлетворяет условию по потере напряжения.
Потеря напряжения в обмотках
трансформатора определяется по формуле:
Uтр =
*Iтр.*(1,5*Rтр.cosjтр.+Хтр.sinjтр.),
где 1,5 – коэффициент,
учитывающий нагрев обмоток от +20 до 150оС;
jтр – угол
сдвига фаз нагрузки трансформатора

Rтр = 0,60; Xтр = 0,257; cosj тр =0,75
Потеря напряжения в
кабельной линии
Uтр =
*197,2*(1,5*0,75+0,257*0,76)=291,7
В
Сумарные потери напряжения в
сети будут равны:
Uнорм.=1400,3+291,7=1692 В.
Для нормальной работы
электроприемников согласно /3/ величина напряжения по стороне 35кВ должна быть
не менее 0,95 от номинального:
33308 ≥ 33250
По полученным результатам
видим, что выбранное сечение удовлетворяет условию по потере напряжения.
Проверяем данный проводник
по экономической плотности тока:
Экономически целесообразное
сечение S, мм2, определяется из соотношения
S =
,

Где I – расчетный ток в час максимума энергосистемы, А; Jэк – нормированное значение
экономической плотности тока, А/мм2, для заданных условий работы
выбираемых по таблице 1.3.36. стр.36./3./
S =
= 151,7 А
Выбранный проводник марки АС-50 имеет
длительный допустимый ток нагрузки согласно /3/ =251 А , отсюда следует , что
он подходит по параметрам экономической плотности тока с учетом дальнейшего
увеличения нагрузки на перспективу.

2.8 Определение токов короткого
замыкания и выбор коммутационной аппаратуры ГПП
Расчет произведен в относительных
единицах /4/, так как мощность питающей системы неизвестна и неизвестно
сопротивление системы, принимаем, что мощность системы не ограничена Sс
=¥,
точка короткого замыкания значительно удалена от источника питания,
сопротивление системы до точки соединения потребителей принимаем равным нулю.
Параметры необходимые для расчета
приведены на рис.2.3.
Составляем схему замещения рис.2.4.
За базисную мощность принимаем
номинальную мощность трансформатора:
Sб=6,3(MBA)
за базисное напряжение
Uбв.н=37(KB);
Uбн.н=6,3(кВ)
Рассчитываем величину базисного тока
Определяем сопротивление элементов схемы
в базисных единицах:
Воздушные линии электропередач:
где


- удельное активное и
индуктивное сопротивление линии (Ом/км);
L- длина линии
(км) Трансформатор:
где,
-
напряжение короткого замыкания трансформатора (%). Активное сопротивление
трансформатора не учитываем, так как
Sном,т=6,3(МВА)
Сопротивление системы:
где,
-ток
питающей системы
Расчет сопротивлений элементов схемы
замещения и суммарных сопротивлений до точки к.з. приведен в табл. 2.3.
Величина установившегося трехфазного
тока к.з. рассчитывается по формуле:
Величина двухфазного тока к.з.
рассчитывается по формуле:

где,

Ку
- ударный коэффициент.
Наибольшее действующее значение ударного
тока к.з.
, (кА)
Так как при расчете токов к.з.
учитывается активное сопротивление ВЛ, то ударный коэффициент определяется по
выражению:
где
Та - постоянная времени затухания
аппериодической составляющей
Величина мощности установившегося
трехфазного к.з. находится по выражению:
Расчет токов к.з., ударных токов,
мощностей к.з. в расчетных точках, приведен в табл. 2.3.
Для расчетов токов к.з. на стороне
низкого напряжения п/с "Шершнёвская" используем параметры и схему
изображенную на рис. 2.5(а). Схема замещения приведена на рис. 2.5(б).
Результаты расчетов токов к.з., ударных токов, мощностей к.з. в расчетных
точках приведены в табл. 2.3.
Рисунок 2.3
Рисунок 2.4
Рисунок 2.5
Таблица 2.3.
|
№ Т.К.3
|
Хб
|
Rб
|
Zб
|
I(3) кА
|
I(2) кА
|
Ку
|
Iу кА
|
Iу кА
|
S(з) МВА
|
|
К1
|
0,055
|
-
|
0,055
|
1,78
|
1,54
|
1,9
|
4,79
|
2,88
|
114,6
|
|
К2
|
0,085
|
-
|
0,085
|
1,15
|
0,99
|
1,9
|
3,1
|
1,86
|
74,1
|
|
КЗ
|
0,105
|
0,0178
|
0,106
|
0,92
|
0,8
|
1,59
|
2,1
|
1,2
|
59,4
|
|
К4
|
0,18
|
0,0178
|
0,181
|
3,19
|
2,76
|
1,733
|
7.82
|
4,59
|
34,8
|
|
К5
|
0,228
|
0,0813
|
0,242
|
2,38
|
2,06
|
1,33
|
4,47
|
3,63
|
26
|
|
К6
|
0,214
|
0,0788
|
0,228
|
2,53
|
2,2
|
1,31
|
4,7
|
2,76
|
27,63
|
|
К7
|
0,374
|
0,363
|
0,521
|
1,1
|
0,958
|
1,047
|
1,63
|
1,1
|
12,1
|
|
К8
|
0,369
|
0,353
|
0,511
|
1,13
|
0,977
|
1,049
|
1,68
|
1,133
|
12,3
|
|
К9
|
0,414
|
0,439
|
0,603
|
0,956
|
0,827
|
1,039
|
1.4
|
0,957
|
10,5
|
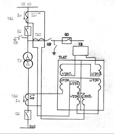
2.9 Выбор распределительных устройств
высокого напряжения ГПП и конструкций трансформаторной подстанции
Строительные конструкции подстанции
принимаем из унифицированных железобетонных элементов. Конкретно из этих
элементов выполняем фундаменты под силовые трансформаторы, с укладкой их на
балластовую подушку и фундамент под комплектное распределительное устройство на
стороне низкого напряжения. Ограждение подстанции предусматриваем сетчатое,
высотой 1,8м, сетка крепится к железобетонным столбам. Питание
подстанции осуществляется по двухцепной линии подключенной от ОРУ 35кВ подстанции
"Нефтяная". Линия выполнена проводом марки АС-50.
На ОРУ подстанции
"Шершнёвская", на каждой линии установливаем шины высокого
напряжения( ошиновку выполнить алюминиевым проводом А-50) шины между линейными MB
и трансформаторами, а так же подсоединение секционного масляного выключателя
выполняем алюминиевыми трубами диаметром 60мм. На каждой секции шин
устанавливаем линейные масляные выключатели, шины секционируются между собой
масляным выключателем. Для защиты от перенапряжений на шинах устанавливаем
разрядники типа РВС и трансформаторы типа 2НОМ-35. К секциям шин подключаются
силовые трансформаторы через масляные выключатели, которые, путем гибкой
ошиновки, подсоединяются к шинным вводам комплектного распределительного
устройства (КРУ) на 6,3кВ и оборудуются двадцатью пятью шкафами выкатного типа
марки К-59. Вывод осуществляется как через шинные, так и через кабельные
вывода. Каждый шкаф оборудован АПВ однократного действия с моторно-пружинным
приводом. Секции шин 6кВ (1 и 2) секционируются между собой масляным
выключателем. К каждой секции шин подключаются измерительные трансформаторы
напряжения типа НТМИ 6,3 и вентильные разрядники типа РВ0-6, а также
трансформаторы собственных нужд типа ТМ-25/6.

Схема основных
электрических соединений подстанции представлена на графическом листе 4.
Выбор и проверка высоковольтных
электрических аппаратов, устанавливаемых на стороне 35кВ подстанции "Шершнёвская"
проводится по условиям длительного режима работы и по условиям протекания токов
к.з.
Первоначально, на стороне 35кВ
подстанции, намечаем установку разъединителей типа РЛНД2-35/630.
Номинальное напряжение сети, в которой
устанавливается разъединитель:
где
, данное
условие выполняется.
Максимальный рабочий ток цепи, в которой
устанавливается разъединитель:


Iраб.мах.=Iном.,
А, где
Iном - длительный
номинальный ток разъединителя.
Рассчитываем Iраб.мах.,
из наиболее неблагоприятного режима эксплуатации. Для цепей трансформаторов с
учетом допустимой 1,5 кратной перегрузки:
Iраб.мах.=1,5 Iтр.ном.,
где
Iтр.ном.
номинальный рабочий ток трансформатора
I раб.мах.
= 1,5*104=156(A);

I
раб.мах.=156(А)<I ном.=630 (А),
данное условие выполняется.
Ударный ток в цепи, где устанавливается
разъединитель:
где
-
номинальный ток электродинамической стойкости разъединителя
данное условие выполняется.
Тепловой импульс тока к.з.,
характеризующий количество теплоты, выделяющейся в аппарате за время к.з.:
,
где
Iпр.m
- предельный ток термической стойкости, который данный аппарат
может выдержать без повреждения в течении предельного времени термической
стойкости tm
Вк = Iк*tпр,
где
tпр.=0,2(с)
приведенное время короткого замыкания.
Вк =0,92 * 0,2 = 0,17<20 * 4 = 1600 ,
данное условие выполняется.
Согласно расчетам, данный тип
разъединителя проходит по своим параметрам, поэтому все разъединители РУ ВН,
линейные, секционные, трансформаторные. Выбираем тип
РЛНД2-35/630, всего 8 штук. Технические данные приведены в табл. 2.4.
Выбор масляного выключателя РУ ВН.
Намечаем выключатель типа С-35М-630-10.
Номинальное напряжение цепи, в которой стоит выключатель - 35кВ.
Uном.с
= Uном.в; кВ
Uном.с = 5(кВ)=Uном.в
=35(кВ), данное условие выполняется.

Максимальный
рабочий ток в цепи, в которой установлен выключатель:
Iраб.мах.<Iном.в;
(А)
Iраб.мах.=156(А)<Iном.в=630(А),
условие выполняется.
Проверяем выключатель на
электродинамическую стойкость:
i уiпр.с
; кА,
iуд=2,1(кА)<iпр.с=10(кА),
выключатель удовлетворяет данному условию.
Проверяем выключатель по условию
термической устойчивости:
Iк * tпр
Iт.у.tmу;
кА, где
t пр.=0,2(с)
приведенное время длительности короткого замыкания;
tmу=4(c)-предельное
время термической стойкости;
Iт.у.-предельный
ток термической стойкости ;
0.92*0,2=0.17(А)<10*4=400(кА), то
есть по условию термической стойкости данный выключатель подходит. Проверяем
выключатель по отключающей способности:
Iо.рас.
Iо.ном.;
кА, где
Iо.рас.=Iк=0.92(кА)
- расчетный ток отключения;
Io.ном.=10(кА) -
номинальный ток отключения.
0.92<10, то есть по отключающей
способности выключатель подходит.
На основании расчетов окончательно
выбираем для РУ ВН масляные выключатели типа С-35М-630-10, всего 3 штуки.
Технические данные приведены в табл. 2.5.
Для ОРУ подстанции выбираем разрядники
типа РВС-35. Технические данные разрядников приведены в табл. 2,6.
На стороне низкого напряжения подстанции
"Шершнёвская" выбираем к установке комплектное распределительное
устройство внутренней установки типа К-59, оборудованного выключателями
ВБКЭ-10. Основные технические характеристики приведены в таблице 2.7.

Производим
проверку вакуумных выключателей. Номинальное напряжение сети, в которой
установлен выключатель - 6,3(кВ).
Uном.с
Uном.с;
кВ,
Uном.с =6,3(кВ)
Uном.в=10(кВ),
данное условие выполняется.
Максимальный рабочий ток в цепи, в
которой устанавливается выключатель:
Iраб.мах.<I
ном. (А),
I ном.в=1000(А);
866<1000, данное условие также
выполняется.
Проверяем выключатель на
электродинамическую стойкость:
данное условие выполняется.
Проверяем выключатель по условию
термической стойкости:
5,1<2000;
кА, условие выполняется.
Проверяем выключатель по отключающей
способности:
по отключающей способности выключатель
подходит.
Окончательно выбираем К-59, с
выключателями типа ВБКЭ-10, техническая характеристика выключателя приведена в
табл.2.5.
Таблица 2.4.
|
 тип
|
Номинальное
напряжение, (кВ)
|
Наибольшее рабочее напряжение (кВ)
|
Номинальный
ток, (А)
|
Устойчивость
при сквозных токах короткого замыкания , (кА)
|
Время
протекания наибольшего
тока
термической устойчивости,
(сек.)
|
|
Главных ножей
|
Заземляющих
ножей
|
|
Предельный
сквозной ток
|
Ток термической устойчивости
|
Предельный сквозной ток
|
Ток термической устойчивости
|
|
РЛНД2-35/630
|
35
|
40,8
|
630
|
64
|
20
|
-
|
-
|
4
|
Таблица 2.5.
|
ТИП
|
Номинальное
напряжение ,(кВ)
|
Наибольшее
рабочее напряжение (кВ)
|
Номинальный ток, (кА)
|
Номинальный
ток отключения (кА)
|
Предельный
сквозной ток,
(кА)
|
Ток термической устойчивости,допустимое
время его действия (кА/с)
|
Предельное
время отключения (сек.)
|
|
Амплитудное
значение
|
Начальное действующее значение
|
|
ВБКЭ –10
|
10
|
10
|
1000
|
20
|
52
|
30
|
20/5
|
0,14
|
|
С-35М-630-10
ПП-67
|
35
|
35
|
630
|
10
|
26
|
10
|
10/5
|
0,08
|
Таблица 2.6.
|
Т И П
|
Назначение
|
Номинальное
напря жение, (кВ)
|
Наибольшее допустимое
напряжение, (кВ)
|
Пробивное
напряжение при частоте
50 Гц, (КВ)
|
|
не более
|
не менее
|
|
РВС-35
|
Для защиты от
атмосферных
перенапряжений
|
35
|
40,5
|
98
|
78
|
Таблица
2.7
|
ТИП
|
Номинальный ТОК шкафов, (А)
|
Номинальный ток шин, (А)
|
Тип
выключателя
|
Системашин
|
Номинальн.
напряжение, (кВ)
|
Вид ввода, (вывода)
|
Ток
динамической устойчивости (амплй-туд.значе-ние), (кА)
|
|
КРУ-6
|
1000
|
1000
|
ВВБКЭ-10
|
Одинарный
|
6
|
Шинный,
кабальный
|
52
|

2.10 Компенсация реактивной мощности
Основными потребителями реактивной
энергии на Шершнёвском месторождений являются асинхронные привода
технологических установок (станков-качалок, подсудных насосов, насосных
установок ДНС), а также силовые трансформаторы КTП 6/0,4кВ и линии
электропередач 6кВ.
Реактивная энергия, потребляемая
двигателями насосов и станков-качалок, компенсируется с помощью конденсаторных
батарей, установленных на стороне 0,4кВ в КТП. Остальная энергия компенсируется
на шинах 6кВ подстанции "Шершнёвская" путем перевозбуждения синхронных
двигателей насосной станции КНС, подключенных к шинам 6кВ подстанции. Для
компенсации реактивной мощности при неработающих синхронных двигателях на шинах
6кВ подстанции предусмотрены статические не регулируемые конденсаторные батареи
набранные из конденсаторов типа КС2-6,3-75.
Произведем расчет мощности необходимого
компенсирующего устройства. Расчет производим для максимального потребления
реактивной мощности.
Мощность компенсирующего устройства Qк.у
определяется как разность между реактивной максимальной мощностью предприятия
Qмах. и предельной реактивной мощностью Qэ,
предоставляемой предприятию энергосистемой по условиям режима ее работы:
Qк.у=Qмах.–Qэ=Р(tgφ–tgφэ),
где
Qмах.=Ptgφ(Мвар)
расчетная максимальная мощность
реактивной нагрузки предприятия в пункте присоединения к питающей
энергосистеме;
Qэ -
предоставляемая реактивная мощность;
tgφ
-
соответствующий коэффициенту мощности предприятия;
tgφэ=0,2
- установленный предприятию.
Cosφ=0,9

Из
таблицы 2.1.
Рмах.=4,804(МВт); Qмах.=2,85(Мвар)
Соответствующий тангенс равен tgφ=0,56
Окончательно определяем Qку:
Qку=4,804(0,56–2)=1,73(МВар)
Расчитаем
мощность генерируемую синхронным двигателем СТД–1600, по выражению:
Qмах.сд=αмах.*Рном*tgφном/ρном;
(квар), где
αмах.–коэффициент наибольшей
допустимой перегрузки СД по реактивной мощности, определяем по номограмме рис.
9.4. /4/, при
Ксд=0,6 – коэффициент загрузки и
Cosφ=0,9,
αмах. будет равен 0,68 ;
ρном.=0,94.
Qмах.сд=0,68*1600*0,48/0,94=555,6(квар)
Из
проведенного выше расчета вытекает следующее:
два, находящихся в постоянной работе
синхронных двигателя отрегулированные на генерацию реактивной энергии, равной
даже максимально генерируемой данным типом двигателей, не обеспечат
энергопотребителей реактивной энергией.
Для компенсации потребляемой реактивной
энергии принимаем к установке на каждую секцию шин 6кВ подстанции батарей
статических конденсаторов типа КС2-6,3-75, то есть устанавливаем два блока по
12 конденсаторов в каждом, суммарной мощностью 1800(квар).
2.11 Обоснование основных видов релейных
защит
Согласно ПУЭ, для трансформаторов с
обмоткой высшего напряжения 35кВ предусматриваем устройства релейной защиты от
следующих видов повреждений и ненормальных режимов работы:
1) Многофазных замыканий в обмотках и на
выводах.
2) Однофазных замыканий на землю в
обмотке и на выводах, присоединенных к сети с изолированной нейтралью.
3) Витковых замыканий в обмотках.
4) Токов в обмотках, обусловленных
внешним, коротким замыканием.
5) Токов в обмотках, обусловленных
перегрузкой.
6) Понижение уровня масла.
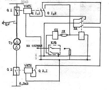
Газовая защита силового трансформатора.
Газовая защита применяется от
повреждения внутри бака трансформатора, сопровождающихся выделением газа и от
понижения уровня масла. Интенсивность газообразования зависит от характера,
размеров повреждения. Это дает возможность выполнить газовую защиту, способную
различать степень повреждения, и в зависимости от этого действовать на сигнал
или отключение / 2./
Основным элементом газовой защиты
является газовое реле, устанавливаемое в маслопроводе между баком и расширителем
трансформатора.
В настоящее время успешно используются
газовые реле типа РГ43-66 с чашкообразными элементами 1 и 2 ( рис. 2.6), эти
элементы выполнены в виде плоскодонных алюминиевых чашек, вращающихся вместе с
подвижными контактами 4 вокруг осей 3. Эти контакты замыкаются с неподвижными
контактами 5 при опускании чашек. В нормальном режиме при наличии масла в
кожухе реле чашки удерживаются пружинами 6 в положении указанном на рис.2.6.
Система отрегулирована так, что масса
чашки с маслом достаточна для преодоления силы пружины при отсутствии масла в
кожухе реле. Поэтому понижение уровня масла сопровождается опусканием чашек и
замыканием соответствующих контактов. Сначала опускается верхняя чашка и реле
действует на сигнал. При интенсивном газообразовании возникает сильный поток
масла и газов из бака в расширитель через газовое реле. На пути потока
находится лопасть 7, действующая вместе с нижней чайкой на общий контакт.
Лопасть поворачивается и замыкает контакт в цепи отключения трансформатора, если
скорость движения масла и газов достигает определенного значения,
установленного на реле. Предусмотрены три уставки срабатывания отключающего
элемента по скорости потока масла: 0,6; 0,9; 1,6(м/с). При этом время
срабатывания реле составляет
Tср.р= 0,05¸0,5(с).
Уставка по скорости потока масла
определяется мощностью и характером охлаждения трансформатора.
Монтаж газовой защиты связан
с выполнением некоторых требований ПТЭ: для беспрепятственного прохода газов в
расширитель должен быть небольшой подъем (I¸1,5%) у крышки
трансформатора и (2¸4%)
у маслопровода. От крышки к расширителю, нижний конец маслопровода, входящий
внутрь трансформатора, должен заделываться с внутренней поверхности крышки, а
нижний конец выхлопной трубы - вдаваться внутрь трансформатора; контрольный
кабель, используемый для соединения газового реле с панелью защиты при
промежуточной сборке зажимов, должен иметь бумажную, а не резиновую 
изоляцию, так как резина
разрушается под действием масла; действие газовой защиты на отключение
необходимо выполнить с самоудерживанием, чтобы обеспечить отключение
трансформатора в случае кратковременного короткого замыкания или вибрации
нижнего контакта газового реле, обусловленных толчками масла при бурном
газообразовании.

Рис.2.6
Рис.2.7.
В схеме защиты на переменном оперативном
токе рис. 2.7 самоудержание достигается путем шунтирования, нижнего контакта
газового реле КSQ верхним
замыкающим контактом реле К4. Самоудерживание автоматически снимается после
разрыва цепи отключения вспомогательным контактом QRI.2
выключателя QR.
Защита обладает высокой
чувствительностью и реагирует практически на все виды повреждений внутри бака:
- защищает трансформатор при
недопустимом понижении уровня масла по любым причинам;
Дифференциальная токовая защита
трансформатора.
Дифференциальный принцип позволяет
обеспечить быстродействующую защиту трансформатора, реагирующую на повреждения
в обмотках, на выводах и в соединениях с выключателями. Защита выполнена на
основе типового реле с магнитным торможением типа ДЗТ. На рис.2.8 показана
принципиальная схема защиты в однофазном исполнении с реле ДЗТ-II.
Реле ДЗТ-II имеет одну тормозную
обмотку, которая подключается к трансформаторам тока питаемой стороны. Такое
включение обеспечивает торможение только при внешних, коротких замыканиях. Ток
срабатывания защиты зависит от числа витков и значения тока тормозной обмотки.
Для отстройки защиты от бросков тока
намагничивания и от максимальных значений установившегося первичного тока
небаланса Iн.б.рас.мах. при
внешних,коротких замыканиях выбирается минимальный ток срабатывания защиты Iс.з.min
и число витков тормозной обмотки Wтр.н.
Отстройка от бросков тока намагничивания, когда ток в тормозной обмотке
отсутствует, достигается выбором I
с.з.min по условию:

Iс.з.min³Котс.Iт.ном.,
где,
Котс.=1,5 - коэффициент отстройки,
согласно /II/
Определение параметров дифференциальной
защиты силового трансформатора:
Определяем ток срабатывания защиты по
условию:
Iс.з.³1,5*Iт.ном.,
где,
Iт.ном. -
номинальный ток первичной (вторичной) обмоток трансформатора.
Рассчитываем Iт.ном.
по формуле:
Для стороны ВН: Iт.ном.=104(А);
Для стороны НН:Iт.ном.=577(А).таблца
2.8.
Ток срабатывания защиты для стороны ВН:
Iс.з.³1,5
* 104=156(А); принимаем Iс.з=160(А).
Ток срабатывания защиты для стороны НН:
Iс.з³1,5*577=865,5(А),
принимаем Iс.з.=865(А).
Рис.2.8.

Для
дифференциальной защиты трансформаторов с соединением обмоток трансформаторы тока
собираются по схеме, а коэффициент схемы для стороны ВН: К(3)= 3; для стороны
НН: К(3)=1.
Коэффициент трансформаций трансформаторов
тока:
Кт=КсхIт.ном.
/5/
Для стороны ВН: Кт= √ 3 *
104/5=36,03, примем с учетом перегрузки трансформатора, Кт=40.
Для стороны НН:
Кт=I*577/5=115,4,
принимаем Кт=120.
Вторичный ток в плечах защиты,
соответствующий номинальной мощности трансформатора по выражению:
I2ном=Ксх*Iт.ном./Кт;
А ,
На стороне ВН:
I2ном=
√3*104/40=4,5(А),
На стороне НН:
I2ном.
=I*577/120=4,8(А).
Рассчитываем ток срабатывания реле:
Iср.=Ксх*Iс.з./Кт;
А,
На стороне ВН: Iср.=3*160/40=6,93(А),
На стороне НН: Iс.р.=I*865/120=7,2(А).
Рассчитываем число витков обмотки НТТ
(насыщающийся трансформатор тока) реле для основной стороны защищаемого
трансформатора, за основную сторону принимаем сторону с наибольшим током
срабатывания, то есть сторону НН : Iсp.осн=7,2(А).
Число витков обмотки рассчитываем по
формуле:

где,
Fср.=100(А) -
магнитодвижущая сила срабатывания реле, согласно /2/
Принимаем предварительное число витков
для основной стороны:
Wосн.=14.
Рассчитываем число витков НТТ реле для
неосновной стороны по выражению:
Принимаем предварительное число витков
для неосновной стороны Wнеосн.=15
витков.
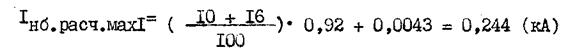
Определяем составляющую первичного тока
небаланса:
где,
Iк.вн.мах.=0,92(кА)
- ток к.з. на стороне ВН.
Определяем первичный ток небаланса, с
учетом составляющей
Iн.б.вр.I,
по формуле:
где,

Е=10%
номинальная погрешность трансформатора тока;
DUрег.=±16%
- погрешность регулирования напряжения.
Рассчитываем
число витков тормозной обмотки, обеспечивающих
отстройку
от максимального первичного тока небаланса.
где
Котс.=1,5, согласно /II/;
Wраб.-число
витков обмотки НТТ реле, на стороне к которой присоединена тормозная обмотка, Wраб.=14.
tga - тангенс угла
наклона к оси абцисс касательной, проведенной из начала координат к
характеристике срабатывания реле, соответствующей максимальному торможению,
(нижняя характеристика, на рис. 13.10(б) /II/
для реле ДЗТ-11 tga=0,75.
Принимаем Wтрм.=15
виткам, согласно /II/.
Рассчитываем уточненное значение тока
срабатывания реле на основной стороне:
Iср.осн.=Fср./Wосн.=100/14=7,14(А)
Определяем уточненное значение тока
срабатывания защиты на основной стороне:

с.з.=Iс.р.осн.*Кт.осн./К
сх.
так как за основную была принята сторона
НН, то Кт.осн.=120,
Ксх=1.
Iс.з.=7,14*120/1=856,8(А)
Определяем действующее значение
коэффициента отстройки:
Котс.=Iс.з/Iнб.расч.мах.=856,8/244=3,51
Котс.=1.3, условие выполняется,
следовательно принимаем для основной стороны число витков Wосн.=14
витков.
Рассчитываем значение коэффициента
чувствительности согласно условия:
где для дифференциальной
защиты трансформатора с соединением обмоток:
так как
Iс.з. на стороне НН.
На стороне ВН:
условие выполняется.
На стороне НН: Iк.min=2760(А);
Ксх.=√3 ,так как считаем на стороне НН.
Кч = √3*2760/(
3*856,8)=3,22>1,5, условие также выполняется.
Все подсчитанные выше величины сведены в
табл. 2.8.
Таблица 2,8.

Максимальная токовая защита (МТЗ) силового трансформатора.
Для защиты от внешних к.з. применяем МТЗ
с выдержкой времени. Защита содержит две ступени: одну - токовую отсечку без
выдержки времени, другую - максимально токовую защиту. Однолинейная схема
защиты приведена на рис. 2.8.
При срабатывании защита действует на
выключатели трансформаторов с обеих сторон через выходное промежуточное реле,
общее для всех защит трансформатора от повреждений.
Выбор параметров срабатывания.
Селективность отсечки обеспечивается
выбором ее тока срабатывания по выражению:
Iс.з =Котс. Iк.вн.мах.;
кА,
где,
Iк.вн.мах. -
максимальный ток к.з, на шинах 6,3кВ КРУ.
Котс.=1,2¸1,3
- коэффициент отстройки для реле, типа РТ-40 с промежуточным выходным реле.
Iс.з.=1,3*3,19=4,147(кА)
Сопротивление трансформатора достаточно
велико, поэтому при к.з. со стороны питания 35кВ ток повреждения значительно
превышает I к.вн.мах. - это дает
возможность использовать токовую отсечку без выдержки времени. Недостаток
отсечки без выдержки времени состоит в неполной защите трансформатора.
Для устранения этого недостатка токовая
отсечка дополняется МТЗ.
Ток срабатывания защиты определяется из
выражения:

Iс.з.=Котс.*
Ксз.п * Iраб.мах./кВ
где,
Ксз.п=2,5 коэффициент самозапуска;
Кв=0,8 - коэффициент возврата.
Iс.з.=1,3*2,5*156/0,8=633,75(А)
Выдержка времени принимается на ступень
больше максимальной
выдержки времени защит
предыдущих элементов.
Защита от перегрузок
Так как перегрузки обычно бывают
симметричными, поэтому защита от перегрузок выполнена одним реле тока,
включенным в цепь одного из трансформаторов тока защиты от внешних к.з.
Ток срабатывания реле определяется по
выражению:
Котс.=1,05 - учитывает только
погрешность в токе срабатывания.
Ic.p.=1.05*104/(0,8*40)=3,4(А)
Для отстройки от кратковременных
перегрузок и коротких замыканий предусмотрено реле времени. Выдержка времени
принимается на ступень селективности больше, чем время срабатывания защиты
трансформатора от внешних к.з.

2.12
Защита
отходящих линий 6,3кВ
На отходящих линиях 6,3кВ подстанции "Шершнёвская"
применяется токовая отсечка без выдержки времени и МТЗ с независимой выдержкой
времени.
Выбор тока срабатывания реле токовой
отсечки производим по выражению:
где
Котс.=1,2¸1,3
- коэффициент отстройки;
Kсх.=1 -
коэффициент схемы;
Iк.вн.мах. -
максимальный ток к.з. проходящий через реле;
Кт - коэффициент трансформации
трансформатора тока.
Ток срабатывания реле отходящих линий:
от фидера №12 Iс.р.=34(А)
от фидера №11 Iс.р.=22(А)
от фидера №8 Iс.р.=29(А)
от фидера №7 Iс.р.=19(А)
от фидеров №21; 22; 23 Iс.р.=36(А)
от фидеров №18; 2 Iс.р.=38(А)
Токовые защиты отходящих линий
реализованы на реле тока типа РТ-40 по схеме полная звезда (Ксх=1).
Произведем расчет параметров
максимальной токовой защиты.
Выбираем ток срабатывания защиты:
Iс.з =Котс.*
Ксз.п * Iном/Кв, где
Kотс. -
коэффициент отстройки;
Ксз.п.- коэффициент самозапуска
Ксз.п.=2,5;

Кв=0.8
- коэффициент возврата;
Iном. -
номинальный ток отходящей линии, А.
Iном.= ∑Sном./
√3 Uном.; А, где
Sном. - суммарная
номинальная мощность всех КТП, питающихся от данной линии;
Uном. -
номинальное напряжение линии.
Ток срабатывания реле защиты
определяется по формуле:
Определяем
коэффициент чувствительности по формуле:
где
Iк.min
- минимальный ток к.з. в самой удаленной точке, защищаемой линии, кА.
Определяем выдержку времени МТЗ:
tнез. =Dtр.в
+ tо.в + tзап
,
где
Dtр.в.
- погрешность реле времени;
tо.в. время
отключения выключателя;
tзап.- время
запаса, учитывающее неточность регулировки токового реле.
tнез.=0,06+0,1+0,1=0,26(сек.)
Результаты расчетов приведены в табл. 2.9.
|
|
 |
Таблица 2.9.
|
Наименование
величин
|
Фидера
21;22;23
|
Фидера
18; 2
|
Фидера
12
|
Фидера
11
|
Фядэра
8
|
Фидера
7
|
|
Номинальный
ток Iном.;А
|
172
|
45
|
39,5
|
64,5
|
24,1
|
55
|
|
Ток
срабатывания защиты, Iс.з.; A
|
700
|
183
|
160
|
262
|
98
|
223
|
|
Ток
срабатывания релеIc.p.; А
|
8
|
2,3
|
4
|
4,4
|
2,5
|
3,7
|
|
Коэффициент '
чувствительности Кч 1,5
|
2,9
|
12
|
6
|
3,6
|
8,4
|
3,7
|
2.13 Автоматизация
основных электропотребителей
Подстанция 35/6кВ
"Шершнёвская" оборудуется типовыми cxeмaми
защиты и управления, выполненными для комплектных подстанций и защищающими от
поврежцений и аварийных режимов как силовые трансформаторы, так и отходящие
линии 6,3кВ.
2.14 Защита от перенапряжений
Перенапряжениями называют такие
повышения, напряжения, которые представляют собой опасность для электрических
установок.
Различают два вида перенапряжений в
электрических установках: внутреннее и атмосферное.
Внутреннее перенапряжение возникает в
результате коммутаций, как нормальных (включение и отключение ненагруженных
линий, отключение ненагруженных трансформаторов), так и послеаварийных (дуговые
замыкания на землю в системах с изолированной нейтралью, отключения к.з., АПВ).
Эти перенапряжения воздействуют на изоляцию сравнительно кратковременно, но
значение их может превышать в несколько раз номинальное напряжение.
Атмосферные перенапряжения возникают в
результате разрядов молний в электроустановку или вблизи неё. Значения этих
перенапряжений при отсутствии специальных мер защиты может достигать миллионов
вольт.
Для защиты электроустановок от
внутренних перенапряжений применяем: вентильные разрядники типа РВО-6 на шинах
низкого напряжения, отключение с помощью масляных выключателей на стороне
высокого напряжения.
Перенапряжение, возникающее при
отключении ненагруженного трансформатора, гасятся молниезащитными разрядниками,
установленными на высокой стороне подстанции, пропускная
способность которых достаточна для того, чтобы рассеять энергию, выделяющуюся
при перенапряжениях этого вида.
Атмосферные перенапряжения в элементах
системы электроснабжения возникают как при прямом ударе молнии, так и при
разряде молнии в окрестности проводников (индуктированное перенапряжение).
Защита от прямых попаданий молнии в электроустановки рассмотрена ниже,
осуществляется молниеотводами. Однако применение молниеотводов полностью не
исключает поражение электроустановок молнией. Волны перенапряжения, возникающие
на линиях электропередач в результате ударов молнии, достигают подстанции
(набегающие волны) и представляют опасность для изоляции установленного там
оборудования. Перекрытие изоляции на подстанций, в большинстве случаев,
означает дуговое к.з. вблизи сборных шин, которое может привести к системным
авариям.
Основным аппаратом защиты от набегающих
волн является вентильный разрядник, у которого разрядное напряжение, напряжение
искрового промежутка не менее чем на 10% ниже гарантированной прочности
заземляемой изоляции при полном импульсе. На подстанции установлены разрядники
РВС-35.

2.15 Защита от молний
Молниезащита - комплекс защитных
устройств, предназначенных для обеспечения безопасности людей, сохранность
зданий и сооружений, оборудования и материалов от возможных взрывов, загораний
и разрушений, возникающих при воздействии молний.
Открытые распределительные устройства
подстанции 35кВ защищаются от прямых ударов молний отдельно стоящими
стержневыми молниеотводами.
Расчет молниеотводов заключается в определении
такой зоны защиты, которая бы охватывала все оборудование подстанции с учетом
его высоты.
Для защиты оборудования подстанции от
прямых ударов молний используется стержневой молниеотвод высотой 30 метров.
Определяем допустимое расстояние от молниеотвода
до конструкции подстанции при прямом ударе молнии по воздуху и по земле.
Ев=500(кв/м) - напряженность
электрического поля по воздуху;
Ез=300(кв/м) - напряженность
электрического поля по земле;
Im–ток молнии, кА.
По Пермской области значение составляет
1500(кА).
Rимп.=10(Ом) -
импульсное сопротивление заземления;
Uмаx.-амплитудное
импульсное напряжение.
h-высота
молниеотвода.

Определяем
зону защиты молниеотвода по формуле:
где
hx=7(м) -
защищаемого оборудования;
ha=h-hx=30-7=23(м)
- активная высота;
x - радиус
защитной зоны на уровне hx
; м.
Зона защиты с полученным радиусом
охватывает всю территорию подстанции и обеспечивает защиту всего оборудования.

2.16
Заземление
оборудования подстанции
Заземление - преднамеренное
гальваническое соединение металлических частей электроустановок с заземляющим
устройством. Заземление применяется для обеспечения электробезопасности при
замыкании токоведущих частей на землю и для обеспечения нормальных режимов
работы электроустановки.
Ввиду отсутствия в районе подстанции
естественных заземлителей принимаем в расчет только искусственные заземлители.
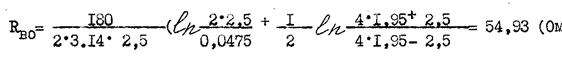
Сопротивление искусственного заземлителя определяется по выражению:
Rзм.=Uрасч./Iрасч.;
Ом,
где
Uрасч. -
расчетное напряжение на заземляющем устройстве по отношению к земле,
принимается равным 125(В), так как заземляющее устройство используется для
электроустановок напряжением выше I000(В)
с малыми токами замыкания на землю и для электроустановок с напряжением ниже I000(В);
Iрасч. -
расчетный ток заземляющего устройства замыкания на землю; А.
Для заземляющих устройств, к которым не
присоединены устройства компенсации емкостного тока, расчетный ток замыкания на
землю принимаем равным:

В
качестве расчетного сопротивления заземления принимаем
Rзм.расч.=4(Ом).
Эквивалентное удельное сопротивление
грунта на площадке подстанции составляет Р=100(Ом.м), табл. 8.1 /10/.
Определяем расчетное удельное
сопротивление грунта расч., с учетом повышающих коэффициентов, учитывающих
высыхание грунта летом и промерзания зимой.
По таблице 8,2 /10/ выбираем повышающие
коэффициенты для вертикальных и горизонтальных электродов.
Кп.в.=1,8; Кп.ч.=4,5
Расчетные удельные сопротивления
находим:
ρрacч.=100*Кп;
Ом,
ρрасч.в=
100*1.8=180(Ом); pacч.ч=100*4,5=450(Ом).
Определяем сопротивление растеканию
одного вертикального электрода - уголка №50 длиной 2,5 метра при погружении
ниже уровня земли на 0,7(м) по выражению:
dу.эк=0,95*В -
эквивалентный диаметр уголка;
В=0.05(м) – ширина стороны уголка;
d.у.эк.=0,95*0.05=0,0475
L- длина уголка,
м;
t - расстояние от
верхности земля до середины электрода, м ;
t=0,7+2,5/2=1,95(м)
Определяем
примерное количество вертикальных заземлителей при предварительно принятом
коэффициенте использования Ки.в.зм=0,74, выбранном по таблице 8.5 /10/ по
выражению:

n=R
в.о/(Ки.в.зм*Rи ), шт.; где
Rи - необходимое
сопротивление искусственного заземления ,Ом
n=54,93/(0,74*4)=18,56(шт.)
Следовательно, требуется не менее 19
вертикальных электродов.
Определяем сопротивление растеканию
горизонтальных электродов (полосы 30х4мм), которые соединяют вертикальные
электроды.
где
Ки.г=0,45 - коэффициент
использования горизонтальных электродов, определяется по таблице 8.6 /10/;
L=90(м)
- длина горизонтальных заземлителей по контуру заземления;
в=0,03(м) - ширина полосы;
t - расстояние от
поверхности земли до горизонтального заземлителя, м.
Уточняем необходимое сопротивление вертикальных электродов
с учетом проводимости горизонтальных соединений из выражения:
Уточняем число вертикальных электродов с
учетом коэффициента использования:
Окончательно принимаем 16
уголков.Дополнительно к контуру на территории устанавливается сетка из
продольных полос, расположенных на расстоянии 0,8¸1(м)
от оборудования, параллельно осям оборудования, на глубине 0,7(м). Продольные
полосы соединяются между собой на всей площади поперечными проводниками с шагом
не более 6(м).
Выравнивание потенциалов также осуществляется
у въезда на территорию электроустановки путем укладки двух полос с постепенным
заглублением на глубину 1 и 1,5(м) соответственно. Эти не учтенные
горизонтальные электроды уменьшают общее сопротивление заземления в
незначительной степени.
2.17 Контроль
состояния изоляции
Подстанция проектируется с малым током
замыкания на землю.В нормальных условиях напряжение всех трех фаз по отношению
к земле равны фазному напряжению. В случае металлического однофазного замыкания
на землю, напряжение поврежденной фазы относительно земля становится равным
нулю, а напряжение не поврежденных фаз увеличивается до междуфазного.
Междуфазные напряжения при этом не изменяются и работа электроприемников, не
нарушается. Через место повреждения протекает сравнительно небольшой ток. При
таком замыкании сеть может некоторое время (примерно 2 часа) оставаться в
работе. Длительная работа с замкнутой на землю фазой опасна, так как при пробое
на землю изоляции другой фазы, в сети возникает междуфазное к.з. Для контроля
такого состояния сетей предусматривается устройство контроля изоляции
относительно земли.
Контролирующее устройство выполняется
при помощи одного вольтметра и переключателя, присоединяемых к сборным шинам
6,3кВ КРУ через измерительный трансформатор напряжения типа НТМИ. Для
сигнализации однофазного замыкания на землю на вторичные обмотки
трансформатора, подключается реле максимального напряжения, а также вольтметр
контроля изоляции.
При нормальном режиме работы вольтметр
показывает равные по значению фазные напряжения. При глухом (металлическом)
замыкании
на землю одной из фаз, напряжение этой фазы относительно земли станет равным
нулю, а напряжения двух других фаз возрастут и станут междуфазными, что
отразится на показаниях вольтметра. Если замыкание на землю не будет глухим, то
напряжение поврежденной фазы уменьшится, а напряжение не поврежденных фаз
повысится в меньшей мере. Соответственно этому изменяются показания вольтметра
при переключениях.
3. Безопасность
жизнедеятельности
3.1 Общий анализ вредных и опасных факторов
При обслуживании подстанции 35/6кВ и
прилегающего к ней электрооборудования персонал в первую очередь подвергается
опасности поражения электрическим током.
Опасность электрического тока в отличие
от прочих опасностей усугубляется тем, что человек не в состоянии без
специальных приборов обнаружить напряжение дистанционно. Проходя через живые
ткани, электрический ток оказывает термическое электролитическое и
биологическое воздействие, что приводит к различным нарушениям в организме,
вызывая как местное поражение тканей и органов, так и общее поражение
организма.
Различают два вида поражения
электрическим током: электрический удар и местные электрические травмы, которые
резко отличаются друг от друга. Местными электрическими травмами являются:
ожоги, электрические знаки, электрометаллизация кожи, механические повреждения
и электроофтальмия.
В электроустановках напряжением 35кВ
возникает опасность характерная для данного уровня напряжения, ожоги могут
возникать и без непосредственного контакта с токоведущими частями, а лишь при
случайном приближении на опасное расстояние. Когда это расстояние меньше или
равно разрядному, возникает сначала искровой разряд, который переходит в
электрическую дугу.
Температура дуги достигает 4000С, кроме
того ткани человека нагреваются проходящим через них током. Это приводит к
ожогу. Под действием тока происходит резкое сокращение мышц, которое приводит к
разрыву дуги. Поскольку ток проходит через тело человека кратковременно,
нарушения дыхания и кровообращения может не наступить, однако полученные ожоги
весьма серьезны, а иногда и смертельны.
3.2 Мероприятия по предотвращению
поражения электрическим током
Проектируемая подстанция относится к
электроустановкам с напряжением выше 1000В, что требует соблюдения мер
электробезопасности, согласно правил техники безопасности.
Причины несчастных случаев можно
сгруппировать по следующим основным направлениям: квалификация персонала,
дисциплина и порядок на производстве, ответственность за полученное дело,
психологические факторы.
Исходя из
этого, выделяются основные причины, приводящие к электротравмам:
1)
Нарушение
технических мероприятий ПТБ.
2)
Нарушение
организационных мероприятий ПТБ.
Для устранения этих нарушений
предусматриваются:
1.
Организационные мероприятия /19/:
1)
Назначение
лиц, ответственных за безопасное ведение работ.
2)
Выдача
наряда или распоряжения в строго установленном порядке.
3)
Выдача
разрешения на подготовку рабочих мест и на допуск.
4)
Надзор
при выполнении работ.
5)
Оформление
перевода на другое рабочее место.
6)
Оформление
перерывов в работе и ее окончания.
2. Технические мероприятия /19; 20/:
Для подготовки рабочего места при
работе, требующей снятия напряжения, устанавливается следующий порядок
выполнения технических мероприятий:
а) производятся отключения и принимаются
меры, препятствующие ошибочному или самопроизвольному включению коммутационной
аппаратуры;
б) вывешиваются запрещающие плакаты на
приводах ручного и на ключах дистанционного управления коммутационной
аппаратуры;
в) проверяется отсутствие напряжения на
токоведущих частях, которые должны быть заземлены, для защиты людей от
поражения электрическим током;
г) устанавливается заземление
(включаются заземляющие ножи, используются переносные заземления);
д) ограждаются при необходимости рабочие
места или оставшиеся под напряжением токоведущие части и вывешиваются на
ограждениях плакаты безопасности. В зависимости от местных условий токоведущие
части ограждаются до или после их заземления.
При работе на токоведущих частях,
требующей снятия напряжения, отключаются:
1)
Токоведущие
части, на которых будет производиться работа.
2)
Неограждённые
токоведущие части, к которым возможно приближение людей на расстояние не менее
1 м на стороне 35кВ и не менее 0.6м на стороне 6,3кВ проектируемой подстанции,
механизмов и грузоподъемных машин на расстояние не меньше 1,5м на стороне 35кВ
и менее 1м на стороне 6,3кВ.
В электроустановках с напряжением свыше
1000В с каждой стороны, откуда коммутационным аппаратом может быть подано
напряжение на рабочее место, предусматривается видимый разрыв: отсоединение шин
и проводов; отключаются разъединители; снимаются предохранители; отключаются
отделители и выключатели нагрузок за исключением тех, у которых автоматическое
выключение осуществляется пружинами, установленными на самих аппаратах.
Трансформаторы напряжения и силовые
трансформаторы, связанные с выделенным для работы участком электроустановки,
отключаются и со стороны напряжения до 1000В для исключения возможной обратной
трансформации.
При подготовке рабочего места после отключения
разъединителей (отделителей) и выключателей нагрузки с ручным управлением,
необходимо визуально убедиться в их отключенном положении и отсутствии
шунтирующих перемычек.В электроустановках с напряжением выше 1000В для
предотвращения ошибочного или самопроизвольного включения коммутационных
аппаратов, которыми может быть подано напряжение к месту работы,
предусматриваются следующие меры:
1)
У
разъединителей, отделителей и выключателей нагрузки ручные приводы в
отключенном состоянии запираются на механический замок.
2)
У
разъединителей, управляемых оперативной штангой, специальные ограждения также
запираются механическим замком.
3)
У
приводов коммутационных аппаратов, имеющих дистанционное управление,
отключаются цепи силовые и управления.
4)
У
грузовых и пружинных приводов выключающий груз пружины приводятся в нерабочее
состояние.
5)
При
работе в отсеке шкафов КРУ тележка с оборудованием выкатывается, шторка отсека,
в котором токоведущие части остались под напряжением, запирается на замок и
вывешивается плакат "Стой! Напряжение!", в отсеке где предстоит
работать, вывешивается плакат "Работать здесь".
6)
При
работе вне КРУ на подключенном к ним оборудовании шин на отходящих ВЛ и КЖ
тележка с выключателем выкатывается из шкафа; шторка или дверца запираются на
замок и на них вывешивается плакат "Не включать! Работают люди!" или
" Не включать! Работа на линии!". При этом, допускается: при наличии
блокировки между заземляющими ножами и тележкой с выключателем, устанавливать
тележку в контрольное положение после включения этих ножей, при отсутствии
такой блокировки или заземляющих ножей в шкафах КРУ, тележка устанавливается в
промежуточное положение между контрольным и выкаченном положении, при условии
запирания ее на замок. Тележка устанавливается в промежуточном положении
независимо от наличия заземления на присоединении.
В электроустановках с напряжением до
1000В со всех сторон токоведущих частей, на которых будут проводиться работы,
напряжение снимается отключением коммутационных аппаратов с ручным приводом, а
при наличии в схеме предохранителей - снятием последних. При отсутствии в схеме
предохранителей, предотвращение ошибочных включений коммутационных аппаратов
обеспечивается такими мерами, как запирание рукояток или дверей шкафа, закрытие
кнопок, установка между контактами коммутационного аппарата изолирующих
накладок и т.д. При снятии напряжения коммутационным аппаратом с дистанционным
управлением включающая катушка отключается.
Расшиновка или отсоединение кабеля,
проводов при подготовке рабочего места выполняется слесарем из ремонтного
персонала, имеющим Ш группу до электробезопасности, под наблюдением дежурного
или работника из оперативно-ремонтного персонала. С ближайших к рабочему месту
токоведущих частей, доступных прикосновению, снимается напряжение, либо они
ограждаются.
Отключенное положение коммутационных
аппаратов до 1000В с недоступными для осмотра контактами определяется проверкой
отсутствия напряжения на их зажимах, либо на отходящих шинах, проводах или
зажимах оборудования, включаемого этим коммутационным аппаратом.
На приводах разъединителей, отделителей
и выключателей нагрузки, на ключах и кнопках дистанционного управления, на
коммутационной аппаратуре до 1000В не имеющих автоматов, выключателей или
рубильников, плакаты вывешиваются у самих предохранителей.
На приводах разъединителей, которыми
отключена для работ ВЛ или КЛ, независимо от числа работающих бригад
вывешивается один плакат "Не включать! Работа на линии!". Этот плакат
вывешивается и снимается по указанию работника, который дает распоряжения на
подготовку рабочих мест и ведет учет численности работающих на линии бригад.
Для временного ограждения токоведущих
частей, оставшиеся под напряжением применяются шиты, ширмы и т.п.,
изготовленные из дерева или других изоляционных материалов. На временные
ограждения наносятся надписи "Стой! Напряжение!" или укрепляются
соответствующие плакаты.
В ОРУ при работах, проводимых с земли и
на оборудовании установленном на фундаментах и отдельных конструкциях, рабочее
место ограждается канатом, веревкой или шнуром из растительных или
синтетических волокон с вывешенным на них плакатом "Стой!
Напряжение!", обращенным внутрь огражденного пространства. Разрешается
пользоваться для подвески каната конструкциями, не включенными в зону рабочего
места, при условии, что они остаются вне огражденного пространства. При снятии
напряжения со всего ОРУ, за исключением линейных разъединителей, последние
ограждаются плакатами с надписями "Стой! Напряжение!", обращенными
наружу огражденного пространства. В ОРУ, при работе на вторичных цепях по
распоряжению, ограждать рабочее место не требуется. В электроустановках, кроме
ВЛ и КЛ, на подготовленных рабочих местах вывешивается плакат "Работать
здесь". В ОРУ на участках конструкции, по которым можно пройти от рабочего
места к граничащим с ним участком, находящимся под напряжением, устанавливаются
хорошо видимые плакаты "Стой! Напряжение!". На конструкциях,
граничащих с той, по которой разрешается подниматься, внизу вывешивается плакат
"Не влезай! Убьет!". На стационарных лестницах и конструкциях по
которым разрешено подниматься для проведения работ, вывешивается плакат
"Влезать здесь".
Не допускается убирать или переставлять
до полного окончания работ плакаты и ограждения, установленные при подготовке
рабочих мест.
Проверка отсутствия напряжения
осуществляется указателем напряжения, исправность которого перед применением
проверяется с помощью прибора или приближением к токоведущим частям,
находящимся под напряжением. В электроустановках с напряжением выше 1000В
указателем напряжения пользуются в диэлектрических перчатках. В
электроустановках 35кВ и выше для проверки отсутствия напряжения используется
изолирующая штанга. Признаком отсутствия напряжения является отсутствие
искрения и потрескивания при прикосновении ею несколько раз к токоведущим
частям. Заземление на токоведущие части устанавливаются непосредственно после
проверки отсутствия напряжения. В электроустановках выше 1000В заземляются
токоведущие части всех фаз отключенного для работ участка со всех сторон,
откуда может быть подано напряжение, за исключением отключенных для работ
сборных шин, на которые достаточно установить одно заземление.
Заземленные токоведущие части отделяются
от токоведущих частей, на которых непосредственно ведется работа, отключенными
выключателями, разъединителями, демонтируемыми шинами или проводами.
Непосредственно на рабочем месте заземление на токоведущие части дополнительно
устанавливается в тех случаях, когда эти части могут оказаться под наведенным
напряжением. Присоединяются переносные заземления к токоведущим частям в местах
очищенных от краски.
В электроустановках до 1000В при работах
на сборных шинах распределительных устройств, щитов, сборок напряжение
снимается с шин, и шины (за исключением шин выполненных изолированным проводом)
заземляются.
Допускается временное снятие заземления
установленного при подготовке рабочего места, если это требуется по характеру
выполняемых работ (измерение сопротивления, изоляции и т.п.). Временное снятие
и последующая установка заземления выполняется дежурным, оперативно-ремонтным
персоналом, либо по указанию выдающего наряд производителем работ. Разрешение
на временное снятие заземления, а также на выполнение этих операций выдается
производителем работ, вносится в строку наряда "отдельные указания" с
записью о том, где и для какой цели снимается заземление.
В электроустановках, конструкция которых
такова, что установка заземления опасна или невозможна (например в некоторых
распределительных ящиках КРУ отдельных типов, сборках с вертикальным
расположением фаз), при подготовке рабочего места заземление не
устанавливается, а надеваются диэлектрические колпаки на ножи разъединителей
или устанавливаются прокладки между контактами коммутационных аппаратов.
В электроустановках до 1000В операции по
установке и снятию заземлений выполняются одним работником с группой Ш из
дежурного или оперативно-ремонтного персонала.
В электроустановках выше 1000В
переносные заземления устанавливаются двумя работниками: один с группой 1У (из
дежурного или оперативно-ремонтного персонала), другой с группой Ш. Заземляющие
ножи включаются одним работником с группой IУ
из дежурного или оперативно-ремонтного персонала. Отключаются заземляющие ножи
и снимаются переносные заземления одним человеком с группой Ш из дежурного или
оперативно-ремонтного персонала.
3.3 Безопасное ведение монтажных работ
на подстанции
Кроме соблюдения правил ТБ при
эксплуатации проектируемой подстанции, предусматриваются меры безопасности при
электромонтажных и наладочных работах на данной подстанции.
При проведении электромонтажных работ в
РУ предусматриваются следующие правила /21/:
1)
Подъем,
перемещение и установка разъединителей и других аппаратов рубящего типа
производится в положении "включено", а аппаратов, снабженных
возвратными пружинами или механизмами свободного расцепления в положении
"отключено".
2)
При
регулировании выключателей и разъединителей, соединенных с проводами,
принимаются меры для предотвращения самопроизвольного или непредвиденного
включения или отключения последних.
3)
Проверка
одновременности включения контактов масляного выключателя выполняется при
напряжении не выше 12В.
4)
При
работе на трансформаторе тока зажимы вторичных обмоток до полного окончания
работ замыкаются накоротко непосредственно на зажимах трансформатора и
заземляются; все выводы трансформаторов напряжения закорачиваются и заземляются
на все время монтажа.
5)
Не
допускается прокладка временных ВЛ для освещения, сигнализации
и других целей над монтируемыми токоведущими частями открытых РУ.
6)
При
работах на вновь монтируемых ОРУ спуски от линии электропередач у концевых опор
или на вводных порталах закорачиваются и заземляются.
7)
При
работах в действующем или расширяемом ОРУ, в случае обнаружения соединений с
"землей" какой-либо токоведущей части установки, до отключения поврежденного
участка, приближаться к месту повреждения на расстояние менее 10 метров для
линии до 220кВ, запрещается.
8)
При
тумане, сильном ветре (>12м/с), приближении грозы и во время грозы все
работы по монтажу ОРУ прекращаются.
При ведении пуско-наладочных работ (ПНР)
предусматриваются следующие требования /21/:
а) до начала ПНР на РУ все питающие и
отходящие к другим подстанциям линий отсоединяются от оборудования,
закорачиваются и заземляются;
б) на время производства ПНР
закорачиваются и заземляются токоведущие части, на которые может быть подано
напряжение путем обратной трансформации, от постороннего источника питания или
на них может появиться наведенное напряжение; снимать закорачивающие перемычки
и заземление разрешается только на время испытаний и измерений;
в) до начала ПНР на коммутационных
аппаратах в целях предотвращения их ошибочного включения или отключения
выполняются следующие действия: приводятся в нерабочее состояние пружины
коммутационных аппаратов, выключающие грузы или пружины приводов; отключаются
рукоятки ручного включения электромагнитных, пружинных и других приводов;
г) не допускается одновременная работа в
приводах и на коммутационных аппаратах;
д) при измерении времени включения и
отключения коммутационного аппарата применяются меры против подачи, напряжения
в первичные цепи;
е) все выводы трансформаторов на время
ПНР закорачиваются и заземляются; снимать закорачивающие перемычки и заземления
с выводов трансформатора разрешается только на время испытаний и измерений;
ж) не допускается находиться на крыше
силового трансформатора во время проверок и измерений, связанных с подачей
напряжения;
з) при выполнении работ по наладке
трансформаторов на высоте более 1,3м предусматривается выполнение требований §
3,1 /21/.
Подстанция 35/6,3кВ
"Шершнёвская" состоит из ОРУ-35кВ и КРУН-6,3кВ, которые
эксплуатируются на открытом воздухе и приравниваются к электроустановкам,
эксплуатирующимся в особо опасных условиях, так как в зависимости от погоды
возможны повышенная температура, проводящий "пол" (открытый сырой
грунт) и особая сырость.
Поэтому применяются следующие
технические защитные меры:
1.
Обеспечение
недоступности токоведущих частей.
2.
Защитное
заземление (см.раздел 2.10).
3.
Защитное
отключение (см.раздел 2.6).
4.
Молниезащитные
сооружения (см.раздел 2.9).
4. Экономическая часть
4.1 Технико-экономическое обоснование
выбора силовых трансформаторов
По
результатам расчетов полученным в специальной части дипломного проекта сумарная
расчетная мощность электроприемников месторождения составила = 4245кВА.,
поэтому возникла необходимость рассмотреть два варианта выбора трансформаторов
при двух разных режимах работы.
Для определения экономически
целесообразного режима работы трансформаторов и выбора наилучшего варианта
установки силовых трансформаторов используем метод срока окупаемости, лет /4/.
Сэ1
и Сэ2 - ежегодные эксплуатационные расходы в первом и втором вариантах, тыс.
руб/год.
Технические данные трансформаторов
вариантов 1 и 2 приведены в табл. 4.1.
Таблица 4.1.
|
Тип
трансформатора
|
Мощност,
|
ВН кВ
|
ННкВ
|
Потери, кВт
|
Uк%
|
I%
|
Цена,
тыс. руб
|
|
DРх
|
DРк
|
|
 ТОН
|
4000
|
35
|
6,3
|
5,7
|
33,5
|
7,5
|
1
|
85,5
|
|
     ТМ
|
6300
|
35
|
6,3
|
8
|
46,5
|
7,5
|
0.9
|
75,4
|
Капитальные вложения определяем по
выражению:
К=N*Ктр*Км*Ки
, где
N
-
число трансформаторов, шт;
Ктр - стоимость трансформатора,
тыс.руб.;
Км - 1.05 - коэффициент расходов на
монтаж;
Ки – 14 - принятый коэффициент
индексации.
Вариант 1
K1=2*85,5*14*1.05=2513,7(тыс.руб.)
Вариант 2
K2=2*75,4*14*1,05=2216,8(тыс.руб.)
Определяем годовые потери электроэнергии
в трансформаторах. Для этого строим годовой график нагрузок, по материалам
/I0/. График приведен на рис 4.1.
Расчет годовых потерь электроэнергии в
трансформаторах первого и второго варианта производим для каждой ступени
графика нагрузок, и сводим в табл.4.2.
Потери мощности в трансформаторах
определяем по выражениям:
где
- приведенные потери
трансформатора, кВт:
где


- приведенные потери
холостого хода трансформатора, учитывающие потери активной мощности в самом
трансформаторе и создаваемые им в элементах всей схемы электроснабжения в
зависимости от реактивной мощности, потребляемой трансформатором;
Рис 4.1
где
-
приведенные потери короткого замыкания;
Кип
- коэффициент изменения потерь для трансформаторов, присоединенных
непосредственно к шинам подстанции

Кип=0,05кВт/Квар./10/;
K3 - коэффициент загрузки
трансформатора;
Qх
= Sном.т. *
,квар


- реактивная мощность
холостого хода трансформатора;
= Sном
*
, квар.
- реактивная мощность
короткого замыкания трансформатора;
- ток холостого хода
трансформатора, %;
- напряжение короткого
замыкания трансформатора, % ;
Определяем потери мощности:
Вариант I.
Определяем приведенные потери в одном
трансформаторе 6,3MВA:


Определим приведенные потери в
параллельно работающих трансформаторах по выражению:
-
число параллельно работающих трансформаторов;



Второй
вариант:
Приведенные
потери в одном трансформаторе:
Приведенные потери в трансформаторах
работающих параллельно:
Рассчитываем нагрузку, при которой
необходимо переходить на параллельную работу трансформаторов:
,МВА

Вариант
1:


Вариант 2:
Расчеты
по определению годовых потерь мощности и энергии сведены в табл. 3.2.
Таблица
3.2.
|
 №
   ступени
|
Нагрузка кВа
|
Кз
|
Кз/2
|
Продолжительность
ступени нагрузки
|
потери
мощности в тран
|
Потери
электроэнер в трансфор
|
|
Вариант 1:
|
|
1
|
5300
|
-
|
0,21
|
1500
|
24,8
|
37200
|
|
2
|
5800
|
-
|
0,23
|
3600
|
25,4
|
91440
|
|
3
|
6000
|
-
|
0,24
|
700
|
25,7
|
17990
|
|
4
|
6200
|
-
|
0,245
|
1500
|
25,9
|
38850
|
|
4
|
6600
|
-
|
0,26
|
1500
|
26,4
|
39600
|
|
=225080
|
|
Вариант 2:
|
|
1
|
5300
|
-
|
0,31
|
1500
|
22,7
|
34050
|
|
2
|
5800
|
-
|
0,34
|
3600
|
23,7
|
85320
|
|
3
|
6000
|
-
|
0,35
|
700
|
24,2
|
16940
|
|
4
|
6200
|
-
|
0,38
|
1500
|
25,8
|
38700
|
|
5
|
6600
|
-
|
0,4
|
1500
|
26,6
|
39900
|
|
ВСЕГО за год : DЭач=215000кВт/ч/год.
|
Проведем технико-экономическое
составление вариантов трансформаторов:
При эксплуатации трансформаторных
подстанций можно выделить четыре статьи расходов:
1.
Заработная
плата обслуживающего персонала.
2.
Годовые
амортизационные отчисления.
3.
Потери
электроэнергии в самих трансформаторах.
4.
Расходы
на горюче-смазочные материалы.
При рассмотрении вариантов
трансформаторов расходы на зарплату и горюче-смазочные материалы будут
одинаковы для обоих видов трансформаторов, поэтому при расчетах будем учитывать
только переменные расходы, то есть потери электроэнергии в трансформаторах и
амортизационные отчисления.
Вариант 1:
Капитальные затраты К1=2513,7(тыс.руб.)
Годовые амортизационные расходы:
Са1=φ*К1=0,125*2513,7=314,2(тыс.руб)
φ=0,125 - нормативный коэффициент
амортизационных отчислений.
Стоимость потерь электроэнергии
определяем из выражения:
Сп1=Со*DЭа1, где
С0=67(коп./кВт.Ч) - стоимость
электроэнергии по АО "Пермьэнерго"
Сп1=0,67*225080=150,8(тыс.руб.)
Сумарные годовые расходы:
Сэ1=Са1+Сп1=314,2+150,8=465,0(тыс.руб.)
Вариант 2:
К2=2216,8(тыс.руб.)
Са2=0,125*2216,8=277,1(тыс.руб.)
Сп2=0,67*215000=144,05(тыс.руб.)
Сэ2=277,1+144,05=421,15(тыс.руб.)
Результаты расчетов сводим в таблицу:
Табл.4.2.
|
Наименование
|
I вариант
|
II вариант
|
|
Тип
|
ТМ
|
ТМ
|
|
Напр. ВН (кВ)
|
35
|
35
|
|
Напр.НН (кВ)
|
6,3
|
6,3
|
|
Цена
(тыс.руб.)
|
85,5
|
75,4
|
|
Кап.вложения(тыс.руб.)
|
2513,7
|
2216,8
|
|
Потери
электроэнергии(кВт/ч/год)
|
225080
|
215000
|
|
Годовые
амартизационные расходы (тыс.руб.)
|
314,2
|
277,1
|
|
Стоимость
потерь электроэнергии(тыс.руб.)
|
150,8
|
144,05
|
|
Сумарные
годовые расходы(тыс.руб.)
|
465,0
|
421,15
|
По эксплуатационным затрам оба варианта
практически равноценны, но по капитальным затратам К2<К1,
поэтому окончательно принимаем решение к установке трансформатора ТМ-6300.
3аключение
В специальном разделе диплома
разработаны комплексные мероприятия по созданию электрической подстанции 35/6кВ
"Шершнёвская" ЗАО" Лукойл-Пермь".
Ввод в эксплуатацию подстанции позволит
полностью обеспечить электроэнергией все группы токоприемников месторождения, а
также обеспечит экономичность и эффективность работы самой подстанции и
электрических сетей всего месторождения.
В специальной части диплома произведен
выбор и проверка систем, оборудования и защит подстанции:
-
рассмотрены
два варианта силовых трансформаторов. На основе технико-экономических
показателей вариантов, выбран вариант с мощностью силовых трансформаторов по
6,3МВА каждый;
-
произведен
выбор и проверка защит силовых трансформаторов, а также проверка всех релейных
защит подстанции;
-
произведен
расчет компенсирующих устройств, устройств молниезащиты и заземления.
На основании приведенных расчетов в
данном дипломном проекте можно сделать вывод:
Создание подстанций 35/6кВ
"Шершнёвская" позволит полностью обеспечить электроэнергией всех
электропотребителей Белопашинской группы месторождений.
Применение двух силовых трансформаторов
мощностью по 6,3МВА каждый позволит выполнить дальнейшее расширение работ по
добыче нефти, без реконструкции подстанции.
Литература
1.
Технология
и оборудование добычи нефти и газа. М., 1991 г.
2.
А.
М. Иванов. Основы технологии добычи нефти и газа. М., 1989 г.
3.
Правила
устройства электроустановок. М., 2000 г.
4.
А.А.
Федоров, Л.Е. Старкова. Учебное пособие для курсового и дипломного
проектирования. М., 1987 г.
5.
Справочник
по электроснабжению промышленных предприятий. Электрооборудование и
автоматизация. Под редакцией А.А. Федорова. М., 1981 г.
6.
Пособие
к курсовому и дипломному проектированию для электроэнергетических
специальностей. Под редакцией В.М. Блок., М.,1981г.
7.
Б.Н.
Неклепаев, И.П. Крючков. Электрическая часть электростанций и подстанций.
Справочные материалы для курсового и дипломного проектирования. М., 1989 г.
8.
Указания
по проектированию электроснабжения промышленных предприятий. М., 1976 г.
9.
Справочник
по электрическим установкам высокого напряжения. Под редакцией И.А. Баумштейна.,
М. ,1981 г.
10.
Справочник
по электроснабжению промышленных предприятий. Промышленные электрические сети.
Под редакцией А.А.Федорова. М., I980 г.
11.
В.А.
Андреев. Релейная защита и автоматика систем электроснабжения. М., 1991 г.
12.
А.М.
Авербух. Релейная защита в задачах с решениями и примерами. Л., 1975 г.
13.
Л.Н.
Баптиданов, В.И.Тарасов. Электрические станции и подстанции.,М., 1969 г.
14.
Электрическая
часть станций и подстанций. Под редакцией А.А. Васильева. М., 1990 г.
15.
К.Н.
Кулизаде. Электроэнергетика насосной нефтедобычи. М., 1971 г.
16.
А.А.
Богданов. Погружные центробежные насосы для добычи нефти. М., 1976 г.
17.
Справочник
по проектированию электрических сетей и электрооборудования. В.И. Круповича.М.,
1981 г.
18.
Охрана
труда в электроустановках. Под редакцией Б.А. Князевского., M.I983
г.
19.
Правила
техники безопасности при эксплуатации электроустановок. М, 1989 г.
20.
Правила
технической эксплуатации электрических станций и сетей. М., 1989 г.
21.
Правила
техники безопасности при электромонтажных и наладочных работах. М., 1992 г.