|
Номер тока
|
1
|
2
|
3
|
4
|
5
|
6
|
7
|
8
|
|
Значение тока, mA
|
11
|
-16
|
2
|
7
|
-9
|
-10
|
6
|
2
|
Пункт
2.
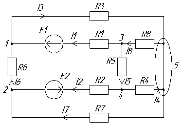
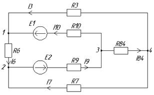
Рассчитаем токи в исходной схеме по методу контурных токов. Количество
уравнений для данного метода равно количеству уравнений для второго закона
Кирхгофа, которое было подсчитано ранее. Исследуемая принципиальная схема
содержит 4 контура, в которых действуют 4 контурных тока, направления которых
показаны на рис. 3.
Рис. 3.
Условные положительные направления контурных токов
Учитывая эти
положительные направления можно записать систему уравнений по методу контурных
токов в общем виде:

Собственные
сопротивления контуров:
Общие
сопротивления контуров:
Контурные Э.Д.С.:
Матрицы,
составленные по представленным данным имеют вид:
Решив
систему, получим:
Зная
контурные токи, находим токи в ветвях:
Сравнивая
значения токов, полученные методом контурных токов и методом уравнения
Кирхгофа, видим, что они практически совпадают.
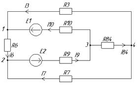
Пункт
3.
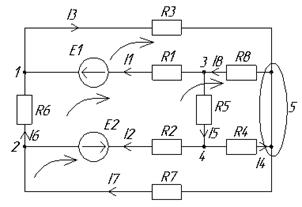
Рассчитаем токи методом узловых напряжений. Схема с нумерацией узлов и
условными положительными направлениями узловых напряжений показана на рис. 4.
Рис. 4.
Направления узловых напряжений.
Анализируемая
схема содержит четыре независимых узла, значит количество уравнений будет равно
количеству уравнения первого закона Кирхгофа, а общий вид системы для
определения узловых напряжений будет таким:

Собственные
проводимости узлов:
Общие
проводимости узлов:
Узловые токи:
Матрицы имеют
вид:
Решив
систему, получим:
Зная узловые
напряжения, найдем токи ветвей. Для этого воспользуемся вторым законом
Кирхгофа:
Найденные
токи совпадают с рассчитанными ранее другими методами.
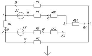
Пункт
4. Преобразование
заданной схемы в трёхконтурную.
Рис. 5. Преобразование заданной
схемы в трёхконтурную
Изменяются
параллельно соединённые участки цепи одним эквивалентным.
Пункт
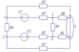
5. Рассчитаем
токи в исходной схеме по методу контурных токов. Схема содержит три независимых
контура с тремя контурными токами, она изображена на рис. 6.
Рис. 6.
Нахождение тока в преобразованной цепи
Необходимо
составить систему уравнений для первого и второго уравнения Кирхгофа.
Составляем
матрицу для получения нужных токов.
Получаем
искомые токи:
Пункт
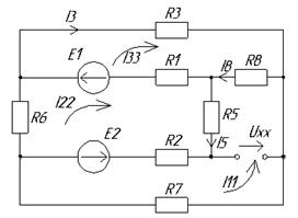
6. Расчёт
тока в заданной ветке методом эквивалентного генератора.
После разрыва
исследуемой ветви схема примет вид, показанный на рис. 7.
Рис. 7.
После разрыва
ветви
схема упрощается: резисторы
теперь образуют одну ветвь с током
.
Рассчитаем
напряжение холостого хода, составив уравнение второго закона Кирхгофа:
.
Для того,
чтобы рассчитать
, необходимо знать токи знать
токи
и
.
После разрыва
схема содержит 3 независимых
контура и 4 независимых узла. Поэтому рассчитаем токи методом контурных токов.
Система уравнений в общем виде будет такой:
Собственные
сопротивления контуров:
Общие
проводимости узлов:
Узловые токи:
Матрицы имеют
вид:
,
Ее решение:
Искомые токи
Теперь можно
найти
:
Для расчета
исключим из схемы источники энергии,
оставив их внутренние сопротивления. Для этого имеющиеся в схеме источники
напряжения необходимо замкнуть накоротко. Схема без источников имеет вид (рис. 8):

В
принципиальной схеме резисторы
,
и
соединены
треугольником. Заменим это соединение эквивалентной звездой
,
,
. Имеем:
После замены
схема имеет вид (рис. 9):
Рис. 9.
Проведём
нужные преобразования ещё раз:
Рис. 10.
После
сделанных преобразований мы имеем еще один условный треугольник
,
Рис. 11.
Эквивалентное
сопротивление генератора можно найти следующим способом:
Для проверки
правильности расчетов определим по формуле эквивалентного генератора ток в
ветви с
в исходной схеме:
Этот ток
практически совпадает с найденным ранее, что свидетельствует о буквальной
правильности вычислений.
|
Ток
|
Метод уравнений закона Кирхгофа
|
Метод контурных токов
|
Метод узловых напряжений
|
Метод уравнений Кирхгофа для
преобразованной схемы
|
Метод эквивалентного генератора
|
|
I1
|
0,11
|
0,11
|
0,11
|
|
|
|
I2
|
-0,16
|
-0,16
|
-0,12
|
|
|
|
I3
|
0,02
|
0,02
|
0,02
|
-0,02
|
|
|
I4
|
-0,07
|
-0,07
|
0,07
|
-0,1
|
-0,07
|
|
I5
|
-0,1
|
-0,1
|
-0,1
|
|
|
|
I6
|
-0,01
|
-0,01
|
-0,01
|
0,01
|
|
|
I7
|
0,06
|
0,06
|
0,06
|
0,06
|
|
|
I8
|
0,02
|
0,02
|
0,02
|
|
|
|
I9
|
|
|
|
0,15
|
|
|
I10
|
|
|
|
0,11
|
|