Проектирование первичной сети связи на железнодорожном участке
Введение
Основу телефонной связи
относят к 1876 году, когда американец А.Г. Белл изобрел телефон и представил
его в виде трубки, внутри которой помещался отрицательный стержневой магнит с
обмоткой, и перед его полюсом размещалась тонкая железная пластинка – МЕМБРАНА.
Для двухсторонней передачи надо было две таких трубки. Данная конструкция не
обеспечивает передачу информации на большие расстояния.
В 1879 году русский
инженер М.К. Махальский сконструировал угольный стержневой микрофон, который
затем был продемонстрирован П.М. Голубицким. Основными элементами этого
микрофона были: корпус, камера с угольным порошком, неподвижный электрод,
подвижная мембрана.
Для работы микрофона к
нему подключали батарею, за счет чего и происходило преобразование звука в
электрический сигнал. Дальнейшее усовершенствование конструкции микрофона и
схем телефонной связи обусловило создание схем местной и центральной батарей. А
дальнейшее развитие телефонии и заинтересованность в этом правительства привели
к созданию коммутационных установок, которые соединяли между собой абонентов.
Ученые связисты
постоянно выдвигали идеи автоматизации процесса соединения на телефонных
станциях. И первые такие станции появились 1895-1896 годах с применением
щеточных искателей. Основная идея этого принадлежит англичанину А.Б. Строуджеру,
который изобрел шаговый искатель, и в 1892 году в США появилась первая АТС шаговой
системы, которая была построена на базе электромеханических коммутационных
приборов.
Основными недостатками
этих приборов являлись:
1)
Сложность
конструкции искателей и их низкая надежность.
2)
Большие
эксплуатационные расходы, связанные с постоянным дежурством обслуживающего
персонала.
3)
Низкая
скорость установления соединений
4)
Высокие
помехи вследствие искрения контактов при работе искателей.
Второе поколение АТС –
это координатные АТС - АТСК. В них стали применять более надежные,
быстродействующие коммутационные приборы МКС (многократные координатные
соединители), что позволило реализовать принцип централизации управления
процессов коммутации на базе не индивидуальных, а групповых устройств, что
позволило создать наиболее экономичные и надежные АТС, сократить
эксплуатационные расходы и осуществить постепенный переход на электронные АТС,
так как электроника к этому времени получает бурное развитие, и появляются
быстродействующие электромагнитные приборы – ГЕРКОНЫ, ФЕРРИДЫ и т.д.
В то же время получило
развитие ЭВМ (электро-вычислительные машины), что в свою очередь позволило
осуществлять программное управление процессами коммутации, и то есть появились
АТС третьего поколения – Электронные АТС.
Квазиэлектронные АТС –
АТСКЭ, явились четвертым поколением АТС. Это были АТС, которые в основе
коммутации использовали микроэлектронику и контактные приборы герконы. В
результате чего повысилась надежность АТС, уменьшились габариты, сократились
эксплуатационные расходы и появились дополнительные виды обслуживания - ДВО.
Пятым поколением АТС
явились цифровые АТС – АТСЦ. В них все коммутационные приборы выполнены на
основе электронных приборов, но прорывом коммутационной техники с появлением
этих АТС является то, что появились новые методы коммутации каналов. До этого
был только пространственный метод коммутации каналов, а теперь появились
методы:
-
частотной
коммутации
-
Временной
коммутации
-
Пространственно-временной
коммутации.
И, следовательно,
постепенно был осуществлен переход на, так называемые, цифровые АТС.
АТСЦ позволили
существенно изменить не только коммутационное поле, но и управляющее
оборудование станций. Вместо сложных ЭВМ появились более простые
микропроцессоры, за счет которых получает распространение не централизованное,
а децентрализованное программное управление. И важным преимуществом АТСЦ
является то, что они позволили выполнять многие функции коммутации, как,
например:
- уплотнение (выделять
Е0, Е1),
- функции
диспетчерского управления (проводить конференцсвязи),
- а так же значительно
сократились габариты, появилась возможность наращивать емкость при
незначительном увеличении габаритов.
И, в принципе, почти
отсутствуют эксплуатационные расходы, так как они надежны в работе и не требуют
постоянного контроля за их работой. А за счет передачи информации в цифровом
виде увеличивается качество передачи информации.
Стало возможным
преобразование цифрового сигнала в оптический, и передача этого сигнала по
волоконно-оптическому кабелю, который преобладает рядом преимуществ перед
медно-жильным кабелем.
1.
Структурная
схема местной телефонной сети на железнодорожном транспорте
В настоящее время на
ведомственных телефонных сетях МПС широко внедряются цифровые АТС как
отечественного, так и зарубежного производства. Цифровые АТС имеют варьируемую
в широких пределах легко наращиваемую емкость, от малых АТС, до 50 номеров, до
крупных АТС и УАК, емкостью, свыше 2000 номеров. Современные цифровые АТС имеют
сегодня возможность реализации функций ISDN, которые в будущем должны найти
свое применение на железнодорожном транспорте. Кроме того цифровые АТС
отличаются высокой надежностью и меньшими эксплуатационными затратами по
сравнению с аналоговыми АТС предыдущих поколений.
1.1 Особенности
организации телефонной связи на железнодорожном транспорте
Телефонные станции
местной телефонной сети ж. д. транспорта (ЖАТС) должны обеспечивать абонентов
данного административного пункта железной дороги следующими видами связи:
• внутреннюю
автоматическую телефонную связь между абонентами ЖАТС;
• автоматическую связь
абонентов ЖАТС по специальным линиям со спецслужбами железной дороги;
• автоматическую связь
абонентов ЖАТС по соединительным линиям с местными телефонными сетями общего
пользования (ГТС или СТС Министерства связи);
• связь абонентов ЖАТС
с ведомственной сетью МПС дальней автоматической телефонной связи.
Обычно в
административном центре железной дороги стремятся создавать одну ЖАТС, куда
включают абонентов разных администраций. Размещаются ЖАТС в общем доме связи
вместе с другими объектами железнодорожной связи, в состав которых может
входить оборудование ДАТС, телеграф, линейно-аппаратный зал.
При автоматизации сетей
телефонной связи железнодорожного транспорта применяется единая нумерация (ЕН)
абонентских и соединительных линий. На железнодорожных станциях абонентам
присваиваются четырехзначные номера, причем первый знак номера определяет
принадлежность абонента административному центру: для абонентов УД-4, для
абонентов ОД-3, для абонентов ж.д. станций - 2.
Определенным группам
руководящих и оперативных работников, часто вызываемых по сети дальней связи,
присваиваются номера, закрепленные за должностями этих работников. В списке ЕН
для работников управления дороги отводится 300 номеров: 4400 - 4449, 4500 -
4549, 4600 - 4649, 4700 - 4749, 4900 - 4949. Для работников отделения отводится
100 номеров: 3100 - 3149, 3300 - 3349. Для работников железнодорожных станций -
80 номеров: 2200 - 2279. Если по штатному расписанию данная должность не
предусматривается, в подразделениях МПС, то соответствующий номер не занимают. Для
ЖАТС емкостью более 3000 номеров в качестве первого знака четырехзначного
абонентского номера можно использовать 5 и 6.
Связь с городской
телефонной сетью (ГТС) осуществляется по соединительным линиям, которым
присваивается индекс 9. Выход на спецслужбы данного подразделения железной
дороги осуществляется по специальным линиям, имеющим одинаковый номер ЕН для
всех подразделений МПС. Соединительным линиям к столу справок ЖАТС и столу
заказов междугородной телефонной станции присваивают трехзначные номера 131 и
121 соответственно. Остальным спецлиниям присваивается четырехзначная нумерация
в зависимости от назначения ЖАТС: бюро ремонта ЖАТС - 4531, 3151, 2151, скорая
медицинская помощь - 445-3, 3353, 2283, пожарная охрана -4455, 3355, 2285.Для
выхода на сеть дальней автоматической связи ДАТС используется индекс 0. Всем
станциям, включенным в сеть ДАТС, присваиваются трехзначные коды. Линии
постанционной связи включаются в междугородный коммутатор.
1.2 Схема местной
телефонной сети железнодорожного узла
Схема местной
телефонной сети отражает взаимосвязь всех ЖАТС, расположенных на территории
железнодорожного узла, а также связь проектируемой ЖАТС 1 с общегосударственной
сетью, сетью дальней связи ДАТС-МПС и спецслужбами железнодорожного узла (рис.
1.1).
Рис. 1.1. Схема местной
телефонной сети железнодорожного узла
В соответствии с
заданием на территории железнодорожного узла расположена ЖАТС 2 при
железнодорожной станции и проектируемая (реконструируемая на базе цифрового
оборудования) ЖАТС 1 при администрации ОД или УД. Обе ЖАТС связаны
односторонними СЛ, образуя сеть абонентов с общей, закрытой нумерацией всех
тысячных групп и выходом по исходящим соединительным линиям к ЖАТС 1 или ЖАТС2
в соответствии со знаком тысячи. Для выхода на междугородную ведомственную сеть
ДАТС МПС проектируемая ЖАТС 1 подключается к узлу автоматической коммутации УАК
по односторонним исходящими и входящим СЛ. Абоненты ЖАТС, не имеющие права на
автоматическую междугородную связь МПС, осуществляют междугородное соединение с
помощью телефонистки междугородного коммутатора (МК), предварительно заказав
междугородный разговор через стол заказов по коду «О». Связь с
общегосударственной сетью страны осуществляется через опорную районную АТС (РАТС)
городской сети, которая, кроме связи с абонентами ГТС, обеспечивает выход
абонентов ЖАТС на автоматическую междугородную телефонную сеть страны (АМТС) и
спецслужбы ГТС (узел спецслужб - УСС). Местное соединение РАТС и ЖАТС
обеспечивается по односторонним СЛ, причем для обеспечения высокого качества
междугородней связи предусмотрен выделенный пучок междугородных линий СЛМ от
опорной станции ГТС к проектируемой ЖАТС. При значительном тяготении абонентов
проектируемой ЖАТС к учреждениям и предприятием, расположенным на территории данного
населенного пункта, организуется прямая связь с УАТС, соответствующих
учреждений по соединительным линиям с использованием индекса выхода 7 или 8.
Внедрение цифровых ЖАТС
в настоящее время происходит в условиях работы окружающих аналоговых АТС
электромеханической или квазиэлектронной системы по аналоговым соединительным трактам.
Поэтому проектируемая АТСЦ должна обеспечить включение физических СЛ, как
правило на направлениях к АТС 1-Ш поколений с малым тяготением. Направления с
большим телефонным тяготением организуются по цифровым ИКМ-трактам с установкой
оконечного оборудования аналого-цифрового преобразования (АЦО) на встречных
аналоговых АТС, например при связи с РАТС городской телефонной сети. Целью
курсового проекта является разработка схемы связи железнодорожного узла с
указанием типов встречных станций, используемых трактов, системы кодирования
направления и нумерации ТА, что отображается в таблице 1.1.
В следующих разделах
разрабатываются структурные схемы связи со встречными АТС в соответствии с
заданием, рассчитывается телефонная нагрузка и объем оборудования проектируемой
ЖАТС 1. Структурные схемы встречных АТС разных систем приведены на схеме, на
листе 2.
2. Цифровые
коммутационные станции
2.1 Принципы цифровой
коммутации. Основной состав оборудования цифровых коммутационных станций
В коммутационном поле
цифровой АТС осуществляются соединения между цифровыми основными каналами
(каналы ЕО ИЛИ ОЦК), образованными в первичных цифровых каналах (каналы ПЦК или
Е1), включенных в станцию.
Станция включает в
себя: цифровое коммутационное поле (ЦКП), мультиплексоры /демультиплексоры
(MUX), аналого-цифровые преобразователи (АЦП), абонентские комплекты (АК),
комплект соединительных линий (КСЛ), периферийные управляющие устройства (ПУУ),
блок тональных сигналов (БТС), интерфейсы базового доступа сети ISDN (BRI),
интерфейс канала Е1 (PRI), центральный блок синхронизации (ЦБС), центральное
управляющее устройство станции (ЦУУ) и внешние устройства (УВ).
В ЦКП включаются внутристанционные
каналы Е1. Внутри ЦКП производятся соединения между каналами ЕО в соответствии
I с требованиями абонентов на установление соединений. Поскольку каналы ЕО
находятся в разных временных позициях, построение ЦКП основывается на
оперативной памяти, хранящей содержимое канальных интервалов входящих потоков
2048 кбит/с.
телефонная связь коммутация железнодорожный
В один АК включается
аналоговая абонентская линия. АК выполняет следующие функции: прием от
телефонного аппарата сигналов вызова станции, импульсов набора номера
постоянным током (декадный способ набора), отбоя; посылка в АЛ сигнала вызова;
питание ТА постоянным током. Посредством АЦП производится преобразование речевых
и других аналоговых сигналов в сигналы импульсно-кодовой модуляции (ИКМ) и
наоборот. При передаче речи от каждого АЦП к MUX передается цифровой поток со
скоростью 64 кбит/с, который в ЦКП объединяется с такими же потоками от других
АЦП. Для управления абонентскими комплектами используется периферийное
управляющее устройство ПУУДК.
Комплекты КСЛ
обеспечивают взаимодействие со встречными АТС по аналоговым СЛ (СЛА). Каждому
КСЛ соответствует один АЦП. Для объединения и разделения цифровых потоков со
скоростью 64 кбит/с также используется MUX. Комплекты КСЛ могут быть разных
типов, что зависит от способа организации СЛ и типа межстанционной сигнализации.
Комплекты КСЛ необходимы при использовании выделенных сигнальных каналов,
организованных по аналоговым системам передачи. Для управления комплектами КСЛ
используется периферийное управляющее устройство ПУУКСЛ.
Блок БТС предназначен
для приема и передачи тональных сигналов различного назначения.
Интерфейс PRI позволяет
включить один канал Е1, обеспечивающий организацию до 30 цифровых СЛ (ЦСЛ).
Интерфейс PRI содержит следующие функциональные устройства:
1. Внешнее устройство
(ВУ), обеспечивающее согласование на физическом уровне с линейным трактом в
соответствии со стандартом G.703. Оно имеет также гальваническую развязку с
линейными цепями и устройства защиты от повышенных напряжений.
2. Формирователь циклов
(ФЦ), служащий: в направлении передачи - формирование циклов длительностью 125
мкс и последовательности канальных интервалов КИ0...КИ31 внутри каждого цикла;
при приеме - выделение из входящего потока канальных интервалов и контроль над
цикловой последовательностью. ФЦ позволяет вставлять и выводить информацию из
канала сигнализации, для чего обычно предназначен КИ16. В ФЦ также можно
выделять КИО, содержащий синхросигналы.
3. Буферная память
(БП), необходимая для хранения содержимого канальных интервалов трактов приема
и передачи канала Е1 с целью обеспечения синхронизации цифровых потоков внутри
станции и в линейном тракте.
4. Мультиплексор (MX) и
демультиплексор (DX), служащие для введения и выделения канального интервала
сигнализации (например, КИ16) из потока 2048 кбит/с.
5. Периферийное
управляющее устройство ПУУрк1, обеспечивающее: прием и передачу сигнальной
информации по одному из каналов ЕО (например, КИ-16); обмен сигнальной информацией
с ЦУУ. В ПУУрк1 может также происходить преобразование межстанционной и
внутристанционной (между ПУУPR1 и ЦУУ) систем сигнализации. ПУУ PR1 может
работать с одной из систем сигнализации по выделенным или по общему каналам сигнализации.
6. Устройство
синхронизации (УС), обеспечивающее выделение и введение синхросигналов во
входящий поток. В случае внешней (принудительной) синхронизации данной станции
со стороны встречной АТСЦ от УС к ЦБС передаются тактовые синхросигналы. Передача
синхросигналов от ЦБС к УС происходит при любом режиме синхронизации.
Интерфейс BRI служит
для включения в станцию цифровых абонентских линий со стандартными точками SQ
ИЛИ UQ В соответствии со стандартами сети ISDN. В состав интерфейса входят
аналогичные по сравнению с PRI функциональные устройства/.
Центральное сигнальное
устройство служит для обмена управляющей информацией между ЦУУ и всеми ПУУ с
использованием внутристанционных сигнальных каналов ЕО, входящих в каналы Е1.
Как показано на рисунке, для таких каналов ЕО могут использоваться КИО и КИ16.
Управляющая информация передается в обе стороны через ЦКП. При этом
внутристанционные сигнальные каналы ЕО со стороны устройств ПУУ скоммутированы
через ЦКП по постоянной схеме с соответствующими каналами ЕО, входящими в
каналы Е1, включенные в ЦСУ. С помощью буферов приема (БПР) и передачи (БПД)
происходит накопление управляющей информации.
Блок ЦБС вырабатывает
станционные синхросигналы, поступающие к различным устройствам станции. Этот
блок включает в себя задающий генератор тактовых импульсов, служащий для
формирования цифровых потоков внутри станции. Блок ЦБС может работать в
автономном или принудительном режиме.
К внешним устройствам,
связанным с ЦУУ, относятся: автоматизированное рабочее место оператора по
техническому обслуживанию (АРМто); накопитель на соответствующем носителе;
система тарификации вызовов и другие. АРМто обеспечивает контроль и управление
работой станции и создается на базе персонального компьютера.
В ряде учрежденческих
АТС связь между устройствами ПУУ и ЦУУ осуществляется по выделенным
двусторонним внутристанционным каналам передачи данных, а не через ЦКП. В этом
случае, обычно, обмен данными происходит по протоколу HDLC в режиме
«ведущий-ведомый» (master-slave).
В цифровые абонентские
линии включаются цифровые телефонные аппараты, принципиально отличающиеся от
аналоговых аппаратов, рассмотренных в разделе 2.
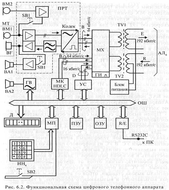
На рис. 6.2 Приведена
функциональная схема цифрового телефонного аппарата, позволяющего по одному
каналу. В передавать речевую информацию, а по второму - обмениваться данными.
Аппарат включается в
четырехпроводную абонентскую линию с интерфейсом S0 через выводы R (прием) и Т
(передача). Приборы телефонного аппарата гальванически разделены с линией
трансформаторами TV1 и TV2. Мультиплексор MX служит для обработки цифровых
потоков. В режиме приема мультиплексор выделяет из общего потока со скоростью
192 кбит/с два потока по 64 кбит/с (два канала В) и один поток 16 кбит/с (канал
D).
Формирование цифровых
потоков происходит с участием генератора импульсов ГИ, синхронизируемого со
стороны коммутационной станции. К приборам разговорного тракта (ПРТ) относятся:
кодек, являющийся одновременно аналого-цифровым и цифро-аналоговым преобразователем;
усилители и фильтр низкой частоты; кнопка SB1 для подключения громкоговорителя
ВА1, используемого при приеме речи по желанию абонента. Аппарат имеет
микротелефон МТ, в котором обычно используют электродинамические микрофон и
телефон.
Прием вызова со стороны
станции осуществляется на громкоговоритель ВА2. Формирование тонального
вызывного сигнала происходит в генераторе вызова ГВ.
Для обмена информацией
с коммутационной станцией по каналу D цифровой телефонный аппарат имеет
устройство сигнализации УС. В УС из цифрового потока со стороны станции
выделяются: сигнал вызова абонента; данные о номере вызывающего абонента;
сигнал отбоя от другого абонента и другие данные. В УС для передачи в сторону
станции формируются сигналы вызова станции, отбоя от абонента и данные о
номерах вызываемого и вызывающего абонентов, а также данные по предоставлению
дополнительных услуг.
Цифровой телефонный
аппарат имеет микропроцессорный набор, состоящий из микропроцессора (МП),
постоянного (ПЗУ) и оперативного (ОЗУ) запоминающих устройств. Обмен
информацией внутри микропроцессорного набора, а также с другими устройствами
цифрового телефонного аппарата, происходит через общую шину (ОШ). В ПЗУ
хранятся программы работы цифрового телефонного аппарата, а в ОЗУ - оперативные
данные.
Микропроцессор
управляет работой телефонного аппарата. К нему от кнопочного номеронабирателя
(ННК) поступает информация о цифрах номера вызываемого абонента и коды
дополнительных услуг. Положение кнопки SB2, зависящее от положения
микротелефонной трубки, позволяет микропроцессору обнаружить вызов или отбой от
данного абонента (кнопка рычажного переключателя). Микропроцессор МП
взаимодействует с УС, получая от него информацию со стороны станции и посылая
через него информацию на станцию. При поступлении со станции вызова
микропроцессор воздействует на ГВ и дисплей Д.
Во время набора номера
на дисплей выводятся набираемые цифры. В свободном состоянии дисплей обычно
показывает текущее время. На дисплей можно вывести различную информацию,
хранящуюся в ОЗУ. Дисплей обычно имеет одну-две строки, в каждой из которых
может выводиться до 20...40 буквенно-цифровых символов. Наиболее часто в
дисплеях применяются жидкокристаллические индикаторы.
В большинстве случаев
цифровые ТА рассчитаны на получение электропитания от источника постоянного
тока коммутационной станции. Для этого в аппарате устанавливается блок питания,
подключаемый к абонентской линии в средние точки линейных трансформаторов TV1 и
TV2. На станционной стороне к абонентской линии по аналогичной схеме
подключается источник постоянного тока (центральная батарея). Блок питания
вырабатывает напряжения, необходимые для работы всех узлов аппарата. В
многофункциональных цифровых аппаратах обычно предусматривается автономное
питание от местной сети переменного тока, что обусловлено потреблением
аппаратом довольно большой мощности.
Для передачи данных по
каналу В, в состав аппарата входит микроконтроллер МК, служащий для приема и
передачи данных по этому каналу в соответствии с выбранным протоколом обмена
приемопередающий интерфейс (R/E) со стыком RS232C. Обычно к такому стыку подключают
персональный компьютер (ПК), являющийся терминалом сети передачи данных.
Важно заметить, что
устройство УС обеспечивает установление соединений как на телефонной сети, так
и на сети передачи данных.
2.2 Способы построения
цифрового коммутационного поля
В основу построения
цифрового коммутационного поля заложена ступень временной коммутации (СВК),
обозначаемая буквой Т (Time - время). Кроме СВК, цифровое КП может включать в
себя ступень пространственной коммутации (СПК), для которой принято обозначение
S (Space - пространство). Структура цифрового КП зависит от требуемой емкости
АТС. В учрежденческих АТС чаще используется структура типа Т или T-S-T, в станциях
большой емкости - типа T-S-S-T, T-S-S-S-T. Возможны другие структуры, из
которых следует выделить кольцевую структуру.
Структура типа Т
представляет собой одну ступень временной коммутаций, включающей такие
обязательные узлы, как речевое запоминающее устройство (РЗУ) и управляющую
память (УП). В РЗУ хранится закодированная речевая информация, а в УП -
информация о соединениях между канальными интервалами трактов приема.
На рис. 6.3
представлена функциональная схема цифрового КП (ЦКП), обеспечивающего
соединения между канальными интервалами М цифровых первичных трактов приема.
Коммутационное поле включает в себя: РЗУ, имеющее N ячеек памяти; УП с таким же
количеством ячеек памяти; мультиплексор (MX), имеющий М входов и один выход;
демультиплексор (DX), имеющий один вход и М выходов; регистры приема (Рг) и
передачи (Ре) сигналов. Количество ячеек речевого ЗУ соответствует общему
количеству канальных интервалов М цифровых трактов: N= Мх31 (счет ячеек идет от
нуля). Емкость ячейки РЗУ соответствует длине содержимого одного КИ, равной
одному байту.
Управляющая память
получает от управляющего устройства станции и хранит данные о соединениях между
канальными интервалами цифровых трактов приема и передачи. Управляющая память
управляет чтением информации из РЗУ. Мультиплексор MX объединяет цифровые
входящие потоки от регистров Рг и передает объединенный поток на вход записи
РЗУ. Демультиплексор DX принимает с выхода РЗУ объединенный поток и разделяет
его на М исходящих потоков, передаваемых на регистры Ре. MX и DX производят
операции с однобайтными словами в параллельном коде.
Регистры Рг производят
преобразование сигналов, поступающих по цифровым трактам, из последовательного
кода в параллельный. Регистры Ре производят обратное преобразование. В каждый
регистр записывается один байт данных.
3.
Цифровая автоматическая телефонная станция «Протон» серии «Алмаз»
Цифровые
автоматические телефонные станции “Протон-CCC” (далее ЦАТС) предназначены для
работы на телефонных сетях общего пользования, в том числе цифровых сетях
интегрального обслуживания (ЦСИО), а также на ведомственных (технологических)
сетях различных отраслей промышленности и ведомств.
ЦАТС,
произведенные на предприятии-изготовителе, соответствует требованиям
технических условий:
ЦАТС
применяются на ведомственных и выделенных телефонных сетях в качестве:
-
учрежденческо-производственных
станций (УПАТС);
-
транзитных
станций.
На сельских и городских телефонных сетях в качестве:
-
учрежденческо-производственных
АТС (УПАТС, МУАТС);
-
подстанций
ГТС, опорных, опорно-транзитных, транзитных АТС;
-
сельских
АТС (ОС, УС, ЦС, УСП).
ЦАТС
может использоваться на нерайонированных, районированных без узлообразования,
на сетях только с УВС, на сетях с УВИС, на комбинированных телефонных сетях.
При этом может использоваться трех-, четырех-, пяти-, шести-, семизначная или
смешанная нумерация. Возможна организация наложенной сети со своим планом
нумерации. Также обеспечивается возможность передачи АОНа при международной
связи до 15-ти знаков.
ЦАТС обеспечивает возможность установления следующих
видов связи:
-
автоматическая
внутренняя связь между всеми абонентами станции;
-
автоматическая
исходящая связь с абонентами других станций;
-
автоматическая
входящая связь от абонентов других станций с поиском вызываемого абонента по
плану нумерации;
-
автоматическая
входящая связь с абонентами других станций с поиском вызываемого абонента по
таблице наведения либо с помощью оператора;
-
транзитная
связь между входящими и исходящими соединительными линиями;
-
автоматическая
исходящая связь к вспомогательным и справочно-информационным службам;
-
исходящая
автоматическая и полуавтоматическая зоновая, междугородная и международная
связь;
-
входящая
автоматическая и полуавтоматическая зоновая, междугородная и международная
связь;
-
полупостоянная
коммутация;
-
производственные
виды связи (факсимильная связь, передача телеинформации, диспетчерская связь);
-
передача
данных.
Электрические параметры абонентских и соединительных линий
ЦАТС обеспечивает работу при включении аналоговых
абонентских линий со следующими параметрами:
-
собственное
затухание абонентской линии на частоте 800 Гц не более 9 дБ;
-
величина
переходного затухания между цепями двух абонентских линий на ближайшем к ЦАТС
конце на частоте 800 Гц не менее 69,5 дБ;
-
сопротивление
шлейфа АЛ, включая сопротивление телефонного аппарата и блокиратора: до 1800 Ом
(для обычных аппаратов), 5000 Ом (для удаленных аппаратов с усилителями);
-
емкость
между проводами и между каждым проводом и землей не более 1,0 мкФ;
-
сопротивление
изоляции между проводами или между каждым проводом и землей не менее 20 кОм.
Физические
соединительные линии, включаемые в ЦАТС
Параметры
физических трехпроводных СЛ и заказно-соединительных линий (ЗСЛ) по постоянному
току:
-
сопротивление
каждого разговорного провода не более 1500 Ом;
-
сопротивление
провода “С” не более 1500 Ом (для АТС ДШ не более 700 Ом при включении без
комплекта);
-
сопротивление
утечки между проводами или между каждым проводом и “землей” не менее 50 кОм;
-
емкость
между проводами или между каждым проводом и “землей” не более для: СЛ, ЗСЛ -
1,6 мкФ, СЛМ - 1,3 мкФ.
Параметры
физических трехпроводных междугородных линий (СЛМ) по постоянному току:
-
сопротивление
каждого разговорного провода при связи по СЛМ </= 1000 Ом;
-
сопротивление
провода “С” не более 1500 Ом (для АТС ДШ не более 700 Ом при включении без
комплекта);
-
сопротивление
утечки между проводами или между каждым проводом и “землей” не менее 150 кОм;
-
емкость
между проводами или между каждым проводом и “землей” не более 1,3 мкФ.
Цифровые
соединительные линии
ЦАТС
обеспечивает устойчивую работу по соединительным линиям, оборудованным цифровой
аппаратурой со скоростями передачи 2048 кбит/с и 1024 кбит/с.
Оборудованием
ЦАТС обеспечивается возможность подключения следующих типов линий между
оборудованием подключения трактов ИКМ-30 и оборудованием цифровых систем передачи:
-
симметричная
пара с волновым сопротивлением 120 Ом;
-
коаксиальный
кабель с волновым сопротивлением 75 Ом.
Цифровой
сигнал на входе приемной части должен соответствовать приведенным выше
требованиям с учетом изменений параметров, обусловленных затуханием
соединительных линий между оконечным оборудованием линейного тракта и
станционным оборудованием подключения трактов ИКМ-30. Принимается, что
затухание указанных линий соответствует закону SQRT(f); величина затухания на
частоте 1024 кГц должна находиться в пределах от 0 до 6 дБ.
3.2
Конструкция ЦАТС
Конструкция модулей и блоков ЦАТС выполнена в
стандарте 19".
Оборудование конструктивно выполнено по принципу:
плата (ТЭЗ, блок) - кассета (модуль) - статив - стативный ряд и поставляется в
одном из двух вариантов настольно-настенном и стативном.
Оборудование станции небольшой емкости представляет
собой одно- или двухмодульную конструкцию, и предназначено для установки на
горизонтальную или вертикальную поверхность. Большее количество модулей
устанавливается в статив (шкаф).
Блоки ЦАТС легкосъемные, отдельные конструктивные
элементы взаимозаменяемые, пригодные для ремонта.
Блоки ЦАТС устанавливаются в кассету по
направляющим. С передней стороны блоков укреплены лицевые панели, создающие
фасад модуля. На лицевые панели выведены органы индикации и управления, а также
разъемы для подключения внешних линий, нанесены надписи для обозначения органов
индикации и управления. Лицевые панели с помощью невыпадающих винтов фиксируют
блоки в кассете.
Оборудование выполнено
таким образом, что при установке станции требуются минимальные монтажные
работы, а соединения между модулями, стативами и кроссовым оборудованием
выполняются с помощью кабельных перемычек с разъемами. Кабельные перемычки или
комплектующие к ним входят в состав поставляемого оборудования.
3.3 Состав и
комплектация ЦАТС
В
модуле (кассете) системы обязательно присутствует:
- источник
вторичного питания ИП (для питания от ЭПУ с номинальным выходным напряжением
постоянного тока минус 60 В или от сети переменного тока с номинальным
действующим значением напряжения 220 В);
- блок
управления и коммутации БУК.
В
модуле (кассете) системы могут находиться:
- блоки
цифровых окончаний типа БЦО (БЦО, БЦО8), на каждый из которых могут
устанавливаться до четырёх типовых субмодулей типа БИКМ (БИКМ, БИКМ15, БИКМД,
БИКМУ), либо два субмодуля БИКМ4, либо четыре БЦОС (блок частотных приёмников),
либо четыре УСМ (устройство сопряжения модулей ЦАТС);
- блок
СОРМ (БСОРМ), предназначен для поддержки функций СОРМ;
- блоки
абонентских комплектов БАК, к каждому блоку можно подключить 15 абонентских
линий;
- блоки
абонентских комплектов с диагностикой БАКД, содержат тестовое устройство для
проверки параметров абонентских линий, позволяет подключить 10 абонентских
линий или линий таксофонов с централизованной тарификацией.
- комплекты
исходящих и входящих соединительных линий КСЛИ, позволяют подключить шесть
трехпроводных линий;
- комплекты
универсальных соединительных линий КСЛУ, позволяют подключить восемь двух-,
четырех-, шести- или восьми-проводных линий;
- комплекты
соединительных абонентских линий КСАЛ, позволяют подключить четыре городские
линии или линии с “местной батареей” (МБ) и восемь абонентских линий;
- комплекты
соединительных абонентских линий КСЛА, позволяют подключить 15 городских линий;
- комплекты
системных телефонных аппаратов КСТА, позволяют подключить 10 гибридных
системных телефонных аппаратов и пять консолей расширения;
- блоки
цифровых системных телефонных аппаратов БЦСТ (Up),
позволяют подключить до 30 системных телефонных аппаратов или консолей
расширения. Выпускаются в двух модификациях БЦСТ-15 и БЦСТ-30.
Максимальное количество блоков в терминальном модуле
ЦАТС — 16, в случае установки модуля расширения - 24.
Таблица
6 - Номенклатура комплектующих частей
|
Обозначение
|
Наименование
|
Примечание
|
|
КЮГН.436132.006
|
ИБП-220
|
Импульсный блок
питания (220 В)
|
|
КЮГН.436132.006-01
|
ИБП-220-01
|
Импульсный блок
питания (220 В)
|
|
КЮГН.436132.006-02
|
ИБП-60
|
Импульсный блок
питания (60 В)
|
|
КЮГН.469435.034
|
БЦО
|
Блок цифровых
окончаний
|
|
КЮГН.468365.004
|
БУК
|
Блок управления и
коммутации
|
|
КЮГН.469435.050
|
БАК
|
Блок абонентских
комплектов
|
|
КЮГН.469435. 052
|
БЦСТ
|
Блок комплектов для
подключения цифровых СТА LG
|
|
КЮГН.469435.033
|
БАКД1
|
Блок абонентских
комплектов с узлом диагностики
|
|
КЮГН.469435.043
|
КСАЛ
|
Блок абонентских
комплектов и комплектов абонентских СЛ
|
|
КЮГН.469435.043-01
|
КСАЛ-01
|
Блок абонентских
комплектов без защиты и диагностики и комплектов абонентских СЛ
|
|
КЮГН.469435.012
|
КСЛИ
|
Блок комплектов
трехпроводных исходящих СЛ
|
|
КЮГН.469435.031
|
КСЛВ
|
Блок комплектов
трехпроводных входящих СЛ
|
|
КЮГН.469435.040
|
КСЛУ
|
Блок комплектов
универсальных СЛ
|
3.4
Принципы построения, электропитания и работа.
Система
связи представляет собой цифровую коммутационную систему, не требующую в
процессе эксплуатации постоянного присутствия обслуживающего персонала.
Система представляет
собой одно- или многомодульную конструкцию, и предназначена для установки на
горизонтальную, вертикальную поверхность или для монтажа в стойку. Существует
несколько вариантов увеличения ёмкости системы. Одним из вариантов является
установка второго модуля для расширения числа установочных слотов первого
модуля. В таком случае, связь между модулями осуществляется с помощью
специального соединительного кабеля. В задней части каждого модуля закреплена
кросс-плата, в разъемы которой по направляющим вставляются платы (блоки).
Количество и расположение блоков в модуле зависит от конфигурации системы.
Для
оборудования ЦАТС предусмотрено два варианта электропитания:
-питание
от источника опорного напряжения "60 В" постоянного тока с
заземленным положительным полюсом;
-питание
от однофазной сети переменного тока с номинальным действующим напряжением 220 В
50 Гц.
Допускается
изменение опорного напряжения постоянного тока в диапазоне от минус 48 до минус
72 В (60 В ± 20%). Оборудование ЦАТС не повреждается при перерывах
электропитания и автоматически возобновляет свою работу после восстановления
напряжения до допустимого значения.
В
качестве резервного источника опорного напряжения должна применяться
аккумуляторная батарея, рассчитанная на питание нагрузки в течение от 1 до 24
часов и обеспечивающая бесперебойность питания при перерывах в электроснабжении
и отключении выпрямительных устройств.
Светодиоды
зеленого цвета "+5 В", "+12 В", "-60 В",
"~90 В" на передней панели источника питания предназначены для
индикации наличия этих напряжений на выходах преобразователей и при нормальной
работе должны светиться. Красный светодиод индицирует аварийное состояние
источника питания.
3.5
Комплекты системных телефонных аппаратов
Блок
КСТА осуществляет стык ЦАТС с гибридными системными телефонными аппаратами
фирмы LG и позволяет подключить
до 10-ти СТА и 5-ти консолей расширения к ним. Количество консолей может быть
увеличено, за счёт уменьшения количества системных аппаратов.
Блок
БЦСТ осуществляет стык ЦАТС с цифровыми системными телефонными аппаратами фирмы
LG. В зависимости от варианта
исполнения позволяют подключить до 15(30) системных телефонных аппаратов или
консолей расширения к ним.
Системные
телефонные аппараты (СТА) предназначены для эффективного и наглядного
управления телефонной связью. По сравнению с обычным телефонным аппаратом, СТА
позволяет пользоваться громкоговорящей связью, прямым соединением с выбранными
абонентами. Расширены также многие сервисные функции, пользоваться которыми с
СТА значительно удобнее.
Для
информирования абонента о состоянии СТА, кроме звуковых сигналов используется
жидкокристаллический дисплей. На нем отображается различная информация
вспомогательного и справочного характера: номер СТА, текущее время, набираемый
номер, этап соединения, номер вызывающего абонента, подсказки, настройки СТА и
ДВО.
3.6
Подключение абонентских и соединительных линий
Для
ввода в станцию и соединения абонентских и соединительных линий необходимо
использовать кроссовое оборудование.
Международные
требования к линейному оборудованию телекоммуникационных средств в части
устойчивости к воздействию перенапряжений и избыточных токов (ITU-T,
Рекомендация К.20) предусматривают два уровня защиты:
1)
первичная защита, элементы которой устанавливаются в кроссе;
2)
вторичная защита, элементы которой устанавливаются в станционном оборудовании
линейных комплектов.
Элементы
защиты указанных уровней характеризуются тестовыми воздействиями на линию связи
и определенными критериями приемки. Таким критерием для ЦАТС является условие
отсутствия повреждений оборудования станции, какие-либо нарушения нормальной
работы, работоспособность и производительность ЦАТС в установленных пределах
после испытания. Однако при этом не требуется, чтобы оборудование правильно
работало во время воздействия на линию.
3.7
Наблюдение, контроль и управление ЦАТС
Контроль
и управление работой станции может производиться из программы "Модуль
оператора". В зависимости от уровня квалификации обслуживающего персонала
работа на ЦАТС может производиться в двух режимах: Оператора и Наблюдателя.
Оператор
имеет право на выполнение следующих действий:
-
блокировку
и разблокировку АЛ;
-блокировку
и разблокировку СЛ;
-
тестирование станционного оборудования;
-
корректировку информации в БД системы;
-перенос
на магнитные носители тарификационных данных и данных мониторинга.
В
функции оператора входит перенос на магнитные носители тарификационных данных
для дальнейшего использования при организации расчетов с абонентами. Эта
функция осуществляется путем экспорта файлов тарификационных данных.
Оператор
может корректировать справочную информацию, хранящуюся в БД системы: коды и
наименования городов, регистрационные данные абонентов, значения параметров
абонентских линий, подключенных к ЦАТС. В процессе эксплуатации оператор при
необходимости вводит новые значения конфигурационных данных (категория
обслуживания, разрешённые направления связи, разрешенные виды ДВО), которые
хранятся в ПЗУ ЦАТС. Оператор осуществляет ввод новых значений и принимает
решение на изменение установленных в ЦАТС данных.
Наблюдатель имеет
возможность наблюдать за работой ЦАТС и получать справочную информацию. При
возникновении нарушений в работе системы наблюдатель диагностирует состояние
компонентов ЦАТС по данным графического отображения в главном окне модуля
оператора и в окнах состояния АЛ и СЛ, по данным светодиодной индикации
непосредственно на ТЭЗах, по сообщениям в окне мониторинга системных сообщений.
Первоначальная конфигурация задается при монтаже и проведении пуско-наладочных
работ в соответствии с проектом.
В
процессе работы ЦАТС в окне мониторинга системных сообщений модуля оператора
могут появляться различная диагностическая информация. Появляющиеся сообщения можно
разбить на группы по возможным причинам их возникновения. Все сообщения
появляются с указанием времени их возникновения и хранятся в БД в течение
месяца. Если окно мониторинга системных сообщений закрыто, диагностическая
информация выдается в виде модальных окон в центре экрана.
4. Расчет телефонной
нагрузки
4.1 Общие положения
На телефонную станцию
поступает нагрузка от абонентских линий Уал, формируя возникающую на АТС
нагрузку Ув, которая перераспределяется в коммутационном поле (КП) станции по
всем направлениям связи. Процесс распределения телефонных потоков поясняется
диаграммой (рис. 3.1). Возникающая телефонная нагрузка определяется числом
вызовов в каждом і-том направлении Nсі и средним временем занятия входа станции
Т1і при этом соединении.
YBt
= N * c1
* T1t,
Расчет возникающей на
ЖАТС 1 нагрузки приведен в п 3.2. Телефонная нагрузка по каждому исходящему
направлению вычисляется по среднему значению времени занятия ИСЛ этого
направления Т2і которое, как и Т1і рассчитывается в
соответствии с алгоритмом процесса установления соединения согласно с таблицей
2.1 далее. Телефонная нагрузка исходящих направлений связи определяется по
каждому исходящему направлению і по формуле:
YBCЛt
= N * c1
* T2t,
где Т2і –
время занятия ИСЛ в данном направлении і, которое определяется с момента
занятия ИСЛ и является составной частью рассчитанного ранее Т1і. На
входы ЖАТС поступает нагрузка от ВСЛ всех направлений связи, определяемая
средним временем занятия входа станции Т3і.
YBCЛt
= N * c1
* T3t,
где – Т3і
время занятия соединительного тракта от ВСЛ направления і до ТА вызываемого
абонента ЖАТС 1. Значение Т3і зависит от способа связи и типа
встречной станции и рассчитывается в соответствии с разрабатываемой системой по
каждому направлению и алгоритму установления соединения согласно таблице 2.1.
По рассчитанным значениям телефонных нагрузок всех направлений, которые
отражаются на схеме распределения потоков и в таблице, определяется число
соединительных линий и трактов связи в главе 4.
Заключительным этапом
процесса расчета телефонной нагрузки является определение удельной телефонной
нагрузки в расчете на одну абонентскую линию, которая должна соответствовать
техническим условиям эксплуатации проектируемой АТС и п. 3.5, а также
суммарного числа вызовов, обрабатываемых управляющим комплексом.
4.2 Расчет возникающей
телефонной нагрузки
Телефонная нагрузка Ув1
возникающая от абонентов проектируемой ЖАТС 1, определяется числом вызовов Сі и
временем занятия Т1і в каждом направлении связи; при внутреннем
соединении абонентов ЖАТС 1 (Увн), при связи с абонентами ЖАТС 2
железнодорожной станции, при связи с абонентами ГТС (Угтс), с абонентами УАТС
(Ууатс), а также при автоматической связи по ДАТС (Ууак) и при полуавтоматике
(Узак):
YBt
= YBH + YЖАТС
+ YГТС
+ YУАТС
+ YУАК
+ YЗАК,
[Эрл]
Каждая составляющая
возникающей нагрузки рассчитывается по формуле:
YBt
=
N * с1 * T1t
= N * k1
* с *T1t
(3.1.)
где: N – емкость ЖАТС
1;
с – число вызовов
одного абонента в ЧНН;
kі –
коэффициент тяготения в данном направлении, определяемый таблицей kі задания;
Т1і – время
занятия в і-том направлении.
Если первые три параметра
формулы (3.1.) определяются исходными данными задания, то значение Т1і
рассчитывается в соответствии с процессом установления соединения по
разработанной схеме связи между встречными станциями. При этом следует учитывать
влияние на телефонную нагрузку непроизводственных вызовов (неответ, занятость и
ошибки абонентов), коэффициенты a и Рр. Исходные данные
к расчету телефонной нагрузки целесообразно свести в таблицу 3.1.
|
Тип
АТС
|
ЖАTС
1
|
ЖАТС
2
|
РАТС
–ГТС
|
УАТС
|
ДАТС
|
|
Параметры
|
УАК
|
ЗАК
|
|
Коэффициент
тяготения,
kі
|
1,7
|
1,6
|
1,3
|
1,1
|
0,4
|
0,5
|
|
Число
вызовов в ЧНН Сі= kі*с
|
2,55
|
2,4
|
1,95
|
1,65
|
0,6
|
0,75
|
|
Средняя
длительность разговора, tрі
|
120
|
120
|
120
|
120
|
120
|
120
|
|
Коэффициент
a
при Рр.
|
0,55
|
0,55
|
0,55
|
0,55
|
0,55
|
0,55
|
4.2.1 Внутреннее
соединение
Продолжительность
занятия внутреннего соединения:
где
Рр - доля вызовов, закончившихся разговором;
a
- коэффициент, учитывающий непроизводительные занятия и зависящий от значения
Рр средней длительности разговора (tp).
Эта зависимость приведена на графике рис.3.1, определяется для каждого вида
связи и заносится в таблицу 3.1. Выражение в скобках определяет время занятия
при установленном разговорном соединении между двумя абонентами ЖАТС и состоит
из:
toс
- время слушания ответа станции;
t4нн
-
время набора четырехзначного номера абонента ЖАТС 1;
tyc
- время установления соединения на ЖАТС 1;
tпб
- время сигнала посылки вызова (контроля посылки вызова);
tвн
-
среднее время разговора при внутреннем соединении;
to
- время отбоя.
Средние значения
длительности оповестительных сигналов (ОС, ПВ и др.) приведены в таблице 3.2, а
длительность отдельных этапов соединения на различных типах АТС - в таблице
3.3.
|
Вид процесса
|
Средняя длительность, с
|
|
Слушание ответа станции
|
Тoc=3
|
|
Слушание сигнала занято
|
Т3=7
|
|
Слушание контроля посылки вызова
|
Тпв=10
|
|
Слушание ответа голосом
|
Тог=4
|
|
Набор (передача) Одного знака Номера
|
Дисковый НН (БИ-ДК)
|
Т1нн=1,5
|
|
Тастатурный НН
|
Т1нн
=0,8
|
|
МЧК
|
Т1нн
=0,5
|
|
Ответ телефонистки
|
АТСД
|
То=1
|
Длительность набора
номера из n знаков составляет tнн=
tДнн,
причем
длительность набора определяется типом номеронабирателя (дисковый или
тастатурный).:
На этапе проектирования
известно число ТА с ДНН (NД)
и
ТНН (Nt),
поэтому
длительность набора номера определяется, как средневзвешенное значение.
|
Тип АТС
|
Управляющие устройства
|
Время работы
|
|
АТС КУ
|
МАИ
|
Исходящая связь
|
Ти =0,3
|
|
Входящая связь
|
Тимаи = 0,5* Тимед
|
|
МРИ
|
Тмри=0,2
|
|
МГИ
|
Однозначный код
|
Т1мги=0,45
|
|
Двухзначный код
|
Т2мни=0,65
|
|
Трехзначный код
|
Т3мги=0,85
|
|
АТСК100/2000
|
МАИ
|
Исходящая связь
|
Тимаи=0,45
|
|
Входящая связь
|
Твмаи=0,75
|
|
МРИ
|
Тмри=0,15
|
|
МГИ
|
Однозначный код
|
Т1мги=0,7
|
|
Двухзначный код
|
Т2мги=1,2
|
|
Трехзначный код
|
Т3мги=1,6
|
|
АТСЦ
|
«из конца в конец»
|
0,5
|
|
ECK 400Е
|
исх.:
АК-(А-В-С-)-ШК-РЕГ-ШК-(С-В-А)-КП-СЛ
|
1,0
|
|
вх.: КПС-(А-В-С)-ШК-РЕГ-(С-В-А)-АК2
|
1,0
|
|
АТС КЭ «Квант»
|
AK1-БАЛ-БСЛ-ПНН
|
0,5
|
|
АК-БАЛ-БСЛ-ИСЛ
|
0,5
|
0,5
|
|
УАВ
|
|
3-5
|
|
УСД
|
|
5-8
|
4.3
Связь с ГТС
Основным коммутационным
оборудованием на городских телефонных сетях страны, составляют
электромеханические АТС на 1.01.97г. —6 координатных АТС 15,4% декадно-шаговых
АТС, оставшуюся долю составляют квазиэлектронные цифровые АТС. Немедленной
замене подлежат декадно-шаговые станции 1 поколения, поэтому наиболее вероятным
вариантом оборудования на районной станции ГТС следует считать координатную
станцию типа АТС К-У, структурная схема которой представлена на рис.2.2 для
шестизначной сети ГТС.
4.3.1
Возникающая нагрузка
Соединительные
линии от ЖАТС подключаются на вход опорной станции РАТС через подключающий
комплект подстанций ПКП к ступеням регистрового и первого группового искания,
обеспечивая доступ железнодорожных абонентов ко всей городской сети, узлу
спецслужб города и к междугородной сети страны.
При
исходящей связи к ГТС абонент ЖАТС, получив первый сигнал ответа станции из
оборудования своей станции (toc1),
набирает код выхода на ГТС (tнн),
в результате чего на АТСЦ устанавливается соединение (tнн)
по СЛ к ГТС, подключаемой через ПКП к регистру ЭАРБ.
Из
последнего абонент ЖАТС получает второй ОС и набирает номер абонента ГТС, который
принимает управляющее устройство АТСЦ и транслирует его батарейными импульсами
по соединительной линии в регистр АРБ опорной РАТС. Обмен информацией между АРБ
и маркерами городской АТСКУ осуществляется многочисленным кодом МЧК. Далее
соединение устанавливается на РАТС (или через другие РАТС) в соответствии со
схемой сети и РАТС. Тогда возникающая нагрузка при связи с ГТС
где
tУСГТС
- время установления соединения с ГТС, которое можно оценить соответствующим
временем для опорной РАТС:

где
слагаемые представляют собой время установленного соединения на каждой ступени
искания и определяют собственно временем работы маркера этой ступени возможным
временем ожидания освобождения маркера которое, как правило, принимается у0
=0.1с. Например, ступени РИ время установления соединения:
с.
Длительность
работы маркеров на всех ступенях искания АТСКУ приведены в табл.3.3.
4.3.2
Исходящая связь с ГТС
Соединительные
линии к РАТС-ГТС занимаются после установления соединения данном направлении - tyс1
(см. значение T1ГТС)
и время занятия ИСЛ к ГТС соответственно равно:
Исходящая
нагрузка к ГТС:
4.3.3
Входящая нагрузка от ГТС
Телефонное
соединение от абонентов ГТС к абонентам ЖАТС устанавливается по односторонним
СЛ, включенным в ГИК. Все номера ТА-ЖАТС с правом связи с ГТС включаются в
абонентские списки ГТС шестизначной нумерации, причем знака номера ЖАТС
соответствуют третьему —шестому знаку NГТС:
|
X1 - код УИ/ВС |
|
Х2 - код РАТС |
NГТС
| Хз - номер тысячи |
|
Х4 - номер сотни | Nжatc
|
Х5 - номер десятка |
|
Х6- единичный номер |
Поэтому
входящее соединение от РАТС устанавливается по системе закрытой нумерацией с
выдачей четырех последних знаков по команде маркера ГИК из АРБ многочастотным
кодом в управляющее устройство АТСЦ. По этой информации на АТСЦ устанавливается
соединение, характеризующееся временем занятия:
где
t4МЧК
-
передача четырех последних знаков номера многочастотным кодом (согласно таблице
3.1: tnМЧК
= n*0,5 с). Входящее соединение от
междугородной сети страны (АМТС) осуществляется аналогично через ГИКМ, а
нагрузка по соединительным линиям междугородным (СЛМ) оценивается по средне
статической удельной междугородной нагрузке, равной 0,003 Эрл/номер. Поэтому
входящая междугородная нагрузка от АМТС к ЖАТС 1 определяется :
YАМТС
= YСЛМ
=
0,003 * N
YАМТС=YСЛМ=0,003*500=1,5
5. Технико-экономическое обоснование проектируемой ГТС
Расчет стоимости
оборудования ЦАТС «Алмаз».
Проведем расчет основных
экономических показателей:
- капитальных затрат;
- эксплуатационных
расходов;
- тарифных доходов
предприятия;
- эффективности
капитальных вложений.
5.1 Определение
капитальных затрат
Для расчета капитальных
затрат составим смету на приобретение оборудования на основе сводной
расценочной приемо-сдаточной ведомости на оборудование АТСЭ типа «Протон».
Сводка цен на приобретение оборудования приведена в таблице 6.1.
Таблица 6.1- Смета на
стоимость оборудования
|
Наименование
|
Количество
|
Цена
|
Сумма
|
|
(БАК)
Блок 15-ти абонентских комплектов с функцией диагностики АЛ
|
1
|
21
200р.
|
21
200р.
|
|
(БАКД)
Блок 10-ти абонентских комплектов (опция - таксофонные линии) и система
диагностики линии
|
1
|
22
400р.
|
22
400р.
|
|
(КСТА
Алмаз) Блок 10-ти системных портов (СТА+консоль) и 5-ти портов консолей
|
1
|
27
840р.
|
27
840р.
|
|
(КСАЛ)
Блок 8-ми абонентских комплектов и 4-х комплектов двухпроводных абонентских
СЛ (опция - МБ) с функцией диагностики линий
|
1
|
22
080р.
|
22
080р.
|
|
(КСЛА
Алмаз) Блок 15-ти комплектов двухпроводных абонентских СЛ
|
1
|
21
200р.
|
21
200р.
|
|
(КСЛА
Алмаз) Блок 6-ти комплектов входящих трехпроводных СЛ/ЗСЛ/СЛМ
|
1
|
22
600р.
|
22
600р.
|
|
(КСЛИ
Алмаз) Блок 6-ти комплектовисходящих трехпроводных СЛ/ЗСЛ
|
1
|
22
600р.
|
22
600р.
|
|
(КСЛУ)
Блок 8-ми универсальных комплектов 4-, 6-,8-проводных СЛ типа
E&M,4-проводных к АСП с ЧРК без элементов защиты
|
1
|
14
800р.
|
14
800р.
|
|
(БЦО)
Блок цифровых окончаний (4 слота)
|
1
|
6
880р.
|
6
880р.
|
|
(БИКМУ)
Субмодуль ИКМ-30 (ВКС, EDSS-1.QSIG.OKC №7, функции ЦТЭ, V24/28)
|
2
|
25
600р.
|
51
200р.
|
|
(БМО2К-01
(60 В)) Базовый модуль на 225 АЛ (БУКМ-02, импульсный блок питания на
60/48/24, 220 В, корпус настольно-настенный с кросс-платой 16)
|
1
|
120
313р.
|
120
313р.
|
|
Итого:
353113 руб
|
|
Сервисное
ПО
|
|
Наименование
|
Количество
|
Цена
|
Сумма
|
|
(МО,
клиент) "Модуль Оператора" Windows
|
1
|
0р.
|
0р.
|
|
(Тариф-
ПРО) "Тарификация, Версия ПРО"
|
1
|
25
600р.
|
25
600р.
|
|
Итого:
25600 руб.
|
|
Системные
телефоны
|
|
Наименование
|
Количество
|
Цена
|
Сумма
|
|
(-36EXE/R)
Гибридный системный телефон LG GK-36 с русифицированным дисплеем
|
2
|
5
472р.
|
10
994р.
|
|
(GK-DSS/E)
Консоль GK-DSS (48 клавишь)
|
2
|
2
432р.
|
4
864р.
|
|
Итого:
15808 руб
|
|
Всего
позиций: 15
|
Итого:
394521 руб
|
Капитальные затраты
состоят из следующих составляющих:
-
стоимость
оборудования и его монтажа (10% от стоимости оборудования);
-
транспортные
и заготовительно-складские расходы (2,5% от стоимости оборудования);
-
затраты
на тару и упаковку (0,5% от стоимости оборудования).
Стоимость монтажа.
394521. 0,1
= 39452,1 руб.
Транспортные и заготовительно-складские
расходы.
394521. 0,025
= 9863,025 руб.
Затраты на тару и
упаковку.
394521. 0,005
= 1972,605 руб.
Общие капитальные затраты.
К = 394521+ 39452,1 +
9863,025 + 1972,605 = 445808,73 руб.
Полученные результаты
показаны в таблице 6.2.
Таблица
6.2- Структура капитальных затрат
|
Виды
затрат
|
Стоимость,
руб.
|
Структура
капитальных затрат, %
|
|
Стоимость
оборудования
|
394521
|
88
|
|
Стоимость
монтажа
|
39452,1
|
8,8
|
|
Транспортные
расходы
|
9863,025
|
2,2
|
|
Тара
и упаковка
|
1972,605
|
1
|
|
Всего
|
445808,73
|
100
|
6.
Мероприятия по обеспечению безопасности
жизнедеятельности
6.1 Охрана труда в
операторской
Вопросы, которые
рассматривались в данном курсовом проекте касались цифровой АТС типа «Протон».
В режиме эксплуатации данная АТС не требует постоянного присутствия
обслуживающего персонала в автозале. Инженеры, обслуживающие данную АТС,
находятся в операторской и с помощью компьютеров осуществляют все необходимые
действия по управлению системой.
Так как инженеры в
автозал не входят, то в разделе безопасности жизнедеятельности следует
рассматривать вопросы, связанные с охраной труда работников операторской.
Условия труда
- это совокупность факторов производственной среды, оказывающих влияние на
здоровье и работоспособность человека в процессе труда. Условия труда должны
быть комфортными и исключать предпосылки для возникновения травм и
профессиональных заболеваний. Факторы, составляющие условия труда, обычно
делятся на четыре основные группы.
Первая группа факторов
- санитарно-гигиенические, включающие в себя показатели, характеризующие
производственную среду рабочей зоны. Они зависят от используемого оборудования
и технологических процессов, могут быть оценены количественно и нормированы.
Вторую группу
составляют психофизиологические элементы, обусловленные самим процессом труда.
Из этой группы только часть факторов может быть оценена количественно.
К третьей группе
относятся эстетические факторы, характеризующие восприятие работающим
окружающей обстановки и ее элементов, количественно они оценены быть не могут.
Четвертая группа
включает социально-психологические факторы, характеризующие психологический
климат в данном трудовом коллективе, количественно также не оцениваются.
6.2 Микроклиматические
условия
Микроклимат
производственных помещений - метеорологические условия внутренней среды этих
помещений, которые определяются действующими на организм человека сочетаниями
температуры, влажности и скорости движения воздуха.
Микроклимат
производственного помещения оказывает значительное влияние на работника.
Отклонения отдельных параметров микроклимата от рекомендованных значений
снижают работоспособность, ухудшают самочувствие работника и могут привести к
профессиональным заболеваниям.
Температура воздуха
оказывает существенное влияние на самочувствие и результаты труда человека.
Низкая температура вызывает охлаждение организма и может способствовать
возникновению простудных заболеваний. При высокой температуре возникает
перегрев организма, что ведет к повышенному потовыделению и снижению
работоспособности. Работник теряет внимание, что может стать причиной
несчастного случая.
Повышенная влажность
воздуха затрудняет испарение влаги с поверхности кожи и легких, что ведет к
нарушению терморегуляции организма и, как следствие, к ухудшению состояния
человека и снижению работоспособности. При пониженной относительной влажности
(менее 20%) у человека появляется ощущение сухости слизистых оболочек верхних
дыхательных путей.
Работа в диспетчерской,
легкая физическая работа - производится сидя и не требует физического
напряжения.
6.3 Шум
Беспорядочное смешение
звуков различной интенсивности и частоты принято считать шумом.
Многие производственные
процессы сопровождаются значительным шумом. Чрезмерный шум на производстве и в
быту, уровень которого не соответствует существующим санитарным нормам,
оказывает вредное влияние на организм человека: развивает тугоухость и глухоту,
расшатывает центральную нервную систему, вызывает головные боли и бессонницу,
учащается пульс и дыхание, изменяется кровяное давление.
Шум является причиной
более быстрого, чем в нормальных условиях, утомления и снижения
работоспособности человека. Работа человека в условиях чрезмерного шума
ослабляет внимание, что может прослужить причиной производственного
травматизма.
Помещение диспетчерской
не относится к числу помещений с повышенным уровнем шума. Нормируется только
суммарная мощность шума, которая не должна превышать 60 дБ.
6.4 Электробезопасность
Электрические
установки, к которым относится практически все оборудование ЭВМ, представляют
для человека большую потенциальную опасность, так как в процессе эксплуатации
или проведения профилактических работ человек может коснуться частей,
находящихся под напряжением.
Специфическая опасность
электроустановок - токоведущие проводники, корпуса ЭВМ и прочего оборудования,
оказавшегося под напряжением в результате повреждения (пробоя) изоляции, не
подают каких-либо сигналов, которые предупреждают человека об опасности.
Реакция человека на электрический ток возникает лишь при протекании последнего
через тело человека.
Электропитание ПЭВМ
осуществляется от стандартной трехфазной четырехпроводной сети с заземленной нейтралью
напряжением Uпит = 220 В. В таких сетях для защиты от пробоя на
корпус применяется защитное зануление.
6.5 Излучение
Электровакуумные
приборы, работающие в установках высоких и сверхвысоких частот при напряжениях
свыше 6 кВ, становятся источниками “мягкого” рентгеновского излучения. При
напряжениях свыше 15 кВ рентгеновское излучение выходит за пределы стеклянного
баллона электровакуумного прибора и рассеивается в окружающем пространстве
производственного помещения. Поэтому, если питающее напряжение (постоянное или
импульсное) превышает 15 кВ, то необходимо применять средства защиты
обслуживающего персонала от рентгеновского облучения.
Электроннолучевые трубки
мониторов компьютеров работают под напряжением 26 кВ, а следовательно являются
источниками мягкого рентгеновского излучения.
Защитные устройства
должны обеспечивать защиту обслуживающего персонала от воздействия
рентгеновских лучей с таким расчетом, чтобы доза рентгеновского облучения для
всего тела человека за неделю не превышала бы 100 миллирентен (мр).
При работе с ПЭВМ для
защиты от вредных излучений монитора пользуются защитными экранами. Кроме того
для защиты от бокового излучения расстояние между двумя компьютерами должно
быть не менее 2м.
6.7 Освещенность
С помощью света
осуществляется связь человека с окружающей средой.
Рациональное освещение
рабочих мест обеспечивает безопасные и здоровые условия труда. Освещение,
соответствующее санитарным нормам, является главнейшим условием гигиены труда и
культуры производства. При хорошем освещении устраняется напряжение зрения,
ускоряется темп работы. При недостаточном освещении глаза сильно напрягаются,
темп работы снижается, утомляемость работников увеличивается, качество работы
снижается. Недостаточное освещение рабочих мест отрицательно влияет на
хрусталик глаза, что может привести к близорукости. Чрезмерно яркое освещение
раздражает сетчатую оболочку глаза, вызывает ослеплённость. Глаза работников
сильно устают, зрительное восприятие ухудшается, растет производственный
травматизм, производительность труда падает. При хорошо организованном,
рациональном освещении, соответствующем санитарным нормам, эти недостатки
устраняются.
Для рационального
освещения необходимо выполнение следующих условий:
- постоянная
освещенность рабочих поверхностей во времени (колебание напряжения в сети не
должны превышать 4% и выходить за пределы установленных норм);
- достаточная и
равномерно распределенная яркость освещаемых рабочих поверхностей;
- отсутствие резких
контрастов между яркостью рабочей поверхности и окружающего пространства;
- отсутствие резких и
глубоких теней на рабочих поверхностях и на полу в проходах, что достигается
правильным расположением светильников, а также увеличением отражения света от
потолка и стен помещения и освещаемых рабочих поверхностей.
На предприятиях связи
для освещения производственного помещения применяется общее освещение с
равномерным (симметричным) размещением ламп.