Технічне обслуговування рульового керування автомобілів КамАЗ

  • Вид работы:
    Реферат
  • Предмет:
    Транспорт, грузоперевозки
  • Язык:
    Русский
    ,
    Формат файла:
    MS Word
    6,23 Mb
  • Опубликовано:
    2010-09-25
Вы можете узнать стоимость помощи в написании студенческой работы.
Помощь в написании работы, которую точно примут!

Технічне обслуговування рульового керування автомобілів КамАЗ











Тема: Технічне обслуговування рульового керування автомобілів КамАЗ

Зміст

1. Загальні відомості

2. Будова рульового керування автомобілів камаз

2.1 Кутовий редуктор

2.2 Рульовий механізм із вбудованим гідропідсилювачем

3. Технічне обслуговування і регулювання

Список використаної літератури

1. Загальні відомості


Рульове керування - сукупність механізмів автомобіля, що забезпечують його рух у заданому напрямку.

Рульове керування складається з рульового колеса, сполученого валом з рульовим механізмом, і рульового приводу. На автомобілях-тягачах у рульове керування включений підсилювач.

Рульовий механізм забезпечує повертання керованих коліс з невеликим зусиллям на рульовому колесі.

Рульові механізми залежно від типу рульової передачі бувають: черв'ячні; гвинтові; шестеренчасті.

У черв'ячному рульовому механізмі (з передачею типу черв 'як - ролик) за ведучу ланку править черв'як, який закріплено на рульовому валу, а ролик установлено на роликовому підшипнику на одному валу із сошкою. Щоб у разі великого кута повороту черв'яка зчеплення було повним, нарізку черв'яка виконують за дугою кола - глобоїду. Такий черв'як називають глобоїдним.

У гвинтовому рульовому механізмі обертання гвинта, зв'язаного з рульовим валом, передається гайці, яка закінчується рейкою, зчепленою із зубчастим сектором. Сектор установлено на одному валу із сошкою. Такий рульовий механізм утворений рульовою передачею типу гвинт - гайка - сектор. У шестерінчастих рульових механізмах рульова передача утворюється циліндричними або конічними шестернями. До них належить також передача типу шестірня - рейка, в якій циліндрична шестірня зв'язана з рульовим валом, а рейка, зчеплена із зубцями шестірні, править за поперечну тягу.

Рейкові передачі й передачі типу черв'як - ролик як такі, що забезпечують порівняно невелике передаточне число, застосовують переважно на автомобілях невеликої вантажопідйомності. Для автомобілів-тягачів використовують рульові передачі типу черв'як - сектор і гвинт - гайка - сектор, обладнані або вмонтованими в механізм підсилювачами, або підсилювачами, винесеними в рульовий привід.

Рульовий привод разом із рульовим механізмом передає керуюче зусилля від водія безпосередньо до коліс і забезпечує цим поворот керованих коліс на заданий кут.

Рульовим приводом називають систему тяг і важелів, що здійснює в сукупності з рульовим механізмом поворот автомобіля.

Один із поворотних важелів, найчастіше лівий 4, зв'язаний із рульовим механізмом через подовжню тягу 6, Отже, коли приводиться в дію рульовий механізм, подовжня тяга, переміщуючись уперед або назад, здійснює повертання обох коліс на різні кути відповідно до схеми повороту.

Рис.1.1 Схема повороту автомобіля (а), автопоїзда в складі тягача з причепом (б) та тягача з напівпричепом (в): 1 - балка; 2,4 - відповідно правий та лівий поворотні важелі; 3,6 - відповідно поперечна й подовжня тяги; 5 - поворотна цапфа; А - ширина смуги руху

Розташування й взаємодію деталей рульового керування, що не має підсилювача, можна розглянути на спрощеній схемі рис.2. Тут рульовий механізм складається з рульового колеса З, рульового вала 2 та рульового механізму 1, утвореної зчепленням черв'ячної шестірні (черв'яка) із зубчастим сектором, на вал якого кріпиться сошка 9 рульового приводу. Сошка та решта деталей рульового керування - подовжня тяга 8, поворотний важіль 7, поворотні важелі 5 лівої та правої поворотних цапф, поперечна тяга 6 - складають рульовий привод.

Рис.1.2 Схема рульового керування: 1 - рульовий механізм; 2 - рульовий вал; 3 - рульове колесо; 4 - поворотна цапфа; 5 - поворотні важелі лівої та правої поворотних цапф; 6 - поперечна тяга; 1 - поворотний важіль; 8 - поздовжня тяга; 9 - сошка рульового привода

 

Керовані колеса повертаються, коли обертається рульове колесо 3, яке через вал 2 передає обертання рульовому механізму 1. При цьому черв'як передачі, що перебуває в зачепленні з сектором, починає переміщувати сектор угору або вниз по своїй нарізці. Вал сектора починає обертатися й відхиляє сошку 9, яку верхнім кінцем насаджено на ту частину вала сектора, що виступає. Відхилення сошки передається подовжній тязі 8, що переміщується вздовж своєї осі. Подовжня тяга 8 зв'язана через верхній важіль 7 із поворотною цапфою 4, тому її переміщення спричинює повертання лівої поворотної цапфи. Від неї зусилля повертання через нижні важелі 5 і поперечну тягу 6 передається правій цапфі. Таким чином обидва колеса повертаються. Керовані колеса повертаються рульовим керуванням на обмежений кут, що дорівнює 28-35°. Обмеження вводиться для того, щоб під час повертання виключити зачіпання колесами деталей підвіски або кузова автомобіля.

Конструкція рульового керування визначається типом підвіски керованих коліс: при залежній підвісці передніх коліс зберігається схема рульового керування, наведена на рис.2.

2. Будова рульового керування автомобілів камаз


Рульове керування автомобіля (рис.2.1) оснащено гідропідсилювачем 12, об'єднаним в одному агрегаті з рульовим механізмом, клапаном 1 керування гідропідсилювачем і кутовим редуктором 13.

Гідропідсилювач рульового керування зменшує зусилля, яке необхідно прикласти до рульового колеса для повороту передніх коліс, пом'якшує удари, що передаються від нерівностей дороги, а також підвищує безпеку руху, дозволяючи зберегти контроль за напрямом руху автомобіля у разі розриву шини переднього колеса.

Колонка рульового керування 4 прикріплена у верхній частині до кронштейна, встановленого на внутрішній панелі кабіни, в нижній частині - до фланця на підлозі кабіни. Колонка сполучена з рульовим механізмом карданним валом.

Карданний вал 3 оснащений двома шарнірами на голчастих підшипниках, в які при збиранні закладається масло Літол-24.

В експлуатації підшипники не потребують поповнення масла.

Потраплянню бруду і вологи в шарнірне з'єднання запобігають гумові кільця.

Рис.2.2 Рульове керування автомобіля КамАЗ:

1 - клапан керування гідропідсилювачем; 2 - радіатор; 3 - карданний вал; 4 - колонка; 5 - рульове колесо; 6 - бачок гідросистеми; 7 - насос гідро-підсилювача; 8 - трубопровід високого тиску; 9 - трубопровід низького тиску; 10 - сошка; 11 - подовжня тяга; 12 - гідропідсилювач з рульовим механізмом; 13 - кутовий редуктор

2.1 Кутовий редуктор

 

Кутовий редуктор (рис.2.3) з двома конічними шестернями передає обертання від карданного вала на гвинт рульового механізму. Ведуча шестірня 1 кутового редуктора виконана разом з валом і встановлена в корпусі 4 на кулькових підшипниках.

Кулькові підшипники напресовані на вал шестірні і утримуються від осьового переміщення гайкою 16. Для запобігання мимовільного відкручування буртик гайки втиснутий у паз на валу шестірні.

Ведена шестірня 11 обертається в двох кулькових підшипниках 10, посаджених на хвостовик шестірні з натягом. Від подовжніх переміщень ведена шестірня утримується стопорним кільцем 9 і упорною кришкою 12. Зачеплення конічних шестерень регулюють прокладками 6, встановленими між корпусами ведучої шестірні і кутового редуктора.

Рис.2.3 Кутовий редуктор:

1 - ведуча шестірня; 2 - манжета; 3 - кришка корпусу; 4 - корпус ведучої шестірні; 5, 7 і 10 - кулькові підшипники; 6 - регулювальні прокладки; 8, 15 і 19 - ущільнювальні кільця; 9 - стопорне кільце; 11 - ведена шестірня; 12 - упорна кришка; 13 - корпус редуктора; 14 - розпірна втулка; 16 - гайка кріплення підшипників; 17 - шайба; 18 - упорне кільце; 20 - захисна кришка

 

2.2 Рульовий механізм із вбудованим гідропідсилювачем

 

Рульовий механізм з вбудованим гідропідсилювачем (рис.2.4) прикріплений до переднього кронштейна передньої лівої ресори. Кронштейн, у свою чергу закріплений на рамі автомобіля.

Картер 14 рульового механізму, в якому переміщується поршень-рейка, служить одночасно робочим циліндром гідропідсилювача.

Гвинт 17 рульового механізму має шліфовану гвинтову канавку. В гайці 18 прошліфована така ж канавка і просвердлено два отвори. Отвори з'єднуються косим пазом, вифрезеруваним на зовнішній поверхні гайки.

Два однакові жолоби 19 напівкруглого перетину встановлені в згадані отвори і паз, утворюють обвідний канал, по якому кульки 20, викочуючись з гвинтового каналу, утвореного нарізками гвинта і гайки, знов потрапляють у нього.

Гвинтова канавка на гвинті в її середній зоні виконана так, що тут між гвинтом, гайкою і кульками утворюється невеликий натяг. Це необхідно для забезпечення беззазорного сполучення деталей у цій зоні.

Оскільки глибина канавки на гвинті від середини до кінців дещо збільшується, при переміщенні гайки в сполученні гвинта і гайки з'являється невеликий зазор. Така конструкція забезпечує велику довговічність пари гвинт-гайка і покращує стабілізацію руху автомобіля. Крім того, ослаблення посадки кулькової гайки на гвинті до країв його гвинтової канавки полегшує підбір кульок і збирання кулько-гвинтової пари.

Гайку після складання з гвинтом і кульками встановлюють у поршень-рейку 15 і фіксують двома установлювальними гвинтами 9, які закернюють у кільцеву проточку, виконану на поршень-рейці. Остання зачіплюється із зубчастим сектором вала 10 сошки, який обертається в бронзовій втулці картера і кришці 27.

Товщина зубів сектора вала сошки змінна за довжиною, що дозволяє змінювати зазор у зчепленні переміщенням регулювального гвинта 25, укрученого в бічну кришку. Головка регулювального гвинта, яка спирається на упорну шайбу ЗО, входить у гніздо вала сошки. Осьове переміщення регулювального гвинта у валі сошки, рівне 0,02-0,08 мм, забезпечується підбором регулювальної шайби 29 відповідної товщини.

Рис.2.4 Рульовий механізм із вбудованим гідропідсилювачем:

1 - передня кришка; 2 - клапан керування гідропідсилювачем; 3, 28 - стопорні кільця; 4 - плаваюча втулка; 5,7 - ущільнювальні кільця; 6,8 - розпірні кільця; 9 - установлювальний гвинт; 10 - вал сошки; 11 - перепускний клапан; 12 - захисний ковпачок; 13 - задня кришка; 14 - картер рульового механізму; 15 - поршень-рейка; 16 - зливна магнітна пробка; 17 - гвинт; 18 - кулькова гайка; 19 - жолоб; 20 - кулька; 21 - кутовий редуктор; 22 - упорний роликопідшипник; 23 - пружинна шайба; 24, 26 - гайки; 25 - регулювальний гвинт; 27 - бічна кришка; 29 - регулювальна шайба; 30 - упорна шайба

Деталі 25,29, 30 утримуються в гнізді вала сошки стопорним кільцем 28. Середня западина між зубами рейки, що входять у зчеплення з середнім зубом зубчастого сектора вала сошки, виконана дещо меншої ширини, ніж інші. Це необхідно для запобігання заклинювання механізму при повороті вала сошки. На частині гвинта рульового механізму, розташованій у порожнині корпусу кутового редуктора, нарізані шліци, якими гвинт сполучається з веденою шестірнею кутової передачі.

Клапан керування гідропідсилювачем рульового керування (рис.2.5) кріпиться до корпусу кутового редуктора за допомогою болта і чотирьох шпильок. Корпус 9 клапана має виконані з великою точністю центральний отвір і шість (три наскрізних і три глухих) розташованих навкруг нього менших отворів. Золотник 7 клапана керування розміщений в центральному отворі, а упорні підшипники 22 (див. рис.2.4) закріплені на гвинті гайкою 24, буртик якої втиснено у паз гвинта 17. Під гайку підкладена конічна пружинна шайба 23, що забезпечує можливість регулювання сили затягування упорних підшипників. Увігнутою стороною шайба направлена до підшипника. Великі кільця роликопідшипників повернені до золотника.

Гвинт рульового механізму і жорстко зв'язаний з ним золотник можуть переміщуватися в кожний бік від середнього положення на 1-1,2 мм. Величина переміщення визначається глибиною виточок на торцях корпусу клапана і обмежується великими кільцями підшипників, які упираються в торці згаданих виточок.

У кожний з трьох накрізних отворів корпусу клапана вставлено по два реактивних плунжери 8 (див. рис.2.5) з центруючими пружинами 6 між ними.

Щоб забезпечити однакове реактивне зусилля на рульовому колесі від тиску масла і необхідні для цього рівні активні площі плунжерів при поворотах, як направо, так і наліво, в кожний з трьох глухих отворів, з боку кутового редуктора, встановлено по плунжеру 1.

Загальна площа цих трьох реактивних елементів за величиною дорівнює площі перетину гвинта в місці його ущільнення в кришці кутового редуктора.

 

Рис.2.5 Клапан керування гідропідсилювачем рульового керування:

7 - плунжер; 2,6 - пружини; З, 11 - запобіжні клапани; 4 - пробка; 5 - зворотний клапан; 7 - золотник; 8 - реактивний плунжер; 9 - корпус клапана; 10 - ущільнювальне кільце

У одному з плунжерів, що знаходяться в глухих отворах, вбудований кульковий зворотний клапан 5, що сполучає при поломці гідросистеми рульового керування лінії високого і низького тиску і забезпечує, таким чином, можливість керування автомобілем. У цьому випадку рульове керування працює без підсилення.

У корпусі клапана керування встановлений також запобіжний клапан 11, що сполучає лінії нагнітання і зливу при тиску в системі, що перевищує 7,5-8,0 МПа і зберігає тим самим насос від перегріву, а деталі механізму від надмірних навантажень. Запобіжний клапан розміщений у окремій бобишці, що дає можливість при необхідності провести перевірку, регулювання або заміну деталей.

Порожнини, що знаходяться під передньою кришкою 1 (див. рис.2.4) і в кутовому редукторі, сполучені отворами в корпусі клапана керування із зливною магістраллю і ущільнені по торцях гумовими кільцями круглого перетину. Аналогічними кільцями герметизуються всі нерухомі з'єднання деталей рульового механізму і гідропідсилювача. Вал сошки ущільнений манжетою із спеціальним упорним кільцем, що запобігає витисканню робочої кромки манжети при високому тиску. Зовнішня манжета захищає вал сошки від попадання пилу і бруду. Ущільнення поршня в циліндрі і гвинта рульового механізму в кришці корпусу кутового редуктора здійснюються фторопластовими кільцями 5 і 7 у комбінації з гумовими розпірними кільцями 6,8. Регулювальний гвинт вала сошки ущільнений гумовим кільцем. Ущільнення вала ведучої шестірні кутового редуктора комбіноване і складається з двох манжет, які фіксуються розрізним упорним кільцем. У картері рульового механізму є зливна пробка 16 з магнітом для уловлювання сталевих частинок з масла і перепускний клапан 11, що використовується при заправці і прокачуванні гідросистеми рульового керування. Від насоса до корпусу клапана керування підведені рукави і трубопроводи високого і низького тиску. По рукавах масло прямує до механізму, а по трубопроводах повертається в бачок гідросистеми.

Гідропідсилювач рульового керування працює таким чином: при прямолінійному русі гвинт 15 (рис.2.6) і золотник 20 знаходяться в середньому положенні. Лінії нагнітання 26 і злив 32, а також обидві порожнини 7 і 25 сполучені. Масло вільно проходить від насоса 4 через клапан керування і повертається в бачок 31 гідросистеми. При обертанні гвинта внаслідок опору, що виникає при повороті коліс 12, виникає сила, яка прагне зсунути гвинт в осьовому напрямі у відповідну сторону. Коли ця сила перевищить зусилля попереднього стиснення центруючих пружин 23, гвинт переміщується і зміщує жорстко зв'язаний з ним золотник. При цьому одна порожнина циліндра гідропідсилювача сполучається з лінією нагнітання і відключається від лінії зливу, інша, навпаки, залишаючись сполученою з лінією зливу, відключається від лінії нагнітання. Робоча рідина, що надходить від насоса у відповідну порожнину циліндра, тисне на поршень-рейку 8 і, створюючи додаткове зусилля на секторі вала 6 сошки рульового керування, сприяє повороту керованих коліс. Тиск у робочій порожнині циліндра збільшується пропорційно опору повороту коліс. Одночасно зростає тиск у порожнинах під реактивними плунжерами 22. Чим більший опір повороту коліс, а отже, вищий тиск у робочій порожнині циліндра, тим більше зусилля, з яким золотник прагне повернутися в середнє положення, а також зусилля на рульовому колесі. Так у водія створюється "відчуття дороги".

При припиненні повороту рульового колеса, якщо воно утримується водієм у поверненому положенні, золотник, що знаходиться під дією центруючих пружин і наростаючого тиску в реактивних порожнинах, зміщується до середнього положення.

При цьому золотник не доходить до середнього положення. Розмір щілини для проходу масла в зливну лінію стає таким, що в порожнині циліндра, який знаходиться під натиском, підтримується тиск, необхідний для утримування керованих коліс у поверненому положенні.

Якщо переднє колесо при прямолінійному рухові автомобіля почне різко повертатися, наприклад, унаслідок наїзду на яку-небудь перешкоду на дорозі, то вал сошки, повертаючись, переміщатиме поршень-рейку Оскільки гвинт не може обертатися (при утриманні рульового колеса в одному положенні), він теж переміститься в осьовому напрямі разом із золотником. При цьому порожнина циліндра, в напрямку якої рухається поршень-рейка, буде сполучена з лінією нагнітання насоса і від'єднана від зливної лінії. Тиск у цій порожнині циліндра почне зростати, і удар буде врівноважений (пом'якшений) зростаючим тиском.

Рис.2.6 Схема роботи гідропідсилювача рульового керування:

1 - рульове колесо; 2 - трубка фільтра; 3 - фільтр; 4 - насос; 5 - перепускний клапан; 6 - вал сошки; 7, 25 - порожнина; 8 - поршень-рейка; 9 - сошка; 10 - подовжня рульова тяга; 11 - поперечна рульова тяга; 12 - колесо; 13 - зливна пробка; 14 - кулькова гайка; 15 - гвинт; 16 - поршень-рейка; 17 - кульковий підшипник; 18 - запобіжний клапан; 19 - корпус розподільника; 20 - золотник; 21 - пружинна шайба; 22 - реактивний плунжер; 23 - пружина; 24 - картер рульового механізму; 26 - лінія нагнітання; 27 - карданний вал; 28 - радіатор; 29 - рульова колонка; 30 - заливний фільтр; 31 - бачок; 32 - лінія зливу; 33 - пружина; 34 - запобіжний клапан; 35 - гніздо клапана

Гвинт, гайка, кульки, упорні підшипники, а також кутова передача, карданний вал і колонка рульового керування при роботі гідропідсилювача навантажені відносно невеликими силами. В той же час зубчасте зчеплення рульового механізму, вал сошки і картер сприймають основне зусилля, що створюється тиском масла на поршень-рейку.

Експлуатація з непрацюючою гідросистемою спричинює передчасне зношення або поломки кулькової пари та інших навантажених деталей. Рух із непрацюючим гідропідсилювачем має бути зведений до мінімуму.

Насос гідропідсилювача рульового керування з бачком для масла (рис.2.7) встановлений у розвалі блока циліндрів. Шестірня приводу 1 зафіксована на валу 5 насоса шпонкою 6 і закріплена гайкою 2 з шплінтом 3. В роторі 38 насоса, розміщеного всередині статора 7 на шліцьовому кінці вала насоса, є десять пазів, у яких переміщуються пластини 35.

При складанні статор з одного боку притискається до точно обробленого торця корпусу 40 насоса, з іншого - до статора прилягає розподільний диск 34. Положення статора щодо корпусу і розподільного диска зафіксовано штифтами. При обертанні вала насоса пластини притискуються до криволінійної поверхні статора під дією відцентрової сили і тиску масла, що надходить у простір під ними з порожнини кришки насоса каналами в розподільному диску. Між пластинами і нерухомими поверхнями насоса утворюються камери змінного об'єму, які, проходячи повз зони всмоктування, заповнюються маслом. Для більш повного заповнення камер масло підводиться як з боку корпусу насоса (через два вікна), так і з боку поглиблень у розподільному диску через шість отворів, виконаних у статорі і розташованих по три проти всмоктувальних вікон. При зменшенні міжлопаточного об'єму масло витісняється каналами в розподільному диску в порожнину кришки насоса, що через калібрований отвір А з'єднується з лінією нагнітання. На ділянках поверхні статора з постійним радіусом (між зонами всмоктування і нагнітання) об'єм камер не змінюється. Ці ділянки необхідні для того, щоб забезпечити мінімальне перетікання масла між цими зонами.

Рис.2.8 Насос гідропідсилювача рульового керування:

1 - шестірня приводу; 2 - гайка кріплення шестірні; 3 - шплінт; 4, 15 - шайби; 5 - вал насоса; 6 - сегментна шпонка; 7, 10 - упорні кільця; 8 - кульковий підшипник; 9 - масловідгінне кільце; 11 - манжета; 12 - голчастий підшипник; 13 - кришка заливної горловини; 14 - заливний фільтр; 16 - болт; 17, 36, 39 - ущільнювальні кільця; 18 - труба фільтра; 19 - запобіжний клапан; 20 - кришка; 21, 28 - ущільнювальні прокладки; 22 - бачок; 23 - фільтруючий елемент; 24 - колектор; 25 - трубка бачка; 26 - штуцер; 27 - прокладка колектора; 29 - кришка насоса; 30 - пружина перепускного клапана; 31 - сідло запобіжного клапана; 32 - регулювальні шайби; 33 - перепускний клапан у зборі із запобіжним клапаном; 34 - розподільний диск; 35 - пластина насоса; 37 - статор; 38 - ротор; 40 - корпус насоса; А, Б - дросельні отвори; В - порожнина нагнітання; Г - радіальні отвори; І - з системи; II - в систему

Щоб уникнути "замикання" масла, яке перешкоджало б переміщенню пластин, простір під ними зв'язаний за допомогою додаткових малих каналів у розподільному диску з порожниною у кришці 29 насоса. Вал насоса обертається в корпусі на голчастому 12 і кульковому 8 підшипниках.

Насос оснащений розташованим у кришці комбінованим клапаном 33, що складається із запобіжного і перепускного клапана. Перший з них є додатковим (резервним) запобіжним клапаном у гідросистемі. Він регулюється на тиск 8,5-9,0 МПа. Другий обмежує кількість масла, яке надходить у систему. При мінімальній частоті обертання колінчастого вала двигуна клапан притиснутий пружиною 30 до розподільного диска. Масло з порожнини в кришці насоса через калібрований отвір А надходить у канал, що з'єднуєть ся з лінією нагнітання. Порожнина під клапаном, де розташована пружина ЗО, сполучається з цим каналом отвором діаметром 5 мм. Із збільшенням частоти обертання колінчастого вала двигуна за рахунок опору отвору А утворюється різниця тиску в порожнині кришки (перед клапаном) і каналі нагнітання насоса (за клапаном). Перепад тиску тим більший, чим більше масла проходить за одиницю часу через цей отвір і не залежить від величини тиску. Надмірний тиск у порожнині кришки, тисне на лівий торець перепускного клапана і на пружину. При певній різниці тиску зусилля, що прагне зсунути клапан, зростає настільки, що пружина стискується і клапан, переміщуючись управо, відкриває вихід частини масла з порожнини кришки в бачок. Чим більше масла подає насос, тим більше його перепускається через клапан назад у бачок. Таким чином, подача масла в систему понад норму майже не збільшується.

Робота перепускного клапана при спрацьовуванні вбудованого в нього запобіжного клапана здійснюється аналогічним чином. Відкриваючись, кульковий клапан пропускає невеликий потік масла в бачок через радіальні отвори в перепускному клапані. При цьому тиск на правий торець перепускного клапана падає, оскільки потік масла, що йде через кульковий клапан, обмежений отвором Б. Клапан у цьому випадку, переміщуючись управо, відкриває вихід у бачок основної частини масла, що перепускається. Регулювання запобіжного клапана повинно здійснюватися тільки застосуванням регулювальних шайб 32, що підкладаються під сідло клапана 31. Для запобігання шуму і зносу деталей насоса при підвищенні частоти обертання колінчастого вала двигуна передбачений колектор 24. Він примусово направляє масло, що зливається перепускним клапаном у внутрішню порожнину корпусу насоса і забезпечує при цьому підвищений тиск у зонах всмоктування. Це необхідно для уникнення надмірного розрідження і появи кавітації. Спеціально підібраний змінний перетин внутрішньої порожнини колектора до і після отворів у ньому сприяє тому, що потоком масла в колекторі захоплюється масло з бачка гідросистеми.

Бачок 22 насоса, відштампований з листової сталі, кріпиться безпосередньо до корпусу і кришки насоса болтами через проміжні гумові прокладки 28. У бачку розміщений розбірний сітчастий фільтр 23, пакет окремих фільтруючих елементів, який у разі значного засмічення віджимається вгору збільшеним тиском, а масло при цьому безпосередньо зливається в бачок. Крім того, в бачку є заливний фільтр 14 і запобіжний клапан 19, що перешкоджає збільшенню тиску в порожнині бачка над маслом більш ніж на 0,02-0,03 МПа. Кришка 20 бачка ущільнюється гумовими прокладкою 21 і кільцем 17. Ущільнення поверхонь торців корпусу і кришки із статором забезпечується гумовими кільцями 36 і 39 круглого перетину.

Трубопроводи системи гідропідсилювача рульового керування є сталевими цільнотягнутими трубами і гумовими рукавами з обплетенням сталевим дротом. Рукави високого тиску мають спеціальні наконечники, а рукави низького тиску кріпляться на трубопроводах гідросистеми за допомогою хомутиків. З'єднання труб між собою і кріплення їх до насоса і клапана керування гідропідсилювачем здійснюються накидними гайками і штуцерами із зовнішньою різьбою. Ущільнення трубопроводів забезпечується тим, що кінці труб, виконані з подвійним розвальцьовуванням, притискуються до конічних поверхонь відповідних деталей. Момент затягування гайок у з'єднаннях трубопроводів повинен бути в межах 80-100 Н"м.

Радіатор 2 призначений для охолоджування масла в системі гідропідсилювача рульового керування і виконаний у вигляді алюмінієвої оребреної труби, встановленої перед радіатором охолоджування двигуна. Масло від рульового механізму до радіатора і від радіатора до насоса підводиться по гумових рукавах.

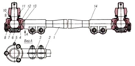
Рульовий привід включає подовжню і поперечну рульову тягу.

Подовжня тяга сполучає сошку рульового керування з верхнім важелем лівого поворотного кулака і представляє цільноковану деталь з нерегульованими шарнірами, що включають кульовий палець, верхній і нижній вкладиші, пружину і різьбову кришку із стопорною шайбою.

Поперечна тяга рульової трапеції - трубчаста, з різьбовими кінцями, на які нагвинчують наконечники 2, 14 з кульовими шарнірами. Поворотом тяги в наконечниках регулюється сходження керованих коліс. Кожний наконечник фіксується двома болтами 3. Шарніри поперечної тяги також нерегульо-вані, складаються з кульового пальця //, верхнього 12 і нижнього 13 вкладишів, пружини 7 і кришки 6, прикріпленої з ущільнювальною паронітовою прокладкою 4 до наконечника тяги болтами 8. Шарніри змащуються через масельнички. Захисні гумові накладки захищають шарніри від попадання на них пилу і бруду.

Рис.2.9 Поперечна рульова тяга: 1 - поперечна тяга; 2, 14 - наконечники; 3 - болт кріплення наконечника; 4 - ущільнювальна прокладка; 5 - маслянка; 6 - кришка; 7 - пружина; 8 - болт кріплення кришки; 9 - захисна накладка; 10 - обойма накладки; 11 - кульовий палець; 12 - верхній вкладиш; 13 - нижній вкладиш

3. Технічне обслуговування і регулювання


Технічне обслуговування рульового механізму полягає в періодичній перевірці і підтяжці кріплень, змащуванні і перевірці герметичності всіх ущільнень.

При експлуатації необхідно регулярно в терміни, вказані в хіммотологічній карті, перевіряти рівень масла в бачку насоса і промивати його фільтри. Щодня зовнішнім оглядом контролювати герметичність з'єднань і шлангів гідросистеми рульового керування. Для гідросистеми необхідно використовувати тільки чисте, відфільтроване масло, вказане в хіммотологічній карті. Заливати масло треба через лійку з подвійною сіткою і заливний фільтр, встановлений в горловині кришки бачка насоса.

Використання забрудненого масла викликає заклинювання руля і швидке зношування деталей насоса і рульового механізму. При перевірці рівня масла передні колеса автомобіля повинні бути встановлені в положення, відповідне прямолінійному руху. Перед зняттям пробки заливної горловини для перевірки рівня масла, його доливання або зміни пробку або кришку треба ретельно очистити від бруду і промити. Масло доливають при роботі двигуна на холостому ходу до рівня між мітками покажчика.

Фільтри насоса гідропідсилювача потрібно промивати в гасі. У разі значного засмічення фільтрів смолянистими відкладеннями їх необхідно додатково промити розчинником № 646.

Інвентар для заправки масла повинен бути чистий, а місце для заливки масла на картері ретельно очищене від бруду. При зміні масла в гідросистемі автомобілів МАЗ, яке проводиться 2 рази на рік (при сезонному обслуговуванні), слід підняти передню вісь автомобіля.

Для зливу масла з системи необхідно:

відкрутити заливну і зливну пробки, злити масло з бачка і промити фільтр і бачок гасом;

злити масло з картера рульового механізму, для чого викрутити зливну пробку;

від'єднати від розподільника трубопроводи гідроциліндра і опустити їх у ємкість. Поволі повертаючи рульове колесо вправо і вліво до упору, злити масло з гідроциліндра.

При зміні масла слід звертати увагу на ступінь забрудненості масла, що зливається і при необхідності промити картер свіжим.

При заливанні свіжого масла потрібно повністю видалити повітря з системи. Для цього необхідно:

залити масло в бачок і після нетривалого часу запустити двигун, давши йому попрацювати з малою частотою обертання;

долити масло в бачок і поволі повернути рульове колесо 2 рази до упору вправо і вліво, поки не припиниться виділення бульбашок повітря з масла в бачку. Долити масло до необхідного рівня.

Регулювання натягнення пасів приводу масляного насоса автомобіля здійснюється гвинтом 7. При правильному натягненні прогинання в середній частині паса під зусиллям 40 кН повинно бути в межах 10-15 мм. Після регулювання гвинт 7 потрібно законтрити контргайкою 8.

Шарнірні з'єднання тяги регулярно змащують прес-маслянкою до видавлювання свіжого масла з-під гумових ущільнень шарнірів.

Необхідно щодня зовнішнім оглядом перевіряти кріплення деталей рульового керування та їх шплінтування: сошки рульового механізму на валу, гайок кульових пальців рульової тяги, важелів у поворотних кулаках, різьбових кришок наконечників рульової тяги, рульового колеса на валу рульової колонки. При ненадійному кріпленні і шплінтуванні деталі при русі автомобіля можуть роз'єднатися, що спричинить аварію.

Періодично необхідно перевіряти відсутність зазора в шарнірах рульових тяг, шарнірах і шліцьових з'єднаннях карданного вала, а також вільний хід рульового колеса, який не повинен перевищувати 25° (при працюючому двигуні).

Для регулювання вільного ходу рульового колеса перш за все необхідно усунути люфти в рульовому приводі. Якщо люфту в приводі немає, то причиною збільшеного вільного ходу рульового колеса може бути рульовий механізм. Його необхідно відрегулювати.

Для діагностики роботи гідросистеми рульового керування потрібно пам'ятати наступне:

при проходженні нейтрального положення золотником (поворот рульового колеса вліво - вправо від середнього положення) і температурі робочої рідини 50 ±5°С тиск у напірній магістралі не повинен перевищувати 0,3 МПа;

при частоті обертання колінчастого вала 1500 хв_1 і крайньому (лівому або правому) положенні керованих коліс максимальний тиск у напірній магістралі не повинен перевищувати 11 МПа.

Регулювання рульового механізму включає регулювання підшипників гвинта і зачеплення зубчастого сектора і гайки-рейки. Регулювання механізму необхідно починати з підшипників гвинта в такій послідовності:

зняти рульовий механізм;

злити робочу рідину з рульового механізму, відкрутивши пробку;

закріпити рульовий механізм у лещатах за вушки корпусу в горизонтальному положенні вгору сектором;

поворотом вхідного вала 7встановити гайку-рейку 4 і сектор 8 в одне з крайніх положень (ліве або праве);

визначити момент, необхідний для прокручування вхідного вала 7 у напрямку з крайнього положення в середнє (приблизно на кут 30°). Якщо момент менший 0,1 Н"м, необхідно відрегулювати натяг у підшипниках 1, зменшивши кількість прокладок 9.

Після регулювання момент, необхідний для прокручування вхідного вала 7, повинен знаходитися в межах 1-16 Н-м. Для перевірки наявності люфту в зубчастому зачепленні потрібно обертанням вхідного вала 7 встановити гайку-рейку і зубчастий сектор у середнє положення (повне число обертів вхідного вала ділиться надвоє), встановити сошку на вал сектора 8. Похитуванням сошки в обидва боки визначити наявність люфту (за наявності люфту чутно стукіт у зубчастому зчепленні і, крім того, вал сектора повертається, а вхідний вал 7 залишається нерухомим).

Для регулювання зубчастого зчеплення необхідно зняти кришки 19 і 15 і повернути ексцентричні втулки 12 за годинниковою стрілкою на один і той же кут (якщо дивитися з боку вала сектора) настільки, щоб ліквідувати зазор у зубчастому зчепленні. Установку кришок 15 і 19 проводити так, щоб штифти 14 увійшли до отворів втулок 12, розташованих в одній діаметральній площині з різьбовими отворами в корпусі З під кріплення кришок. При незначному незбіганні отворів 11 з різьбовими отворами корпусу З втулки 12 потрібно повернути в той або інший бік до збігу вищезгаданих отворів, звернувши при цьому увагу на відсутність зазора в зубчастому зачепленні. Штифти 14 повинні розташовуватися один проти одного на одній лінії. Кришки 15 і 19 після регулювання можуть бути повернуті на 90, 180 і 270° щодо положення до регулювання.

Після регулювання і установки кришок 15 і 19 момент, необхідний для прокручування вхідного вала 7, у середньому положенні повинен бути в межах 2,7-4,2 Н-м.

Список використаної літератури


1.   Костів Б.Ф. Експлуатація автомобільного транспорту: Підручник. - Львів: Світ, 2004. - 496 с.; іл.

2.   Лауш П.В. Техническое обслуживание и ремонт машин. - К.: Высшая школа, 1989. - 350с.

3.   Полянський С.К. Будівельно-дорожні та вантажопідіймальні машини. - К.: Техніка, 2001. - 624с.

4.   Строков О.В. Технічне обслуговування та ремонт вантажних і легкових автомобілів, автобусів. - К.: Грамота, 2005

5.   Родичев В.А., Родичева Г.И. Тракторы и автомобили - М.: Высш. школа, 1982. - 320с.

6.   Токаренко В.М. Практикум по устройству, техническому обслуживанию и ремонту автотранспорта. - К.: Урожай, 1989. - 350с.

Похожие работы на - Технічне обслуговування рульового керування автомобілів КамАЗ

 

Не нашли материал для своей работы?
Поможем написать уникальную работу
Без плагиата!
Без нейросетей!