Техническое обслуживание и ремонт автомобилей

  • Вид работы:
    Курсовая работа (т)
  • Предмет:
    Транспорт, грузоперевозки
  • Язык:
    Русский
    ,
    Формат файла:
    MS Word
    10,16 Mb
  • Опубликовано:
    2011-01-01
Вы можете узнать стоимость помощи в написании студенческой работы.
Помощь в написании работы, которую точно примут!

Техническое обслуживание и ремонт автомобилей

1. Назначение, устройство, принцип работы

Назначение

Кривошипно-шатунный механизм служит для преобразования поступательного движения поршня под действием энергии расширения продуктов сгорания топлива во вращательное движение коленчатого вала. Коленчатый вал воспринимает усилия, передаваемые от поршней шатунами, и преобразует их в крутящий момент, который затем через маховик передается агрегатам трансмиссии.

Устройство

Механизм состоит из поршня с поршневыми кольцами и пальцем, шатуна, коленчатого вала и маховика.

Головка цилиндров - общая для всех четырех цилиндров - из алюминиевого сплава. Центрируется на блоке двумя втулками и крепится десятью винтами. Между блоком и головкой (их поверхности должны быть сухими) устанавливается безусадочная металлоармированная прокладка, (ее повторное использование не допускается).

Цилиндры расточены непосредственно в блоке. Номинальный диаметр 82 мм при ремонте может быть увеличен на 0,4 или 0,8 мм. Класс цилиндра маркируется на нижней плоскости блока латинскими буквами в соответствии с диаметром цилиндра в мм: А - 82,00-82,01, В - 82,01-82,02, С - 82,02-82,03, D - 82,03-82,04, Е - 82,04-82,05. Максимально допустимый износ цилиндра составляет 0,15 мм на диаметр.

В нижней части блока цилиндров имеется пять опор коренных подшипников со съемными крышками, которые крепятся к блоку специальными болтами. Крышки невзаимозаменяемы (отверстия под подшипники обрабатываются в сборе с крышками) и маркированы для отличия рисками на наружной поверхности В средней опоре имеются гнезда для упорных полуколец 12, препятствующих осевому перемещению коленчатого вала. Спереди (со стороны шкива коленчатого вала) ставится сталеалюминевое полукольцо, сзади - металлокерамическое. Кольца изготовляются с номинальной и увеличенной на 0,127 мм толщиной. При превышении осевого зазора коленчатого вала 0,35 мм меняются одно или оба полукольца (номинальный зазор - 0,06-0,26 мм).

Вкладыши коренных 13 и шатунных подшипников 11 - тонкостенные сталеалюминевые. Верхние коренные вкладыши первой, второй, четвертой и пятой опор, устанавливаемые в блоке цилиндров, снабжены канавкой на внутренней поверхности. У нижних коренных вкладышей, верхнего вкладыша третьей опоры и шатунных вкладышей канавки отсутствуют. Ремонтные вкладыши выпускаются под шейки коленчатого вала, уменьшенные на 0,25, 0,50, 0,75 и 1,00 мм.

Коленчатый вал 25 изготовлен из высокопрочного чугуна. Он имеет пять коренных и четыре шатунных шейки и снабжен восемью противовесами, отлитыми заодно с валом. Коленчатый вал двигателя 2112 отличается от коленчатого вала двигателей 2110 и 2111 формой противовесов и повышенной прочностью. Поэтому не допускается установка коленчатого вала от двигателей 2110 и 2111 в двигатель 2112. Для подачи масла от коренных шеек к шатунным в коленчатом вале просверлены каналы 14, выходные отверстия которых закрыты запрессованными заглушками 26.

На переднем конце коленчатого вала на сегментной шпонке установлен зубчатый шкив привода распределительного вала 28, к нему крепится шкив привода генератора 29, который также является демпфером крутильных колебаний коленчатого вала. На зубчатом венце шкива два зуба из 60 отсутствуют - впадины служат для работы датчика положения коленчатого вала.

К заднему концу коленчатого вала шестью самоконтрящимися болтами через общую шайбу 21 крепится маховик 24, отлитый из чугуна, с напрессованным стальным зубчатым венцом 23, служащим для пуска двигателя стартером. Конусообразная лунка около венца маховика должна находиться напротив шатунной шейки четвертого цилиндра (это необходимо для определения ВМТ после сборки двигателя).

Шатун 3 является стальным, обрабатывается вместе с крышкой 1, и поэтому они в отдельности невзаимозаменяемы. Чтобы при сборке не перепутать крышки и шатуны, на них клеймится номер цилиндра, в который они устанавливаются. При сборке цифры на шатуне и крышке должны находиться с одной стороны.

Поршень 4 отливается из высокопрочного алюминиевого сплава. Поскольку алюминий имеет высокий температурный коэффициент линейного расширения, то для исключения опасности заклинивания поршня в цилиндре в головке поршня над отверстием для поршневого пальца залита терморегулирующая стальная пластина 5.

В верхней части поршня проточены три канавки под поршневые кольца. Канавка маслосъемного кольца имеет выходящие в бобышки сверления, по которым масло, собранное кольцом со стенок цилиндра, поступает к поршневому пальцу от. Ось отверстия под поршневой палец смещена на 1,2 мм от диаметральной плоскости поршня в сторону расположения клапанов двигателя. Благодаря этому поршень всегда прижат к одной стенке цилиндра, и устраняются стуки поршня о стенки цилиндра при переходе его через ВМТ. Однако, это требует установки поршня в цилиндр в строго определенном положении. При установке поршня необходимо ориентироваться по стрелке, выбитой на днище (она должна быть направлена в сторону шкива коленчатого вала). У поршней двигателя 2112 днище плоское, с четырьмя углублениями под клапаны (у поршней двигателей 2110 и 2111 днище имеет овальную выемку).

Измерять диаметр поршня для определения его класса можно только в одном месте: в плоскости, перпендикулярной поршневому пальцу на расстоянии 51,5 мм от днища поршня. В остальных местах диаметр поршня отличается от номинального, т.к. наружная поверхность поршня имеет сложную форму. В поперечном сечении она овальная, а по высоте коническая. Такая форма позволяет компенсировать неравномерное расширение поршня из-за неравномерного распределения массы металла внутри поршня.

Поршни по наружному диаметру как и цилиндры, подразделяются на пять классов (маркировка - на днищe). Диаметр поршня (для номинального размера, мм): А - 81,965-81,975; B - 81,975-81,985; С - 81,985-81,995; D - 81,995-82,005; Е - 82,005-82,015. В продажу поступают поршни классов A, С и E (номинального и ремонтных размеров): расчетный зазор между ними - 0,025-0,045 мм, а максимально допустимый зазор при износе - 0,15 мм. Не рекомендуется устанавливать новый поршень в изношенный цилиндр без его расточки: проточка под верхнее поршневое кольцо в новом поршне может оказаться чуть выше, чем в старом, и кольцо может сломаться о "ступеньку", образующуюся в верхней части цилиндра при его износе. У поршней ремонтных размеров на днище выбивается треугольник (+ 0,4 мм) или квадрат (+ 0,8 мм).

По массе поршни сортируются на три группы: нормальную, увеличенную на 5 г и уменьшенную на 5 г. Этим группам соответствует маркировка на днище поршня: Г, + и -.

Поршни одного двигателя подбирают по массе (разброс не должен превышать 5 г) - это делается для уменьшения дисбаланса кривошипно-шатунного механизма.

Поршневой палец 10 стальной, трубчатого сечения, запрессован в верхнюю головку шатуна и свободно вращается в бобышках поршня. От выпадения он зафиксирован двумя стопорными пружинными кольцами, которые располагаются проточках бобышек поршня. По наружному диаметру пальцы сортируются на три категории через 0,004 мм соответственно категориям поршней. Торцы пальцев окрашиваются в соответствующий цвет: синий - первая категория, зеленый — вторая и красный — третья. Поршневые кольца обеспечивают необходимое уплотнение цилиндра и отводят тепло от поршня к его стенкам. Кольца прижимаются к стенкам цилиндра под действием собственной упругости и давления газов. На поршне устанавливаются три чугунных кольца — два компрессионных 7, 8 (уплотняющих) и одно (нижнее) маслосъемное 6, которое препятствует попаданию масла в камеру сгорания.

Верхнее компрессионное кольцо 8 работает в условиях высокой температуры, агрессивного воздействия продуктов сгорания и недостаточной смазки, поэтому для повышения износоустойчивости наружная поверхность хромирована и для улучшения прирабатываемости имеет бочкообразную форму образующей.

Нижнее компрессионное кольцо 7 имеет снизу проточку для собирания масла при ходе поршня вниз, выполняя при этом дополнительную функцию маслосбрасывающего кольца. Поверхность кольца для повышения износоустойчивости и уменьшения трения о стенки цилиндра фосфатируется.

Маслосъемное кольцо имеет хромированные рабочие кромки и проточку на наружной поверхности, в которую собирается масло, снимаемое со стенок цилиндра. Внутри кольца устанавливается стальная витая пружина, которая разжимает кольцо изнутри и прижимает его к стенкам цилиндра. Кольца ремонтных размеров изготавливаются (так же, как и поршни) с увеличенным на 0,4 и 0,8 мм наружным диаметром.

Смазка двигателя - комбинированная. Под давлением смазываются коренные и шатунные подшипники, пары "опора - шейка распредвала, гидротолкатели. Разбрызгиванием масло подается на стенки цилиндров (далее к поршневым кольцам и пальцам), на днище поршней, к паре "кулачок распределительного вала толкатель и стержням клапанов. Остальные узлы смазываются самотеком.

Принцип работы

Если в цилиндр ввести заряд горючей смеси, необходимый для поддержания горения, а затем его зажечь электрической искрой, выделится большое количество тепла и давление в цилиндре повысится. Давление расширяющихся газов передастся во все стороны, в том числе и на поршень, заставляя его перемещаться. Так как поршень шарнирно соединен с верхней головкой шатуна при помощи пальца, а нижняя головка шатуна подвижно закреплена на шейке коленчатого вала, то при перемещении поршня вместе с шатуном вращается коленчатый вал и закрепленный на его конце маховик. При этом прямолинейное движение поршня при помощи шатуна и коленчатого вала преобразуется во вращательное движение маховика.

Первый такт – впуск – поршень перемещается от верхней мертвой точки (в.м.т.) к нижней мертвой точки (м.н.т.), клапан впускного отверстия открыт, а выпускного – закрыт. В цилиндре создается разряжение, и горючая смесь заполняет его. Следовательно, такт впуска служит для наполнения цилиндра свежим зарядом горючей смеси.

Второй такт – сжатие – поршень перемещается от н.м.т. к в.м.т., оба отверстия закрыты клапанами. Объем рабочей смеси уменьшается в 6,5-7,0 раз, температура повышается до 300-400°C, в результате чего давление в цилиндре повышается до 10-12 кГ/см2. Такт сжатие служит для лучшего перемешивания рабочей смеси и подготовки ее к воспламенению.

Третий такт – сгорание и расширение газов. В конце такта сжатия между электродами свечи возникает электрическая искра, которая воспламеняет рабочую смесь. Выделено при сгорании рабочей смеси тепло нагревает газы до температуры 2200-2500°C; при этом газы расширяются и создают давление в 35-40 кГ/см2, под действием которого поршень перемещается вниз от в.м.т. к н.м.т. Оба отверстия закрыты клапанами. Движение поршня при этом также называют рабочим ходом. При рабочем ходе действующее на поршень давление газов через поршневой палец и шатун передается на кривошип, создавая на коленчатом валу крутящий момент. Рабочий ход поршня служит для преобразования тепловой энергии сгорания топлива в механическую работу.

Четвертый такт – выпуск – поршень перемещается вверх от н.м.т. к в.м.т. Впускное отверстие закрыто. Отработавшие газы выпускаются из цилиндра в атмосферу. Назначение такта выпуска – очистить цилиндр от отработавших газов.

При работе двигателя процессы, происходящие в цилиндре, беспрерывно повторяются в указанном порядке.

Рабочим циклом двигателя называется совокупность процессов, происходящих в цилиндре в определенной последовательности – впуск, сжатие, рабочий ход и выпуск.

Поршень, перемещаясь в цилиндре, достигает то верхнего, то нижнего крайних положений. Крайние положения, в которых поршень меняет направление движения, соответственно называются верхней и нижней мертвыми точками

Расстояние, которое приходит поршень между мертвыми точками, называется ходом поршня. За каждый ход поршня коленчатый вал повернется на Ѕ оборота, или на 180°. Процесс, происходящий внутри цилиндра за один ход поршня, называется тактом.

При перемещении поршня от верхней мертвой точки к нижней в цилиндре освобождается пространство, которое называется рабочим объемом цилиндра.

Когда поршень находится в верхней мертвой точке, над ним наименьшее пространство, называемое объемом камеры сгорания.

Рабочий объем цилиндра и объем камеры сгорания, вместе взятые, составляют полный объем цилиндра. В многоцилиндровых двигателях сумма рабочих объемов всех цилиндров выражается в литрах и называется литражом двигателя.

Одним из важных показателей двигателя является его степень сжатия, определяемая отношением полного объема цилиндра к объему камеры сгорания. С повышением степени сжатия двигателя повышается его экономичность и мощность.

2. Основные неисправности КШМ

Технически исправный двигатель должен развивать полную мощность, работать без перебоев на полных нагрузках и холостом ходу, не перегреваться, не дымить и не пропускать масло через уплотнения.

Основными признаками неисправности кривошипно-шатунного механизма являются:

1) уменьшение давления в конце такта сжатия (компрессии) в цилиндрах;

2) появление шумов и стуков при работе двигателя;

3) прорыв газов в картер, увеличение расхода масла;

4) разжижение масла в картере (из-за проникновения туда паров рабочей смеси при тактах сжатия);

5) поступление масла в камеру сгорания и попадание его на свечи зажигания, отчего на электродах образуется нагар и ухудшается искрообразование. В итоге снижается мощность двигателя, повышается расход топлива и содержание СО в выхлопных газах.

Снижение мощности двигателя

может сопровождаться затрудненным пуском, неустойчивой работой на различных режимах, повышением расхода топлива, увеличением процента содержания СО и СН в отработанных газах.

Причины:

Снижение компрессии в цилиндрах:

Износ ЦПГ – приводит к увеличению зазора, что способствует прорыву газов из камеры сгорания, под воздействием различных факторов меняется геометрическая форма- появляется овальность, износ цилиндров на конус, так как в верхней их части самые неблагоприятные условия работы.

Износ, поломка и выпадение поршневых колец или залегание в поршневых канавках

происходит при несвоевременной замене загрязненного масла или при использовании сортов масла с большим содержанием лаков и смол, приводит к засорению канавок с последующим пригоранием колец, которые перестают пружинить и сдерживать прорывающиеся газы, а их острые кромки начинают “шабрить” зеркало цилиндров.

Ослабление крепления головки блока

приводит к прорыву как сжатой рабочей смеси, так и отработанных газов, что вызывает быстрое прогорание прокладки головки блока и может привести к короблению самой головки, особенно при перегреве двигателя.

Повышенный шум при работе

Причины:

Повышенный износ деталей

Неудовлетворительная смазка деталей

например, при пониженном уровне смазки в поддоне картера и чрезмерном разжижении её, при использовании маловязких сортов в жарких климатических условиях.

Механические повреждения и аварийные поломки

Причины:

Нарушение технологии сборки

Заводской дефект деталей или чрезмерный износ их в процессе эксплуатации

Нарушение нормальной работы двигателя – например, сильная детонация может привести к прогоранию поршней, обрыву шатунов, поломке коленчатого вала.

Проворачивание вкладышей подшипников – обычно приводит к заклиниванию двигателя.

3. Диагностирование КШМ

Стук и шумы в двигателе возникают в результате износа его основных деталей и появления между сопряженными деталями увеличенных зазоров. Стуки в двигателе прослушиваются при помощи стетоскопа, что требует определенного навыка.

Обычно при большом износе вкладышей происходит выплавление его антифрикционного слоя, что сопровождается резким падением давления масла. В этом случае двигатель должен быть немедленно остановлен, так как дальнейшая его работа может привести к поломке деталей.

Повышенный расход масла, перерасход топлива, появление дыма в отработавших газах (при нормальном уровне масла в картере) обычно появляются при залегании поршневых колец или износе колец цилиндров. Залегание кольца можно устранить без разборки двигателя, для чего в каждый цилиндр горячего двигателя следует залить на ночь через отверстие свечи зажигания по 20 г смеси равных частей денатурированного спирта и керосина. Утром двигатель следует пустить, дать поработать 10-15 мин, после чего заменить масло.



Перед диагностированием двигатель следует прогреть до температуры охлаждающей жидкости (90+-5) С. Прослушивание проводят, прикасаясь острием наконечника звукочувствительного стержня в зоне сопряжения проверяемого механизма.

Работу поршень-цилиндр прослушивают по всей высоте цилиндра при малой частоте вращения коленчатого вала с переходом на среднюю – стуки сильного глухого тона, усиливающиеся с увеличением нагрузки, свидетельствует о возможном увеличении зазора между поршнем и цилиндром, об изгибе шатуна, поршневого пальца и т.д.

Сопряжение поршневое кольцо – канавка проверяют на уровне НМТ хода поршня на средней частоте вращения КВ – слабый стук высокого тона свидетельствует об увеличенном зазоре между кольцами и канавками поршней, либо о чрезмерном износе или поломке колец.

Сопряжение поршневой палец – втулка верхней головки шатуна проверяют на уровне ВМТ при малой частоте вращения КВ с резким переходом на среднюю. Сильный стук высокого тона, похожий на частые удары молотком по наковальне, говорит о повышенном износе деталей сопряжения.

Работы сопряжения коленчатый вал – шатунный подшипник прослушивают на малой и средней частотах вращения КВ(ниже НМТ). Глухой звук среднего тона сопровождает износ шатунных вкладышей. Стук коренных подшипников КВ прослушивают в этих же зонах (чуть ниже) при резком изменении частоты вращения КВ : сильный глухой стук низкого тона свидетельствует об износе коренных подшипников.

Проверка компрессии

Компрессию в цилиндрах определяют компрессометром, представляющим собой корпус с вмонтированным в него манометром. Манометр соединен с одним концом трубки, на другом конце которой имеется золотник с резиновым наконечником, плотно вставляемым в отверстие для свечи зажигания. Проворачивая коленчатый вал двигателя стартером или пусковой рукояткой, измеряют максимальное давление в цилиндре и сравнивают его с нормативными.

Для бензиновых двигателей номинальные значения компрессии составляют 0,75...1,5 (7 – 15 кгс/cм2). Падение мощности двигателя возникает при износе или залегании в канавках поршневых колец, износе поршней и цилиндров, а также плохой затяжке головки цилиндров. Эти неисправности вызывают падение компрессии в цилиндре.

Расход сжатого воздуха, подаваемого в цилиндры

Для определения утечки сжатого воздуха из надпоршневого пространства применяют прибор К-69М. Воздух в цилиндры прогретого двигателя подают либо через редуктор 1 прибора, либо непосредственно из магистрали по шлангу 4 в цилиндр 7 через штуцер 6, ввернутый в отверстие для свечи или форсунки, к которому присоединяется шланг 3 при помощи быстросъемной муфты 5.

В первом случае проверяют утечку воздуха или падение давления из-за не плотностей в каждом цилиндре двигателя. Для этого рукояткой редуктора 1 прибор настраивают так, чтобы при полностью закрытом клапане муфты 5 стрелка манометра находилась против нулевого деления, что соответствует давлению 0,16 М Па, а при полностью открытом клапане и утечке воздуха в атмосферу - против деления 100%.

Относительную неплотность цилиндропоршневой группы проверяют при установке поршня проверяемого цилиндра в двух положениях: в начале и конце такта сжатия. Поршень от движения под давлением сжатого воздуха фиксируют, включая передачу в коробке передач автомобиля.

Такт сжатия определяется свистком-сигнализатором, вставляемым в отверстие свечи (форсунки).

Состояние поршневых колец и клапанов оценивают по показаниям манометра 2 при положении поршня в в.м.т., а состояние цилиндра (износ цилиндра по высоте) - по показаниям манометра при положении поршня в начале и конце такта сжатия и по разности этих показаний.

Полученные данные сравнивают со значениями, при которых дальнейшая эксплуатация двигателя недопустима. Предельно допустимые значения утечки воздуха для двигателей с различными диаметрами цилиндров указаны в инструкции прибора.

Чтобы определить место утечки (неисправность), воздух под давлением 0,45-06 МПа подают из магистрали по шлангу 4 в цилиндры двигателя.

Поршень при этом устанавливают в конце такта сжатия в верхней мертвой точке.

Место прорыва воздуха через неплотность определяют прослушиванием при помощи фонендоскопа.

Утечка воздуха через клапаны двигателя обнаруживается визуально по колебанию пушинок индикатора, вставляемого в отверстие свечи (форсунки) одного из соседних цилиндров, где открыты в данном положении клапаны.

Утечка воздуха через поршневые кольца определяется только прослушиванием при положении поршня в н.м.т. в зоне минимального износа цилиндров. Утечка через прокладку головки цилиндров обнаруживается по пузырькам в горловине радиатора или в плоскости разъема.

Суммарный зазор в верхней головке шатуна и шатунном подшипнике

Измерение суммарных зазоров в верхней головке шатуна и шатунном подшипнике является еще одним результативным методом проверки состояния кривошипно-шатунного механизма. Проверку осуществляют при неработающем двигателе при помощи устройства КИ-11140.


Наконечник 3 с трубкой устройства устанавливают на место снятой свечи зажигания или форсунки проверяемого цилиндра. К основанию 2 через штуцер присоединяют компрессорно-вакуумную установку. Поршень устанавливают за 0,5 - 1,0 мм от в.м.т. на такте сжатия, стопорят коленчатый вал от проворачивания и с помощью компрессорно-вакуумной установки попеременно создают в цилиндре давление 200 кПа и разряжение 60 кПа. При этом поршень, поднимаясь и опускаясь, выбирает зазоры, сумма которых фиксируется индикатором 1.

Номинальный расчетный зазор составляет 0,02–0,07 мм для шатунных .

Количество газов, прорывающихся в картер

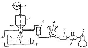
Состояние сопряжения поршень—поршневые кольца— цилиндр можно оценить по количеству газов, прорывающихся в картер. Этот диагностический параметр измеряют расходомером КИ-4887-1

1—3 - манометры, 4 входной патрубок, 5, 6 - краны, 7 эжектор

Предварительно прогреть двигатель до нормального режима. Прибор имеет трубу с входным 5 и выходным 6 дроссельными кранами. Входной патрубок 4 присоединяют к маслозаливной горловине двигателя, эжектор 7 для отсоса газов устанавливают внутри выхлопной трубы или присоединяют к вакуумной установке. В результате разрежения в эжекторе картерные газы поступают в расходомер. Устанавливая при помощи кранов 5 и б жидкость в столбиках манометров 2 и 3 на одном уровне, добиваются, чтобы давление в полости картера было равно атмосферному. Перепад давления АА устанавливают по манометру / одинаковым для всех замеров при помощи крана 5. По шкале прибора определяют количество газов, прорывающихся в картер, и сравнивают его с номинальным.

4. Техническое обслуживание

При ЕО двигатель очищают от грязи, проверяют его состояние визуально и прослушивают работу в разных режимах.

При Т0-1 проверяют крепление опор двигателя. Проверить герметичность соединения головки цилиндров, поддона картера, сальника коленчатого вала. При не плотном соединении головки с блоком, будут видны подтеки масла на стенках блока цилиндров. При неплотном соединении поддона картера и сальника КВ судят по подтекам масла.

При ТО-2 необходимо подтянуть гайки крепления головки цилиндров. Подтяжку головки из алюминиевого сплава производят на холодном двигателе динамометрическим ключом либо обычным без применения насадок. Усилие должно быть в пределах 7,5 – 7,8 кгс*м. Подтяжка должна производиться от центра, постепенно перемещаясь к краям и при этом должна идти крест на крест, без рывков (равномерно). Подтянуть крепление поддона картера.

СО 2 раза в год проверить состояние ЦПГ.

5. Разборка, ремонт, сборка, диагностика

Разборка

Для выполнения работы потребуются: набор ключей, динамометрический ключ, смотровая яма или эстакада, регулируемый по высоте упор (например, винтовой домкрат), подъемное устройство (таль, тельфер или лебедка грузоподъемностью не менее 100 кг) или второй регулируемый упор. Работу лучше выполнять с помощником.

1.  Ослабив затяжку хомута, снимаем шланг вентиляции картера с патрубка блока цилиндров.

2. Ключом на 10 мм отворачиваем два болта крепления подводящей трубы к блоку цилиндров и отсоединяем ее от блока.

Замечание.

Соединение уплотнено прокладкой

3. Снимаем датчик детонации

4. Снимаем датчик положения коленчатого вала

5. Снимаем насос охлаждающей жидкости

6. Снимаем стартер

7. Снимаем генератор

Снимаем зубчатый шкив привода распределительного вала

Замечание

На 16-клапанных двигателях отсоединяем нижнюю штангу крепления двигателя от поперечины передней подвески, торцовым ключом на 17 мм отворачиваем три болта крепления нижнего кронштейна генератора и снимаем кронштейн в сборе со штангой

8. Устанавливаем регулируемый упор под коробку передач и подвешиваем блок цилиндров к подъемному устройству или устанавливаем регулируемый упор под блок цилиндров. Слегка приподнимаем блок цилиндров, разгружая опоры силового агрегата.

9. Снимаем нижнюю крышку картера сцепления и отворачиваем болты крепления коробки передач к блоку цилиндров.

10. Отворачиваем верхнюю гайку болта подушки правой опоры .

11. Торцовым ключом на 13 мм отворачиваем три болта крепления кронштейна правой опоры двигателя к блоку цилиндров.

15. Снимаем кронштейн опоры двигателя в сборе с верхним кронштейном крепления генератора.

16. Торцовым ключом на 15 мм под правым передним крылом автомобиля отворачиваем три болта крепления кронштейна опоры к правому лонжерону.

17. Снимаем кронштейн вместе с правой опорой силового агрегата.

18. Слегка покачивая блок цилиндров, отсоединяем его от коробки передач и вынимаем из моторного отсека.

19. Снимаем маховик

20. Торцовым ключом на 10 мм отворачиваем шесть болтов крепления держателя заднего сальника коленчатого вала и снимаем его.

Замечание

Под держателем установлена прокладка, которую при сборке необходимо заменить.

21. Снимаем масляный насос

22. Торцовым ключом на 17 мм отворачиваем по два болта крепления пяти крышек коренных подшипников.

23. Снимаем крышки коренных подшипников.

24. Вынимаем из крышек нижние вкладыши коренных подшипников.

25. Вынимаем коленчатый вал из блока цилиндров.

27. Из опор блока цилиндров вынимаем верхние вкладыши коренных подшипников.

28. Отмываем блок цилиндров от грязи и отложений специальным моющим средством, дизельным топливом или керосином, продуваем масляные каналы.

29. Тонкой медной проволокой прочищаем выходные отверстия масляных форсунок на двигателях ваз 2112, 21124 и 21114.

30. Вытираем блок насухо и осматриваем его. Трещины и выкрашивание металла – недопустимы.

31. Микрометром измеряем коренные шейки коленчатого вала, а также шатунные шейки.

Ремонт

Трещины в любом месте коленчатого вала не допускаются

Процесс восстановления шатунных шеек

Таблица ремонтных размеров вкладышей и шеек КВ

Размеры

Коренные шейки

Шатунные шейки

Номинальный размер

50,799-50,819

47,83-47,85

1-ый ремонтный (- 0,25)

50,549-50,569

47,58-47,60

2-ой ремонтный(- 0,50)

50,299-50,319

47,33-47,35

3-ий ремонтный(- 0,75)

50,049-50,069

47,08-47,10

4-ый ремонтный(- 1,00)

49,799-49,819

46,83-46,85

Ремонт произвожу наплавкой в углеродной среде.

Диагностика

После ремонта вал должен проходить по следующим параметрам

1)Допустимые биения основных поверхностей коленчатого вала

Установите коленчатый вал крайними коренными шейками на две призмы и проверьте индикатором биение:

– коренных шеек и посадочной поверхности под ведущую шестерню масляного насоса (не более 0,03 мм);

– посадочной поверхности под маховик (не более 0,04 мм);

– посадочной поверхности под шкивы и поверхностей, сопрягающихся с сальниками (не более 0,05 мм).

– смещение осей шатунных шеек от плоскости, проходящей через оси шатунных и коренных шеек, после шлифования должно быть в пределах ±0,35 мм. Для проверки установите вал крайними коренными шейками на призмы и выставьте вал так, чтобы ось шатунной шейки первого цилиндра находилась в горизонтальной плоскости, проходящей через оси коренных шеек. Затем индикатором проверьте смещение в вертикальном направлении шатунных шеек 2, 3 и 4 цилиндров относительно шатунной шейки 1-го цилиндра.

Полукольца заменяются также, если осевой зазор коленчатого вала превышает максимально допустимый – 0,35 мм. Новые полукольца подбирайте номинальной толщины или увеличенной на 0,127 мм, чтобы получить осевой зазор в пределах 0,06–0,26 мм.

Измерение зазора в шатунном подшипнике: 1 – сплющенная калиброванная пластмассовая проволока; 2 – вкладыш; 3 – крышка шатуна; 4 – шкала для измерения зазора

– снимите крышку и по шкале, нанесенной на упаковке, по сплющиванию проволоки определите величину зазора.

Номинальный расчетный зазор составляет 0,02–0,07 мм для шатунных и 0,026–0,073 мм для коренных шеек. Если зазор меньше предельного (0,1 мм для шатунных и 0,15 мм для коренных шеек), то можно снова использовать эти вкладыши.

Сборка

Обработать гнезда фрезой А.94016/10.

Промыть КВ от остатков абразива и продуть сжатым воздухом.

Обезжирить посадочные места под заглушки (уайт-спирит ГОСТ 3134-78, ветошь ТУ 68-178-77-82).

Установить новые заглушки масляных каналов на герметик и зачеканить в 3 точках (оправка А.86010, зубило ГОСТ 7211-72, молоток ГОСТ 2310-77, герметизатор резьбовых соединений ТУ 6-10-1048-78).

32. Подбираем соответствующие кольца, вкладыши подшипников коленчатого вала

33. Обезжириваем гнезда вкладышей в опорах и крышках коренных подшипников.

34. Укладываем в гнезда опор вкладыши коренных шеек с канавками.

35. В крышки подшипников укладываем вкладыши без канавок.

36. В проточки третьей коренной опоры устанавливаем упорные полукольца. С передней стороны сталеалюминиевое (с внутренней стороны белое, а с наружной желтое), с задней – металлокерамическое (желтое с обеих сторон).

Замечание

Полукольца изготавливаются номинальной и увеличенной на 0,127 мм толщины. Осевое перемещение коленчатого вала должно быть в пределах 0,06–0,26 мм

37. Полукольца устанавливаем канавками наружу (к щекам коленчатого вала)

38. Смазываем шейки коленчатого вала и вкладыши чистым моторным маслом.

39. Укладываем вал в опоры блока цилиндров и устанавливаем крышки коренных подшипников.

На крышках рисками обозначены номера подшипников (с 1-го по 5-й). Крышка пятого коренного подшипника обозначена двумя рисками, разнесенными к краям крышки.

При установке в блок крышки должны быть рисками обращены к той стороне блока, на которой устанавливается направляющая указателя уровня масла.

40. Затягиваем болты крепления крышек динамометрическим ключом моментом 68,31–84,38 Н·м (6,97–8,61 кгс·м). Гайки шатунных болтов затягиваем моментом 51 Н·м (5,2 кгс·м)

41. Дальнейшую сборку выполняем в обратном порядке.

6. Способы восстановления КВ


Восстановление деталей имеет большое народнохозяйственное значение. Стоимость восстановления деталей в 2 - 3 раза ниже стоимости их изготовления. Это объясняется тем, что при восстановлении деталей значительно сокращаются расходы материалов, электроэнергии и трудовых ресурсов.

Эффективность и качество восстановления деталей зависят от принятого способа.

Наиболее широкое применение получили следующие восстановления деталей: механическая обработка; сварка и наплавка; напыление; гальваническая и химическая обработка; обработка давлением; применение синтетических материалов.

Механическую обработку применяют в качестве подготовительной или завершающей операции при нанесении покрытий на изношенные поверхности, а также при восстановлении деталей обработкой под ремонтный размер или постановкой дополнительных ремонтных деталей. Обработкой деталей под ремонтный размер восстанавливают геометрическую форму их рабочих поверхностей, а установкой дополнительной ремонтной детали обеспечивают соответствие размеров детали размерам новой детали.

Сварка и наплавка - самые распространенные способы восстановления деталей. Сварку применяют при устранении механических повреждений деталей (трещин, пробоин и т. п.), а наплавку - для нанесения покрытий с целью компенсации износа рабочих поверхностей. На ремонтных предприятиях применяют как ручные, так и механизированные способы сварки и наплавки. Среди механизированных способов наплавки наибольшее применение нашли автоматическая дуговая наплавка под флюсом и в среде защитных газов и вибродуговая наплавка. В настоящее время при восстановлении деталей применяют такие перспективные способы сварки, как лазерная и плазменная.

Напыление как способ восстановления деталей основан на нанесении распыленного металла на изношенные поверхности деталей. В зависимости от способа расплавления металла различают следующие виды напыления: дуговое, газопламенное, высокочастотное, детонационное и плазменное.

Гальваническая и химическая обработка основаны на осаждении металла на поверхности деталей из растворов солей гальваническим или химическим методом. Для компенсации износа деталей наиболее часто применяют хромирование, железнение и химическое никелирование. Нанесение на поверхности деталей защитных покрытий осуществляют с помощью гальванических процессов (хромирование, никелирование, цинкование, меднение), а также химических (оксидирование и фосфатирование).

Обработкой давлением восстанавливают не только размеры деталей, но и их форму и физико-механические свойства. В зависимости от конструкции детали используют такие виды обработки давлением, как осадку, раздачу, обжатие, вытяжку, накатку, правку и др.

Перечисленные способы восстановления деталей обеспечивают требуемый уровень качества и надежную работу деталей в течение установленных межремонтных пробегов автомобилей. Необходимый уровень качества восстановленных деталей достигается при правильном выборе технологического способа, а также управлением процессами нанесения покрытий и последующей обработки деталей. На качество восстановленных деталей влияют свойства исходных материалов, применяемых при нанесении покрытий, и режимы обработки.

1) Промываю КВ. Замеряю диаметры шатунных шеек. Затем установливаю КВ вал на токарном станке, для этого коленчатый вал устанавливается на станке таким образом, чтобы его ось вращения проходила через одну из шатунных шеек, для этого необходимы центросместители, которые совмещают ось вращения шатунных шеек с осью вращения шпинделя станка, причем величина смещения должна быть равна радиусу кривошипа.(37.8 мм)


Смещенный коленчатый вал, вращаясь вокруг оси одной из шатунных шеек несбалансирован. Такой большой дисбаланс при вращении обязательно приведет к деформации самого коленчатого вала и элементов станка, в результате чего качество шлифовки коленвала резко снизится - исказится форма шейки (появится эллипс), ее ось окажется непараллельной оси коренных шеек.

Исключить или, по крайней мере, значительно уменьшить дисбаланс коленчатого вала позволяют специальные грузы, закрепляемые на планшайбах напротив патронов станка. Масса и расположение балансировочных грузов подбирается в зависимости от массы коленчатого вала и радиуса кривошипа.

Обрабатываю (снимаю имеющиеся риски и задиры) резцом из стали ВК6 1 и 4 шатунные шейки. После обработки устанавливаем КВ таким образом что бы теперь с осью вращения станка совпадали 2 и 3 шатунные шейки. Срезаю по 0,5 мм.

2) Замеряю получившиеся размеры шеек. Произвожу наплавку шеек с помощью сварочного выпрямителя ВДУ-506 в среде углекислого газа. Подачу электродной проволоки к месту наплавки произвожу при помощи наплавочной головки ОКС-6569 используя при этом проволоку 30ХГСА. ( наплавочная проволока, легированная конструкционная сталь, А-высококачественная; 0,3%- углерода, Х – хром 1%, Г – марганец 1%, С – кремний 1%) с припуском на токарную обработку, шлифование и суперфиниширование.

Наплавка производится на постоянном токе диаметром электрода 1,2 мм из кассеты непрерывно подается в зону сварки. Ток 150..190 А и напряжением 19…21 В к электродной проволоке подводится через мундштук и наконечник, расположенные внутри газоэлектрической горелки. этом скорость наплавки составляет 20…30 м/ч, смещение электродной проволоки 18…20 мм, шаг наплавки 18…20 мм, вылет электрода 10…13 мм, расход углекислого газа 8…9 л/мин. При наплавке металл электрода и детали перемешивается, толщина наплавляемого слоя 0,8…1,0мм. В зону горения дуги под давлением 0,05…0,2 МПа по трубке подается углекислый газ, который вытесняя воздух, защищает расплавленный металл от вредного действия кислорода и азота воздуха.

Углекислый газ из баллона 7 подается в зону горения. При выходе из баллона 7 газ резко расширяется и переохлаждается. Для подогрева его пропускаю через электрический подогреватель 6. Содержащуюся в углекислом газе воду удаляется с помощью осушителя 5, который представляет собой патрон, наполненный обезвоженным медным купоросом или силикагелем. Давление газа понижают с помощью кислородного редуктора 4, а расход его контролируют расходомером 3.

Установка для наплавки в углекислом газе

1 — кассета с проволокой; 2 — наплавочный аппарат; 3 — расходомер; 4 — редуктор; 5 — осушитель; 6 — подогреватель; 7 — баллон с углекислым газом; 8 — деталь

3)Обрабатываю шейки КВ на токарном станке, оставляя припуск на шлифование 0,3-0,5мм

4)Шлифую шейки с использованием шлифовального круга типа 24А40НС 16 А5 (ГОСТ 2424—75) на станке ЗУ131, до номинального размера 47,850 мм, оставляя припуск на суперфиниширование. При соприкосновении шлифовального круга с шейкой коленчатого вала включается подача охлаждающей жидкости.

Режим шлифования: частота вращения коленчатого вала 1,03 с"1 (62 обмин), шлифовального круга — 13—13,8 с"1 (780— 830 обмин); шлифовальный круг правят алмазным карандашом марки CI—1 (ГОСТ 607—SO Е).

Овальность и конусность не должна превышать 0,005

5)Для доводки шеек вместо полирования применяю суперфиниширование. Суперфиниширование выполняю головкой, оснащенной абразивными брусками на специальном полуавтомате 3875 К.Зернистость брусков 4-8.Суперфиниширование выравнивает точность размеров. При шлифовании валов под суперфиниширование оставляют припуск 0,005мм.

6)Проверяю КВ на биение, овальность и конусность шеек.

7. Химический состав и механические свойства КВ

Механические свойства

Сталь – это сплав железа с углеродом в котором содержится углерода до 2,14%

Стали классифицируются по:

1) Химическому составу:

а) углеродистые

б) легированные

2) Назначению:

а) Конструкционные

б) Инструментальные

в) Специальные

3) Качеству:

а) Обыкновенное

б) Качественное

в) Высококачественное

г) Особовысококачественное

4) Степени раскисления:

а) Кипящее (КП)

б) Спокойное (СП)

в) Полуспокойное (ПС)

5) Способ поставки делятся на 3 группы:

группа А – сталь поставляется по механическим свойствам, буква А не указывается.

группа Б – сталь поставляется по химическому составу

группа В = А+Б

Чугун – это сплав железа с углеродом в котором углерода содержится от 2,14- 6,67%.

Сорта чугунов.

1. Белый чугун. Углерод находится в виде цементита (Fe3C). Твердый , хрупкий плохо обрабатывается резанием.

2. Серый чугун. Углерод находится в свободном состоянии в виде графита. Это литейные чугуны, в них графит имеет форму пластинок. Менее прочный, обладает литейными свойствами, хорошо сопротивляется износу, способность гасит вибрации.

3. Легированный серый чугун. Имеет мелкозернистую структуру и лучшее строение графита за счет присадок в небольших количествах никеля, хрома и молибдена иногда титана и меди.

4. Высокопрочный чугун. Разновидность серого чугуна модифицированного магнием. Одновременно в жидкий чугун вводят железо с кремнием, в результате получают графит в шаровидной форме.

5. Ковкий чугун. Высокие анти коррозионные свойства, хорошо работает в среде влажного воздуха, воды, топочных газов. Из него изготавливают детали, которые воспринимают ударные нагрузки.

Коленчатый вал ВАЗ-2112 изготовлен из ВЧ. Цифрры за буквами ВЧ - высокопрочный чугун означают временное сопротивление разрушению при растяжении. Например, чугун марки ВЧ 60 должен иметь ув=60 кгс/мм2 или ув=600 МПа. Для высокопрочного чугуна характерна шаровидная форма графита, получают его путем модифицирования низкозернистого серого чугуна чистым магнием или магнийсодержащими добавками. Высокопрочный чугун нашел широкое применение в автомобилестроении (коленчатые и распределительные валы, шестерни различных механизмов, блоки цилиндров и т.п.), тяжелом машиностроении (детали турбин, прокатные валки, шаботы молотов и т.п.), транспортном, сельскохозяйственном машиностроении (шестерни и звездочки, диски муфт, различного рода рычаги, опорные катки и т.п.) и во многих других отраслях.

Химический состав.

В нем содержится: углерод (С)=3,3-3,5%, кремний (Si)=1,4-2,2%, марганец (Мn)=0,7-1,0%, фосфор (P)= не более 0,2% , сера (S)= не более 0,15%

Механические свойства высокопрочного чугуна предел прочности (временное сопротивление) ув ВЧ60 = 600 Мпа; условный предел текучести у0,2 = 310-320 МПа; относительное удлинение (пластичность) д = 10-22 %; твердость ВЧ45 140-225, ВЧ50 НВ 153-245 НВ;

Твердость по Бринеллю HB= 170-241*10-1 МПа, ?в= 196 МПа

8. Приспособления применяемые при ремонте

Наплавки в среде углекислого газа заключается в том, что электродная проволока из кассеты непрерывно подается в зону сварки как показано на рисунке. Ток к электродной проволоке подводится через мундштук и наконечник, расположенные внутри газоэлектрической горелки. При наплавке металл электрода и детали перемешивается. В зону горения дуги под давлением 0,05...0,2 МПа по трубке подается углекислый газ, который, вытесняя воздух, защищает расплавленный металл от вредного действия кислорода и азота воздуха.

picture

Схема наплавки в среде углекислого газа: 1 — мундштук; 2 — электродная проволока; 3 — горелка; 4 — наконечник; 5 — сопло горелки; 6 — электрическая дуга; 7 — сварочная ванна; 8 — наплавленный металл; 9 — наплавляемая деталь.

picture

Схема установки для дуговой наплавки в углекислом газе: 1 — кассета с проволокой; 2 — наплавочный аппарат; 3 — расходомер; 4 — редуктор; 5 — осушитель; 6 — подогреватель; 7 — баллон с углекислым газом; 8 — деталь.

Наплавку в среде углекислого газа производят на постоянном токе обратной полярности. Тип и марку электрода выбирают в зависимости от материала восстанавливаемой детали и требуемых физико-механических свойств наплавленного металла. Скорость подачи проволоки зависит от силы тока, устанавливаемой с таким расчетом, чтобы в процессе наплавки не было коротких замыканий и обрывов дуга. Скорость наплавки зависит от толщины наплавляемого металла и качества формирования наплавленного слоя. Наплавку валиков осуществляют с шагом 2,5...3,5 мм. Каждый последующий валик должен перекрывать предыдущий не менее чем на 1/3 его ширины.

Твердость наплавленного металла в зависимости от марки и типа электродной проволоки 200...300 НВ.

Расход углекислого газа зависит от диаметра электродной проволоки. На расход газа оказывают также влияние скорость наплавки, конфигурация изделия и наличие движения воздуха.

После того как нанесли, определённый слой металла начинаем наружную обработку поверхности с помощью шлифования.

После установки заготовки расставляют упоры для измерения направления движения стола. Упоры продольной подачи располагают так, чтобы круг при шлифовании не задевал за хомутик и не выходил из контакта с заготовкой. Установленные упоры нужно жестко закрепить. Чтобы установить взаимное расположение круга и заготовки, в центры устанавливают эталонную деталь. Левый торец ее используют как базу для установки шлифовальной бабки. При любой длине шлифуемой заготовки положение этого торца остается неизменным.

Перед пробным шлифованием вначале включают электродвигатель шлифовального круга, затем электродвигатель вращения заготовки. Потом подводят круг к заготовке до появления искры и вручную перемещают стол. Выполнив два-три прохода, включают автоматическую подачу и после пробного шлифования измеряют диаметры заготовки у обоих ее торцов. Если есть конусность, то выверяют положение стола, добиваясь цилиндричности обрабатываемой поверхности.

Токарно-винторезный станок предназначен для наружной и внутренней обработки, включая нарезание резьбы, единичных и малых групп деталей

Общий вид и размещение органов управления токарно-винторезного станка модели 16К20

1- станина, рукоятки управления: 2 - сблокированная управление, 3,5,6 - установки подачи или шага нарезаемой резьбы, 7, 12 - управления частотой вращения шпинделя, 10 - установки нормального и увеличенного шага резьбы и для нарезания многозаходных резьб, 11 — изменения направления нарезания резьбы (лево- или правозаходной), 17 - перемещения верхних салазок, 18 - фиксации пиноли, 20 - фиксации задней бабки, 21 - штурвал перемещения пиноли, 23 - включения ускоренных перемещений суппорта, 24 - включения и выключения гайки ходового винта, 25 - управления изменением направления вращения шпинделя и его остановкой, 26 - включения и выключения подачи, 28 - поперечного перемещения салазок, 29 - включения продольной автоматической подачи, 27 - кнопка включения и выключения главного электродвигателя, 31 - продольного перемещения салазок; Узлы станка: 1 - станина, 4 - коробка подач, 8 - кожух ременной передачи главного привода, 9 - передняя бабка с главным приводом, 13 - электрошкаф, 14 - экран, 15 - защитный щиток, 16 - верхние салазки, 19 - задняя бабка, 22 - суппорт продольного перемещения, 30 - фартук, 32 - ходовой винт, 33 - направляющие станины.

Круглошлифовальный станок – предназначен для обработки деталей шлифованием.

Общий вид универсального круглошлифовального станка мод. ЗУ131:

1 — станина, 2 — электрооборудование, 3 — передняя бабка, 4 — приспособление для внутреннего шлифования, 5 —кожух шлифовального круга, 6 — механизм подач шлифовальной бабки, 7 — шлифовальная бабка, 8 — задняя бабка, 9 — система гидропривода и смазки, 10 — система гидроуправления, 11 — шлифовальный круг, 12 — механизм ручного перемещения стола

Сварочный универсальный выпрямитель ВДУ-506. Является регулируемым тиристорным выпрямителем с жесткой или падающей внешней характеристикой. Отличием от версии ВДУ-506С является классическое построение и отсутствие комбинированной вольт-амперной характеристики в режиме полуавтоматической сварки. Работает в комплекте с полуавтоматом ПДГО-510-5, со стабилизацией скорости подачи сварочной проволоки и возможностью удаления подающего механизма от выпрямителя на расстояние до 30м, оптимален для цеховых условий при сварке на токах дуги до 450А (ПВ=100%).

9. Назначение и устройство измерительного инструмента

Микрометр гладкий. Гладким микрометром называется средство для измерения наружных линейных размеров. Цена деления микрометра 0,01 мм.

1 – скоба; 2 – жесткая пятка; 3 – калибр (концевая мера) для установки микрометра на нуль; 4 – подвижная пятка (микровинт); 5 – стебель; 6 – микрометрическая головка; 7 – установочный колпачок; 8 – трещоточное устройство; 9 – тормозное приспособление. цена деления шкалы барабана, мм...... 0,01

Индикатором часового типа называется измерительная головка, т. е. средство измерений, имеющее механическую передачу, которая преобразует малые перемещения измерительного наконечника в большие перемещения стрелки, наблюдаемые по шкале циферблата.

а — общий вид; б — схема зубчатой передачи

По внешнему и внутреннему устройству индикатор этот похож на карманные часы, почему за ним и закрепилось такое название.

Конструктивно индикатор часового типа представляет собой измерительную головку с продольным перемещением измерительного наконечника. Основанием этого индикатора является корпус 13, внутри которого смонтирован преобразующий механизм — реечно-зубчатая передача. Через корпус проходит измеритель — стержень-рейка с измерительным наконечником 4. На стержне 1 нарезана рейка движения которой передаются реечным (5) и передаточным (7) зубчатыми колесами, а также трубкой 9 на основную стрелку 8. Величина поворота стрелки 8 отсчитывается по круговой шкале — циферблату. Для установки индикатора против отметки «О» круговая шкала поворачивается ободком 2.

Круговая шкала индикатора часового типа состоит из 100 делений, цена каждого деления 0,01 мм. Это означает, что при перемещении измерительного наконечника на 0,01 мм стрелка индикатора передвинется на одно деление круговой шкалы.

10. Режущий инструмент

Токарный резец. Служит для снятия слоя металла или стружки для предания изделию заданной формы или размеров.


Резцы состоят из рабочей части (головки) и стержня (тела).

На рабочей части путем заточки образуются:

передняя поверхность, по которой сходит стружка;

задняя главная поверхность, обращенная к поверхности резания;

задняя вспомогательная поверхность, обращенная к обработанной поверхности.

Пересечением передней и задней главных поверхностей образуется главное режущее лезвие, выполняющее основную работу резания.

Пересечением передней и задней вспомогательных поверхностей образуется вспомогательное режущее лезвие, срезающее меньшую часть снимаемого слоя материала.

В зависимости от назначения, резцы имеют одно или два вспомогательных режущих лезвия и соответственно этому одну или две задние вспомогательные поверхности.

Р6М5 – быстрорежущая сталь, инструментальная, легированная; Р6 – быстрорежущая 6% вольфрама, М5 – молибден 5%.

Резцы изготовленные из инструментальной стали, выдерживают нагрев до температуры 600˚С, не теряя своих режущих свойств. После термической обработки инструмент из быстрорежущих сталей имеет твердость HRC 62-63.

Так же для изготовления резцов применяются сплавы вольфрамокобальтовые (ВК) для обработки хрупких материалов: чугун, бронза, фарфора. Они состоят из карбидов вольфрама и кобальта, в сплавах содержится до 10% кобальта. Теплостойкость ВК 900˚С : ВК6, ВК8. ВК8- вольфрамовый твердый сплав, К8- кобальт 8%, остальное карбидо-вольфрамы. У сплавов титано-кобальтовых (ТК) твердость больше, чем у вольфрамокобальтовых. Так же теплостойкость у ТК 1000˚С, однако их прочность ниже (при одинаковом содержании кобальта).Сплавы Т15К6, Т5К10 используют для обработки материалов со сливной стружкой - сталей. Т15К6 - титано-кобальтовый сплав, Т15- титан 15%, К6- кобальт 6%, остальное карбидо-титаны.

Шлифовальный круг

Абразивный инструмент изготавливается из искусственных и природных абразивных материалов путем прессования массы, состоящей из шлифовального зерна (абразив — мелкие, твёрдые, острые частицы) и связки, с последующей термической и механической обработкой. Используются абразивы для механической обработки (в том числе для придания формы, обдирки, шлифования, полирования) разнообразных материалов и изделий из них Действие абразивов сводится к удалению части материала с обрабатываемой поверхности. Абразивы обычно имеют кристаллическую структуру и в процессе работы изнашиваются таким образом, что от них откалываются мельчайшие частички, на месте которых появляются новые острые кромки (благодаря хрупкости). По размеру зёрен абразивы характеризуются шкалой от 4 (грубейший) до 1200 (тончайший).

Обработка поверхностей шлифовальными кругами обеспечивает шероховатость Ra 1,25-0,02 мкм.

Схемы круглого наружного шлифования:

а — шлифование с продольными рабочими ходами: 1 — шлифовальный круг; 2 — шлифуемая заготовка; б — глубинное шлифование; в — врезное шлифование; г — комбинированное шлифование; Snp — продольная подача; Sn — поперечная подача; t — глубина обработки

picture

Устройства для установки и крепления шлифовальных кругов:

1— шпиндель; 2 — фланцы; 3 — шлифовальные круги; 4 — прокладки; 5 — гайки; 6, 7 — переходные фланцы; 8 — кольцевой паз; 9 — винты

11. Рабочее место автослесаря

Рабочее место представляет участок площади , соответствующим образом оборудованный и оснащенный для выполнения работы одним рабочим или бригадой рабочих. Оно должно быть обеспечено всем необходимым для бесперебойного выполнения производственного задания, а работы должны выполняться в строгом соответствии с регламентированной технологией.

Слесарь по ремонту автомобилей автотранспортного предприятия выполняет работы, связанные с обслуживанием и текущим ремонтом подвижного состава на специализированных постах в гаражных модулях.

Для выполнения технического обслуживания и текущего ремонта посты оборудуют осмотровыми устройствами, обеспечивающими доступ к автомобилю со всех сторон.

Организация рабочего места слесаря по ремонту автомобилей:

1 — стул подъемно-поворотный; 2 — верстак двухтумбовый; 3 — стол для мойки и сушки деталей; 4 — стеллаж-подставка; 5 — кран-балка, грузоподъемность 1 т

Осмотровые канавы по ширине подразделяются на:

— узкие (межколейные) (рис.20 а);

— широкие (рис. 20 в).

Они могут быть тупиковыми или прямоточными. С тупиковых канав автомобили съезжают задним ходом, с прямоточных — передним.

Длина канавы должна превышать длину автомобиля на 1,0—1,2 м, а глубина составляет 1,4—1,5 м для легковых и 1,2—1,3 м для грузовых автомобилей и автобусов. Ширина узкой канавы 0,9—1,1 м, широкой — 1,4—3,0 м.

Канавы имеют ступенчатые лестницы, с боков по кромке — направляющие реборды для колес автомобиля. В канавах оборудуют ниши со светильниками, которые могут использоваться для хранения инструмента. Стены канав облицовывают керамической или пластмассовой плиткой.


Подъемники предназначены для подъема автомобилей и облегчения доступа к ним снизу.

Подъемники могут быть:

• стационарные:

- гидравлические (одно- и двухплунжелные)

- электромеханические (двух-, трех- и четырехстоечные)

• передвижные:

- гидравлические домкраты

- краны

- подъемники с гидравлическим или механическим приводом, размещаемые в осмотровой канаве.

Инструмент и приспособления. Посты технического обслуживания в зависимости от назначения оборудуют необходимым комплектом приспособлений и инструментом.

Для выполнения разборно-сборочных и крепежных работ используют комплекты слесарно-монтажных инструментов (рис.21), динамометрические ключи и съемники.

В комплект слесарно-монтажного инструмента входят:

— гаечные двусторонние ключи;

— торцовые сменные головки;

— разводной ключ;

— гаечные накидные двусторонние ключи;

— слесарный молоток;

— бородок;

— пассатижи;

— отвертки;

— коловорот;


Набор инструментов для слесаря монтажника

При сборке ответственных резьбовых соединений (крепление головки блока цилиндров, шатунных крышек и т. п.) применяют динамометрический ключ позволяющий затягивать гайки и болты с определенным усилием. Момент затяжки (в килограммометрах) определяют по специально установленной на ключе шкале (индикатору).

Динамометрический ключ:

1— головка; 2 — стрелка; 3 — шкала; 4 — рукоятка; 5 — упругий стержень

Для вывертывания и завертывания шпилек применяют эксцентриковый ключ (рис.23) , имеющий ролик с накатанной поверхностью и закрепленный эксцентрично на оси ключа. Полую стойку надевают на шпильку, отводя ролик. При повороте ключа за вороток ось заклинивается и вращается вместе с ключом, обеспечивая вывертывание или завертывание шпильки.

Эксцентриковый ключ для шпилек:

1 — стойка; 2 — вороток; 3 — ось;

4 — ролик

При техническом обслуживании автомобилей применяют различные типы съемников, которые могут быть как универсальные, так и предназначенные для выполнения конкретной операции.

Съемники:

а — клапана; б — крыльчатки водного насоса; в — шестерни; 1 — скоба; 2 — винт.

12. Техника безопасности на рабочем месте автослесаря

1. Перед техническим обслуживанием или ремонтом машины на подъемнике (гидравлическом, электромеханическом) на пульте управления подъемником вывесить предупреждающий знак «Не трогать - под автомобилем работают люди!» Плунжер подъемника зафиксировать от самопроизвольного опускания упором (штангой).

2. Слить бензин, масло и воду при ремонте деталей и агрегатов, связанных с системами охлаждения и смазки. Не допускать расплескивания и разлива жидкостей.

Случайно пролитые жидкости следует засыпать песком или опилками, которые потом необходимо убрать с помощью совка и щетки.

3. Обеспечить безопасность работы под машиной:

- затормозить ручным тормозом;

- включить низшую передачу;

- выключить зажигание (подачу топлива);

- под колеса подложить упоры (башмаки).

4. При работах, связанных с проворачиванием коленчатого или карданного вала, дополнительно проверить выключение зажигания, подачу топлива (для дизельных автомобилей), поставить рычаг переключения передач в нейтральное положение, освободить рычаг ручного тормоза.

После выполнения необходимых работ затянуть ручной тормоз и вновь включить низшую передачу

5. При ремонте машины вне осмотровой канавы, эстакады или подъемника использовать лежаки или подстилки.

6. Влезать под машину и вылезать из-под нее только со стороны, противоположной проезду. Под машиной размещаться между колесами вдоль машины.

7. Перед снятием и установкой агрегатов и узлов (двигателей, рессор, задних и передних мостов и т.п.) разгрузить их от веса кузова путем поднятия кузова подъемным механизмом с последующей установкой козелков.

8. Разборку и сборку рессор производить с помощью специальных приспособлений. Проверять совпадение отверстия ушка рессоры и серьги только с помощью бородка или оправки. Запрещается такую проверку производить пальцами.

9. Снятие отдельных агрегатов и деталей (тормозных и клапанных пружин, барабанов, рессорных пальцев и т.п.), связанное с приложением значительных физических нагрузок или с неудобством в работе, производить с применением приспособлений (съемников), обеспечивающих безопасность работ.

10. Перед снятием колес убедиться в надежной установке машины на козелках и в наличии упоров под неснятыми колесами.

11. Перед демонтажем шины полностью выпустить воздух из камеры колеса.

12. Демонтаж и монтаж шин должны выполняться в шиномонтажном отделении с применением для этих работ специального оборудования и инструмента с применением ограждений, обеспечивающих безопасность.

13. Перед сборкой колеса проверить состояние съемных фланцев обода и стопорного кольца. Фланцы обода и стопорные кольца должны быть очищены от ржавчины, не иметь вмятин, трещин, заусенцев. Диски колес, стопорные кольца и съемные фланцы должны соответствовать размерам шин.

14. При монтаже шины следует вводить стопорное кольцо всей его внутренней поверхностью в выемку на диске колеса.

15.Накачивать шины воздухом необходимо в специальных приспособлениях. Перед накачиванием убедиться, что запорное кольцо полностью лежит в замковом пазе. Допускается исправлять положение шины на диске постукиванием только после прекращения поступления воздуха.

16. Перед обслуживанием и ремонтом днища кузова легкового автомобиля на поворотном стенде необходимо укрепить на нем автомобиль, слить топливо из топливных баков и воду из системы охлаждения, закрыть плотно маслозаливную горловину двигателя и снять аккумуляторную батарею.

17. Промывать детали керосином необходимо в специально отведенном месте. Обдувать их сжатым воздухом в специальных закрытых шкафах, оборудованных вытяжной вентиляцией.

18. Четко согласовать свои действия при выполнении работы совместно с другими рабочими.

19. Запрещается:

- техническое обслуживание и ремонт автомобиля при работающем двигателе, кроме случаев регулировки систем питания и электрооборудования и опробования тормозов;

- производить ремонтные работы на автомобиле, вывешенном только на одних подъемных механизмах, без подставок;

- работать под автомобилем без лежаков или подстилок, лежа на земле или полу;

- применять случайные предметы (доски, кирпичи и т. п.) в качестве подставок или тормозных упоров (башмаков);

- работать с поврежденными или неправильно установленными упорами, а также устанавливать на упоры груженый кузов;

- выбивать при демонтаже диски колес кувалдой или молотком;

- во время накачивания шины осаживать стопорное кольцо молотком или кувалдой;

- подходить к открытому огню, курить или зажигать спички, если руки или спецодежда смочены бензином.

20. Перед испытанием и опробованием тормозов на стенде автомобиль закрепить цепью или тросом, исключающими его скатывание со стенда.

21. До пуска двигателя автомобиль затормозить, рычаг коробки передач поставить в нейтральное положение.

22. Пуск двигателя осуществлять с помощью стартера. Пуск двигателя при открытом капоте производить при отсутствии посторонних лиц на рабочем месте.

23. Запрещается:

- при обкатке двигателя на стенде касаться вращающихся частей;

- работа двигателя в закрытом невентилируемом помещении

 

Список литературы

Епифанов Л.И., Епифанов Е.А. Техническое обслуживание и ремонт автомобилей: Учебное пособие для студентов учреждения среднего профессионального образования. – М.: ФОРУМ: ИНФРА-М, 2003.- 280 с.: ил. – (Серия «Профессиональное образование»)

Карагодин В.И., Митрохин Н.Н. Ремонт атвомобилей и двигателей: Учеб. для студ. сред. проф. учеб. заведений. – М.: Мастерство; Высш. школа, 2001. – 496 с.

Козлов Ю.С. Материаловедение. Издательство «АТАР», 1999 – 180 с.

Кубышкин Ю.И., Маслов В.В., Сухов А.Т. ВАЗ-2110, -2111, -2112. Эксплуатация, обслуживание, ремонт, тюнинг. Иллюстрированное руководство. – М.: ЗАО «КЖИ «За рулем», 2004. – 280 с.: ил. – (Серия «Своими силами»).

Шестопалов С.К. Устройство, техническое обслуживание и ремонт легковых автомобилей: Учеб. для нач. проф. образования; Учеб. пособие для сред. проф. образования. – 2-е изд., стер. – М.: Издательский центр «Академия»; ПрофОбрИздат, 2002. – 544 с

Адаскин А.М. Материаловедение (металлообработка): Учебник для нач. проф. образования: Учеб. пособие для сред. проф. образования/ А. М. Адаскин, В. М. Зуев.- 3-е изд., стер.- М.: Издательский центр «Академия», 2004. – 240 с.

Макиенко Н.И. Общий курс слесарного дела: Учеб. для ПТУ. – 3-е изд., испр. – М.: Высш. шк., 1989. – 335 с.: ил.

Похожие работы на - Техническое обслуживание и ремонт автомобилей

 

Не нашли материал для своей работы?
Поможем написать уникальную работу
Без плагиата!
Без нейросетей!