Совершенствование организации и технологии технического обслуживания и текущего ремонта грузовых автомобилей
Введение
В настоящее время в России
очень много автотранспортных предприятий, которые либо были разорены, либо
объявлены банкротом, либо попросту предприятие «растаскивалось» по частям, в
буквальном смысле этого слова. Разорение предприятий началось с 90-х годов и
продолжалось по 2000 год. Наиболее тяжела была участь автотранспортных
предприятий в сельской местности, в том числе и ОАО «Горшечноеавтотранс». С
2000 года ряд предприятий начали выкупать частные компании, помещения
предприятий сдавались в аренду, некоторые предприятия были восстановлены.
Сейчас ОАО «Горшечноеавтотранс» переживает не самые лучшие времена, но на этом
предприятии сохранилась база, на которой, при правильном подходе, можно
восстановить, усовершенствовать до более высокого уровня развития и превратить
это предприятие в успешное, современное автотранспортное предприятие.
Рациональное использование
автомобильного парка предполагает не только грамотную эксплуатацию, но и
эффективную систему технического обслуживания и ремонта.
Эта система должна быть
научно обоснована, должна учитывать состояние автомобилей и их загруженность.
Для поддержания работоспособности машин, техническое состояние которых в
последнее время быстро ухудшается, необходима хорошая ремонтная база.
Затраты, которые пойдут на
организацию и обустройство такой базы, окупятся за счёт более интенсивного
использования автомобилей, уменьшения простоев в ремонте и в ожидании ремонта.
Если предприятие уже располагает готовым помещением, которое можно приспособить
для размещения пункта технического обслуживания, то это обстоятельство может
значительно удешевить работы по организации такого пункта, поскольку здание
является самым дорогостоящим его элементом.
Важным фактом в экономии
средств на содержание автомобильного парка, является уменьшение издержек на ремонт
и техническое обслуживание автомобилей. Чтобы снизить эти издержки при
достаточно высоком качестве ремонтных работ необходимо решить две задачи:
Во-первых, организовать эффективное диагностирование автомобилей с тем, чтобы
знать фактическое состояние их агрегатов и проводить ремонты там, где это
действительно необходимо. Во-вторых, наладить восстановление изношенных деталей
собственными силами, так как это дешевле, чем покупать эти детали в виде
запчастей.
В проекте предлагается
провести совершенствование организации и технологии технического обслуживания и
текущего ремонта автомобилей. Предлагается укомплектовать предприятие
современным оборудованием и штатом квалифицированных рабочих.
1.
Состояние предприятия и обоснование темы диплома
1.1 История предприятия
История образования
предприятия начинает свой отсчет с 1962 года. Когда на месте сегодняшнего
предприятия с заасфальтированной территорией, с аккуратными корпусами, по
фотографиям периода 1962 года видим дощатые сараи, которые были и ремонтной мастерской
и административным зданием, грязь и лужи вместо оборудованной территории. В
1963 году началось строительство корпусов ремонтной мастерской, а к 1965 году
база предприятия приобрела благоустроенный вид. Были возведены корпуса
ремонтной мастерской, построены бензозаправочная станция, контрольно-пропускной
пункт, введена в действие механическая мойка, заасфальтирована территория
стоянки автобусов.
На момент образования ОАО
«Горшечноеавтотранс» имело название «Автоколонна № 1776», численность предприятия
составляла около 20 человек, в том числе 5 водителей, 5 ремонтников, 3
инженерно-технических работника и работников руководящего состава, остальные -
контролеры и вспомогательный персонал. Автомобильный парк состоял из следующих
марок: ПАЗ-652, ЗИЛ-158, ЗиС-155, ГАЗ-51, УРАЛ-ЗИС-355, ЗиС-151 всего 18
единиц. Годы экономических реформ стали нелегким испытанием для предприятия.
Стали приобретаться по долгосрочным лизинговым договорам автобусы,
усовершенствована и модернизирована производственная база, значительно
расширена в качественном отношении сеть автобусных маршрутов. На
сегодняшний день численность работающих составляет 26 человек, половина из них
имеет трудовой стаж работы на предприятии от 15 и выше лет, количество
автобусов – 7 единиц, грузовых автомобилей – 9 единиц.
1.2
Общая характеристика
предприятия
Предприятие, занимающееся
грузоперевозками, пассажиро-перевозками, а также техническим обслуживанием и
ремонтом автомобилей, ОАО ‹‹Горшечноеавтотранс›› расположено по адресу п.
Горшечное, ул. Мира 63. На предприятии производятся услуги по перевозкам
пассажиров по маршрутам Курской, Белгородской и Воронежской областям, а также
предоставляются грузовые автомобили для частых заказов, нужды поселка либо для
нужд других предприятий и фирм. В настоящее время на предприятии работает 26 человек.
При наличии финансовых
средств на предприятии целесообразно провести реконструкцию мастерской в пункт
технического обслуживания и ремонта автомобилей, который в настоящее время не
удовлетворяет потребности в техобслуживании и ремонте существующего на
предприятии парка.
1.3
Анализ состояния и использования техники
Наличие автомобилей,
принадлежащих предприятию, представлено в таблице 1.1, где указаны марки
техники и сроки их эксплуатации.
Таблица 1.1 – Автомобильный
парк ОАО «Горшечноеавтотранс»
|
Марка техники
|
Количество, шт.
|
Срок эксплуатации
|
|
до 3 лет
|
от 3 до 10 лет
|
свыше 10 лет
|
|
ПАЗ-3205
ПАЗ-423400
КамАЗ-5320
КамАЗ 5511
ЗИЛ-130
Всего
|
5
2
3
5
1
16
|
-
-
-
-
-
-
|
4
2
-
-
-
6
|
1
-
3
5
1
10
|
Наибольшее количество
автомобилей приходится на автобусы марки ПАЗ-3205 и на грузовые автомобили
марки КамАЗ-5511. Всего на предприятии три марки автомобилей, общим количеством
16 единиц. Очевидно, такой парк автомобилей не позволяет предприятию выполнять
все виды перевозок.
Что касается сроков службы
техники, имеющейся у предприятия, то, как видно в таблице 1, весь подвижной
состав предприятия со сроком службы более трёх лет, более того, 62 % техники
имеют возраст более десяти лет.
Таким образом, существующий
на предприятии машинный парк, как по марочному составу, так и по возрастному
требует повышенных затрат на поддержание работоспособности.
1.4
Характеристика базы для технического обслуживания и ремонта техники
Техническое обслуживание и
ремонт техники на предприятии в настоящее время производится в мастерской,
которая была построена в 1963 году.
Предприятие располагает
мастерской общей площадью 2880 м². Высота мастерской 7 м, стены кирпичные, пол бетонный. Количество мастерских 1 шт., в мастерской находятся 10 смотровых
канав. Также на территории предприятия находятся административное здание,
склады, автомойка, насосная станция, котельная и автозаправка. Стоянка для
техники и вся территория вокруг зданий заасфальтирована.
Оборудование мастерской
представлено станками, сварочными аппаратами и агрегатами, а также другим
оборудованием.
Перечень технологического
оборудования представлен в таблице 1.2.
Как видно по таблице 1.2,
производственный корпус имеет недостаточный набор оборудования, кроме того,
многие станки устарели и не дают нужной точности обработки. На предприятии
практически отсутствует специальное ремонтное оборудование, если не считать
сварочного аппарата. При проведении работ с техникой зачастую используются
подручные средства, обрезки труб, доски и т. п., что не способствует высокому
качеству работ, а также полноте выполнения всех технологических операций.
Таблица 1.2 - Наличие
оборудования в ОАО «Горшечноеавтотранс»
|
№
п/п
|
Наименование
оборудования
|
Марка
|
Количество, штук
|
Год
выпуска
|
|
1
2
3
4
5
6
7
8
|
Токарный станок
Фрезерный станок
Сверлильный станок
Зарядное устройство
Сварочный аппарат
Компрессор
Электорокранбалка
Моечное оборудование
|
1К62
6Н82
2Б125
ВС-5
ТД-300
КП-510
Ш-1-10
|
1
1
1
1
1
1
2
1
|
1986
1984
1985
1994
1991
1988
1991/2002
1989
|
Работы по техническому
обслуживанию и ремонту техники производятся в основном слесарями, но могут
привлекаться и водители. Специалисты, такие как сварщик или станочник,
привлекаются для выполнения специальных работ. При выпуске машин в эксплуатацию
контроль качества производится от случая к случаю, в основном при аварийных остановках.
На предприятии не
производится техническая диагностика техники, техническое обслуживание не
выполняется в полном объеме.
1.5
Анализ работы предприятия ОАО «Горшечноеавтотранс»
Анализ
работы предприятия ОАО «Горшечноеавтотранс» производится за период 2006-2008
гг., по следующим показателям:
–
автомобиле-дни в работе;
–
автомобиле-дни в ремонте;
–
автомобиле-часы на линии;
–
среднесуточный пробег;
–
пробег с пассажирами;
– коэффициент
технической готовности;
–
коэффициент использования автомобилей;
–
коэффициент использования пробега.
Все
эти показатели графически отображены на демонстрационном плакате
ДП.2068046.190601- 12.ДО.09.01.И.
1.5.1 Автомобиле-дни в работе
Пребывание
автомобилей в работе (автомобиле-дни) определяется суммированием количества
автомобилей, выпущенных на линию, за каждый день года, независимо от количества
отработанных смен в течение суток.
При
выпуске автомобиля на линию в календарные сутки более одного раза, автомобиле-дни
в работе должны учитываться только один раз. Если автомобиль, выехавший на линию,
не выполнил никакой работы, то этот день учитывается как автомобиле-день в
работе.
При
междугородных и международных перевозках грузов или пассажиров по заказам,
когда в связи с расстоянием маршрута и характером перевозки водитель выполняет
задание в течение более одних суток, автомобиле-дни в работе определяются как
количество дней нахождения в командировке, начиная со дня выхода на линию,
включая день возвращения с линии, за исключением целодневных простоев (из-за
технической неисправности, бездорожья, отдыха водителей и др.).
Если
автомобиль в течение какого-либо дня находился в ремонте и затем в этот же день
был выпущен на линию, то такой день относится к автомобиле-дням в работе.
Основанием для определения количества автомобиле-дней
пребывания в работе являются путевые листы.
Автомобиле-дни
в работе подвижного состава предприятия ОАО «Горшечноеавтотранс» представим в
виде таблицы 1.3.
Таблица
1.3 - Автомобиле-дни в работе
|
Года
|
Автомобиле-дни
|
|
2006
|
3570
|
|
2007
|
4810
|
|
2008
|
4010
|
1.5.2
Автомобиле-дни в ремонте
Количество автомобиле-дней в ремонте определяется
суммированием всех календарных дней, в течение которых транспортные средства,
согласно данным первичного учета, находились в ремонте и его ожидании.
Транспортные средства, простаивающие из-за отсутствия запчастей, автошин,
аккумуляторов, а также подлежащие списанию с баланса организации, но еще не
списанные, учитываются как находящиеся в ожидании ремонта.
Автомобиле-дни
в ремонте подвижного состава предприятия ОАО «Горшечноеавтотранс» представим в
виде таблицы 1.4.
Таблица
1.4 - Автомобиле-дни в ремонте
|
Года
|
Автомобиле-дни
|
|
2006
|
1180
|
|
2007
|
905
|
|
2008
|
1002
|
1.5.3 Автомобиле-часы на линии
Количество автомобиле-часов на линии определяется
суммированием всех часов нахождения транспортных средств на линии (со времени
выхода автомобильного транспортного средства на линию и до его возвращения с
линии) за исключением времени перерыва для отдыха и питания водителя в
соответствии с действующим законодательством, целодневных простоев (при наличии
в путевом листе соответствующей записи).
Автомобиле-часы на линии подвижного состава предприятия ОАО
«Горшечноеавтотранс» представим в виде таблицы 1.5.
Таблица
1.5 - Автомобиле-часы на линии
|
Года
|
Автомобиле-часы
|
|
2006
|
70
|
|
2007
|
80
|
|
2008
|
98
|
1.5.4
Среднесуточный пробег
Среднесуточный
пробег подвижного состава предприятия ОАО «Горшечноеавтотранс» представим в
виде таблицы 1.6.
Таблица
1.6 – Среднесуточный пробег автомобилей
|
Года
|
Км
|
|
2006
|
210
|
|
2007
|
220
|
|
2008
|
245
|
1.5.5
Пробег с пассажирами
Пробег
с пассажирами подвижного состава предприятия ОАО «Горшечноеавтотранс» представим
в виде таблицы 1.7.
Таблица
1.7 – Пробег с пассажирами
|
Года
|
Тыс. км
|
|
2006
|
575
|
|
2007
|
625
|
|
2008
|
655
|
1.5.6 Коэффициент технической готовности
Коэффициент,
характеризующий готовность технически исправных автомобилей к перевозкам и
определяемый, отношением числа автомобиле-дней, соответствующих технически
исправному, состоянию, к произведению списочного числа автомобилей на число
календарных дней, называется коэффициентом технической готовности.
Коэффициент
технической готовности подвижного состава предприятия ОАО «Горшечноеавтотранс»
представим в виде таблицы 1.8.
Таблица
1.8 – Коэффициент технической готовности
|
Года
|
Значение коэффициента
|
|
2006
|
0,88
|
|
2007
|
0,88
|
|
2008
|
0,88
|
1.5.7 Коэффициент использования
автомобилей
Коэффициент
использования автомобилей – это доля времени нахождения транспортных средств в
эксплуатации (в рабочем парке) к общему времени нахождения в распоряжении
предприятия. Коэффициент определяется как отношение величины времени подвижного
состава в эксплуатации, к величине времени парка в распоряжении предприятия.
Коэффициент
использования автомобилей предприятия ОАО «Горшечноеавтотранс» представим в
виде таблицы 1.9.
Таблица
1.9 – Коэффициент использования автомобилей
|
Года
|
Значение коэффициента
|
|
2006
|
0,53
|
|
2007
|
0,54
|
|
2008
|
0,57
|
1.5.8
Коэффициент использования пробега
Коэффициент
использования пробега - это отношение пробега автомобиля с пассажирами либо
грузом к его общему пробегу.
Коэффициент
использования пробега предприятия ОАО «Горшечноеавтотранс» представим в виде
таблицы 1.10.
Таблица
1.10 – Коэффициент использования пробега
|
Года
|
Значение коэффициента
|
|
2006
|
0,64
|
|
2007
|
0,62
|
|
2008
|
0,63
|
1.6
Организация ТО и ТР на предприятии ОАО «Горшечноеавтотранс»
Существующая схема
организации технологического процесса на ОАО «Горшечноеавтотранс» представлена
на демонстрационном листе ДП.2068046.190601- 12.ДО.09.02.И. Данная схема очень
проста и не содержит конкретного подразделения выполняемых работ, а также
отсутствует диагностирование и проверка качества выполненных работ.
На демонстрационном листе
ДП.2068046.190601- 12.ДО.09.03.И представлена модернизированная схема
технологического процесса на ОАО «Горшечноеавтотранс». На модернизированной
схеме организации технологического процесса посты ТО разделены на ТО-1 и ТО-2,
что дает возможность лучшей организации ТО и её очередности. Также включено
диагностирование автомобилей и проверка качества работ по ТО и ТР.
Если внедрить данную схему,
то сократиться время и ресурсы на выполнение ТО и ТР, повысится качество выполняемых
работ.
На демонстрационном листе
ДП.2068046.190601- 12.ДО.09.01.КТ представлена усовершенствованная технология
сборки двигателя КамАЗ 740.10-Д, при использовании разрабатываемого в данном
дипломном проекте приспособления для сборки-разборки двигателя КамАЗ 740.10-Д.
При использовании приспособления значительно сократиться время на сборку
двигателя, а сам процесс будет менее трудоемким.
1.7
Обоснование темы дипломного проекта
Исходя из проведённого
анализа состояния дел с техническим обслуживание и ремонтом техники на
предприятии, следует признать это состояние неудовлетворительным.
На предприятии ремонтные
воздействия на технику проводятся не в плановом порядке, они состоят, в
основном, в устранении отказов машин. Действительное состояние техники не
определяется, поэтому при ремонте имеется значительный перерасход средств на
запчасти. Не смотря на большие затраты на ТО и ТР на предприятии высокие простои
техники в ремонте и в ожидании ремонта.
Ремонтные операции
проводятся с использованием подручных средств, так как не хватает оборудования.
Техническое обслуживание проводится не в полном объеме и с низким качеством.
Квалификация слесарей и водителей, проводящих работы по ремонту и техническому
обслуживанию техники, зачастую недостаточна для качественного их выполнения.
Мероприятия, которые
представлены в дипломном проекте, позволят резко улучшить качество технического
обслуживания и ремонта техники, поднять культуру производства, восстановить
автотранспортное предприятие, вывести его на высокий уровень работоспособности,
как преуспевающего предприятия. Отдача от предприятия будет следующая:
повысится и улучшится инфраструктура Горшеченского района, появятся
дополнительные рабочие места, а также повысится сообщение и деловые связи между
Курской, Белгородской и Воронежской областями. Таким образом, тема настоящего
дипломного проекта является актуальной.
2. Расчетно-технологический
раздел
2.1 Выбор исходных данных
Для расчета производственной программы и объема работ АТП
необходимы следующие исходные данные: тип и количество подвижного состава
(автомобилей, прицепов, полуприцепов), среднесуточный пробег автомобилей и их
техническое состояние, дорожные и природно-климатические условия эксплуатации,
режим работы подвижного состава и режимы технического обслуживания и текущего
ремонта.
2.2 Расчет производственной программы по
ТО
Производственная
программа АТП по ТО характеризуется числом технических обслуживаний,
планируемых на определенный период времени (год, сутки). Сезонное техническое
обслуживание (СО), проводимое 2 раза в год, как правило совмещается с ТО-2 или
ТО-1 и как отдельный вид обслуживания при определении производственной
программы не учитывается. Для ТР, выполняемого по потребности, число
воздействий не определяется. Планирование простоев подвижного состава и объемов
работ в ТР производится исходя из соответствующих удельных нормативов на 1000 км пробега. Цикловой метод расчета производственной программы предусматривает
выбор и корректирование периодичности ТО-1, ТО-2 и пробега до КР для подвижного
состава проектируемого АТП, расчет числа ТО и КР на 1 автомобиль (автопоезд) за
цикл, т.е. на пробег до КР, расчет коэффициента перехода от цикла к году и на
его основе пересчет полученных значений числа ТО и КР за цикл на 1 автомобиль и
весь парк (или группу однотипных автомобилей) за год.
2.2.1 Выбор и корректирование
нормативной периодичности технического обслуживания и пробега капитального ремонта
Для
расчета производственной программы предварительно необходимо для данного АТП
выбрать нормативные значения пробегов подвижного состава до КР и периодичности
ТО-1 и ТО-2.
Для
удобства составления графика технического обслуживания и последующих расчетов
значения пробегов между отдельными видами технического обслуживания и ремонта
должны быть скорректированы с учетом следующих коэффициентов:
К1
– коэффициент, учитывающий категорию условий эксплуатации;
К2
– коэффициент, учитывающий модификацию подвижного состава и организацию его
работы;
К3
– коэффициент, учитывающий климатические условия;
К4
– коэффициент, учитывающий пробег подвижного состава с начала эксплуатации;
К5
– коэффициент, учитывающий число автомобилей в АТП.
Значения
корректирующих коэффициентов представлены в таблице 2.1.
Таблица
2.1 - Значения корректирующих коэффициентов
|
Наименование коэффициентов
|
Значение коэффициента
|
|
К периодичности ТО
|
К удельной
трудоемкости ТР
|
К норме про-бега до
КР
|
|
К1,
категории условий эксплуатации 2
К2,
базовые модели
самосвалы, тягачи
спецмашины
К3,
климатическая зона умеренная
К4,
пробег с начала эксплуатации в долях от нормативного пробега до КР
К5,
автотранспортное предприятие до 100
автомобилей
|
0,9
1,0
1,15
1,15
1,0
-
1,15
|
1,1
1,0
1,15
1,15
1,0
1,32
1,15
|
0,9
1,0
0,85
0,90
1,0
-
1,15
|
Среднесуточный
пробег автомобилей представлен в таблице 2.2.
Таблица
2.2 - Среднесуточный пробег автомобилей
|
Марка автомобиля
|
Количество автомобилей,
шт.
|
Среднесуточный
пробег, км.
|
|
ЗИЛ
КАМАЗ
ПАЗ
|
1
7
8
|
110
180
210
|
Найдем
нормативную периодичность и нормативный пробег:
Lк = Lк(н) ∙ К1
∙ К2 ∙ К3,
(2.1)
Li = Li(н) ∙ К1
∙ К3,
(2.2)
где Lк (н)
– нормативный пробег автомобиля до КР, км;
Li(н) – нормативная
периодичность ТО i-го вида (ТО-1 или ТО-2), км.
Пробег
автомобиля до капитального ремонта:
Lк.гр. = 300000 ∙
1 ∙ 0,9 ∙ 1 = 270000 км.,
Lк.ав. = 350000 ∙
1 ∙ 0,9 ∙ 1 = 315000 км.,
Периодичность
ТО-1:
L1.гр. = 4000 ∙
0,9 ∙ 1 = 3600 км.,
L2.гр. = 16000 ∙
0,9 ∙ 1 = 14400 км.,
Периодичность
ТО-2:
L1.ав. = 5000 ∙
0,9 ∙ 1 = 4500 км.,
L2.ав. = 20000 ∙
0,9 ∙ 1 = 18000 км.,
Расчеты
межремонтного пробега автомобилей сведем в таблицу 2.3.
Таблица
2.3 - Расчеты межремонтного пробега автомобилей
|
Тип подвижного состава
|
Нормативный показатель,
тыс. км
|
Корректирующий
коэффициент
|
Скорректированный
пробег, тыс. км
|
|
К1
|
К2
|
К3
|
|
ЗИЛ
КАМАЗ
ПАЗ
|
300
300
350
|
0,9
0,9
0,9
|
1,0
1,0
1,0
|
1,0
1,0
1,0
|
270
270
315
|
Скорректированные
периодичности технического обслуживания представим в таблице 2.4.
Таблица
2.4 - Скорректированные периодичности технического обслуживания подвижного
состава
|
Тип подвижного состава
|
Нормативный
показатель, км
|
Коррек-
тирующий коэффициент,
К1
|
Расчетная периодичность
обслуживания, км
|
|
ТО-1
|
ТО-2
|
ТО-1
|
ТО-2
|
|
ЗИЛ
КАМАЗ
ПАЗ
|
4000
4000
5000
|
16000
16000
|
0,9
0,9
0,9
|
3600
3600
4500
|
14400
14400
18000
|
2.2.2
Определение числа КР, ТО на один автомобиль за цикл эксплуатации
Число
технических воздействий на один автомобиль за цикл определяется отношением
циклового пробега к пробегу до данного вида воздействия. Так как цикловой
пробег Lц в данной
методике расчета принимается равным пробегу Lк автомобиля до
КР, то число КР одного автомобиля за цикл будет равно единице, как показано на
рисунке 1.
В
расчете принято, что при пробеге, равном Lк, очередное
последнее за цикл ТО-2 не проводится, и автомобиль направляется в КР. Кроме
того, учитывается, что в ТО-2 входит обслуживание ТО-1, которое выполняется
одновременно с ТО-2. Поэтому в расчете число ТО-1 за цикл не включает
обслуживания ТО-2. Периодичность выполнения ежедневных обслуживаний (ЕО)
принята равной среднесуточному пробегу.
Поэтому
в расчете число ТО-1 за цикл не включает обслуживания ТО-2. Периодичность
выполнения ежедневных обслуживаний (ЕО) принята равной среднесуточному пробегу.
Таким
образом, число КР (Nк), ТО-2 (N2), ТО-1 (N1) и ЕО (Nео) за цикл на
один автомобиль может представляться в следующем виде:
Nк = Lц / Lк = Lк/ Lк = 1,
(2.3)
N2 = Lк/ L2 – Nк,
(2.4)
N1 = Lк/ L1 – (Nк + N2),
(2.5)
Nео = Lк/ Lсс,
(2.6)
где Lсс –
среднесуточный пробег автомобиля, км.
Для
грузовых автомобилей:
Nк = Lц / Lк = Lк/ Lк = 1,
N2 = 270000/ 14400
– 1 = 18,
N1 = 270000/ 3600
– (1 + 18) = 56,
Nео.зил = 270000/ 110 =
2455,
Nео.камаз = 270000/ 180 =
1500
Для
автобусов:
Nк = Lц / Lк = Lк/ Lк = 1,
N2 = 315000/ 18000
– 1 = 17,
N1 = 315000/ 4500
– (1 + 17) = 52,
Nео. = 315000/ 210 =
1500,
2.2.3 Определение числа ТО на один
автомобиль и весь парк за год
Так
как пробег автомобиля за год отличается от его пробега за цикл, а
производственную программу принято рассчитывать на год, то для определения
числа ТО за год необходимо сделать соответствующий перерасчет полученных
значений Nео, N1, N2 за цикл, используя
коэффициент перехода от цикла к году hг.
Годовое
число ЕО (Nео.г), ТО-1 (N1.г), ТО-2 (N2.г) на один
списочный автомобиль и весь парк автомобилей одной модели (SNео.г, S N1.г, S N2.г) составит:
Nео.г = Nео ∙ hг, (2.7)
N1г = N1 ∙ hг, (2.8)
N2г = N2 ∙ hг, (2.9)
S Nео.г = Nео.г ∙ Асп, (2.10)
S N1г = N1г ∙ Асп,
(2.11)
S N2г = N2г ∙ Асп,
(2.12)
где Асп
– списочное число автомобилей.
Коэффициент
hг представляет
собой отношение годового пробега автомобиля Lг к его пробегу
за цикл до КР, т. е.
hг = Lг / Lк.
(2.13)
Таким
образом, hг отражает долю
годового пробега автомобиля (или численного значения соответствующего вида ТО)
от его побега (или числа ТО) за цикл.
Годовой
пробег автомобиля:
Lг = Драб.г
∙ Lсс ∙ aт, (2.14)
где Драб.г
– число дней работы АТП в году;
aт – коэффициент
технической готовности.
За
цикл:
aт = Дэ.ц
/ (Дэ.ц + Др.ц), (2.15)
где Дэ.ц
– число дней нахождения автомобиля за цикл в технически исправном состоянии;
Др.ц
– число дней простоя автомобиля в ТО и ремонте за цикл.
В
данном расчете Дэ.ц принято равным числу дней эксплуатации
автомобиля за цикл в технически исправном состоянии, т. е. без учета простоя по
организационным причинам.
Поэтому:
Дэ.ц
= Lк/ Lсс; (2.16)
Др.ц
= Дк + Дто-тр ∙ Lк ∙ К4
/ 1000, (2.17)
где Дк
– число дней простоя автомобиля в КР; Дто-тр – удельный простой
автомобиля в ТО и ТР в днях на 1000 км пробега.
При
определении численного значения Дк необходимо учитывать, что простой
автомобиля в КР предусматривает и общее число календарных дней вывода
автомобиля из эксплуатации, т.е.:
Дк
= Дк ¢
+ Дт, (2.18)
где Дк¢ - нормативный простой автомобиля в
КР;
Дт
– число дней, затраченных на транспортировку автомобиля из АТП на авторемонтный
завод и обратно, принимаемое 10-20% от продолжительности простоя в КР по нормативам.
К4
- коэффициент,
учитывающий пробег подвижного состава с начала эксплуатации рассчитывается по
формуле:
К4=(К4(1)хА1+К4(2)+К4(3)хА3+К4(4)хА4+К4(5)хА5)/(А1+А2+А3+А4+А5),
(2.19)
где А1,
А2, А3, А4, А5 - количество автомобилей, входящих в
группу с одинаковым пробегом с начала эксплуатации (согласно задания на ДП);
К4(1),
К4(2), К4(3), К4(4), К4(5) - величины коэффициентов корректирования
для соответствующей группы автомобилей с одинаковым пробегом с начала
эксплуатации. Найдем коэффициент К4 :
К4
= (2∙1,3+2∙1,3+2∙1,3+6∙1,3+3∙1,4)/(16) =
1,32
Найдем
число дней простоя автомобиля в КР
Дк.авт.
= 20 + 4 = 24 дн.
Дк.гр.
= 22 + 4 = 26 дн.
Число
дней простоя автомобиля в ТО и ремонте за цикл:
Др.ц.гр.
= 26 + 0,5 ∙ 270000 ∙ 1,32 / 1000 = 205 дн.,
Др.ц.авт.
= 24 + 0,4 ∙ 315000 ∙ 1,32 / 1000 = 191 дн.
Число
дней нахождения автомобиля за цикл в технически исправном состоянии:
Дэ.ц
зил= 270000/ 110 = 2455 дн.,
Дэ.ц.камаз
= 270000/ 180 = 1500 дн.,
Дэ.ц.паз
= 315000/ 210 = 1500 дн.
Коэффициент
технической готовности:
aт.зил = 2455 / (2455
+ 205) = 0,93,
aт.камаз = 1500 / (1500
+ 205) = 0,88,
aт.паз = 1500 / (1500
+ 191) = 0,89
Годовой
пробег автомобиля:
Lг.зил = 253 ∙
110 ∙ 0,93 = 25882 км,
Lг.камаз = 253 ∙
180 ∙ 0,88 = 40075 км,
Lг.паз = 365 ∙
210 ∙ 0,89 = 68218 км.
Коэффициент
hг:
hг.зил = 25882 /
270000 = 0,096,
hг.камаз = 40075 /
270000 = 0,148,
hг.паз = 68218 /
315000 = 0,217,
Годовое
число ЕО (Nео.г), ТО-1 (N1.г), ТО-2 (N2.г) на один
списочный автомобиль и весь парк автомобилей одной модели (SNео.г, S N1.г, S N2.г) составит:
Nео.г зил= 2455 ∙
0,096 = 236,
N1г.зил = 56 ∙
0,096 = 6,
N2г.зил = 18 ∙
0,096 = 2,
S Nео.г.зил = 236 ∙
1 = 236,
S N1г.зил = 6 ∙ 1 =
6,
S N2г = 2 ∙ 1 =
2
Расчет
числа ТО на один автомобиль и весь парк за год, представлен в таблице 2.5.
Таблица
2.5 - Число ТО на один автомобиль и весь парк за год
|
Марка автомобиля
|
Годовое число
воздействий
|
|
на один автомобиль
|
на весь парк
|
|
Nео
|
NТО-1
|
NТО-2
|
S
Nео
|
S
NТО-1
|
S
NТО-2
|
|
ЗИЛ
КАМАЗ
ПАЗ
|
236
222
325
|
6
9
12
|
2
3
4
|
236
1554
2600
|
6
63
96
|
2
21
32
|
|
Итого:
|
4390
|
165
|
55
|
2.2.4 Определение числа диагностических
воздействий на весь парк за год
Согласно
«Положению» [4], диагностирование как отдельный вид обслуживания не планируется
и работы по диагностированию подвижного состава входят в объем работ ТО и ТР.
При этом в зависимости от метода организации диагностирование автомобилей может
производиться на отдельных постах или быть совмещено с процессом ТО. Поэтому в
данном случае число диагностических воздействий определяется для последующего
расчета постов диагностирования и его организации.
На
АТП в соответствии с Положением предусматривается диагностирование подвижного
состава Д-1 и Д-2.
Диагностирование
Д-1 предназначено главным образом для определения технического состояния
агрегатов, узлов и систем автомобиля, обеспечивающих безопасность движения. Д-1
проводится, как правило, с периодичностью ТО-1. Исходя из назначения и
организации диагностирования, Д-1 предусматривается для автомобилей при ТО-1,
после ТО-2 (по узлам и системам, обеспечивающим безопасность движения, для проверки
качества работ и заключительных регулировок) и при ТР (по узлам, обеспечивающим
безопасность движения).
Таким
образом, число Д-1 на весь парк за год:
SNд-1.г=SN1.д-1+SN2.д-1+SNтр.д-1=SN1.г+SN2.г+0,1∙SN1.г=1,1∙SN1.г+SN2.г (2.20)
где SN1.д-1, SN2.д-1, SNтр.д-1 – соответственно
число автомобилей диагностируемых за год при ТО-1, после ТО-2 и при ТР.
SNд-1.г.зил=1,1 ∙ 6 +
2 = 68
Число
автомобилей, диагностируемых при ТР (S Nтр.д-1), согласно
опытным данным и нормативам проектирования ОНТП-01-91 принято равным 10% от
программы ТО-1 за год.
Диагностирование
Д-2 предназначено для определения мощностных и экономических показателей
автомобиля, а также для выявления объемов ТР. Д-2 проводится с периодичностью
ТО-2 и в отдельных случаях при ТР.
Исходя
из этого число Д-2 на весь парк за год:
SNд-2.г = SN2.д-2 + SNтр.д-2 = SN2.г + 0,2 ∙ SN2.г = 1,2 ∙ SN2.г, (2.21)
где SN2.д-2, SNтр.д-2 – соответственно
число автомобилей в год, диагностируемых перед ТО-2 и при ТР.
SNд-2.г.зил= 1,2 ∙ 2
= 3
Число
автомобилей, диагностируемых при ТР (SNтр.д-2), принято
равным 20% от годовой программы ТО-2.
Расчет
числа диагностических воздействий на весь парк за год, представлен в таблице 2.6.
Таблица
2.6 - Число диагностических воздействий на весь парк за год
|
Марка автомобиля
|
Годовое число
воздействий
|
|
Д-1
|
Д-2
|
|
ЗИЛ
КАМАЗ
ПАЗ
|
68
91
138
|
3
26
39
|
|
Итого:
|
297
|
68
|
2.2.5 Определение суточной программы по
ТО и диагностированию автомобилей
Суточная
производственная программа является критерием выбора метода организации ТО (на
универсальных постах или поточных линиях) и служит исходным показателем для
расчета числа постов и линий ТО.
По
видам ТО (ЕО, ТО-1, ТО-2) и диагностированию (Д-1 и Д-2) суточная производственная
программа:
Ni.c = SNi.г / Драб.г, (2.22)
где SNi.г – годовая
программа по каждому виду ТО или диагностики в отдельности;
Драб.г
– годовое число рабочих дней зоны, предназначенной для выполнения того
или иного вида ТО и диагностирования автомобилей.
Nео.зил = 236/253 = 0,93
чел∙ч.,
NТО-1.зил = 6/253 = 0,03
чел∙ч.,
NТО-2.зил = 2/253 = 0,008
чел∙ч.,
NД-1.зил = 68/253 = 0,27
чел∙ч.,
NД-2.зил = 3/253 = 0,012
чел∙ч.
При
определении суточной программы по ТО-2 и Д-2 число рабочих дней зоны в году
принимается с учетом дней работы в неделю. Для ТО-1, ЕО, Д-1 количество рабочих
дней принимается в зависимости от числа дней работы автомобилей на линии.
Результаты
расчетов суточной программы по ТО и диагностированию автомобилей сводятся в таблицу
2.7.
Таблица
2.7 - Суточная
программа по техническому обслуживанию и диагностированию автомобилей
|
Марка автомобиля
|
Суточная программа,
чел∙ч.
|
|
Nео
|
NТО-1
|
NТО-2
|
Д-1
|
Д-2
|
|
ЗИЛ
КАМАЗ
ПАЗ
|
0,93
6,14
7,12
|
0,03
0,25
0,38
|
0,008
0,083
0,126
|
0,27
0,36
0,55
|
0,012
0,103
0,154
|
|
Итого:
|
14,19
|
0,66
|
0,217
|
1,18
|
0,27
|
2.3 Расчет годового объема работ и
численности производственных рабочих
Годовой
объем работ по АТП определяется в человеко-часах и включает объемы работ по ЕО,
ТО-1, ТО-2, ТР и самообслуживанию предприятия. На основе этих объемов
определяется численность рабочих производственных зон и участков.
Для
расчета годовых объемов работ необходимо предварительно выбрать нормативы
трудоемкостей ТО и ТР для подвижного состава проектируемого предприятия.
2.3.1 Выбор и корректирование
нормативных трудоемкостей
Расчет
годовых объемов ЕО, ТО-1, ТО-2 производится исходя из годовой производственной
программы данного вида и трудоемкости обслуживания. Годовой объем ТР
определяется исходя из годового пробега парка автомобилей и удельной
трудоемкости ТР на 1000 километров пробега.
Таким
образом, для расчета годовых объемов работ необходимо предварительно выбрать
нормативы трудоемкости ТО и ТР для подвижного состава АТП.
Трудоемкость
ЕО, установленная Положением, при применении механизированных моечных установок
должна быть уменьшена за счет исключения из общей трудоемкости ЕО моечных
работ, связанных с применением ручного труда. При механизации других видов
работ, например обтирочных (за счет использования обдува автомобилей воздухом),
трудоемкость ЕО также соответственно уменьшается. Поэтому расчетную
трудоемкость ежедневного обслуживания tео, реализуемую
путем ручной обработки при использовании средств механизации, можно определить,
используя выражения:
tео = tео (н) ∙
К2 ∙ К5 ∙ Км, (2.23)
Км
= 1 – М / 100, (2.24)
где tео (н)
– нормативная трудоемкость ЕО, чел∙ч;
К2,
К5, Км – коэффициенты, учитывающие соответственно модификацию
подвижного состава, число автомобилей в АТП, снижение трудоемкости за счет
механизации работ ЕО;
М
– доля работ ЕО, выполняемых механизированным способом, принимается по данным
таблицы 4, %.
Найдем
коэффициент, учитывающий снижение трудоемкости за счет механизации работ ЕО для
грузовых автомобилей:
Км.
убр. = 1 – 23 / 100 = 0,77,
Км.
моеч. = 1 – 65 / 100 = 0,35,
Км.
обт. = 1 – 12 / 100 = 0,88
Найдем
коэффициент, учитывающий снижение трудоемкости за счет механизации работ ЕО для
автобусов:
Км.
убр. = 1 – 45 / 100 = 0,55,
Км.
моеч. = 1 – 35 / 100 = 0,65,
Км.
обт. = 1 – 20 / 100 = 0,8
Распределение
трудоемкости ЕО по видам работ при выполнении мойки автомобилей
немеханизированным способом, представим в таблице 2.8.
Таблица
2.8 - Распределение
трудоемкости ЕО по видам работ при выполнении мойки автомобилей
немеханизированным способом, %
|
Виды работ
|
Виды транспортных
средств
|
|
легковые
автомобили
|
автобусы
|
грузовые
автомобили
|
прицепы и
полуприцепы
|
|
Уборочные
|
30
|
45
|
23
|
25
|
|
Моечные
|
55
|
35
|
65
|
65
|
|
Обтирочные
|
15
|
20
|
12
|
10
|
|
ИТОГО
|
100
|
100
|
100
|
100
|
Найдем
расчетную трудоемкость ежедневного обслуживания для грузовых автомобилей:
tео = 0,5 ∙ 1
∙ 1,15 ∙ 2 = 1,15 чел∙ч.
Расчетная
нормативная скорректированная трудоемкость (ТО-1, ТО-2) для подвижного состава
проектируемого АТП:
ti = ti(н) ∙ К2
∙ К5, (2.25)
где ti(н) – нормативная
трудоемкость ТО-1 или ТО-2, чел∙ч.
Найдем
расчетную нормативную скорректированную трудоемкость для грузовых автомобилей:
tТО-1 = 3 ∙ 1 ∙
1,15 = 3,45 чел∙ч,
tТО-2 = 14 ∙ 1 ∙
1,15 = 16,1 чел∙ч.
Удельная
нормативная скорректированная трудоемкость текущего ремонта:
tтр = tтр(н) ∙ К1
∙ К2 ∙ К3 ∙ К4 ∙ К5,
(2.26)
где tтр(н) – нормативная
удельная трудоемкость ТР принимается по данным приложения М, чел∙ч/1000
км.
Найдем
удельную нормативную скорректированную трудоемкость текущего ремонта для
грузовых автомобилей:
tтр = 5 ∙ 1,1
∙ 1 ∙ 1 ∙ 1,32 ∙ 1,15 = 8,35 чел∙ч.
Расчет
выбора и корректирования нормативных трудоемкостей сведем в таблицу 2.9.
Таблица
2.9 - Выбор и
корректирование нормативных трудоемкостей
|
Тип автомобиля
|
Нормативные
трудоемкости, чел∙ч
|
|
tео
|
tТО-1
|
tТО-2
|
tТР
|
|
Грузовые
Автобусы
|
1,15
1,61
|
3,45
6,3
|
16,1
20,7
|
8,35
9,19
|
2.3.2 Расчет годового объема работ по
техническому обслуживанию
Объем
работ (в человеко-часах) по ЕО, ТО-1, ТО-2 (Тео.г, Т1г, Т2г)
за год определяется произведением числа ТО на скорректированное значение
трудоемкости данного вида ТО:
Тео.г
= S Nеог ∙ tео, (2.27)
Т1г
= S N1г ∙ t1, (2.28)
Т2г
= S N2г ∙ t2, (2.29)
где S Nеог, S N1г, S N2г –
соответственно годовое число ЕО, ТО-1, ТО-2 на весь парк автомобилей одной
модели;
tео, t1, t2 –
скорректированная трудоемкость соответственно ЕО, ТО-1, ТО-2.
Тео.г.зил
= 236 ∙ 1,15 = 271,4 в чел∙ч,
Т1г.зил
= 6 ∙ 3,45 = 20,7 чел∙ч,
Т2г.зил
= 2 ∙ 16,1 = 32,2 чел∙ч.
2.3.3 Расчет годового объема работ по
текущему ремонту
Годовой
объем работ по ТР (в чел∙ч):
Ттр.г
= Lг ∙ Асп
∙ tтр / 1000, (2.30)
где Lг – годовой
пробег автомобиля, км;
Асп
– списочное число автомобилей;
tтр – удельная
скорректированная трудоемкость ТР, чел-ч на 1000 км пробега.
Ттр.г
.зил= 25882 ∙ 1 ∙ 8,35 / 1000 = 216,2 чел∙ч.
Расчет
годового объема работ по текущему ремонту сведем в таблицу 2.10.
Таблица
2.10 - Расчет годового
объема работ по техническому обслуживанию и текущему ремонту автомобилей
|
Марка автомобиля
|
Объем работ, чел∙ч.
|
|
Тео.г
|
Т1г
|
Т2г
|
Ттр.г
|
|
ЗИЛ
КАМАЗ
ПАЗ
|
271,4
1771,6
4160
|
20,7
217,4
604,8
|
32,2
338,1
662,4
|
216,2
2342,4
5015,4
|
2.3.4 Расчет годового объема работ по
самообслуживанию
Согласно
«Положению» [4], кроме работ по ТО и ТР, в АТП выполняются вспомогательные
работы, объем которых Твсп составляет 20 … 30% от общего объема
работ по ТО и ТР подвижного состава. В состав вспомогательных работ входят:
- работы по
самообслуживанию;
- транспортные;
- перегон
автомобилей;
- приемка, выдача
материальных ценностей;
- уборка
помещений и территорий.
Работы
по самообслуживанию предприятия (обслуживание и ремонт технологических зон и
участков, содержание инженерных коммуникаций, содержание и ремонт зданий,
изготовление и ремонт нестандартного оборудования и инструмента) выполняются в
самостоятельных подразделениях или в соответствующих производственных участках.
Годовой
объем работ по самообслуживанию предприятия Тсам устанавливается в
процентном отношении от годового объема вспомогательных работ:
Тсам=Твсп∙Ксам/100=(Тео.г+Т1г+Т2г+Ттр.г)
∙ Квсп ∙ Ксам/10000, (2.31)
где Квсп
– объем вспомогательных работ предприятия Квсп =(20¸30)%;
Ксам
– объем работ по самообслуживанию, Ксам = (40¸50)%.
Тсам=
15650 ∙ 20 ∙ 40/10000 = 1242 чел∙ч.,
2.3.5 Распределение объема работ по
обслуживанию и ремонту между производственными зонами и участками
Объем
ТО и ТР распределяется по месту его выполнения, по технологическим и
эксплуатационным признакам. ТО и ТР выполняются на постах и производственных
участках (отделениях). К постовым относятся работы по ТО и ТР, выполняемые
непосредственно на автомобиле (моечные, уборочные, смазочные, крепежные,
диагностические и др.). Работы по проверке и ремонту узлов, механизмов и
агрегатов, снятых с автомобиля, выполняются на участках (агрегатном,
механическом, электротехническом и др.). Учитывая особенности технологии
производства, работы по ЕО и ТО-1 выполняются в самостоятельных зонах. Постовые
работы по ТО-2 и ТР выполняются в общей зоне. Работы по диагностированию Д-1
проводятся на самостоятельных постах или совмещаются с работами, выполняемыми
на постах ТО-1. Диагностирование Д-2 обычно выполняют на отдельных постах. При
ТО-2 возникает необходимость снятия отдельных приборов и узлов для устранения
неисправностей и контроля на специальных стендах на производственных участках.
В основном это работы по системе питания, электротехнические, аккумуляторные и
шиномонтажные. Поэтому выполнение 90-95% объема работ ТО-2 планируется на
постах, а 5-10% на производственных участках. Для формирования объемов работ,
выполняемых на постах зон ТО, ТР и производственных участков, а также для
определения числа рабочих по специальностям производится распределение годовых
объемов работ ТО-1, ТО-2 и ТР по их видам в процентах, а затем в человеко-часах.
Распределение трудоемкости технического обслуживания грузовых автомобилей по
видам работ, представим в таблице 2.11.
Таблица 2.11 - Распределение трудоемкости технического
обслуживания грузовых автомобилей по видам работ
|
Вид работ
|
ТО-1
|
ТО-2
|
чел∙ч
|
%
|
чел∙ч
|
|
Диагностические
Крепёжные
Регулировочные
Смазочно-заправочные
Обслуживание системы
смазки
Обслуживание системы
питания
Шинные
Кузовные
|
8
36
10
24
10
5
7
-
|
211,9
953,6
264,9
635,8
264,8
132,5
185,4
-
|
8
33
18
18
10
10
3
-
|
211,9
874,2
476,8
476,8
264,9
264,9
79,5
-
|
|
Итого
|
100%
|
2648,9
|
100%
|
2649
|
Распределение трудоемкости технического обслуживания
грузовых автобусов по видам работ, представим в таблице 2.12.
Таблица 2.12 - Распределение трудоемкости технического
обслуживания грузовых автобусов по видам работ
|
Вид работ
|
ТО-1
|
ТО-2
|
|
%
|
чел∙ч
|
%
|
чел∙ч
|
|
Диагностические
Крепёжные
Регулировочные
Смазочно-заправочные
Обслуживание системы
смазки
Обслуживание системы
питания
Шинные
Кузовные
|
8
50
10
20
5
3
4
-
|
434,2
2713,6
542,7
1085,4
271,4
162,8
217
-
|
6
50
8
10
7
3
2
14
|
325,6
2713,6
434,2
542,7
380
162,8
108,5
759,8
|
|
Итого
|
100%
|
5427,1
|
100%
|
5427,2
|
2.3.6 Распределение объема работ по
самообслуживанию АТП
При
небольшом объеме (до 8 - 10 тыс. чел∙ч в год) работы по самообслуживанию
частично могут выполняться на производственных участках. В этом случае при
определении годового объема работ соответствующих производственных участков
следует учесть трудоемкость работ по самообслуживанию.
Распределение
трудоемкости ТР и самообслуживания по видам работ, представим в таблице 2.13.
Таблица
2.13 - Распределение трудоемкости ТР и самообслуживания по видам работ
Вид работ
|
Грузовые
|
Автобусы
|
|
%
|
чел∙ч
|
%
|
чел∙ч
|
|
Постовые работы
Диагностические
Регулировочные
Разборочно-сборочные
Сварочно-жестяницкие
Окрасочные
Участковые работы
Агрегатные
Слесарно-механические
Электромеханические
Аккумуляторные
Ремонт агрегатов
системы питания
Шиномонтажные
Кузнечные
Сварочные
Медницкие
Малярные
Деревообрабатывающие
Обойные
|
1,5
1,5
35
2
5
20
12
6
1
3
1
1
3
2
1
3
1
1
|
38,4
38,4
895,5
51,2
127,9
511,7
307
153,5
25,6
76,8
25,6
25,6
76,8
51,2
25,6
76,8
25,6
25,6
|
2
2
26
7
8
17
8
8
1
3
3
1
3
2
4
1
1
2
|
100,3
100,3
1304
351
401,2
852,6
401,2
401,2
50,2
150,5
150,5
50,2
150,5
100,3
200,6
50,2
50,2
100,3
|
|
Всего по постовым работам
|
45%
|
1151,4
|
0%
|
2166,8
|
|
Всего по участковым работам
|
55%
|
1407,4
|
100%
|
2708,5
|
|
Итого:
|
100%
|
2558,8
|
100%
|
4875,3
|
2.3.7 Расчет
численности производственных рабочих
К
производственным рабочим относятся рабочие зон и участков, непосредственно
выполняющие работы по ТО и ТР подвижного состава. Различают технологически
необходимое (явочное) и штатное (списочное) число рабочих. Технологически необходимое
число рабочих обеспечивает выполнение суточной, а штатная – годовой
производственной программ (объемов работ) по ТО и ТР.
Технологически
необходимое (явочное) число рабочих:
Рт
= Тг / Фт (2.32)
где Тг
– годовой объем работ по зоне ТО, ТР или участке, чел-ч;
Фт
– годовой фонд времени технологически необходимого рабочего при односменной
работе, ч.
Фонд
Фт определяется продолжительностью смены (в зависимости от
продолжительности рабочей недели) и числом рабочих дней в году.
Годовой
фонд времени технологически необходимого рабочего (в часах) для пятидневной
рабочей недели:
Фт
= (Дкг – Дв – Дп) ∙ 8 – 1 ∙ Дпп.
(2.33)
Штатное
(списочное) число рабочих:
Рш
= Тг / Фш (2.34)
где Фш
– годовой фонд времени «штатного» рабочего, ч.
Фт
= (365–104–8) ∙ 8 – 1 ∙ 8 = 2016 ч.
Технологически
необходимое (явочное) число рабочих:
Рт
= 15650 / 2016 = 8 чел.
Годовой
фонд времени «штатного» рабочего определяет фактическое время, отработанное
исполнителем непосредственно на рабочем месте. Годовой фонд времени «штатного»
рабочего Фш меньше фонда «технологического» рабочего Фт
за счет предоставления рабочим отпусков и невыходов рабочих по уважительным
причинам (выполнение государственных обязанностей, по болезни):
Фш
= (Дкг – Дв – Дп – Дот – Дуп)
∙ Тсм, (2.35)
где Дот
– число дней отпуска, установленного для данной профессии рабочего (15, 18 или
24);
Дуп
- число дней
невыхода на работу по уважительным причинам.
Фш
= (365 – 104 – 8 – 24 – 5) ∙ 8 = 1792 ч.,
Штатное
(списочное) число рабочих:
Рш
= 15650 / 1792 = 9 чел.
Общие
потери рабочего времени (с учетом отпуск) составляют примерно 4 … 5% от
годового фонда времени технологически необходимого рабочего, т.е. Дот
+ Дуп = (0,04¸0,05) Фт.
На
АТП со сложившимся производством и структурой работ для расчета рабочих
используют коэффициент штатности hш, который определяется следующим
образом:
hш = Рт
/ Рш = Фш / Фт. (2.36)
hш = 8 / 9 = 0,89.
2.4 Расчет производственных зон, участков и складов АТП
2.4.1
Расчет постов и поточных линий
Более
50% объема работ по ТО и ТР выполняется на постах. Поэтому в технологическом
проектировании этот этап имеет важное значение, так как число постов в
последующем во многом определяет выбор объемно-планировочного решения. Число
постов зависит от вида, программы и трудоемкости воздействий, метода
организации ТО, ТР и диагностирования автомобилей, режима работы
производственных зон. Программа и трудоемкость воздействий по видам ТО и ТР
определяются расчетом, методика которого приведена ранее.
Целесообразность применения того или иного
метода организации ТО в основном определяется числом постов, т. е. зависит от
суточной (сменной) программы и продолжительности воздействия. Поэтому в качестве
основного критерия для выбора метода ТО может служить суточная (сменная)
производственная программа соответствующего вида ТО.
Диагностирование подвижного состава на АТП
может проводиться отдельно или совмещаться с ТО и ТР. Формы организации
диагностирования зависят от мощности АТП, типа подвижного состава, его
разномарочности, используемых средств диагностирования, наличия производственных
площадей и определяют размещение диагностического оборудования по видам ТО и
диагностирования.
Уборочно-моечные работы подвижного состава
могут проводиться как на отдельных постах, так и на поточных линиях. На
небольших предприятиях эти работы проводятся на тупиковых или проездных постах.
Если автомобилей на АТП более 50, выполнение моечных работ предусматривается
механизированным способом. Поточные линии применяются, как правило, на средних
и крупных АТП при одновременном использовании механизированных установок для
мойки и сушки подвижного состава.
Постовые работы ТР могут выполняться на
универсальных и специализированных (параллельных) постах.
Метод универсальных постов предусматривает
выполнение работ на одном посту бригадой ремонтных рабочих различных
специальностей или рабочими-универсалами высокой квалификации, а метод
специализированных постов -
на нескольких постах, предназначенных для выполнения определенного вида работ
(по двигателю, трансмиссии и пр.).
Специализация постов ТР производится на
основе принципа технологической однородности работ, при достаточном числе постов
ТР (более 5-6) и при загрузке поста не менее чем на 80% сменного времени.
Специализация постов ТР позволяет
максимально механизировать трудоемкие работы, снизить потребность в однотипном
оборудовании, улучшить условия труда, использовать менее квалифицированных
рабочих. В результате повышаются качество работ и производительность труда.
2.4.2
Режим работы зон ТО и ТР
Этот режим характеризуется числом рабочих
дней в году, продолжительностью работы (числом рабочих смен, продолжительностью
и временем начала и конца смены), распределением производственной программы по
времени ее выполнения. Число рабочих дней зоны зависит от числа дней работы
подвижного состава на линии и вида ТО. В свою очередь, продолжительность работы
зон зависит от суточной производственной программы и времени, в течение
которого может выполняться данный вид ТО и ТР.
Если автомобили работают на линии 1; 1,5 или
2 рабочие смены, то ЕО и ТО-1 выполняют в оставшееся время суток (межсменное
время).
ТО-2 выполняют преимущественно в одну или две
смены.
Режим работы участков диагностирования
зависит от режима работы зон ТО и ТР. Участок диагностирования Д-1 обычно
работает одновременно с зоной ТО-1. Диагностирование Д-1 после ТО-2 проводят в
дневное время. Участок поэлементной (углубленной) диагностики Д-2 работает в
одну или две смены.
Суточный режим зоны ТР составляет две, а
иногда и три рабочие смены, из которых в одну (обычно дневную) смену работают
все производственно-вспомогательные участки и посты ТР. В остальные рабочие
смены выполняются постовые работы по ТР автомобилей, выявленные при ТО,
диагностировании или по заявке водителя.
2.4.3
Расчет числа постов ТО и диагностики
Исходными величинами для расчета числа
постов обслуживания служат ритм производства и такт поста.
Ритм производства R - это время, приходящееся в среднем на выпуск одного
автомобиля из данного вида ТО, или интервал времени между выпуском двух
последовательно обслуженных автомобилей из данной зоны:
Ri
= 60 ∙ Тсм ∙ С / Nic, (2.37)
где Тсм - продолжительность смены, ч;
С - число смен;
Nic -
суточная производственная программа раздельно по каждому виду ТО и диагностирования.
Rео = 60 ∙ 8 ∙ 1 / 14,19 = 33,83 мин.
RТО-1 = 60 ∙ 8 ∙ 1 / 0,66 = 727,3 мин.
RТО-2 = 60 ∙ 8 ∙ 1 / 0,217 = 2212 мин.
RД-1 = 60 ∙ 8 ∙ 1 / 1,18 = 406,8 мин.
RД-2 = 60 ∙ 8 ∙ 1 / 0,269 = 1784,4 мин.
Такт поста t представляет собой среднее время занятости поста. Оно
складывается из времени простоя автомобиля под обслуживанием на данном посту и
времени, связанного с установкой автомобиля на пост, вывешиванием его на
подъемнике и т. п.:
ti = 60 ∙
ti
/ Рп + tп, (2.38)
где ti - трудоемкость работ данного вида обслуживания,
выполняемого на посту, чел∙ч;
tп -
время, затрачиваемое на передвижение автомобиля при установке его на пост и
съезд с поста, мин;
Рп - число рабочих, одновременно работающих на посту.
Найдем такт поста по каждому виду
обслуживания для автомобиля ЗИЛ:
tео
= 60 ∙ 0,58/ 2 + 3 = 6,96 мин.
tТО-1
= 60 ∙ 3,45/ 2 + 3 = 41,4 мин.
tТО-2
= 60 ∙ 16,1/ 2 + 3 = 193,2 мин.
Результаты расчета такта поста по всем
автомобилям парка предприятия сведем в таблицу 2.14.
Таблица 2.14 - Такта поста по определенному
виду обслуживания
|
Марка автомобиля
|
Такт поста, мин
|
|
tео
|
tТО-1
|
tТО-2
|
|
ЗИЛ
КАМАЗ
ПАЗ
|
6,96
6,96
9,6
|
41,4
41,4
75,96
|
193,2
193,2
248,4
|
Время tп в зависимости от габаритных размеров автомобиля принимают
равным 1 … 3 мин. Число рабочих на посту устанавливают в зависимости от вида ТО
и с учетом наиболее полного использования фронта работ на посту.
Число одновременно работающих на постах ТО-1
и ТО-2 устанавливают в зависимости от метода организации ТО: на одиночных
тупиковых и проездных постах 2 … 3 чел.
Число постов обслуживания Хi
определяется из отношения общего времени простоя всех автомобилей под
обслуживанием (ti ∙ Nic) к фонду времени одного поста (60 ∙ ТСМ
∙ С), т. е.:
Хi = ti ∙ Nic / 60 ∙ ТСМ ∙ С = ti / Ri. (2.39)
Х1 ЗИЛ = 41,4 / 727,3 = 1 пост,
Х1 КАМАЗ = 41,4 / 727,3 = 1 пост,
Х1 ПАЗ = 75,96 / 727,3 = 1 пост.
Число постов ТО-2 (Х2) из-за
относительно большой его трудоемкости, а также возможного увеличения времени
простоя автомобиля на посту за счет проведения дополнительных работ по
устранению неисправностей определяется с учетом коэффициента использования
рабочего времени поста h2, равного 0,85-0,90, т. е.:
Х2
= t2 / (R2 ∙ h2), (2.40)
Х2 ЗИЛ = 193,2 / (2212 ∙ 0,9) = 1 пост,
Х2 КАМАЗ = 193,2 / (2212 ∙ 0,9) = 1 пост,
Х2 ПАЗ = 248,4 / (2212 ∙ 0,9) = 1 пост.
Число
специализированных постов диагностирования (Хд.i) рассчитывается так же, как и число постов ТО-2, т.е.:
Хд.i. = tд.i / (Rд.i ∙ hд.i),
(2.41)
ХД-1 = 57 / (406,8 ∙ 0,9) = 1 пост.
2.4.4
Расчет числа постов текущего ремонта
При этом расчете число воздействий по ТР
неизвестно. Поэтому для расчета числа постов ТР используют годовой объем
постовых работ ТР.
Хтр = Ттр.г(п) ∙ j / Фп ∙ Рп = Ттр.г(п) ∙ j / (Драб.г. ∙ Тсм ∙ С ∙ hп ∙ Рп), (2.42)
где Ттр.г.(п) - годовой объем работ, выполняемых на постах ТР, чел∙ч;
j - коэффициент неравномерности
поступления автомобилей на посты ТР, величина которого на основе практических
наблюдений принимается равной 1,2 … 1,5;
Фп -
годовой фонд времени поста, ч;
Драб.г - число рабочих дней в году постов ТР;
Тсм - продолжительность рабочей смены, ч;
hп - коэффициент использования рабочего времени поста (0,75
… 0,9);
Рп -
число рабочих на посту: для легковых автомобилей и прицепов - 1 чел., для автобусов -
2, для грузовых автомобилей - 1,5 … 2,5 чел.
Хтр = 7574 ∙ 1,5 / (253 ∙
8 ∙ 1 ∙ 0,9 ∙ 3) = 3 поста.
При числе постов ТР более 5 … 6 их
специализируют по видам выполняемых работ. При этом распределение постов по их
специализации (в процентах от общего числа постов) следующее:
- пост ремонта двигателя и его систем - 20-30;
- пост ремонта трансмиссии, тормозов,
рулевого управления и ходовой части - 40-50;
- пост контроля и регулировки тормозов - 5-10;
- пост контроля и регулировки углов установки
колес - 5-10;
- универсальные посты - 10-20.
При числе постов более 10 допускается
выделение постов по замене агрегатов и для шиномонтажных работ.
2.4.5 Определение числа постов ожидания
Посты ожидания - это посты, на которых автомобили, нуждающиеся в том или
ином виде ТО и ТР, ожидают своей очереди для перехода на соответствующий пост
или поточную линию. Эти посты обеспечивают бесперебойную работу зон ТО и ТР,
устраняя в некоторой степени неравномерность поступления автомобилей на
обслуживание и ТР. Кроме того, в холодное время года посты ожидания в закрытых
помещениях обеспечивают обогрев автомобилей перед их обслуживанием.
Посты ожидания могут предусматриваться
раздельно или вместе для каждого вида обслуживания и размещаться как в производственных
помещениях, так и на открытых площадках. При наличии закрытых стоянок посты
ожидания могут не предусматриваться.
Число постов ожидания определяется: перед
постами ЕО – исходя из 15 … 25% часовой пропускной способности постов (линий)
ЕО, которая в свою очередь принимается равной 2 … 3 автомобилям; перед постами
ТО-1 – исходя из 10 … 15% сменной производственной программы; перед постами
ТО-2 – исходя из 30 … 40% сменной производственной программы; перед постами ТР
– в количестве 20 … 30% от числа постов ТР. Получаем:
Т.е. с учетом выше изложенного имеем:
ХоЕО = (0,15¸0,25) ∙ NчЕО,
(2.43)
Хо1 = (0,1¸0,15) ∙ N1с, (2.44)
Хо2= (0,3¸0,4) ∙ N2с,
(2.45)
ХоТР= (0,2¸0,3) ∙ ХТР.
(2.46)
Подставляя значения в формулы, получаем:
ХоЕО = 0,2 ∙ 14,19 = 2,
Хо1 = 0,1 ∙ 0,66 = 1,
Хо2= 0,3 ∙ 0,217 = 1,
ХоТР= 0,2 ∙ 3 = 1.
2.5 Определение потребности в технологическом
оборудовании
К технологическому оборудованию относятся
стационарные и переносные станки, стенды, приборы, приспособления и
производственный инвентарь (верстаки, стеллажи, столы, шкафы), необходимые для
обеспечения производственного процесса АТП. Технологическое оборудование по
производственному назначению подразделяется на основное (станочное,
демонтажно-монтажное и др.), комплектное, подъемно-осмотровое и подъемно-транспортное,
общего назначения (верстаки, стеллажи и др.) и складское.
Определяемое расчетом по трудоемкости работ
число единиц основного оборудования:
где Тоi -
годовой объем работ по данной группе или виду работ (ЕО, ТО-1, ТО-2, ТР),
чел-ч;
Фо - годовой фонд времени рабочего места (единицы
оборудования), ч;
Ро - число рабочих, одновременно работающих на данном виде
оборудования;
Драб.г. - число рабочих дней в году;
Тсм - продолжительность рабочей смены, ч;
С - число рабочих смен;
hо - коэффициент использования оборудования по времени, т.
е. отношение времени работы оборудования в течение смены к общей
продолжительности времени смены.
Qоi =
15650 / 253 ∙ 8 ∙ 1 ∙ 1 ∙ 0,9 = 9 ед.
Коэффициент
hо зависит от рода
и назначения оборудования и характера производства. В условиях АТП этот
коэффициент в среднем принимается равным 0,75 … 0,90.
Количество оборудования, которое
используется периодически, т. е. не имеет полной загрузки, устанавливается
комплектом по табелю оборудования для данного участка.
Число единиц подъемно-осмотрового и
подъемно-транспортного оборудования определяется числом постов ТО, ТР и линий
ТО, их специализацией по видам работ, а также предусмотренным в проекте уровнем
механизации производственных процессов (использование кран-балок, тельферов и
других средств механизации).
2.6
Расчет площадей помещений
Площади АТП по своему функциональному
назначению подразделяются на три основные группы: производственно-складские,
хранения подвижного состава и вспомогательные.
2.6.1
Расчет площадей зон ТО и ТР
Площадь зоны ТО или ТР определяется по
формуле:
Fз = fa ∙
Xi ∙ Кп, (2.48)
где fa –
площадь, занимаемая автомобилем в плане (по габаритным размерам), м2;
Xi
– общее число постов (рабочих и ожидания);
Кп –
коэффициент плотности расстановки постов.
м2 (ЕО);
м2 (ТО-1);
м2 (ТО-2);
м2 (ТР);
м2 (Д).
Коэффициент Кп представляет собой отношение площади, занимаемой
автомобилями, проездами, проходами, рабочими местами, к сумме площадей проекции
автомобилей в плане. Величина Кп
зависит от габаритов автомобиля и расположения постов. При одностороннем
расположении постов Кп = 6 …
7. При двухсторонней расстановке постов и поточном методе обслуживания ДП = 4 …
5.
2.6.2
Расчет площадей производственных участков
Площади участков обычно рассчитывают по
площади помещения, занимаемой оборудованием, и коэффициенту плотности его расстановки.
Для этого необходимо знать суммарную площадь горизонтальной проекции
оборудования по каждому участку. В отдельных случаях (в данном случае в
дипломном проекте) площади участков могут быть определены по числу работающих
на участке в наиболее загруженную смену (таблица 2.15).
Таблица 2.15 - Площади производственных участков АТП
|
Участки
|
Число работающих в
максимально загруженную смену
|
|
1
|
2
|
3
|
|
Агрегатный
|
-
|
-
|
54
|
|
Слесарно-механический
|
-
|
-
|
54
|
|
Электротехнический,
топливный
|
14
|
18
|
27
|
|
Шиномонтажный,
вулканизационный
|
27
|
36
|
54
|
|
Жестяницкий,
медницкий
сварочный,
кузнечно-рессорный
|
27
|
36
|
54
|
2.6.3
Расчет площадей складских помещений
Для определения площадей складов используют
метод расчета по удельной площади складских помещений на 1 млн. км пробега
подвижного состава. При этом методе расчета учитываются тип, списочное число и
разномарочность подвижного состава. Площадь склада:
Fск = Lг ∙ Асп
∙ fу ∙ Кпс ∙ Краз ∙
Кр ∙ 10-6, (2.49)
где Lг – среднегодовой пробег одного автомобиля, км;
Асп – списочное число
автомобилей;
fу – удельная площадь данного вида склада на 1 млн. км
пробега автомобилей, м2 (таблица 9);
Fск = 167 ∙ 16 ∙ 2,5 ∙ 1 ∙ 1 ∙
1 ∙ 10-6 = 654,6 м²
Кпс, Кр, Краз
– коэффициенты, учитывающие соответственно тип подвижного состава, его число и
разномарочность (в ДП значения Кпс, Кр, Краз
принять равными 1);
Площади складских помещений (в м2)
на 1 млн. км пробега, представим в таблице 2.16.
Таблица 2.16 - Площади
складских помещений, м2 / 1 млн. км пробега
|
Складские помещения
|
Автобусы
|
Грузовые
автомобили
|
|
Запасных частей
|
1,5
|
1,45
|
|
Агрегатов
|
2,2
|
2,3
|
|
Материалов
|
0,65
|
0,7
|
|
Шин
|
1,1
|
0,8
|
|
Смазочных
материалов
|
2,8
|
2,6
|
|
Лакокрасочных
материалов
|
0,2
|
0,15
|
|
Химикатов
|
0,12
|
0,1
|
|
Промежуточный
склад
|
1,7
|
1,62
|
2.6.4 Расчет площади зоны хранения
(стоянки) автомобилей
При
укрупненных расчетах площадь зоны хранения:
Fx = fа ∙ Aст ∙ Кп, (2.50)
где fа -
площадь, занимаемая автомобилем в плане (по габаритным размерам), м2;
Aст - число автомобиле-мест хранения;
Кп - коэффициент
плотности расстановки автомобиле-мест хранения.
Fx = 15 ∙ 16
∙ 2,5 = 600 м²
Величина Кп зависит от способа
расстановки мест хранения и принимается равной 2,5 … 3,0.
2.6.5
Расчет площадей вспомогательных помещений
Вспомогательные помещения (административные,
общественные, бытовые) являются объектом архитектурного проектирования и должны
соответствовать требованиям СНиП «Вспомогательные здания и помещения промышленных
предприятий».
Площади
вспомогательных помещений рассчитываем исходя из удельной площади
вспомогательных помещений, приходящихся на одного работающего:
Fвсп = Sуд ∙ Р,
(2.51)
где Sуд - удельная площадь вспомогательных
помещений, приходящихся на одного работающего (в расчетах принять равным 12 м2/чел.)
Fвсп = 12 ∙ 9
= 108 м²
2.7
Технологическая планировка
Генеральный план предприятия представлен на демонстрационном
плакате
ДП.2068046.190601- 12.ДО.09.01.П. Территория предприятия
расположена между частным сектором жилых домов и сельскохозяйственным
предприятием. Основной въезд и выезд, а также аварийный осуществляются со
стороны улицы Мира.
На территории предприятия расположены:
- административно-бытовой корпус;
- гаражи для легковых автомобилей;
- контрольно-технический пункт;
- очистные сооружения;
- материальный склад;
- котельная;
- зона хранения автомобилей;
- автомойка;
- автозаправочная станция;
- насосная станция;
Производственные корпуса:
- мастерская по ремонту автомобилей;
- пункт ТО;
- профилакторий для автомобилей.
В данное время в использовании корпуса профилактория для
автомобилей нет необходимости, поэтому корпус полностью сдается в аренду
сельскохозяйственному предприятию.
Основные показатели генерального плана:
- площадь территории 2,065 га;
- площадь застройки 2950 м2;
- плотность озеленения 25,6 %;
- плотность застройки 14,3 %.
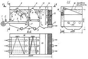
Существующие производственные корпуса представлены на
демонстрационном плакате ДП.2068046.190601- 12.ДО.09.02.П. Пункт ТО включает в
себя посты ТО-1 и посты ТО-2.
Мастерская по ремонту автомобилей включает в себя:
- 9 постов для поведения ТР автомобилей;
- слесарно-механический участок;
- кузнечно-рессорный, медницкий, сварочный, жестяницкий совмещенный
участок;
- электротехнический, для ремонта приборов системы питания
совмещенный участок;
- шиномонтажный, вулканизационный совмещенный участок.
Однако
существующие производственные корпуса не удовлетворяют современным технологиям
технического обслуживания и ремонта автомобилей. На демонстрационном плакате ДП.2068046.190601- 12.ДО.09.03.П представлены
производственные корпуса после реконструкции.
В корпусе пункта ТО, исходя из полученных технологических
расчетов, произведено разделение постов на ТО-1 и ТО-2, а также добавлен пункт
диагностирования, что позволит своевременно выявлять неисправности автомобилей
и, следовательно, экономить время и ресурсы на последующий ремонт.
В корпусе мастерской по ремонту автомобилей, исходя из полученных
технологических расчетов, произведено разделение пунктов ТР. На собственные
нужды оставлено 3 поста ТР, остальные 6 постов ТР предполагается предоставлять
для нужд сторонних организаций. Также дополнительно было добавлено 3
двустворчатых ворот для сквозного выезда, дабы не загромождать проезд
автомобилями длительного ремонта.
3. Конструкторская часть
3.1 Обоснование конструкторской
разработки
Трудоемкость
разборочно-сборочных работ составляет значительную часть от общей трудоёмкости
работ по техническому обслуживанию и ремонту автомобилей, при этом качество
проведения этих работ в значительной степени определяет качество всего ремонта
машины. Высокая механизация разборочно-сборочных операций способствует не
только повышению качества ремонта, но и, в значительной мере, повышению
производительности труда. Поэтому широкая механизация разборочно-сборочных
работ является одним из основных источников повышения эффективности ремонтных
работ при восстановлении работоспособности автомобилей. С другой стороны,
необходимость механизации и, где возможно, автоматизация разборочно-сборочных
работ должна быть обусловлена технико-экономической целесообразностью или
облегчением и оздоровлением труда рабочих.
Очерёдность
механизации и автоматизации отдельных разборочных и сборочных операций
определяется их трудоёмкостью. Затраты труда на разборочно-сборочные работы по
данным НИИАТ составляют около 40% от общей трудоёмкости ремонта автомобилей,
при этом на разборочные работы приходится 11%, а на сборочные 29%. Относительно
небольшая доля трудоёмкости разборочных работ объясняется тем, что они зачастую
выполняются с нарушением правил разборки и при этом не обеспечивается
сохранность разбираемых деталей.
При
сборке автомобилей и их основных агрегатов трудоёмкость сборки резьбовых
соединений по данным различных ремонтных предприятий находится в пределах
35…45%, а прессовых соединений-14…40% от общих затрат труда на сборочные
работы. Кроме того, большую трудоемкость имеют вспомогательные работы, особенно
при разборке и сборке автомобильных агрегатов, которые имеют большую массу.
При разборке и сборке автомобильных двигателей их массивные
блоки необходимо часто перемещать в пространстве (поворачивать) для того, чтобы
та или иная плоскость оказывалась бы в верхнем положении. Например, при укладке
коленчатого вала в блок двигателя этот блок должен быть повёрнут нижней стороной
вверх, иначе операцию укладки и закрепления коленчатого вала не удастся
выполнить качественно. При установке головок блока двигатель должен быть
установлен поочерёдно каждой плоскостью разъёма вверх.
Кантовать тяжелый двигатель вручную невозможно, поэтому на
ремонтных предприятиях для работ по ремонту двигателей используются различного
типа кантователи и стенды с поворотными рабочими органами, на которых закрепляются
двигатели. Однако кантователи и стенды для ремонта двигателей, выпускаемые промышленностью,
имеют высокую стоимость, что во многих случаях ограничивает их использование в
автотранспортных предприятиях. Предлагаемый стенд для разборки и сборки
двигателей может быть изготовлен в условиях любого предприятия с относительно
небольшими затратами. Использование этого стенда при ремонте двигателей, в
частности двигателей КамАЗ, позволит значительно облегчить условия труда рабочих
и поднять производительность труда при ремонте двигателей машин.
3.2 Описание устройства и работы стенда
для разборки и сборки двигателей КамАЗ-740.10-Д
Для
проведения ремонта двигателя автомобиля, окончательного определения поломок
двигателя, необходимо осуществлять полную или частичную разборку двигателя.
Рабочий должен осуществлять разборочные операции в удобном положении и иметь
доступ к труднодоступным местам агрегата. Разработанное приспособление
позволяет реализовать данные условия, при минимальных затратах времени на
выполнение необходимых работ.
Стенд
представляет собой сварную конструкцию из стандартного проката (швеллеров, уголков
и др.), состоящую из рамы - горизонтального основания, к которой приварены две
вертикальные стойки. На одной из этих стоек смонтирован червячный редуктор с
передаточным числом I=80 и электродвигатель. На второй стойке находится
шпиндельный узел.
Разрабатываемый стенд имеет следующую характеристику:
1.
Тип
стенда – стационарный, с поворотом двигателя относительно поперечной оси.
2.
Способ
крепления двигателя – кронштейном вместе с подушками двигателя.
3.
Способ
поворота двигателя - электродвигатель и самотормозящийся редуктор с
передаточным числом I = 80.
4.
Технические
характеристики
Габаритные
размеры:
-длина:
1536 мм,
-ширина:.1974
мм,
-высота:
1263 мм,
Масса,
кг: 200.
Принцип
действия приспособления заключается в следующем: снятый с автомобиля двигатель
вместе с картером сцепления устанавливается на раму крепления двигателя
приспособления с помощью кран-балки. Крепление осуществляются кронштейном
вместе с подушками двигателя. После закрепления двигателя можно осуществлять
разборку. При этом приспособление имеет возможность поворачивать двигатель относительно
поперечной оси на необходимый угол в более удобное положение. Для этого на
стенде установлен электродвигатель и самотормозящийся редуктор.
На
выходном валу редуктора и на оси шпиндельного узла установлены опоры. Опоры изготовлены
из швеллера и имеют болты для крепления двигателя за кронштейны и фиксаторы.
Шпиндельный узел состоит из втулки, оси и двух винтов, предназначенных для фиксации
опоры, что приводит к снижению нагрузки на редуктор при выполнении операций
разборки-сборки двигателя. Крутящий момент с электродвигателя передается
самотормозящему редуктору, который поворачивает двигатель относительно
поперечной оси на необходимый угол в более удобное положение. Все сварные
соединения стенда выполнены ручной электродуговой сваркой.
Порядок
работы со стендом следующий:
1.
На стенд опускают двигатель при помощи тельфера или кран-балки. Устанавливают
двигатель на опоры и крепят за кронштейны крепления двигателя;
2. С
двигателя сливают масло в поддон;
3.
Производят разборку двигателя, для придания двигателю необходимого положения
нажимают кнопки «вперед» и «назад», вследствие чего происходит поворот
двигателя на 360° вокруг оси, перпендикулярной оси коленчатого вала. Чтобы предотвратить
проворачивание опор с двигателем, затягивают два фиксирующих винта в шпинделе;
4.
После сборки двигателя его крепят к подъемному механизму, а потом уже
освобождают двигатель от болтов крепления, а затем снимают двигатель со стенда.
Достоинства
стенда: возможность автоматизированного поворота двигателя, наличие полки для
инструмента.
Недостатки:
большая масса.
3.3 Проверочный расчёт
3.3.1 Кинематический расчёт привода и
выбор стандартного двигателя
Зададимся
окружной скоростью и окружной силой в точках крепления двигателя, необходимыми
для поворота двигателя: F=15кН, V=0,3м/с.
Определим
мощность на выходном валу:
(3.1)
Определим
требуемую мощность двигателя:
, (3.2)
где
- общий КПД привода.
, (3.3)
где
- КПД червячного редуктора,
= 0,75 [1] ;
- КПД подшипников,
=0,99 [1] ;
- КПД муфты,
= 0,98 [1] ;
- КПД ремённой передачи,
=0,96 [1] .
кВт.
Определим
общее передаточное число:
, (3.4)
где
- передаточное число
червячного редуктора,
[1],
- передаточное число
ремённой передачи,
[1];
Определим
частоту вращения выходного вала:
(3.5)
где
- диаметр поворота точек
крепления двигателя, D = 1м.
об/мин.
Найдём
частоту вращения вала двигателя:
, (3.6)
об/мин.
По
параметрам мощности и частоты вращения выбираем стандартный двигатель: АИР160S8.
Табличные
значения мощности и частоты вращения:
кВт,
об/мин.
3.3.2 Силовой расчёт привода
Находим
частоты вращения валов:
об/мин,
об/мин,
об/мин.
Находим
мощности на каждом валу:
кВт,
кВт,
кВт.
Находим
мощности на каждом валу:
, (3.7)
Нм;
Нм;
Нм;
По
данным
,
и
выбираем стандартный редуктор: ЧС – 100.
3.3.3 Расчёт привода гибкой связи
Выбор профиля ремня и диаметра малого шкива:
Номинальный вращающий момент, развиваемый электродвигателем на
быстроходном шкиве
Нм; (3.8)
По таблице 3.1 принимаем профиль УО и диаметр ведущего шкива
мм.
Таблица 3.1 – Характеристики ремня
|
Тип ремня
|
Обозначение
сечения
|
|
Предельные
расчетные длины,мм
|
мм
|
Нм
|
|
Клиновые
Узкие по
ТУ
38-105161-84
|
УО
|
56
|
630…3550
|
63
|
<150
|
|
УА
|
93
|
800…4500
|
90
|
90…400
|
|
УБ
|
159
|
1250…8000
|
140
|
300…2000
|
|
УВ
|
278
|
2000…8000
|
224
|
>1500
|
Примечание.
вращающий
момент на ведущем шкиве, A - площадь поперечного сечения ремня.
Проверка скорости ремня:
м/с. (3.9)
Скорость ремня не превышает допустимую, равную 40 м/с.
Выбор диаметра ведомого шкива:
. (3.10)
Определение длины ремня:
мм. (3.11)
Округляем длину ремня до ближайшего стандартного значения по ряду
длин ремней, совпадающему с рядом нормальных линейных размеров. Принимаем
мм. По
таблице 14.1 [1] проверяем соответствие принятого значения диапазону длин
ремней профиля УО.
Определение мощности, передаваемой одним ремнем в типовых
условиях:
Определение мощности, передаваемой одним ремнем в реальных
условиях:
Угол охвата ремнем малого шкива:
и
(3.12)
Коэффициент режима работы
при односменной
работе равен 1
Коэффициент длины ремня
(3.13)
Коэффициент передаточного числа
определяем по таблице
3.2.
Таблица 3.2 – Определение коэффициента передаточного числа
|
|
1
|
1,1
|
1,2
|
1,4
|
1,8
|
>2,5
|
|
|
1
|
1,04
|
1,07
|
1,1
|
1,12
|
1,14
|
В данном случае
=1. Тогда
Определение потребного числа ремней:
(3.14)
где
принимают
0,95 при числе ремней
,
0,9 при
и 0,85 при
. Принимаем Сz =
0,9, тогда
Округляем значение
до ближайшего большего целого, окончательно
число ремней
.
Определение силы, действующей на валы:
Напряжение от предварительного натяжения
для узких
клиновых ремней принимают 3Мпа, площадь сечения ремня
по таблице 3.1.
Сила предварительного натяжения:
(3.15)
Угол между ветвями ремня:
Сила, действующая на валы:
(3.16)
Полученная сила, действующая на валы, является допустимой [1].
4. Безопасность и экологичность ОАО
«Горшечноеавтотранс»
4.1 Анализ потенциально возможных
травмирующих и вредных воздействий
При
обслуживании и ремонте возникает ряд физических, химических,
психофизиологических и биологически - опасных и вредных производственных факторов
(ГОСТ 12.0.003.-74). Анализ травмирующих воздействий сведен в таблицу 4.1.
Таблица
4.1 - Анализ травмирующих воздействий
|
№
п/п
|
Травмирую-щие
воздействия
|
Источник
возникновения
|
Допустимая
норма
|
|
1
|
Травма
|
Движущиеся части
производственного оборудования
Высокая температура
поверхности обрабатываемых деталей
|
ГОСТ
12.2.012-75
|
|
Разрыв шлифовального
круга
Вырыв обрабатываемой
детали
Вращающийся
инструмент детали
Приспособления для
закрепления инструмента
Перемещение
шлифовальной бабки
Слесарно-монтажный
инструмент
|
ГОСТ
12.2.033-78
|
|
2
|
Поражение
электричес-ким током
|
Пробой фазы на корпус
Нарушение изоляции
токоведущих частей
Перегрузка
электрооборудования
|
ГОСТ
12.1.038-82
|
|
3
|
Пожар
|
Нарушение изоляции
токоведущих частей;
перегрузка
электрооборудования; нарушение технологического процесса; наличие
промасленной ветоши;
открытый огонь и искры; повышенная температура воздуха и окружающих
предметов; токсичные продукты горения; дым; негерметичность системы питания;
подача топлива самотёком, курение в непосредственной близости от системы
питания; применение легковоспламеняющихся и горючих жидкостей при мойке
двигателя
|
ГОСТ
12.1.038-82
|
Таблица
4.2 - Анализ вредных воздействий
|
№ п/п
|
Вредные воздействия
|
Источник опасности
|
Допустимые нормы
|
Нормативные
акты
|
1
|
1
|
2
|
3
|
4
|
Выхлопные газы работы
ДВС
|
20 мг/м3
|
ГОСТ
12.1.005-88
|
|
2
|
Оксид азота
|
Выхлопные газы работы
ДВС
|
5 мг/м
|
ГОСТ
12.1.005-88
|
|
3
|
Пары бензина
|
Емкость из-под
топлива
|
100 мг/м3
|
ГОСТ
12.1.005-88
|
|
4
|
Керосин
|
Мойка
Автомобильных
деталей
|
300 мг/м3
|
ГОСТ 12.1.005-88
|
|
5
|
Пыль электрокорунда
|
Шлифовальные операции
|
6 мг/м
|
ГОСТ
12.1.005-88
|
|
6
|
Относительная
влажность
|
Помещение для
обслуживания
автомобилей
|
40-60%
|
ГОСТ
12.1.005-88
|
|
7
|
Температура воздуха
|
|
18-20°С
|
ГОСТ
12.1.005-88
|
|
8
|
Скорость
воздуха
|
|
0,2 м/с
|
ГОСТ
12.1.005-88
|
|
9
|
Аэрозоли свинца
|
Аккумуляторная
батарея
|
0,01 мг/м3
|
ГОСТ 12.1.005-88
(ГОСТ 12.1.0 12-90)
|
|
10
|
Вибрация
|
Неуравновешенные
силовые воздействия, возникающие при
работе оборудования:
неуравновешенные вращающиеся части оборудования
|
Допустимая
колебательная
скорость
|
|
Действую-щие
значения, мм/с
|
Уровни
действую-щих
значений, дБ
|
|
11,2
|
107
|
|
5
|
100
|
|
2
|
92
|
Продолжение
таблицы 4.2
11
|
1
|
2
|
3
|
4
|
|
Шум
|
Вибрация поверхностей
оборудования, электродвигатель, зубчатая, клиноременная и др. передачи,
периодические соударения в сочлененных деталях, непосредственно обработка
резанием, компрессоры, двигатели автомобилей, электрические двигатели
технологического оборудования, механические передачи, воздухопроводы,
технологическое оборудование и механизированный инструмент
|
80дБА
|
ГОСТ 12.1.003-83
|
|
12
|
Недостаточная
освещённость
|
Неправильный выбор
светильников, места их крепления и направления светового потока
|
|
СНиП
11-4-78
|
4.2 Обеспечение комфортных условий
деятельности человека
4.2.1 Оценка тяжести и напряженности
трудового процесса
Оценка
тяжести и напряженности трудового процесса определяется ГОСТом 12.0.003-74
«Опасные и вредные производственные факторы. Классификация».
Комплексная
оценка ''факторов условий труда, производимая на основании медико-физиологической
классификации тяжести труда, выделяет шесть категорий тяжести труда. По
классификации техническое обслуживание и ремонт автомобилей относятся к третьей
категории.
Помещения для технического обслуживания и ремонта
автомобилей и агрегатов должны обеспечивать безопасное и рациональное
выполнение всех технологических операций при соблюдении санитарно-гигиенических
условий труда и оборудоваться автоматической пожарной сигнализацией.
1. Динамическая нагрузка (кг∙м)
Если исполнитель проводит проверку углов установки
управляемых колес, то при этом он устанавливает на колесо специальные датчики
весом по 1,8 кг., перемещая их на расстояние 1,5 м. Исполнитель большую часть рабочего дня проводит в положении стоя (до 80 %), при этом за час
ему приходится устанавливать оборудование 3 раза.
Так как исполнителю приходится устанавливать два
датчика, то расстояние за одну установку определяем исходя из числа мест
установки:
1,5 ∙ 2 =3 м, за одну установку;
3 ∙ 3 = 9 м, за час;
9 ∙ 9 = 81 м.
За 80 % рабочего дня 65 м
Итого: 1,8 ∙ 65 = 117 кг∙м. По этому
показателю работу можно отнести к 1 классу.
2. Масса поднимаемого и перемещаемого груза вручную (кг)
Исполнитель поднимает груз массой 1,8 кг. Определим суммарную массу груза:
1,8 ∙ 2 = 3,6 кг;
3,6 ∙ 3 = 10,8 кг, за час;
10,8 ∙ 9 = 97,2 кг.
Таким образом по этому показателю работу можно отнести
ко 2 классу.
3. Рабочие движения рук
Исполнитель за смену совершает 226 движений,
устанавливая оборудование. По этому показателю работа относится к 1 классу
тяжести.
4. Статистическая нагрузка (кгс∙с)
Так как исполнитель испытывает статистические нагрузки
не постоянно, то эта работа относится к первому классу.
5. Рабочая поза
Исполнитель находится стоя в течение рабочей смены 80 %,
поэтому этот тип работы относится к классу 3.2.
6. Наклоны корпуса
Так как для установки датчиков исполнителю приходится за
одну установку совершать 4 глубоких наклона (более 30˚), что в пересчете
на смену составляет 108 наклонов, поэтому этот тип работы следует отнести к
классу 3.1.
Из 6 показателей, характеризующих тяжесть труда, самая
тяжелая работа относится к классу 3.2, таким образом окончательная оценка
тяжести труда составляет 3.2 балла и относится к 3 классу.
4.2.2 Создание нормативных параметров
микроклимата
Микроклимат, запыленность, загазованность, шум, вибрация
на рабочих местах не должны превышать норм, установленных в действующих нормативных
правовых актах - СН
2.2.4/2.1.8.562-96 «Шум на рабочих местах, в помещениях жилых, общественных
зданий и на территории жилой застройки», СН 2.2.4/2.1.8.566-96
«Производственная вибрация. Вибрация в помещениях жилых и общественных зданий»,
ГОСТ 12.1.007-76 (1999) ССБТ «Вредные вещества. Классификация и общие
требования безопасности», ГОСТ 12.1.005-88 (1999, с изм. 1 2000) ССБТ. «Общие
санитарно-гигиенические требования к воздуху санитарной зоны».
Показатели
микроклимата должны обеспечивать сохранение теплового баланса человека с
окружающей средой и поддержание оптимального или допустимого теплового
состояния организма.
Показателями,
характеризующими микроклимат, являются оптимальные и допустимые нормы
микроклимата ГОСТ 12.1.005-88:
•
Температура
воздуха, 18-20°С;
•
Относительная
влажность воздуха, 40-60%;
•
Скорость
движения воздуха 0,2 м/сек.
Представленные
параметры микроклимата, также как и нормативное содержание вредных веществ
достигаются применением искусственной и естественной вентиляции, а также
отоплением в зимнее время.
Для
работающих, участвующих в проектируемом технологическом процессе, должны быть
обеспечены удобные рабочие места, не стесняющие их действий во время выполнения
работы. Эргономические требования и при выполнении работ сидя и стоя
приведены в ГОСТ 12.2.032-78, ГОСТ 12.2.033.78.
Работники
обеспечиваются спецодеждой, спецобувью и средствами индивидуальной защиты не ниже
норм, установленных Типовыми отраслевыми нормами для работников автомобильного
транспорта и шоссейных дорог от 16.12.1997г., №63.
Уровни
вредных и опасных производственных факторов на рабочем месте не должны
превышать значений, указанных в таблице 4.3.
Таблица
4.3 - Предельно допустимые уровни звукового давления, уровни звука и
эквивалентные уровни звука [7]
Рабочие
места
|
Уровни звукового
давления, дБ в активных полосах со средне-геометрическими частотами, Гц
|
Уровни звука и
эквивалентные уровни
звука, ДБА
|
|
63
|
125
|
250
|
500
|
1000
|
2000
|
4000
|
8000
|
|
Постоянные рабочие
места и рабочие зоны в сборочно-сварочных цехах и на территории предприятий
|
95
|
87
|
82
|
78
|
75
|
73
|
71
|
69
|
85
|
|
Помещения и участки
точной сборки
|
83
|
74
|
68
|
63
|
60
|
57
|
55
|
54
|
6
|
Примечание. Для тонального и
импульсного шума допустимые и эквивалентные уровни уменьшают на 5дБ. При
эксплуатации установок кондиционирования, вентиляции и воздушного отопления
допустимые и эквивалентные уровни уменьшают на 5 дБ.
Таблица 4.4 - Предельно
допустимые концентрации (ПДК) вредных веществ в воздухе помещений [7]
|
Наименование вещества
|
Класс опасности
|
ПДК, мг/м3
|
|
Азота окислы
|
2
|
5
|
|
Алюминия окислы
|
2
|
2
|
|
Ацетон
|
4
|
200
|
|
Акролеин
|
2
|
0,2
|
|
Бензин топливный
|
4
|
100
|
|
3,4 Бензопирен
|
1
|
0,00015
|
|
Кислота серная
|
2
|
1
|
|
Кислота соляная
|
2
|
5
|
|
Ксилол
|
3
|
50
|
|
Масла минеральные
|
3
|
5
|
|
Сода кальцинированная
|
3
|
2
|
|
Тетраэтилсвинец
|
1
|
0,0005
|
|
Углерода пыль (сварочная)
|
4
|
6
|
|
Углерода окись
|
4
|
20
|
Таблица
4.5 - Допустимые значения колебательной скорости и соответствующие уровни в
октавных полосах [7]
|
Среднегеометричес-кие частоты активных полос, Гц
|
Граничные частоты
активных полос, Гц
|
Значение
виброско-рости, м/с
|
Уровни виброско-рости, дБ
|
|
|
|
нижняя
|
верхняя
|
|
|
8
|
56
|
11 4
|
005
|
120
|
|
|
16
|
11 2
|
234
|
005
|
120
|
|
|
32
|
224
|
45
|
005
|
117
|
|
|
63
|
45
|
90
|
0025
|
114
|
|
|
125
|
90
|
180
|
0018
|
111
|
|
|
250
|
180
|
355
|
0012
|
108
|
|
|
500
|
355
|
710
|
0004
|
105
|
|
|
100
|
710
|
1400
|
00063
|
102
|
|
|
200
|
1400
|
2800
|
00045
|
99
|
|
4.2.3 Производственное освещение
Помещения
и рабочие места обеспечиваются искусственным освещением не ниже установленных
норм, установленных СНиП 23-05-95 «Естественное и искусственное освещение»,
достаточным для безопасного выполнения работ, пребывания и передвижения людей в
таблице 4.6.
Таблица
4.6 - Нормы освещенности помещений и рабочих мест [7]
|
Помещения и
производственные
участки
|
Плоскость нормирования
освещенности и ее высота от пола, м
|
Разряд зрите-льной работы
|
Освещенность, лк
|
|
Комбинир-ованное
освещение
|
Общее
освещение
|
|
Техническое обслуживание
и ремонт АТС
|
пол
|
Vа
|
300
|
200
|
|
ЕО
|
В -на машине
|
VIIIа
|
-
|
75
|
|
Мойка и уборка АТС
|
пол
|
VI
|
-
|
75
|
|
Осмотровые канавы
|
Г - низ
|
VI
|
-
|
150
|
|
Отделения: моторное,
агрегатное, механическое, электротехническое, приборов питания
|
Г – 0,8
|
VI а
|
750
|
300
|
|
Коридоры, проходы и
переходы
|
пол
|
VIII
а
|
-
|
50
|
|
Проезды АТС по территории
АТП
|
пол
|
-
|
-
|
2
|
Рационально
устроенное освещение является одним из основных факторов обеспечения
безопасности работ. Требования к рациональной освещенности рабочих мест
сводится к следующему:
•
правильный
выбор источников света и системы освещения;
•
создание
необходимого уровня освещенности рабочих мест (поверхностей);
•
ограничение
слепящего действия света, устранение бликов;
•
обеспечение
равномерного освещения.
Неправильно
выполненное освещение (недостаточная освещенность зон и рабочих мест, слепящее
действие ламп и наличие бликов от них, резкие тени) неоднократно являлось
причиной травм.
С
позиций безопасности функционирования системы человек-машина влияние
освещенности на человека имеет несколько аспектов:
•
Недостаточная
освещенность и контраст яркостей объекта и фона мешают обнаружению обнаружить и
опознать сигналы опасности, а также вызывают утомление;
•
Чрезмерная
яркость (блескость), изменяющая уровень видимости вызывает ощущение
дискомфорта;
•
Стробоскопический
эффект, то есть искажение зрительного восприятия вращающихся, движущихся или
сменяющихся объектов в мелькающем свете вызывает потенциальную опасность
травмирования.
Неудовлетворительное
освещение способствует образованию глазных болезней: близорукости, катаракты,
временному и постоянному снижению светочувствительности глаза.
4.3 Безопасность и защита в чрезвычайных
ситуациях
4.3.1 Пожарная безопасность
Согласно
ГОСТ 12.1.004 — 91 ССБТ «Пожарная безопасность. Общие требования», пожарная
безопасность — это состояние объекта, при котором исключается возможность
пожара, а в случае его возникновения предотвращается воздействие на людей
опасных факторов пожара и обеспечивается защита материальных ценностей. С
учетом этого определения разрабатывают профилактические мероприятия и систему
пожарной защиты. Нормативная вероятность возникновения пожара принимается
равной не более 10- в год на отдельный пожароопасный элемент рассматриваемого
объекта.
Такая
же вероятность воздействия опасных факторов пожара в расчете на отдельного
человека (риск) принимается при разработке системы пожарной защиты. Опасными
факторами пожара являются: повышенная температура воздуха и предметов, открытый
огонь и искры, токсичные продукты горения и дым, пониженная концентрация
кислорода, взрывы, повреждение и разрушение зданий и сооружений.
Наиболее
вероятными чрезвычайными ситуациями техногенного происхождения в зоне ТО и ТР
автомобилей являются пожары и взрывы.
Согласно
НПБ 105-95 по взрывоопасной и пожарной опасности зона ТО и ТР относится к
категории В - пожароопасные помещения, в которых находятся: горючие и
трудногорючие вещества и материалы. Степень огнестойкости строительных
конструкций проектируемого АТП – II а, все элементы из негорючего
материала.
В
качестве средств тушения пожаров на предприятии установлены пожарные щиты,
которые укомплектованы ведром, багром, ломом, топором и ящиком с песком.
Для
локализации и ликвидации загораний и пожаров в начальной стадии их развитие
предусмотрены первичные средства пожаротушения – огнетушители : пенные ОХП –
10, предназначенные для тушения пожаров твёрдых веществ и материалов, и
углекислотные ОУ – 5 – для тушения пожаров в электрооборудовании, находящиеся
под напряжением.
Для
извещения о пожаре применяются тепловые извещатели дифференциального действия
типа ДПС – 038 совместно с ПИО – 017.
Пожарный
водокран совмещён с хозяйственно-питьевым. Гидранты находятся от пола на
расстоянии 1,35 м.
Помещения для технического обслуживания, диагностики,
ремонта и хранения автомобилей, работающих на газе, отвечают требованиям, указанным
в нормативных правовых актах (ОНТП -01-91 "Общесоюзные нормы
проектирования предприятий автомобильного транспорта", ВСН-01-89
"Предприятия по обслуживанию автомобилей", СНиП 2.09.02-85
"Производственные здания промышленных предприятий").
Этажность здания, в котором размещаются автомобили,
работающие на сжатом природном газе, не превышает шести. Для автомобилей,
работающих на газовом топливе, учитывается, что в случае полного выпуска газа
из одной секции, включающей максимальное количество баллонов наибольшей емкости
одного автомобиля (аварийная ситуация), концентрация газа в помещении не должна
превышать 1,1 г на 1 м3 свободного объема помещения для сжатого
природного газа, а для сжиженного нефтяного газа—1,45 г на 1 м3.
Если
расчетное количество поступающего газа превышает указанные величины, то
помещение должно быть дополнительно оборудовано:
-
системой автоматического контроля воздушной среды с сигнализацией
-
системой аварийной вентиляции и аварийного освещения, выполненной во
взрывозащищенном исполнении.
В производственных помещениях выделены специальные места
для курения. Запрещается загромождать подходы к местам расположения пожарного
инвентаря, оборудования и извещателям электрической пожарной сигнализации;
устанавливать в помещениях автомобили в количестве, превышающем норму, а также
нарушать установленный порядок их расстановки; загромождать ворота запасных
выездов как изнутри, так и снаружи. Помещения оборудуются принудительной
приточно - вытяжной вентиляцией. В эти помещения не должны допускаться лица, не
участвующие в непосредственном выполнении работ.
Электродвигатели и светильники должны быть во
взрывозащищенном исполнении.
Газобаллонные автомобили работают на сжиженном нефтяном
или сжатом природном газе. Техническое состояние и оборудование (рис.16 )
газобаллонных автомобилей должны соответствовать Правилам по охране труда на
автомобильном транспорте и инструкциям предприятий-изготовителей Кроме того,
автомобили, работающие на сжатом природном газе, должны отвечать требованиям
Правил техники безопасности при эксплуатации автомобилей на сжатом природном
газе.
Вся газовая аппаратура, газопроводы, газовые редукторы,
все соединения должны быть герметичными, исключающими какое-либо просачивание
газа из системы Баллоны и кронштейны должны быть надежно закреплены.
Баллоны должны быть окрашены в красный цвет, иметь
табличку с указанием параметров, обусловленных требованиями правил безопасности,
и надписи «пропан-бутан» (для сжиженного газа) или «метан» (для сжатого газа) и
«огнеопасно». Баллоны не должны иметь просроченный срок освидетельствования,
наружные повреждения (коррозии, трещин, раковин, забоин), неисправные
переходники и вентили.
4.3.2 Определение категорий помещения по
пожарной опасности
Определим
категорию корпуса ТО по пожарной опасности. Площадь корпуса составляет 648 м².
Определение
класса пожаро- и взрывоопасности производится по ПУЭ-6.
Определение
пожароопасной категории помещения осуществляется путем сравнения максимального
значения временной пожарной нагрузки с величиной пожарной нагрузки.
Пожарную
нагрузку Q (МДж)
определяем из соотношения:
, (4.1)
где
- количество i-го материала
пожарной нагрузки, кг;
- низшая теплота сгорания i-го материала
пожарной нагрузки,
.
Удельная
пожарная нагрузка g (
) определяем из соотношения:
, (4.2)
где S – площадь
размещения пожарной нагрузки, м².
Таким
образом пожарная нагрузка равна:
(МДж) – для скамеек;
(МДж) – для стендов;
(МДж) – для полиэтилена;
(МДж) – для бензина;
(МДж) – для керосина;
(МДж) – для мазута;
(МДж) – для ветоши.
МДж
Удельная
пожарная нагрузка:
В
результате сравнения данных указанных в таблице по определению категорий
помещений по пожаровзрывоопасности со значениями, полученными в результате
расчета, выявлено, что рассматриваемое помещение относится к категории «В-4»,
так как полученные значения, удельной пожарной нагрузки, попадают в интервал
значений от 0 до 181.
4.3.3 Расчёт
времени эвакуации людей в случае возникновения пожара
Расчетное
время эвакуации (tp) из рабочих помещений и зданий
определяется как суммарное время движения людского потока на отдельных участках
пути по формуле:
, (4.3)
где t1 - время движения
от самого удаленного рабочего места до двери помещения;
t2 – время
прохождения дверного проема из здания.
Время
движения людского потока на отдельных участках вычисляется по формуле:
, (4.4)
где
- длина отдельных участков
эвакуационного пути, м;
- скорость движения людского
потока на участках пути, м/мин.
Скорость
движения людского потока зависит от плотности людского потока (
).
Плотность
людского потока вычисляется по формуле:
, (4.5)
где N – число людей;
f – средняя
площадь горизонтальной проекции человека, (принимаем f = 0,1 м²);
- ширина i-го участка
эквивалентного пути, м.
Время
прохождения дверного проема рассчитывается по формуле:
, (4.6)
где
- ширина дверного проема;
- пропускная способность 1 м ширины дверного проема.
мин.
Определив
плотность людского потока можно найти скорость движения людского потока по
таблице 2 [16].
= 100 м/мин.
Время
прохождения дверного проема:
мин.
Определив
расчетное время, необходимое для эвакуации людей из помещения и сравнив его с
нормативными значениями, можно сказать о том, что в случае возникновения ЧС,
эвакуация людей будет обеспечена своевременно.
4.3.4 Реализация системы противопожарной
защиты на основе выполнения требований по электроустановкам
Требования пожарной безопасности к электроустановкам
зданий, сооружений и строений
1.
Электроустановки зданий, сооружений и строений должны соответствовать классу
пожаровзрывоопасной зоны, в которой они установлены, а также категории и группе
горючей смеси.
2. Кабели и
провода систем противопожарной защиты, средств обеспечения деятельности
подразделений пожарной охраны, систем обнаружения пожара, оповещения и
управления эвакуацией людей при пожаре, аварийного освещения на путях
эвакуации, аварийной вентиляции и противодымной защиты, автоматического пожаротушения,
внутреннего противопожарного водопровода, лифтов для транспортирования
подразделений пожарной охраны в зданиях, сооружениях и строениях должны
сохранять работоспособность в условиях пожара в течение времени, необходимого
для полной эвакуации людей в безопасную зону.
3. Кабели от
трансформаторных подстанций резервных источников питания до
вводно-распределительных устройств должны прокладываться в раздельных
огнестойких каналах или иметь огнезащиту.
4. Линии
электроснабжения помещений зданий, сооружений и строений должны иметь
устройства защитного отключения, предотвращающие возникновение пожара при
неисправности электроприемников. Правила установки и параметры устройств
защитного отключения должны учитывать требования пожарной безопасности, установленные
в соответствии с настоящим Федеральным законом.
5.
Распределительные щиты должны иметь конструкцию, исключающую распространение
горения за пределы щита из слаботочного отсека в силовой и наоборот.
6. Разводка
кабелей и проводов от поэтажных распределительных щитков до помещений должна
осуществляться в каналах из негорючих строительных конструкций или погонажной
арматуре, соответствующих требованиям пожарной безопасности.
7.
Горизонтальные и вертикальные каналы для прокладки электрокабелей и проводов в
зданиях, сооружениях и строениях должны иметь защиту от распространения пожара.
В местах прохождения кабельных каналов, коробов, кабелей и проводов через
строительные конструкции с нормируемым пределом огнестойкости должны быть
предусмотрены кабельные проходки с пределом огнестойкости не ниже предела
огнестойкости данных конструкций.
8. Кабели,
прокладываемые открыто, должны быть не распространяющими горение.
9.
Светильники аварийного освещения на путях эвакуации с автономными источниками
питания должны быть обеспечены устройствами для проверки их работоспособности
при имитации отключения основного источника питания. Ресурс работы автономного
источника питания должен обеспечивать аварийное освещение на путях эвакуации в
течение расчетного времени эвакуации людей в безопасную зону.
10.
Электрооборудование без средств пожаровзрывозащиты не допускается использовать
во взрывоопасных, взрывопожароопасных и пожароопасных помещениях зданий,
сооружений и строений, не имеющих направленных на исключение опасности появления
источника зажигания в горючей среде дополнительных мер защиты.
11.
Пожарозащищенное электрооборудование не допускается использовать во
взрывоопасных и взрывопожароопасных помещениях.
12.
Взрывозащищенное электрооборудование допускается использовать в пожароопасных и
непожароопасных помещениях, а во взрывоопасных помещениях - при условии
соответствия категории и группы взрывоопасной смеси в помещении виду
взрывозащиты электрооборудования.
13. Правила
применения электрооборудования в зависимости от степени его взрывопожарной и
пожарной опасности в зданиях, сооружениях и строениях различного назначения, а
также показатели пожарной опасности электрооборудования и методы их определения
устанавливаются федеральными законами о технических регламентах для данной
продукции и (или) нормативными документами по пожарной безопасности.
14. Электродвигатели, аппаратуры управления, пускорегулирующая,
контрольно-измерительная и защитная аппаратура, вспомогательное оборудование и
проводки должны иметь исполнение и степень защиты, соответствующие классу зоны
по ПУЭ, а также иметь аппараты защиты от токов короткого замыкания и
перегрузок.
15.
Монтаж и эксплуатацию электроустановок и электротехнических изделий необходимо
осуществлять в соответствии с требованиями нормативных документов по пожарной
безопасности (в том числе Правил устройства электроустановок (ПУЭ), Правилами
технической эксплуатации электроустановок потребителей (ПЭЭП), Правилами
техники безопасности при эксплуатации электроустановок потребителей (ПТБ)).
16.
Электроустановки и бытовые электроприборы в помещениях, в которых по окончании
рабочего времени отсутствует дежурный персонал, должны быть обесточены. Под
напряжением должны оставаться дежурное освещение, установки пожаротушения и
противопожарного водоснабжения. пожарная и охранно-пожарная сигнализация.
Другие электроустановки и электротехнические изделия могут оставаться под
напряжением, если это обусловлено их функциональным назначением и (или)
предусмотрено требованиями инструкции по эксплуатации.
17.
Не допускается прокладка и эксплуатация воздушных линий электропередачи (в том
числе временных и проложенных кабелем) над горючими кровлями, навесами, а также
открытыми складами горючих веществ, материалов и изделий.
18.
При эксплуатации электрических сетей зданий и сооружений с периодичностью не
реже одного раза в три года должен проводиться замер сопротивления изоляции
токоведущих частей силового .и осветительного оборудования, результаты замеры
оформляются соответствующим актом (протоколом).
19.
Светильники общего пользования жилых домов должны подвергаться периодическому
осмотру и очистке от пыли не реже 2-х раз в год;
20.
Выключатель электроэнергии чердачных и подвальных помещений должен
располагаться за их пределами.
21.
Объемные самосветящиеся знаки пожарной безопасности с автономным питанием и от
электросети, используемые на путях эвакуации (в том числе световые указатели
"Эвакуационный выход", "Дверь эвакуационного выхода"),
должны постоянно находиться в исправном состоянии.
22.
При эксплуатации действующих электроустановок запрещается:
-
использовать приемники электрической энергии (электроприемники) в условиях, не
соответствующих требованиям инструкций предприятий-изготовителей или имеющие
неисправности, которые в соответствии с инструкцией по эксплуатации могут
привести к пожару, а также эксплуатировать электропровода и кабели с
поврежденной или потерявшей защитные свойства изоляцией;
-
пользоваться поврежденными розетками, рубильниками, другими
электроустановочными изделиями;
-
соединять жилы проводов скруткой;
-
обертывать электролампы бумагой. тканью и другими горючими материалами, а также
эксплуатировать светильники со снятыми колпаками (рассеивателями),
предусмотренными конструкцией светильника;
-
эксплуатировать электронагревательные приборы при отсутствии или неисправности
терморегуляторов, предусмотренных конструкцией;
-
оставлять без присмотра включенные в электросеть электроустановки и
электротехнические изделия, если это не обусловлено их функциональным
назначением и (или) предусмотрено требованиями инструкций по эксплуатации;
-
применять нестандартные (самодельные) электронагревательные приборы,
использовать некалиброванные плавкие вставки или другие самодельные аппараты
защиты от перегрузки и короткого замыкания;
-
располагать светильники на расстоянии менее 0,5м от горючих конструкций и
материалов;
-
устраивать кладовки и мастерские в помещениях распределительных устройств и
щитов;
-
размещать (складировать) у электрощитов. электродвигателей и пусковой
аппаратуры горючие (в том числе легковоспламеняющиеся) вещества и материалы.
Существуют
следующие способы защиты, применяемые отдельно или в сочетании друг с другом:
защитное заземление, зануление, защитное отключение, электрическое разделение
сетей разного напряжения, применение малого напряжения, изоляция токоведущих
частей, выравнивание потенциалов.
В
электроустановках (ЭУ) напряжением до 1000 В с изолированной нейтралью и в ЭУ
постоянного тока с изолированной средней точкой применяют защитное заземление в
сочетании с контролем изоляции или защитное отключение.
В
этих электроустановках сеть напряжением до 1000 В, связанную с сетью
напряжением выше 1000 В через трансформатор, защищают от появления в этой сети
высокого напряжения при повреждении изоляции между обмотками низшего и высшего
напряжения пробивным предохранителем, который может быть установлен в каждой
фазе на стороне низшего напряжения трансформатора.
В
электроустановках напряжением до 1000 В с глухозаземленной нейтралью или
заземленной средней точкой в ЭУ постоянного тока применяется зануление или
защитное отключение. В этих ЭУ заземление корпусов электроприемников без их
заземления запрещается.
Защитное
отключение применяется в качестве основного или дополнительного способа защиты
в случае, если не может быть обеспечена безопасность применением защитного
заземления или зануления или их применение вызывает трудности.
При
невозможности применения защитного заземления, зануления или защитного
отключения допускается обслуживание ЭУ с изолирующих площадок.
4.3.5 Расчет максимальной токовой защиты
для помещения с электрооборудованием
Определим
ток плавкой вставки электродвигателя электрокранбалки:
, (4.7)
где
- кратность пуска;
- номинальный ток
двигателя, А;
- коэффициент, учитывающий
условия пуска
А.
Для
автоматических выключателей определим ток установки:
, (4.8)
где
- ток пуска, А
А.
Для
магистральной сети, при нескольких электропотребителях, ток плавкой вставки
будет равен:
, (4.9)
где
- ток получасового
максимума.
А.
Выбираем
плавкую вставку на ток 170 А.
4.4 Организация рабочего места по сборке
узлов с обеспечением требований эргономики и инженерной психологии
4.4.1 Понятие об
инженерной психологии и эргономике
Усложнение производственных процессов и оборудования
изменили функции человека в современном производстве: возросла ответственность
решаемых задач; увеличился объем информации, воспринимаемой работающим, и
быстродействие оборудования. Работа человека стала сложнее, возросла нагрузка
на нервную систему и снизилась нагрузка физическая. В ряде случаев человек стал
наименее надежным звеном системы "человек-машина". Возникла задача
обеспечения надежности и безопасности работы человека на производстве. Эту
задачу решает эргономика и инженерная психология.
Эргономика (от греческого ergon - работа и nomos -
закон) - научная дисциплина, изучающая человека в условиях его деятельности,
связанной с использованием машин. Цель эргономики - оптимизация условий труда в
системе "человек-машина". Эргономика определяет требования человека к
технике и условия ее функционирования. Эргономичность техники является наиболее
обобщенным показателем свойств и других показателей техники.
Инженерная психология - научная дисциплина, изучающая
закономерности информационного взаимодействия человека и техники для
проектирования, создания и эксплуатации СЧМ. Инженерная психология исследует
процессы приема, хранения, переработки и реализации информации человеком. На
основании закономерностей психических, психофизиологических процессов и свойств
человека она определяет требования к техническим устройствам и построению СЧМ,
а также требования к свойствам человека-оператора.
В качестве обобщенных показателей деятельности оператора
и СЧМ инженерная психология использует эффективность, надежность, точность,
быстродействие.
Научную основу эргономики составляют анатомия,
физиология и психология. Анатомия составляет теоретическую основу антропометрии
и биомеханики.
Задачами эргономики как прикладной дисциплины являются:
-
проектирование системы "человек-машина", то
есть распределение функций между человеком и машиной;
-
проектирование рабочего пространства так, чтобы
физическое окружение соответствовало характеристикам человека;
-
проектирование окружающей среды в соответствии с
требованиями оператора;
-
проектирование
рабочих ситуаций (продолжительность рабочего дня, перерывы для отдыха и т.п.).
Инженерная психология, как это следует из
вышеизложенного, является практически составной частью эргономики, решающая задачи
организации СЧМ путем:
-
распределения функций между человеком и машиной;
-
анализа функций, выполняемых человеком в СЧМ;
-
проектирования системы информации, выбора
чувствительного канала;
-
конструирования средств управления;
-
проектирования рабочих мест;
-
обеспечение удобства технического обслуживания машин;
-
подбора кадров и их профессиональной подготовки.
4.4.2 Рациональная организация
рабочего места по техническому обслуживанию и ремонту автомобилей
Рациональная организация рабочего места по техническому
обслуживанию и ремонту автомобилей представлена на рисунке 4.1.
1 –
автомобиль, 2 – смотровая яма, 3 – шкаф для инструментов, 4 – рабочий стол, 5 –
урна для утилизации отходов, 6 – мойка, 7 – исполнитель.
Рисунок
4.1 - Рациональная организация рабочего места по техническому обслуживанию и
ремонту автомобилей.
Для
обеспечения безопасности при проведении технического обслуживания и ремонта
автомобилей, движения работника не должны быть ущемлены в пространстве. Размах
рук рабочего в стороны, составляет 90˚, что позволяет оптимально проводить
ремонтные работы с агрегатами. Рабочее место должно содержать все необходимое
для проведения ТО и ТР автомобилей. Столы, шкафы, оборудование и оснастка
предусматривает расположение от смотровой ямы на расстоянии не меньше чем 3,8 м. В смотровой яме предусматривается освещение. Наличие в смотровой яме посторонних предметов и
отработанных деталей, не допускается.
На
рабочем месте необходима мойка, как для очистки деталей, так и для очистки рук
работника. Необходимым элементом на рабочем месте работника по исполнению работ
по ТО и ТР является урна для утилизации отходов: промасленной ветоши, негодных
деталей и прочее, так как скапливание отходов в неустановленных местах, ведет к
загромождению проходов, смотровых ям.
В
шкафах для инструмента должны находиться только необходимые в работе
приспособления и инструменты. Они должны быть в чистом виде и рабочем состоянии.
Автомобиль
на рабочем месте располагается строго на смотровой яме, а колеса автомобиля
выставлены параллельно кромок смотровой ямы.
Работники
обеспечиваются спецодеждой, спецобувью и средствами индивидуальной защиты
согласно нормам, установленных типовыми отраслевыми нормами для работников
автомобильного транспорта и шоссейных дорог от 16.12.1997 г., № 63.
4.5 Применение устройств и
средств по очистке сточных вод от маслопродуктов
На
этапе выполнения технического обслуживания и ремонта автотранспортных средств
загрязнение сточных и поверхностных вод происходит в больших объёмах и связано
с процессами технологических операций (замена эксплуатационных материалов на
определённом пробеге транспортных средств), работами на производственных
участках (агрегатном и малярном).
В данном разделе предлагается установка для очистки сточных вод от
маслопродуктов, образующихся при мойке автомобилей и их узлов, и вод с площадок
стоянки автотранспорта - рисунок 4.2 [7].
Маслопродукты, попадающие в сточные воды в процессе эксплуатации и
обслуживания техники, представлены в основном смазочными маслами и в небольшом
количестве - автомобильными бензинами и дизельным топливом. Состав их определен
типом и назначением машин. Основная масса содержащихся в сточных водах
нефтепродуктов (85,4%) представлена частицами размером 140—200 мкм, и их
удаление из сточных вод путем отстаивания и фильтрования не представляет особых
затруднений. Гораздо труднее удалить частицы размером 3-100 мкм, находящиеся в
растворенном или взвешенном состоянии. Существенную помощь в этом может оказать
передвижная установка для очистки маслосодержащих сточных вод, разработанная
(А. с. СССР № 4901908, МКИ С 02 Р 1/24, 1/40).
Установка (рисунок 1) включает трехсекционный горизонтальный отстойник,
имеющий наклонные перегородки с переломами в горизонтальной и вертикальной
плоскостях, камеру для сбора маслопродуктов, фильтр тонкой очистки,
гидроэжекторы для вывода шлама из шламонакопителей, насосную установку с
эжектором подачи воздуха.
Для удаления из сточных вод основной массы взвешенных веществ и
маслопродуктов служит горизонтальный отстойник с элементами флотатора.
Флотация
сточных вод предназначена для интенсификации процесса всплывания маслопродуктов
при обволакивании их частиц пузырьками воздуха, подаваемого в сточную воду. В
основе процесса – молекулярное слипание частиц масла и пузырьков
тонкодиспергированного в воде воздуха. Образование агрегатов ,,частица-пузырьки
воздуха” зависит от их столкновения друг с другом и т.д.
Блок тонкослойного отстаивания имеет наклонные перегородки с
переломами в вертикальной и горизонтальной плоскостях. Отстойник разделен
вертикальными перегородками на две флотационные и одну отстойную камеры.
Наличие в устройстве наклонных перегородок (четыре перелома с углами
соответственно для первой флотационной камеры 60°, 45°, 95°, 40°, для второй —
65°. 55°, 95°. 40°) позволяет увеличить длину прохождения очищаемой водой
периметра флотационной камеры, и степень выделения из объема маслопродуктов.
Равномерное распределение стоков по площади поперечного сечения
отстойника достигается с помощью распределительных трубопроводов, подающих
стоки к противоположной стенке камеры.
Устройство работает следующим образом. Насосная установка подает
сточные воды в распределительные трубопроводы. При помощи эжектора,
установленного на напорном патрубке насоса, жидкость насыщается воздухом.
Пройдя распределительные трубопроводы, стоки поступают в нижнюю часть первой
флотационной камеры и под действием отражателя направляются вдоль наклонной
перегородки. В ходе движения жидкости происходит ее расслоение, причем
маслопродукты, взаимодействуя с пузырьками воздуха, начинают интенсивно
выделяться на внешней стороне потока, а взвешенные вещества под действием
гравитационных сил оседают на дно камеры и собираются в шламонакопителе.
Для повышения степени очистки сточных вод от маслопродуктов
средние слои потока направляются на установленный в верхней части камеры блок
тонкослойного отстаивания, вследствие этого уменьшается влияние на процесс
отстаивания вихревых зон. Блок тонкослойного отстаивания представляет собой
пакет параллельных пластин из винипласта с наружным каркасом из стальных
уголков. Вместо пластин можно применять наклонные пучки труб диаметром до 40 мм. Маслопродукты скапливаются в маслонакопителе, образованном с боков и сверху стенками наклонной
перегородки, в нижней части - уровнем жидкости в сооружении. Под действием
поступающей в камеру новой порции сточных вод маслопродукты, скопившиеся в
маслонакопителе, периодически сбрасываются в маслосборник, а осветленная
жидкость по трубопроводам подается во вторую камеру, где процесс повторяется.
Пройдя вторую флотационную камеру, жидкость поступает в третью
(отстойную) камеру, где происходит дополнительное отстаивание, а затем через
гидрозатвор жидкость поступает в фильтр тонкой очистки. В качестве основного
заполнителя фильтра используется дробленый керамзит, можно использовать также
пенополиуретан, сипрон, кокс и др. Регенерация фильтрующей загрузки
производится очищенной водой. Фильтрующая загрузка устанавливается в
специальный отсек, конструктивно являющийся продолжением отстойной камеры.
1 — насосная установка; 2 — эжектор для подачи воздуха в
распределительный трубопровод; 3 — распределительный трубопровод; 4 — первая
флотационная камера; 5 — блок тонкослойного отстаивания; 6 —
маслонакопитель; 7 — отражатель; 8 — наклонная перегородка; 9 — водоэжектор; 10
— шламонакопитель; 11 — вторая флотационная камера; 12 — вертикальная
перегородка; 13 — отстойная камера; 14 — вертикальная перегородка; 15 — фильтр
тонкой очистки; 16 — маслосборник; 17 — выводной трубопровод; 18 — перелом наклонной
перегородки.
Рисунок
4.2 - Установка для очистки маслосодержащих сточных вод
Гидроэжекторы для вывода шлама устанавливаются в нижней части камер
флотации (шламонакопителях) и предназначены для вывода из сооружения
отстоявшихся взвешенных веществ. Рабочей жидкостью для гидроэжекторов является
вода, используемая для обслуживания и мойки строительной техники. Шлам
удаляется периодически, по мере накопления, а затем вывозится с площадки в
места утилизации.
Предлагаемая технология очистки сточных вод базируется на новой, более
совершенной комплексной методике и реализуется с помощью простого в
эксплуатации и обслуживании оборудования, которое при необходимости может быть
изготовлено предприятием самостоятельно.
Установка может использоваться как элемент (модуль) очистного сооружения.
Для улучшения характеристик установки возможно оснащение ее дополнительным
оборудованием, выпускаемым серийно: гидроциклонами, компрессором, смесительными
насадками на распределительные трубопроводы и др. При компоновке сооружения
конструктивно в одном блоке (модуле) оно достаточно эффективно и сама по себе,
и в составе системы очистных сооружений.
Представленная в дипломном проекте установка по очистке сточных
вод от маслопродуктов, наряду с другими аналогичными установками имеет ряд
преимуществ: простота конструкции, надежность, применение 2-х флотационных
камер, наличие фильтра тонкослойной очистки, наличие наклонных перегородок, что
позволяет увеличить длину прохождения очищаемой водой периметра флотационной
камеры, а, следовательно, и степень выделения из объема маслопродуктов.
Опытная эксплуатация экспериментальных образцов очистного модуля
показала высокую эффективность. Производительность установки 5 м3/ч,
концентрация загрязнений в воде после очистки в установке составляет по
взвешенным веществам 18 мг/л, по маслопродуктам 10—15 мг/л. Масса установки без
дополнительного оборудования около 3 т, толщина листа корпуса 3 мм.
В
разделе безопасность и экологичность ОАО «Горшечноеавтотранс» обозначим
следующие выводы:
-в
пункте «Анализ потенциально возможных травмирующих и вредных воздействий»
выявлены возможные травмирующие и вредные воздействия на предприятии, а также
их источники;
-в
пункте «Обеспечение комфортных условий деятельности человека» произведена
оценка тяжести и напряженности трудового процесса, установлено, что на ОАО
«Горшечноеавтотранс» оценка тяжести и напряженности трудового процесса составляет 3.2 балла и относится к 3 классу;
-в пункте «Создание нормативных параметров
микроклимата» обозначены необходимые на предприятии нормы шума, вибрации,
предельно допустимые концентрации (ПДК) вредных веществ в воздухе
помещений, а также указанны необходимые требования по освещению
производственных участков и корпусов;
-в
пункте «Пожарная безопасность» определены категория помещения по пожарной
опасности, корпус по ТО автомобилей ОАО «Горшечноеавтотранс» относится к
категории В-4, что является пожароопасным; а также произведен расчет времени
эвакуации людей при пожаре, для помещения ТО автомобилей время эвакуации
составляет 0,02 мин, что обеспечивает своевременную эвакуацию людей в случае
пожара; для пункта «Реализация системы противопожарной защиты на основе
выполнения требований по электроустановкам», разработаны требования пожарной безопасности к электроустановкам
зданий, сооружений и строений; а также произведен расчет максимальной
токовой защиты для помещения с электрооборудованием, для одного
энергопотребителя и для всех потребителей питающихся от магистральной линии
электроэнергии;
-в
пункте «Организация рабочего места по сборке узлов с обеспечением требований
эргономики и инженерной психологии» раскрыта сущность понятия об эргономике и
инженерной психологии; разработана и представлена графически рациональная
организация рабочего места по техническому обслуживанию и ремонту автомобилей;
-в
пункте «Применение устройств и средств по очистке
сточных вод от маслопродуктов» представлена экспериментальная установка по
очистке сточных вод от маслопродуктов, при испытаниях установка показала
высокую эффективность. Производительность установки 5 м3/ч,
концентрация загрязнений в воде после очистки в установке составляет по
взвешенным веществам 18 мг/л, по маслопродуктам 10—15 мг/л.
5.1
Расчет стоимости приспособления для сборки-разборки двигателя КамАЗ 740.10-Д
5.1.1
Затраты на проектирование приспособления для сборки-разборки двигателя КамАЗ 740.10-Д
Затраты, необходимые на проектирование
приспособления, сведем в таблицу 5.1.
Таблица 5.1 - Затраты,
необходимые на проектирование приспособления для сборки-разборки двигателя КамАЗ 740.10-Д
|
№
п/п
|
Наименование
работ
|
Исполни-тель
|
Количество исполнителей
|
Трудо-емкость, чел∙ч
|
Затраты, руб.
|
|
чел∙ч
|
Всего
|
|
1
|
Подготовка
исходного материала
|
Инженер
|
1
|
16
|
70,3
|
1124,8
|
|
2
|
Патентный поиск
|
Инженер
|
1
|
40
|
70,3
|
2812
|
|
3
|
Разработка
принципиаль-ной схемы
|
Инженер
|
1
|
8
|
70,3
|
562,4
|
|
4
|
Разработка
рабочих чертежей
|
Чертежник
|
1
|
16
|
70,3
|
1124,8
|
|
5
|
Проведение
расчетов
|
Инженер
|
1
|
16
|
70,3
|
1124,8
|
|
6
|
Испытание
образца
|
Инженер
|
1
|
8
|
70,3
|
562,4
|
|
7
|
Проверка
расчетов
|
Инженер
|
1
|
8
|
70,3
|
562,4
|
|
8
|
Составление
документации
|
Инженер
|
1
|
16
|
70,3
|
1124,8
|
|
Итого:
Основная
заработная плата
Дополнительная
заработная плата (15 %)
Общий
фонд заработной платы
ЕСН
(26 %)
Зарплата на проектирование приспособления
Накладные расходы
(100 % от основной заработной платы)
Итого:
|
8998,4
1349,76
10348,2
2690,5
13038,7
8998,4
22037,1
|
Определим суммарные затраты на
техническую подготовку
, (5.1)
где
- затраты на заработную
плату;
N – количество
приспособлений.
, (5.2)
тыс. руб.
тыс. руб.
Затраты
на техническую подготовку производства одного приспособления равны 11,02 тыс.
рублей.
5.1.2 Затраты на изготовление
приспособления для сборки-разборки двигателя КамАЗ-740.10-Д
Трудоемкость
изготовления станка:
Тобщ = Тмех + Тсл.сб + Тпр , (5.3)
где Тмех – трудоемкость
механической обработки;
Тсп.сб – трудоемкость слесарно-сборочных
работ;
Тпр – трудоемкость прочих работ.
Трудоемкость механической обработки:
, (5.4)
где С2 – постоянная
величина, зависящая от конструкции деталей приспособления и технических
условий;
Q – чистый вес
приспособления в сборе, кг;
Nор – количество
оригинальных деталей.
чел∙ч.
Трудоемкость
слесарно-сборочных работ:
(5.5)
где С3 – постоянная
величина для данной группы приспособлений;
Q – чистый вес
приспособления в сборе, кг;
n - количество
всех деталей в изделии, шт.
чел∙ч.
Трудоемкость
прочих работ:
Тпр = Тмех ∙ Кпр (5.6)
где Тмех – трудоемкость
механической обработки;
Кпр - коэффициент
прочих работ (0,17).
Тпр = 4,76 ∙ 0,17 = 0,81 чел∙ч.
Трудоемкость
изготовления приспособления:
Тобщ = 4,76 + 3,19 + 0,81 = 8,76
чел∙ч.
Затраты на оплату труда при изготовлении
приспособления составляют:
Зо = Стр ∙ Тобщ ∙Р, (5.7)
где Стр – часовая
тарифная ставка рабочих, руб.;
Тобщ – общая
трудоемкость;
Р –
количество исполнителей.
Зо = 43,3 ∙ 8,76 ∙ 2 = 758,6
руб.
Дополнительная
заработная плата – 15 % от основной заработной платы: 113,79 руб. ЕСН
составляет 26 %: 226,82. Общие затраты на оплату труда при изготовлении станка:
1,1 тыс. рублей.
5.1.3 Затраты на основные материалы
Затраты на материалы:
, (5.8)
где
- вес заготовки;
- вес детали;
- коэффициент транспортировки;
- цена металла;
- цена отходов.
Основными материалами являются:
-кожух защитный (сталь 3);
-поддон для масла (сталь 1);
-рама крепления двигателя (швеллер,
сталь 3);
-вал приводной (сталь 3);
-вал ведомый левый (сталь 3);
-вал ведомый правый (сталь 3);
-плита под двигатель (сталь 3);
-плита под редуктор (сталь 3);
-стойка (швеллер, сталь 3);
-фланец (сталь 3).
тыс. руб.
5.1.4 Затраты на покупные изделия для
производства приспособления для сборки-разборки двигателя КамАЗ-740.10-Д
Покупные
изделия, для производства приспособления, сведем в таблицу 5.2.
Таблица
5.2 - Затраты на покупные изделия для производства приспособления
|
Наименование
|
Количество
|
Цена единицы, руб.
|
Общая цена, руб.
|
|
Муфта
|
1
|
1857
|
1857
|
|
Панель управления
|
1
|
2298,5
|
2298,5
|
|
Подшипник
|
2
|
452,3
|
904,6
|
|
Тумблер питания
|
2
|
122
|
244
|
|
Редуктор
|
1
|
8640
|
8640
|
|
Двигатель асинхронный
|
1
|
13050
|
13050
|
|
Болт
|
4
|
3,9
|
15,6
|
|
Гайка
|
4
|
2,8
|
11,2
|
|
Шайба
|
4
|
1,7
|
6,8
|
|
Итого
|
27027,7
|
|
Итого с учетом
транспортировки (Кт =1,1)
|
29730,47
|
5.1.5 Расчет себестоимости
приспособления для сборки-разборки двигателя КамАЗ-740.10-Д
Расчет себестоимости приспособления,
представим в виде таблицы 5.3.
Таблица
5.3 - Расчет себестоимости и цены приспособления для сборки-разборки двигателя
КамАЗ-740.10-Д
|
Наименование статей
|
Сумма, тыс. руб.
|
|
Материалы
Покупные изделия
Заработная плата за
изготовление
Затраты на
проектирование Общепроизводственные расходы (250 % от основной заработной
платы)
|
5,83
29,73
1,1
11,02
22,5
|
|
Итого
(производственная себестоимость)
|
70,18
|
|
Внепроизводственные
расходы (5 %)
|
3,52
|
|
Итого (полная
себестоимость)
|
73,7
|
14,74
|
|
Оптовая цена
приспособления
|
88,44
|
|
НДС (18 %)
|
15,92
|
|
Отпускная оптовая
цена с НДС
|
104,36
|
5.2
Характеристика процесса сборки-разборки двигателя КамАЗ-740.10-Д
Трудоемкость
разборочно-сборочных работ составляет значительную часть от общей трудоёмкости
работ по техническому обслуживанию и ремонту автомобилей, при этом качество
проведения этих работ в значительной степени определяет качество всего ремонта
машины. Высокая механизация разборочно-сборочных операций способствует не
только повышению качества ремонта, но и, в значительной мере, повышению
производительности труда. Поэтому широкая механизация разборочно-сборочных
работ является одним из основных источников повышения эффективности ремонтных
работ при восстановлении работоспособности автомобилей. С другой стороны,
необходимость механизации и, где возможно, автоматизация разборочно-сборочных
работ должна быть обусловлена технико-экономической целесообразностью или
облегчением и оздоровлением труда рабочих.
Очерёдность
механизации и автоматизации отдельных разборочных и сборочных операций
определяется их трудоёмкостью. Затраты труда на разборочно-сборочные работы по
данным НИИАТ составляют около 40% от общей трудоёмкости ремонта автомобилей,
при этом на разборочные работы приходится 11%, а на сборочные 29%. Относительно
небольшая доля трудоёмкости разборочных работ объясняется тем, что они зачастую
выполняются с нарушением правил разборки и при этом не обеспечивается
сохранность разбираемых деталей.
При
сборке автомобилей и их основных агрегатов трудоёмкость сборки резьбовых
соединений по данным различных ремонтных предприятий находится в пределах
35…45%, а прессовых соединений-14…40% от общих затрат труда на сборочные
работы. Кроме того, большую трудоемкость имеют вспомогательные работы, особенно
при разборке и сборке автомобильных агрегатов, которые имеют большую массу.
Проектируемый
процесс сборки-разборки
двигателя КамАЗ-740.10-Д
разработан для ОАО «Горшечноеавтотранс», представлен в таблице 5.4.
Таблица
5.4 – Проектируемый процесс сборки-разборки двигателя КамАЗ-740.10-Д
|
Наимено-вание
операции
|
Наименование
оборудования
|
Тшт,
ч
|
Габариты оборудования,
мм
|
Установочная мощ-ность,
кВт
|
Цена приспо-собле-ния,тыс.
руб.
|
|
Установка
двигателя на стенд
|
Стенд
для сборки-разборки двигателя, кран-балка
|
0,15
|
1536х1974х1263
3500х200х200
|
7,5
|
104,36
55,4
|
|
Разборка двигателя
|
Приспособление
для съемки гильз, емкость для масла, головки сменные на 13, 14, 17, 19, 24;
рукоятка динамо-метрическая, зубило, молоток, ключ динамомет-рический,
оправ-ка для поршней, набор щупов, подвеска для маховика, прис-пособление для
регулировки за-зоров, вставка специальная, стеллаж
|
3,2
|
525х2000х2000
|
-
|
32,3
|
|
Очистка
деталей
|
Керосин,
ветошь
|
0,62
|
-
|
-
|
0,2
|
|
Смазка
деталей
|
Литол,
солидол, консистентные смазки
|
0,43
|
-
|
-
|
0,2
|
|
Сборка двигателя
|
То же самое, что для
разборки
|
3,5
|
-
|
-
|
-
|
5.3
Определение рабочих мест
Количество
и стоимость оборудования необходимого для выполнения сборки-разборки двигателя
рассчитывается отдельно по каждой операции, исходя из числа единиц
оборудования. В нашем случае количество и стоимость необходимого для выполнения
сборки-разборки двигателя, будет рассчитываться для всех операций, так как при
сборке-разборке двигателя операции выполняются последовательно, не выполнив
одну операцию нельзя начать другую операцию, поэтому для выполнения операций
оборудование используется одно и тоже.
Для
расчета числа постов, предварительно необходимо найти значение
- эффективный фонд времени рабочего
места, час.:
= Пс × Чс × Чд × Кп ,
(5.9)
где
Пс - продолжительность одной смены, час;
Чс
- число рабочих смен в сутках;
Чд
- число рабочих дней в году, дн.;
Кп
- коэффициент потерь времени работы оборудования (0,997).
= 8 × 1 × 249 × 0,997=1987 час.
Число
единиц оборудования по операциям определяется по формуле:
, (5.10)
где N
- годовая программа по данному изделию ( шт.);
tШК - норма
штучно-калькуляционного времени на операцию, час;
Рассчитаем
число постов для каждой операции:
; Спр = 1; Кз = 0,02
; Спр = 1; Кз = 0,41
; Спр = 1; Кз = 0,08
; Спр = 1; Кз = 0,05
; Спр = 1; Кз = 0,45
Результаты расчета сведем в таблицу 5.5.
Таблица 5.5 - Определение рабочих мест
|
Наименование
операции
|
Наименование
оборудования
|
Тшт
(ч)
|
Ср
|
Спр
|
Кз
|
|
Установка
двигателя на стенд
|
Стенд
для сборки-разборки двигателя, кран-балка
|
0,15
|
0,02
|
1
|
0,02
|
|
Разборка двигателя
|
Приспособление
для съемки гильз, емкость для масла, голов-ки сменные на 13, 14, 17, 19, 24;
рукоятка динамометри-ческая, зубило, молоток, ключ динамо-метриический,
оправка для поршней, набор щупов, подвес-ка для маховика, приспособле-ние для
регулировки зазоров, вставка специальная, стеллаж
|
3,2
|
0,41
|
1
|
0,41
|
|
Очистка
деталей
|
Керосин,
ветошь
|
0,62
|
0,08
|
1
|
0,08
|
|
Смазка
деталей
|
Литол,
солидол, консистентные смазки
|
0,43
|
0,05
|
1
|
0,05
|
|
Сборка двигателя
|
То же самое, что для
разборки
|
3,5
|
0,45
|
1
|
0,45
|
|
Итого:
|
Стенд
для сборки-разборки двигателя, кран-балка, приспо-собление для съемки гильз,
емкость для масла, головки сменные на 13, 14, 17, 19, 24; рукоятка
динамометрическая, зубило, молоток, ключ динамо-метрический, оправка для
порш-ней, набор щупов, подвеска для маховика, приспособление для регулировки
зазоров, вставка специальная, керосин, ветошь, литол, солидол, консистентные
смазки, стеллаж
|
7,9
|
|
|
Кз.ср
= 0,2
|
5.4.1
Расчет стоимости основных фондов и их амортизация
Стоимость
основных фондов участка (цеха) складывается из стоимости: зданий и сооружений;
технологического оборудования; дорогостоящих инструментов и приспособлений;
дорогостоящего производственного и хозяйственного инвентаря.
Стоимость
зданий и сооружений рассчитывается исходя из объемов и стоимости 1 м3 объема здания.
Стоимость
здания (Кз) рассчитывается по наружному объему, высоте :
, (5.11)
где Цп
- стоимость 1 м3 производственного здания;
- высота здания от пола до
подкрановых путей;
- площадь, необходимая для
размещения служебно-бытовых помещений, составляет 23-30% от производственной
площади;
- высота служебно-бытовых
помещений;
Цб
- цена 1 м2 служебно-бытовых помещений;
- коэффициент, учитывающий
толщину стен;
- производственная площадь,
включаемая под оборудование, проходы между оборудованием, проезды, площади
необходимые для хранения полуфабрикатов и т.п.:
, (5.12)
где
- производственная площадь,
занимаемая оборудованием (по габаритам), м2;
- коэффициент, учитывающий
дополнительную площадь (проходы, проезды и т.п.);
Определим
стоимость здания участка цеха. Для этого найдём производственную площадь,
занимаемую оборудованием.
Стенд
для сборки-разборки двигателя:
(м2)
Стеллаж
для узлов и деталей:
(м2)
Рассчитаем
общую производственную площадь участка:
(м2)
Площадь
служебно-бытовых помещений:
(м2)
Определим
стоимость здания участка цеха:
(тыс. руб.)
В
процессе расчетов необходимо выделить общую внутреннюю площадь (
) и общий внутренний объем (
)
, (5.13)
, (5.14)
Найдём общую внутреннюю площадь (
) и общий внутренний объем (
).
(м2)
(м3)
Стоимость
основного технологического оборудования определяется на основе количества
оборудования, их оптовых цен, а также затрат на транспортировку и монтаж.
Затраты
на транспортировку и монтаж составляют 12 % от оптовой цены. Стоимость
дорогостоящих инструментов и приспособлений рассчитывается укрупненным расчетом
(1,5% от стоимости основного технологического оборудования).
Расчет
стоимости оборудования ремонтного участка сводим в таблицу 5.6.
Таблица 5.6 - Расчет стоимости
оборудования ремонтного участка
|
Наименование, тип,
модель, оборудования
|
Кол-во единиц оборудования участка
(шт.)
|
Полная первоначальная
стоимость единицы оборудования
|
Полная первона-чальная
стоимость общего числа оборудо-вания (руб.)
|
|
оптовая
цена
(руб.)
|
затраты на транспорт
и монтаж
(руб.)
|
итого затрат на единицу
оборудования
(руб.)
|
|
Кран-балка
|
1
|
55400
|
6648
|
62048
|
62048
|
|
Стенд для
сборки-разборки двигателя
|
1
|
104360
|
12523
|
116883
|
116883
|
|
приспособление для съемки гильз
|
1
|
8700
|
1044
|
9744
|
9744
|
|
емкость для масла
|
2
|
300
|
36
|
336
|
672
|
|
головки сменные на 13, 14, 17, 19, 24
|
5
|
200
|
24
|
224
|
1120
|
|
рукоятка динамометрическая
|
1
|
2600
|
312
|
2912
|
2912
|
|
зубило
|
2
|
250
|
30
|
280
|
560
|
|
молоток
|
2
|
350
|
42
|
392
|
784
|
|
ключ динамометричес-кий
|
2
|
2700
|
324
|
3024
|
6048
|
|
оправка для поршней
|
1
|
4800
|
576
|
5376
|
5376
|
|
набор щупов
|
2
|
800
|
96
|
896
|
1792
|
|
подвеска для маховика
|
1
|
6500
|
780
|
7280
|
7280
|
|
приспособление для регулировки зазоров
|
1
|
1800
|
216
|
2016
|
2016
|
|
вставка специальная
|
1
|
2300
|
276
|
2576
|
2576
|
|
Стеллаж
|
1
|
1000
|
120
|
1120
|
1120
|
|
Итого приспособлений и инструмента
|
23
|
|
220931
|
|
|
|
|
|
|
|
Далее
необходимо рассчитать амортизацию основных фондов, используя нормы амортизационных
отчислений.
Результат
расчета представлен в виде таблицы 5.7.
Таблица 5.7 - Сводная ведомость основных
фондов и их амортизация
|
№
п/п
|
Группа основных
фондов
|
Первоначальная стоимость,
тыс. руб.
|
Норма
амортиза-ционных отчислений, %
|
Годовая сумма амортизации,
тыс. руб.
|
|
1
|
Здания и сооружения
|
157,17
|
2,5
|
3,93
|
|
2
|
Механическое и
вспомогате-льное оборудование
|
1,344
|
6,6
|
0,089
|
|
3
|
Энергетическое
|
8,8
|
20
|
1,76
|
|
4
|
Подъемно-транспортное
оборудование
|
55,4
|
14
|
7,76
|
|
5
|
Контрольно-измерительные
устройства
|
12,77
|
33
|
4,21
|
|
6
|
Инструменты и
приспособ-ления
|
142,98
|
20
|
28,6
|
|
7
|
Производственный и
хозяйственный инвентарь
|
1,792
|
18,2
|
0,32
|
|
Итого:
|
380,253
|
|
46,67
|
В
состав прямых затрат на восстановление входят:
1.
Материальные затраты, где отражается стоимость: приобретаемых сырья и материалов,
непосредственно входящих в себестоимость деталей (за вычетом возвратных
отходов); вспомогательных материалов, которые используются для обеспечения
нормального технологического процесса; приобретенных со стороны всех видов
топлива и энергии, расходуемых на технологические цели.
2.
Основная и дополнительная заработная плата производственных рабочих.
3.
ЕСН с зарплаты производственных рабочих.
Затраты
на покупные изделия рассчитываются следующим образом:
Таблица
5.8 - Затраты на покупные изделия на процесс сборки-разборки двигателя
|
Наименование
|
Количество на
единицу, шт. (л.)
|
Количество на годовую
программу
|
Цена единицы, руб.
|
Общая цена, руб.
|
|
Керосин
|
10
|
2500
|
12
|
30000
|
|
Ветошь
|
5
|
1250
|
10
|
12500
|
|
литол, солидол, консистентные смазки
|
3
|
750
|
66,67
|
50002
|
|
Итого
|
18
|
4500
|
|
92502
|
|
Итого с учетом
транспортировки (Кт = 1,1)
|
101752,2
|
2. Затраты на энергоресурсы для
технологических целей (
) можно рассчитать по формуле:
, (5.15)
где Рн
- номинальная (установленная) мощность оборудования, кВт;
tшт - штучное
время, ч/шт;
Кс
- коэффициент спроса; Кс=0,2
N - программа
выпуска;
Цэ
- цена 1 кВт/ч, руб.;
К -
количество оборудования;
n - число
операций.
(тыс. руб.)
3.
Основная заработная плата (Зо) выплачивается производственным рабочим
за работу, выполняемую непосредственно по разборке-сборке двигателя. Все
операции выполняет один человек – слесарь 3-го разряда.
, (5.16)
где Сr – часовая
тарифная ставка рабочего определенного разряда.
Рассчитаем
фонд заработной платы основных рабочих:
(тыс. руб.)
По
результатам расчета составляется таблица 5.9.
Таблица
5.9 - Сводная ведомость фонда оплаты труда основных рабочих
|
Структура фонда
оплаты труда
|
Общая сумма,
тыс. руб.
|
|
Фонд заработной платы
|
75,64
|
|
Премии из ФОТ (40%)
|
30,26
|
|
Тарифный фонд
|
105,9
|
|
Доплаты (10% )
|
10,59
|
|
Основная заработная
плата
|
116,49
|
|
Дополнительная
заработная плата (14%)
|
16,3
|
|
Общий фонд заработной
платы
|
132,8
|
|
Единый социальный
налог (26% )
|
34,53
|
|
Среднемесячная
зарплата за выполненную работу (20%)
|
2,79
|
|
Среднемесячная
зарплата в целом (100%)
|
13,94
|
Составим
сводную ведомость прямых затрат на восстановление ведомого диска, в виде
таблицы 5.10.
Таблица 5.10 - Сводная ведомость прямых
затрат на процесс сборки-разборки двигателя
|
Наименование статей
|
Затраты на годовую программу
выпуска, тыс. руб.
|
Расходы на 1
двигатель, тыс. руб.
|
|
Материальные затраты
Затраты на
электроэнергию для технологических целей
Основная зарплата производственных
рабочих
Дополнительная
зарплата производственных рабочих
ЕСН
|
101,752
6,66
116,49
16,3
34,53
|
0,407
0,026
0,47
0,065
0,14
|
|
Итого:
|
275,73
|
1108
|
5.4.3 Номенклатура и расчет расходов на
содержание и эксплуатацию оборудования
Расходы
на содержание и эксплуатацию оборудования (Соб) включают затраты на
содержание, текущий ремонт производственного и подъемно-транспортного
оборудования, ценных инструментов, цехового транспорта и рабочих мест, износ и
затраты на восстановление малоценного и быстроизнашивающегося инструмента и др.
Расчет этих расходов ведут следующим образом:
1.
Амортизация по основным фондам, участвующим в технологическом процессе: Аоб. =
46665,8
руб. Так как Кз.ср = 0,2, то
амортизация составит: Аоб.
= 9,33
тыс. руб.
2.
Эксплуатация оборудования (кроме расходов на текущий ремонт):
а)
вспомогательные материалы (стоимость смазочных, обтирочных материалов и прочих
материалов, необходимых для ухода за оборудованием и содержанием его в рабочем
состоянии). Принимаем по данным предприятия 19,2 тыс. руб. в год.
б)
основная и дополнительная заработная плата вспомогательных рабочих,
обслуживающих оборудование и ЕСН.
К
вспомогательным рабочим относятся наладчики, контролеры и т.д.
Таблица 5.11 - Численность
вспомогательных рабочих участка (Чв)
|
№
п/п
|
Наименование
специальностей
|
Разрабатываемый вариант
|
|
разряд
|
Кол-во
|
|
1
|
Наладчик
|
IV
|
1
|
|
2
|
Контролер
|
IV
|
1
|
|
Всего:
|
2
|
|
|
|
|
|
Вспомогательные
рабочие оплачиваются по повременно-премиальной системе, основную часть
заработной платы составляет повременный фонд (Зпов), который рассчитывается по
формуле
Зпов
= Сr ∙ Rпов ∙ Fэ, (5.17)
где Сr
- часовая тарифная ставка соответствующего разряда, руб.;
Rпов
- численность работающих данного разряда.
Определим
повременный фонд вспомогательных рабочих, учитывая неполную загрузку рабочих:
тыс. руб.
По результатам расчета составляется
таблица 5.12.
Таблица
5.12 - Сводная ведомость фонда оплаты труда вспомогательных рабочих
|
Структура фонда
оплаты труда
|
Общая сумма,
тыс. руб.
|
В среднем на 1 чел.,
тыс. руб.
|
|
Повременный фонд
|
174,14
|
87,07
|
|
Премии из ФОТ (40%)
|
69,66
|
34,83
|
|
Тарифный фонд
|
243,8
|
121,9
|
|
Доплаты (10%)
|
24,38
|
12,19
|
|
Основная заработная
плата
|
268,176
|
134,09
|
|
Дополнительная
заработная плата (14%)
|
37,54
|
18,77
|
|
Общий фонд заработной
платы
|
305,72
|
152,86
|
|
ЕСН (26%)
|
79,48
|
39,74
|
|
Среднемесячная
заработная плата
|
32,1
|
16,05
|
Среднемесячная
плата находится из расчета загруженности рабочих, исходя из количества постов:
, отсюда 385,2 ∙
0,253 = 97,7 / 12 = 8,14 тыс. руб.
Электроэнергия
силовая (Сэс).
Затраты
на электроэнергию берём 15 % от
:
Сэс
=
тыс. руб.
Итого
затраты на эксплуатацию оборудования:
19,2
+ 0,253 ∙ 385,2 + 0,998 = 117,9 тыс. руб.
3. Текущий ремонт оборудования
Допустимо
использовать действующие на предприятии нормы расхода или взять примерно 7% и
20% от первоначальной стоимости оборудования и инструмента, соответственно.
0,07 ∙ (1344 + 8800 +
55400) + 0,2 ∙ (12768 + 142979) = 35,74 тыс. руб.
Так
как оборудование используется не полностью, а только на 20 %, то
тыс. руб.
4.
Затраты на цеховой транспорт и внутризаводское перемещение грузов (расходы на
содержание и эксплуатацию транспортных средств)
Принимаются
2 % от основной з/платы основных рабочих.
(тыс. руб.)
5. Прочие расходы.
Принимаются
5% от суммы затрат всех предыдущих статей:
134,16
∙ 0,05 = 6,7 тыс. руб.
Результаты
расчета расходов на содержание и эксплуатацию оборудования по статьям заносим в
таблицу 5.13.
Таблица
5.13 - Смета расходов на содержание и эксплуатацию оборудования
|
Наименование статей затрат
|
Сумма,
тыс. руб.
|
% к общему
итогу
|
|
Амортизация
|
9,33
|
6,5
|
|
Эксплуатация
оборудования (кроме расходов на текущий ремонт)
|
117,9
|
81,9
|
|
Текущий ремонт
оборудования, транспортных средств и инструментов
|
7,15
|
4,99
|
|
Внутризаводское
перемещение грузов
|
2,33
|
1,63
|
|
Прочие расходы
|
6,7
|
4,7
|
|
Итого:
|
143,41
|
100
|
Общецеховые
расходы (Сцех) включают затраты по обслуживанию участка (цеха) и
управления им:
1.
Содержание аппарата управления участка (цеха): инженерно-технического
персонала; служащих; младшего обслуживающего персонала .
ИТР,
служащие и прочий обслуживающий персонал оплачиваются по должностным окладам в
соответствии со штатным расписанием. Так как они обслуживают не только данный
участок, то годовой фонд их заработной платы умножаем на долю участия в обслуживании
данного участка.
1.
Мастер – оклад 10200 руб.
2.
Начальник – оклад 14800 руб.
3.
Уборщица – 5080 руб.
Премируются
эти категории работников из социального фонда в размере оклада один раз в год (по
данным базового предприятия).
По
результатам расчета составляется таблица 5.14.
Таблица
5.14 - Сводная ведомость фонда заработной платы аппарата управления цеха и
прочего персонала за год
|
Структура зарплаты
|
Общая сумма, тыс.
руб.
|
В среднем на 1 чел.,
тыс. руб.
|
|
Фонд по окладам
|
360,96
|
120,32
|
|
Доплаты (13-я з/п)
|
30,08
|
10,027
|
|
Общий фонд зарплаты
|
391,04
|
130,35
|
|
ЕСН (26 %)
|
101,67
|
33,89
|
|
Итого
|
492,71
|
164,24
|
2. Амортизация
зданий, сооружений, инвентаря цеха:
А = 4,25 тыс. руб.
3.
Содержание зданий, сооружений, инвентаря цеха:
а) затраты на электроэнергию для
освещения (Сэо)
Сэо =
ЦЭО , (5.18)
где WОСВ - удельный расход
электроэнергии для освещения (15 Вт/ч на 1 м2 );
Т -
продолжительность освещения за год (для центральной полосы при работе в 1 смену
- 800 час).

∙ 2,65 = 23,8 тыс. руб.
б)
затраты на воду для бытовых нужд (Св.быт) в руб.:
, (5.19)
где g – норма расхода
воды в смену,
Д – количество
рабочих дней в году,
Р – общее
количество работающих в цехе,
Цвп,
Цвг
– цена питьевой и горячей
тыс. руб.
в)
затраты на пар для отопления ( Спар ) :
, (5.20)
где Нп
– удельный расход тепла в ккал/час на куб. м здания,
Fот – число часов
отопительного сезона ,
Vвн. – внутренний
обьем здания,
i – теплота
испарения,
Цпар.- цена 1т пара.
= 6,65 тыс. руб.
4.
Текущий ремонт зданий, сооружений, инвентаря (1% от стоимости):
Срем = 157170 + 1792 = 158962 ∙
0,01 = 1,59 тыс. руб.
5.
Испытания, опыты, исследования, рационализаторство (2300 руб./чел.):
Сисп. = 2300 ∙ 6 ∙ 12
= 165,6 тыс. руб.
6.
Расходы по охране труда ( 1600 руб./ чел.):
Сохр. = 1600 ∙ 6 ∙ 12 =
115,2 тыс. руб.
7.
Канцелярские расходы ( 150 руб./чел. в месяц):
Скан = 150 ∙ 2 ∙ 12 = 3,6
тыс. руб.
8.
Затраты на качество продукции: (принимаем – 13% от Зосн. производ. рабочих)
Скач. =
15,14 тыс. руб.
Прочие
расходы принимаем 5 % от суммы вышеперечисленных статей:
831,08 ∙ 0,05 = 41,55 тыс. руб.
Результаты
всех расчетов сведем в таблицу 5.15.
Таблица
5.15 - Смета общецеховых расходов
|
Наименование статей
|
Сумма,
тыс. руб.
|
% к общему итогу
|
|
Содержание аппарата
управления и прочего персонала с ЕСН
|
492,71
|
56,46
|
|
Амортизация зданий,
сооружений, инвентаря
|
4,25
|
0,48
|
|
Содержание зданий,
сооружений и инвентаря
|
32,99
|
3,8
|
|
Текущий ремонт зданий,
сооружений, инвентаря
|
1,59
|
0,18
|
|
Испытания, опыты,
исследования
|
165,6
|
18,98
|
|
Охрана труда
|
115,2
|
13,2
|
|
Канцелярские расходы
|
3,6
|
0,41
|
|
Затраты на качество
|
15,14
|
1,74
|
|
Прочие расходы
|
41,55
|
4,76
|
|
Итого:
|
872,63
|
100
|
Так
как общецеховые расходы считаются на 800
, а в данном дипломном проекте площадь участка
всего 17
, то:
800
- 100 %
17
- х %
Х =
%
Тогда
общецеховые расходы составят:
872,63
∙ 0,025 = 21,82 тыс. руб.
5.4.3 Калькуляция себестоимости процесса
сборки-разборки двигателя КамАЗ-740.10-Д
Калькуляцией себестоимости
называется расчет затрат на изготовление единицы продукции.
Расчет
калькуляции себестоимости приведен в
таблице 5.16.
Таблица
5.16 - Калькуляция себестоимости процесса сборки-разборки двигателя
КамАЗ-740.10-Д
|
Наименование статей
затрат
|
Затраты на программу,
тыс. руб.
|
Затраты на 1 двигатель,
тыс. руб.
|
Структура затрат в % к
итогу
|
|
Прямые расходы:
-
основные материалы;
-
затраты на энергию для технологических целей;
-
основная и дополнительная заработная плата основных
рабочих;
-
ЕСН;
|
101,75
6,66
132,8
34,53
|
0,4
0,03
0,53
0,14
|
23,07
1,51
30,11
7,83
|
|
Себестоимость по прямым
затратам
|
275,74
|
1,1
|
|
|
Косвенные расходы:
-
расходы на содержание и эксплуатацию оборудования;
-
общецеховые расходы
|
143,41
21,82
|
0,57
0,09
|
32,52
4,95
|
|
Цеховая себестоимость
|
440,97
|
1,76
|
100
|
|
Общехозяйственные расходы
(250% от З.О.)
|
291,22
|
1,165
|
__
|
|
Внепроизводственные
расходы (3% от цеховой себестоимости)
|
13,23
|
0,05
|
__
|
|
Полная себестоимость
|
745,42
|
2,98
|
__
|
|
Прибыль (15%)
|
111,81
|
0,45
|
__
|
|
Оптовая цена
|
857,23
|
3,43
|
__
|
|
НДС (18%)
|
154,3
|
0,62
|
__
|
|
Оптовая цена с НДС
|
1011,53
|
4,05
|
__
|
5.5 Экономический анализ и расчет
экономической эффективности
Найдем затраты по времени, необходимого
для сборки-разборки одного двигателя:
Зт = Ст ∙ Тшк , (5.21)
где Ст – часовая тарифная ставка;
Тшк – штучно-калькуляционное время,
необходимое на сборку-разборку одно двигателя.
Без использования приспособления для
сборки-разборки двигателя:
Зт = 38,3 ∙ 16 = 612,8 руб.
С использованием приспособления
для сборки-разборки двигателя:
Зт = 38,3 ∙ 7,9 = 302,6 руб.
Найдем экономию средств, при сокращении
штучно-калькуляционного времени на разборку-сборку двигателя КамАЗ-740.10-Д.
Эцедин = 612,8 – 302,6
= 310,2 руб.
Найдем экономию за год:
Эг = Эцедин ∙ Р, (5.22)
где Р – число рабочих дней в году.
Эг = 350,7 ∙
249 = 77,24 тыс. руб.
При
условии, что без использования приспособления, за год выполнялось процессов
сборки-разборки 125 двигателей, так как время выполнения сборки-разборки
двигателя занимало 2 рабочих дня, то при использовании приспособления для
сборки-разборки двигателя, за год будет выполнена программа в 250 двигателей.
Таким образом, в первом случае при процессе сборки-разборки двигателя прибыль
составит:
Пбез пр. = 450 ∙
125 = 56250 руб.
А
при использовании приспособления:
Пс пр. = 450 ∙
250 = 112500 руб.
Таким
образом, чистая прибыль при использовании приспособления:
П =
112500 – 55025 = 57475 руб.
Общая
экономия по годовой программе в 250 двигателей, составляет:
Эпрог. = 77240 + 57475
= 134,715 руб.
Таблица
5.17 – Технико-экономические показатели процесса сборки-разборки двигателя
КамАЗ 740.10-Д
|
Наименование
показателей
|
Единица измерения
|
Значения показа-телей
|
|
|
Годовой выпуск процессов
сборки-разборки двигателей:
-в натуральном
выражении
-
-в стоимостном (по себестоимости)
|
шт.
тыс. руб.
|
250
1011,53
|
|
|
Общая стоимость
основных производственных фондов участка
|
тыс. руб.
|
380,253
|
|
|
Общая внутренняя
площадь участка
-в том числе
производственная
|
м2
м2
|
21,22
16,32
|
|
|
Общая численность
работающих
-в том числе основных
рабочих
|
чел.
чел.
|
6
1
|
|
|
Выпуск продукции на
одного работающего (производительность труда)
-в натуральном
выражении
-в стоимостном
выражении (по себестоимости)
|
шт./чел
тыс. руб./чел
|
42
168,6
|
|
|
Выпуск продукции на одного
основного рабочего
-в натуральном
выражении
-в стоимостном
выражении (по себестоимости)
|
шт./чел.
тыс. руб./чел.
|
250
1011,53
|
|
|
Фондовооруженность
|
тыс. руб./чел.
|
63,37
|
|
|
Фондоёмкость
|
руб./(руб./год)
|
0,38
|
|
|
Фондоотдача
|
руб./(руб./год)
|
2,66
|
|
|
Трудоемкость
сборки-разборки одного двигателя
- без использования
приспособления
- с использованием
приспособления
|
ч.
ч.
|
16
7,9
|
|
|
|
Себестоимость
сборки-разборки одного двигателя
|
тыс. руб.
|
2,98
|
|
|
Стоимость
сборки-разборки одного двигателя
|
тыс. руб.
|
4,05
|
|
|
Экономия по стоимости
- на единицу
- на годовую
программу выпуска
|
руб.
тыс. руб.
|
538,9
134,715
|
|
|
Прибыль
- на единицу
- на годовую
программу выпуска
|
руб.
тыс. руб.
|
450
111,81
|
|
|
Рентабельность
|
%
|
29,4
|
|
|
Критический годовой
объем производства (Nкр)
|
шт.
|
82
|
|
Выводы
по разделу: в результате выполнения организационно экономического раздела был
произведён расчёт стоимости внедряемого приспособления в производство, а также
рассчитана экономическая эффективность от его внедрения. Было установлено, что
при использовании приспособления в производстве происходит экономия средств, в
пересчёте на годовую программу она составляет 135 тысяч рублей.
Заключение
Основные
выводы по результатам проведенной работы таковы:
1 В
технологическом разделе определенно:
- годовой объём
работ станции технического обслуживания 15652,6 чел∙ час;
- годовой объем
работ по ЕО, ТО-1 , ТО-2 и ТР 6203, 842,9, 1032,7, 7574 чел∙ ч.
соответственно;
- необходимое
количество производственных рабочих 9 человек;
- необходимое
количество постов Д, ТО-1, ТО-2 и ТР 1, 3, 3, 3, соответственно;
- необходимые
производственные площади для зон ТО-1, ТО-2, Д, и ТР 360, 360, 90, 360 м2 соответственно.
2 В
конструкторском
разделе описан
принцип работы и устройство разработанной конструкции приспособления для
сборки-разборки двигателя КамАЗ 740.10-Д. Приведённые расчёты показали, что
спроектированное приспособление работоспособно.
3 В
разделе БЖД разработан
комплекс мероприятий по снижению опасных и вредных производственных факторов на
организм человека до безопасных значений, а также комплекс мероприятий по
снижению вредного воздействия от производственной деятельности предприятия на окружающую
среду.
4 В
организационно-экономическом разделе выполнена оценка экономической
эффективности от внедрения спроектированного приспособления для сборки-разборки
двигателя КамАЗ 740.10-Д в производство, определена цена приспособления и
установлены затраты на проектирование приспособления.
Список
использованных источников
1. Анурьев
В.И. Справочник конструктора машиностроителя. Т1.,Т2.,Т3.- М.: Машиностроение,
1980.
2 Гузенков П.Г. Детали машин. –М.:
Высш. шк., 1992.
3 Под
редакцией Е.С.Кузнецова. Техническая эксплуатация автомобилей. Третье издание. -М.:
Транспорт,1991.
4 Положение
о техническом обслуживании и ремонте подвижного состава автомобильного
транспорта. - М.: Транспорт.
1986. - 73 с.
5 Смелов
А.П. и др. Курсовое и дипломное проектирование по ремонту машин. Третье
издание. –М.: Колос,1984.
6 Альбом
технологических карт на ремонт двигателя ЗМЗ,ЗИЛ. М.: ГОСНИТИ, 1988.
7 Бураев
Ю.В. Безопасность жизнедеятельности на транспорте: учеб. Дне студентов высших
учебных заведений / Ю.В. Бураев – М.:Академия 2004.-288с.
8 ОНТП-01-91.
Общесоюзные нормы технологического проектирования предприятий автомобильного
транспорта. - М.:
Гипроавтотранс, 1991. -184
с.
9 Напольский
Г.М. Технологическое проектирование автотранспортных предприятий и станций
технического обслуживания. - М.: Транспорт, 1993. - 271 с.
10 Техническая
эксплуатация автомобилей. Методические указания к выполнению курсового проекта
/ сост.: А.А. Давыдов, Е.В. Агеев; Курск. гос. техн. ун-т. - Курск: 2006. - 52 с.
11 Техническая
эксплуатация автомобилей: учебник для ВУЗов./ под общ. ред. Е.С. Кузнецова.
Изд. 4-е, перераб. и доп. -
М.: Наука, 2001. - 535 с.
12 Сысоев
А.П., Агеев Е.В.. Организация производства технического обслуживания и текущего
ремонта автомобилей: учебное пособие / Курск. гос. ун-т. - Курск, 2007. - 192 с.
13 Сысоев
А.П., Агеев Е.В.. Эксплуатация, обслуживание и ремонт автомобилей: учебное
пособие / Курск. гос. ун-т. -
Курск: 2007. - 111 с., ил. 63;
табл. 5, прилож. 16.
14 Проектирование
предприятий автомобильного транспорта. Методические указания к практическим
занятиям / сост. Е.В. Агеев; Курск. гос. техн. ун-т; Курск. техн. ин-т. - Курск: 2006. - 44 с.
15 Туревский
И.С. Техническое обслуживание автомобилей. Книга 1. Техническое обслуживание и
текущий ремонт автомобилей. -
М.: Форум: Инфра-М, 2005. -
432 с.
16 Табель
технологического оборудования и специализированного инструмента для АТП, АТО и
БЦТО. - М.: ЦБНТИ Минавтотранса РСФСР, 1983.
- 98с.
17 Автомобили,
автобусы, троллейбусы, прицепной состав, автопогрузчики серийного производства.
Номенклатурный каталог НИИАТ. -
М.: НИИ стандартавтосельхозмаш, 1991. -
182 с.
18 Коган
Э.И., Хайкин В.А.. Охрана труда на предприятиях автомобильного транспорта. - М.: Транспорт, 1984. - 253 с.
19 Кузнецов
Ю.М.. Охрана труда на предприятиях автомобильного транспорта. - М.: Транспорт, 1986. - 272 с.
20 Экономика
организаций (предприятий): Учебник для вузов / Под ред. В.Я. Горфиксля, В.А.
Швандера. – М.: ЮНИТИ, 2003. – 608 с.