Технічне обслуговування та ремонт системи охолодження двигуна ВАЗ-2109

  • Вид работы:
    Реферат
  • Предмет:
    Транспорт, грузоперевозки
  • Язык:
    Русский
    ,
    Формат файла:
    MS Word
    3,15 Mb
  • Опубликовано:
    2010-10-01
Вы можете узнать стоимость помощи в написании студенческой работы.
Помощь в написании работы, которую точно примут!

Технічне обслуговування та ремонт системи охолодження двигуна ВАЗ-2109












Тема: ТО та ремонт системи охолодження двигуна ВАЗ-2109

Зміст

Вступ

1. Загальні відомості

2. Охолодні рідини

3. Будова системи охолодження двигуна ВАЗ-2109

4. Технічне обслуговування системи охолодження

4.1 Перевірка рівня і щільності рідини в системі охолодження

4.2 Заправлення системи охолодження рідиною

4.3 Регулювання натягу пасу приводу насоса

4.4 Насос охолодної рідини

4.5 Контроль

5. Ремонт системи охолодження

6. Вимоги до інструменту для виконання технічного обслуговування та ремонту

Список використаної літератури


Вступ


Двигун працює нормально тільки при певному тепловому режимі. Якщо циліндри та поршні від зіткнення з гарячими газами перегріваються, то підвищується їх зношуваність через вигоряння мастильного матеріалу. Відбувається коксування масла з відкладенням нагару. Зменшення зазорів внаслідок теплового розширення поршнів у циліндрах. Одночасно знижується потужність через погіршення наповнення циліндрів.

Таких негативних наслідків можна уникнути, якщо охолоджувати гарячі деталі двигуна. Проте надмірне охолодження теж неприпустиме. Якщо двигун переохолоджений, то збільшуються втрати тепла в процесі перетворення її в механічну енергію. Крім того, паливо погано випаровується, важко займається і не повністю згоряє, що знижує потужність і економічність двигуна, а значне утворення нагару при неповному згорянні палива може призвести до залягання поршневих кілець і зависання клапанів. Зношуваність у переохолодженому двигуні теж збільшується, оскільки відбувається конденсація продуктів згоряння, які, перебуваючи в рідкому стані, викликають сильну корозію гільз циліндрів, поршнів і поршневих кілець. Через збільшення затримки самозаймання палива підвищується жорсткість роботи. Найвигідніший тепловий стан двигуна в межах 85-95°С підтримує система охолодження, яка відводить зайве тепло від деталей і передає її навколишньому повітрю. Для відведення тепла від нагрітих частин двигуна використовують рідинну примусову систему охолодження. Циркуляція охолодної рідини в такій системі відбувається під дією відцентрового насоса, що подає охолоджену воду з радіатора в сорочку охолодження блока циліндрів.

У сучасних двигунах застосовується замкнута система охолодження, ізольована від атмосфери і з'єднується з нею тільки при відкритті повітряного або парового клапанів, розташованих у пробці радіатора.

1. Загальні відомості


Температура газів у циліндрах двигуна, що працює, досягає 1800... 2000 °С. Частина теплоти, що виділяється (для карбюраторних шипунів - 21...28%, для дизелів - 29...42%), перетворюється на корисну роботу, частина (12...27% - для карбюраторних двигунів, 15...25% - для дизелів) - відводиться з охолодною рідиною.

У разі перегрівання двигуна внаслідок недостатнього відведення теплоти його потужність зменшується, а витрата палива збільшується. Крім того, це може призвести до заклинювання поршнів, обгоряння головок клапанів, вигоряння мастила, виплавляння вкладишів підшипників, руйнування поверхні шийок колінчастого вала. В карбюраторному двигуні може виникнути детонація.

У разі переохолодження двигуна внаслідок втрати теплоти його потужність знижується, збільшуються втрати на тертя через густе мастило; частина робочої суміші конденсується, змиваючи мастило зі стінок циліндра, підвищується корозійне спрацьовування стінок циліндрів унаслідок утворення сірчаних і сірчистих сполук.

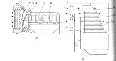
В автомобільних двигунах застосовують такі системи охолодження (рис.1.1): рідинну (здебільшого); повітряну (рідше).

Температура охолодної рідини, що міститься в головці блока циліндрів, має становити 80...95 °С. Такий температурний режим найвигідніший, забезпечує нормальну роботу двигуна й не повинен змінюватися залежно від температури навколишнього повітря та навантаження двигуна.

Рідинні системи охолодження бувають: відкриті; закриті. Відкрита система охолодження безпосередньо сполучається з навколишньою атмосферою, а закрита (рис.1.1 а), що застосовується в сучасних двигунах, - періодично, через спеціальні клапани в кришці радіатора або розподільного бачка. В закритих системах охолодження підвищується температура кипіння охолодної рідини, й вона менше випаровується. Крім того, циркуляція рідини примусова.

Рис.1.1 Принципові схеми систем охолодження двигунів:

а - рідинної; б - повітряної; 1 - радіатор; 2 - вентилятор;

3 - верхній патрубок; 4 - термостат; 5 - водяна сорочка;

6 - розподільна труба; 7 - насос; 8 - головка циліндрів;

9 - рефлектор; 10 - охолодні ребра

Для повітряних систем охолодження (рис.1.1 б) характерна безпосередня передача теплоти в атмосферу. Потрібна інтенсивність охолодження досягається за допомогою охолодних ребер 10, вентилятора 2 та рефлектора 9 Витрата охолодного повітря може регулюватися. Система проста за будовою та в експлуатації, забезпечує швидке прогрівання двигуна після запуску, має невелику масу. Недоліки системи повітряного охолодження: велика потужність, що витрачається на привод вентилятора; шумність роботи; нерівномірність відведення теплоти по висоті циліндра.

Принцип дії рідинної системи охолодження (рис.1.2). Відцентровий насос, який дістає обертання за допомогою паса від шківа колінчастого вала, засмоктує охолодну рідину з нижньої частини радіатора через патрубок і нагнітає її в сорочку охолодження циліндрів. Охолодна рідина обмиває насамперед найбільш нагріті деталі двигуна, Підбирає частину теплоти, а потім через верхній патрубок подається у верхній бачок радіатора. Проходячи крізь серцевину радіатора в нижній бачок, нагріта рідина охолоджується й знову спрямовується до відцентрового насоса.

Рис.1.2 Схема системи охолодження двигуна автомобілів: 1, 5-зливальні краники; 2-гільза циліндра; 3 - випускний трубопровід; 4 - відвідний шланг до опалювача; 6-вентилятор; 7-жалюзі радіатора; 8-радіатор; 9 - кришка заливної горловини; 10 - розширювальний бачок; 11-термостат; 12 - датчик покажчика температури охолодної рідини; 13-відцентровий насос; 14 - відвідний шланг камери підігрівання впускного трубопроводу; 15-камера підігрівання впускного трубопроводу; 16-впускний трубопровід; 17 - кран відбирання рідини в опалювач; 18 - покажчик температури охолодної рідини; 19 - сорочка головки блока циліндрів; 20 - сорочка блока циліндрів

Водночас частина нагрітої рідини надходить у сорочку впускного трубопроводу для підігрівання пальної суміші, а також у разі потреби відводиться через спеціальний кран в опалювач салону кузова.

Радіатор призначається для охолодження рідини, що відводить теплоту від двигуна. Він складається з нижнього та верхнього латунних бачків, припаяних до серцевини, патрубків і заливної горловини і пробкою (рис.1.3).

Рис.1.3 Радіатор:

а - будова; б - трубчаста серцевина; в - пластинчаста серцевина;

1 - верхній бачок з патрубком; 2 - паровідвідна трубка; 3 - заливна горловина з пробкою; 4 - серцевина; 5 - патрубок із зливальним краником; 6 - нижній бачок; 7 - трубки; 8 - поперечні пластини

Патрубки бачків через прогумовані шланги сполучають радіатор 11 з сорочкою охолодження блока циліндрів. Заливна горловина радіатора герметично закривається пробкою (рис.1.4), в яку встановлено випускний (паровий) 7 і перепускний (повітряний) 9 клапани.

Рис.1.4 Пробка радіатора:

1 - патрубок для приєднання трубки до розширювального бачка; 2 - горловина радіатора; 3 - кришка пробки; 4 - прокладка кришки; 5, 6 - пружини відповідно випускного клапана та кришки; 7, 9 - відповідно випускний і перепускний клапани; 8, 10 - прокладки відповідно випускного й перепускного клапанів

Випускний клапан 7 відкривається, коли тиск у системі охолодження підвищується до 0,15 МПа.

При цьому вода, що застосовується як охолодна рідина, закипає за температури 109 °С. Якщо клапан стерильний, рідина, яка закипає, або пара відводиться у розширювальний бачок, що запобігає руйнуванню радіатора й патрубків.

Перепускний клапан 9 відкривається, коли тиск у системі знижується до 0,01 МПа внаслідок зменшення об'єму охолодної рідини або конденсації парів рідини під час остигання двигуна.

При цьому в радіатор надходить рідина з розширювального бачка, що запобігає сплющуванню трубок серцевини радіатора атмосферним тиском.

Розширювальний бачок 10 (див. рис.1.2), який виготовляється із пластмаси, містить певний об'єм охолодної рідини й слугує для конпенсації зміни об'єму охолодної рідини в системі охолодження під час роботи двигуна.

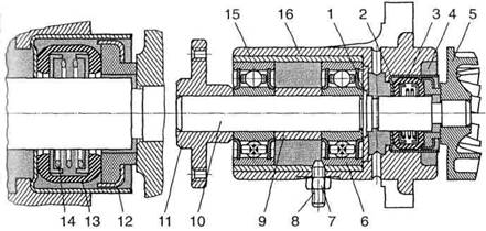
Відцентровий водяний насос установлюється в передній частині блока циліндрів і забезпечує примусову циркуляцію рідини в системі охолодження. Він складається з алюмінієвого корпусу 16 (рис.1.5), в якому запресовано сталевий стакан.

У стакані розміщено два підшипники, на яких установлено вал 10. Підшипники заповнюються мастилом (змащувати їх не треба до ремонту). На передньому кінці вала напресовано маточину 11 вентилятора, а на задньому - чавунну крильчатку 5.

Рис.1.5 Водяний насос: 1 - стопорне кільце; 2 - корпус ущільнювача; 3 - манжета; 4 - ущільнювальна шайба; 5 - крильчатка; 6 - підшипник; 7 - контргайка; 8 - стопорний гвинт підшипника; 9 - розпірна втулка; 10 - вал; 11 - маточина; 12 - корпус ущільнювальної шайби; 13 - обойма; 14 - пружина; 15 - стакан підшипників; 16 - корпус насоса

Ущільнення заднього кінця вала на виході його з корпусу досягається самоущільнювальним сальником з ущільнювальною шайбою 4, розміщеною всередині корпусу сальника, по поверхні якої своїм торцем ковзає крильчатка. Всередині корпусу сальники встановлено також гумову манжету 3 й розтискну пружину 14, Остання через латунні обойми 13 притискає торці манжети до корпусу ущільнювальної шайби 12 сальника. Щоб запобігти прониканню рідини в корпус насоса (в разі несправності сальника), в ньому зроблено дренажний (контрольний) отвір, крізь який рідина витікає назовні. Це запобігає також вимиванню мастила з підшипника. До маточини 11 вентилятора болтами прикріплюється шків привода відцентрового насоса та вентилятора.

Привод здійснюється трапецієподібним пасом від шківа колінчастого вала. Цим самим пасом приводиться в обертання генератор під час роботи двигуна крильчатка насоса своїми лопатями захоплює охолодну рідину, що надходить з нижнього бачка радіатора, під дією відцентрової сили відкидає її до стінок корпусу й нагнітає в сорочку блока й головки циліндрів.

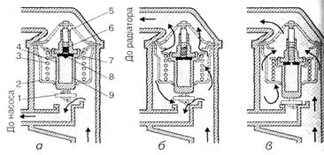
Термостат - двоклапанний, призначається для прискорення підігрівання двигуна після пуску й автоматичного підтримання найвигіднішого теплового режиму двигуна під час руху автомобіля. Його встановлюють у корпусі відвідного патрубка головки циліндрів. Термостат двигуна складається з корпусу 2 (рис.1.6), в якому розміщено рухоме осердя 4 з двома клапанами: перепускним 1 та основним 7.

Рис.1.6 Схема роботи термостата:

а - циркуляція рідини по малому колу під час прогрівання холодного двигуна;

б - циркуляція по малому та великому колам (початкове відкривання клапана);

в - циркуляція по великому колу (повне відкриття клапана, двигун прогріто до нормальної температури)

У початковому (верхньому) положенні осердя втримується поворотною пружиною 3. Всередині осердя розміщено реактивний штифт 5, гумовий буфер 6, гумову діафрагму 8 і тверду термочутливу речовину - церезин (кристалічний віск) 9, що має великий коефіцієнт об'ємного розширення. Під час прогрівання двигуна після пуску (рис.1.6 а) основний клапан 7закритий, а перепускний 1 - відкритий, і охолодна рідина циркулює по малому колу, минаючи радіатор: від відцентрового насоса в сорочку охолодження й через перепускний клапан 1 термостата назад до насоса. Таким чином охолодна рідина, циркулюючи тільки сорочкою охолодження, швидко нагрівається й прогріває двигун. У міру нагрівання охолодної рідини церезин в осерді термостата починає плавитися й, розширюючись, вибиває діафрагму 8, передаючи через буфер 6 зусилля на штифт 5. Останній, упираючись у корпус, переміщує осердя 4 з клапанами вниз, відкриваючи основний клапан і прикриваючи перепускний.

При цьому нагріта рідина починає частково надходити через основний клапан 7 у радіатор, а частково - через перепускний до насосу (рис.1.6 б). Коли охолодна рідина прогріється до температури 90...94 °С, основний клапан повністю відкривається, а перепускний - закривається. В цей час циркуляція всієї рідини відбуватиметься по великому колу через радіатор (рис.1.6 в).

Вентилятор - чотирилопатевий, пластмасовий, слугує для створення сильного потоку повітря, що просмоктується через серцевину радіатора, для швидшого охолодження в ньому рідини. Лопаті вентилятора разом із приводним шківом кріпляться болтами до маточини вала відцентрового насоса.

Жалюзі регулюють інтенсивність обдування радіатора зустрічним потоком повітря. Складаються з вертикальних пластин, шарнірно закріплених угорі та внизу перед радіатором. Повертання пластин для зміни кількості повітря, що проходить крізь серцевину радіатора, а отже, регулювання температури охолодної рідини здійснюються рукояткою з місця водія. Коли рукоятка всунута до кінця, жалюзі відриті, й повітря вільно проходить крізь серцевину радіатора. Прикриваються жалюзі витягуванням рукоятки. Це потрібно для прискорення прогрівання двигуна й під час руху за низьких температур навколишнього повітря.

Для зливання охолодної рідини із системи є два зливальних краники. Один із них, установлений з лівого боку на підвідному патрубку відцентрового насоса, закривається повертанням управо спеціальної тяги, шарнірно з'єднаної зі стержнем краника. Другий краник, розташований з правого боку в нижній частині сорочки блока циліндрів, закривається переміщенням тяги вниз. Для відкривання краника тягу переміщують угору.

2. Охолодні рідини


Система охолодження розрахована на всесезонне використовування антифризів марок Тосол-А40М і Тосол-А65М. Застосування антифризів запобігає руйнуванню двигуна і радіатора від розморожування, в системі не утворюється накип і зменшується корозія деталей. Антифриз отримують розбавленням технічного етиленгліколю дистильованою водою. Щоб зменшити шкідливу дію етиленгліколю на метали, до складу антифризу додають антикорозійні присадки.

Тосоли - складні рідини. Вони мають високі експлуатаційні показники і випускаються промисловістю трьох видів: концентрат Тосол-АМ і два його водні розчини, готові до вживання, - Тосол-А40М і Тосол-А65М.

Позитивною властивістю етиленгліколевих розчинів є те, що при замерзанні вони утворюють рихлу масу, не порушуючи герметичності системи охолодження, і не призводять до пошкодження деталей. Так, наприклад, у Тосола-А40М при температурі - 40°С на поверхні рідини утворюються перші кристали льоду. При подальшому зниженні температури кристалізація води продовжується, а етиленгліколь залишається рідким. До температури - 70°С антифриз є рухомою кашоподібною масою, яка не здатна розірвати ні радіатор, ні стінки сорочки охолодження блока циліндрів. Річ у тому, що зі зниженням температури об'єм етиленгліколю зменшується і створюється можливість нарощування крижаних кристалів без шкоди для двигуна.

Тільки при температурі нижче - 70°С антифриз загусне настільки, що перетвориться на щільну масу, яка вже може вивести з ладу двигун. Все сказане стосується тільки свіжого тосола. Дослідним шляхом встановлено, що антифриз тосол у системі охолодження надійно працює лише протягом 60000 км пробігу автомобіля, тому рекомендується щорічно перед зимовою експлуатацією проводити зміну антифризу в системі охолодження.

У процесі роботи рівень антифризу в системі може знижуватися через випаровування води. Концентрат Тосол-АМ не випаровується, оскільки температура його кипіння не нижче +170°С. Тому при зниженні рівня, якщо не було витоку антифризу, в систему додають дистильовану або пом'якшену (наприклад, переварену) воду.

Додавати звичайну жорстку воду в Тосол не варто, бо кожний грам солей, що містяться в ній, "вбиває" таку ж кількість присадок, які перешкоджають корозії металів.

Тосол має ще одну якість - він розчиняє накип. Це дуже важливо для експлуатації автомобілів, оскільки відкладення накипу на внутрішніх поверхнях системи охолодження двигуна помітно знижує її ефективність.

Трапляється, що в систему охолодження двигуна, який тривалий час працював із застосуванням води як охолодної рідини, заливають антифриз. Герметичність системи охолодження після цього порушується. Пояснюється це тим, що прокладки, манжети та інші ущільнювачі системи охолодження з часом втрачають свою еластичність, на них з'являються тріщини. Вони поступово розширюються і заглиблюються, але одночасно заповнюються накипом, який запобігає можливому протіканню рідини. Герметичність такого ущільнення порушиться, як тільки тосол розчинить накип.

Запобігання відкладенню накипу у сорочках охолодження і трубках радіатора має особливо важливе значення. Накип погано проводить тепло і тому різко погіршує дію системи охолодження. Утворюється накип унаслідок випадання в осад мінеральних солей. Вода, що містить багато солей, називається жорсткою. Це визначається за такою ознакою як погане піноутворення в ній мила.

У системах охолодження рекомендується застосовувати дощову або снігову воду (в ній немає солей). Якщо ж все-таки доводиться використовувати жорстку воду, її потрібно заздалегідь пом'якшити. Найпростіший спосіб - кип'ятіння протягом 30-40 хв. За цей час велика частина солей випадає в осад. Воді дають відстоятися і заливають у систему. Злита з двигуна вода рівноцінна кип'яченій, тому її збирають для повторного використовування. Пом'якшують воду і різними хімічними препаратами, наприклад тринатрійфосфатом. Якщо його розчинити у воді, він не тільки пом'якшить її, але й поступово зруйнує старий накип і утворить на стінках міцну плівку, що оберігатиме метал від корозії. Для приготування розчину 3 кг тринатрійфосфату розчиняють у 10 л води, залишають на 3-5 год, а потім на відро води додають 100-600 мл розчину залежно від її жорсткості.

Також можна рекомендувати зменшити концентрацію етиленгліколю в антифризі для автомобілів, що експлуатуються в умовах з м'яким кліматом. Це сприяє зниженню вартості і дефіциту антифризу. Крім того, антифриз стає менш агресивним щодо металів і гуми. Важливим в експлуатації є таке: чим менше етиленгліколю в розчині, тим кращі теплофізичні властивості антифризу і менше його розширення при нагріванні.

3. Будова системи охолодження двигуна ВАЗ-2109


Система охолодження - рідинна, закритого типу, із примусовою циркуляцією рідини, з розширювальним бачком.

Насос охолодної рідини відцентрового типу, приводиться в дію від шківа колінчатого вала клиноподібним пасом 14 (Рис.3.1).

Вентилятор 11 має чотирьохлопатеву крильчатку, що кріпиться болтами до маточини 5 (Рис.3.3) шківа 8, приводиться в дію від пасу приводу насоса.

Термостат із твердим термочутливим наповнювачем має основний 9 (Рис.3.2) і перепускний 2 клапани. Початок відкриття основного клапана при температурі охолодної рідини 77-86°С, хід основного клапана не менш 6 мм.

Радіатор - вертикальний, трубчасто-пластинчастий, із двома рядами трубок і сталевих луджених пластин. У пробці 8 (Рис.3.1) заливної горловини маються впускний і випускний клапани.

Рис.3.1 БУДОВА СИСТЕМИ ОХОЛОДЖЕННЯ ДВИГУНА ВАЗ-2109: 1 - трубка відводу рідини від радіатора нагрівника; 2 - патрубок відводу гарячої рідини з головки циліндрів у радіатор нагрівника; 3 - перепускний шланг термостата; 4 - випускний патрубок сорочки охолодження; 5,13 - шланг радіатора; 6 - розширювальний бачок; 7 - сорочка охолодження; 8 - пробка радіатора; 9 - трубка радіатора; 10-кожух вентилятора; 11 - вентилятор; 12 - шків; 14 - пас вентилятора; 15 - насос охолодної рідини; 16 - шланг подачі охолодної рідини в насос; 17 – термостат

Рис.3.2 Термостат:

1 - вхідний патрубок (від двигуна); 2 - перепускний клапан;

3 - пружина перепускного клапана; 4 - склянка; 5 - гумова вставка;

6 - вихідний патрубок; 7 - пружина основного клапана;

8 - сідло основного клапана;

9 - основний клапан; 10 - тримач;

11 - регулювальна гайка; 12 - поршень; 13 - вхідний патрубок від радіатора;

14 - наповнювач; 15 - обойма.

Д - вхід рідини від двигуна;

Р - вхід рідини від радіатора;

Н - вихід рідини до насоса

Рис.3.3 Поздовжній розріз насоса охолодної рідини: 1 - корпус; 2 - кришка; 3 - гайка кріплення кришки насоса; 4 - вентилятор; 5 - маточина шківа; 6 - накладка; 7 - валик; 8 - шків; 9 - стопорний гвинт підшипника, 10 - підшипник; 11 - сальник; 12 - крильчатка

4. Технічне обслуговування системи охолодження

 

4.1 Перевірка рівня і щільності рідини в системі охолодження


Правильність заправлення системи охолодження перевіряється за рівнем рідини в розширювальному бачку, що на холодному двигуні (при 15 - 20°С), повинний знаходитися на 3 - 4 мм вище мітки "МIN", нанесеної на розширювальному бачку.

Рівень охолодної рідини рекомендується перевіряти на холодному двигуні, тому що при нагріванні її об’єм збільшується й у прогрітого, двигуна рівень рідини може значно піднятися.

При необхідності перевіряйте ареометром щільність охолодної рідини, що повинна бути 1,078 - 1,085 г/см3. При низькій щільності і при високій (більше 1,085 - 1,095 г/см3) підвищується температура початку кристалізації рідини, що може привести до її замерзання в холодний час року.

Якщо рівень рідини в бачку нижче норми, а щільність вище норми, то доливайте дистильовану воду. Якщо щільність нормальна, доливайте рідину тієї ж щільності і марки, яка знаходиться в системі охолодження.

Якщо щільність рідини в системі охолодження нижче норми, доведіть її до норми, використовуючи рідину ТОСОЛ - А.

4.2 Заправлення системи охолодження рідиною


Заправлення відбувається при зміні охолодної рідини або після ремонту двигуна. Операції по заправленню виконуйте в наступному порядку:

зніміть пробки з радіатора і з розширювального бачка і відкрийте кран нагрівника;

залийте охолодну рідину в радіатор, а потім і в розширювальний бачок, попередньо поставивши пробку радіатора. Закрийте пробкою розширювальний бачок;

запустіть двигун і дайте йому попрацювати на холостому ході 1 - 2 хв

для видалення повітряних пробок.

Після охолодження двигуна перевірте рівень охолодної рідини. Якщо рівень нижче нормального, а в системі охолодження немає слідів підтікання, то долийте рідину.

4.3 Регулювання натягу пасу приводу насоса


Натяг пасу перевіряється його прогином між шківами генератора і насоса або між шківами насоса і колінчатого вала. При нормальному натягу ременя прогин А

(Рис.4.1) під зусиллям 10 кгс (98 Н) повинний бути в межах 10-15 мм, а прогин В в межах 12-17 мм.

Для збільшення натягу ременя, послабивши гайки кріплення генератора, змістите його від двигуна і затягніть гайки.

Рис.4.1 Схема перевірки натягу ременя приводу насоса

4.4 Насос охолодної рідини

Розбирання

Для розбирання насоса:

від’єднайте корпус 1 насоса від

кришки 2 (Рис.4.2);

Рис.4.2 Насос охолодної рідини

закріпите кришку у лещатах, використовуючи прокладки, і зніміть крильчатку з валика знімачем А.40026 (Рис.4.3);

Рис.4.3 Зняття крильчатки насоса: 1 - зйомник; 2 – крильчатка зніміть маточину 2 (Рис.4.4) шківа вентилятора з валика за допомогою знімача А.40005/1/5;

Рис.4.4 Зняття маточини шківа: 1 - кришка корпуса насоса; 2 - маточина шківа; 3 – знімач виверніть стопорний гвинт 9 (мал.4.2) і вийміть підшипник з валиком насоса; видаліть сальник 11 із кришки 2 корпуса

4.5 Контроль


Перевірте вісьовий зазор у підшипнику (не повинний перевищувати 0,13 мм при навантаженні 49 Н (5 кгс), особливо якщо відзначався значний шум насоса. При необхідності підшипник замінити.

Сальник насоса і прокладку між насосом і блоком циліндрів при ремонті рекомендується заміняти.

Оглянете корпус і кришку насоса, деформації або тріщини не допускаються.

Зборка

Зборка насоса відбувається в наступному порядку:

встановіть оправленням сальник, не допускаючи перекосу, у кришку корпуса;

запресуйте підшипник з валиком у кришку так, щоб гніздо стопорного гвинта збіглося з отвором у кришці корпуса насоса;

закрутіть стопорний гвинт подшипника і зачеканьте контури гнізда, що

б гвинт не слабшав;

напрессуйте за допомогою пристосування А.60430 (Рис.4.5) на валик маточину шківа, витримавши розмір 84,4±0,1 мм. Якщо маточина з металокераміки, то після зняття напресовувати тільки нову;

напресуйте крильчатку на валик за допомогою пристосування А.60430, що забезпечує технологічний зазор між лопатками крильчатки і корпусом насоса 0,9 - 1,3 мм;

зберіть корпус насоса з кришкою, установивши між ними прокладку.

Рис.4.5 Напрессовка крильчатки на валик насоса пристосуванням А.60430: 1 - опора; 2 - валик насоса; 3 - кришка корпуса насоса; 4 - склянка; 5 - становлюючий гвинт

Термостат

Для цього термостат встановіть на стенді БС-106-000, опустивши в бак з водою або охолодною рідиною. Знизу в основний клапан 9 (Рис.3.2) упріть кронштейн ніжки індикатора. Початкова температура рідини в баці повинна бути 73 - 75°С.

Температуру рідини поступово збільшуйте приблизно на 1°С в хвилину при поступовому перемішуванні, щоб вона у всьому обсязі рідини була однаковою.

За температуру початку відкриття клапана приймається та, при якій хід основного клапана складе 0,1 мм.

Термостат необхідно заміняти, якщо температура початку відкриття основного клапана не знаходиться в межах 81±|°З або хід клапана менш 6,0 мм.

Найпростіша перевірка термостата може бути здійснена безпосередньо на автомобілі.

Після пуску холодного двигуна при справному термостаті нижній бачок радіатора повинний нагріватися, коли стрілка покажчика температури рідини знаходиться приблизно на відстані 3 - 4 мм від червоної зони шкали, що відповідає 80 - 85°С.

Радіатор

Щоб зняти радіатор з автомобіля потрібно:

злити рідину з радіатора і блоку циліндрів, видаливши зливальні пробки в нижньому бачку радіатора і на блоці циліндрів; кран нагрівника кузова при цьому відкрийте, а пробку радіатора видаліть із заливної горловини;

від’єднайте від радіатора шланги;

зніміть кожух вентилятора;

відверніть болти кріплення радіатора до кузова, вийміть радіатор з відсіку двигуна.

Перевірка герметичності

Герметичність радіатора перевіряється у ванні з водою. Заглушивши патрубки радіатора, підведіть до нього повітря під тиском 0,1 Мпа (1 кгс/см2) і опустіть у ванну з водою не менш ніж на 30 с. При цьому не повинно спостерігатися травлення повітря.

Незначні ушкодження латунного радіатора запаяйте м'яким припоем, а при значних потрібно замінити радіатор новим.

Незалежно від температури довкілля, навантаження і швидкісного режиму автомобіля система охолодження повинна підтримувати температуру охолодної рідини в межах 75-98°С. При цьому двигун розвиває максимальну потужність, має мінімальну витрату пального та працює з найменшим зношенням.

Працездатний стан системи охолодження забезпечується інтенсивною і регульованою циркуляцією достатньої кількості охолодної рідини, доброю теплопровідністю стінок охолодження деталей і трубок радіатора, інтенсивним і регульованим потоком повітря крізь серцевину радіатора.

Для забезпечення нормальної роботи двигуна треба ретельно обслуговувати систему охолодження.

При щоденному технічному обслуговуванні (ЩТО) перевірити рівень охолодної рідини. Для цього на холодному двигуні відкрити контрольний кран на розширювальному бачку. Якщо з крана не потече рідина - рівень недостатній. Відновлювати його доливанням охолодної рідини в наступному порядку:

закрити кран контролю рівня рідини;

зняти пробку заливної горловини розширювального бачка і долити рідину через заливну горловину на 2/3 висоти бачка;

закрити пробку заливної горловини розширювального бачка.

При технічному обслуговуванні № І (ТО-1) змастити підшипники водяного насоса.

При технічному обслуговуванні № ІІ (ТО-2):

перевірити стан і дію жалюзі радіатора;

відрегулювати натяг пасів приводу водяного насоса.

Для перевірки стану і дії жалюзі радіатора потягнути на себе і відпустити ручку керування роботою жалюзі, при цьому вони повинні закриватися і відкриватися повністю.

При експлуатації двигуна приводні паси постійно витягуються і натягнення їх зменшується. Паси починають пробуксовувати, обертаючи водяний насос з меншою частотою, що призводить до перегріву двигуна і зносу пасів. При сильному натягненні пасів збільшується навантаження на підшипники водяного насоса. Нормальна робота системи охолодження залежить від надійної роботи приводних пасів, тому необхідно оберігати їх від попадання на них масла і палива, контролювати натяг і, якщо необхідно, регулювати його. Особливо ретельно перевіряти натяг пасів у перші 50 год. роботи двигуна, оскільки в цей час відбувається їх найбільше розтягування.

Натяг пасів перевіряють натисканням зусиллям у 40 Н на середину найбільшого проміжку між шківами. Нормально натягнуті паси при цьому повинні прогинатися на 15-22 мм.

5. Ремонт системи охолодження


Характерними дефектами радіаторів водяної системи охолодження є: відкладення накипу на внутрішніх стінках і засмічення резервуарів і трубок, відпаювання трубок від опорних пластин; ушкодження трубок і охолодних пластин; тріщини на нижніх і верхніх резервуарах. Зазначені несправності приводять до порушення теплового режиму двигуна і його перегріву.

Більшість ушкоджень виявляють зовнішнім оглядом та випробуванням радіатора під тиском, попередньо очистивши його від бруду і накипу. Зовні радіатора бруд видаляють струменем води, а потім продувають його стисненим повітрям. Ушкоджені охолодні пластини вирівнюють правилкою. Накип усередині радіатора видаляють промиванням 5% розчином соляної кислоти з додаванням 2...3 г/л інгібітору ПБ-5 або И-1М (2М), а також 5% розчином фосфорної кислоти з додаванням 1...2% хромового ангідриду. Температура розчину 60...80°С, час промивання 5...15 хв у залежності від товщини і хімічного складу накипу і застосовуваних реагентів.

Потім радіатор промивають у лужному розчині марки СМС. Серцевини радіаторів, що мають товсті і щільні відкладення, кип'ятять у 5...6% водному розчині каустичної соди протягом 25...30 хв, потім шомполом прочищають трубки, промивають їхньою гарячою водою і продувають стисненим повітрям.

Потім радіатори перевіряють на герметичність водою або повітрям під тиском 0,10...0,15 МПа протягом 2...3 хв. Теча і просочування води (повітря) не допускаються.

Для перевірки стану радіаторів до і після ремонту застосовують стенди типу КП-2002. Стан кожної трубки серцевини визначають у ванні з водою, подаючи стиснене повітря до трубки. По появі пухирців повітря знаходять місця ушкодження трубки. Серцевини радіаторів вибраковують при наявності більш 25% ушкоджених трубок, а також при ушкодженні опорних і охолодних пластин.

Ушкодження в трубках зовнішніх рядів запоюють припоем ПОС-3. Ушкоджені внутрішні рядки трубок запаюють з обох кінців, попередньо зжавши плоскогубцями. Запаювати допускається не більш 5% трубок радіатора. Якщо ушкоджені більш 5% трубок заміняють новими. Для цього ушкоджені трубки нагрівають до температури 300...400 °С и відпаюють їх від опорних охолодних пластин. Нагрівання роблять гарячим повітрям або нагрітим шомполом. Замість ушкоджених трубок впаюють нові або відновлені.

Пайку радіатора роблять за допомогою спеціальних паяльників, використовуючи для цього припой ПОС-30 і флюс - хлористий цинк. Тріщини і розриви в сталевих і латунних резервуарах усувають пайкою або припаюванням латок м'яким припоем. Після ремонту серцевину, а потім радіатор у зборі випробують на герметичність.

Накип з термостатів видаляють так, як із серцевин водяних радіаторів. Тріщини в гофрованому елементі термостата запаюють олов'янисто-свинцевим припоем. Перед пайкою порожнину елемента заповнюють 15% розчином етилового спирту.

Після відновлення термостат випробують у ванні з підігрітою водою. Початок відкриття клапана повинний бути при 70 °С, а повне відкриття при 85 °С. Повний підйом клапана повинний бути в межах 9,0...9,5 мм. Його регулюють довжиною ходу штока.

Основними дефектами деталей водяного насоса є: ушкодження деталей ущільнення і підшипників; знос посадкових місць під підшипники і сальники у корпусі і на валику; бічних поверхонь лопаток; ушкодження різьблення і шпонкових пазів; тріщини в корпусі.

Ушкоджені (зношені) ущільнення і підшипники заміняють новими. Тріщини в корпусі насоса заварюють біметалічними електродами газовим зварюванням або латунними прутками припоями ЛОК (ЛОМНА), дротом ПАНЧ-11 і т.п. Ушкоджене різьблення рассверливают і нарезают нову збільшеного розміру або ставлять різьбові вставки.

На зношені посадкові місця під підшипники наносять шар металу насталюванням або склад на базі епоксидної смоли, потім їх розточують до нормального розміру. Ушкоджені поверхні під втулки рове до виведення слідів зносу, потім запресовують ремонтні з натягом 0,015...0,045 мм. Після запресовування втулки розвертають (розточують) у розмір. Нерівності торцевых поверхонь корпусів усувають проточуванням або шліфуванням. Торцеве биття не повинно бути більш 0,1 мм у крайніх точок.

Зношені посадкові місця валика водяного насоса під підшипники і сальники, а також ушкоджену різьбову поверхню наплавляють у середовищі вуглекислого газу (пари і т.п.). Після наплавлення різьбову поверхню обточують і нарізають нову різьбу, а посадкові місця після обточування шліфують до нормального розміру. Шпонкові пази, при зазорі більш 0,05 мм, фрезерують під збільшений розмір або фрезерують у новому місці паз нормального розміру.

При зборці насоса звертають увагу на напрессовку підшипників, установку ущільнень. У зібраному насосі валик повинний легко обертатися від руки. Зібраний насос обкатують протягом 3 хв при температурі води 85...95 °С. Після ремонту насос перевіряють на герметичність під тиском 0,07...0,12 МПа протягом 1 хв при обертовому і не обертовому валику. Підтікання води не допускається.

У вентиляторів зношуються посадкові місця під підшипники в шківах і конічні поверхні струмка під пас; буває ослаблення заклепок, вигин лопат і хрестовини.

Зношені посадкові місця шківа розточують і на эпоксидному клею установлюють втулку, що потім розточують до нормального розміру. Можна відновлювати посадкове місце осталюванням з наступним розточуванням.

Контроль зносу струмків у шківах виробляється калібром і щупом. Допускається просвіт між калібром і стінками струмка до 0,4 мм. При зносі до 1 мм струмки проточують до виведення зносу.

При ослабленні кріплення лопатей заклепки підтягують, а якщо отвори під заклепки мають овальну форму, їхній разсвердлюють і ставлять заклепки збільшеного діаметра. При заміні лопатей, різниця в їхній масі не повинна перевищувати 3... .5 р. Кромки лопатей повинні лежати в одній площині, відхилення допускається не більш 1 мм, при більшому - хрестовину і лопатей правлять. При виправленні хрестовини повинна бути збережені форма і кут нахилу лопатей щодо площини обертання. Кут нахилу лопатей для двигунів різних марок складає 30...35. ° Після ремонту вентилятор статично балансують на спеціальному пристосуванні. Дисбаланс допускається не більш 20 м. Якщо він більше, тоді свердлять отвори в торці чавунного шківа або з опуклої сторони лопатей приварюють або приклепують пластини.

6. Вимоги до інструменту для виконання технічного обслуговування та ремонту


До ручного інструменту відносять молотки, зубила, молоти, напилки, ножівки, ключі та ін.

Слюсарний інструмент має бути надійно закріплений на рукоятках, а його робочі поверхні повинні бути без пошкоджень. На інструменті не повинно бути тріщин, відшарувань, задирок і вибоїн.

Молотки та молоти повинні мати гладку, без вибоїн і наклепу ударну частину, щільно насаджені на дерев'яні рукоятки і заклинені на них. Рукоятки мають бути гладкі, без тріщин.

Зубила, крейцмейселі, бородки мають встановлені розміри, їх леза повинні бути заточені. Наклеп задньої частини інструмента не допускається.

Напилки повинні бути щільно закріплені у дерев'яних ручках і закріплені у них металевими кільцями.

Гайкові ключі повинні за розмірами відповідати гайкам, які відкручуються, застосування ключів більшого розміру із встановкою прокладок забороняється. Також забороняється і збільшувати довжину ключів за допомогою наставок.

Об'єкти діагностування і технічного обслуговування слід оглядати, користуючись лампою з напругою не більш як 36 В, захищеною дротяною сіткою. Застосовувати для цього сірники, факели та пальники забороняється.

Промиваючи складові частини гасом чи бензином, потрібно вживати заходів, які запобігають загорянню пари промивної рідини, забезпечувати надійність ізоляції електропроводки від замикання на корпус і появи іскри. При цьому забороняється палити.

До механізованого інструменту належить інструмент з електро - та пневмоприводом (пневмоключі, пневмомолотки, електросвердло).

До роботи з ручними електричними машинами допускають робітників, які пройшли виробниче навчання і мають кваліфікаційну групу з електробезпеки. Електричні машини слід використовувати тільки за призначенням, навантаження на них не повинно перевищувати номінальне. Забороняється експлуатувати електричні машини під дощем, а також під час снігопаду.

З електричними машинами слід поводитись обережно, дотримуючись інструкції. Кабель потрібно оберігати від випадкових пошкоджень. Його не можна натягувати й скручувати, не слід на нього що-небудь навішувати, ставити. При будь-якій перерві у роботі електричну машину слід вимкнути.

Забороняється експлуатувати електричні машини, у яких закінчився строк випробовування, при пошкодженні корпусних деталей, рукоятки або кришки щіткотримача, пошкодженню кабелю, з невстановленими або несправними кожухами, при нечіткій роботі вимикача, іскрінні щіток, при появі диму або запаху, при посиленому стуканні, шумі та вібрації.

При ураженні потерпілого струмом забезпечують безпеку шляхом захисного вимикання аварійної ділянки або мережі загалом; швидко вимикають напругу рубильником або вимикачем.

Згідно з вимогами та нормами пожежної безпеки всі виробничі, адміністративні, складські та інші будівлі та споруди виробництв оснащують і устатковують первинними засобами автоматичної системи пожежної сигналізації та первинними засобами пожежегасіння: внутрішніми пожежними кранами, вогнегасниками, скриньками з піском, азбестовими та азбесто-повстяними покривалами, пристроями пожежегасіння ручної та автоматичної дії, виробничою автоматикою для виявлення і запобігання пожеж.

Список використаної літератури


1.   Бабушко С.М. Ремонт тракторов и автомобилей. - К.: Висшая школа. 1982. - 344с.

2.   Кисликов В.Ф., Лущик В.В. Будова і експлуатація автомобілів: Підручник. - К.: Либідь, 2002. - 400с.

3.   Лауш П.В. Техническое обслуживание и ремонт машин. - К.: Высшая школа, 1989. - 350с.

4.   Полянський С.К. Будівельно-дорожні та вантажопідіймальні машини. - К.: Техніка, 2001. - 624с.

Похожие работы на - Технічне обслуговування та ремонт системи охолодження двигуна ВАЗ-2109

 

Не нашли материал для своей работы?
Поможем написать уникальную работу
Без плагиата!
Без нейросетей!