Технічне обслуговування газорозподільного механізму КамАЗ
Тема
Технічне обслуговування
газорозподільного механізму КамАЗ
ЗМІСТ
ВСТУП
1. ПРИЗНАЧЕННЯ ТА ПРИНЦИП ДІЇ
2.
ДЕТАЛІ ГАЗОРОЗПОДІЛЬНОГО МЕХАНІЗМУ
3.
ДІАГНОСТУВАННЯ Й ТЕХНІЧНЕ ОБСЛУГОВУВАННЯ
4. МОЖЛИВІ НЕСПРАВНОСТІ
ГАЗОРОЗПОДІЛЬНОГО МЕХАНІЗМУ ТА СПОСОБИ ЇХ УСУНЕННЯ
5.
ЗАХОДИ БЕЗПЕКИ
ПЕРЕЛІК ВИКОРИСТАНОЇ ЛІТЕРАТУРИ
Вступ
Для дотримання експлуатаційних параметрів
автотранспортних процесів, визначених результатами екологічного нормування,
необхідне постійне технічне удосконалення автомобілів, спрямоване на зниження
токсичності відпрацьованих газів і рівня шумів.
Науково-технічні та експериментальні дослідження
вітчизняних і закордонних фахівців свідчать, що найпродуктивнішими є три
основних напрями екологічного удосконалення рухомого складу автотранспорту.
Перший напрям пов'язаний з широким застосуванням
нейтралізаторів відпрацьованих газів і нетоксичних антидетонаторів палива, що
дасть змогу вже в найближчі десять років знизити токсичні викиди автотранспорту
у 20 разів і більше.
Другий напрям передбачає конструктивні удосконалення
систем двигунів на базі науково-технічного прогресу. Реалізація заходів цього
напряму сприятиме скороченню викидів шкідливих речовин в 9-10 разів.
До третього напряму належать заходи з розширення
мережі автомобільного сервісу та контролю токсичності відпрацьованих газів, які
забезпечать зменшення викидів двигунів у 3-4 рази порівняно з існуючими.
Протягом тривалого часу зусилля конструкторів були
скеровані на безперервне підвищення потужності автомобілів завдяки високому
ступеню стиску робочої суміші і застосуванню високооктанового бензину, при
цьому не брали до уваги вплив автомобілів на навколишнє середовище. Сьогодні
токсичність відпрацьованих газів є одним із найважливіших показників
удосконалення конструкції сучасного двигуна. Тому все більше уваги приділяється
аналізу відпрацьованих газів, склад яких достатньою мірою характеризує
економічність роботи двигуна та ступінь забруднення навколишнього середовища
автомобільним транспортом.
Практичний резерв зниження токсичності відпрацьованих
газів в найближчому майбутньому пов'язаний з удосконаленням деяких елементів
системи живлення і запалювання, карбюраторних двигунів, а також із
застосуванням малотоксичного палива і паливних присадок. Знизити вміст
концентрації оксиду вуглецю і вуглеводнів у відпрацьованих газах можна завдяки
найбільш рівномірному розподілу горючої суміші по циліндрах двигуна і усуненню
перерв запалювання. Зменшення максимальної нерівномірності горючої суміші з 35
до 10% дає змогу знизити вміст оксиду вуглецю і вуглеводів у відпрацьованих
газах відповідно на 21 і 12% при практично незмінній кількості оксидів азоту.
Сьогодні до автомобільних двигунів висувають високі
вимоги, нерідко суперечливі за змістом.
Дослідження свідчать, що бензиновий двигун, в частині,
що залежить від системи сумішоутворення, в першу чергу, від карбюратора і
впускного трубопроводу, має значні потенційні можливості для часткового
вирішення проблеми зниження токсичності. Застосування багатокамерних
карбюраторів дає змогу збільшити не тільки потужність двигуна, але й забезпечити
при цьому задовільні показники токсичності і паливної економічності на режимах
часткових навантажень, найбільш характерних для реальних умов експлуатації.
Отримати очікувані результати, поліпшити роботу тільки карбюратора або
випускного трубопроводу у більшості випадків практично неможливо. Тому найбільш
доцільним є комплексний підхід до дослідження і удосконалення
сумішоутворювальної системи повітряний фільтр-карбюратор-впускний
трубопровід-впускні канали.
В Україні і за кордоном (у США, Англія, Японія,
Німеччина, Італія, Франція) розроблені і знайшли практичне застосування методи
комплексної модифікації карбюраторних двигунів з широким застосуванням
автоматичних систем автомобільного двигуна, які впливають на процеси
сумішоутворення і згоряння, з метою досяг



нення максимально повного
згоряння палива на всіх робочих режимах і відповідно зниження токсичності
газів.
Розробляються перспективні двигуни з нетрадиційним
робочим процесом, який відповідатиме майбутнім жорстким нормам при використанні
палив звичайного вуглеводневого типу, а саме, поршневі зі ступеневим згорянням
(США, Японія), роторнопоршневі, газотурбінні, двигуни Стірлінга та Ранкіна. Але
в найближчому майбутньому поза конкуренцією все ж таки залишатиметься два види
двигунів: дизель — для вантажних автомобілів (в багатьох зарубіжних країнах
дизель встановлюють і на легкових автомобілях) і бензиновий карбюраторний
двигун — для легкових.
1. ПРИЗНАЧЕННЯ ТА ПРИНЦИП ДІЇ
Газорозподільний механізм призначений для своєчасного впуску в циліндри
повітря, випуску відпрацьованих газів і забезпечення герметичності циліндра на
тактах стиску і розширення.
Газорозподільний механізм двигунів, які вивчаються,
клапанного типу з верхнім розміщенням клапанів (по два клапани на циліндр) і
нижнім розміщенням розподільного вала. Він складається із клапанів з пружинами,
розподільного (кулачкового) вала з шестернями і деталей, що передають рух від
вала на клапани.
Рис. 1.1. Схема газорозподільного механізму:
1 — розподільний вал; 2 — штовхач; 3 — напрямна штовхачів;
4 — штанга; 5 — прокладка кришки головки; 6 — коромисло;
7— контргайка; 8 — регулювальний гвинт; 9 — болт кріплення кришки головки; 10 — сухар; 11 — втулка тарілки; 12 — тарілка пружини; 13 — зовнішня пружина; 14 — внутрішня пружина;
15 — напрямна втулка клапана; 16—шайба; 17— клапан (випускний); А — тепловий зазор
У двигуна КамАЗ-740 колінчастий вал через шестерний
привід передає обертання розподільному валу (рис.1.1). При повороті
розподільного вала його кулачок підіймає штовхач 2, а разом з ним і штангу 4, яка
верхнім кінцем упирається в регулювальний гвинт коромисла 6. Коромисло
повертається навколо осі і переміщує клапан 17 вниз. Відкривається отвір каналу
в головці циліндра, а пружини 13 і 14, заздалегідь стиснуті (щоб утримати
клапан у закритому положенні), ще більш стискаються.
Клапан відкритий повністю, коли штовхач знаходиться на
вершині кулачка. При подальшому повороті розподільного вала штовхач починає
опускатися, а клапан під дією пружин рухається вгору. Коли кулачок виходить
з-під штовхача, тиск на клапан припиняється, і він під дією пружин впритул
сідає в сідло, щільно закриваючи отвір головки циліндра.
Особливістю механізму газорозподілу двигунів ЯМЗ-236 і
ЯМЗ-238 є наявність роликових штовхачів. Деталі приводу клапанів цих двигунів
зображені на рис. 1.2.
Рис. 1.2. Деталі приводу клапанів двигунів ЯМЗ:
1 — контргайка; 2 — коромисло; З — регулювальний гвинт; 4 — штанга;
5 — замкова шайба; б — упорна шайба; 7 — втулка тарілки; 8 — сухар клапана; 9 — тарілка пружин клапана; 10 — болт кріплення осі коромисла; 11 — вісь коромисла; 12 і 13 — пружини клапана; 14 — шайба пружин клапана;
15 — впускний клапан; 16 — конічна пробка; 17 і 24 — втулки осі штовхачів;
18 — напрямна втулка клапана; 19 — випускний клапан; 20 — вісь штовхачів середня; 21 — втулка розпірна; 22 — вісь штовхачів крайня; 23 — штовхач
За один робочий цикл чотиритактного двигуна клапани повинні
відкривати і закривати отвори головки циліндрів тільки один раз. При цьому
розподільний вал робить один оберт, що забезпечується відповідним передаточним
числом приводу.
При попередньому розгляді робочого процесу двигуна
було прийнято, що відкриття і закриття клапанів відбуваються в мертвих точках.
Проте насправді відкриття і закриття клапанів не збігаються з положенням
поршнів у мертвих точках. Це пов'язано з тим, що час, протягом якого
відбуваються такти впуску і випуску, дуже малий, і при максимальній частоті
обертання колінчастого вала двигуна він становить тисячні частки секунди. Тому
якщо відкриття і закриття впускних і випускних клапанів відбуватимуться точно в
мертвих точках, то наповнення циліндрів горючою сумішшю і очищення їх від
продуктів згоряння будуть недостатніми.
Потужність двигуна в значній мірі залежить від
наповнення циліндрів свіжим зарядом повітря і ступеня очищення їх від
відпрацьованих газів. Щоб у циліндри надходило більше повітря, впускний клапан
відкривається з випередженням, тобто до приходу поршня у ВМТ. Наповнення
циліндра починається не від всмоктуючої дії поршня, а під впливом інерційного
наповнення повітрям, що рухається впускним трубопроводом. Закривається впускний
клапан із запізненням, тобто після приходу поршня в ВМТ, тому що повітря
продовжує надходити в циліндр за інерцією і тиск у ньому ще нижчий
атмосферного.
Випускний клапан відкривається теж з випередженням,
тобто до закінчення такту робочого ходу, і частина газів, що знаходяться під
невеликим тиском, викидається з циліндра. Це знижує протидію тиску газів, що
залишились у циліндрі, зменшуючи витрату потужності на їхнє виштовхування.
Закривається випускний клапан із запізненням, тобто після ВМТ, що забезпечує
краще очищення камери згоряння від відпрацьованих газів. У якийсь момент обидва
клапани виявляються одночасно відкритими. Настає, так зване перекриття
клапанів, при якому гази, що виходять з циліндра, сприяють підсосу свіжого
повітря в циліндр, що збільшує його наповнення та краще очищення від
відпрацьованих газів.
Тривалість відкритого положення клапанів, виражену в
градусах кута повороту колінчастого вала, називають фазами газорозподілу. На
рис. 1.3 наведено діаграму фаз
Рис 1.3 Діаграма фаз газорозподілу
Газорозподілу двигунів КамАЗ-740, з якої видно, при
якому положенні шатунної шийки відносно мертвих точок відкриваються і
закриваються клапани. Діаграма фаз забезпечується формою і взаємним положенням
кулачків розподільного вала, а також певним зазором між стрижнями клапанів і
носиками коромисел.
Фази газорозподілу підбирають експериментальним
шляхом, залежно від частоти обертання колінчастого вала при максимальній
потужності двигуна і конструкції його впускних і випускних газопроводів.
Привід розподільного вала здійснюється від
колінчастого вала через шестерні приводу агрегатів. Установка шестерень приводу
розподільного вала і агрегатів двигуна КамАЗ-740 показана на рис. 5.4. На торці
кожної шестірні вибиті мітки «0» або риски, збіг яких повинен бути забезпечений
при збиранні двигуна для забезпечення правильності фаз газорозподілу.
Рис. 1.4 Установка шестерень приводу агрегатів двигуна КамАЗ-740:
1 — болт кріплення роликового підшипника;
2, 13 — проміжні шестерні;
3 — вал приводу паливного насоса високого тиску;
4 — шпонка;
5,8 — кулькові підшипники;
6 — шестірня
приводу паливного насоса високого тиску;
7 — розподільний вал з шестірнею;
9 — стопорна шайба;
10 — болт кріплення осі;
11 — конічний дворядний роликовий підшипник;
12 — шпонка;
14 — упорне кільце;
15 — стопорне кільце;
16 — ведуча шестірня колінчастого вала
2. ДЕТАЛІ ГАЗОРОЗПОДІЛЬНОГО МЕХАНІЗМУ
Розподільний вал сталевий, робоча поверхня його
кулачків і опорних шийок цементована і загартована струмами високої частоти.
Профіль кулачків неоднаковий для впускних і випускних клапанів. Розподільний
вал встановлений у розвалі блока циліндрів на підшипниках ковзання,
виготовлених у вигляді сталевих втулок, залитих антифрикційним сплавом. На
кінець розподільного вала насаджена прямозуба шестірня. Від осьового зміщення
розподільний вал фіксується підшипником задньої опори, встановленим у корпусі.
Штовхачі клапанів двигуна КамАЗ-740 сталеві, порожнисті, тарілчастого
типу з циліндричною напрямною частиною. Для підвищення працездатності пари
кулачок — штовхач на торець тарілки штовхача наплавлений вибілений чавун.
Торець штовхача, що контактує з штангою, закінчується сферичним гніздом для
упора нижнього кінця штанги. Штовхачі клапанів встановлюються в напрямних,
прикріплених до блока циліндрів болтами.
Штовхачі двигунів ЯМЗ-236 і ЯМЗ-238 роликові. Всі вони
встановлені на спільній нерухомій осі, закріпленій у розвалі між циліндрами.
Виступ штовхача, що спирається на кулачок розподільного вала, має ролик,
встановлений на осі, що обертається в голчастих підшипниках. Сам же штовхач
коливається на нерухомій осі в латунних втулках. У корпус штовхача запресована
сталева п'ята зі сферичною виїмкою для штанги, що входить у неї.
Штанги штовхачів порожнисті із запресованими наконечниками. Нижній
наконечник має опуклу сферичну поверхню, верхній — виконаний у вигляді або
сферичної чашки для упора регулювального гвинта коромисла (КамАЗ), або
сферичним (ЯМЗ).
До кожного коромисла через отвір у стояку підводиться
масло. Підшипниками коромисел служать бронзові втулки.
Клапанні механізми. Кожний клапанний механізм призначений
для відкриття і закриття впускних і випускних каналів залежно від положення
кулачків розподільного вала. Клапанний механізм складається з клапана, сідла
клапана, напрямної втулки, двох пружин, упорної шайби, тарілки, втулки тарілки,
двох сухарів.
Окрім цього, на верхній частині напрямної впускного
клапана встановлюється манжета ущільнювача, яка призначена для запобігання
проникненню масла в циліндри двигуна при такті впуску.
У кожному циліндрі встановлюються два клапани
тарілчастого типу (впускний і випускний). Клапани виготовляються з
високоле-гованої сталі з подальшим загартовуванням. Для підвищення корозійної
стійкості і зменшення зносу на робочу поверхню головки випускного клапана
наплавлено шар спеціального сплаву.
У конструктивному відношенні обидва клапани однакові.
Клапан складається з тарілки і стрижня.
Збільшений діаметр впускного клапана покращує
наповнення циліндра свіжим зарядом повітря.
Перехід від тарілки до стрижня виготовлено плавним, що
забезпечує клапану необхідну міцність і покращує відведення тепла від тарілки.
Стрижень клапана у верхній частині має виточку для сухарів. Для забезпечення
щільної посадки в сідло тарілка має конусний поясок.
Сідла клапанів виготовляються із спеціального чавуну. Перед
запресуванням сідла клапанів охолоджуються в рідкому азоті, а головка циліндрів
нагрівається. Кожний клапан має дві пружини, що виготовляються з пружинного
дроту і мають протилежну на-вивку. Наявність двох пружин на одному клапані
підвищує надійність роботи механізму газорозподілу, зменшує розміри пружин, а
також усуває небезпеку резонансу, оскільки при попаданні в резонанс однієї
пружини друга це коливання гасить. Пружини одним боком упираються в шайбу, що
встановлюється на головці циліндра, а іншим — у тарілку. Усередині тарілки є
втулка, що утримується на стрижні клапана за допомогою сухарів, внутрішній
буртик яких входить у виточку стрижня клапана. Контакт між втулкою і упорною
тарілкою — тільки по нижньому торцю. Така конструкція кріплення клапанних
пружин забезпечує при роботі двигуна прокручування клапанів, що сприяє
рівномірному зносу робочих фасок, запобігає утворенню нагару і підвищує
довговічність клапанів. Прокручування клапанів відбувається таким чином. При
відкритті клапана пружини стискаються. При стисненні пружин тертя між тарілкою
і втулкою збільшується і внаслідок скручування пружини клапан прокручується
навколо своєї осі на деякий кут. Прокручування відбувається у бік скручування
верхнього кінця зовнішньої пружини. При закритті клапана пружини розпрямляються
і їх верхні кінці разом з тарілкою повертаються у вихідне положення.
Прокручування клапана з втулкою у зворотному напрямі не відбувається, оскільки
внаслідок зменшення зусилля пружини тертя між тарілкою і втулкою зменшується, в
результаті чого момент тертя між ними стає недостатнім, щоб подолати інерційний
момент клапана. При подальшому циклі відбувається прокручування клапана ще на
деякий кут.
3. ДІАГНОСТУВАННЯ Й ТЕХНІЧНЕ ОБСЛУГОВУВАННЯ
Основними контрольними параметрами механізму
газорозподілу є
тепловий зазор між клапаном і коромислом, витрата газів, стан сполучення
клапан-гніздо.
При поглибленому діагностуванні або за наявності ознак
інших несправностей контролюють фази газорозподілу, зношення кулачків
розподільного вала, щільність клапанів, пружність клапанних пружин.
Для орієнтовного визначення розмірів зазорів у
клапанах без зняття клапанних кришок користуються автостетоскопом, яким
прослуховують стуки при малій частоті обертання колінчастого вала. Якщо
виявлено чіткі металеві стуки потрібно зупинити двигун, відкрити клапанну
коробку й перевірити розміри зазорів щупом або діагностичним пристроєм КИ-9918.
Двигун допускається до експлуатації при помірних стуках клапанів, штовханів і
розподільного вала на малих обертах холостого ходу. Якщо є потреба, то
необхідно перевірити зазори клапанів і відрегулювати їх. Але це пов'язано з
зупиненням і частковим розбиранням двигуна і виправдане лише в разі регулювання
теплового зазору. Потребу такого регулювання потрібно встановити. для чого використовують
віброакустичні методи.
Дослідження вібрацій, які формуються механізмом системи
газорозподілу, показали, що зі зміною розмірів теплового зазору суттєво
змінюється інтенсивність вібрації кришки головки блоку в зоні контрольованого
клапана. Це й покладено в основу діагностування. Діагностичними зонами
встановлення датчика) є гайки кріплення кришки головки блоку. Найкращі умови
для виділення вібраційних імпульсів створюються на низькій частоті обертання
колінчастого вала (приблизно при п = 1000 хв-1).
Для роздільного визначення нещільності клапанів
газорозподілу використовують прилад К-69М, індикатор витрат газів КИ-4887-И та
компресорно-вакуумну установку КИ-4942 .
Діагностування клапанів за витоком повітря та їх регулювання
За витоком повітря клапани діагностують з
використанням приладу К-69М , подаючи стиснене повітря в контрольований циліндр
від компресорно-вакуумної установки. Для цього служить спеціальний робочий
накінечник, від якого повітря надходить в отвір для свічки або в отвір для
форсунки. Вентиль 1 повинен бути закритий, а вентиль 4 відкритий. Робочий
накінечник приєднують до штуцера і стиснене повітря подається безпосередньо з
ресивера поза приладом, який реєструє витік. З камери згоряння повітря
надходить частково в картер крізь щілини між циліндром і поршневими кільцями, а
частково крізь нещільності впускного і випускного клапанів. З колектора повітря
частково потрапляє крізь відкритий клапан у камеру згоряння відповідного
циліндра. В отвір для свічки (для форсунки) встановлюють спеціальний індикатор
у вигляді скляної трубочки з гумовим накінечником і закріпленим у ній стрижнем
з ворсинками. Другий кінець трубочки закритий гумовою пробкою з отвором.
Якщо якийсь клапан контрольованого циліндра прилягає
нещільно, то стиснене повітря, потрапляючи у відповідний циліндр крізь
відкритий клапан, виходить в атмосферу через індикатор і відхиляє його
ворсинки. Чим більша нещільність клапана, тим більший кут відхилення ворсинок.
Місце встановлення індикатора визначають за схемою, яка наводиться в інструкції
і на кришці приладу, відповідно до порядку роботи двигуна. Недоліком цього
методу є те, що він не дає змоги визначити об'єм витоку; ним можна лише
констатувати, є витік повітря чи немає.
Більш інформативним є метод роздільного діагностування
клапанів, який грунтується на подаванні повітря в контрольований циліндр з
використанням індикатора витрат газів КИ-4887-ІІ. Для діагностування
колінчастий вал двигуна встановлюють за кутом повороту колінчастого вала у таке
положення, щоб впускний і випускний клапани контрольованого циліндра були
закриті, а в інших циліндрах двигуна клапани не перекривалися.
Діагностуючи чотирициліндрові двигуни, спочатку
встановлюють поршень контрольованого циліндра в положення верхньої мертвої
точки в кінці такту стиску, а потім прокручують колінчастий вал проти ходу або
за ходом обертання ще на 90°. При цьому випускний і впускний тракти двигуна не
будуть з'єднані між собою.
Для перевірки випускного клапана стиснене повітря від
компресорної установки через ресивер надходить у циліндр. Стиснене повітря з
камери згоряння проривається частково крізь кільцеві ущільнення в картер, а
частково крізь нещільності впускного клапана потрапляє у впускний трубопровід і
звідти відсмоктується компресором через рідинний манометр, витратомір і дросель
індикатора КИ-4887-ІІ у впускну систему компресора. Відсмоктування повітря
регулюють дроселем і контролюють рідинним манометром так, щоб під час
вимірювання тиск у впускному трубопроводі дорівнював атмосферному. Цим
забезпечується збільшення точності вимірювань за рахунок уникнення витрат крізь
кільцеві ущільнення циліндрів і впускного трубопроводу. Витрати повітря,
виміряні витратоміром приладу, характеризують нещільність впускного клапана.
Нещільність випускного клапана визначають аналогічно,
але для цього витратомір КИ-4887-ІІ приєднують до випускного трубопроводу. Якщо
витік повітря хоч би крізь один клапан перевищує допустиме значення, потрібно
зняти головку циліндрів і притерти клапани до гнізд.
Двигун допускається до експлуатації при помірних
стуках клапанів, штовхачів і розподільного вала на малих обертах холостого
ходу. У разі потреби теплові зазори в клапанах регулюють.
Необхідність регулювання клапанів, крім стуків,
визначає втрата потужності двигуна з одночасним збільшенням шуму в клапанному
механізмі.
Регулювання зазорів у клапанах - трудомістка операція, оскільки на
багатьох двигунах потрібно виконати демонтажні роботи. Тепловий зазор вимірюють
щупом або приладом КИ-9918. Розміри зазорів наводяться в інструкціях з
експлуатації.
Зношення кулачків розподільного вала визначають
штангенглибиноміром або штангенциркулем при розміщенні поршня у верхній мерів;
точці на такті стиску. Спочатку вимірюють відстань від поверхні головки
циліндрів до торця клапана, після чого прокручують колінчастий вал двигуна до
повного відкриття клапана і знову вимірюють названу відстань. Різниця між
вимірюваннями буде величиною переміщення клапана. Якщо вона менша за допустиме
значення, то розподільний вал двигуна потрібно замінити.
Утворений нагар в умовах експлуатації можна вивести при знятій головні
блоку і без зняття її.
При знятій головці нагар виводять металевими скребками
або щітками. Перед цим його розм'якшують гасом.
Без зняття головки нагар виводять, заливаючи в кожен
циліндр прогрітого двигуна 150...200 см3 суміші, яка складається з
гасу (80%) та моторної оливи (20 %). Потім міняють свічки на зношені і декілька
разів прокручують колінчастий вал, вмикаючи двигун на 20...3О хв через кожні
10...12 год (за цей час пом'якшений нагар вигоряє).
Після виведення нагару потрібно замінити оливу в
картері двигуна, а перед запуском у кожен циліндр залити по 20...30 см3
свіжої моторної оливи.
Тепловий зазор регулюють при повністю закритих
клапанах, починаючи з першого циліндра, коли він перебуває у верхній мертвій
точці на такті стиску. Перед тим потрібно перевірити і в разі потреби
підтягнути гайки головки блоку циліндрів. Спочатку підтягують гайки, до яких є
підхід. Якщо гайки прокручуються, з головки знімають валик з коромислом і
динамометричним ключем підтягують усі гайки. Після того, як зняті деталі (крім
кришок) будуть поставлені на місце, перевіряють і, якщо потрібно, регулюють
зазори. Для цього встановлюють поршень першого; циліндра у верхню мертву точку
при такті стиску. Після перевірки та регулювання клапанів і декомпресійного
механізму в першому циліндрі регулюють зазори клапанів інших циліндрів.
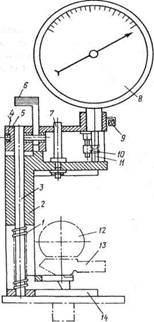
Трудомісткість перевірки клапанів пристроєм КИ-9918
становить 0,1 люд.-год (з використанням щупа - 0,7 люд.-год) з похибкою ±0,02
мм (з використанням щупа - ±0,05 мм). Використовуючи цей пристрій, можна
перевіряти не лише тепловий зазор у верхньоклапанному механізмі, але й фази
газорозподілу, а також визначати положення верхньої мертвої точки поршня
контрольованого циліндра.
Рис.
3.1 Пристрій КИ-9918:
1-пружина;
2-рухома каретка; 3-напрямна; 4 - вісь;
5-корпус
(нерухома каретка); 6-відтискний кулачок;
7-стержень;
8 -індикатор; 9 - важіль; 10 - кулачок гальма;
11-накінечник
індикатора; 12-валик декомпресора
Рис. 2.2Перевірка й регулювання теплового зазору
1 — коромисло;
2 — контргайка; 3 — регулювальний гвинт
Регулювання зазорів у механізмі привода клапанів
відбувається тільки на холодному двигуні. Попередньо необхідно зняти кришку
коромисел, трубку вакуумного регулятора й деталі системи вентиляції картера.
Колінчастий вал варто повернути в таке положення, при
якому мітка (другий паз по ходу) на шківі колінчастого вала збігається з
покажчиком на кришці розподільних шестерень, а обидва клапани першого циліндра
будуть закриті (коромисла клапанів повинні вільно гойдатися в межах зазору).
Регулювання зазору між коромислом і клапаном показано на рис. 2.2. У такому
положенні вала встановити зазор клапанів першого циліндра й, затягнувши
контргайку, знову перевірити зазор (див. рис. 2.2).
Потім повернути колінчастий вал на півоберта й
відрегулювати зазори клапанів другого циліндра. Далі, повернувши вал ще на
півоберта, відрегулювати зазор клапанів четвертого циліндра.
Після повороту вала ще на півоберта відрегулювати
зазор клапанів третього циліндра.
Зазначені в характеристиці автомобіля величини зазорів
не слід зменшувати навіть при наявності помітного стукоту. Зменшення зазору
викликає нещільне прилягання клапана до сідла й небезпека його прогоряння.
Підвищений шум клапанів, хоча й неприємний на слух,
але не викликає порушення нормальної роботи двигуна.
Основними роботами при технічному обслуговуванні
газорозподільного механізму є підтяжка гайок (болтів) кріплення головки
циліндрів, перевірка і при необхідності регулювання зазорів між клапанами і
коромислами, а також прослуховування працюючого двигуна для виявлення стуків,
заміна зношених або зламаних деталей.
Зазор у клапанному механізмі повинен гарантувати
щільне прилягання клапана до сідла при подовженні стрижня від нагрівання і у
разі осідання головки в сідлі через зношування фасок.
У разі зменшення зазору істотно скорочується час,
протягом якого клапан знаходиться в закритому стані, у зв'язку з чим значно
зростає його температура. Відсутність зазору викликає різке підвищення
теплового стану випускного клапана і може призвести до обгорання конусного
пояска його тарілки.
Зменшення теплового зазору помітно впливає на
перекриття клапанів і особливо позначається при роботі двигуна на холостому
ходу. На цьому режимі внаслідок великої тривалості одночасного відкриття обох
клапанів можливе проникнення відпрацьованих газів з випускних трубопроводів у
циліндри і навіть назад у впускні трубопроводи, що призводить до нестійкого
згоряння робочої суміші і нерівномірної роботи двигуна.
Таким чином, при наявності малих зазорів не
забезпечується герметичність циліндрів, двигун не розвиває повної потужності,
клапани перегріваються, що може викликати їх підгорання.
Збільшення теплового зазору викликає порушення фаз
газорозподілу (клапани менше часу будуть знаходитись у відкритому положенні), і
посадка клапана відбувається з великою швидкістю, що призведе до зростання
ударного навантаження на деталі, стуків, значного спрацювання і зменшення
потужності двигуна.
Зазор у клапанному механізмі вимірюється щупом між
носком коромисла і торцем стрижня клапана в положенні, коли клапани закриті.
Регулюють зазор регулювальним гвинтом, закрученим у коротке плече коромисла.
Регулювання зазорів проводять на холодному двигуні не
раніше ніж за ЗО хв після його зупинки. При цьому подачу палива вимикають, а
автомобіль загальмовують стоянковим гальмом.
Розглянемо регулювання теплового зазору на прикладі
двигуна КамАЗ-740. Зазори одночасно регулюють на двох головках попарно в
порядку роботи циліндрів двигуна. Перед перевіркою зазору слід підтягти болти
кріплення головки, гайки кріплення стояків коромисел, щоб виключити можливу
деформацію штанг. Рекомендується також попередньо збільшити зазор, викручуючи
регулювальні гвинти з коромисел.
Перевірку і регулювання теплових зазорів починають з
установки колінчастого вала. З цією метою прокручують колінчастий вал до тих
пір, поки фіксатор на картері маховика не увійде до прорізу маховика. При цьому
мітки на муфтах приводу паливного насоса повинні знаходитися вгорі. Якщо мітки
знаходяться внизу, необхідно підняти фіксатор і прокрутити колінчастий вал на
один оберт.
У даному положенні колінчастого вала поршень першого
циліндра не доходить 18° до ВМТ у кінці такту стиску.
Після цього колінчастий вал прокручують за ходом
обертання ще на 60°. Тоді поршень першого циліндра знаходитиметься на початку
такту робочого ходу, а поршень п'ятого циліндра — в кінці такту стиску
(відповідно до порядку роботи двигуна 1-5-4-2-6-3-7-8). Отже, впускний і випускний
клапани в обох циліндрах закриті. Величина зазорів повинна бути: для впускного
клапана 0,25-0,3 мм; для випускного клапана 0,35-0,4 мм.
Необхідний зазор контролюють щупом. Відпускають
контргайку, і утримуючи її ключем, повертають викруткою гвинт так, щоб щуп з
відчутним зусиллям переміщався в зазорі. Після цього, утримуючи гвинт
викруткою, затягують контргайку, та ще раз щупом перевіряють зазор і, не
виймаючи його і повертаючи штангу, переконуються, що вона обертається вільно.
Таким же чином регулюють і клапани інших циліндрів відповідно до порядку роботи
двигуна.
4. МОЖЛИВІ НЕСПРАВНОСТІ ГАЗОРОЗПОДІЛЬНОГО МЕХАНІЗМУ ТА
СПОСОБИ ЇХ УСУНЕННЯ
У процесі експлуатації нормальна робота
газорозподільного механізму може бути порушена, оскільки гарячі гази руйнують
посадочні поверхні тарілок клапанів і їх сідел, на фасках клапанів
відкладається нагар. Це призводить до порушення щільності прилягання клапана до
сідла, внаслідок чого можливі витоки газу і перегрів клапана. Поступово
зношуються тертьові поверхні деталей механізму, порушується зазор між клапанами
і коромислами. Це призводить до зміни фаз газорозподілу. Найпомітніша зовнішня
ознака несправності механізму — стук у зоні розташування клапанів, розподільних
шестерень і розподільного вала.
Технічний стан двигуна в основному визначається станом
кривошипно-шатунного і газорозподільного механізмів. Порушення їхньої
нормальної роботи виражається в зменшенні компресії і появі стуків при роботі
двигуна.
Першою ознакою недостатньої компресії є велика
димність випуску при малій і середній частотах обертання колінчастого вала
(чорний колір відпрацьованих газів), що зменшується у міру збільшення частоти
обертання.
Димність випуску при недостатній компресії викликана
витоком повітря з циліндра під час ходу стиснення. При цьому кількість повітря,
яке залишилося в циліндрі, виявляється недостатньою для повного згоряння
палива, що залишається в циліндрі наприкінці стиску.
Основними причинами недостатньої компресії при
несправному газорозподільному механізмі є: нещільне прилягання клапанів до
сідел, що може бути викликане поганим станом робочих поверхонь клапанів і
сідел, поломкою або надмірною усадкою пружин клапанів, заїданням стрижнів,
клапанів у напрямних втулках, а також малим зазором між стрижнем клапана і
носком коромисла.
Для визначення величини компресії на прогрітому
двигуні в кожний циліндр по черзі встановлюють компресиметр (замість форсунки)
і закріплюють його за допомогою скоби форсунки. Після цього запускають двигун і
записують свідчення манометра при мінімальній частоті обертання на холостому
ходу (550-650 хв^1). При 600 хв_1 нормальна величина
компресії повинна бути не менше 3 МПа, а різниця по циліндрах не повинна
перевищувати 0,2 МПа.
Виявлення причин недостатньої компресії починають з
перевірки стану пружин клапанів і затягування гайок кріплення головки. Потім
перевіряють стан клапанів: щільність прилягання їх до сідел, відсутність
заїдання при переміщенні, величину зазору між клапаном і коромислом.
При порушенні герметичності впускних клапанів диміння
спостерігається з повітряного фільтра.
Технічний стан клапанного механізму двигуна без його
розбирання можна перевірити за допомогою пневмотестера моделі К-272. Його
перевіряють шляхом виміру відносного витоку повітря, що вводиться всередину
циліндра через отвір для форсунки при непрацюючому двигуні в такому положенні
поршня, коли в циліндрі, який перевіряється, клапани закриті. Величини
відносних витоків вказані в інструкції приладу. Цінність його в тому, що він
дозволяє роздільно оцінити знос циліндрів, стан поршневих кілець і клапанів,
нещільність у прокладці між блоком і головкою циліндрів.
Стан газорозподільного механізму рекомендується
контролювати також методом прослуховування працюючого двигуна за допомогою
стетоскопа.
Збільшений зазор між носком коромисла і стрижнем
клапана викликає металевий стукіт, що чітко виділяється при будь-яких обертах
колінчастого вала двигуна на фоні більш спокійного і глухого шуму решти
клапанів. У цьому випадку необхідно відрегулювати зазор.
5. ЗАХОДИ БЕЗПЕКИ
Робітникові часто доводиться працювати у несприятливих умовах
при високій або надто низькій температурі повітря, підвищеній вологості, на
протягах, у приміщеннях з підвищеною кількістю пилу або пари отруйних речовин.
Усі ці фактори можуть призвести до професійних захворювань дихальних органів, очей,
шкіри та й усього організму. Постійні струси (вібрація) і шуми, що виникають у
приміщеннях, де працюють робітники, також спричинюють деякі види захворювань.
Щоб запобігти тимчасовим або хронічним професійним захворюванням, слід
додержуватись правил гігієни праці на виробництві.
Підвищення і зниження температури в приміщенні, а
також протяги спричинюють захворювання дихальних шляхів і легенів, а тривала
робота при низькій температурі може зумовити обморожування. Тому можливе
коливання температури в закритих приміщеннях для нормальних умов праці від 10
до 20 °С. При важкій фізичній праці можна працювати при більш низькій
температурі. Відносна вологість повітря за цих самих умов має бути не більше 60
%, а швидкість руху повітря - не більше 0,3 м/с.
Більшість опоряджувальних машин і механізмів під час
роботи не створює таких шумів, які б негативно впливали на організм робітника.
Значно погіршують здоров'я робітника шум і безпосередня вібрація інструмента,
який він тримає в руках. Тому працювати слід у рукавицях, оскільки вони
частково амортизують удари, і лише справним інструментом з допустимою
амплітудою коливання.
Робочі місця мають бути достатньо забезпечені
природним або штучним світлом. Для створення природного освітлення необхідно
слідкувати за тим, щоб приміщення, в якому виконуються опоряджувальні роботи,
було очищене від зайвих матеріалів і пристроїв, а шибки вікон і зовнішніх
дверей - від пилу і бруду. Якщо природного освітлення недостатньо, обладнують
штучне. Електричні лампи мають освітлювати робоче місце так, щоб на поверхні,
що опоряджується, не створювались різкі тіні від оточуючих предметів і пучки
променів не потрапляли в очі.
Рис. 1. Респіратор: а-ПРБ-1; б-Ф-46
Для захисту від шкідливих виробничих факторів
користуються спеціальними індивідуальними захисними пристроями та одягом.
Для захисту тіла людини, наприклад, застосовують
спеціальний одяг (комбінезон або штани і куртки) та взуття, органів зору -
спеціальні окуляри (ПО-1, № 5, ОЗ-Н тощо) з гумовою або шкіряною оправою, яка
щільно прилягає до обличчя. У зимовий час внутрішню поверхню скла окулярів
змащують спеціальними сумішами, щоб воно не запотівало. Захисні окуляри з
прямою вентиляцією відзначаються тим, що не запотівають, оскільки оправа не
прилягає до обличчя. їх застосовують для захисту очей від дрібних, твердих
часток під час насікання кам'яних поверхонь, розколювання і оброблення кромок
керамічних плиток, циклювання опоряджувального шару декоративної штукатурки
тощо.
Для захисту органів дихання застосовують респіратори і
протигази. Для очищення повітря, що вдихає людина, від пилу і бризок фарб та
інших сумішей -респіратори ШВ-1, ПРБ-1, РМП-62, Ф-46 (рис. 1), для очищення
повітря від пилу і парів легких розчинників - респіратор РУ-60М, обладнаний
патроном з активованим вугіллям; для роботи в умовах, коли в повітрі є високі
концентрації отруйних газів, парів і пилу, - фільтруючі протигази типу БКФ, ПШ
або ПШ-2.
Особиста гігієна на виробництві
Для збереження здоров'я і працездатності робітників на
будівельних майданчиках обладнують тимчасові побутові приміщення, в яких вони
можуть відпочити під час обідньої перерви, прийняти їжу. Кількість
санітарно-побутових приміщень і їхні розміри залежать від кількості робітників,
що водночас працюють на даному об'єкті.
Перед початком роботи робітник повинен одягтися у
спецодяг, а свій одяг і взуття акуратно розмістити у спеціальній шафі. Після
закінчення робочого дня спецодяг чистять від пилу, бруду, сушать у спеціальних
приміщеннях і ховають в індивідуальну шафу або вішають у спеціально відведеному
для цього місці.
У район розміщення побутових приміщень подається вода.
Для пиття слід застосовувати воду, яку зберігають у спеціальних бачках з
кришками і кранами. Бачок, заповнений водою, має бути весь час закритий. Сиру
водопровідну воду вживають за допомогою спеціально обладнаних фонтанчиків.
Відстань від місця, де є вода, до робочих місць повинна бути не більше 75 м.
Всі ці заходи спрямовані на те, щоб кожен робітник мав змогу дотримуватись
особистої гігієни на виробництві.
Після закінчення роботи обличчя і руки треба добре
вимити. Якщо шкіра на руках тріскається, після миття їх треба змастити
гліцерином або спеціальним кремом.
ПЕРЕЛІК ВИКОРИСТАНОЇ
ЛІТЕРАТУРИ
1.
Бабушко
С.М. Ремонт тракторов и автомобилей. – К.: Высшая школа. 1982. – 344с.
2.
Дзюба
П.Я. Программированное пособие по устройству автомобиля. – К.: Урожай, 1985. –
576с.
3.
Кисликов
В.Ф., Лущик В.В. Будова і експлуатація автомобілів: Підручник. К.: Либідь,
2002. – 400с.
4.
Костів Б.
І. Експлуатація автомобільного транспорту: Підручник. - Львів: Світ, 2004. –
496 с.; іл
5.
Полянський
С.К. Будівельно-дорожні та вантажопідіймальні машини. – К.: Техніка, 2001. –
624с.
6.
Родичев
В.А., Родичева Г.И. Тракторы и автомобили – М.: Высш. школа, 1982. – 320с.
7.
Токаренко
В.М. Практикум по устройству, техническому обслуживанию и ремонту автотранспорта.
– К.: Урожай, 1989. – 350с.