Специальные автомобили и автопоезда

  • Вид работы:
    Реферат
  • Предмет:
    Транспорт, грузоперевозки
  • Язык:
    Русский
    ,
    Формат файла:
    MS Word
    3,12 Mb
  • Опубликовано:
    2009-11-08
Вы можете узнать стоимость помощи в написании студенческой работы.
Помощь в написании работы, которую точно примут!

Специальные автомобили и автопоезда

Содержание

Вступление

1. Классификация автопоездов и их преимущества

2. Тягово-сцепные устройства автопоездов

3. Автомобили-самопогрузчики кранового типа

Вступление


Важнейшим направлением в развитии технического прогресса на транспорте, в том числе и на автомобильном, является комплексная механизация погрузочно-разгрузочных работ и повышение качества перевозок.

В общем объеме перевозимых автомобилями грузов наибольший удельный вес составляют навалочные грузы (в основном нерудные строительные материалы). Перевозка этих грузов осуществляется, автомобилями или автопоездами-самосвалами, удельный вес перевозок грузов которыми возрастает из года в год. Так, в 1965 г. он составлял 49,5%, 1970 г. - 57,1, 1975 г. - свыше 70%.

Рост перевозок грузов автомобилями-самосвалами будет продолжаться и в будущем.

Технико-экономические расчеты показывают, что автомобили-самосвалы эффективны при перевозках грузов на расстояния, как правило, не более 15-20 км. При перевозке навалочных, грузов на большие расстояния целесообразно применять бортовые автомобили и автопоезда, разгрузка которых осуществляется стационарными или передвижными (в том числе самоходными) автомобилями-разгрузчиками.

Применение автопоездов является одним из методов повышения производительности автомобилей и снижения себестоимости перевозок.

Эффективность использования автопоездов в основном зависит от тягово-динамических свойств автомобилей-тягачей, которые определяются особенностями конструкции агрегатов и их компоновки.

1. Классификация автопоездов и их преимущества


Грузовые автопоезда по своему назначению разделяются на универсальные, специализированные и специальные.

Универсальные автопоезда (автопоезда с бортовыми платформами и универсальными фургонами) перевозят различные грузы.

Специализированные автопоезда (автопоезда со специальными кузовами-самосвалы, панелевозы, для длинномерных грузов, цистерны, фургоны-рефрижераторы и др.) предназначены для перевозки определенных видов грузов.

Специальные автопоезда используются для перевозки постоянно смонтированного на них оборудования не транспортного назначения (передвижные электростанции, компрессорные установки, ремонтные мастерские и др.).

Основное различие конструкций существующих автопоездов состоит в характере распределения тяговых усилий и вертикальных нагрузок между тяговыми и прицепными звеньями, а также в наличии или отсутствии ведущих колес у прицепных звеньев. Если прицепные звенья не имеют ведущих колес, то такой автопоезд называется автопоездом с пассивными прицепными звеньями.

В случае, когда прицепные звенья оборудованы ведущими колесами, автопоезд называется автопоездом с активными прицельными звеньями. Вертикальная нагрузка от собственной массы прицепного звена и от полезной массы груза может передаваться полностью или частично на колеса прицепного звена.

Грузовые автопоезда разделяются на прицепные, седельные и роспуски, а по способу распределения вертикальных нагрузок на автопоезда с независимым распределением нагрузки (прицепные автопоезда), с зависимым (седельные автопоезда и автопоезда-роспуски) и смешанным (автопоезда в составе седельного тягача, полуприцепа и двухосного прицепа).

Прицепные автопоезда разделяются на универсальные, балластные и специальные, а седельные, на универсальные и специальные.

Прицепные автопоезда состоит из грузового автомобиля, оборудованного бортовой платформой или специальным кузовом и одного или нескольких прицепов. Седельные автопоезда состоят из седельного тягача и полуприцепа.

Автопоезда-роспуски состоят из тягача и прицепа-роспуска, оборудованных кониками.

У автопоездов-роспусков вертикальная нагрузка от собственной массы прицепа полностью передается на дорогу через его колеса, а от груза - через колеса роспуска и колеса тягача. Автопоезд-роспуск состоит из тягача, полуприцепа и прицепа-роспуска.

Если тягач прицепного автопоезда не несет полезной нагрузки, то иногда для увеличения сцепного веса он имеет балластную платформу. Такой тягач называется балластным. За последнее время в США получили распространение автомобили-тягачи типа "верблюд", которые имеют между кабиной и опорно-сцепным устройством бортовую платформу или кузов-фургон.

К наиболее распространенным специальным седельным автомобилям-тягачам относятся автомобили-тягачи повышенной проходимости, предназначенные для транспортирования полуприцепов в тяжелых дорожных условиях. Такие автомобили-тягачи имеют более мощные двигатели, увеличенное передаточное отношение трансмиссии и оборудованы устройствами для повышения проходимости - самоблокирующимся дифференциалами, специальными подвесками, системой подкачки шин воздухом и др.

Опыт эксплуатации автопоездов, в том числе специализированных, показал, что они имеют следующие преимущества: снижение нагрузки на ось при той же грузоподъемности; наиболее полное использование имеющегося запаса мощности двигателей автомобилей и автомобилей-тягачей; повышение производительности автомобилей (несмотря на снижение средней технической скорости их движения на 15-20%).

По сравнению с одиночными автомобилями в 2 раза и более; снижение расхода топлива на тонну перевозимого груза или тонно-километр) на 20-30%; снижение себестоимости перевозок на 20-30% в зависимости от расстояния перевозок перевозка на большие расстояния снижает удельные затраты на погрузочно-разгрузочные работы; уменьшение коэффициента тары и стоимости подвижного состава. Снижение нагрузки на ось за счет увеличения числа осей позволяет резко снизить расход на строительство и содержание дорог.

Особенно большой эффект достигается при использовании автопоездов в составе автомобилей-тягачей и полуприцепов, поскольку в данном случае имеется возможность повысить коэффициент использования пробега, сократить простои под погрузкой и разгрузкой и увеличить скорость доставки грузов путем применения сменных полуприцепов (два и даже три полуприцепа при работе на коротких расстояниях и плечевом движении на дальних расстояниях).

Наряду с этим автопоезда в составе автомобилей-тягачей с полуприцепами имеют более высокие устойчивость, маневренность и проходимость по сравнению с автопоездами в составе автомобилей и прицепов вследствие меньших габаритных размеров по длине.

Специализированные автопоезда имеют большие преимущества по сравнению с одиночными специализированными автомобилями. Если специализированные кузова (фургоны-рефрижераторы, цистерны и др.) установлены на одиночных автомобилях, то они могут быть использованы только для перевозки данного вида груза и, как правило, в одном направлении.

Если же специализированные кузова установлены на прицепах или полуприцепах, то автомобиль-тягач может быть использован для перевозки других специализированных или бортовых прицепов и полуприцепов в обоих направлениях.

2. Тягово-сцепные устройства автопоездов


Независимо от типов автопоездов тягово-сцепные устройства должны обеспечивать: надежное соединение автомобиля-тягача с прицепом или полуприцепом; возможность относительного их перемещения; плавность передачи усилий от автомобиля-тягача к прицепу при трогании с места; возможность быстрой сцепки и расцепки.

Тягово-сцепные устройства прицепных автопоездов. Для сцепки грузовых автомобилей или автомобилей-тягачей с прицепами применяются в основном следующие два типа соединения: "крюк - петля" и "шкворень петля". На отечественных автомобилях, а также в США, Англии и Франции, применяются соединения типа "крюк петля". Соединение "шкворень - петля" стандартизировано в Чехословакии, ГДР и ФРГ.

Соединение типа "крюк - петля" состоит из буксирного крюка, установленного на автомобиле или автомобиле-тягаче, и жесткого дышла с петлей, связанного с прицепом. Для обеспечения безопасности движения даже в случаях расцепки автомобиля и прицепа последние соединяются аварийными цепями.

При движении прицепного автопоезда со скоростью свыше 40 км/ч возникают поперечные колебания прицепа - виляние. Эти колебания приводят к неустойчивому движению автопоезда и вызывают дополнительные напряжения в сцепных устройствах и других узлах и агрегатах автопоезда. Виляние прицепа увеличивает ширину полосы движения автопоезда и может, вызвать занос прицепа. Виляние в основном вызывается эластичностью пневматических шин в поперечном направлении. И наличием зазоров в сцепном и поворотном устройствах прицепа. Виляние полуприцепов значительно меньше, чем прицепов. Увеличение базы прицепов и полуприцепов, установка двойных колес и устранение зазоров в сцепном и поворотном устройствах положительно влияет на устойчивость их движения.

Недостатком старых конструкций сцепных приборов автомобиля и прицепа является наличие значительных зазоров между крюком и петлей дышла, которые приводят к увеличению виляния прицепа к ускоренному износу крюка и петли, а также несоответствие характеристики упругого элемента (цилиндрическая пружина из проволоки квадратного сечения) условиям работы сцепки (сценкой крюк не обеспечивает демпфирования продольных колебании). Отмеченные недостатки в основном устранены в новых конструкциях тягово-сцепного устройства (рис.1) с упругим элементом. Это сцепное устройство практически является беззазорным".

Упругий резиновый элемент имеет нелинейную характеристику, поэтому его жесткость при трогании автопоезда относительно невелика, а при движении она возрастает. Такая характеристика сцепного устройства в наибольшей степени отвечает условиям нагрузки крюка при трогании и движении автопоезда. Упругие элементы с нелинейной характеристикой (кольцевые пружины, резиновые втулки и др.) широко применяются в тягово-сцепных устройствах автомобилей заграничных фирм.

Рис.1. Сцепной буксирный прибор автомобиля ЗИЛ-130:1-корпус упругого элемента; 2-резиновый элемент; 3-тяговый стержень; 4-гозовка.

В целях повышения безопасности и ускорения процесса сцепки автомобиля, с прицепом за границей все шире применяют полуавтоматические, тягово-сцепные устройства.

Перед началом сцепки автомобиля, имеющего полуавтоматическое тягово-сцепное устройство, с прицепом сцепная петля 1 (рис.2а) давит на шкворень 4 поджимаемый поводком 5 с пружиной 6. При дальнейшем движении сцепной петли шкворень вначале приподнимается, а при совпадении с отверстием в петле входит в него. При этом поводок 5 освобождается. Для расцепки необходимо шкворень поднять при помощи-рукоятки 7. Для устранения увеличенного зазора между петлей и шкворнем (вследствие износа) необходимо заменить втулку 2 в петле 1. В корпусе 8 сцепного устройства имеются направляющие выступы 3.

Рис.2. Полуавтоматическое тягово-сцепное устройство автомобиля Татра-Ш: а - положение затвора перед сцепкой; б - положение затвора после сцепки.

 

Для устранения виляния прицепов наряду с беззазорными сцепными устройствами применяются стабилизаторы, например, английской фирмы "Гирлинг". Стабилизатор представляет собой балку, укрепленную на дышле, прицепа. К концам балки на шаровых пальцах присоединены телескопические гидравлические амортизаторы. Другими концами амортизаторы соединены быстросъемными шаровыми шарнирами, расположенными с обеих сторон буксирного крюка, с поперечиной рамы автомобиля-тягача. Стабилизатор наряду с устранением виляния прицепа противодействует "складыванию" автопоезда при резком торможении и движении задним ходом.

Двухосные и многоосные прицепы имеют устройства для попорота передней оси. Шарнирное соединение между автомобилем и прицепом и наличие поворотной передней оси прицепа обеспечивают поворот автомобиля и прицепа без скольжения колес, а также относительное перемещение автомобиля и прицепа в вертикальной и горизонтальной плоскостях.

В зависимости от способа передачи горизонтальных усилий поворотные устройства делятся на шкворневые и бесшкворневые.

Наиболее распространенным в настоящее время является шкворневое поворотное устройство, которое имеет ряд недостатков, в том числе громоздкости конструкции и большие сопротивления троганию при повороте.

Бесшкворневое поворотное устройство, применяемое на большинстве новых моделей двухосных прицепов, не имеет этих недостатков. На раме прицепа закрепляется внутренняя обойма, а на раме поворотной оси прицепа - наружная обойма. Между ними помещены стальные, шарики. Разборка поворотного устройства и его смазка осуществляются через пробки.

Серьезным недостатком прицепов с поворотными кругами является несовпадение колеи прицепа с колеей автомобиля при движении на поворотах. Вследствие этого ширина колен автопоезда примерно в 1,5 раза больше ширины одиночного автомобиля, что значительно снижает маневренность таких автопоездов. Для устранения этого недостатка колеса передней оси прицепа делаются управляемыми при помощи рулевой трапеции автомобильного типа. При этом угол разворота колес должен быть меньше, чем угол поворота дышла прицепа. Наряду с большей маневренностью такие прицепы имеют пониженную погрузочную высоту и центр тяжести вследствие отсутствия поворотного круга. Это, в свою очередь, приводит к повышению устойчивости движения прицепов.

Тягово-сцепные устройства автопоездов-роспусков. В зависимости от вида сцепки с автомобилем-тягачом прицепные агрегаты для длинномерных грузов делятся на прицепы-роспуски, полуприцепы-роспуски и длиннобазные прицепы-роспуски с передней подкатной тележкой. Прицепы-роспуски буксируются автомобилями, имеющими вместо платформ коники, полуприцепы-роспуски - седельными автомобилями-тягачами, а длиннобазные прицепы - балластными автомобилями-тягачами. При этом прицепы и полуприцепы-роспуски в зависимости от грузоподъемности могут иметь от одной до трех осей.

Прицепы - и полуприцепы-роспуски состоят из рамы, дышла с петлей или шкворнем (полуприцеп), оси (осей) с колесами, коника и подвески. Некоторые конструкции роспусков оборудуют системой управления колес. Дышла прицепов-роспусков оканчиваются петлей и соединяются с автомобилем-тягачом при помощи крюка. В передней части полуприцепа-роспуска имеется шкворень и соединения его с седлом автомобиля-тягача. Величина нагрузки на прицеп или полуприцеп-роспуск (при данной массе груза) изменяется в зависимости от длины дышла и величины свесов груза с коников. Конструкции коников прицепа-роспуска и тягового автомобиля-тягача одинаковы. Они состоят из поперечной поворотной балки и вертикальных откидывающихся стоек.

Автопоезда, состоящие из прицепного автомобиля-тягача с крюком и прицепа-роспуска, имеют ту особенность, что при транспортировании перевозимый груз перемещается по коникам при поворотах и отклонениях автомобиля-тягача и прицепа в вертикальной плоскости. Это происходит потому, что центры перемещения соответственно груза и прицепа-роспуска находятся в различных точках (ось переднего коника, являющаяся точкой отклонения груза, находится впереди сцепного устройства, вокруг которого перемещается прицеп).

Чтобы исключить перемещение груза вперед и повреждение кабины водителя, на верхней грани коника автомобиля устанавливают "гребенку" или "нож" (при перевозке леса). Груз в этом случае перемешается только назад по гладкой грани балки (или по роликам) коника прицепа. Коники у таких автопоездов поворотные. В некоторых случаях с этой целью применяется "скользкий" сцепной прибор (крюк перемещается относительно рамы автомобиля). При этом оба коника соединяются с грузом жестко.

Одним из радикальных способов устранения перемещения длинномерных грузов на поворотах по опорным балкам коников является совпадение точки соединении прицепа-роспуска с автомобилем-тягачом и точки поворота коника автомобиля-тягача.

Автомобиль-тягач может соединяться с прицепом-роспуском и без обычного крюка и дышла. При этом тяговое усилие между автомобилем-тягачом и прицепом-роспуском передается при помощи длинномерного груза, закрепленного в кониках автомобиля-тягача и прицепа-роспуска.

При перевозке грузов большой длины иногда применяют управляемые прицепы-роспуски, оборудованные рулевым приводом. В этом случае на прицепе находится рулевой, который и управляет роспуском независимо от водителя. Управление прицепами-роспусками может быть и автоматическим (крестообразная сцепка и рулевой рычажный или гидравлический привод, действующий при отклонении дышла от оси прицепа). Управляемые прицепы-роспуски используют также в случаях, когда автопоезд состоит из седельного автомобиля-тягача, полуприцепа с коником и управляемого прицепа-роспуска. Такое использование автопоездов при вывозке леса позволяет значительно сократить простои автомобиля-тягача в пунктах погрузки и разгрузки,

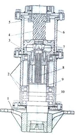
Тягово-сцепные и опорные устройства седельных автомобилей-тягачей. Наиболее распространенное сцепное устройство седельных автомобилей - тягачей и полуприцепов состоит из седла, расположенного на раме автомобиля, и поворотного шкворня на полуприцепе.

Для обеспечения взаимного перемещения автомобиля-тягача и полуприцепа современные опорно-сцепные устройства на автомобиле-тягаче имеют две оси качения (поперечную и продольную) и жестко закрепленный на полуприцепе шкворень. Такое полуавтоматическое опорно-сцепное устройство с двумя осями качания (рис.3) имеет следующее устройство. На раме автомобиля-тягача со смещением относительно задней оси (внутрь базы на 50-150 мм) установлена плита 8 с шарнирно закрепленным на ней опорным кругом 4, имеющим устье 19. Опорный круг, закрепленный на балансире 2 может качаться на оси 3 в продольной, а на оси 7 в поперечной плоскостях. Для амортизации качания круга в поперечной плоскости имеются две цилиндрические пружины 6 и ограничители 5. В центре опорного круга укреплены захваты 18 шкворня, шарнирно закрепленные на пальцах 17 и имеющие скосы в передней части. Скосы в задней части захватов совпадают со скосами: устья опорного круга. В передней части захваты имеют фасонные вырезы, в которые вдвигается замок 15. Замок имеет стержень 13 на который надеты пружина 14 и рычаг 16 замка. В замке имеется продольный вырез, в который входит направляющий палец 12. закрепленный в нижней части опорного круга. Когда полуприцеп соединен с автомобилем-тягачом, захваты 18 сведены и охватывают поворотный шкворень полуприцепа. При этом расцепка невозможна вследствие того, что замок 15 препятствует повороту захватов на пальцах 17.

Отцепка полуприцепа осуществляется путем отвода в сторону планки 1 предохранителя и перемещения замка 15 вперед при помощи рычага 16. При этом пружина 14 сжимается. Имеющаяся в замке защелка 11, оттягиваемая пружиной 10, упирается в выступ замка и удерживает его в переднем положении.

Рис.3. Полуавтоматическое опорно-сцепное устройство седельных автомобилей-тягачей

При расцепке, когда автомобиль-тягач подается вперед, шкворень полуприцепа раздвигает захваты. В этот момент штифт 9, имеющийся на левом захвате, нажимая на защелку, поворачивает ее и освобождает замок, который под действием пружины 14 передвигается до упора в захваты.

При сцепке автомобиль-тягач подается назад и шкворень полуприцепа, попадая в устье опорного круга, нажимает на внутренние скосы захватов, раздвигает их и устанавливает в рабочее, положение. В этот момент замок автоматически вдвигается пружиной в паз, образуемый передними концами захватов, и запирает сцепное устройство. После этого планку 1 предохранителя опускают, предупреждая возможность осевого перемещения замка и, следовательно, расцепку автопоезда в пути. Опорный круг может качаться на поперечной оси до 35°, а на продольной - до 20°. Опорно-сцепные устройства автомобилей-тягачей и полуприцепов во многих случаях для смягчения ударов при трогании с места и при движения имеют амортизаторы в виде продольных спиральных пружин или резиновых упоров.

Цилиндрический шкворень полуприцепа имеет в нижней части фланец, препятствующий выходу шкворня из замка опорного круга при несинхронных вертикальных перемещениях автомобиля-тягача и полуприцепа.

Полуприцепы, как правило, не имеют специальных устройств для корректирования их траектории при повороте автомобиля-тягача. В случаях, когда полуприцеп имеет две оси (тандем), одна из них выполняется поворачивающейся или смешенной относительно другой в целях уменьшения износа шин при движении их по paзным колеям. Полуприцеп в этом случае следует по колее автомобиля-тягача в "ограниченной степени".

Месторасположение и размеры седельно-сцепного устройства автомобилей-тягачей, не передающих через шкворень мощность для привода активных осей полуприцепа или paзличных механизмов, установленных на полуприцепе, должны соответствовать действующим стандартам.

Применение, на автопоездах стандартных седельно-сцепных устройств позволяет осуществлять сцепку и расцепку автомобилей-тягачей со всеми полуприцепами.

Для повышения поперечной устойчивости автопоездов и особенно при перевозке жидкостей в цистернах некоторые фирмы США изготовляют седельные устройства с пневматической блокировкой запорных механизмов, обеспечивающих выбор зазора между захватами и шкворнем полуприцепа.

Рис.4. Схема работы автоматического бесшкворневого седельно-сцепного устройства: а - подача автомобиля-тягача под полуприцеп; б - процесс сцепки: в - автомобиль-тягач сцеплен с полуприцепом.

Сцепное устройство ("компенсатор") фирмы "Holland Hitch" автоматически стабилизирует груженую цистерну, наклоняя ее при боковом крене тягача в противоположную сторону. Фирма "Fontain Truck Equpment выпускает седельные, устройства, в которых механическая блокировка совмещена с выбором зазора между шкворнем и захватами плиты. Седельное устройство имеет скользящее соединение с рамой автомобиля-тягача и поэтому может перемещаться вперед или назад и следовательно, рационально распределять массу полуприцепа между его осью (или осями) и седельным устройством.

Наряду с седельным устройством шкворневого типа за рубежом применяются автоматические бесшкворневые седельно-спепные устройства, например, Autosafe фирмы "Hands" (рис.4). В данном случае на автомобиле-тягаче установлены направляющие 5, изогнутая планка 15, расположенная посередине между направляющими, запорные крюки 8 (их два) и фиксаторы 6 запорных крюков, а на полуприцепе - поворотный стол 4, направляющие ролики 3 и катки 1 опорного устройства. Процесс сцепки происходит следующим образом: тягач задним ходом подается под полуприцеп (рис.4. а): направляющие ролики 3, перекатываясь по направляющим 5 автомобиля-тягача, поднимают полуприцеп (рис.4, б) и в определенный момент катки 1 опорного устройства отрываются от земли. В процессе дальнейшего перемещения автомобиля-тягача задним ходом шарнир 13 опорного устройства выталкивается из фиксатора 16, прикрепленного к опорным стойкам 2 изогнутой планкой 15 (рис.4. в). При дальнейшем поднятии опорных стоек пружина 11 запорного механизма опорного устройства растягивается, верхние части запорных крюков 8 упираются в направляющие ролики и, вращаясь вокруг осей 7, поворачиваются против часовой стрелки, пока передняя часть запорного крюка, преодолев сопротивление пружины 10, не повернет вниз фиксатор 6. В это время направляющие ролики захватываются крюками 8, которые заперты фиксаторами 6, и автопоезд готов к движению. Прибыв к месту назначения, водитель посредством выведенной в кабину тяги 9 освобождает фиксаторы и подает автомобиль-тягач вперед. Направляющие ролики полуприцепа скатываются по направляющим автомобиля-тягача, пружина 11, сжимаясь, поворачивает рычаги 12 и 14. которые опускают стойки в вертикальное положение, при этом шарнир 13 попадает в фиксатор 16 (см. рис.4. б). По описанной выше схеме работает большинство автоматических бесшкворневых устройств.

Скорость сцепки и расцепки автомобилей-тягачей и полуприцепов в значительной мере зависит от конструкций опорных устройств полуприцепов.

На отечественных полуприцепах наибольшее распространение получили опорные устройства с механическим ручным приводом. При этом привод может быть общим для двух опор или отдельным для каждой опоры. В последнее время начинают применяться опорные устройства с электрическим и гидравлическим приводом.

Опорное устройство Минского автозавода имеет раздельный механический ручной привод на каждую опору. В транспортном положении опоры убираются (поворачиваются вокруг шарниров) и закрепляются на раме. Раздельный привод обеспечивает более удобную сцепку и расцепку на неровной площадке и несколько снижает усилие на рукоятке, необходимое для подъема и опускания стоек. Недостаток этого опорного устройства состоит в том, что для подъема и опускания опор водителю приходится переходить с одной стороны автопоезда на другую.

Рис.5. Схема опорных устройств полуприцепа с гидравлическим приводом: А - автомобиль-тягач; Б - полуприцеп:1-маслянный бак.2 - блок клапанов; 3 - соединительная головка; 4 - запорный вентиль; 5-6 - цилиндры опорных устройств; 7 - опорные плиты; 8 - насос.

 

Это приводит к увеличению времени, необходимого на сцепку и расцепку автопоезда.

На автопоездах большой грузоподъемности наиболее широкое распространение должны получить опорные устройства, не требующие применения ручного труда, например с гидравлическим приводом (рис.5). Это устройство состоит из двух гидравлических цилиндров, масло в которые нагнетается насосом, приводимым от двигателя автомобиля-тягача через коробку отбора мощности.

Перед отцепкой полуприцепа в цилиндры опорного устройства подается насосом масло и происходит выдвижение опор. Перекрытие крана управления фиксирует опоры в выдвинутом положении. После сцепки тягача и полуприцепа кран управления открывают и масло под действием пружин выдавливается в бак и опоры поднимаются.

Такое опорное, устройство может быть применено на полуприцепах, работающих в сцепке со стандартными автомобилями-тягачами, оборудованными шлангами, имеющими соединительные головки. При необходимости опорные стойки могут быть подняты или опущены вручную при помощи насоса, установленного на полуприцепе. Время опускания и подъема стоек с использованием насоса с приводом от двигателя составляет 1,0-1,5 мин. При этом полностью исключается ручной труд. К недостаткам гидравлического опорного устройства относятся потери масла при соединении и разъединении шлангов автомобиля-тягача и полуприцепа, а также ухудшение работы привода при низких температурах воздуха (загустевание масла).

3. Автомобили-самопогрузчики кранового типа


Для снижения стоимости перевозки грузов подвижным составом автомобильного транспорта необходимо обеспечить механизацию погрузочно-разгрузочных работ не только при перевозках массовых грузов, но и при транспортировании тарно-упаковочных грузов, в том числе из пунктов с небольшим или временным грузооборотом. В этих условиях наиболее целесообразно применять не стационарные погрузочные механизмы или автокраны и автопогрузчики, а механизмы, смонтированные на автомобилях. Такие автомобили-самопогрузчики при небольшом снижении своей грузоподъемности обеспечивают механизацию погрузки и выгрузки различных штучных или затаренных сыпучих грузов при незначительной затрате времени.

Важнейшим направлением в развитии комплексной механизации погрузочно-разгрузочных работ с тарно-штучными грузами на автомобильном транспорте является внедрение контейнерного способа доставки грузов. Прогрессивным направлением доставки контейнеров подвижным составом автомобильного транспорта является создание обменных контейнерных пунктов на крупных промышленных предприятиях, оптовых торговых базах и складах, базах материально-технического снабжения и других объектах с постоянными контейнеропотоками. На обменных контейнерных пунктах наиболее распространенным и эффективным средством механизации погрузочно-разгрузочных работ являются автопогрузчики (для среднетоннажных контейнеров) и специальные передвижные подъемные устройства, в том числе смонтированные на полуприцепах, предназначенных для перевозки контейнеров большой грузоподъемности.

Исследованиями НИИТАа установлено, что при отсутствии стационарных погрузочно-разгрузочных механизмов в пунктах погрузки и выгрузки целесообразно применять следующий подвижной состав автомобильного транспорта:

автомобили с консольным краном - грузоподъемностью 0,63 и 1.25 т при максимальном вылете стрелы;

автомобили с портальными кранами грузоподъемностью 1,25, 2,5 - 3,0 и 5.0т;

автомобили с грузоподъемными бортами (в том числе автомобили -фургоны);

полуприцепы-контейнеровозы с погрузочно-разгрузочными механизмами;

автомобили и полуприцепы со съемными кузовами-контейнерами.

По типу погрузочно-разгрузочного оборудования автомобили-самопогрузчики подразделяются на следующие основные группы: со стреловыми кранами, с качающимися порталами, грузоподъемными бортами, наклоняющейся платформой и навесными грузоподъемными устройствами.

Автомобили-самопогрузчики могут погружать тарные грузы на свою платформу и разгружать их с нее; перегружать грузы на рядом расположенные автомобили и прицепы или с их платформ на свою платформу, а также погружать грузы с площадки и разгружать их на площадку.

Особенностью автомобилей-самопогрузчиков кранового типа является то, что их краны имеют гидравлический привод и для уменьшения габаритов в транспортном положении они складываются. В сложенном состоянии краны выступают за габариты платформы и кабины всего лишь на 250-300мм (по ширине). Конструкции кранов различной грузоподъемности и их гидравлические схемы аналогичны. Краны отличаются друг от друга лишь размерами узлов.

Кран представляет собой (Рис.6) консоль, вращающуюся на колонне, смонтированной на раме автомобиля на опорах между кабиной и кузовом. Для возможности установки крана кузов автомобиля сдвигают назад.

Кран включает в себя следующие узлы: колонну, стрелу, механизм поворота крана, гидравлическую систему и стабилизаторы рессор.

Рис.6. Автомобиль-самопогрузчик с гидравлическим краном

Колонна крана состоит из трех секций, соединенных между собой болтами: опоры 1 крана, механизма 2 поворота и цилиндра подъемного механизма 3. Стрела крана состоит из рамы 6, хобота 8, трубы 9 с крюком и гидравлического цилиндра 7 двойного действия. Рама стрелы закреплена при помощи шарнирно-рычажного механизма на кронштейне 4, приваренном к корпусу цилиндра подъемного механизма 3, и связана с головкой плунжера. При подъеме или опускании плунжера цилиндра подъемного механизма рама стрелы крана перемещается по дуге вокруг шарнира 5. Хобот 8 соединен с рамой шарнирно. Стрела складывается при помощи гидравлического цилиндра 7. Для увеличения вылета стрелы труба с крюком выдвигается вручную. В крайних положениях она фиксируется в направляющих опорах хобота.

Механизм поворота крана показан на рис.7. Стойка опоры 9 крана, размещенная и корпусы, 10, запрессована в стальном фланце 1, который крепится болтами к раме автомобиля. Колонна вращается вокруг опоры на подшипниках 2. Вращение колонны осуществляется гидравлическим цилиндром 6 двойного действия и винтовой парой (винтовой шток 4 и гайка 5), при помощи которой поступательное движение превращается во вращательное. Поршень 7 имеет два штока, один из которых (винтовой 4) соединен с бронзовой гайкой 5, жестко связанной с колонной крана, а другой (шлицевой 8) - со шлицевой втулкой, запрессованной в стойку опоры 9. Поршень уплотняется в цилиндре 6 поворота стрелы уплотнителем 3.

Рис.7. Механизм поворота крана автомобиля-самопогрузчика.

Поворот крана, подъем и опускание стрелы осуществляются при помощи гидравлического привода. Поворот крана осуществляется следующим образом. При подаче, масла в цилиндр 6 поршень 7 либо поднимается, либо опускается в зависимости от того, с какой стороны давит на него масло. Шлицевой шток 8 поршня 7 жестко соединен с опорой 9 и через нее и фланец 1 - с рамой автомобиля. Поэтому вертикальное перемещение поршня возможно лишь только за счет вращения в ту или другую сторону гайки 5. Это и используется для поворота крана. Вращение гайки 5, связанной жестко с колонной крана, вызывает поворот крана.

Похожие работы на - Специальные автомобили и автопоезда

 

Не нашли материал для своей работы?
Поможем написать уникальную работу
Без плагиата!
Без нейросетей!