Контейнерные перевозки на железнодорожном транспорте

  • Вид работы:
    Курсовая работа (т)
  • Предмет:
    Транспорт, грузоперевозки
  • Язык:
    Русский
    ,
    Формат файла:
    MS Word
    11,37 Mb
  • Опубликовано:
    2010-11-23
Вы можете узнать стоимость помощи в написании студенческой работы.
Помощь в написании работы, которую точно примут!

Контейнерные перевозки на железнодорожном транспорте

Содержание

Исходные данные

Введение

1. Расчет плана формирования вагонов с контейнерами

1.1 Исходные данные к расчету плана формирования

1.2 Расчет плана формирования

2. Расчет основных параметров и проектирование контейнерного пункта

2.1 Расчет параметров контейнерного пункта

2.2 Проектирование контейнерного пункта

3. Расчет эффективности назначения контейнерных поездов

3.1 Общие положения

3.2 Расчет расходов по перевозке контейнеров специальным поездом

3.3 Расчет расходов при перевозке контейнеров в грузовом поезде

Заключение

Список литературы

Введение

Контейнеризация перевозок создает условия для комплексной механизации погрузочно-выгрузочных и складских работ, доставки грузов потребителям без тары или в облегченной таре, по наиболее экономичным схемам с высокой сохранностью. В 1917 – 1989гг. контейнерные перевозки развивались ускоренными темпами. Освоение возрастающих объемов контейнерных перевозок обеспечивалось внедрение специализированных контейнерных железнодорожных платформ, судов, автопоездов, кранов и созданием развитой сети контейнерных пунктов. Внедрение крупнотоннажных контейнеров положительно повлияло на развитие перевозок грузов в международных сообщениях. Крупнотоннажные контейнера перевозятся морским транспортом между портами России и многих других стран. Для этих целей созданы крупные контейнерные терминалы и специализированный флот. На речном транспорте контейнерные перевозки также развиваются быстрыми темпами. Все основные порты имеют специализированные контейнерные причалы, оборудованные перегрузочными механизмами. Речной флот в период навигации разгружает железнодорожный транспорт, доставляя около 2,5 млн. т. грузов в контейнерах. Объемы контейнерных перевозок в прямом автомобильном сообщении непрерывно возрастают. Помимо перевозок в собственных контейнерах; автотранспортом доставляет большое количество грузов в контейнерах, принадлежащих грузовладельцам и другим видам транспорта, при завозе на железнодорожные станции, в морские и речные порты и вывозе из них к грузополучателям. Анализ динамики роста рынка свидетельствует о том, что в России объемные показатели контейнерных перевозок растут быстрее общемировых.

Контейнеризация полностью освобождает грузовладельцев от чисто транспортных операций. Вместе с тем практическая реализация выгод контейнеризации зависит от активной деятельности грузовладельцев в подготовки грузов к отправлению в контейнерах, правильном их использовании, создании совершенной технологии выполнения погрузочно-разгрузочных работ, вспомогательных и начально-конечных коммерческих операций.

Эффективность контейнерных перевозок, возможно, реализовать при ускоренном продвижении грузов по непрерывной цепи между пунктами производства и потребления, в облегченной таре, при механизированной загрузке и разгрузке контейнеров и транспортных средств. На практике эти условия часто не соблюдаются из-за отсутствия необходимой координации в работе различных видов транспорта, отправителей и получателей груза и общетранспортного регулирования. Последствиями приведенных недостатков являются ухудшение использования контейнеров, вагонов и автомобилей, потери перевозочных ресурсов, снижение качества транспортных услуг и эффективности контейнеризации. Также основными сдерживающими факторами развития контейнерных перевозок являются ограниченная пропускная способность портов и неразвитость инфраструктуры.

1. Расчет плана формирования вагонов с контейнерами

1.1 Исходные данные к расчету плана формирования

В число исходных данных входят:

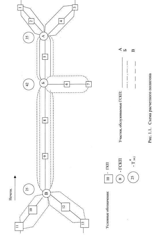
*   контейнеропотоки (табл. 1.1).

*   схема железнодорожного полигона (рис. 1.1).

План формирования вагонов с контейнерами рассчитывается для груженых контейнеров и устанавливает категории и назначения вагонов, а также пункты сортировки контейнеров.

В зависимости от схемы перевозки и назначения контейнеров, перевозимых на одном вагоне, последние подразделяются на прямые, сборные, участковые и сборно-участковые.

Прямые вагоны могут формироваться на грузовом (ГКП) или грузосортировочном (ГСКП) пункте и следуют в адрес одной станции назначения.

Сборные вагоны включают в себя контейнеры, имеющие назначение на разные станции и следуют до одного ГСКП где производится их сортировка.

Участковые вагоны формируются ГСКП и следуют в адрес нескольких станций участка, где производится погрузка-выгрузка контейнеров.

Сборно-участковый вагон отличается от участкового тем, что для пополнения комплекта в него могут загружаться контейнеры. Следующие между смежными ГСКП без выполнения с ними грузовых операций на попутных ГПК участка.

Таблица 1.1


А

Б

В

1

2

3

4

5

6

7

8

9

10

11

12

13

А


2

27

17

4

25

4

-

6

44

3

3

3

27

2

16

Б

2


6

9

3

15

5

-

-

14

-

-

5

16

3

11

В

5

9


280

2

16

5

4

11

18

-

-

-

12

2

5

1

15

5

300


-

15

5

-

-

9

4

3

5

38

5

8

2

-

1

14

-


-

-

-

-

16

3

2

2

5

3

4

3

1

2

17

9

4


-

7

4

6

-

2

5

16

4

13

4

3

4

14

2

2

-


-

1

3

2

3

2

4

1

5

5

-

-

1

3

1

2

1


1

5

2

4

2

18

4

5

6

-

-

5

3

1

2

1

1


-

1

2

2

3

1

4

7

18

3

15

14

3

11

7

1

-


2

-

5

8

4

7

8

1

-

2

12

2

11

3

2

1

5


-

1

4

1

3

9

13

-

1

6

5

3

4

1

-

18

-


1

1

1

1

10

12

2

-

6

4

5

3

-

-

5

-

-


-

-

1

11

8

2

5

5

1

14

-

1

1

10

2

1

-


-

13

12

2

5

-

17

2

13

4

2

2

13

3

2

1

4


-

13

20

5

5

18

6

33

1

1

1

15

2

3

2

14

-



Минимальные среднесуточные контейнеропотоки для оценки целесообразности формирования прямых вагонов со среднетоннажными контейнерами

Таблица 1.2

Д, дней

Уровень надежности плана формирования вагонов с контейнерами, Р3

1,00

1

2

3

4

5

42,644

9,766

5,088

3,394

2,537



На втором этапе выполняем корректировку маломощных струй контейнеропотоков отправляемых с ГКП и прибывающих на ГКП. С этой целью в таблице 1.3 подсчитаем суммарные контейнеропотоки прибытия и отправления и разделим их по направлениям следования. В этой связи преобразуем таблицу 1.3 в таблицу 1.4.

После второго этапа расчета таблица 1.3 приобретает вид таблицы 1.4.

Таблица 1.4


А

Б

В

1

2

3

4

5

6

7

8

9

10

11

12

13

А


19

28

22

У28

27

У35

-

П

Х

П

П

31

Х

16

Б

11


17

21

П

20

Х

У13

У22

П

У14

У12

Х

16

Х

11

В

21

36


П

Х

35

Х

Х

Х

23

У7

У6

У33

П

У27

П

1

П

12

П


-

15

П

-

-

9

Х

Х

Х

38

Х

8

2

У8

Х

П

-


-

-

-

-

П

П

Х

Х

П

Х

П

3

1

8

26

9

П


-

П

Х

6

-

Х

Х

16

Х

П

4

У24

Х

П

Х

Х

-


-

Х

П

Х

Х

Х

Х

Х

П

5

У6

У7

Х

Х

Х

Х

Х


Х

П

Х

П

Х

П

П

П

6

Х

У14

П

Х

Х

Х

Х

Х


-

Х

Х

Х

П

Х

П

7

П

6

П

14

Х

11

Х

Х

-


Х

-

Х

8

Х

7

8

Х

У6

У8

П

Х

П

П

Х

Х

П


-

Х

Х

Х

П

9

П

У14

У5

Х

П

Х

Х

Х

-

П

-


Х

Х

Х

Х

10

П

Х

У20

П

Х

Х

Х

-

-

Х

-

-


-

-

Х

11

Х

Х

У40

Х

Х

Х

-

Х

Х

П

Х

Х

-


-

П

12

Х

П

У18

П

Х

П

Х

Х

Х

П

Х

Х

Х

П


-

13

27

7

П

18

Х

33

Х

Х

Х

15

Х

Х

Х

П

-



Переходим к третьему этапу расчетов.

Проверим целесообразность назначения сборных вагонов по общему достаточному условию, для чего составим таблицу 1.5.

Таблица 1.5

на из

А

Б

В

А

А-1

А-3

А-Б

итого

Б

Б-А

Б-7

Б-В

итого

В

В-Б

В-11

В-13

итого

А


22

27

-

49

19


-

-

19

28


31

16

75

Б

11

21

20


51


-

-

-

-

17


16

11

44

В

21

-

35


56

30

-

23


53


-

-

-

-

1

П

-

15

-

15

12


9

-

21

П


38

8

46

2

-

-

-

-

-

-


-

-

-

П


-

-

-

3

1

9

-

-

10

8


6

-

14

26


16

-

42

4

-

-

-

-

-


-

-

-

П


-

-

-

5

-

-

-

-

-

-

-

-

-

-

-


-

-

-

6

-

-

-

-

-

-

-

-

-

-

П


-

-

-

7

П

14

11


25

6

-

-

-

6

П


8

7

15

8

-

-

-


-

-

-

-

-

-

-


-

-

-

9

П

-

-


-

-

-

-

-

-

-


-

-

-

10

П

-

-


-

-

-

-


-

-

-

-

-

-

11

-

-

-


-

-

-

-


-

-

-

-

-

-

12

-

-

-


-

П

-

-


-

-

-

-

-

-

13

27

18

-


45

7

-

-


7

П

-

-

-

-


Как видно из таблицы, восемь струй контейнеропотоков составляют величину  и удовлетворяют

При этом струи из А, мощностью 22 и 27 контейнеров (49), можно не рассматривать, поскольку на пути их следования до ГКП назначения нет ни одного попутного ГСКП.

Воспользуемся общим достаточным условием и проведем анализ остальных струй в таблице 1.5 на его выполнение или не выполнение.

F  Для струи Б-А  условие выполняется;

F  Для струи В-А  условие не выполняется;

F  Для струи 13-А  условие не выполняется;

F  Для струи В-Б  условие не выполняется;

F  Для струи А-В  условие выполняется;

F  Для струи Б-В  условие выполняется;

F  Для струи 1-В  условие выполняется;

При проверке на общее достаточное условие из восьми струй целесообразно выделить в самостоятельное назначение сборных вагонов четыре: Б-А, А-В, Б-В, 1-В.

Результаты анализа контейнеропотоков на выполнение общего достаточного условия трансформируют таблица 1. 6.

Таблица 1.6 Контейнеропотоки после третьего этапа (первая интерация).


А

Б

В

1

2

3

4

5

6

7

8

9

10

11

12

13

А


19

С

43

У28

47

У35

-

П

П

-

П

П

-

-

-

Б

С


С

-

П

-

-

У13

У22

П

У14

У12

-

-

-

-

В

27

30


П

-

35

-

-

-

23

У7

У6

У33

П

У27

П

1

П

12

П/с


-

15

П

-

-

9

-

-

-

-

-

-

2

У8

-

П

-


-

-

-

-

П

П

-

-

П

-

П

3

1

8

26

9

П


-

П

-

6

-

-

-

16

-

П

4

У24

-

П

-

-

-


-

-

П

-

-

-

-

-

П

5

У6

У7

-

-

-

-

-


-

П

-

П

-

П

П

П

6

-

У14

П

-

-

-

-

-


-

-

-

-

П

-

П

7

П

6

П

14

-

11

-

-

-


-

-

-

8

-

7

8

-

У6

У8

П

-

П

П

-

-

П


-

-

-

-

П

9

П

У14

У5

-

-

-

-

-

П

-


-

-

-

-

10

П

-

У20

П

-

-

-

-

-

-

-

-


-

-

-

11

-

-

У40

-

-

-

-

-

-

П

-

-

-


-

П

12

-

П

У18

П

-

П

-

-

-

П

-

-

-

П


-

13

27

7

П

18

-

33

-

-

-

15

-

-

-

П

-



После соответствующих преобразований таблица 1.4 принимает вид таблица 1.6. Её анализ показывает, что в некоторых клетках величина струй превышает  для Д = 1 при Р3 = 1, поэтому в клетках А-1, А-3, проставляем букву П.

Таблица 1.7 Контейнеропотоки после третьего этапа (вторая интерация).

на из

А

Б

В

1

2

3

4

5

6

7

8

9

10

11

12

13

Итого

А


19

С

43

У28

47

У35

-

П

П

-

П

П

-

-

-

19

Б

С


С

-

П

-

-

У13

У22

П

У14

У12

-

-

-

-

-

В

27

30


П

-

35

-

-

-

23

У7

У6

У33

П

У27

П

115

1

П

12

П/с


-

15

П

-

-

9

-

-

-

-

-

-

36

2

У8

-

П

-


-

-

-

-

П

П

-

-

П

-

П

-

3

1

8

26

9

П


-

П

-

6

-

-

-

16

-

П

66

4

У24

-

П

-

-

-


-

-

П

-

-

-

-

-

П

-

5

У6

У7

-

-

-

-

-


-

П

-

П

-

П

П

П

-

6

-

У14

П

-

-

-

-

-


-

-

-

-

П

-

П

-

7

П

6

П

14

-

11

-

-

-


-

-

-

8

-

7

46

8

-

У6

У8

П

-

П

П

-

-

П


-

-

-

-

П

-

9

П

У14

У5

-

П

-

-

-

-

П

-


-

-

-

-

-

10

П

-

У20

П

-

-

-

-

-

-

-

-


-

-

-

-

11

-

-

У40

-

-

-

-

-

-

П

-

-

-


-

П

-

12

-

П

У18

П

-

П

-

-

-

П

-

-

-

П


-

-

13

7

П

18

-

33

-

-

-

15

-

-

-

П

-


100

итого

55

82

26

41

-

94

-

-

-

53

-

-

-

24

-

7

382


Подсчитаем итоговые контейнеропотоки прибытия и отправления. Из таблицы 1.7 видно, что в процессе преобразований наметился еще ряд ослабленных струй, величины которых не превышают 43 контейнеров. Поэтому возвращаемся ко второму этапу расчетов. После соответствующих преобразований таблица 1.7 принимает вид таблицы 1.8 и таблицы 1.9.

Таблица 1.8 Контейнеропотоки после третьего этапа (третья интерация).


А

Б

В

1

2

3

4

5

6

7

8

9

10

11

12

13

Итого

А


31

С

П

У28

П

У35

-

П

П

-

П

П

-

-

-

31

Б

С


С

-

П

11

-

У13

У22

П

У14

У12

-

-

-

-

11

В

27

30


П

-

35

-

-

-

23

У7

У6

У33

П

У27

П

115

1

П

Х

П/с


-

Х

П

-

-

х

-

-

-

-

-

-

-

2

У8

-

П

-


-

-

-

-

П

П

-

-

П

-

П

-

3

10

8

42

Х

П


-

П

-

6

-

-

-

Х

-

П

66

4

У24

-

П

-

-

-


-

-

П

-

-

-

-

-

П

-

5

У6

У7

-

-

-

-

-


-

П

-

П

-

П

П

П

-

6

-

У14

П

-

-

-

-

-


-

-

-

-

П

-

П

-

7

П

У17

П

Х

-

Х

-

-

-


-

-

-

х

-

х

-

8

-

У6

У8

П

-

П

П

-

-

П


-

-

-

-

П

-

9

П

У14

У5

-

П

-

-

-

-

П

-


-

-

-

-

-

10

П

-

У20

П

-

-

-

-

-

-

-

-


-

-

-

-

11

-

-

У40

-

-

-

-

-

-

П

-

-

-


-

П

-

12

-

П

У18

П

-

П

-

-

-

П

-

-

-

П


-

-

13

45

7

П

х

-

33

-

-

-

15

-

-

-

П

-


100

итого

82

76

42

-

-

79

-

-

-

44

-

-

-

-

-

-

323


Таблица 1.9 Контейнеропотоки после третьего этапа (четвертая интерация).


А

Б

В

1

2

3

4

6

7

8

9

10

11

12

13

Итого

А


31

С

П

У28

П

У35

-

П

П

-

П

П

-

-

-

31

Б

С


С

-

П

11

-

У13

У22

П

У14

У12

-

-

-

-

11

В

27

30


П

-

35

-

-

-

23

У7

У6

У33

П

У27

П

115

1

П

-

П/с


-

-

П

-

-

-

-

-

-

-

-

-

-

2

У8

-

П

-


-

-

-

-

П

П

-

-

П

-

П

-

3

10

8

42

-

П


-

П

-

6

-

-

-

-

-

П

66

4

У24

-

П

-

-

-


-

-

П

-

-

-

-

-

П

-

5

У6

У7

-

-

-

-

-


-

П

-

П

-

П

П

П

-

6

-

У14

П

-

-

-

-

-


-

-

-

-

П

-

П

-

7

П

У17

П

-

-

-

-

-

-


-

-

-

-

-

-

-

8

-

У6

У8

П

-

П

П

-

-

П


-

-

-

-

П

-

9

П

У14

У5

-

П

-

-

-

-

П

-


-

-

-

-

-

10

П

-

У20

П

-

-

-

-

-

-

-

-


-

-

-

-

11

-

-

У40

-

-

-

-

-

-

П

-

-

-


-

П

-

12

-

П

У18

П

-

П

-

-

-

П

-

-

-

П


-

-

13

П

7

П

-

-

33

-

-

-

15

-

-

-

П

-


100

итого

37

76

42

-

-

79

-

-

-

44

-

-

-

-

-

-

278


Расчет плана формирования вагонов с контейнерами произведен до четвертого этапа.

2. Расчет основных параметров и проектирование контейнерного пункта

2.1 Расчет параметров контейнерного пункта

К числу основных параметров ГКП относятся:

*   вместимость контейнерного пункта;

*   число ярусов складирования крупнотоннажных контейнеров;

*   длины и количество контейнерных площадок;

*   число механизмов для работы на ГКП..

Рассчитаем общую потребность в контейнеро-местах контейнерного пункта:

Расчет емкости ГКП для среднетоннажных контейнеров.

 (2.1)

При равенстве контейнеропотоков прибытия и отправления:

Расчет емкости ГКП для крупнотоннажных контейнеров.

 (2.2)

где - среднесуточное прибытие или отправление контейнеров в условных единицах (для крупнотоннажных – в 20-тонном исчислении = 200, для среднетоннажных – в 3-тонном исчислении = 412);

Nпр, Nот – соответственно среднесуточное прибытие и отправление контейнеров в условных единицах Nпр = 401, Nот = 412;

Nmax – большая из величин Nпр =280 и Nот = 300;

Кн – коэффициент, учитывающий суточную неравномерность контейнерных перевозок:

 ,  - сроки хранения контейнеров на площадке соответственно по прибытии и отправлении, сут. Принимаются = 1 сут., = 2 сут.;

φпр, φот – коэффициенты, учитывающие долю контейнеров, перегружаемых по прямому варианту: вагон-автомобиль, автомобиль-вагон. Можно принимать φпр = 0,85, φот = 0,90;

β – коэффициент, характеризующий отношение завоза к погрузке или вывоза к выгрузке в течение рабочих дней недели. Можно принимать β = 1,2;

γ - коэффициент, учитывающий дополнительную емкость площадок для хранения неисправных контейнеров. Можно принимать γ = 0,04;

tp – расчетный срок хранения неисправных контейнеров, сут. Принимается tp = 2 сут;

Nа – количество контейнеров, хранящихся на автомобилях и полуприцепах, находящихся на станции Nа = 10.

Коэффициент, учитывающий суточную неравномерность контейнерных перевозок:

Кн = 1 + νк, (2.3)

где νк – коэффициент вариации суточного объема переработки контейнеров, равный:

 (2.4)

где Кс – среднее число контейнеров, перевозимых на вагоне принимаем: для среднетоннажных контейнеров Кс = 11; для крупнотоннажных контейнеров Кс = 2,5.

Рассчитываем емкость ГКП для среднетоннажных контейнеров:

 Кн = 1 + 0,3 = 1,3

Екп = 1,3х [ 410х1х0,85 + 412х2х0,90 + 5х580х (1,2 -1)+ 0,04х (401 + 412)х 2 ] – 10 = 2235,7 (м)

Рассчитываем емкость ГКП для крупнотоннажных контейнеров:

 Кн = 1 + 0,3 = 1,3

Екп = 1,3х200х [ 1х0,85 + 2х0,90 + 5х (1,2 – 1) + 2х0,04х 2 ] – 10 = 980,6 (м)

Рассчитываем полезную длину площадки.

При известной вместимости КП, ширины пролета козлового крана и схемы расстановки контейнеров суммарная длина площадки определяется:

 (2.5)

где lэл – длина элементарной площадки, м;

nк – количество контейнеров, размещаемых на элементарной площадке;

кя – среднее число ярусов складирования контейнеров.

Расчет параметров складов для среднетоннажных контейнеров производится при условии их установки в один ярус.

Определим параметры контейнерной площадки для среднетоннажных контейнеров (3-тонных) рис. 2.1.

Дано: ширина контейнера bк = 1325 мм;

Длина контейнера lк = 2100 мм;

Ширина пролета lпр = 16 м;

Длина хода тележки lтел = 0,83 м.

Определим количество контейнеров, размещаемых на элементарной площадке:


где 0,1 – расстояние между контейнерами.


lэл =4х lк + 0,1 + 0,6 = 4х 2,1 + 0,1х 3 + 0,6 = 9,3 м.

расчет параметров складов для крупнотоннажных контейнеров:


Определим параметры контейнерной площадки для крупнотоннажных контейнеров (20-тонных) рис. 2.2.

Дано: ширина контейнера bк = 2438 мм;

Длина контейнера lк = 6058 мм;

Ширина пролета lпр = 25 м;

Длина хода тележки lтел = 7,19 м (0,8 + 3,15 + 3,24)

Определим количество контейнеров, размещаемых на элементарной площадке:


где 0,2 – расстояние между контейнерами.

Определим длину элементарной площадки:

lэл =2х lк + 0,2 + 0,8 = 2х 6,058 + 0,2 + 0,8 = 13,116 м.

Для целесообразного числа их хранения (для контейнеров, прибывших по железной дороге):


Где  - вместимость склада для контейнеров, прибывших по железной дороге (предназначенных к вывозу автотранспортом);

Sк – площадь, занимаемая одним условным контейнером. Для крупнотоннажных контейнеров Sк = 14,7694 м2;

Кд = - коэффициент дополнительной площади. Для крупнотоннажных контейнеров можно принимать Кд – 1,388;

Ψ – приведенные годовые расходы на устройство и содержание площадки, приходящиеся на 1 пог.м. ее длины, руб. Можно принимать Ψ = 1000 руб.;

γп – коэффициент, учитывающий форму автопоездов на КП. При наличии дополнительных поворотных площадок γп = 0,0365;

- средняя масса брутто условного (20-тонного) контейнера, принимаем = 14;

mп – среднее число вагонов в подаче на КП. Можно принимать mп = 20 ÷ 25;

еа – расходная ставка на перевозку грузов автотранспортом, руб./10 ткм. Можно принимать еа = 10 руб.

- расходы, связанные с часом простоя автомобиля, руб., принимаем = 50 руб.;

- расходы, обусловленные часом простоя вагона, руб., принимаем = 7 руб.;

- расходы, связанные с работой козлового крана в течение часа, руб., принимаем = 300 руб.;

- расходы, обусловленные часом внутрисменного простоя козлового крана, руб., принимаем = 120 руб.;

- максимальное число ярусов складирования контейнеров (по техническим возможностям козловых кранов). Принимаем = 2.

Вместимость склада для контейнеров, прибывших по железной дороге, определяется как составляющая формул (2.1) и (2.2):

 (2/7)

= 1.3х200х[ 1х0,85 + 5х(1,2 – 1) + 0,04х2] – 10 = 491,8 м

Окончательно среднее число ярусов складирования крупнотоннажных контейнеров определяется по формуле:

 (2.8)


Где -вместимость склада для контейнеров, отправляемых по железной дороге.

 (2/9)

= 1,3х200х(2х0,9 + 0,04х2) = 488,8 м

Определяем длину и количество контейнерных площадок.

Для среднетоннажных контейнеров:

Потребную длину склада определяем + суммарная ширина пожарных проездов (через каждые 100 м, шириной по 10 м).

Lоб = 650 + 60 = 710 (м)

Количество площадок принимаем

,

где Lрац = 200 – 300 м


Из расчетов принимаем 2 площадки по 250 м;

Полезная длина склада Lпол = 250 + 29 = 279 м;

29 м – длина участка для ремонта кранов и контейнеров (22 м. + 7 м.).

Из расчетов принимаем 1 площадку по 210 м;

Полезная длина склада Lпол = 210 + 29 = 239 м;

Для крупнотоннажных контейнеров:

Потребную длину склада определяем + суммарная ширина пожарных проездов (через каждые 100 м, шириной по 10 м).

Lоб = 360 + 50 = 586 (м)

Количество площадок принимаем , где Lрац = 300 – 500 м


Из расчетов принимаем 2 площадки по 300 м;

Полезная длина склада Lпол = 300 + 29 = 329 м;

Определяем число машин и механизмов.

Важным параметром контейнерных пунктов является число машин и механизмов, занятых на переработке контейнеров. Число машин определяется:

 (2.10.)

где Ткп – продолжительность работы контейнерного пункта в течение суток, ч. Принимаем Ткп = 24 ч;

Та – продолжительность работы автотранспорта по завозу контейнеров в течение суток, ч. Принимаем Та = 8 ч;

Nс – среднесуточное число вагонов с контейнерами, прибывающих на КП, вагонов.

Ø  для среднетоннажных контейнеров

Ø  для крупнотоннажных контейнеров

- среднее число операций, приходящихся на один контейнер, в светлое время суток (в период работы автотранспорта);

Хп – среднее число подач вагонов на КП за сутки;

П – часовая производительность механизма, конт-оп/ч.

Ø  для среднетоннажных контейнеров П = 45

Ø  для крупнотоннажных контейнеров П = 20

- расходы, обусловленные часом междусменного простоя механизма, руб. Принимаем = 20 руб.

Среднее число подач вагонов на КП за сутки:

 (2.11)

Среднее число операций, приходящихся на один контейнер, в светлое время суток:

 (2.12)

где φ – доля контейнеров, перерабатываемых через склад, принимаем φ = 0,5 (φпр + φот).

Определяем число машин для среднетоннажных контейнеров в дневное время суток.


Определяем число машин для крупнотоннажных контейнеров в дневное время суток.


Поскольку в ночное время автотранспорт, как правило, не работает, то и потребное число механизмов будет меньше:

 (2.13)

где - среднее число операций, приходящихся на один контейнер, в темное время суток (когда операции по завозу вывозу автотранспортом отсутствуют):

 (2.14)

Определяем число машин для среднетоннажных контейнеров в ночное время суток.


Определяем число машин для крупнотоннажных контейнеров в ночное время суток.


Дадим техническую характеристику козловых кранов для переработки среднетоннажных и крупнотоннажных контейнеров.


Параметры

Техническая характеристика крана КК-5 для среднетоннажных контейнеров

Техническая характеристика крана КК-32 для крупнотоннажных контейнеров

Грузоподъемность, т

6

32

Пролет, м

16,0

25

Высота подъема, м

9,0

8,5

Рабочий вылет консоли, м

4,5

5

Скорость подъема м/с номинальная

0,33

0,200

Установленная мощность, кВт

51,4

219

Собственная масса, т

32,5

220

Рис. 2.2. Компоновка основных элементов технического оснащения и технологическая схема механизации перегрузочных работ со крупнотоннажными контейнерами с применением козловых кранов и двумя грузовыми путями:

1 – подкрановый путь; 2 – железнодорожный путь; 3 – проходы для приемосдатчиков; 4 – автопоезд; 5 – участок ремонта контейнеров; 6 – участок ремонта крана; 7 – козловый кран; 8 – автополуприцеп.

2.2 Проектирование контейнерного пункта

Контейнерный пункт состоит из следующих элементов:

F  контейнерные площадки для среднетоннажных и крупнотоннажных контейнеров, число и длина которых принимается в соответствии с выполненными расчетами;

F  рассчитанное число кранов;

F  автопроезды, поворотные площадки и площадки для стоянки оборотных полуприцепов;

F  административное здание;

F  мастерская по ремонту контейнеров;

F  ограждение контейнерного пункта с КПП;

F  железнодорожные пути и др.

В зависимости от схемы компоновки КП вдоль складов контейнеров устраиваются тупиковые или кольцевые автопроезды.

Для проектирования КП выбираем схему тупикового автопроезда. Автопроезды включают в себя полосу погрузки шириной 4,8 м, расположенную непосредственно у подкранового пути и проходящую под консолями кранов, и две полосы движения шириной по 3,5 м. каждая. При этом, расстояние от складов до забора, ограждающего КП, должно быть 19 м. при одностороннем расположении складов; при их двустороннем расположении расстояние между складами должно быть 35 м.

В целях сокращения расстояния пробега автомобилей вдоль контейнерных складов целесообразно устраивать дополнительные площадки для разворота автомобилей (поворотные площадки).

Среднее расстояние между поворотными площадками определяется при одностороннем расположении складов:

 (2.15)

где Lск – рассчитанная длина склада контейнеров, м;

для среднетоннажных контейнеров Lск = 279 м;

для крупнотоннажных контейнеров Lск = 329 м;

- приведенные расходы, связанные с устройством и содержанием поворотной площадки, при одностороннем расположении складов, руб., принимаем = 17500 руб.

для среднетоннажных контейнеров:


для крупнотоннажных контейнеров:


Среднее расстояние между поворотными площадками определяется при двустороннем расположении складов:

 (2.17)

где - приведенные расходы, связанные с устройством и содержанием поворотной площадки, при двустороннем расположении складов, руб., принимаем = 12500 руб.

для среднетоннажных контейнеров:

для крупнотоннажных контейнеров:


При проектировании поворотных площадок их внешний радиус принимаем 12 м.

Со стороны, противоположной горловине КП, устраивается заезд для автотранспорта, оборудованный контрольно-пропускным пунктом. Для обеспечения поточного передвижения автомобилей целесообразно специализировать ворота для их въезда и выезда. Перед въездом на КП предусматривается устройство площадки для стоянки автомобилей.

В непосредственной близости от въезда на КП размещаются здания административно-бытового назначения.

На КП предусматривается устройство цеха для ремонта контейнеров, который может быть расположен как со стороны въезда на КП, так и в его горловине. В последнем случае несколько увеличивается время перемещения контейнеров между цехом их ремонта и складами.

3. Расчет эффективности назначения контейнерных поездов

3.1 Общие положения

Следующим этапом в системе организации контейнеропотоков на сети железных дорог является оценка эффективности назначения контейнерных поездов между крупными пунктами зарождения и погашения потоков контейнеров.

Контейнерный поезд состоит из вагонов (специализированных контейнерных или универсальных), загруженных только контейнерами. Вагоны могут быть загружены универсальными или специализированными контейнерами всех типов и размеров. Применение контейнерных поездов позволяет снизить сроки доставки грузов, увеличить работу контейнеров, сократив их оборот.

Как правило, контейнерный поезд, вследствие своей меньшей массы по сравнению с обычными грузовыми поездами (меньшего числа вагонов в составе) обладает большей скоростью передвижения, что позволяет отнести его к категории ускоренного грузового (контейнерного) поезда.

Целесообразность выделения ускоренного контейнерного поезда определяется сопоставлением приведенных расходов на перевозку вагонов с контейнерами:

¨ в поездах, следующих без переформирования до станции назначения;

¨ в грузовых сквозных поездах, следующих до станции назначения согласно действующим планам формирования таких поездов.

Сравнение расходов производится на один физический вагон с контейнерами в обоих вариантах перевозки контейнеров со станции формирования до станции расформирования.

Рис. 3.1. Схема транспортировки контейнеров со станции 1 на станцию В. - расстояние между контейнерным пунктом и ближайшей технической станцией, км.

L – расстояние между пунктами обращения контейнерного поезда, км.

- расстояние между смежными техническими станциями, км.

3.2 Расчет расходов по перевозке контейнеров специальным поездом

Расходы на перевозку вагонов с контейнерами в контейнерном поезде (в расчете на один вагон) складываются из следующих основных элементов:

Экп = Энк + Энв + Эдв + Эобг + Элб + Эд, (3.1)

где Энк – расходы, связанные с простоем комплекта контейнеров на площадке, руб.;

Энв - расходы, связанные с простоем вагонов в пункте формирования поезда, руб.;

Эдв – расходы, зависящие от продолжительности нахождения вагона с контейнерами в движении, руб.;

Эобг – расходы, связанные с обгоном грузовых поездов контейнерными поездами, руб.;

Элб – расходы, зависящие от потребного локомотивного парка, руб.;

Эд – расходы, зависящие от срока доставки контейнерных грузов, руб.

Расходы, связанные с простоем комплекта контейнеров на площадке.

На станции погрузки:

= mккч + екм)[0.5Та + 24(Тс – 1)]; (3.2)

= 12х(0,5 + 1)х[0.5x8 + 24x(3 – 1)] = 936 руб.

На станции выгрузки:

= mккч + екм)[0.5Та + 24(1 – φот)]; (3.3.)

= 12х(0,5 + 1)х[0.5x8 + 24x(1 – 0,9)] = 115,2 руб.

где Тс – интервал между отправлением со станции контейнерных поездов одного назначения, сут.;

mк – среднее количество условных контейнеров, перевозимых на одном вагоне. В курсовом проекте принимается mк = 12;

екч – средневзвешенная стоимость контейнеро-часа, руб. В курсовом проекте можно принимать екч = 0,5 руб;

екм - средневзвешенная стоимость контейнеро-мест, руб. В курсовом проекте можно принимать екм = 1 руб.

Интервал между отправлением со станции контейнерных поездов назначения 1-В:

 (3.4)

Где , - среднесуточное отправление вагонов со станции 1 на станцию В соответственно со среднетоннажными и с крупнотоннажными контейнерами, вагонов.

= 412, =200.

nв – число вагонов в составе контейнерного поезда, nв = 25.


Расходы, связанные с простоем вагонов в пункте формирования поезда:

 (3.5)

где Тнв – средняя продолжительность простоя вагонов в пункте формирования поезда, ч.

Средняя продолжительность простоя вагонов в пункте формирования поезда:

Тнв = Тгр + Тдоп (3.6)

где Тгр - средняя продолжительность простоя вагона под погрузкой, ч.

Тдоп – среднее время выполнения маневровых и технологических операций в пункте формирования поезда, ч.

 (3.7)

где - количество погрузочно-разгрузочных машин, занятых на погрузке вагонов соответственно со средне – и крупнотоннажными контейнерами.

, - техническая производительность машин, занятых на погрузке вагонов соответственно со средне- и крупнотоннажными контейнерами, конт/ч. Принимаем = 20 кон/ч, = 10 кон/ч.

, - среднее число соответственно среднетоннажных и крупнотоннажных контейнеров, перевозимых на одном вагоне = 11, = 2,5;

- среднее число вагонов соответственно среднетоннажными и крупнотоннажными контейнерами в составе контейнерного поезда.

  (3.8)

  

 

Среднее время выполнения маневровых и технологических операций в пункте формирования поезда:

Тдоп = хtпу + tобр (3.9)

где х – количество групп вагонов, на которое делится контейнерный поезд в пункте его формирования. В курсовом проекте принимается х = 2;

tпу – продолжительность подачи (уборки) вагонов одной группы, ч. tпу = 0,37

tобр – время на подготовку поезда к отправлению, ч. Принимаем tобр = 1 ч.

Тдоп = 2х0,37 + 1 = 1,74 ч;

Тнв = 4,6 + 1,74 = 6,34 ч;

Энв = 6,34х7 = 44,38 руб.

Расходы, зависящие от продолжительности нахождения вагона с контейнерами в движении:

 (3.10)

где Тдв – время нахождения вагона в движении до места расформирования поезда, ч:

 (3.11)

где L – длина участка обращения контейнерного поезда, км/ч. Принимаем L =480 км;

- участковая скорость контейнерного поезда. Определяется умножением технической скорости  на коэффициент участковой скорости.

= 66х0,84 = 55,44 км/ч.

 

Эдв = 8,66х(7 + 0,5х12) = 112,58 руб.

Расходы, связанные с обгоном грузовых поездов контейнерными поездами:

 (3.12)

где - среднее расстояние между обгонными пунктами, км. Принимаем = 20 км;

- стоимость поездо-часа грузового поезда на участке, руб./ч. Принимаем = 800 руб.

Nгр – средние размеры движения на рассматриваемом направлении в парах поездов. Принимаем Nгр = 75; , - соответственно расстояние между станциями формирования и расформирования контейнерного поезда и ближайшими техническими станциями (см.рис.3.1), км; = 0, = 180 км;

Uс – величина, учитывающая сокращение количества обгонов вследствие переноса их на станции технического осмотра поездов, смены бригад и локомотивов. Принимаем Uс = 0,0033

- средняя масса брутто грузовых поездов, обращающихся на рассматриваемом направлении, т. Принимаем = 5500 т;

С3 – полная расходная ставка на 1 ткм механической работы локомотива, руб. Принимаем С3 = 0,2 руб.

γгп – отношение массы поездного локомотива к массе состава брутто грузового поезда, принимаем γгп = 0,07;

αm – отношение средней скорости начала торможения грузовых поездов к их средней ходовой скорости на участке, принимаем равным αm = 0,9;

, - технические скорости соответственно контейнерного и грузового поездов, км/ч. Принимаем = 66 км/ч, = 55 км/ч;

- количество остановок грузовых поездов для обгона их ускоренными поездами, приходящиеся на один километр длины участка:

 (3.13)

 

 

Расходы, зависящие от потребного локомотивного парка:

 (3.14)

где елб – приведенная стоимость локомотиво- часа поездного локомотива на участке с учетом затрат на содержание локомотивной бригады, руб/ч, принимать елб = 200 руб.

 

Расходы, зависящие от срока доставки контейнерных грузов:

 (3.15)

где Ен – коэффициент дисконтирования. Можно принимать Ен = 0,12;

Цm – средняя цена тонны груза, перевозимого в контейнерах, руб., в курсовом проекте принимаем Цm = 10000 руб.;

Рст – средняя статистическая нагрузка условного контейнера, т. Принимаем Рст = 1,8;

Θ – расчетный срок доставки груза от отправителя до получателя, ч:

 (3.16)

где α – доля грузов, доставляемых грузополучателю и поступающих в сферу потребления, минуя склады долгосрочного хранения. Принимаем α = 0,7…..0,8;

, - средний простой вагона на технической станции, проходимой соответственно без переработки и с переработкой, ч. Принимаем =1,9, =10;

β – коэффициент участковой скорости. Принимаем β = 0,84.


3.3 Расчет расходов при перевозке контейнеров в грузовом поезде

Расходы на перевозку вагонов с контейнерами в грузовом поезде (в расчете на один вагон) складываются из следующих основных элементов:

 (3.17)

где - расходы, связанные с простоем комплекта контейнеров на площадке при их перевозке в грузовом поезде, руб.;

 - расходы, связанные с простоем вагонов в пункте формирования грузового поезда, руб.;

 - дополнительные расходы, связанные с простоем вагонов на попутных технических станциях, проходимых грузовым поездом с переработкой, руб.;

 - расходы, зависящие от продолжительности нахождения вагона с контейнерами в движении в составе грузового поезда, руб.;

 - расходы, зависящие от потребного локомотивного парка при перевозке контейнеров в грузовых поездах, руб.;

Эд – расходы, зависящие от срока доставки контейнерных грузов в грузовых поездах, руб.

Расходы, связанные с простоем комплекта контейнеров на площадке при их перевозке в грузовом поезде:

 (3.18)

 = 12х(2+1)х(0,5+1)=54 руб.

Расходы, связанные с простоем вагонов в пункте формирования грузового поезда:

 (3.19)

где Тнак – средняя продолжительность простоя под накоплением на передаточные поезда в пункте погрузки, ч. Принимаем Тнак = 4,0.

 = (7,42 + 4,0)х(800 + 0,5х12) = 23922,08 руб.

Средняя продолжительность простоя вагона под погрузкой:

 (3.20)

  (3.21)

  

 

Дополнительные расходы, связанные с простоем вагонов на попутных технических станциях, проходимых с переработкой;

 (3.22)

где - общая приведенная экономия на один вагон при пропуске вагонопотока через техническую станцию без переработки, ч. Принимаем = 5,1.

Эсорт = 5,1х(7 + 0,5х12) = 66,3 руб.

Расходы, зависящие от продолжительности нахождения вагона с контейнерами в движении в составе грузового поезда:

 (3.23)

где Тдв – время нахождения вагона в движении до места расформирования поезда, ч.;

 (3.24)

где L – длина участка обращения контейнерного поезда, км/ч. Принимаем L =480 км;

- участковая скорость хода грузового поезда, км/ч. Определяется умножением технической скорости  на коэффициент участковой скорости.

= 55х0,84 = 46,2 км/ч.

 

Эдв = 10,39х(7 + 0,5х12) = 135,07 руб.

Расходы, зависящие от потребного локомотивного парка при перевозке контейнеров в грузовых поездах:

 (3.25)

где елб – приведенная стоимость локомотиво- часа поездного локомотива на участке с учетом затрат на содержание локомотивной бригады, руб/ч, принимать елб = 200 руб.

 

Расходы, зависящие от срока доставки контейнерных грузов:

 (3.26)

где Ен – коэффициент дисконтирования. Можно принимать Ен = 0,12;

Цm – средняя цена тонны груза, перевозимого в контейнерах, руб., в курсовом проекте принимаем Цm = 10000 руб.;

Рст – средняя статистическая нагрузка условного контейнера, т. Принимаем Рст = 1,8;

Θ – расчетный срок доставки груза от отправителя до получателя, ч:

 (3.27)

, - средний простой вагона на технической станции, проходимой соответственно без переработки и с переработкой, ч. Принимаем =1,9, =10;

β – коэффициент участковой скорости. Принимаем β = 0,84.


Суммируя составляющие элементы общих затрат согласно формуле (3.17), получают расходы на доставку вагонов с контейнерами в составе грузового поезда.

Эгп = 54 + 23922,08 + 66,3 + 135,07 + 51,95 + 52138,26 = 76367,66 руб.

Сравнивая расходы на доставку контейнеров в ускоренном и грузовом поезде, определяем целесообразность назначения контейнерного поезда на рассматриваемом направлении.

Сравним полученные результаты в п.3.2. и п.3.3.

При Экп = 74534,41 руб. ‹ Эгп = 76367,66 руб.; В результате расчетов данный ускоренный контейнерный поезд эффективнее грузового поезда.

Заключение

В курсовом проекте рассмотрен и рассчитан оптимальный план формирования вагонов с контейнерами. Рассчитаны емкости складов средне- и крупнотоннажными контейнерами, определены полезные длины площадок и их количество, а также число машин и механизмов для переработки, прибываемых и отправляемых контейнеров. Проведен расчет эффективности назначения контейнерных поездов.

Используемая литература

«Контейнерная транспортная система» - Л.А.Коган, Ю.Т.Козлов, М.Д.Ситник.: Транспорт 1991 г. – 254С.

«Контейнерные перевозки на железнодорожном транспорте» - А.А.Абрамов, Учеб.пос. – М.: РГОТУПС, 2004 г.

Похожие работы на - Контейнерные перевозки на железнодорожном транспорте

 

Не нашли материал для своей работы?
Поможем написать уникальную работу
Без плагиата!
Без нейросетей!