Технология строительства убежищ, возводимых в особый период
Министерство образования и науки
Российской Федерации
Федеральное агентство по образованию
Государственное образовательное
учреждение
Высшего профессионального образования
Южно-Российский государственный
технический университет
Шахтинский институт (филиал)
РЕФЕРАТ
по дисциплине: Технология строительного
производства
на тему: Технология строительства
убежищ, возводимых в особый период
Работу выполнила
студентка группы В 1.4 Белина Е.Г.
Работу принял доц. К.Т.Н. Шубин А.А.
Шахты 2010
Содержание
Введение
Планировочно-конструктивные
решения сооружений
Особенности
проектирования, изготовления и монтажа конструкций
Технико-экономические
показатели убежищ
Заключение
Список
литературы
Введение
Основной задачей гражданской обороны является защита
населения от современных средств поражения путём размещения в защитных
сооружениях (убежищах и противорадиационных укрытиях). Строительство этих
сооружений осуществляется заблаговременно, либо в короткие сроки по особому
указанию. Убежища в системе защитных сооружений занимают главенствующую роль,
так как обеспечивают противоядерную, противохимическую, противорадиационную и
противобактериологическую защиту укрываемых.
Основополагающим фактором, учитываемым при проектировании
убежищ, является поражающее действие взрыва ядерного боеприпаса, которое
наиболее существенно влияет на конструктивно-планировочное решение убежищ и их
стоимость.
Убежища, возводимые в особый период (быстровозводимые
убежища), представляют собой особый тип защитных сооружений гражданской обороны
с простыми планировочно-конструктивными решениями, вытекающими из условий
эксплуатации их только по прямому назначению, т.е. для защиты людей от
расчётных средств поражения. Поэтому, именно зданиям такого типа необходимо
уделять особое внимание.
Планировочно-конструктивные решения сооружений
Убежища, возводимые в особый период (быстровозводимые
убежища), представляют собой особый тип защитных сооружений гражданской обороны
с простыми планировочно-конструктивными решениями, вытекающими из условий
эксплуатации их только по прямому назначению, т.е. для защиты людей от расчётных
средств поражения.
Главным условием, определяющим планировочно-конструктивные
решения отдельно стоящих быстровозводимых убежищ, является применение для их
строительства конструкций, изделий и материалов, имеющихся в народном хозяйстве
страны, либо использование конструкций без существенных изменений способа
производства. При этом должны быть сведены к минимуму или практически исключены
из состава производственного процесса «мокрые процессы» (укладка монолитного
бетона), сварочные работы и т.д., приводящие к увеличению сроков строительства
или требующие квалифицированной рабочей силы. Применение монолитного бетона нежелательно,
т.к. расчётную прочность он набирает длительное время – 25-30 суток. С этой же
точки зрения нежелательно применение кирпичной кладки. При строительстве убежищ
допустимо использовать цементный раствор, служащий выравнивающим слоем при
установке конструкций, а также для заделки швов или щелей.
Применение конструкций и элементов индивидуального (специального)
изготовления нецелесообразно, т.к. требует больших капитальных затрат,
вкладываемых задолго до возможного их использования и связанных с
необходимостью проведения существенной переоснастки и перестройки
технологических, линий предриятий-изготовителей.
Габариты быстровозводимых убежищ назначают минимально
возможными, исходя из рационального размещения бытового оборудования и условий
пребывания людей в сооружении в течение определённого времени (не менее двух
суток). Расстояние в свету между несущими конструкциями (в основном стенами)
для удобства установки скамей и создания проходов между ними может быть, м:
при однорядном продольном размещении 1,1 – 1,3
при двухрядном продольном размещении 1,7 – 1,9
при четырёхрядном продольном размещении 3,4 – 3,8
при двухрядном поперечном размещении 2,4 – 2,8
Таким образом, исходя из наличия конструкций и изделий
различного размера, пролёт убежищ целесообразно принимать в пределах 1,2 – 3,6 м. При двухъярусном расположении мест для укрываемых высота убежища от пола до выступающих
конструкций покрытия должна быть не менее 1,9 м. При одноярусном расположении, когда места для лежания укрываемых не делают, достаточно иметь высоту 1,7 м. Для соблюдения минимально необходимых санитарных норм и возможности перемещения людей по
убежищу необходимо иметь на одного укрываемого не менее 0,5 м2 площади пола. Поскольку высота убежищ может быть неодинаковой, различной получается
и площадь ограждающих конструкций на одного человека.
Таблица 1. Площадь ограждающих конструкций на одного человека
|
Материал
|
Площадь ограждающих конструкций на 1 чел., 1м2
|
|
Стены
|
Покрытия
|
|
Железобетон
Грунтонабивные мешки
Дерево
|
Железобетон
Металл
Дерево
Железобетон
Металл
Дерево
Железобетон
Металл
Дерево
|
1,5
1,5
1,9
2,2
1,8
2,5
2,8
|
|
Бетонные блоки
|
Железобетон
Металл
Дерево
|
1,6
1,7
|
Эту площадь определяют в зависимости от климатической зоны,
количества подаваемого в сооружение воздуха и от материалов, из которых
возводится убежище. При строительстве в центральных районах страны и подаче
воздуха 2 м3/ч на человека площадь ограждающих конструкций (покрытие
и стены) принимают по таблице 1, из которой видно, что требуемая площадь ограждающих
конструкций в сооружениях из дерева почти в 2 раза выше, чем в сооружениях из
железобетона. Вызвано это тем, что бетон поглощает больше теплоты, поэтому на
одного укрываемого необходимо подавать в сооружение большее количество воздуха.
Быстровозводимые убежища, оборудованные входами и аварийным
выходом, включают: помещения для укрываемых, санузел, места для размещения
простейших фильтров, вентиляторов и баков с водой. Место с размещённым санузлом
отгораживают от помещения убежища простейшими перегородками из досок, фанеры и
т.п. или из брезента. Фильтровентиляционное оборудование от помещения для
укрываемых, как правило, не изолируют.
Рисунок 1. Планировочные схемы быстровозводимых убежищ а –
однопролётные; б – двухпролётные; в – трёхпролётные; г – коленчатые; l – помещения для укрываемых; 2 –
пандус, 3 – предтамбур, 4 – лестничный спуск; 5 – тамбур; 6 – внутренние рамы с
распорками
Небольшие пролёты быстровозводимых накладывают свой отпечаток
на планировочные схемы. Обычно отдельно стоящие убежища имеют вытянутую форму в
плане (рис. 1, а, б, в). Поскольку выбор свободного места для размещения
убежища в сложившейся городской (промышленной) застройке может вызвать трудности,
то в этих условиях следует применить многопролётную планировочную схему.
Убежище также может иметь Г-образный вид в плане, соответствующий конкретной
застройке (рис.1, г). Длина сооружений определяется их вместимостью. Для
большой вместимости (100 чел.) и однопролётной схеме (при двухрядном размещении
мест) она составляет около 35 м. При двухпролётной схеме длина будет
приблизительно в 1,5 раза меньше. В поперечном сечении остов однопролётных
убежищ может иметь прямоугольную, трапециевидную, круглую и другие формы, как
это показано на рисунке 1.
Характерной особенностью планировочных схем многопролётных
убежищ является то, что в качестве внутренних вертикальных несущих конструкций,
как правило, используют стены. Это вызвано тем, что для возведения убежищ
применяют подручные конструкции и материалы, среди которых нет железобетонных
колонн и коротких ригелей. Планировочное решение убежищ с внутренними несущими
стенами в значительной степени упрощает и их конструктивное исполнение. Это
является положительным фактором, т.к. строительство подобных сооружений можно
осуществлять силами населения.
Входы в быстровозводимые убежища состоят из лестничного
спуска (пандуса), предтамбура и тамбура. Для сокращения площади застройки
убежищ и учитывая одноразовый характер их использования, лестничные спуски
допускается располагать более крутыми – под углом 45о, но вдоль
маршей следует поручни. Рекомендуется применять входы сквозникового типа, для
которых нагрузки на входные участки и защитные устройства (двери) будут минимальными,
причём для уменьшения объёма работ допускается лестничный спуск возводить с
одной стороны, а с другой – предусмотреть пандус.
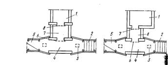
Рисунок 2. Принципиальные планировочные решения сквозниковых
входов 1-помещения для укрываемых; 2 – лестничный спуск; 3 – водосборный
приямок; 4 – предтамбур; 5 – пандус; 6 – защитно-герметическая дверь; 7 –
герметическая дверь; 8 – тамбур.
Входы рекомендуется устраивать в торце сооружений. Это
обеспечивает более надёжную передачу нагрузок на продольные стены и покрытие
сооружения, обладающего в этом направлении повышенной жёсткостью и
устойчивостью. В сооружениях вместимостью до 100 человек и размере входного
проёма 60х160 см допускается устройство одного входа. В убежищах большей
вместимости предусматривают два входа, желательно с разных сторон. При
использовании дверных проёмов 80х180 см допускается устраивать один вход на 200
человек. Планировочные решения входов показаны на рисунке 2. Для линейных
убежищ в торце устраивают аварийный выход.
Аварийный выход в убежищах Г-образной формы можно размещать в
месте поворота сооружения.
При выборе места для размещения средств воздухоподачи
учитывают особенности планировочной схемы. Если сооружение имеет вытянутую
форму и два входа (с противоположных концов), то средства воздухоподачи лучше
размещать в середине сооружения. При одном входе фильтровентиляционное
оборудование следует располагать в противоположном конце от входа. Если
сооружение имеет Г-образную форму, оборудование устанавливать на повороте.
Конструктивные решения быстровозводимых убежищ разнообразны и
зависят от применяемых материалов и изделий. В качестве ограждающих и несущих
элементов используют сборные железобетонные изделия, бетонные блоки,
лесоматериалы, металлопрокат, листовую и волнистую сталь, ткани и другие
подручные материалы. Лучшим материалом являются сборные железобетонные
конструкции в виде плитных, линейных или объёмных изделий. К плитным изделиям
относятся: панели, настилы, плиты; к линейным – балки, ригели, колонны,
перемычки; к объёмным – замкнутые элементы прямоугольного, круглого или
смешанного сечения. В таблице 2 приведена характеристика основных
железобетонных элементов, выпускаемых промышленностью, которые могут быть
использованы для строительства быстровозводимых убежищ.
Таблица 2. Укрупненная номенклатура и характеристика
существующих железобетонных конструкций.
Плитные элементы обладают, как правило, относительно малой
несущей способностью, но достаточно большими размерами по длине и ширине,
поэтому их целесообразно использовать в качестве элементов покрытий убежищ для
многопролётных сооружений. Уменьшение расчётного пролёта повышает несущую
способность конструкции. Так, пустотные панели перекрытий жилых зданий при
трёхпролётной схеме могут выдержать давление до 0,1 МПа, а плиты сплошного
сечения при двух - и трёхпролётных схемах 0, 15 – 0,20 МПа. Плиты ребристого
сечения, несмотря на то, что их несущая способность определяется прочностью
полки, при двухпролётной схеме воспринимают нагрузку 0,1 МПа. В то же время
использование длинномерных (6 м) железобетонных изделий в одно - или
двухпролётных сооружениях с малыми пролётами (1,2 – 1,8) не экономично, т.к.
при этом используется половина или третья часть плиты. Малоэффективно повышение
несущей способности конструкций размещением их в несколько слоёв, поскольку
каждый элемент в сечении работает самостоятельно, а не как единое целое.
Линейные железобетонные конструкции можно использовать для
возведения одно - и двухпролётных убежищ с пролётами до 3 м. Если в качестве
основного несущего элемента применить ригель, то такая конструкция может
выдержать нагрузку до 0,2 МПа. Перемычки и колонны при пролёте 1,5 – 2 м могут
выдержать давление в ударной волне порядка 0,1 – 0,2 МПа.
Существующие стеновые бетонные блоки типа СБ. или ФС являются
изделиями, которые можно эффективно использовать для устройства стен
быстровозводимых убежищ.
Рисунок 3. Поперечный разрез
Рисунок 4. Поперечный разрез убежища, убежища, возводимого с возводимого
с использованием для использованием для стен устройства стен железобетонных
плит, бетонных блоков устанавливаемых на ребро 1-проволочные скрутки; 1 –
проволочные скрутки; 2-продольный 2 – продольный арматурный арматурный
стержень; стержень; 3 – железобетонная 3 – железобетонная плита покрытия; плита;
4 – бетонные блоки; 4 – стеновые железобетонные плиты; 5 – деревянная рамная
распорка 5 – поперечные рамы
Стены собирают из нескольких рядов блоков, укладываемых с
перевязкой вертикальных швов. Наружные стены из блоков, даже уложенных насухо,
обладают достаточно высокой несущей способностью. В стенах такой конструкции
под нагрузкой возможно незначительное горизонтальное смещение отдельных блоков
без нарушения общей устойчивости стен.
Покрытие и стены убежищ из отдельных железобетонных элементов
следует крепить между собой от возможного горизонтального смещения, вызванного
действием динамической нагрузки и упругого отпора конструкций покрытия при
изгибе. Крепления следует выполнять с помощью проволочных скруток с захватом за
монтажные петли элементов, путём установки деревянных распорок, заанкерирования
проволочных оттяжек в грунтовый массив.
В верхней части остова сооружения, выполненного из блоков,
предусматривается установка горизонтальной рамы, которую закрепляют скрутками
на плите покрытия, и которая выполняет роль распорки для стен в верхней точке.
В качестве стеновых элементов убежищ можно использовать
поставленные на ребро плиты сплошного и пустотелого сечения (рисунок 4). Для
повышения несущей способности стеновых панелей в поперечном направлении
устанавливают опорные рамы. Поскольку монтаж стен достаточно трудоёмок, эти же
рамы выполняют роль элементов, обеспечивающих устойчивость плит, установленных
на ребро.
Рисунок 5. Поперечный разрез убежища со стенами из
грунтонабивных мешков. 1 – стена; 2 – железобетонная плита; 3 продольный
арматурный стержень; 4 – проволочные скрутки; 5 – продольный деревянный брус.
При необходимости в качестве элементов стен используют
грунтонабивные мешки (рисунок 5). Такие стены в зависимости от прочности
тканей, размеров мешков и характеристик грунта выдерживают динамическую
нагрузку до 0,1 МПа.
Рисунок 6. Убежища из замкнутых железобетонных блоков.
Из существующих железобетонных конструкций народного
хозяйства наиболее приемлемы для строительства убежищ элементы коллекторов
прямоугольного, круглого, овоидального, эллиптического и других форм
поперечного сечения (рисунок 6). Они обладают достаточно высокой несущей
способностью, т.к. рассчитаны в обычных условиях на восприятие веса грунта и
проходящего транспорта. Недостатком указанных конструкций является их малая
распространённость и сложность массового освоения в необходимы период. В общем
объеме продукции, выпускаемой заводами сборного железобетона, эти конструкции
составляют 1 – 3 %.
В числе конструкций, которые используют для возведения
убежищ, следует упомянуть железобетонные элементы войскового фортификационного
строительства (рисунок 7).

Рисунок 7. Убежища, возводимые из элементов специального
строительства
По несущей способности и другим положительным качествам они
близки к рассмотренным выше элементов коллекторов.
Для строительства быстровозводимых убежищ можно применять
конструкции , изготовленные в существующей оснастке, при условии, что это не
потребует серьёзной переналадки и изменения принятого технологического
процесса. Одним их таких решений является увеличение содержания арматуры в
плитных элементах. При этом можно увеличить несущую способность не более чем в
2 – 3 раза. Лучший результат достигается изготовлением новых изделий в
существующей оснастке. Для этой цели рекомендуется использовать оснастку широко
распространённых железобетонных изделий общесоюзной номенклатуры, оснастку
многопустотных панелей перекрытий жилищно-гражданского строительства. Изделия
остова убежищ и элементов входа в существующей оснастке изготовляют при
уменьшении длины изделий, исключении пуансонов (для изделий сплошного сечения),
изменении схемы и увеличении процента армирования, установке закладных
элементов. Необходимая длина изделий достигается установкой в оснастке
поперечных деревянных или металлических диафрагм. В оснастке длиной около 6 м
можно изготовить одновременно до трёх – четырёх отдельных плит покрытия.
Рисунок 8. Конструктивные решения убежищ из железобетонных
элементов, изготовленных в существующей оснастке. а – однопролётное; б –
двухпролётное; 1 – элементы стен и покрытия; 2 – сварка через закладные части;
3 – распорки; 4 – фундамент
Конструктивные решения убежищ, возводимых из железобетонных
изделий, изготовленных в оснастке пустотельных панелей, показаны на рисунке 8.
Остов однопролётного убежища собирают из трёх элементов. В стеновых панелях
устраивают пазы для опирания плит покрытия. В месте стыка в элементах
предусмотрены закладные части, которые после сборки сооружения соединяют
сваркой, для обеспечения прочности и устойчивости остова в поперечном направлении.
В уровне пола устанавливают железобетонные распорки, препятствующие
горизонтальному смещению низа стеновых панелей. Под торцом внутренних стеновых
панелей при двухпролётной схеме (рисунок 8, б) устраивают фундамент, собираемый
из двух сборных железобетонных распорок, укладываемых вдоль стены.
Рассмотренная конструкция остова убежища сложна, т.к. в элементах покрытия и
стен требуется устройство паза, обрамлённого металлическим закладными уголком.
После установки конструкций в рабочее положение необходима сварка закладных
частей. Сложности возникают при монтаже конструкций: установленную стеновую
панель закрепляют временными подкосами со струбциной к железобетонным плитам
или деревянным брусьям, расположенным на бровке откоса котлована. После
установки плиты покрытия и сварки элементов подкосы снимают.
Рисунок 9. Конструктивное решение убежища из элемента,
изготовленного в оснастке пустотелых панелей
Значительный эффект достигается при установке и закреплении в
оснастке пустотелых панелей для простейших закладных элементов (треугольных
призм), в результате чего после распалубки в нижней части панелей образуются
треугольные вырезы. В процессе монтажа они позволяют плоской панели принять в
рабочем положении трапециевидную форму (рисунок 9). Особенностями данной
конструкции являются сохранение площади рабочей арматуры панели и надёжность
соединения арматуры панели и надёжность соединения элемента покрытия со
стенами, не требующая дополнительного крепления между собой. Трудоёмкость
возведения убежищ из указанных конструкций практически не отличается от
возведения убежищ из объёмных элементов коллекторов и даже имеет ряд
преимуществ: при устройстве котлована не требуется тщательная планировка всего
дна, для монтажа может быть использован автокран небольшой грузоподъёмности,
конструкции удобны для транспортирования.
Элементы входной части в виде плоских сплошных плит
изготовляют также в оснастке пустотельных панелей. Несущая способность остова
убежища достигает 0,3 МПа и более. На основе применения указанной конструкции
разработаны типовые проекты быстровозводимых убежищ. В городах и промышленных
предприятиях могут найти применение быстровозводимые убежища из лесоматериалов
(рисунок 10).
Рисунок 10. Конструктивные решения убежищ, выполненные из дерева
а – безврубочная конструкция; б – сооружение податливой конструкции; 1 –
проволочные скрутки; 2 – элементы наката; 3- стена; 4 – распорки; 5 – стойка; 6
– прогон; 7 – гидроизоляция; 8 – амортизационный слой; 9 - лежень
Сооружение с остовом трапециевидного поперечного сечения
(податливой конструкции) выполняют из брёвен или накатника. Для предотвращения
просыпания грунта в просветы между элементами стен и покрытия по их внешней
поверхности снизу вверх с нахлёстом укладывают «оболочку заполнения» в виде
слоя рулонного материала (толь, рубероид, полимерная плёнка), служащего
одновременно гидроизоляцией. На оболочку заполнения кладут амортизирующий слой
толщиной 15 – 20 см из лапника, камыша, соломы, мелких веток, хвороста и т.д.
Поверх амортизационного слоя предусматривают грунтовую обсыпку. Убежище
податливой конструкции может иметь треугольное поперечное сечение.
Одним из сложных вопросов при строительстве быстровозводимых
убежищ является возведение входов. Входы наиболее уязвимы воздействии. Почти
всех поражающих факторов ядерного взрыва и особенно действию воздушной ударной
волны. Если остов убежища оказался достаточно прочным, а входы разрушились, и
внутрь помещения проникла волна, укрывающиеся люди погибнут. Сложность
конструктивного решения входа заключается в том, что в нём используют подручные
материалы и конструкции, которые должны обладать ещё более высокой прочностью,
чем остов убежища. Необходимо также чёткое конструктивное соединение
(сопряжение) элементов остова и входа, обеспечивающее передачу возникающих
усилий на сооружение или окружающий грунтовой массив.
Особая трудность при возведении входов из железобетонных
конструкций заключается в подборе соответствующего элемента с входным проёмом
определённых размеров. Такой элемент должен обладать необходимой прочностью и
иметь закладные части для крепления дверной коробки в виде труб диаметром 20 –
30 мм. Подобные элементы не выпускаются промышленностью в мирное время и их
изготовление предусматривают в особый период на заводах, либо полигонах в специальной
опалубке.
Входная часть убежища включает в себя также ограждающие
конструкции тамбура, предтамбура с установкой в них защитных устройств (дверей)
и лестничный спуск. На предтамбуром предусматривают защитный козырёк, который
предохраняет дверь от завала. Покрытие и стены предтамбура выполняются из
глухих (сплошных) элементов. Для убежищ, возводимых из существующих
железобетонных изделий, заполнение торцевого участка остова осуществляют
конструкциями, устанавливаемыми вертикально. Элементы входа вверху опираются на
покрытие, внизу заделываются в грунт на глубину 30 – 35 см. Конструкциями для
устройства входа могут служить элементы линейного типа, либо плиты сплошного
сечения. Эти же элементы используют для заделки торцевой части сооружения со
стороны аварийного выхода. В комплект железобетонных изделий городских
коллекторов входят элементы входов: глухие и с проёмами. Эти конструкции
достаточно прочны и их следует применять при возведении входной части убежищ.
Вполне реально решение ограждения входной части лесоматериалами или прокатным
металлом.
Лестничные спуски и защитные стенки от давления грунта можно
устраивать и с использованием жердей, подтоварника, горбылей. Можно применять в
качестве лестниц готовые железобетонные лестничные марши.
Габарит дверей быстровозводимых убежищ принимают, как
правило, равным 60х60 см, и выполняют двери из дерева. Если позволяют размеры
поперечного сечения остова убежища, допускается установка металлических дверей
размером 80х180 см. При устройстве входной части (тамбура) желательно его
ширину сузить до минимальных размеров, обеспечивающих свободный проход людей
через соответствующие дверные проёмы. Благодаря такому решению уменьшается
площадь, на которую непосредственно действует нагрузка от воздушной ударной
волны, и снижаются усилия, передаваемые на каркас убежища. На рисунке 11
показан узел примыкания стен тамбура к острову при возведении убежища из
бетонных блоков и грунтонабивных мешков. Дверные блоки должны плотно примыкать
к защитным конструкциям тамбуров, чтобы предотвратить затекание волны в
сооружение.
Рисунок 11. Узел примыкания входной части к остову убежищ. а
– для сооружений со стенами из бетонных блоков; б – для сооружений со стенами
из грунтонабивных мешков; 1 – слой мятой глины; 2 – блок тамбура и предтамбура;
3 – герметическая дверь; 4 – конопатка пакелейц или ветошью; 5 –
защитногерметическая дверь; 6 – грунтонабивные мешки
Дверной блок должен быть надёжно закреплён от возможного
отрыва защитно-герметической двери с коробкой от воздействия усилий,
возникающих от волны разрежения, т.е. нагрузки, противоположной по своему
направлению действию ударной волны. При устройстве входной части из
железобетонных и бетонных элементов крепление дверных блоков осуществляют с
помощью анкерных болтов и выпусков из арматурного железа, закладываемых в
специально предусматриваемые отверстия или швы между сборными элементами.
Крепление дверных блоков со стенами из дерева выполняют с помощью штырей, скоб,
проволочных скруток.
Аварийный выход в быстровозводимых убежищах устраивают
достаточно простым по конструкции. Он представляет собой разбираемый проём
размером не менее чем 0,6х0,8 м в торцевой части убежища (рисунок 12).
Рисунок 11.Схема устройства аварийного выхода. 1 – покрытие
убежища; 2 – опускающаяся забирка лаза; 3 – стационарная забирка лаза; 4 –
лежень; 5 – седлообразные скрутки; 6 – извлекаемые стойки
Проём заделывают жердями (деревянными брусьями). Для выхода
укрываемых на поверхность жерди (брусья) разбирают изнутри убежища. В убежищах,
возводимых из трёхзвенных плит, в торце сооружения устанавливают те же
элементы, что и во входной части. Дверной проём 60х160 см используют в качестве
аварийного выхода с заделкой его по тому же принципу, как указывалось выше. При
необходимости разбирают участок одной из стен, грунт при этом убирают вовнутрь
сооружения.
Особенности проектирования, изготовления и монтажа конструкций
В соответствии с требованиями, отдельно стоящие
быстровозводимые убежища должны обеспечивать защиту укрываемых от поражающих
факторов ядерного взрыва.
Преимущество быстровозводимых убежищ в простоте
конструктивно-планировочных и санитарно-технических решений, способствующих
уменьшению времени на их возведение. Естественно, что эта простота не должна
идти в ущерб их защитным свойствам. В силу специфики, связанной с
конструктивно-планировочными особенностями, сфера применения защитных
сооружений, возводимых в короткие сроки, несколько ограничена.
Снизить объём и габариты грунтовой обсыпки и одновременно не
допустить увеличения нагрузки на наружные стены быстровозводимых убежищ можно
путём изменения конструкции обвалования. С этой целью бровку откосов размещают
вблизи наружных граней стен, а на откосах укладывают ребристые плиты с
сохранением не заполненного грунтом пространства между рёбрами и под полкой
(рисунок 12). На откосах с каждой стороны размещают по одной плите шириной 1,5
м. Вынос брови откосов должен быть таким, чтобы проекция его верхней точки
(бровки) под углом 90° попадала на угол сооружения. Наклон откосов обвалования
можно принимать в этих условиях более крутым, чем рекомендуется нормами,
например, 1:1,5 или 1:2.
Рисунок 12. Конструкция обвалования быстровозводимых убежищ. а
– для полузаглубленного убежища; б – для заглубленного убежища; 1 – ограждающие
конструкции убежища; 2 – пространство свободное для грунта; 3 – ребристые
плиты, укладываемые вдоль сооружения; 4 – грунтовая засыпка; а – зона, в
которой при отсутствии плиты действует волна сжатия с отражением от преграды
(стены); в – вынос бровки откоса от наружной грани стен
В процессе воздействия воздушной ударной волны плита
втапливается (перемещается) в грунт без генерирования плоской волны сжатия в
пределах ширины плиты. Прочность полки плит перекрытий промышленных зданий
достаточно велика и составляет, как показали опыты, около 0,1 МПа. Но даже при
возможном разрушении полки эффект экранирующего действия плиты значительно
снижает параметры волны сжатия. За счёт увеличения наклона обсыпки и
приближения бровки откосов к сооружению объём грунтовой обсыпки может снизиться
в 1,5 – 2 раза. Соответственно, уменьшаются и габариты обвалования сооружения в
плане.
Убежища, возводимые в короткие сроки из имеющихся в наличии
штучных материалов и изделий, не обладают достаточно высокой герметичностью
из-за многочисленных швов в ограждающих конструкциях, а также отсутствия
наружной оклеечной (обмазочной) гидроизоляции. Практически в процессе
эксплуатации возможно лишь поддерживать минимально допустимый подпор (до 2 – 3
мм) внутри убежища. Следовательно, в районах с высокой степенью загазованности,
например на участках нефтеперерабатывающих и химических предприятий, сооружать
такие убежища не рекомендуется. Нельзя их размещать и в зонах возможного
затопления, возникающего от разрушения плотин, ГЭС и т.д.
Расчёт грунтового основания для быстровозводимых убежищ
должен производиться только на основное сочетание нагрузок. Размеры фундаментов
в этом случае оказываются незначительными. Общим недостатком ряда известных, в
том числе и типовых решений быстровозводимых убежищ является наличие
необоснованно развитой фундаментной части, ограничивающей вертикальную
податливость убежищ при воздействии воздушной ударной волны и отрицательно
сказывающейся на несущей способности сооружений. В частности, это касается
убежищ с наружными стенами из бетонных блоков шириной 40 – 60 см.
Часто под такие стены предусматривают специальные
фундаментные подушки. В ещё более неблагоприятной ситуации находятся убежища в
виде замкнутых железобетонных рам. Можно считать, что в перечисленных выше
случаях, учитывая сравнительно небольшие пролёты сооружений (до 3 м), элементы
покрытия убежищ находятся на практически несмещаемых опорах. Чтобы исключить
это негативное явление, предлагается следующее конструктивное решение
фундаментной части. Между подошвой отдельных стен или сплошным днищем и
основанием устанавливают с интервалом и равномерно друг от друга поперечные
деревянные подкладки. Опорная площадь подкладок, опирающихся на грунт, должна
составлять 0,05 – 0,15 площади покрытия. Во избежание проваливания грунта между
подкладками в процессе производства работ и в последующее время рекомендуется в
торцах подкладок предусмотреть ограждающие элементы (из досок). Высота
подкладок должна составлять около 15 см (рисунок 13)
Рисунок 13. Конструкция убежища из бетонных блоков с
податливыми опорами. 1 – покрытие; 2 – бетонные блоки; 3 – ограждающий элемент;
4 – подкладки; 5 – грунтовая засыпка.
Увеличением податливости сооружения, как показывают расчёты и
испытания, можно добиться заметного повышения расчётной динамической нагрузки
на покрытие.
Все конструкции быстровозводимых убежищ рассчитывают с учётом
упругопластической работы материалов. При расчёте материалов убежищ,
выполненных из металла, дерева, тканей, следует принимать повышенные прочностные
параметры материалов, вызванные их упрочнением при больших скоростях
деформаций. Применительно к листовому, профильному прокату и дереву коэффициент
динамического упрочнения принимают до 1,4. Для тканевых материалов этот
коэффициент зависит от основы, на которой он изготовлен (хлопчатобумажной или
капроновой). По имеющимся данным, коэффициент упрочнения для ткани колеблется
от 1,2 до 1,4.
В последние годы широкое распространение в практике
проектирования и строительства быстровозводимых убежищ получили сооружения из
трёхзвенных плит, обладающих специфическими особенностями и конструкции, и
способа изготовления, требующих более детального описания.
Элементы остова убежищ изготовляют в опалубке пустотелых
панелей жилищно-гражданского строительства.
На днище опалубки, в её средней части, в поперечном
направлении устанавливают и закрепляют (точечной приваркой к днищу) две
закладные технологические вставки в виде равнобедренных треугольных призм
шириной понизу 12 и высотой 8 см с вырезами для пропусков пуансонов. Для
технологических вставок применяют листовой металл толщиной 4 – 5 мм. В местах
прохода пуансонов вырезы в призме заполняют фигурными пластинами,
предотвращающими попадание бетона вовнутрь технологических вставок при
изготовлении конструкции.
Таким образом, плоская пустотелая панель после изготовления
оказывается условно разбитой на три звена6 среднее ( покрытие) и два крайних
(стены). Рабочая продольная арматура панелей, пропущенная по верху призм между
пуансонами, выполняет свои прямые функции и обеспечивает связь звеньев между
собой. Предусмотренной в пустотелых панелях рабочей арматуры вполне достаточно
для обеспечения несущей способности среднего звена на воздействие расчётных
нагрузок от ударной волны.
Диаметр рабочей продольной арматуры принимают 10 – 14 мм.
Арматура большего диаметра затрудняет заполнение формы бетоном между пуансонами
в среднем звене, из-за чего не исключён местный откол бетона в нижней зоне
среднего звена при монтаже плиты в рабочее положение. Если по условиям расчёта
или другим причинам необходима установка стержней большего диаметра, поступают
следующим образом: перед изготовлением конструкций демонтируют два крайних
пуансона. В образовавшихся зонах сплошного сечения устанавливают стержни
требуемого диаметра. Данная конструкция обладает повышенной несущей
способностью по изгибающему моменту и поперечной силе. При её монтаже
практически исключается возможность местного растрескивания или откола бетона в
нижней зоне под рабочими стержнями.
Рисунок 14. Общий вид и схема армирования трёхзвенной плиты,
изготавливаемой в опалубке пустотелых панелей.
Общий вид трёхзвенных плит, схема их армирования и элементы
технологических вставок для опалубки размером 5670х1190 мм показаны на рисунке
14.
При изготовлении трёхзвенных плит остова убежищ рекомендуется
такая последовательность технологических операций:
установка и закрепление к поддону технологических вставок;
укладка нижних сеток;
введение в форму пуансонов;
установка рабочей арматуры в крайних звеньях (при
необходимости);
установка каркасов в среднее звено, а также монтаж петель среднего
и крайних звеньев;
подача бетона в опалубку в объёме, не превышающем высоту
технологических вставок;
вибрирование уложенного бетона;
установка сквозной рабочей арматуры;
укладка и разрезка верхних сеток;
Подача бетона на полную высоту конструкции и его
вибрирование.
При соблюдении указанной последовательности операций
гарантируется заполнение бетоном нижнеё зоны трёхзвенных плит.
Для изготовления конструкций трёхзвенных плит можно
использовать оснастку пустотелых панелей с внутренними размерами по ширине 99,
119 и 159 см, а по длине от 567 см и более. При длине панелей 567 – 600 см
расстояние следует принимать 100 см. При указанном расстоянии остов убежища
будет иметь следующие габариты, см: ширина поверху 100, понизу 240 – 250,
высота около 215. Размеры остова позволяют разместить с двух сторон скамьи для
сидения и с одной из сторон – нары для лежания. Если длина превышает 600 см, то
расстояние между технологическими вставками целесообразно принять равным 120
см. При этом габариты сооружения, см, будут следующими: ширина поверху – 120,
понизу 260 – 270. При этих размерах возможна двухрядная установка скамей для
сидения и нар для лежания.
Железобетонные элементы входной части убежищ также
изготовляют в оснастке пустотелых панелей, но при удалённых пуансонах, т.е.
сплошного сечения. Для элементов входа используют оснастку шириной 119 см с
устройством в ней поперечных перегородок. А одной форме можно одновременно
изготовлять два элемента. Для устройства входной части предусматривают два типа
размера элементов6 глухую плиту и плиту с дверным проёмом 60х160 см. В элементе
с проёмом предусматривают отверстия (закладные металлические трубки) для
крепления дверной коробки. Три элемента шириной 119 см обеспечивают полную
заделку торцевой части остова. Длину элементов входа принимают равной 280 см,
чтобы обеспечить их опирание в уровне покрытия и заделку на 30 – 35 см в грунт.
Исходя из требований прочности, установку элементов заделки
торцов остова во входной части убежищ предусматривают в оба слоя.
Подъём трёхзвенных плит при распалубке, а также при погрузке
и разгрузке на транспорт осуществляется захватом за петли, расположенные в
крайних звеньях. Остов убежища монтируют путём подъёма плиты за петли среднего
звена. При подъёме крайнего звена поворачиваются крайние звенья в шарнирных
соединениях, возникающих в вершинах треугольных вырезов. Шарниры образуются
вследствие того, что в вертикальных плоскостях над треугольными вырезами
прочность бетона недостаточна для удержания массы консолей. Начиная с этого момента,
крайние звенья удерживаются в стыке только за счёт сквозной рабочей арматуры,
опираясь противоположными концами на грунт. Поворот звеньев происходит до тех
пор, пока боковые грани треугольных вырезов плотно не примкнут друг к другу, и
плоская трёхзвенная плита не примет трапециевидную е. В этом положении элемент
остова переносят в котлован и устанавливают на спланированную поверхность.
Углублённая на дне котлована под стены предварительно не делают. Под действием
собственной массы они вдавливаются в грунт и остов занимает устойчивое
положение. Не следует также устраивать под стенами бетонную подготовку или
поперечные подкладки, играющие роль фундаментов. Это приведёт к тому, что
податливость конструкции при воздействии расчётной нагрузки уменьшится и тем
самым возрастёт давление, действующее на конструкции остова. В то же время
необходимо следить за тем, чтобы остов не монтировали на разрыхлённый грунт.
Излишняя осадка остова может отрицательно сказаться на самочувствии укрываемых,
нарушить прочность конструкции остова в местах ввода в него различных
коммуникаций или вызвать обрыв и разрушение самих коммуникаций. По поверхности
остова укладывают листы рулонной гидроизоляции. Чтобы гидроизоляция не
порвалась на изломе плиты, это место следует заделать глинистым грунтом,
положив предварительно доски по плоскостям излома, предохраняющие грунт от
возможного проваливания в отверстия. Пазухи котлована засыпают с помощью
экскаватора либо бульдозера, надвигая грунт попеременно с обеих сторон
сооружения. Герметизация помещений убежища достигается путём послойного (не
более 10 – 15 см) трамбования во влажном состоянии грунта, засыпанного у стен
убежища. Одновременно монтируют элементы входа.
Методы производства монтажных работ зависят от
планировочно-конструктивной схемы убежища. Ширина убежища и число пролётов
имеют большое значение при выборе монтажного механизма (вылет стрелы и
грузоподъёмность крана). Убежища их сборных железобетонных (бетонных)
конструкций при малой стреле вылета и недостаточной грузоподъёмности крана
монтируют с обеих сторон котлована. При монтаже убежищ из отдельных
железобетонных конструкций используют автокраны, а в отдельных случаях – ручные
лебёдки. Работы по возделыванию сооружений из отдельных железобетонных
элементов, име6ющих внутренний деревянный каркас, начинают от сборки каркаса.
Для монтажа убежищ из элементов массой до 10 т и более применяют гусеничные
краны или специальные монтажные механизмы. Мощные краны способны вести монтаж с
одной стороны котлована. Котлован отрывают, как правило, экскаватором или
бульдозером. Доотрывку на глубину 10 м осуществляют вручную. Зимой грунт
предварительно разрыхляют механическим или другим способом, включая отогрев.
Откосы котлована зависят от вида и состояния грунта. Перед отрывкой котлована необходимо
знать, каким механизмом будут монтироваться конструкции убежища. При монтаже
убежищ с одной стороны котлована грунт, вынутый из котлована, откидывают в отвал
на одну сторону по его торцам. Если для монтажа убежища требуется передвижение
крана, по обеим сторонам котлована оставляют проезды шириной 5 – 6 метров. При
монтаже, выполняемом с помощью ручных лебёдок, достаточно оставить бровку
шириной 2 м. Засыпку стен убежищ выполняют бульдозером или вручную,
равномерными слоями грунта по всему периметру. Для убежищ, выполняемых из
отдельных железобетонных элементов, разность уровня грунта у стен во время
засыпки не должна превышать 0,5 м. Особо тщательно (с утрамбовкой) следует
производить засыпку грунтом стен тамбура при опирании конструкций входа на грунтовой
массив.
Технико-экономические показатели убежищ
Планировочные решения быстровозводимых убежищ характерны
своей простотой и отсутствием большого числа вспомогательных помещений. Кроме
тамбуров во входах единственными изолированными вспомогательными помещениями
являются санузлы, занимающие относительно небольшую площадь.
Коэффициент К1, характеризующий отношение площади
для размещения укрываемых к общей площади, колеблется для быстровозводимых
убежищ от 0,7 до 0,85 (при стремлении коэффициента к 1). Коэффициент К2,
показывающий отношение общей площади убежища к его вместимости, также находится
на пределах 0,7 – 0,8 (при стремлении коэффициента к 0,5). Коэффициент К3,
являющийся отношением строительного объёма убежища к его площади, составляет
приблизительно 2,5 – 3. Если сравнить эти показатели с аналогичными
коэффициентами для заблаговременно возводимых убежищ, можно сказать, что с
точки зрения эффективности использования защищённой площади и объёмов,
быстровозводимые убежища являются более рациональным типом защитных сооружений.
Технико-экономические показатели убежищ зависят от принятой
планировочной схемы. Важно, чтобы размер пролёта сооружения соответствовал
требованиям рационального размещения скамей для сидения укрываемых и габаритов
прохода между ними. Очевидно, что каждому пролёту соответствует определённая
величина защищённой площади, приходящаяся на одного укрываемого и зависящая от
характера размещения бытового оборудования (таблица 3).
Таблица 3. Площадь, м2, на одного укрываемого при
различных пролётах убежища
|
Размещение мест в убежище
|
Величина пролёта, см
|
|
110
|
120
|
130
|
140
|
170
|
180
|
200
|
240
|
250
|
|
Однорядное
|
0,50
|
0,54
|
0,58
|
0,63
|
-
|
-
|
-
|
-
|
-
|
|
Двухрядное
|
-
|
-
|
-
|
-
|
0,39
|
0,45
|
0,495
|
0,54
|
0,58
|
|
Поперечное
|
-
|
-
|
-
|
-
|
-
|
-
|
-
|
-
|
0,47
|
Как видно из таблицы 3, отклонение от оптимально допустимого
пролёта ведёт к увеличению площади на укрываемого, т.е. к ухудшению
технико-экономических показателей убежища, прежде всего, за счёт удорожания
стоимости покрытия и некоторого увеличения объёма земляных работ. Расчёты показывают,
что при отклонении пролёта от оптимальных размеров стоимость покрытия может
увеличиться на 60 – 85 %. В целом, уделная стоимость убежища (в расчёте на
одного укрываемого) возрастёт при этом приблизительно на 25%.
Анализ типовых проектов быстровозводимых убежищ показывает,
что расход материалов в однопролётных сооружениях на 15 – 20% выше, чем в
двухпролётных.
Технико-экономические показатели убежищ зависят от
конструктивного решения, вида применяемых материалов, вместимости и класса
защитного сооружения. Для сопоставления и сравнительной оценки проектных
решений убежища можно подразделить на следующие типы:
II – убежища, выполненные из отдельных сборных железобетонных
изделий;
III – убежища, выполненные из железобетонных трёхзвенных
плит;
IV – убежища, выполненные из отдельных железобетонных блоков
круглого сечения;
V – убежища, выполненные из отдельных железобетонных блоков
прямоугольного сечения;
VI – убежища, выполненные из лесоматериалов.
В таблице 4 приведены показатели расхода материалов на
перечисленные типы убежищ, их стоимость и трудоёмкость возведения в зависимости
от вместимости.
Таблица 4. Основные показатели быстровозводимых убежищ
различной вместимости и конструкции
|
Конструкционный тип убежища
|
Вместимость, чел.
|
Применяемые материалы
|
Трудоёмкость возведения, чел-дн
|
Примечание
|
|
Сталь,т
|
Бетонные блоки, м3
|
Сборный железобетон, м3
|
Лесоматериалы, м3
|
|
I
|
50
100
150
|
0,6
5,9
0,68
|
61,2
68,6
142,2
|
41,9
24,3
50,6
|
0,92
9,6
1,5
|
152
185
299
|
Проект вместимостью на 100 и 50 (150) чел. Выполнен
разными организациями
|
|
II
|
50
100
150
|
8,5
14,4
15,7
|
9,7
10,5
19,3
|
38,0
71,5
89,2
|
6,8
5,4
7,4
|
205
564
632
|
Проект убежища вместимостью на 150 чел. не разрабатывался
|
|
III
|
50
100
|
2,7
4,0
|
-
-
|
26,1
37,4
|
|
38,7
69,5
|
|
IV
|
50
80
12,6
|
26,7
-
|
23,6
50,1
|
5,2
-
|
122
-
|
-
|
|
V
|
50
100
150
|
8,4
15,0
20,1
|
32,5
37,5
37,5
|
32,5
64,5
87,6
|
4,8
9,6
10,4
|
116
213
247
|
-
|
|
VI
|
50
100
160
|
-
-
-
|
-
-
-
|
-
-
-
|
-
-
-
|
36
50
69
|
Показатели даны для сооружений безврубочной конструкции
|
При определении технико-экономических показателей убежищ
использованы данные одной проектной организации. Это уменьшило разброс
показателей, более чётко прослеживались закономерности изменения входящих в
таблицу параметров. В таблицу включены в основном показатели по однопролётным
убежищам с пролётом не более 2 м. Показателем экономичности сопоставляемых
конструктивных решений убежищ может служить расход основных материалов,
стоимости и трудоёмкости возведения, отнесённый к одному укрываемому.
Наибольший расход материалов характерен для убежищ, в которых
для устройства стен используют бетонные блоки. По трудоёмкости возведения
наихудшие показатели у сооружений, возводимых из отдельных железобетонных
элементов. Сравнительные технико-экономические показатели быстровозводимых
убежищ (по расходу бетона и стали) в зависимости от возрастания степени защиты
сооружения (класса убежища) практически не отличается от аналогичных величин,
определяемых для заблаговременно возводимых убежищ.
Важным показателем эффективности проектного решения убежищ
является количество применяемых типоразмеров железобетонных элементов в
сооружении (с учётом входов).
Заключение
Убежища, возводимые в короткие сроки из имеющихся в наличии
штучных материалов и изделий, не обладают достаточно высокой герметичностью
из-за многочисленных швов в ограждающих конструкциях, а также отсутствия
наружной оклеечной (обмазочной) гидроизоляции. Практически в процессе
эксплуатации возможно лишь поддерживать минимально допустимый подпор (до 2 – 3
мм) внутри убежища. Следовательно, в районах с высокой степенью загазованности,
например на участках нефтеперерабатывающих и химических предприятий, сооружать
такие убежища не рекомендуется. Нельзя их размещать и в зонах возможного
затопления, возникающего от разрушения плотин, ГЭС и т.д.
Все конструкции быстровозводимых убежищ рассчитывают с учётом
упругопластической работы материалов. При расчёте материалов убежищ,
выполненных из металла, дерева, тканей, следует принимать повышенные
прочностные параметры материалов, вызванные их упрочнением при больших
скоростях деформаций, а с учётом того, что убежища возводятся в особых
условиях, следует учесть и климатические особенности региона, в котором
возводятся убежища.
Список литературы
В.А.
Котляревский; В.И. Ганушкин; А.А. Костин; А.И. Костин; А.И.Костин; В.И.Ларионов
«Убежища гражданской обороны: конструкции и расчёт».