Проект триповерхового будинку
ЗМІСТ
1.
Загальна
частина
1.1
Вихідні дані
1.2 Додаткові
вихідні дані
2. Архітектурно-будівельна
частина
2.1 Об’ємно –
планувальне рішення житлового будинок
2.2 Конструктивне
рішення будинку
2.2.1 Фундаменти
2.2.2 Стіни
2.2.3 Перекриття
2.2.4 Перегородки
2.2.5 Двері та
вікна
2.2.6 Сходи
2.2.7 Дах
2.2.8 Підлога
2.2.9
Специфікація основних індустріальних будівельних виробів
2.3 Внутрішнє та
зовнішнє оздоблення
2.3.1 Зовнішнє
оздоблення
2.3.2 Внутрішнє
оздоблення
2.3.3 Інженерне
обладнання будинку
3. Розрахунки
3.1Теплотехнічний
розрахунок зовнішньої стіни
3.2Теплотехнічний
розрахунок горищного покриття
4. Техніко –
економічна оцінка проектного рішення
5. Список літератури
1. Загальна частина
Згідно з завданням на проектування розроблен проект триповерхового
будинку на одну сім’ю.
1.1
Вихідні
дані
1.
Район
будівництва — м. КиЇв
2.
Ґрунти
природної основи — пісок крупнозернистий
3.
Глибина
залягання ґрунтів природної основи від планувальної відмітки ділянки
будівництва — 0 м.
4.
Рівень
ґрунтових вод нижче від планувальної відмітки ділянки будівництва — 4,0 м.
Рельєф місцевості — спокійний
5.
Фундаменти
— стрічкові, (бетонні)
6.
Стіни — цеглянi
полегшенi (з ефективним утеплювачем)
7.
Перегородки
— цегляні
8.
Перекриття
— збірні залізобетонні настили
9.
Сходи — на
дерев´яних косоурах
10.
Дах — двосхилий
11.
Покрівля —
черепиця
1.2 Додаткові вихідні дані
Додаткові вихідні дані заносимо до таблиці 1.2.1
|
Характеристика
|
|
Найменування характеристики або
вимоги
|
|
|
м. Київ
|
1
|
Район будівництва
|
|
|
I
|
2
|
Кліматичний
район і підрайон будівництва
|
Кліматична
характеристика району будівництва
|
|
|
-29
|
3
|
Середня найбільш
холодної доби забезпеченістю 0,98
|
Розрахункові
температури зовнішнього повітря в зимку
|
|
|
-26
|
4
|
Середня
найбільш холоднї доби забезпеченістю 0,92
|
|
|
-25
|
5
|
Середня
найбільш холодних п’яти днів, забезпечиністю 0,98
|
|
|
-22
|
6
|
Середня
найбільш холодних п’яти днів, забезпечиністю 0,92
|
|
|
нормальна
|
7
|
Зона вологості
зовнішнього повітря
|
|
|
Пісок
крупнозернистий
|
8
|
Природний
грунт
|
Геологічні та
гідрогеологічні характеристики будівельного майданчика
|
Додаткові вихідні дані таблиця 1.2
|
|
0 м
|
9
|
Глибина
залягання природного грунту
|
|
0м
|
10
|
Нормативна
глибина промерзання грунту
|
|
4,0м
|
11
|
Рівень
грунтових вод
|
|
+20
|
12
|
Температура
внутрішнього повітря
|
Санітарно-гігієнічні
параметри основних приміщень
|
|
55 0/0
|
13
|
Відносна
вологість повітря
|
|
DtH
= 60C
Dtг=40C
|
14
|
Нормативний
температурний перепад
|
|
1/5,5-1/8
|
15
|
Відношення
площі віконних прорізів до площі підлоги приміщення
|
|
Вентиляція в
кімнатах через вікна.
|
16
|
Вимоги до
вентиляції приміщень квартир, горища, підвалу
|
|
III
|
17
|
Ступінь
вогнестійкості
|
Протипожежні
вимоги
|
|
1800 м2
|
18
|
Площа поверху
між протипожежними стінами
|
|
висота шляхів
евакуації повинна бути не меншою як 2,0 м, а їхня ширина – 1,0 м.
|
19
|
Вимоги до
шляхів евакуації
|
|
1.9м;2.8м
|
20
|
Висота
підвалу, технічного підпілля та горища
|
Об’ємно-планувальні
вимоги до житлових та інших приміщень
|
|
21
|
Виходи з
приміщення нижче відмітки 0,000
|
|
2.8 м
|
22
|
Висота поверху
|
|
Не
допускається розміщення над житловими кімнатами і кухнями
|
23
|
Вимоги до
розміщення санвузлів
|
|
1.1м
|
24
|
Мінімальна
ширина підсобних приміщень
|
|
10 м2;8м2
|
25
|
Мінімальна
площа житлової кімнати та кухні
|
|
П=15%ПЗАГ
|
26
|
Площі лоджій,
балконів, веранд
|
2. АРХІТЕКТУРНО – БУДІВЕЛЬНА ЧАСТИНА
2.1 Об’ємно – планувальне рішення будинку
Планувальна схема – садибного типу.
Будівля в плані має форму близьку до прямокутника.
Габаритні розміри в крайніх осях 15190 та 12560.
Будівля має три поверхи, зв’зок між поверхами здійснюється за допомогою
внутрішніх сходів,які розташовані в сход клітці по осям Г,Д.
Висота 1-го поверху 2700мм, 2-го поверху 2700мм, 3-го поверху -2700мм.
Мал. 2.1Функціональна схема першого, другого та третього поверху
Будівля запроектована для проживання однієї сім’ї
На першому поверсі згідно з проекту передбачено:
Передпокій – 6,51 м2, кухня – 10,40 м2, сан. вузол
– 5,77м², гараж – 23,94 м² , тамбур – 4,37 м², заг. кімната – столова-36,74
м², тренажерна – 14,99 м², топочна – 4,44 м2 ,хол - 6,26 м2
,комора-6,03.
На другому поверсі згідно з проекту передбачено:
Тераса – 9,16м2, спальня – 23,94м2, спальня –14,99м2,
спальня-21,96 м2 , сан. вузол – 10,60м² , заг. кімната- 27,28м2
,гардеробна-5,74 м2,хол-6,26м2
На мансардному поверсі згідно з проекту передбачено:
Кімната відпочинку-36,94 м2 ,хол-6,26 м2,
сан.вузол-10,60 м2 , бібліотека-21,96 м2 , спальня-14,99
м2 , спальня-23,94 м2 .
2.2 Конструктивне рішення будинку
Будівельна система - ручна кладка.
Конструктивна система – безкаркасна, стінова.
Конструктивна схема – з поперечно несучими стінами.
Просторова жорсткість забезпечується сумісною роботою повздовжніх (по
осях А,Б,В,Г,Д) та поперечних (по осях 1,2,3,4,5) стін з горизонтальним диском
міжповерхового перекриття(з.б. плитами)
Основні вимоги до житлового будинку визначаємо згідно
Будинок малоповерховий з цегляними стінами:
Клас
за капітальністю — ІІ
Ступінь за довговічністю — ІІ (не менше 50 років)
Ступінь вогнестійкості — ІІІ
Мінімальні межі вогнестійкості у конструкціях(у хв.) та максимальні межі
поширення вогню по них(см):
cтіни несучі та сходова клітка-REI120 М0
стіни зовнішні ненесучі- E15 М0, E30 М1
стіни внутрішні не несучі(перегородки)- EI15 М1
колони- R120 М0
сходові площадки,костури,сходи,балки- R60 М0
перекриття міжповерхові(у т.ч. горищні)- REI 45 М1
2.2.1 Фундаменти
Фундаменти – бетонні стрічкового типу
Основні параметри, які визначаються розрахунками при проектувані
фундаментів:
ширина фундаменту враховується конструктивно:
під зовнішню стіну - 800 мм
під зовнішню не несучу - 600 мм
під внутрішню стіну -1000 мм.
При конструюванні поперечного перерізу фундаменту співвідношення розмірів
його уступів залежить від кута розподілу тиску. α =45о
Глибина закладання фундаменту приймаємо 0.8м, що відповідає умовам
стійкості.
По верхньому обрізу фундаменту виконуємо горизонтальну гідроізоляцію з
двох шарів рубероїду на бітумній мастиці. По периметру зовнішніх стін, для
захисту від зволоження ґрунту основи, виконується мощення, шириною 1.1 м.
2.2.2 Стіни
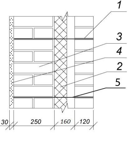
Зовнішні стіни – цегляні полегшене з ефективним утеплювачем. Виконується
з двох шарім керамічної цегли товщиною 120 і 250 мм. В якості утеплювача
використовуємо утеплювач пінополіуретан товщиною 110 мм,я який розташовується
біля внутрішньої цегляної стінки,та повітряний прошарок товщиною 50 мм,який
знаходиться між утеплювачем та зовнішньою цегляною стінкою. Через 5 рядів в
кладку вкладаємо арматурну сітку, що забезпечує зв’язок меж цеглою .
Перемички над віконними та дверними отворами збірні залізобетонні(див.
спец. виробів)
Товщина зовнішніх стін приймається 530мм.
Внутрішні стіни виконуються з цегляної суцільної кладки товщиною 250мм,380мм(через
те що в стіні є вентиляційні канали). Стіни вкриваємо вапняно-пісчаним розчином.
Мал. 1.1 Конструкція зовнішньої стіни
1- цегла керамічна пустотна;2- утеплювач пінополістирол;3- цегла
керамічна пустотна;
4- вапняно-піщана
штукатурка;5- армуюча сітка;
2.2.3 Перекриття
Для перекриття використовуємо збірні залізобетонні настили(див. спец.
індустріальних виробів), які спираються на стіну не менше ніж на 120мм. Зі
стінами плити з’єднуються за допомогою Z-подібних анкерів. Один кінець анкера
приварюються до плити, а другий закладається у цегляну кладку. Між собою плити
теж з’єднуються за допомогою анкерів,які приварюють до монтажних петель.
По нижній стороні влаштовується затир очний шар. Зверху влаштовується
підлога.
На горищному перекритті влаштовуємо 2 шари вогнестійкого гіпсокартону по
направлячім, пароізоіляція-шар руберойду та шар утеплювача( пiнополістирол) 240
мм.
2.2.4 Перегородки
Перегородки виконуємо з цегли товщиною 120мм. З обох боків перегородки
виконують штукатурку з вапняно-піщаного розчину. В санвузлах виконуємо
перегородки з облицюванням керамічною плиткою і підкадкою з руберойду на
мастиці.
Мал. 1.2 Конструкція цегляних перегородок
2.2.5 Двері та вікна
Вхідні двері дерев’яні, однодольні(Д7), в жилу кімнату (Д1)однодольні в
нежилу кімнату(Д2,Д3) однодольні. Вікна металопластикові, обладнані двома стекло
пакетами та прошарком повітря. Все виготовлено під індивідуальний заказ.
2.2.6 Сходи
Виконуються на дерев’яних косоурах з ухилом 1:1,75. Ширина сходинки 300мм,
присхідця – 150мм. Ширина сходів – 1200мм, ширина міжповерхового маршу-1200. Огородження
виконують з дерев’яних елементів висотою 800 мм.
Мал. 1.3 Конструкція дерев’яних сходів
2.2.7 Дах
Дах двосхилий з ухилом 45º. Крокв’яна система-комбінована, жорсткість
крокв забезпечують прогони, стійки на лежнях та поперечна обришітка. Елементи
крокв’яної системи кріпляться один до одного цвяхами,будівельними скобами та
накладками. Для підсилення конструкції використовуємо підкоси. Мінімальна
відстань між кроквами-555мм,максимальна 1200мм.До кожної крокв’яної ноги
кріпиться кобилка,яка виступає на 500 мм за край стіни. З торця обрешітка
виступає на 300 мм.
Горище-холодне.
Для покрівлі використовується черепиця Braas, яка влаштовується на латах
з дерев’яного брусу 50х50 через 350.
Мал. 1.4 Черепиця
2.2.8 Підлога
На першому,другому та третьому поверсі виконуємо підлогу з паркетних
дошок 29 по лагам.По міжповерховому перекритті лаги укладають на відстані 500
мм на підкладки(по всій їхній довжині) з антисептованої древесноволокнистої
плити.В якості звукоізоляції використовуємо шар піску товщиною 50мм. По
цегляним стовпчикам лаги укладають на такій же відстані,на цегляний стовпчик
попередньо наносять 2 шари толю. В санвузлах та літніх приміщеннях підлогу
виконують з влаштуванням гідроізоляції і оздобленням керамічною
плиткою на цементно-піщаному розчині.
Мал. 1.5 Конструкції підлоги
1. настил з дошок; 2. лаги; 3. звукоізоляційна
підкладка по всій довжині лаг ; 4. залізобетонна плита перекриття; 5. толь; 6. цегляний
стовбчик.
2.2.9 СПЕЦИФІКАЦІЯ ІНДУСТРІАЛЬНИХ ВИРОБІВ
Таблиця 2.2.9
|
№
|
Назва виробу
|
Ескіз виробу
|
Марка елементу
|
Основні розміри
|
Загальна кількість
шт..
|
|
Довжинамм
|
Ширина мм
|
Висота мм
|
|
1
|
Дерев’яні балки
перекриття
|
|
Пк42-12
Пк42-15
Пк42-18
Пк51-15
Пк60-12
Пк60-15
Пк60-18
|
4200
4200
4200
5100
6000
6000
6000
|
1200
1500
1800
1500
1200
1500
1800
|
220
220
220
220
220
220
220
|
4
14
2
2
8
1
2
|
|
2
|
Залізобетонні перемички
|
|
2ПБ22-3
2ПБ19-3
2ПБ16-2
5ПБ36-20 AtV
3ПБ27-8
3ПБ21-8
3ПБ25-8
|
2200
1940
1550
3630
2720
2070
2460
|
120
120
120
250
120
120
120
|
140
140
140
220
220
220
220
|
12
10
9
3
3
8
12
|
|
3
|
Вікна
|
|
В-1
В-2
В-3
В-4
|
-
-
-
-
|
1810
1510
1210
1810
|
1510
1510
910
1510
|
10
9
3
2
|
|
4
|
Двері
|
|
Д1
Д2
Д3
Д4
Д5
Д6
Д7
|
-
-
-
-
-
-
-
|
800
700
600
1200
1200
800
800
|
2250
2250
2250
2250
2250
2250
2250
|
8
4
3
2
1
1
|
2.3 Внутрішнє та зовнішнє оздоблення
2.3.1 Зовнішнє оздоблення
Зовнішні стіни виконані з керамічної цегли під розшивку швів. Цоколь виконаний
з цегли з покриттям поверхні природним камінням.
2.3.2 Внутрішнє оздоблення
В житлових кімнатах поверхні стін, притолоки віконних та дверних отворів штукатуряться
вапняно-піщаним розчином і оклеюються шпалерами цементно-піщаному розчині. Поверхні
дверей обробляються морілкою та покриваються лаком для збереження естетичних якостей
деревини. Підлога обробляється лаком. На кухні,терасі та санвузлах підлога покривається
керамічною плиткою.
2.3.3 Інженерне обладнання будинку
Проектом передбачено проведення каналізації та водогону;газо,електро мережі.
Телекомунікаційних мереж:телебачення,інтернет,телефон. Встановлюють кухонне та сан.
технічне обладнання.Вентиляція здійснюється через систему кондиціювання та вентиляційні
канали в стінах,окремо на кожен сан вузол та кухню.
3. РОЗРАХУНКИ
3.1ТЕПЛОТЕХНІЧНИЙ РОЗРАХУНОК ЗОВНІШНЬОЇ СТІНИ
1. Вихідні умови
Параметри клімату району будівництва зводимо у таблицю.
Розрахункові параметри клімату м. Київ
Таблиця 3.1.1
|
Температура зовнішнього
повітря, ْС
(згідно з «Будівничі норми та правила»)
|
Зона вологості
(згідно з «Будівельні норми та правила»)
|
Температурна зона
(згідно з «Будівельні норми та правила»)
|
|
Найбільш холодної
доби із забезпеченням
|
Найбільш холодних
п’яти діб із забезпеченням
|
|
0,98
|
0,92
|
0,92
|
|
=-29
|
=-26
|
=-22
|
нормальна
|
І
|
Параметри мікроклімату приміщення:
Таблиця 3.1.2
|
Температура внутрішнього
повітря , ˚С
(«Будівельні норми
та правила»)
|
Вологість внутрішнього
повітря j В, %
(«Будівельні норми
та правила»)
|
|
20
|
55
|
Згідно з [1] додаток Г1,Г2
Теплотехнічні показники матеріалів стіни:
Таблиця 3.1.3
|
№
|
Назва шару
|
Щільність матеріалу
кг/м3
|
Товщина матеріалу
м
|
Коефіцієнт теплопровідності l Вт/(м2·оС)
|
Коефіцієнт теплозасвоєнняs
Вт/(м2·оС)
|
|
1
|
Цегла глиняна звичайна
цементно піщана
|
1800
|
0.120
|
0,7
|
9,2
|
|
2
|
Утеплювач пінополеурітановий
|
80
|
X
|
0,05
|
0,67
|
|
3
|
Цегла глиняна звичайна
цементно піщана
|
1800
|
0,250
|
0,7
|
9,2
|
|
4
|
Вапняно-пісчаний
розчин
|
1600
|
0,03
|
0,7
|
8,69
|
Згідно з [1] таблиця Л1
Рис. 3.1Конструкція
стіни:
Рис.3.1.
Конструкція стіни. 1- цегла керамічна ; 2- утеплювач пінополіуретан Х; 3-
цегла керамічна; 4- Вапняно-пісчаний розчин; 5- арматурна сітка
2. Визначаємо розрахунковий опір теплопередачі огороджуючої конструкції
tH10.92 = -26 tH50.92 = -22
tH10.98 = -29 tH50.98 = -25 min
t = -32
Нормативний опір теплопередачі
Rзовн н =1,8 Згідно з [1] таблиця 1
Термічний опір стіни розраховується за формулою:
, aзовн = 23
, aвн = 8,7
Rвн – опір тепло сприйняття внутрішньої поверхні стіни
aвн – коефіцієнт тепло сприйняття внутрішньої поверхні стіни
Rзовн – опір тепловіддачі зовнішньої поверхні стіни
aзовн – коефіцієнт тепловіддачі зовнішньої поверхні стіни
Rк – термічний опір конструкції
Умова забезпеченості захисних якостей стіни:
Rзаг ³ Rзовн н
Визначаємо значення товщини утеплювача за формулою:
Перевірка розрахунку
0,11+0,17+1,2+0,36+0,043+0,04=1,923
Зарахуванням стандартів на плити утеплювача приймаємо товщину утеплювача яка
дорівнює = 0,06
Фактичне значення опору теплопередачі стіни 1,923>1,8 – умова виконана
0,17+1,2+0,36+0,04=1,77
Для даного району будівництва будемо
використовувати зовнішну стіну товщиною 530мм.
Визначаємо теплову інерцію огороджуючої
конструкції
0,17.9,2 + 1,2.0,67 + 0,36.9,2
+ 0,04.8,69 = 6,02
Визначаємо розрахункову зимову температуру
зовнішнього повітря.
Так як значення теплової інерції знаходиться
в інтервалі 4<D<7, то розрахункову зимову температуру зовнішнього повітря
приймаємо рівній температурі найбільш холодних трьох діб
Будуємо лінію падіння температур на розрізі
огороджуючої конструкції
Температуру на внутрішній поверхні m-го
шару огородження, рахуючи шари від внутрішньої поверхні огородження, tm0C, можна визначити за формулою:
tв – температура внутрішнього
повітря, 0С
tз – температура зовнішнього
повітря, 0С
Rзаг – опір теплопередачі
огороджуючої конструкції,м2.0С/Вт
Rвн – коефіціент теплосприйняття
внутрішньої поверхні огороджуючої конструкції, м2.0С/Вт
-термічний опір m-1 перших шарів огородження, м2.0С/Вт
Температуру внутрішньої поверхні стіни
можна знайти, як:
=
=17,4
Температуру зовнішньої поверхні стіни
можна знайти за формулою:
=




R4=0,018 – термічний опір замкненого
повітряного прошарку (при потоці тепла знізу вгору, при від’ємній температурі повітряного
прошарку)
Згідно з [1] таблиця И1
(Мал 3.2) Ламана температур на розрізі
стіни
Визначимо точку роси у приміщенні.
При tв = 200С,
визначимо значення максимальної пружності водяної пари E,Па, Е=2338Па-Згідно з [5] додаток 11
Визначаємо дійсну пружність водяної пари
е,Па за формулою:
Точка роси у приміщенні Тр»110С
Так як температура внутрішньої поверхні
стіни більша від точки роси, то конденсат на площині внутрішньої поверхні стіни
утворюватись не буде.
Перевіримо можливість утворення конденсату
в кутках
=1,77 м2.0С/Вт – температурний опір стіни
у звичайному місці
=17,40С – температура внутрішньої поверхні
стіни в звичайному місці
DtL40 = 4,10С
– зниження температури поверхні кута проти температури стіни у звичайному місці
tL =
- DtL40.
= 17,4 – 4,1.
=12,90С – температура
поверхні стіни у кутках будинку
Так як температура поверхні стіни у кутку
більша, ніж точка роси, то конденсату вологи в кутках не буде.
3.2 ТЕПЛОТЕХНІЧНИЙ РОЗАХУНОК ГОРИЩНОГО
ПОКРИТТЯ
1. Вихідні умови.
Параметри клімату району будівництва:
Розрахункові параметри клімату м. Київ
Таблиця 3.2.1
|
Температура зовнішнього
повітря, ْС
(«Будівельні норми та правила»)
|
Зона вологості
(«Будівельні норми та правила»)
|
Температурна зона
(«Будівельні норми та правила»)
|
|
Найбільш холодної
доби із забезпеченням
|
Найбільш холодних
п’яти діб із забезпеченням
|
|
0,98
|
0,92
|
0,92
|
|
=-29
|
=-26
|
=-22
|
нормальна
|
І
|
Розрахункові параметри мікроклімату приміщення .
Таблиця 3.2.2
|
Температура внутрішнього
повітря , ˚С («Будівельні
норми та правила»)
|
Вологість внутрішнього
повітря j В, %
(«Будівельні норми
та правила»)
|
|
20
|
55
|
Згідно з [1] додаток Г1,Г2
1. Вихідні умови:
Розрахункові теплотехнічні показники шарів матеріалу перекриття
Таблиця 3.2.3
|
№
|
Назва шару
|
Щільність матеріалу
кг/м3
|
Товщина матеріалу
м
|
Коефіцієнт теплопровідності l Вт/(м2·оС)
|
Коефіцієнт тепло
засвоєння s Вт/(м2·оС)
|
|
1
|
Руберойд
|
600
|
0,003
|
0,17
|
2,01
|
|
2
|
Утеплювач пінополістирол
TEPLEX
|
80
|
Х
|
0,05
|
0,89
|
|
3
|
Гіпсокартон
|
1000
|
0,02
|
0,21
|
6,20
|
Згідно з [1] таблиця Л1
1 Пінополістирол (130мм)
2.Пароізоляція- 1 шар руберїду(3мм)
3.Гіпсокартон (10мм)
4.Гіпсокартон (10мм)
2. Визначаємо розрахунковий опір теплопередачі горищного покриття
Нормативний опір теплопередачі
Rзовн н =2,7- Згідно з [1] таблиця 1
Термічний опір стіни розраховується за формулою:
, aзовн = 23
, aвн = 8,7
Rвн – опір теплосприйняття внутрішньої поверхні стіни
aвн – коефіціент теплосприйняття внутрішньої поверхні стіни
Rзовн – опір тепловіддачі зовнішньої поверхні стіни
aзовн – коефіціент тепловіддачі зовнішньої поверхні стіни
Rк – термічний опір конструкції
Умова забезпеченності захисних якостей стіни:
Rзаг ³ Rзовн н
Визначаємо значення товщини утеплювача за формулою:
Перевірка розрахунку
0,11+0,095+,018+2,6+0,04=2,863
Зарахуванням стандартів на плити утеплювача приймаємо товщину утеплювача яка
дорівнює = 0,13
Фактичне значення опору теплопередачі стіни 2,863>2,7 – умова виконана
0,095+0,018+2,6=2,71
Визначаємо теплову інерцію огороджуючої
конструкції
0,095.6,2 + 0,018.2,01 +
2,6.0,89 = 2,93
Визначаємо розрахункову зимову температуру
зовнішнього повітря.
Так як значення теплової інерції знаходиться
в інтервалі 1,5 < D < 4, то розрахункову зимову температуру зовнішнього повітря
приймаємо рівній температурі найбільш холодної доби із забезпеченням 0.92(
=-26)
Згідно з [5]
таблиця 4
Будуємо лінію падіння температур на розрізі
огороджуючої конструкції
Температуру на внутрішній поверхні m-го
шару огородження, рахуючи шари від внутрішньої поверхні огородження, tm0C, можна визначити за формулою:
tв – температура внутрішнього
повітря, 0С
tз – температура зовнішнього
повітря, 0С
Rзаг – опір теплопередачі
огороджуючої конструкції,м2.0С/Вт
Rвн – коефіціент теплосприйняття
внутрішньої поверхні огороджуючої конструкції, м2.0С/Вт
-термічний опір m-1 перших шарів огородження, м2.0С/Вт
Температуру внутрішньої поверхні стелі
можна знайти, як:
=
=18,1
Температуру зовнішньої поверхні стелі
можна знайти за формулою:
=



-термічний опір m-1 перших шарів огородження, м2.0С/Вт
Мал 3.2.2 Лінія падіння температур на розрізі даху
Визначимо точку роси у приміщенні.
При tв = 200С,
визначимо значення максимальної пружності водяної пари E,Па, Е=2338Па-Згідно з [5] додаток 11
Визначаємо дійсну пружність водяної пари
е,Па за формулою:
Точка роси у приміщенні Тр»110С
Так як температура внутрішньої поверхні
стіни більша від точки роси, то конденсат на площині внутрішньої поверхні стіни
утворюватись не буде.
Перевіримо можливість утворення конденсату
в кутках
=2,71 м2.0С/Вт – температурний опір стіни
у звичайному місці
=18,10С – температура внутрішньої поверхні
стіни в звичайному місці
DtL40 = 3,00С
– зниження температури поверхні кута проти температури стіни у звичайному місці
tL =
- DtL40.
= 18,1 – 3,0.
=14,650С – температура
поверхні стіни у кутках будинку
Так як температура поверхні стіни у кутку
більша, ніж точка роси, то конденсату вологи в кутках не буде.
4. Техніко – економічна оцінка проектного рішення
ПЗаб – площа забудови – площа в межах зовнішнього периметра стін
на рівні цоколю з урахуванням виступаючих частин.
ПЗаб=3,384+117,912+0,969+2,786+32,9+7,686=165,64 м2
ПЖ – житлова площа – площа житлових кімнат у будинку (площа ніш
та площа зайнята під внутрішні сходи додаються до житлової площі).
ПЖ
=36,74+10,11+27,28+9,16+21,96+14,99+23,94+36,94+21,96+14,99+23,94=242м2
ПП – підсобна площа – сума площ обслуговуючого характеру.
ПП
=4,37+6,51+10,40+5,77+4,44+6,26+14,99+23,94+6,03+5,74+6,26+10,60+626+10,60=122,17м2
ПЗАГ– загальна площа – сума житлової та підсобної площ.
ПЗАГ =364,17 м2
ОВ – будівельний об’єм – визначається множенням площі горизонтального
перерізу по зовнішньому контуру будинку на рівні першого поверху на повну висоту
будинку (від рівня чистої підлоги першого поверху до верху утеплювача горищного
перекриття)
ОВ =154,57*8,85=1367,95 м3
П– периметр зовнішніх стін
П=54,5 м
ПК– конструктивна площа – площа, зайнята стінами, стовпами, перегородками.
ПК =77,73 м2
К1– коефіцієнт, що характеризує економічність планувального рішення
К2– коефіцієнт, що характеризує раціональність використання об’єму
на одиницю житлової площі
К3– коефіцієнт, що характеризує компактність форми плану
К4– коефіцієнт, що характеризує раціональність конструктивної схеми
ЛІТЕРАТУРА:
1. ДБН В.2.6-31-06
Теплова ізоляція будівель
2. ДБН В.1.1-7-02
Пожежна безпека об’єктів будівництва
3. ДБН В.2.2-15-05
Будинки і споруди. Житлові будинки. Основні положення.
4. Маклакова Т.Г.
Конструкции гражданских зданий. Москва. Издательство Ассоциации строительных вузов.
2002
5. Сергейчук О.В.
Архітектурно – будівельна фізика. Теплотехніка огороджуючи конструкцій будинків.
Навчальний посібник / К.: Такі справи 1999
6. Худенко В.Ф. Чернишенко
Л.С. Методичні вказівки до виконання курсового проекту № 1 з курсу Архітектура будівель
і споруд Дніпропетровськ. Дніпропетр. держ. тех.універ залізничн. трансп. 2001
7. Морозов Е.А. Худенко
В.Ф. Методические указания «Конструкции фундаментов мелкоэлементных зданий на железнодорожном
транспорте» Днепропетровск: ДИИТ 1986.