Взаимозаменяемость, допуски и посадки

  • Вид работы:
    Курсовая работа (т)
  • Предмет:
    Технология машиностроения
  • Язык:
    Русский
    ,
    Формат файла:
    MS Word
    739,10 kb
  • Опубликовано:
    2010-06-08
Вы можете узнать стоимость помощи в написании студенческой работы.
Помощь в написании работы, которую точно примут!

Взаимозаменяемость, допуски и посадки















Курсовая работа

по дисциплине: «Взаимозаменяемость»

на тему

Взаимозаменяемость, допуски и посадки

Содержание

Введение

1. Задание 1 – Расчет и выбор посадок для гладких цилиндрических соединений

2. Задание 2 – Расчет количества групп деталей для селективной сборки соединения требуемой точности

3. Задание 3 – Расчет и выбор полей допусков для деталей, сопрягаемых с подшипниками качения

4. Задание 4 – Выбор допусков и посадок шпоночных соединений

5. Задание 5 – Допуски и посадки шлицевых соединений

6. Задание 6 – Расчет допусков размеров, входящих в заданную размерную цепь

Список использованных источников

Приложения

Введение

Цель курсовой работы – приобретение практических навыков пользования стандартами, а также выбора допусков и посадок в конкретных условиях.

Курсовая работа состоит из следующих основных разделов:

1. Расчет и выбор посадок для гладких цилиндрических соединений;

2. Расчет количества групп деталей для селективной сборки соединения требуемой точности;

3. Расчет и выбор полей допусков для деталей, сопрягаемых с подшипниками качения;

4. Выбор допусков и посадок шпоночных соединений;

5. Допуски и посадки шлицевых соединений;

6. Расчет допусков размеров, входящих в заданную размерную цепь.

Задание 1. Расчет и выбор посадок для гладких цилиндрических соединений

Исходные данные

1. Номинальный размер – 120 мм

2. Значения расчетных зазоров или натягов

 мкм;  мкм

3. Система полей допусков – система вала cН

Выполнение работы

1. Определить среднее значение числа единиц допуска.

, (1.1)

=346–236=110 мкм


2. Предварительно по таблице А2 приложения А установили квалитет 8, по которому изготавливаются детали соединения.

3. Определить значения предельных технологических натягов.

Шероховатость деталей соединения по формуле

, (1.2)

 (1.3)

 

4. Выбрать поля допусков деталей соединения по таблицам П4-П10/4.

, квалитет 8,

, квалитет 8.

Выбираем основные отклонения отверстия по таблице П8/1 и формулам (1.4), (1.5)

 (1.4)

еi=310 мкм

es=ei+Td (1.5)

es=310+54=364мкм

Записываем выбранную посадку


Проверяем соблюдения условия выбора

 (1.6)


Условие соблюдается – посадка выбрана верно.

5. Уточняем шероховатость поверхности вала и отверстия по формуле (1.2):

 мкм,

 мкм.

Выбираем стандартные значения  и  по таблице (приложение Б):

 мкм,

 мкм.

По таблице (приложение Б) назначаем завершающий технологический процесс, обеспечивающий требуемую точность и шероховатость:

- для отверстия – растачивание на токарных станках тонкое (алмазное)

- для вала – наружное точение тонкое (алмазное)

6. Выбираем средства измерения.

Для отверстия:

.00, IT = 54 мкм

Нутромер индикаторный с точностью отсчета 0,01 мм, на нормируемом участке шкалы в 0,1 мм, .

Для вала

, IT =54 мкм - Микрокатр типа ИГП с ценой деления 0,005 (±0,15 мм), .

7. Строим схему полей допусков соединения

Рисунок 1.1 – Схема допусков соединения

8. Чертим эскизы соединения и его деталей

 

а)                                 б)

в)

Рисунок 1.2 – Эскизы соединения и его деталей: а - вал, б - отверстие,

в- полное соединение

Задание 2. Расчет количества групп деталей для селективной сборки соединения требуемой точности

Исходные данные

1. Соединение технологическое, заданное номинальным размером и полями допусков деталей по возможностям изготовления - .

2. Точность соединения (эксплуатационного), заданная групповым допуском посадки (зазора), требуемое по условиям функционирования соединения -  мкм.

Выполнение работы

1. Определить значения допусков, предельных отклонений и предельных размеров вала и отверстия.

По таблице П4/4 определяем верхнее и нижнее предельное отклонения для отверстия.

ES = +87 мкм; EI=0 мкм.

По таблице П8/4 определяем верхнее и нижнее предельное отклонения для вала.

es = -36 мкм; ei=-123 мкм.

Наибольший предельный размер для отверстия:

 (2.1)

Наименьший предельный размер для отверстия:

 (2.2)

Наибольший предельный размер для вала:

 (2.3)

Наименьший предельный размер для вала:

 (2.4)

Допуски для отверстия:

TD=ES - EI =100 – 0 = 100 мкм (2.5)

Допуски для вала:

 

Td=es - ei = (–36) – (–123) = 87 мкм (2.6)

2. Определить значения предельных зазоров в заданном соединении (технологическом).

 

=ES - ei =87 – (–123) = 210 мкм (2.7)

=EI - es =0 – (–36) = 36 мкм(2.8)

3. Определить число групп вала и отверстия для обеспечения заданной точности соединения.

, (2.9)

где  - допуск посадки по возможностям изготовления;

 - групповой допуск посадки по требованиям эксплуатации.

; .

Находим количество групп вала и отверстия

, (2.10)

 Принимаем .

Групповые допуски деталей для селективной сборки

; ,

т.е. допуски всех размерных групп вала или отверстия будут равны между собой.

 (2.11)

4. Выполнить схему полей допусков заданного соединения 100H9/F9, детали которого следует рассматривать на семь размерных групп (рисунок 2.1).

Рисунок 2.1 - Схема полей допусков соединения 100H9/f9, детали которого рассортированы на семь размерные группы

5. Составить карту сортировщика, указав в ней предельные размеры валов и отверстий в каждой размерной группе (таблица 2.1).

Таблица 2.1 - Карта сортировщика для сортировки на семиразмерные группы деталей соединения

Номер размерной группы

Размеры деталей, мм

отверстие

вал

1

от

100

99,877

до

100,0145

99,8915

2

свыше

100,0145

99,8915

до

100,029

99,906

3

свыше

100,029

99,906

до

100,0435

99,9205

4

свыше

100,0435

99,9205

до

100,058

99,935

5

свыше

100,058

99,935

до

100,0725

99,9495

6

свыше

100,0725

99,945

до

100,087

99,964

Задание 3. Расчет и выбор полей допусков для деталей, сопрягаемых с подшипниками качения

Исходные данные

1. Номер подшипника качения - 317

2. Значение радиальной нагрузки на опоре подшипника – 18 кН.

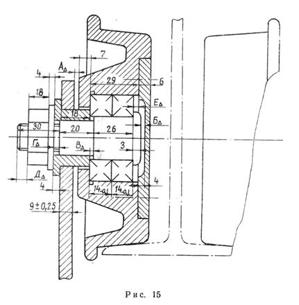
3. Чертеж узла, в котором используют подшипник качения - рисунок 15 (приложение Г).

Выполнение работы

1. Выбираем конструктивные размеры заданного подшипника качения серии 317.

По ГОСТ 8338-75 определяем D=180 мм; d=85 мм; Bк=41 мм; r=4 мм.

2. Обосновать характер нагрузки подшипника.

Выбираем характер нагрузки подшипника – перегрузка до 150%, умеренные толчки вибрации.

3. Установить вид нагружения каждого кольца подшипника.

Для внутреннего кольца устанавливают циркуляционное нагружение, а для наружного кольца – местное.

4. Рассчитать и выбрать посадки подшипника на вал и в корпус.

При циркуляционном нагружении колец подшипников посадки на валы и в корпусы выбирают по значению интенсивности радиальной нагрузки на посадочной поверхности.

Интенсивность радиальной нагрузки определяют по формуле (3.1)

 (3.1)

где R- радиальная нагрузка, кН;

В-ширина подшипника, м;

kn- динамический коэффициент посадки, зависящий от характера нагрузки, kn=1-1,8;

F- коэффициент, учитывающий степень ослабления натяга при полом вале и тонкостенном корпусе, при сплошном вале F=1;

FA- коэффициент, учитывающий неравномерность распределения радиальной нагрузки между рядами роликов и шариков, для радиальных и радиальноупорных подшипников с одним наружным или внутренним кольцом FA=1.

 кН/м

При  кН/м и d = 85 мм поле допуска вала js6. Условное обозначение соединения «внутренние кольца подшипника – вал» -  для циркулярного нагруженного кольца (таблица П.19/4).

При местном виде нагружения поле допуска корпуса для D=180 мм – H7. Условное обозначение соединения «корпус – наружное кольцо подшипника -  (таблица П20/4)

5. Для соединений «корпус-подшипник» и «подшипник-вал» построить схемы полей допусков (рисунок 3.1).


Верхнее предельное отклонения для внутреннего кольца ES = 0 мм

Нижнее предельное отклонения для внутреннего кольца EI = -0,02 мм

Верхнее предельное отклонения для вала es = 0,011 мм

Нижнее предельное отклонения для вала ei = 0,011 мм (таблица П5/4)


Верхнее предельное отклонения для корпуса ES = 0,040 мм

Нижнее предельное отклонения для корпуса EI=0 мм

Верхнее предельное отклонения для наружного кольца es = 0 мм

Нижнее предельное отклонения для наружного кольца ei = -0,025 мм (таблица П4/4)

а)

б)

Рисунок 3.1 – Схемы полей допусков соединений: а- поле допуска для посадки , б – поле допуска для посадки

Задание 4. Выбор допусков и посадок шпоночных соединений

Исходные данные

1. Диаметр вала d=30 мм

2. Вид соединения – нормальное

3. Конструкция шпонки – сегментная

Выполнение работы

1. Определить основные размеры шпоночного соединения.

По ГОСТ 24071-80 для d=30 мм: b=8 мм; высота h=11 мм; =8,0 мм; =3,3 мм; D=28 мм.

2. Выбрать поля допусков деталей шпоночного соединения по ширине шпонки b=8 мм зависит от нормального вида соединения.

При нормальном виде соединения на ширину шпонки выбираем поле допуска – h9; на ширину паза вала - N9; на ширину паза вала - Js9.

3. Назначить поля допуска на другие размеры деталей шпоночного соединения определены в ГОСТ 24071, по которым назначают следующие поля допусков:

- высота шпонки – по h11;

- длина шпонки – по h14;

- длина паза вала – по H15;

- глубина паза вала и втулки - H12;

- диаметр сегментной шпонки.- h12.

Поля допусков шпоночного соединения по номинальному размеру «вал-втулка» устанавливают при точном центрировании втулки на валу - .

4. Вычертить схему расположений полей допусков размеров шпоночного соединения (рисунок 4.1).

Рисунок 4.1- Схема расположения полей допусков шпоночного соединения.

5. Заполнить таблицу 5.1 “Размерные характеристики деталей шпоночного соединения”

Таблица 5.1 - Размерные характеристики деталей шпоночного соединения

Наименование размера

Номинальный размер, мм

Поле допуска

Допуск размера Т, мм

Предельные отклонения, мм

Предельные размеры, мм

верхнее

ES(eS)

Нижнее

EI(ei)

max

min

Ширина паза вала

Ширина паза втулки

Ширина шпонки

Глубина паза вала

Высота шпонки

Глубина паза втулки

Диаметр втулки

Диаметр вала

Диаметр сегментных шпонок

8

8

8

8

11

3,3

30

30

28

N9

Js9

h9

H12

h11

H12

H6

m6

h12

0,036

0,036

0,036

0,3

0,110

0,200

0,013

0,013

0,210

0

+0,018

0

+0,3

0

+0,2

+0,013

+0,021

0

-0,036

-0,018

-0,036

0

-0,110

0

0

0,008

-0,210

8,00

8,018

8

8,3

11

3,5

30,013

30,013

28,210

7,964

7,988

7,964

8

10,890

3,3

30

29,992

21,790


Задание 5. Допуски и посадки шлицевых соединений

Исходные данные

1. Условное обозначение прямоточного шлицевого соединения –

.

Выполнение работы

1. Установить способ центрирования заданного шлицевого соединения.

Центрирование осуществлено по внутреннему диаметру.

2. Установить значения основных отклонений, допусков размеров и вычертить схемы полей допусков центрирующих и не центрирующих элементов шлицевого соединения.

По ГОСТу 1139-80 при центрировании соединении по внутреннему диаметру d: число шлицёв z=10; посадка по центрирующему элементу ; посадка по нецентрирующему элементу; ширина зуба b=12,0; посадка по размеру

Посадка по центрирующему элементу :

Верхнее предельное отклонения для отверстия ES = +35 мкм

Нижнее предельное отклонения для отверстия EI=0 мкм

Верхнее предельное отклонения для вала es= -36 мкм

Нижнее предельное отклонения для вала ei=-71 мкм (таблица П4 – П10/4)

Посадка по нецентрирующему элементу

Верхнее предельное отклонения для отверстия ES = +93 мкм

Нижнее предельное отклонения для отверстия EI=+50 мкм

Верхнее предельное отклонения для вала es= -16 мкм

Нижнее предельное отклонения для вала ei=-59 мкм (таблица П4 – П10/4)

Построим схему полей допусков  и  (рис. 5.1 и 5.2).

Рисунок 5.1 – Схема допусков центрирующего элемента

Рисунок 5.2 – Схема допусков центрирующего элемента

3. Определить неизвестные предельные отклонения и предельные размеры всех элементов деталей шлицевого соединения.

Посадка по центрирующему элементу:

Наибольший предельный размер для отверстия


Наименьший предельный размер для отверстия


Наибольший предельный размер для вала


Наименьший предельный размер для вала


Значение предельных зазоров (натягов) в заданном соединении


Допуски для отверстия:

 

TD=ES - EI =35 – 0 = 35 мкм = 0,035 мм

Допуски для вала:

 

Td=es - ei = -36 – (–71) = 35 мкм= 0,035 мм

Посадка по центрирующему элементу

:

Наибольший предельный размер для отверстия


Наименьший предельный размер для отверстия


Наибольший предельный размер для вала


Наименьший предельный размер для вала


Значение предельных зазоров в заданном соединении


Допуски для отверстия

TD=ES - EI =0,093 – 0,050 = 0,043 мм

Допуска для вала

 

Td=es - ei = –0,016 – (–0,059) = 0,043 мм

4. Заполнить форму 5.1 “Размерные характеристики деталей шлицевого соединения”

Форма 5.1 - Размерные характеристики деталей шлицевого соединения

Наименование элементов шлицевого соединения

Номинальный размер, мм

Поле допуска

Допуск размера Т, мм

Предельные отклонения, мм

Предельные размеры, мм

верхнее

ES(eS)

Нижнее

EI(ei)

max

min

1. Центрирующие

элементы

Отверстие

Вал

2.Нецентрирующие элементы

Ширина паза (впадин отверстия)

Ширина зуба (толщина шлицев вала)

Отверстие

Вал



112

112

18

18

125

125



H7

F7

D9

F9

H12

A12



0,035

0,035

0,043

0,043

0,400

0,250



0,035

-0,036

0,093

-0,016

0,400

-0,460



0

-0,071

0,050

-0,059

0

-0,710



112,035

111,964

18,093

17,084

125,400

124,540



112

111,929

18,050

17,041

125

124,290


5. Сборочный и детальный эскизы шлицевого соединения и его деталей, указав их условные обозначения

Рисунок 5.1 – Сборочный эскиз шлицевого соединения




Рисунок 5.2 – Детальный эскиз шлицевого соединения

Задание 6. Расчет допусков размеров, входящих в заданную размерную цепь

Исходные данные

1. Чертеж узла с указанием замыкающего звена - рисунок  (приложение Г).

2. Номинальный размер и предельные отклонения замыкающего звена

мм

Выполнение работы

1. Выполнить размерный анализ цепи с заданным замыкающим звеном.

Рисунок 6.1 - Геометрическая схема размерной цепи с замыкающим звеном  по рис. 15.

2. Проверить правильность составления заданной размерной цепи на уменьшающие и увеличивающие звенья.

, (6.1)


3. Установить единицы допуска составляющих звеньев, допуски которых требуется определить.

Известны допуски двух подшипников качения, т.е. размеров . Для размеров, у которых нет полей допусков, единицу допуска следует определить по приложению А.

для ;

для  мкм;

для мкм;

для В4=3мм-i=0,63 мкм;

для В5=20 мм-i=1,44 мкм;

для В8=4 мм-i=0,83 мкм.

4. Определить допуск замыкающего звена.

; (6.2)


5. Определить средний коэффициент точности заданной размерной цепи.

(6.3)


6. Установить квалитет, по которому следует назначать допуски на составляющие звенья.

При среднем коэффициенте точности  () квалитет 11, из приложения А (по приложению Д).

7. По установленному квалитету назначить допуски и отклонения на составляющие звенья.

для 4 мм допуск ТВ=0,75 мм, отклонения равны es=0,0375 ei=-0,0375

для 18 мм допуск ТВ=0,11 мм, отклонения равны es=0,055 ei=-0,055

для  29мм допуск ТВ=0,13 мм, отклонения равны es=0,065 ei=-0,065

для В4=3 мм допуск ТВ=0,06 мм, отклонения равны es=0,03 ei=-0,03

для В5=20 мм допуск ТВ=0,13 мм, отклонения равны es=0,065 ei=-0,065

для В8=4 мм допуск ТВ=0,75 мм, отклонения равны es=0,0375 ei=-0,0375

8. Сделать проверку правильности назначения предельных отклонений.

Допуск замыкающего звена равен сумме допусков составляющих звеньев.

,(6.4)

(-37,5-55-65-30)-(65+37,5)<-400

(37,5+55+65+30)-(-65-100-100-37,5) <400

Условие не соблюдается.

9. Если условия проверки не соблюдаются, рассчитать отклонения корректирующего звена и его допуск.

, то выбирают более простое звено –В8, которое является уменьшающим.

Предельные отклонения замыкающего звена:

 (6.5)

ESB-

(-37,5-55-65-30)-(-400)-65=117.5

 EIB-

(37.5+65+55+30)-400-(-65-100-100)=82.5

10. Проверить правильность назначения допусков на составляющие звенья размерной цепи.

(-37,5-55-65-30)-(65+117.5)=-400

(37.5+65+55+30)-(-65-100-100-82.5)=400

400-(-400)=800

11. Результаты расчетов занести в форму 6.1.

Форма 6.1 - Результаты расчетов допусков в размерной цепи

Наименование размеров

Номинальный размер, мм

Обозначение размера, мм

Квалитет

Допуск размера

Поле допуска

Предельные отклонен., мм

Предельные размеры, мм

значе

ние

приме

чание

верх.

ES(es)

нижн.

EI(ei)

max

min

составляющие

увеличивающие

4

18

29

3

В1

В»

В3

В4

-

-

-

-

0,075

0,11

0,13

0,06


Js12

Js12

0,0375

0,055

0,065

0,030

-0,0375

-0,055

-0,065

-0,030

4,0375

18,055

29,013

3,030

3,9625

17,945

28,987

2,970

уменьшающие

20

14

14

4

2

В5

В6

В7

В8

В

-

-

-

-

-

0,13

0,100

0,100

0,075

0,650


извест

извест

корр

извест


0,065

0

0

0,1175

0,4

-0,065

-0,100

-0,100

0,0825

-0,4

20,065

14

14

4,1175

2,4

19,935

13,9

13,9

3,9175

1,6

замыкающий


Список использованных источников

1. Некифоров А.Д. Взаимозаменяемость, стандартизация и технические измерения. – Москва, ВШ, 2000. – 510с.

2. Сергеев А.Г., Латышев М.В. Метрология, стандартизация и сертификация, 2001.

3. Якушев А.И., Воронцов Л.Н., Федотов Н.М. Взаимозаменяемость, стандартизация и технические измерения: Учебник для вузов – 6-е изд., перераб. и доп. – М.: Машиностроение, 1986.-352 с.

4. Взаимозаменяемость и технические измерения. Методические указания/ Составители: Б.А. Калачевский, М.С. Корытов, В.В. Акимов, А.Ф. Мишуров. – Омск: СибАДИ, 2004/

5. Допуски и посадки. Справочник в 2 ч. /Под ред. В.Д. Мягкове. – Л.: Машиностроение, 1978/

6. Справочник по машиностроительному черчению/ Федоренко В. А, Шошин А.И. – 14е изд., перераб. и доп./ Под ред. Г.Н. Поповой. – Л.: Машиностроение, Ленингр. отд-ние, 1983. – 416 с.

7. ГОСТ 520 Подшипники качения. Общие технические условия.

8. ГОСТ 2.308 Указание на чертежах допусков, формы и расположения поверхности.

9. ГОСТ 2.309 Обозначения шероховатостей поверхностей.

10. ГОСТ 1643 Основные нормы взаимозаменяемости. Передачи зубчатые и цилиндрические.

11. ГОСТ 8032 Предпочтительные числа или вид предпочтительных чисел.

12. ГОСТ 24642 Основные нормы взаимозаменяемости. Допуски, формы и расположения поверхностей. Основные термины и определения.

13. ГОСТ 25142 Шероховатость поверхности. Термины и определения.

14. ГОСТ 25346 Основные нормы взаимозаменяемости. Общие положения, ряды допусков и основных отклонений.

15. ГОСТ 25347 Основные нормы взаимозаменяемости. Поля допусков и рекомендуемые посадки.

16. ГОСТ 25670 Основные нормы взаимозаменяемости. Предельные отклонения размеров с неуказанными допусками.

17. ГОСТ 8338 Предпочтительные числа и ряды предпочтительных чисел.

18. ГОСТ 23360 Соединения шпоночные с призматическими шпонками.

19. ГОСТ 2.104 ЕСКД. Основные надписи.

20. ГОСТ 2.105 ЕСКД. Общие требования к текстовым документам.

21. ГОСТ 2.106 ЕСКД. Текстовые документы.

22. ГОСТ 7.1-2003 Библиографическая запись. Библиографическое описание.

Приложение А

(обязательное)

Таблица А1 – Значение единицы допуска i для разных интервалов (размеров)

Интервалы размеров, мм

Единица допуска i, мкн

1-3

3-6

6-10

10-18

18-30

30-50

50-80

80-120

120-180

180-250

0,63

0,83

1

1,21

1,44

1,71

1,9

2,2

2,5

29


Таблица А2 – Значение числа единиц допуска для различных квалитетов

Квалитет

5

6

7

8

9

10

11

12

13

14

15

16

17

Число единиц допуска a

7

10

16

25

40

64

100

160

250

400

640

1000

1600


Приложение Б

(обязательное)

Таблица Б.1 - Высота неровностей профиля по десяти точкам по ГОСТ 2789–3, мкм

1000

100

10,0

1,00

0,100

800

8,0

0,80

0,080

630

63

6,3

0,63

0,063

500

50

5,0

0,50

0,05

400

40

4,0

0,40

0,04

320

32

3,2

0,32

0,032

250

25

2,5

0,25

0,025

200

20

2,0

0,20


1600

160

16

1,6

0,160


1250

125

12,5

1,25

0,125



Таблица Б.2 - Размерная точность и шероховатость изготовления деталей из стали при различных методах обработки

Вид поверхности

Метод обработки

Квалитет

Шероховатость , мкм

Вал

Наружное точение:

(токарное)

получистовое

чистовое

тонкое (алмазное)

Круглое шлифование:

чистовое (в центрах)

тонкое



12–14

7–12

6–7

8–11

5–8



80–160

6,3–80

1,6–3,2

0,8–10

0,16–0,8


Отверстие

Сверление

Зенкерование

Растачивание на токарных станках:

получистовое

чистовое

тонкое(алмазное)

Разертывание

Шлифование

Хонингование

11–14

11–12

12–14

7–12

6–7

6–7

5–8

5–6

80–160

10–80

80–160

6,3–80

3,2–6,3

1,6–3,2

1,6–3,2

0,2–1,6

Приложение Г

(обязательное)

Приложение Д

(обязательное)

Таблица Г1 - Таблица значений допусков (мкм) по СТ СЭВ 145-75 для номинальных размеров до 500 мм. Для размеров до 1 мм квалитеты от 14 до 17 не применяются.

Интервалы размеров, мм

Квалитет

01

0

1

2

3

4

5

6

7

8

9

10

11

12

13

14

15

16

17

До 3

0,3

0,5

0,8

1,2

2

3

4

6

10

14

25

40

60

100

140

250

400

600

1000

Св 3 до 6

0,4

0,6

1

1,5

2,5

4

5

8

12

18

30

48

75

120

180

300

480

750

1200

Св 6 до 10

0,4

0,6

1

1,5

2,5

4

6

9

15

22

36

58

90

150

220

360

580

900

1500

Св10 до 18

0,5

0,8

1,2

2

3

5

8

11

18

27

43

70

110

180

270

430

700

1100

1800

Св18 до 30

0,6

1

1,5

2,5

4

6

9

13

21

33

52

84

130

210

330

520

840

1300

2100

Св30 до 50

0,6

1

1,5

2,5

4

7

11

16

25

39

62

100

160

250

390

620

1000

1600

2500

Св50 до 80

0,8

1,2

2

3

5

8

13

19

30

46

74

120

190

300

460

740

1200

1900

3000

Св80 до 120

1

1,5

2,5

4

6

10

15

22

35

54

87

140

220

350

540

870

1400

2200

3500

Св120 до180

1,2

2

3,5

5

8

12

18

25

40

63

100

160

250

400

630

1000

1600

2500

4000

Св180 до250

2

3

4,5

7

10

14

20

29

46

72

115

185

290

460

720

1150

1850

2900

4600

Св250 до315

2,5

4

6

8

12

16

23

32

52

81

130

210

320

520

810

1300

2100

3200

5200

Св315 до400

3

5

7

9

18

25

36

57

89

140

230

360

570

890

1400

2300

3600

5700

Св400 до500

4

6

8

10

15

20

27

40

63

97

155

250

400

630

970

1550

2500

4000

6300


Похожие работы на - Взаимозаменяемость, допуски и посадки

 

Не нашли материал для своей работы?
Поможем написать уникальную работу
Без плагиата!
Без нейросетей!