Исследование зависимости прочности клеевых соединений от технологических параметров склеивания при изготовлении верхней одежды
Содержание
Введение
1. Анализ методов,
применяемых при определении прочности клеевых соединений при производстве
верхней одежды
1.1 Теория склеивания
1.2 Анализ методик на определение прочности клеевого соединения
2. Исследование
влияния технологических параметров на прочность клеевого соединения
2.1 Исследование влияния температуры дублирования на
прочность клеевых соединений
2.2 Исследование влияния давления дублирования на прочность
клеевых соединений
2.3 Исследование влияния времени дублирования на прочность
клеевых соединений
2.4 Исследование влияния скорости расслоения на результаты
прочностных характеристик клеевого соединения
2.5 Применение анализа размерностей для исследования
зависимости прочности склеивания от определяющих факторов
3. Разработка
методики на экспресс оценку прочности клеевых соединений при производстве
верхней одежды
4. Исследование
конъюнктуры рынка термоклеевых прокладочных материалов
5. Охрана труда и
промышленная экология
5.1 Охрана труда
5.2 Промышленная экология
Заключение
Введение
Выбор клеевых материалов для изготовления
одежды осуществляется в зависимости от ассортимента, назначения и выбранной
технологии швейных изделий; условий эксплуатации одежды, способов ухода за
изделиями; вида и свойств используемых для одежды основных материалов
(материалов верха); химического состава, физико-химических и
физико-механических свойств клеевых материалов; вида оборудования, применяемого
для склеивания [2].
При появлении фронтального
дублирования на швейных предприятиях значительно улучшились внешний вид
изделия, и упростилась технология их пошива. При фронтальном дублировании
происходит соединение основных (крупных) деталей одежды (например, полочек
пальто, костюмов, плащей) с термоклеевыми прокладками по всей поверхности
детали или её части [1].
Удельный вес операций клеевой
технологии в общей трудоемкости пошива верхней одежды сейчас составляет
0,9...6,5%, а в абсолютном выражении на их длительность приходится от 12 до 600
с. Степень распространения операций клеевой технологии непосредственно влияет
на качество и общую трудоемкость изготовления одежды, объемы потребляемых
энерготехнологических сред (электроэнергии, сжатого воздуха),
производительность труда. Внедрение операций клеевой технологии потребовало
оптимизации и совершенствования процессов раскроя, ниточного соединения,
влажно-тепловой обработки [3].
Термоклеевые прокладочные материалы –
это невидимый каркас, придающий швейным изделиям объёмную форму. Их стоимость в
цене швейных изделий невелика (в среднем 10%), но они оказывают решающее
воздействие на товарный вид изделий.
В данной дипломной работе исследуется зависимость прочности клеевых
соединений от технологических параметров склеивания при изготовлении верхней
одежды. Прочность клеевых соединений определяется прочностью адгезионной связи,
т.е. связи между пленкой клея и склеиваемым материалом, и прочностью самой
клеевой пленки. Однако при фронтальном дублировании деталей одежды не всегда
слои клеевой системы соединяются достаточно прочно. На прочность склеивания
отрицательно влияют операции увлажнения изделия, например, в процессах
пропаривания при окончательной обработке, при чистке и стирке. В некоторых
случаях от воздействия влаги возможно самопроизвольное расклеивание деталей при
эксплуатации. Кроме того, на предприятиях подбирать и проверять режимы
дублирования сложно, а иногда и невозможно, так как в настоящее время не
налажен серийный выпуск приборов для контроля прочности склеивания – главного
критерия качества клеевого соединения слоёв материала [3].
Для анализа и решения изложенной
проблематики проводятся исследования по обработке рациональных режимов
дублирования, ведется поиск в области дублирования новых материалов и создания
приборов для контроля за процессом дублирования на предприятиях. Целью
дипломной работы анализ существующих методик на исследование прочности клеевого
соединения.
1.
Анализ методов, применяемых при определении прочности клеевых соединений при
производстве верхней одежды
1.1 Теория склеивания
Процесс образования клеевого соединения является
многостадийным и многофакторным. Склеиванию подвергают многие виды текстильных
материалов с различным строением, химической и волокнистой природой. Для этого
используют адгезивы с соответствующим химическим составом. Чтобы выбрать нужный
адгезив для соединения деталей одежды, необходимо знать сущность адгезии.
Интерес к адгезии возник примерно в середине 40-х гг. XX в. Одним из основных затруднений при
исследовании механизма адгезии является то обстоятельство, что предмет
исследования относится к нескольким отраслям науки: учению о макромолекулах,
физической химии поверхностей и промежуточных поверхностей, материаловедению,
механике, теории разрушения [4].
В настоящее время при изучении и объяснении
особенностей проявления адгезии используют разные теории, которые находятся в
большой зависимости от области их применения. Многие теоретические модели
адгезии дополняют друг друга, а некоторые находятся в противоречии между собой.
Наиболее распространенными являются следующие теории:
1
механическая;
2
адсорбционная
теория высокополимерных материалов;
3
электронная;
4
реологическая
(теория пограничных слоев и промежуточных фаз);
5
поглощения
(термодинамическая);
6
диффузии;
7
химических
связей;
8
склеивания
текстильных материалов.
Каждая из перечисленных теорий имеет преимущественное
значение для определенного вида твердых тел в зависимости от условий
склеивания. Поэтому они не отвергают друг друга, а формируют общее
многостороннее явление, которое называют адгезией.
Почти все основные теории были разработаны не для
текстильных материалов, а для твердых тел, поэтому при использовании их в
применении к текстильным материалам необходимо учитывать, что все компоненты
адгезионного взаимодействия (клеи и текстильные материалы) представляют собой
высокополимерные материалы.
Механическая теория. Общепризнанным фактом является
то, что адгезия определяется не только межмолекулярным взаимодействием на
границе фаз, но и механическим поведением материалов.
Механическая связь между клеем и субстратом с этой
точки зрения подобна шиповому или заклепочному соединению. Наиболее наглядный
пример механического сцепления представляет собой пара "каучук —
текстильный материал". Проникновение концов волокон в каучук является
наиболее важным фактором, влияющим на прочность клеевого соединения. Для
расчета силы
разрушения клеевого соединения используют следующее
выражение:
, (1.1)
где
— постоянный коэффициент;
— компонент механического взаимодействия (пора,
трещина и т.п.);
— площадь взаимодействия компонентов поверхностей
склеенных тел.
Согласно уравнению (1.1) сильное сцепление может быть
достигнуто путем регулирования формы поверхности и показателей ее
физико-механических свойств, т.е. величины S. В частности, увеличение шероховатости поверхности
способствует повышению прочности клеевого соединения. Шероховатость поверхности
текстильных материалов может быть повышена как механическими способами, в
частности ворсованием, так и физико-химическими способами с применением плазмы.
Оба способа пригодны для повышения прочности клеевых соединений текстильных
материалов и используются на практике. Шероховатость поверхности текстильных
материалов, описываемая с помощью специальных материаловедческих терминов,
влияет на площадь адгезионного контакта [4].
Адсорбционная теория высокополимерных материалов
наиболее полное развитие получила в 1944—1947 гг. Образование адгезионного
соединения согласно этой теории происходит в две стадии.
На первой стадии после нанесения жидкого адгезива на
поверхность субстрата происходит миграция макромолекул адгезива из раствора к
поверхности субстрата вследствие броуновского движения. Полярные группы
макромолекул адгезива приближаются к полярным участкам (активным центрам)
субстрата. Действие внешнего давления и высокая температура ускоряют этот
процесс.
На второй стадии имеет место сорбция. При расстоянии
между молекулами адгезива и субстрата менее 5 нм начинают действовать
молекулярные силы, энергия которых составляет (кДж/моль), до: водородные – 50;
диполь-дипольные – 20; дисперсионные - 41,8; индуцированные дипольные – 2.
Слабость этой теории обычно видят в несовпадении
значений фактической работы расслаивания клеевого соединения и теоретически
рассчитанной энергии всех межмолекулярных сил, которые могут возникнуть: первая
всегда больше второй.
Применительно к объектам швейного производства данная
теория не объясняет, почему возникает адгезионное соединение между неполярным
полиэтиленом и некоторыми видами неполярных волокон. Использование ее в
практических целях, например для прогнозирования прочности клеевых соединений
деталей одежды, невозможно [4].
Электронная теория впервые была выдвинута группой
российских ученых под руководством Б.В.Дерягина в 1948 г. В ее основе лежит физическое явление — выравнивание уровней Ферми за счет передачи электронов
от адгезива к твердому телу при их контакте. Это явление может способствовать
появлению на промежуточной поверхности двойного слоя электронов, в котором
возникшие электростатические силы могут существенно увеличить адгезию. По этой
теории соединение адгезива и твердого тела можно рассматривать как конденсатор.
При разрушении такого клеевого соединения, т.е. при
отделении двух пластинок конденсатора друг от друга, происходит увеличение
разности потенциалов на всем протяжении существующих зарядов, что обычно
экспериментально подтверждается. Сцепление между адгезивом и твердым телом
образуется благодаря силам электростатического притяжения, действующим в
двойном электрическом слое. Энергия отделения Ge зависит от потенциала разряда Ve следующим образом:
, (1.2)
где h —
расстояние, на котором происходит разряд;
— диэлектрическая постоянная.
В соответствии с таким подходом адгезия может
изменяться при изменении давления газа, в атмосфере которого происходит
измерение величины Ge. В этой теории не учитывается энергия, которая выделяется при
изменении вязкости или пластичности адгезива во время его плавления.
Вместе с тем необходимо отметить, что применительно к
соединениям текстильных материалов зависимость прочности клеевых соединений от
эмиссии электронов при нарушении соединений существует. При разрушении прочных
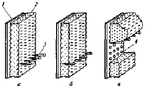
клеевых соединений электрические явления наиболее выражены. Реологическая теория (теория пограничных слоев и
промежуточных фаз). При образовании клеевых соединений возникают промежуточные
зоны, показатели свойств которых отличны от аналогичных показателей компонентов
клеевого соединения. Принцип этой теории формулируют следующим образом, если
нарушение клеевого соединения происходит в пограничных зонах, то работа разрушения
будет зависеть от силы адгезии наиболее слабого пограничного слоя. Поэтому сила
адгезии G всегда равна энергии адгезии в
наиболее слабом промежуточном слое Gc.
Соединения бывают слабыми в том случае, когда
возникают слабые адгезионные связи (или недостаточное число связей). На
поверхности субстрата образуется слой адсорбированных молекул газа, воды,
низкомолекулярных продуктов из клея. Этот слой ослабляет адгезионное
взаимодействие; под его влиянием формируется слабая зона, которая и
обусловливает малую прочность всего клеевого соединения. Эти слои называют
переходными. Соединение субстрата с клеем следует рассматривать как систему,
состоящую из нескольких слоев (рисунок 1.1).
А, В — текстильные материалы; Б — клей; 1, 9 — слои
текстильных материалов, не участвующих в склеивании; 2, 8 — слои текстильных
материалов, близких к поверхности раздела; 3, 7 — слои клея атомарной или
молекулярной толщины; 4, 6 — слои клея, структура которых отличается от
структуры основной массы; 5 — слой клея, на свойствах которого влияние
поверхности раздела не сказывается
Рисунок 1.1 - Клеевое соединение
Молекулы адгезива, находящиеся в глубине, и молекулы
адгезива, находящиеся на поверхности раздела фаз, различаются между собой по
свойствам. Для молекул, находящихся внутри адгезива, все силы межмолекулярного
взаимодействия полностью компенсированы. Молекулы, находящиеся на поверхности,
имеют нескомпенсированные силы. Поверхностные силы имеют ту же природу, что и
силы межатомного и межмолекулярного взаимодействий. Однако закономерности
действия поверхностных сил имеют особенности. Так, силы притяжения
Ван–дер-Ваальса уменьшаются пропорционально седьмой степени расстояния между
контактирующими объектами, а поверхностные силы того же происхождения -
пропорционально третьей-четвертой степени. Поэтому возникновение слабых
пограничных слоев неизбежно, но этот процесс является управляемым. Правильно
сформированным и прочным является соединение, переходные слои которого прочны
так же, как и сам клей. В слабом непрочном соединении разрушение происходит в
пограничном слое, называемом слабым. К возникновению таких слоев приводит
наличие на поверхности субстрата адсорбированных газов и жидкостей, а также твердых
частиц. Для их удаления в других отраслях промышленности прибегают к очистке
поверхностей, которая для текстильных материалов в массовом производстве одежды
мало приемлема. Значительно повысить прочность клеевых соединений можно путем
химической обработки материалов.
Эта теория хорошо объясняет влияние различного вида
аппретов заключительной отделки, находящихся на поверхности текстильных
материалов, на изменение адгезионной способности последних. Наличие между
волокном и адгезивом промежуточного слоя из аппретов может привести и к
ослаблению клеевого соединения, и к его упрочнению. Согласно данной теории
следующего разрушения клеевого соединения никогда не происходит только вдоль
границы поверхностей. Получение прочного клеевого соединения возможно при условии
устранения всех слабых пограничных слоев в клее и субстрате.
В развитие этой теории создана концепция "мощных
промежуточных слоев", или "промежуточных фаз". Такие
промежуточные фазы возникают на молекулярном уровне в пограничном слое толщиной
в несколько нанометров. Причиной образования таких фаз являются многие
физические, физико-химические и химические явления:
1
ориентация
химических групп, направленная на снижение свободной энергии на поверхностях
волокна и адгезива;
2
движение
наполнителей или фракций с низкой молекулярной массой вдоль поверхностей;
3
развитие
кристаллической структуры;
4
образование
ложной кристаллической зоны в результате уменьшения подвижности молекулярной
цепи из-за взаимодействия с твердым телом;
5
изменение
термодинамических и химических факторов полимеризации или перекрестной реакции
в результате действия катализаторов.
Учитывать влияние таких пограничных слоев на адгезию
необходимо для полного понимания этого явления и управления им, а также для
разработки рациональных условий заключительной отделки текстильных полотен в
текстильном производстве.
Теория поглощения (термодинамическая) является самой
распространенной в настоящее время. Она объясняет способность материалов при их
сближении к адгезии за счет действия межатомных и межмолекулярных сил в
пограничных поверхностях. Наиболее распространенными видами пограничных сил
являются силы Ван-дер-Ваальса.
Необходимым условием образования межатомных и
межмолекулярных сил является хорошая смачиваемость твердого тела жидкостью.
Состояние равновесия в системе, состоящей из твердого
тела и жидкости, описывается уравнением Юнга:
, (1.3)
где
— поверхностное натяжение соответственно твердой, жидкой,
газообразной фаз в точке их соприкосновения;
— краевой угол смачивания.
Поверхностное натяжение
характеризует свободную энергию на поверхности
твердого тела после равновесного поглощения пара из жидкости. Иногда эта
величина может быть меньше свободной энергии
твердого тела в вакууме. Для полимеров, в том числе и для текстильных волокон, в
первом приближении можно принять, что:
, (1.4)
Когда краевой угол является конечной величиной
> 0°, жидкость не растекается по
твердой поверхности. Если 9 = 0°, жидкость увлажняет твердую поверхность и
растекается по ней. Для произвольного увлажнения справедливы условия:
; (1.5)
, (2.6)
где S —
коэффициент рассеивания.
Уравнение (1.6) следует рассматривать как
критериальное при увлажнении поверхностей твердых тел. Примечательно, что такие
факторы, как шероховатость поверхности твердого тела и внешнее давление, могут
ограничить возможность использования этого критерия. Он неприменим для
текстильных материалов, если шероховатость их поверхности превышает
м.
Многие исследователи определяют свободную
поверхностную энергию твердого тела по краевому углу смачивания.
Энергию Wж системы "твердое тело
(текстильный материал) — жидкость (клей)" определяют по формуле:
, (1.7)
Одной из наиболее важных моделей в науке об адгезии
является реологическая модель, или модель умножения факторов. В этой модели
сила адгезии Sa равняется произведению энергии W на функцию потери Ф, которая
характеризует рассеянную энергию при вязкоупругой или пластической деформации
материалов и зависит от степени излома
и температуры t:
, (1.8)
Значение Ф обычно гораздо больше, чем значение W, а рассеянную энергию можно
рассматривать как важный фактор в образовании сил адгезии.
Сила сопротивления срезу
измеренная на промежуточном участке
между волокном и матрицей из клея, находится в прямой зависимости от свободной
энергии адгезии W. Работа
сопротивления срезу G эквивалентна:
, (1.9)
где к — постоянная, равная 0,5 нм, что соответствует
среднему расстоянию между молекулами при протекании физических явлений;
Еm,
Ef— соответственно модули упругости
матрицы (адгезива) и волокна.
Влияние образованных промежуточных слоев, свойства
которых резко отличаются от свойств адгезива, на упрочнение клеевого соединения
подтверждено многочисленными экспериментами [4].
Теория диффузии основана на том, что возникновение
адгезии между полимерами происходит из-за взаимной диффузии макромолекул в
пограничные области. В результате образуется промежуточная фаза. Такой подход
предложен С.С.Воюцким на основе изучения подвижности цепей макромолекул
высокополимеров и их растворимости друг в друге. Теория диффузии предполагает
проникновение как молекул жидкого адгезива в субстрат, так и молекул субстрата
в адгезив в результате его набухания. Оба процесса приводят к исчезновению
границы между фазами и образованию зоны, в которой один высоко полимер
постепенно переходит в другой. В этом случае адгезия рассматривается не как
поверхностное, а как объемное явление.
Диффузия макромолекул полимеров через поверхность
раздела при ее большой протяженности возможна только при температуре выше
температуры их плавления. Для развития диффузии в области раздела полимеры
должны иметь термодинамическую совместимость. Кроме того, большинство полимеров
не предрасположено к образованию однородных смесей друг с другом, это
объясняется тем, что суммарная энтропия смеси двух полимеров значительно
меньше, чем исходных низкомолекулярных компонентов. Вместе с тем энтальпия
раствора выступает в качестве движущего фактора для его образования.
Следует отметить, что для клеевых соединений деталей
одежды смешиваемость невозможна из-за сохранения каждым текстильным материалом
своих собственных свойств. Сила адгезии будет зависеть, в частности, от
продолжительности контакта, температуры, свойств и молекулярной массы
полимеров. Такие зависимости установлены для многих пар полимеров и характерны
для процесса склеивания текстильных материалов.
Р.М. Васенин создал
количественную модель теории, в соответствии с которой количество
материала, диффундирующее в направлении
х через единицу площади поверхности, зависит от соотношения концентрации
и температуры t:
, (1.10)
где Df — коэффициент диффузии;
с — концентрация материала.
Для определения глубины проникновения диффундируемых
молекул в области контакта за время tc. P.M.Васенин предложил, что изменение
коэффициента диффузии
со временем определяется по формуле:
, (1.11)
где Dd — постоянная, характеризующая подвижность цепей макромолекул полимеров.
Глубину проникновения 1р, а также число
молекулярных цепей Nc,
пересекающих поверхность раздела, определяют по формулам:
; (1.12)
, (1.13)
где к,
— постоянные;
N — число Авогадро;
— плотность полимера;
М — молекулярная масса полимера.
Энергия адгезии G пропорциональна глубине проникновения и числу цепей,
пересекающих промежуточную поверхность между адгезивом и твердым телом. Из
предыдущих уравнений (1.11 — 1.13) получено выражение:
, (1.14)
где к — постоянная, зависящая от молекулярных
особенностей полимеров, соприкасающихся друг с другом.
Теория и результаты экспериментов полностью
соответствуют друг другу в случае соединения полимеров одного состава, но с
разными молекулярными массами.
Существенная критика предложенных моделей сводится к
невозможности определить количественно к и Dd.
Подтверждено, что коэффициент диффузии Df, характеризующий диффузию центра
массы, пропорционален М-2.
Данная теория подтверждает, что явление диффузии для
многих соединений полимеров существенно влияет на адгезию. Однако эта теория не
объясняет, почему склеиваются материалы, взаимно не диффундирующие. Последнее
обстоятельство не позволяет уверенно использовать ее для объяснения склеивания
текстильных материалов.
Теория химических связей. Совершенно очевидно, что
химические связи, которые возникают в местах соприкосновения адгезива с твердым
телом, могут повлиять на силу адгезии между двумя веществами. Эти связи имеют
более важное значение, чем, например, физические силы Ван-дер-Ваальса, которые
называют вторичным взаимодействием.
"Первичная" и "вторичная" связи
обязаны своим названием энергии каждого вида соединения. Энергия химических
связей составляет (кДж/моль):
Ионные0... 1050
Ковалентные... 710
Металлические 110...350
Образование химических связей зависит от реакционной
способности адгезива и твердого тела. Их инициирование возможно за счет
дополнительных связующих веществ, вводимых между адгезивом и твердым телом и
образующих химические связи с обоими веществами. Для текстильных материалов
такими дополнительными веществами могут служить отделочные препараты, наносимые
на них при заключительной отделке.
Установление химического взаимодействия или
возникновение физических сил в пограничной области клеевого соединения
различных материалов необходимо для описания этапа промежуточной диффузии и
дальнейшего увеличения сил адгезии, т.е. сил прилипания, или сцепления.
В целом использование этой теории всегда требует
экспериментального подтверждения возникновения химических связей. Очень трудно
доказать, что, например, увеличение прочности склеивания связано с протеканием
химических реакций.
Таким образом, следует констатировать, что адгезия —
это очень сложное явление, чтобы объяснить его какой-то единственной моделью
или теорией. Практически одновременно может действовать несколько механизмов
соединения. Вместе с тем выявление преобладающей тенденции при обязательном
признании присутствия других тенденций позволит: управлять процессом склеивания
текстильных полотен; проектировать термоклеевые текстильные прокладочные
материалы с заданной адгезионной способностью.
В теория склеивания текстильных материалов впервые
были рассмотрены особенности текстильных материалов и адгезивов, как
компонентов клеевого соединения, выбран универсальный показатель адгезионной
способности текстильных материалов, описаны механизмы формирования поверхности
адгезионного контакта и разрушения адгезионных соединений с учетом специфики
строения компонентов клеевого соединения и протекания процесса склеивания [4].
Текстильные материалы (пряжа, ткань, нетканые и
трикотажные полотна) - это сложные анизотропные материалы капиллярно-пористой
структуры с развитой внутренней и внешней поверхностями. По сравнению с
металлами, древесиной, полимерами и другими твердыми телами текстильные
материалы имеют неоднородный химический состав как на уровне первичных
элементов - волокон, так и на уровне комплексного продукта - нетканого или
трикотажного полотна.
Число нитей или волокон разной химической природы
варьируется в очень широких пределах. Например, в пряже, получаемой путем
скручивания волокон и нитей, всегда более легкие волокна вытесняются на
периферию, из-за чего существуют различия в химическом составе внутри материала
и на его поверхности. Это делает невозможным выделение и строгое количественное
описание тех компонентов, которые будут формировать внешнюю поверхность
текстильного материала.
Краситель и отделочный препарат (или препараты),
ассортимент которых включает в себя свыше 1000 наименований, в совокупности
могут составлять до 12 % поверхностной плотности текстильного материала. Будучи
нанесенными на его поверхность, они блокируют активные центры волокнообразующих
полимеров, а из-за своей инертности снижают и химическую активность
текстильного материала.
Содержащийся внутри текстильных материалов воздух
соотносится с объемом волокнистой массы как 1:5... 1:4. Поры внутри
текстильного материала значительно увеличивают гипотетическую площадь
адгезионного контакта между ним и адгезивом. Однако вследствие "захлопывания"
пор жидким адгезивом возможность проникновения его внутрь текстильного
материала может значительно уменьшаться.
Шероховатость поверхности текстильных материалов очень
значительна и затрудняет протекание реологических процессов при адгезионном
контакте, делает невозможным применение реологической теории склеивания.
Особенностью клеев, применяемых для склеивания
текстильных материалов, является их низкая адгезионная активность. Между
функциональными группами основных видов клеев — полиэтиленового (ПЭ),
полиамидного (ПА), акрилового (Пакр)- и функциональными группами
волокнообразующих полимеров (например, целлюлозы) возможно возникновение
различных межмолекулярных связей. Слабая энергия этих связей не позволяет
рассматривать их как движущий фактор при установлении межфазного взаимодействия.
Известно, что возникновение взаимодействия на границе "текстильный
материал — адгезив" возможно только при приложении к компонентам
сжимающего давления 30...50 кПа.
Таким образом, описание особенностей текстильных
материалов как субстратов адгезионного взаимодействия представляет собой
сложную проблему, решение которой должно быть найдено путем выявления присущих
всем без исключения текстильным материалам свойств.
Теория склеивания текстильных материалов разработана
на базе механической теории, а в качестве основополагающей адгезионной
характеристики текстильных материалов взята ворсистость.
Постулат разработанной теоретической концепции звучит
следующим образом: чем выше ворсистость текстильного материала, тем большая по
величине площадь адгезионного контакта будет сформирована на границе раздела
фаз, тем более благоприятные условия возникнут для получения прочного
адгезионного соединения.
Процесс разрушения адгезионного соединения при
прикладывании расслаивающей нагрузки представляет собой последовательное
деформирование клея и всех компонентов текстильного материала (пряжи, волокон)
вплоть до их смещения, деформирования (вытягивания) или разрушения. Внешняя
расслаивающая нагрузка может вызывать:
1
разрыв волокон,
ранее выступавших над поверхностью текстильного материала (рис. 1.2, а);
2
отслаивание клея
без разрушения элементов текстильного материала (рис. 1.2, б);
3
разрушение по
массе клея (рис. 1.2, в).
а — с разрывом волокон; б — без разрыва волокон; в — с разрушением по массе
клея
Рисунок 1.2 - Разрушение клеевых соединений
текстильных материалов
Экспериментальный анализ перечисленных видов
разрушения большого числа адгезионных соединений позволил установить основную
причину их расслаивания, заключающуюся в разрушении волокон (см. рис. 1.2, а) и
нитей, формирующих приповерхностный слой.
Вторым постулатом разработанной теории является
следующий: чем выше прочность волокон текстильного материала, тем прочнее будет
адгезионное соединение. Прочность адгезионного соединения текстильных
материалов будет зависеть от следующих количественно определяемых величин:
суммарной площади адгезионного контакта клея с текстильным материалом; усилия
разрушения ворсового покрытия на поверхности текстильного материала.
Таким образом, ворсистость текстильного материала и
показатели свойств составляющих его волокон — диаметр и разрывная нагрузка —
являются определяющими факторами при формировании адгезионного контакта и его
разрушении [4].
1.2 Анализ методик на определение
прочности клеевого соединения
Теоретические разработки в настоящее время не
позволяют надежно предсказать прочность и другие свойства клеевых соединений.
Но исследования все время ведутся по подобным испытаниям и большое значение
придается выбору метода.
Например, в Американской ассоциации по проведению
испытаний и изучению материалов (ASTM)
существует комитет D-14, который
занимается разработкой стандартов для проведения испытаний адгезионных
материалов. В большинстве стран Европы и Азии существуют национальные
организации с аналогичными целями, но многие из действующих в этих странах
стандартов, в том числе и в России, основаны на стандартах ASTM.
Классификация методов испытаний клеевых соединений
приведена на рисунке 1.2.
Информация, получаемая после испытаний, может быть
представлена:
-
количественными
показателями, т.е. числовыми значениями физических величин, например упругости,
прочности, адгезионной способности, изменения линейных размеров и т.п.;
-
качественными
оценками.
В соответствии с этим разделением контроль процесса
проектирования и получения клеевых соединений можно проводить как с помощью
приборов, так и без них. Например, отслоение термоклеевых прокладочных
материалов от основного материала, относящееся к дефектам внешнего вида,
обнаруживается визуально. Перед проведением количественных измерений
рекомендуют провести качественный эксперимент, необходимость которого
поясняется следующим очевидным рассуждением. Все пары из адгезивов и
текстильных материалов не являются идеально совместимыми. Адгезив, который
может прочно соединяться с одним материалом, может образовывать очень слабые
связи с другим. Между этими двумя состояниями существуют разные степени
адгезии, усиливаемые параметрами процесса склеивания, в частности температурой
[4].
Рисунок 1.2 - Классификация методов испытаний исходных
компонентов, клеевых соединений и контроля параметров процесса склеивания
На рисунке 1.3 показан внешний вид проб разных
текстильных материалов после расслаивания клеевых соединений в ходе
предварительных экспериментов.
В зависимости от места и времени проведения испытаний
они могут быть входными, технологическими и итоговыми. Из показателей входных
испытаний наиболее важным является адгезионная способность компонентов будущего
клеевого соединения.
После определения показателей свойств исходных
материалов проводят их сравнение с контрольными значениями, что, в свою
очередь, может вызвать проведение других дополнительных испытаний.
Например, если клеевой материал укорачивается после
нагревания, то готовое клеевое соединение обязательно проверяют на усадку. По
температуре плавления клея, который нанесен на термоклеевой прокладочный
материал, назначают температуру склеивания (температуру поверхности рабочих
органов оборудования).
а — клей остается на прокладочном материале; б — клей остается на основном
материале; в — клей остается на обоих материалах; 1 — основной материал; 2 — прокладочный
материал; 3 — клей
Рисунок 1.3 – Внешний вид текстильных материалов после расслаивания клеевых
соединений
Методы технологических испытаний процесса склеивания
аналогичны методам контроля параметров другого процесса — влажно-тепловой
обработки швейных изделий.
Итоговые методы испытаний клеевых соединений классифицируются по признаку
сохранения целостности клеевого соединения и могут быть неразрушающими и
разрушающими.
Неразрушающие методы испытаний реализуют как на пробах, так и, что особенно
важно, на готовых швейных изделиях, т.е. при контроле качества одежды.
Основными показателями, определяемыми при этих
методах, являются:
1
способность
клеевых соединений к растяжению;
2
изменение
линейных размеров;
3
жесткость;
4
упругость;
5
пространственная
формоустойчивость;
6
дефекты внешнего
вида.
К сожалению, объем информации, формируемый после
неразрушающих методов испытаний, не дает представления о прочности клеевых
соединений, которая оказывает решающее влияние на сроки и условия их
эксплуатации.
Разрушающие методы испытаний реализуют на пробах, что ограничивает область их
распространения только рамками лаборатории. Тем не менее разрушающие методы
испытаний исключительно информативны и важны. При разрушающих методах испытаний
определяют:
1
прочность клеевых
соединений при нормальных условиях влажности и температуры;
2
термомеханическую
зависимость прочности клеевого соединения от температуры;
3
прочность после
эксплуатационных воздействий (стирки, химические чистки).
Испытания на прочность делят на три группы:
-
испытания на
сдвиг;
-
разрыв;
-
расслаивание
(отслаивание).
Разнообразие тестов на прочность огромно с помощью,
которых определяют показатели адгезионной способности текстильных материалов и
клеев.
Адгезионная способность текстильных материалов — возможность взаимодействия их с клеем
и образование с ним при определенных условиях адгезионных связей,
обеспечивающих в Дальнейшем получение клеевых соединений при изготовлении
одежды.
Подобно тому как воздухопроницаемость текстильных
материалов определяют путем продувания через них воздуха, так и показатели
адгезионных свойств определяют в момент взаимодействия текстильных материалов с
клеем.
Показатели адгезионных свойств должны отвечать
следующим требованиям:
-
быть
восприимчивыми к изменениям в поверхностных слоях волокон или отделочных
препаратов, которые наблюдаются после внешнего воздействия на текстильные
материалы, например после заключительной отделки;
-
должны комплексно
характеризовать морфологию (рельеф и строение) опорной поверхности, а также
архитектонику приповерхностных слоев;
-
должны быть
основаны на одновременном испытании по меньшей мере двух объектов, один из
которых адгезив, а другой — текстильный материал;
-
внешние условия
(температура, усилие сжатия) должны соответствовать условиям склеивания деталей
одежды в швейном производстве.
Адгезионная способность текстильных материалов,
зависящая от их волокнистого состава, структуры, предшествующих заключительных
отделок, проявляется при формировании адгезионного контакта с расплавленными
клеями, т. е. влияет на прочность клеевых соединений. Поэтому адгезионная
способность, т.е. способность к соединению, с некоторыми допущениями может быть
оценена противоположным показателем — усилием, необходимым для нарушения
клеевого контакта в момент его образования, иначе говоря, разрушения
адгезионных связей [4].
Для определения адгезионной способности основной ткани
и клеевого материала необходимо их совместить и приложить нормальную сжимающую
нагрузку для сближения контактирующих поверхностей на расстояние не менее 0,5
нм. Затем, нагрев зоны контакта до температуры перехода клея в вязкотекучее
состояние, необходимо приложить нагрузку, разъединяющую склеенные поверхности.
Числовое значение нагрузки может служить показателем адгезионных способностей
контактирующих материалов.
Для определения адгезионной способности текстильных
материалов и клеев используют разные приборы.
Методы оценки адгезионной способности текстильных
материалов приведены на рисунке 1.4.
Методика и приборы, используемые для равномерного
расслаивания. Для
определения показателей прочностных свойств клеевых соединений проводят, как
было отмечено выше, испытания на разрыв, сдвиг, расслаивание.
Наиболее распространенным видом испытаний клеевых
соединений текстильных материалов является равномерное расслаивание.
Равномерное расслаивание предполагает симметричное
приложение усилий в концах обоих субстратов, отсутствие изгибающего момента и
постоянную скорость приложения усилий.
Методика испытания заключается в определении нагрузки
при постоянном угле между вектором нагрузки и клеевым швом (соединением), который
должен равняться 90°. О прочности склеивания при расслаивании судят по удельной
нагрузке, которая представляет собой отношение усилия Рk к ширине пробы l (как правило, 1 см). При расслаивании клеевого соединения сначала растягиваются и рвутся самые короткие и наименее
прочные адгезионные связи, затем — длинные и прочные. Из-за беспорядочного
поверхностного рельефа поверхности текстильных материалов при сильной нагрузке
клеевого соединения в некоторых точках возникают деформации напряжений,
приводящие к разбросу экспериментальных данных.
При регулярной структуре микрорельефа поверхностей
ткани разброс данных уменьшается. Ориентация макромолекулярных цепей
полимерного клея в одном направлении также повышает прочность клеевого соединения
и снижает разброс экспериментальных данных.
При расслаивании клеевых соединений часть усилий
затрачивается не на преодоление адгезионного взаимодействия, а на деформацию
текстильных материалов (распрямление, растяжение, выдергивание волокон, нитей и
пряжи).
Рисунок 1.4 - Методы оценки адгезионной способности текстильных
материалов
В общем виде сопротивление А расслаиванию следует
рассматривать как результирующую двух слагаемых:
А = Аад + Адеф, (1.15)
где Аад — работа расслаивания на
преодоление адгезионных сил (химических, Ван-дер-Ваальса и др.),Н • м;
Адеф — работа деформирования компонентов
клеевого соединения (клея, основной ткани, прокладочного материала), Н-м; (Адеф
= 55.„65% А).
Усилие расслаивания зависит от скорости приложения нагрузок: с
увеличением скорости оно возрастает из-за увеличения Адеф. Величина Aдеф зависит от вида материалов, составляющих клеевое соединение:
для трикотажных полотен, обладающих высокой растяжимостью, Адеф
гораздо больше, чем для тканей.
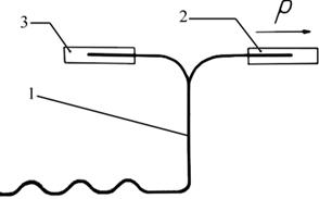
Схема приложения нагрузки к концам испытываемой пробы
показана на рисунке 1.5.
1,3— текстильные
материалы; 2 — адгезив (Р — усилие; l — длина зоны адгезионного контакта)
Рисунок 1.5 - Схема равномерного расслаивания и получаемая адгезиограмма
Из-за растяжения текстильных материалов вдоль одной системы нитей при расслаивании происходит их сжатие вдоль другой системы нитей. Это приводит к уменьшению длины зоны адгезионного контакта, что также вносит систематическую погрешность в результаты испытаний.
Указанные особенности позволяют с известной долей осторожности соотносить получаемые значения усилий
с истинной прочностью клеевых
соединений, особенно состоящих из растяжимых материалов.
Деформация текстильных материалов при расслаивании клеевых соединений является иногда
причиной несоответствия экспериментальных значений и теоретической прочности клеевых
соединений, рассчитанных по энергии
химических связей.
Однако ввиду относительной простоты испытаний, несложной формы проб метод равномерного расслаивания получил
преимущественное распространение в швейной
промышленности.
Другим его достоинством является хорошая
воспроизводимость результатов (коэффициент вариации обычно составляет 2 – 5 % для пяти параллельных испытаний).
Метод определения прочности склеивания растяжимых
материалов. При
расслаивании клеевого соединения по схеме, показанной на рисунке 1.5, усилие Р расходуется
частично и на деформацию растяжения текстильных материалов. Растяжение
материалов вдоль линии действия нагрузки, приложенной, как правило, к нитям
основы, вызывает удлинение последних и приводит к сокращению поперечных
размеров другой системы нитей — уточных. Это проявляется, как было отмечено
выше, в деформации зоны разрушения: ее искривлении и сокращении по длине. В
этом случае происходит не одновременное, а последовательное разрушение мест
клеевого контакта: вначале слабых, затем наиболее сильных, затем слабых и т.д.
Такой характер разрушения обнаруживается по показаниям силоизмерителя и
является причиной достаточно большого разброса результатов измерений, что
снижает их статистическую достоверность.
Расслаивание клеевого соединения можно проводить жестким
(недеформирующимся) элементом, перемещаемым между текстильными материалами
(рисунок 1.6).
Перед испытанием несклеенные концы пробы зажимают
неподвижно. Между ними размещают жесткий элемент таким образом, чтобы он
располагался перпендикулярно длине клеевого соединения и направлению приложения
силы Р. При своем перемещении силовой элемент одновременно разрушает все
адгезионные связи по ширине расслаиваемой пробы.
1,2— несклеенные
концы пробы; 3 — жесткий элемент {Р — усилие; l — длина
Рисунок 1.6 - Схема расслаивания клеевых соединений жестким элементом
Пробу расслаивают с одного конца. Клеевое соединение
закрепляют расслоенными концами в зажиме. К противоположному концу пробы
прикрепляют дополнительный груз массой Р1; усилие, создаваемое Р1
меньше разрывной нагрузки клеевого соединения. Разрывная нагрузка клеевого
соединения равна усилию, необходимому для одновременного разрушения обоих
материалов [4].
Между несклеенными концами текстильных материалов
помещают жесткий элемент (например, из стали) шириной h. Ширину
жесткого элемента выбирают из условия h > l, где l — ширина зоны адгезионного контакта.
К жесткому элементу через тяги прикладывают силу Р, достаточную
для перемещения элемента 3 между материалами и разрушения адгезионных связей
между ними и клеем.
Силу Р периодически замеряют, например через каждый 1 см перемещения жесткого элемента вдоль клеевого соединения.
Сравнение двух методов испытания — традиционного
расслаивания и расслаивания жестким элементом — проведено в таблице 1.
Таблица 1.1 – Результаты определения прочности клеевых
соединений разными методами
|
Метод испытания
|
Клеевое соединение из пальтовой
ткани и ТПМ арт. 86040
|
Клеевое соединение из пальтовой
ткани и ТПМ арт. 276-1
|
|
Прочность, даН на 5 см
|
Коэффициент вариации, %
|
Прочность, даН на 5 см
|
Коэффициент вариации, %
|
|
Традиционный
|
4,8
|
0,2
|
2,08
|
0,2
|
|
Расслаивание жестким элементом
|
14,33
|
0,1
|
6,03
|
0,1
|
Из таблицы 1.1 видно, что относительная ошибка при
испытании жестким элементом уменьшается в 2 раза. Благодаря одновременности
разрушения всех адгезионных связей жестким элементом фиксируется большее
значение прочности, чем при традиционном расслаивании.
Предлагаемый способ отличают простота, наглядность,
широкие возможности в получении точных результатов. Использование данного
способа обеспечивает по сравнению с традиционным следующие преимущества:
-
отсутствие
ограничений по видам клеевых соединений;
-
учет специфики
свойств текстильных материалов.
Метод расслаивания клеевых соединений, состоящих из
ткани и нетканого объемного материала. Перечисленные выше методы испытаний непригодны для испытания
клеевых соединений, одним из компонентов которых является легко растяжимый
объемный нетканый материал типа синтепона.
При изготовлении утепленной одежды объемные нетканые
материалы типа синтепона склеивают с тканями. Эти материалы имеют разные
значения разрывных нагрузок. Поэтому определение прочности таких клеевых
соединений методом равномерного расслаивания невозможно, поскольку часто при
испытаниях объемный нетканый материал разрушается, если его разрывная нагрузка
ниже нагрузок, необходимых для расслаивания клеевых соединений.
Для большинства таких клеевых соединений, состоящих из
ткани, клея и нетканого материала, характерно соотношение
Q1<P<Q2, (1.16)
где Q1, Q2 — разрывные
нагрузки при растяжении соответственно ОМ и объемного нетканого материала;
Р— усилие
расслаивания клеевого соединения.
Клеевые соединения, состоящие из ткани, клея и
объемного нетканого утепляющего материала, могут быть испытаны методом сдвига менее
прочного материала относительно более прочного. По значению усилия,
необходимого для сдвига нетканого материала по поверхности ткани, судят о
прочности склеивания материалов в клеевом соединении (рисунок 1.7).
1 — ткань; 2 — иглы
для сдвига; 3 — нетканый материал (Р — усилие; / — длина клеевого соединения)
Рисунок 1.7 - Схема определения прочности сцепления ткани и объемного
нетканого материала в клеевом соединении
На рисунке 1.8 показана последовательность реализации
метода с помощью специального приспособления, содержащего иглы для сдвига.
Метод применим для клеевых соединений, одним из компонентов которых являются
синтепоны, ватины разного способа получения толщиной более 5 см. Если толщина нетканого объемного материала невелика, например, как у флизелина, то данным
методом разрушить клеевое соединение невозможно.
1 — ткань; 2 — нетканый материал; 3 — иглы; 4 — клеевые точки
Рисунок 1.8 - Положение склеенных между собой ткани и нетканого объемного
материала перед испытаниями (а), после введения игл в объемный утепляющий материал (6) и во время испытаний (в)
При проведения испытаний основную ткань склеивают с
нетканым материалом, например ватином, с помощью клея. Клей может быть
предварительно нанесен на один из материалов в виде точек. Прочность к растяжению нетканого материала определяют одним
из известных способов, например на разрывной машине. Закрепляют один из концов
пробы в тисках разрывной машины.. В противоположных тисках закрепляют элемент,
несущий ряд параллельных игл. Иглы вводят через нетканый материал внутрь
клеевого соединения на всю толщину нетканого материала по всей ширине пробы. К
элементу, несущему иглы, прикладывают нагрузку. Иглы, расположенные с такой же
частотой, что и частота точек клея, начинают перемещаться вдоль клеевого
соединения, "соскабливая" нетканый материал с поверхности основной
ткани. Развиваемое усилие фиксируют по шкале разрывной машины. Значения усилия записывают через каждый 1 см перемещения игл, а затем находят среднее арифметическое. Прочность склеивания рассчитывают по
формуле:
P=Pсд/n, (1.17)
где Р — прочность склеивания;
Рсд — сопротивление сдвигу менее прочного к растяжению слоя;
n — количество
клеевых точек по ширине пробы.
В ходе дипломной работы производится поиск
существующих методик на исследование прочности клеевых соединение и
производится анализ их.
Так в соответствии с ГОСТ 26589-94
Мастики кровельные и гидроизоляционные. Методы испытаний [5], устанавливаются
методы испытаний следующих показателей:
1
внешнего
вида;
2
условной
прочности, условного напряжения и относительного удлинения;
3
прочности
сцепления с основанием;
4
прочности
сцепления промежуточных слоев;
5
прочности
на сдвиг клеевого соединения;
6
паропроницаемости;
7
водостойкости;
8
водопоглощения;
9
водонепроницаемости;
10 условного
времени вулканизации;
11 гибкости;
12 теплостойкости;
13 температуры
размягчения.
Применение методов и периодичность
проведения испытаний устанавливаются в технических нормативных правовых актах
(далее - ТНПА) на мастики конкретного вида.
Отбор проб, приготовление
объединенной пробы, подготовка к испытанию и изготовление образцов мастики или
пленки для испытаний должны проводиться в соответствии с ТНПА на мастики
конкретного вида (примеры изготовления пленок из мастик различных видов
приведены в приложениях А - Г). Подготовку мастики и образцов к испытанию и
проведение испытаний, если в ТНПА на мастики конкретного вида нет других
указаний, проводят при температуре (293±5)K [(20 ± 5) °С]. Время выдержки
мастики или образцов перед испытанием должно быть указано в ТНПА на мастики
конкретного вида. Количество образцов для каждого вида испытаний должно быть
указано в ТНПА на мастики конкретного вида, но не менее трех.
Внешний вид мастики проверяют
визуальным подсчетом посторонних включений на поверхности мастики, нанесенной
на подложку (картон, сталь, стекло), наносят на подложку окунанием в горячую
мастику или наливом холодной мастики на подложку.
Мастика считается выдержавшей
испытание, если при осмотре невооруженным глазом количество включений не
превышает указанных в ТНПА на конкретный вид мастики.
Для испытаний используется
разрывная машина, обеспечивающая: предел допускаемой погрешности измерения
нагрузки (усилий) не должен превышать ± 1%, начиная с 0,2 от наибольшего
предельного значения каждого диапазона шкалы измерения; измерение расстояния
между захватами при растяжении образца устройством с ценой деления шкалы не
более 1 мм или градуированным в процентах относительного удлинения; скорость
перемещения подвижного захвата (500 ± 50) мм/мин. Подложка в виде призмы с
основанием шириной (50±2)мм, длиной не менее 30 мм и высотой, обеспечивающей формоустойчивость в процессе испытания образца. Отрывной элемент из
стали марки Ст3. Клей, обеспечивающий прочность сцепления мастичного покрытия с
отрывным элементом большую, чем прочность сцепления мастичного покрытия с
подложкой.
Испытание проводят на
образцах-лопатках типа 1 или 2, вырубленных из пленки, изготовленной штанцевым
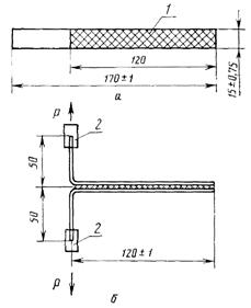
ножом. Типы и размеры образцов-лопаток должны соответствовать указанным на
рисунке 1.9 (а и б). Тип образца-лопатки выбирают в зависимости от вида мастики
и указывают в ТНПА на мастику этого вида.
Рисунок 1.9 – Типы и размеры
лопатки
Для обеспечения одинакового
крепления образцов в захватах разрывной машины наносят установочные метки,
расстояние между которыми (50±1) мм для образцов типа 1 и (35±1) мм для
образцов типа 2. За длину рабочего участка принимают расстояние между
установочными метками [5].
Толщину образца-лопатки измеряют в
трех точках на рабочем участке. За результат измерения принимают наименьшее
значение.
Образец помещают в захваты
разрывной машины по установочным меткам, совместив продольные оси захватов и
образца, устанавливают заданную скорость перемещения подвижного захвата,
приводят в действие механизм и фиксируют силу и расстояние между метками в
момент разрыва или максимального значения силы.
Затем производится обработка
результатов испытания. Вычисляют условную прочность
в МПа (кгс/см2):
, (1.18)
где Pp
–
разрывная сила, H (кгс);
b
– ширина образца-лопатки, м (см);
h0
– толщина образца-лопатки, м (см)
И вычисляется условное напряжение
образца-лопатки
по формуле:
, (1.19)
где
- максимальная сила при
испытании на растяжение, Н (кгс)
Определение прочности сцепления с
основанием осуществляют двумя методами А и Б. Для метода А необходимы следующие
средства испытания и вспомогательные устройства: машина разрывная для
испытаний; электрический сушильный, обеспечивающий поддержание температуры до
473 К (200°С); весы лабораторные с допускаемой погрешностью не более 0,05 г; приспособления для закрепления образцов в соответствии с рисунком 1.10 (а); подложка в виде призмы
с основанием шириной (50±2) мм, длиной не менее 30 мм и высотой, обеспечивающей формоустойчивость в процессе испытания образца; отрывной элемент из
стали марки Ст3 по ГОСТ 380 в соответствии с рисунком 1.10 (б); нож; уровень;
клей, обеспечивающий прочность сцепления мастичного покрытия с отрывным
элементом большую, чем прочность сцепления мастичного покрытия с подложкой.
Подготовка к проведению испытания.
Заготавливается образец из подложки, мастичного покрытия и приклеенных к нему
отрывных элементов. Подготавливается мастика к испытанию, в соответствии с ТНПА
на мастику конкретного вида. Подложку с мастикой устанавливают горизонтально по
уровню и на нее наклеивают отрывные элементы в соответствии с рисунком 1.10, б.
Мастичное покрытие прорезают по окружности отрывного элемента при помощи ножа
на всю толщину до подложки. Проведения испытания начинается с установки образца
в приспособление (рисунок 1.10, а). В момент разрыва фиксируют максимальное
усилие и характер разрушения образца.
Рисунок 1.10 - Приспособления для
закрепления образцов (а); отрывной элемент из стали(б)
Высчитывают прочность сцепления с
основанием Rсц
в МПа (кгс/см2) по формуле:

, (1.20)
где Р – максимальное усилие
разрыва, Н (кгс);
S
– площадь склеивания до 0,01 МПа (0,1 кгс/см2).
В расчет принимают результаты
испытаний образцов, разрушение которых произошло по материалу покрытия или по
месту контакта покрытия и подложки. Метод
Б. Средства испытания и вспомогательные устройства тоже самое что и в методе А.
Порядок
подготовки к проведению испытания: образец для испытания состоит из двух плиток
с нанесенным на них мастичным слоем, склеенных крестообразно. Площадь
склеивания [(30х30) ± 2] мм. Дальше по аналоги с методом А [5].
ГОСТ
15140-78 Материалы лакокрасочные. Методы определения адгезии [6]. Стандарт
распространяется на лакокрасочные материалы и устанавливает методы определения
адгезии лакокрасочных покрытий к металлическим поверхностям, среди которых –
метод отслаивания. Сущность метода заключается в определении адгезии
отслаиванием гибкой пластинки от армированного стеклотканью покрытия и
измерении необходимого для этого усилия. Испытания проводятся на машине разрывной
с максимальной нагрузкой не менее 30 Н (3 кгс), с погрешностью измерения
нагрузки не более 1 %, снабженной приспособлением для сохранения постоянного
угла расслаивания, прикрепляется к нижнему зажиму разрывной машины (рисунок
1.11).
Рисунок 1.11 - Приспособление для сохранения постоянного угла
расслаивания
Фольгу натягивают на стеклянную пластинку, выравнивают и обезжиривают
ватным тампоном, смоченным в ацетоне.
Алюминиевую фольгу применяют для лакокрасочных материалов, отверждаемых
при температуре не выше 300 °С, а медную фольгу для материалов, отверждаемых
при температуре не выше 180 °С.
Лакокрасочный материал наносят тонким слоем на фольгу любым методом и
сушат. После этого наносят второй слой, на который сразу накладывают
стеклоткань, обезжиренную ацетоном и высушенную, плотно прижимают ее к фольге.
Затем лакокрасочный материал кистью наносят на стеклоткань, полностью смачивая
ее, удаляя все неровности и пузыри. Образец высушивают.
Толщина покрытия со стеклотканью после сушки должна быть не ниже 70 мкм.
Высушенный образец снимают со стеклянной пластины и разрезают вдоль на 8 - 10
полосок размером 10´60 мм каждая. Крайние полоски отбрасывают, а на остальных вручную
отслаивают фольгу от покрытия со стеклотканью на длину, несколько превышающую
половину общей длины полоски (примерно 35 мм), и отгибают фольгу на 180 °С.
Допускается определять адгезию покрытия без армирования стеклотканью при
большой толщине и низкой эластичности покрытий.
Перед определением адгезии образцы холодной сушки выдерживают при (20±2) °С
и относительной влажности воздуха (65±5) % в течение 48 ч, а образцы горячей
сушки не менее 3 ч.
Перед определением адгезии замеряют толщину покрытия не менее чем на трех
участках поверхности испытуемого образца, при этом расхождение в толщине
покрытия не должно превышать 10 %.
Испытание проводят при температуре (20±2) °С и относительной влажности
воздуха (65±5) %. Полоску закрепляют на разрывной машине так, чтобы отогнутый
край фольги был зажат в неподвижном зажиме, а покрытие со стеклотканью в
подвижном зажиме. Образец расслаивают при скорости движения подвижного зажима
0,0010 - 0,0012 м/с (65 - 70 мм/мин) и угле расслаивания 180 °С. Адгезию в Н/м (гс/см) вычисляют как среднее арифметическое из
восьми, десяти определений, допускаемые расхождения между которыми не должны
превышать 10 % [6]. ГОСТ 6768-75 Резина и прорезиненная
ткань. Метод определения прочности связи между слоями при расслоении [7]. Hаспространяется на резину,
прорезиненную ткань и устанавливает метод определения прочности связи между
слоями резина—резина, резина—ткань, резина— прорезиненная ткань и прорезиненная
ткань — прорезиненная ткань при расслоении. Сущность метода заключается в
расслоении образца и определении силы, необходимой для отделения двух
испытуемых слоев друг от друга. Машина для
испытания должна обеспечивать: надежное закрепление образцов в зажимах без
перекоса; перемещение подвижного зажима со скоростью (100±10) мм/мин;
погрешность измерения силы при прямом ходе (нагружении) ±1% от измеряемой силы,
начиная с 0,2 от наибольшего предельного значения каждого диапазона измерения. Образцы для испытания имеют форму прямоугольного
параллелепипеда шириной (25±1,0) мм, толщину не более 12 мм и длину, обеспечивающую расслоение на участке не менее 100 мм. Для образцов из готовых изделий допускается длина, обеспечивающая расслоение на участке не менее 60 мм. Образцы заготавливают не ранее чем через 16 часов после вулканизации. Время между
вулканизацией и испытанием не должно превышать 30 суток. Заготовленные образцы
выдерживаются не менее 24 часов при (23±2) оС и относительной
влажности 50-70 %. Для готовых изделий время выдержки не должно превышать 2
часов. В зажимах машины закрепляют слои
образца, между которыми определяют прочность связи. Включают машину и проводят
расслоение на участке не менее 100 мм, а для образцов из готовых изделий на
участке не менее 60 мм [7]. Прочность связи
между слоями при расстоянии (σр) в ньютонах на сантиметр
вычисляют по формуле:
, (1.21)
где Рср— средняя сила расслоения, Н;
b –
ширина образца, см.
ГОСТ 7933-89 Картон для потребительской тары. Общие технические условия
[8]. Стандарт распространяется на картон для изготовления потребительской тары
и устанавливает требования к картону, предназначенному для нужд народного
хозяйства и экспорта. В стандарте прописан ряд испытаний для картона, в т.ч.
определение энергии связей между слоями. Сущность
метода заключается в измерении работы, необходимой для расслаивания образца
площадью 6,45 см2 при динамическом воздействии на образец. В качестве средства испытания используется прибор для
измерения работы по расслаиванию образца "Bond Scott Testers" (рисунок
1.12) с диапазонами: от 0 до 0,339 Дж (от 0 до 0,25 фут-фунт-сила) и от 0,135
до 0,678 Дж (от 0,1 до 0,5 фут-фунт-сила), включающий маятник с ударным
устройством, позволяющим измерять работу расслаивания, и устройство для
подготовки образцов к испытаниям. Двухсторонняя липкая лента "Scotch Brand
400" шириной не менее 25,4 мм или другая липкая лента, обеспечивающая
аналогичные условия испытания.
Рисунок 1.12 - Прибор для измерения работы по расслаиванию "Bond
Scott Testers"
Из листов пробы произвольно отбирают лист для испытания и из него
вырезают в машинном и поперечном направлениях по одной полоске размером (155,0
+- 5,0) х (25,4 +- 0,5) мм.
Рулон двухсторонней липкой ленты укрепляют в устройстве для ее подачи.
Помещают пять опорных пластин и углубления на штыри устройства для подготовки
образцов.
Отматывают кусок липкой ленты длиной не менее 60 см, освобождают вручную от защитного бумажного слоя, помещают на опорные пластины направляющими
штырями так, чтобы лента по ширине не выходила за края пластины. Образец
картона кладут на липкую ленту так, чтобы края ленты и картона совместились по
ширине, а по длине он должен выступать с обеих сторон за края пластин.
Оставшимся свободным концом ленты покрывают верхнюю сторону образца. Поверх
образца, покрытого липкой лентой, на установочные штифты помещают опору с пятью
алюминиевыми уголками. Нажатием рычага в течение 1 мин создают давление,
необходимое для склеивания многослойной полоски: опорная пластина - липкая
лента - картон - липкая лента - алюминиевый уголок. Путем возврата рычага
сбрасывают давление, освобождают и удаляют опору, оставив алюминиевые уголки
прилипшими к многослойному образцу.
Многослойную полоску с пятью уголками разрезают на пять образцов.
Каждый из пяти подготовленных образцов поочередно помещают на
испытательный стол и закрепляют гайкой. Отклоняют маятник на 90° вправо до
защелки и указательную стрелку отсчетного устройства до соприкосновения со
штырем на маятнике. Проводят испытания, приводя маятник в движение нажатием на
защелку. При возвратном движении маятника останавливают его рукой во избежание
вторичного соприкосновения с уголком. Отсчет результата измерения работы
расслаивания производят с точностью до 0,001 фут-фунт-силы по шкале. Место
разрыва образца исследуют визуально, при этом картон должен расслаиваться. При
обнаружении отслаивания от пластины или алюминиевого уголка аннулируют
полученные результаты и увеличивают силу прижима при изготовлении многослойных
образцов путем установления прокладок, создающих большее давление. Подбор
давления производится от получения пяти значений работы расслаивания в каждом направлении
[8].
Подсчитывают значение работы, затраченной на расслаивание образца, как
среднее арифметическое результатов десяти определений (пять в машинном и пять в
поперечном направлениях).
Вычисляют энергию связей (Р) и Дж/м2 по формуле:
, (1.22)
где Р" - среднее арифметическое результатов десяти определений,
фут-фунт-сила;
13560 - коэффициент перевода несистемных единиц и единицы СИ;
6,45 - площадь образца, см2.
ГОСТ 28966.1-91 Клеи полимерные. Метод определения прочности при
расслаивании [9]. Стандарт распространяется на полимерные клеи и устанавливает
метод определения прочности при расслаивании клеевых соединений гибких
пленочных материалов. Метод заключается в определении нагрузки, разрушающей
клеевое соединение, путем измерения усилий, вызывающих расслаивание склеенных
между собой в любой комбинации пленочных материалов и приведенных к линейным
размерам клеевого шва.
При расслаивании усилие действует перпендикулярно к продольной оси
плоскости клеевого шва.
Образец, предназначенный для испытания, представляет собой две склеенные
между собой мягкие подложки: гибкие пленочные материалы с модулем упругости от
10-2 до 102 МПа и толщиной от 10 до 1000 мкм.
Общий вид и размеры подложек и образца для испытания представлены на
рисунке 1.13.
а - подложка; б - образец для испытания; 1 - площадь склеивания; 2 -
захват
На подготовленные поверхности подложки наносят полимерный клей. Для
формирования клеевого шва, обеспечения его равномерности по толщине и по всей
длине склеиваемой поверхности, а также устранения непроклеев склеенный образец
пропускают через прорезь специального приспособления. В зависимости от толщины
склеиваемых материалов и клеевого шва в приспособлении изменяется расстояние
между подпружиненными валиками таким образом, чтобы в результате прохода
образца через зону формирования в клеевом шве не создавалось дополнительное
напряжение вследствие взаимного сдвига склеиваемых подложек. Допускаемое
давление при формировании клеевого шва составляет от 0,7 до 1,0 МПа или указано
в нормативно-технической документации на полимерный клей.
Склеенный образец после формирования клеевого шва выдерживают при
температуре (23 ± 2) °С в течение 24 ч или в условиях, указанных в
нормативно-технической документации на полимерный клей.
Перед испытанием измеряют толщину склеиваемых материалов, длину и ширину
клеевого шва. При этом измеряют ширину участков не менее чем в пяти точках,
равноудаленных друг от друга по длине нахлеста клеевого шва.
При испытании подложек из разнородных материалов подложку с большим
модулем упругости зажимают в неподвижном захвате разрывной машины, а подложку с
меньшим модулем упругости - в подвижном захвате.
Включают разрывную машину и проводят расслаивание до полного отделения
подложек [9].
Образцы, разрушившиеся в ходе испытаний и после них, подлежат визуальному
осмотру для определения вида разрушения (адгезионное, когезионное, смешанное).
Виды разрушения образцов приведены в таблице 1.2.
|
Вид разрушения образца
|
Наименование вида разрушения
|
Обозначение вида разрушения
|
|
|
Разрыв подложки
|
ПР
|
|
|
Когезионное разрушение по материалу
|
КМР
|
|
|
Когезионное разрушение по клею
|
ККР
|
|
|
Адгезионное разрушение
|
АР
|
Если в процессе испытания происходит разрыв подложки, то в протокол
записывают разрушающее усилие, при котором произошел разрыв. Прочность клеевого
соединения при расслаивании (Прас) в ньютонах на метр вычисляют по
формуле
, (1.23)
где Р - разрушающее усилие, Н;
b - ширина клеевого шва, м.
При этом:
, (1.24)
где Р - среднее арифметическое не менее 50 % наименьших значений
максимумов, но не менее 5. Первое максимальное усилие не учитывают;
Рi -
разрушающее усилие, Н;
i -
число разрушающих усилий;
п - число
наименьших значений максимумов;
, (1.25)
где b - среднее арифметическое результатов пяти измерений ширины участка
клеевого шва по длине нахлеста;
bi -
ширина клеевого шва одного образца, м.
За результат испытания принимают среднее арифметическое результатов не
менее трех параллельных определений, допускаемое расхождение между которыми
устанавливается в нормативно-технической документации на полимерный клей и не
должно превышать 10 % [9].
ГОСТ 28966.2-91 Клеи полимерные. Метод определения прочности при
отслаивании [10]. Стандарт распространяется на полимерные клеи и устанавливает
метод определения прочности при отслаивании клеевых соединений гибких пленочных
материалов от жестких листовых и плоских материалов.
Метод заключается в определении нагрузки, разрушающей клеевое соединение,
путем измерения усилий, вызывающих отслаивание гибкого пленочного материала от
жесткого и приведенных к линейным размерам клеевого шва. Отслаивание проводят
под углом 90 или 180° или под заданным углом от 90 до 150°.
Образец, предназначенный для испытания, представляет собой склеенные
мягкую и жесткую подложки. Мягкая подложка - гибкие пленочные материалы с
модулем упругости от 10-2 до 102 МПа и толщиной от 10 до
1000 мкм. Жесткая подложка - жесткие листовые и плоские металлические и
неметаллические материалы толщиной от 1,5 до 10,0 мм.
Предпочтительная толщина жесткой подложки из стали, алюминия, латуни,
меди, титана, молибдена и других металлов - 1,5 - 3,0 мм, из дерева, пластмассы - 1,5 - 10 мм, керамики, графита, фанеры - 3 - 10 мм, картона - 1,5 - 3,0 мм. В качестве жесткой подложки используют также бетонные плиты толщиной 8
- 10 мм. Образец, предназначенный для испытания, представляет собой склеенные
мягкую и жесткую подложки (рисунок 1.14).
Испытания проводят на машине разрывной, снабженной прибором самопишущим
для записи результатов испытания в координатах "усилие - перемещение
подвижного захвата" или "усилие - время". При необходимости
используют приспособление для испытания под различными углами от 90 до 150°,
один из вариантов которого приведен на рисунке 1.15.
Перед испытанием измеряют толщину склеиваемых материалов, длину и ширину
клеевого шва. Испытанию подвергают не менее трех образцов [10].
Испытание на отслаивание проводят при скорости передвижения подвижного
захвата 100 мм/мин. При разрыве одной из подложек образца испытание проводят
при выборочной скорости 30 - 100 мм/мин.
Жесткую подложку образца закрепляют в неподвижном захвате разрывной
машины, мягкую подложку - в подвижном. При испытании под углом 180° образец
закрепляют непосредственно в захватах разрывной машины. При испытании под углом
90° и под заданным углом от 90 до 150° образец закрепляют через приспособление,
которое крепят в неподвижном захвате машины.
а - жесткая
подложка; б - мягкая подложка; в - образец для испытания под углом 180°; г -
образец для испытания под углом от 90 до 150°
Рисунок 1.14 - Форма и размеры образцов для испытаний
1 - основание; 2 -
направляющая; 3 - салазки; 4 - фиксатор; 5 - угломер; 6, 7 - прижимные гайки;
планки и винты; 8 - образец; 9 - линейка; 10 - стрелка; 11 - переход; 12 - затяжные
гайки
Включают разрывную машину и проводят испытание до полного отслоения
мягкой подложки от жесткой. Результаты испытаний рассчитывают по диаграмме
самопишущего прибора "усилие - перемещение подвижного захвата" или "усилие
- время" в соответствии с приложением.
Прочность клеевого соединения при расслаивании (Прас) в
ньютонах на метр вычисляют по формуле
, (1.23)
где Р - разрушающее усилие, Н;
b - ширина клеевого шва, м.
При этом:
, (1.24)
где Р - среднее арифметическое не менее 50 % наименьших значений
максимумов, но не менее 5. Первое максимальное усилие не учитывают;
Рi -
разрушающее усилие, Н;
i -
число разрушающих усилий;
п - число
наименьших значений максимумов;
, (1.25)
где b - среднее арифметическое результатов пяти измерений ширины участка
клеевого шва по длине нахлеста;
bi -
ширина клеевого шва одного образца, м.
За результат испытания принимают среднее арифметическое результатов не
менее трех параллельных определений, допускаемое расхождение между которыми
устанавливается в нормативно-технической документации на полимерный клей и не
должно превышать 10 % [10].
ГОСТ 14760-69 Клеи. Метод определения прочности при
отрыве [11]. Стандарт распространяется на клеи и устанавливает метод
определения статической прочности при равномерном отрыве клеевых соединений при
нормальной, пониженной и повышенной температурах (от минус 196 до плюс 1200
°С). Сущность метода заключается в
определении величины разрушающей силы при растяжении стандартного образца
клеевого соединения встык, усилиями, направленными перпендикулярно плоскости
склеивания. Предел прочности при отрыве
определяют на испытательной машине, позволяющей производить испытание на
растяжение и измерять величину нагрузки с погрешностью не более 1 % от измеряемой
величины.
Испытания образцов производят в специальном
приспособлении, установленном в губках испытательной машины. Схема
приспособления приведена на рисунке 1.16.
1 - образец; 2 - захват; 3 - тяга; 4 - шарнирная подвеска
Рисунок 1.16 - Схема приспособления для испытаний на
прочность при отрыве клеевых соединений
Приспособление должно обеспечить центрирование
образцов таким образом, чтобы линия действия растягивающих усилий совпадала с
его продольной осью. Испытания при пониженной и повышенной температурах
проводят на машинах, на которых проводят испытания при нормальной температуре,
дополнительно оборудованных съемными охладительными или нагревательными
камерами для нагрева или охлаждения испытуемых образцов, или на машинах,
специально предназначенных для этих целей.
Форма и размеры образца приведены на рисунке 1.17. Для
испытания необходимо брать не менее пяти образцов.
Рисунок 1.17. Форма и размеры образцов.
Подготовленный для испытания образец устанавливают в
укрепленное на машине приспособление. Испытание проводят постепенным
нарастанием нагрузки до разрушения образца. Скорость движения зажима машины
должна быть 10 мм/мин. Допускается проведение испытаний при скорости движения
нагружающего зажима до 20 мм/мин [11].
Фиксируют наибольшую нагрузку, достигнутую при
испытании.
Предел прочности клеевого соединения при отрыве (sотр) в Па вычисляют по формуле:
, (1.26)
где Р - разрушающая нагрузка в Н;
F - площадь склеивания в м2, вычисляемая с точностью
до 0,05 м2 по формуле:
, (1.27)
где d - наименьший
диаметр образца в м.
Предел прочности при отрыве вычисляют до третьей
значащей цифры.
По результатам испытаний вычисляют среднее
арифметическое значение предела прочности:
, (1.28)
где n - число
испытанных образцов;
si отр - значения пределов прочности
образцов.
ГОСТ 17317-88 Кожа искусственная. Метод определения прочности связи между
слоями [12]. Стандарт
распространяется на искусственную и синтетическую кожу для обуви, одежды,
галантереи, технического назначения, состоящую из нескольких слоев, и на
обувные дублированные и триплированные материалы и устанавливает метод
определения прочности связи между слоями. Сущность метода заключается в
расслаивании пробы и определении нагрузки, необходимой для отделения испытуемых
слоев друг от друга.
От каждого отобранного для испытаний рулона по всей
его ширине отрезают точечную пробу длиной (300±10) мм.
Для проведения испытаний из отобранной точечной пробы
на расстоянии не менее 100 мм от кромки вырезают в форме полоски элементарные
пробы.
Длина элементарной пробы должна быть (150±2) мм,
ширина (20±1) или (50±1) мм.
Количество, но не менее трех в каждом выбранном направлении,
ширина и направление вырезания проб должно быть указано в
нормативно-технической документации на конкретную продукцию.
Общее количество вырезаемых проб (Л) для определения
прочности связи между каждой парой слоев вычисляют по формуле
N—n(c— 1), (1.29)
где n — количество
проб, отбираемое для определения прочности связи между слоями материала в одном
направлении;
с — количество слоев в материале.
Для проведения испытания применяется разрывная машина, обеспечивающая
измерение нагрузки с относительной погрешностью ± 1 % и скорость перемещения
подвижного зажима (300±10) мм/мин.
Каждую пробу по длине размечают на участки: первый — (50±1) мм, второй—
(80±1) мм. Первый участок предварительно расслаивают вручную.
Первоначальное расстояние между зажимами устанавливают — (50±5) мм. Пробы
закрепляют в зажимы разрывной машины: в не подвижный (верхний) зажим — основу
или слой с меньшим удлинением, в подвижный (нижний) — покрытие или слой (слон)
с большим удлинением. Расслаивание пробы проводят до конца второго участка. При
испытании определяют не менее десяти значений нагрузки по шкале нагрузок или по
диаграмме "нагрузка — перемещение подвижного зажима" (рисунок 1.18).
Рисунок 1.18 - Диаграмма расслоения
Прочность связи между слоями пробы (X) Н/мм вычисляют по формуле:
, (1.30)
где Р — средняя нагрузка расслаивания пробы, Н;
В— номинальная
ширина пробы, мм
Среднюю нагрузку расслаивания пробы (Р) определяют:
-
из десяти
показаний шкалы нагрузок разрывной машины, снятых через каждые 10 мм шкалы удлинения;
-
если записывается
диаграмма расслаивания, участок оси абсцисс диаграммы делят на 10 частей и
определяют десять значений нагрузки. Начальный
участок на диаграмме, где отмечено нарастание нагрузки при расслаивании, не
учитывают [12].
ГОСТ 30548-97 Полотна нетканые (подоснова) для линолеума. Методы
испытаний [13]. Стандарт распространяется на нетканые иглопробивные,
нитепрошивные, холстопрошивные, клееные, термоскрепленные и комбинированные
полотна для линолеума (подоснову) и устанавливает методы определения ряда
показателей, в т.ч. прочности при расслаивании.
В качестве средства испытания используется: машина
разрывная, обеспечивающая: величину силы, измеряемой маятниковым
силоизмерителем в пределах от 20 до 85 % предельного значения шкалы; измерение
силы инерционным силоизмерителем с погрешностью не более ±1 % измеряемой
величины; постоянную скорость перемещения подвижного захвата (100±10) мм/мин.
От каждого рулона, удовлетворяющего требованиям к
внешнему виду и линейным размерам, на расстоянии не менее 1,5 м от конца полотна по всей его ширине отрезают острыми ножницами точечные пробы в виде отрезков
площадью не менее 0,6 м2. Прочность при расслаивании полотна в
рулоне определяют на элементарных пробах размерами [(15х200)±2] мм, вырезанных
по пять из одной точечной пробы в продольном и поперечном направлениях по всей
ширине полотна в шахматном порядке.
Измеряют ширину b1, каждой элементарной
пробы. По длине пробы размечают четыре участка в соответствии с рисунком 1.19.
Рисунок 1.19 - Размеченные пробы
На третьем участке, являющимся рабочим, отмечают
десять точек, расположенных на расстоянии (10±2) мм одна от другой. Расслаивают
вручную первый и второй участки элементарной пробы. Свободные концы элементарной
пробы заправляют в зажимы разрывной машины и производят расслаивание до конца
третьего участка.
Значение силы при расслаивании каждой элементарной
пробы снимают со шкалы прибора по 10 точкам последовательного расслаивания
третьего участка.
Прочность при расслаивании Р0, сН/см,
вычисляют по формуле:
, (1.31)
где b1 — ширина элементарной пробы, см;
Р — сила, сН, вычисляемая по формуле
, (1.32)
где Рi — сила в i-й точке расслаивания, сН.
За величину прочности при расслаивании полотна в
рулоне принимают среднеарифметическое значение результатов испытания
элементарных проб соответственно в продольном и поперечном направлениях.
Результат округляют до 1 сН/см [13].
ГОСТ 30019.3-93 Застежка текстильная. Метод определения прочности
расслаивания [14]. Стандарт распространяется на текстильную застежку и
устанавливает метод определения прочности расслаивания. Сущность метода заключается
в измерении усилия расслаивания застежки и вычислении удельного усилия
расслаивания.
Для проведения испытания применяют разрывную машину с погрешностью
измерения не более 0,2 Н и скоростью движения нижнего зажима — (100±10) мм/мин.
Элементарную пробу заправляют в зажимы разрывной машин (рисунок 1.20) по
все ширине симметрично нулевой разметки зажима. Свободные участки петельной и
крючковой лент заправляют соответственно в верхний и нижний зажимы.
Элементарную пробу подвергают расслаиванию на участке длиной (5,0±0,1) см.
Усилие расслаивания каждой элементарной пробы Q, в Н, определяется:
На разрывной машине, снабженной устройством, регистрирующим работу
расслаивания вычисляют по формуле:
, (1.33)
где Аj—средняя
работа расслаивания, Н·см;
L —
длина участка элементарной пробы, подвергающегося расслаиванию, равная 5.0 см.
На разрывной машине, снабженной устройством для записи диаграммы расслаивания
(рисунок 1.21), вычисляют по формуле:
, (1.34)
где Qi – i-тое значение усилия по диаграмме расслаивания или снятое по
шкале нагрузок, Н, одной элементарной пробы;
n –
число точек на диаграмме расслаивания, для которых определяется значение
усилия, или показаний, снятых со шкалы нагрузок.
1 - верхний зажим, 2 - петельная лента, 3 - крючковая лента, 4 - нижний
зажим
Рисунок 1.20 - Заправка элементарной пробы в зажимы разрывной машины
Рисунок 1.21 - Диаграмма расслаивания
Удельное усилие расслаивания каждой элементарной пробы (Рр), Н/см,
определяют по формуле:
, (1.35)
где b — ширина рабочей части застежки, ем,
определяемая по ГОСТ 30019.4
ГОСТ 28832-90 Материалы прокладочные с термоклеевым покрытием. Метод
определения прочности склеивания [15]. Стандарт распространяется на
прокладочные материалы с дискретным или сплошным термопластическим полимерным
покрытием, предназначенные для швейных изделий, и устанавливает метод
определения прочности склеивания прокладочного материала с контрольным
материалом. Сущность метода заключается в определении нагрузки при расслаивании
склейки, полученной термосклеиванием прокладочного и контрольного материала при
заданных условиях температуры, давления, увлажнения и времени термосклеивания.
Порядок отбора и количество точечных проб установлено в технических
нормативных правовых актах на прокладочные материалы, но число проб не должно
быть меньше четырех. Допускается ширину пробы доводить до 30 мм удалением нитей по длине пробы с обеих сторон.
Из контрольного материала на расстоянии не менее 50 мм от кромки в продольном направлении вырезают две полоски: одну – для термосклеивания с
прокладочным материалом длиной (150±2) мм, шириной (35±1) мм; вторую – для
увлажнения в случае использования при испытании режима термосклеивания с
увлажнением длиной 78-79 мм, шириной (30±1) мм. Количество указанных полосок
контрольного материала должно соответствовать количеству проб.
На пробах прокладочного материала от края отмечают участок, равный (40±1)
мм, не подлежащий термосклеиванию.
Перед термосклеиванием пробы и полоски контрольного материала выдерживают
в лабораторных условиях не менее 16 часов и кондиционируют не менее 3 часов.
Пробу прокладочного материала совмещают со стороны термопластичного
полимерного покрытия с лицевой стороной полоски контрольного материала по
отметкам середины ширины и при достижении заданной температуры накладывают на
матрицу пресс-формы (на нижнюю часть пресса). При режиме термосклеивания с
увлажнением непосредственно перед размещением элементарной пробы с контрольным
материалом в пресс-форме (в прессе) на нее накладывают лицевой стороной
увлажненную полоску. Полоску, предназначенную для увлажнения, используют сразу
после ее погружение в дистиллированную воду и свободного стекания капель воды. Включают разрывную машину, смыкают пуансон с матрицей и
нагружают пресс-форму до заданной нагрузки (P’) в Н (кгс), значение которой вычисляется по формуле:
P’=2400.p, Н(240.p, кгс), (1.36)
При достижении заданной нагрузки начинают отсчет времени по секундомеру.
По истечении времени термосклеивания склейку элементарной пробы прокладочного
материала с полоской контрольного материала вынимают из пресс-формы и
выдерживают не менее 3 часов в условиях кондиционирования. Определяют среднюю нагрузку расслаивания пробы Р в Ньютонах
(Н). Нагрузку вычисляют из 50% самых низких значений пиков нагрузки, которые
определяют на центральном участке, составляющем 50% от общей длины диаграммы
расслаивания; начальный участок на диаграмме, где отмечено нарастание нагрузки
при расслаивании не учитывают (рисунок 1.22).
Рисунок 1.22 - Диаграмма расслаивания
Нагрузку вычисляют из десяти показаний шкалы нагрузок разрывной машины,
снятых через 10 мм шкалы удлинения. Прочность склеивания (R) в килоньютонах на метр (кН/м)
вычисляют по формуле:
, (1.37)
где Р— средняя нагрузка расслаивания в Н.
За окончательный результат испытания принимают среднее арифметическое
значение результатов испытаний всех элементарных проб, округление до 0,01 кН/м
[15].
Проанализировав методики и оборудования для проведения испытаний на
прочность клеевых соединений видно, что во всех методах используется угол
расслоения равный 180º, кроме ГОСТ 28966.2-91. Но угол расслоения по этому
стандарту точно не регламентирован.
Практически во всех методах предлагается использовать скорость расслоения
от 100 до 300 мм/мин за исключением трех стандартов.
Размеров образцов во всех методах выбираются различные габариты.
Наиболее подходящими по свойствам исследуемых материалов являются три
стандарта: ГОСТ 6768-75 (Резина и прорезиненная ткань. Метод определения
прочности связи между слоями при расслоении (ширина образца 25 мм), ГОСТ 28832-90 (Материалы прокладочные с термоклеевым покрытием. Метод определения прочности
склеивания (ширина образца 30 мм) и ГОСТ 28966.2-91 (Клеи поилмерные. Метод
определения прочности при отслаивании (ширина образца 15 мм). Во всех случаях, регламентируется использование разрывной
машины с различными приспособлениями, что сопряжено с определенными
неудобствами, начиная от высокой стоимости оборудования и его обслуживания и
невозможностью использования испытаний непосредственно в цеху, в процессе
производства.
2. Исследование влияния технологических
параметров на прочность клеевого соединения
Определения прочности склеивания клеевых соединений осуществлялось на
разрывной машине по ГОСТ 28832-90 "Материалы прокладочные с термоклеевым
покрытием. Метод определения прочности склеивания". Сущность метода
состояла в определении нагрузки при расслаивании склейки, полученной
термосклеиванием прокладочного материала и материала верха при заданных
температуре, давлении и времени термосклеивания. Данная методика детально
описана в подразделе 1.2.
2.1 Исследование влияния температуры дублирования на прочность клеевых
соединений
В исследовании использовались три пакета материалов:
-
в качестве
материала верха – ткань пальтовая: светлая артикул С227 (полушерстяная),
поверхностная плотность 280 г/м2; черная артикул С 206 ИА (шерсть и
полиакрилонитрильное волокно), поверхностная плотность 360 г/м2;
черная артикул 3326 (шерсть и полиакрилонитрильное волокно), поверхностная
плотность 380 г/м2;
-
в качестве
прокладки – термоклеевой материал: артикул R 161; артикул 512 00 30; артикул 81040. Клеевое покрытие -
полиамидное.
Общее правило, которым руководствуются при выборе температуры
дублирования, следующее: Тгреющ. пов.>Тпл. клея
+
(10-15ºC).
При этом температура плавления клея (таблица 2.1) не должна превышать
температуры термостойкости, которая определяется по температуре разложения,
размягчения, плавления волокон или потери их прочности (таблица 2.2) [17].
Таблица 2.1 – Характеристики клеёв
|
Вид клея
|
Температура плавления
клея,ºC
|
Устойчивость к стирке
|
Устойчивость к химчистке
|
|
Полиэтиленовый
|
105-115
|
+
|
-
|
|
Полиамидный
|
110-130
|
-
|
+
|
|
Полиэфирный
|
115-120
|
При 60ºC
|
+
|
|
поливинилхлоридный
|
80-180
|
+
|
слабая
|
Таблица 2.1 – Температурные характеристики волокон
|
Вид волокна
|
Температура, ºC, при которой происходит
|
|
разложение
|
размягчение
|
плавление
|
потеря прочности
|
|
полиэфирное
|
-
|
230-240
|
250-255
|
160-170
|
|
хлопковое
|
150
|
120
|
-
|
-
|
|
чисто шерстяное
|
130-135
|
-
|
-
|
-
|
|
вискозное
|
180-200
|
-
|
-
|
-
|
|
полиамидное
|
-
|
170-235
|
215-255
|
90-100
|
|
полиакрилонитрильное
|
-
|
235
|
-
|
180-200
|
В нашем случае: Тгеющ. пов.>120-125ºC. Дублирование осуществлялось на прессе "Certus" фирмы "Каннегиссер"
(Германия). Время дублирования – 12,4 секунд, давление – 30 Н/см2.
Температура (верхняя плита/нижняя плита пресса) изменялась от 130/135 до
140/145ºC. Прочность клеевого соединения
продублированных образцов определялось по ГОСТ 28832-90. Результаты испытаний прочности
клеевых соединений продублированных образцов представлены в таблице 2.3.
Таблица 2.3 – Результаты испытаний прочности клеевых соединений
продублированных образцов при изменении температурного режима
|
Номер пакета материалов/Артикул основы и прокладочного
материала
|
Режим (0С; сек; Н/см2)
|
Усилие расслоения, Н
|
Среднее усилие расслоения, Н
|
Проч-ность склеи-вания, R , Н/м
|
|
1. Основа: С227
Прокл: R161
|
130/135
12,4 сек;
300
|
0,515
|
0,405
|
0,5
|
0,36
|
0,435
|
0,443
|
89
|
|
135/140
12,4 сек;
3
|
0,555
|
0,508
|
0,585
|
0,56
|
0,48
|
0,538
|
108
|
|
140/145
12,4 сек;
300
|
0,495
|
0,545
|
0,585
|
0,535
|
0,58
|
0,548
|
110
|
|
2. Основа: С 206 ИА
Прокл: 5120030
|
130/135
12,4 сек;
300
|
1,2
|
1,1
|
1,135
|
1,065
|
1,005
|
1,101
|
220
|
|
135/140
12,4 сек;
300
|
1,1
|
1,325
|
1,150
|
1,225
|
1,150
|
1,190
|
238
|
|
140/145
12,4 сек;
300
|
1,305
|
1,190
|
1,075
|
1,350
|
1,245
|
1,233
|
247
|
|
3. Основа: 3326
Прокл: 81040
|
130/135
12,4 сек;
300
|
0,775
|
0,9
|
0,935
|
0,895
|
0,905
|
0,882
|
176
|
|
135/140
12,4 сек;
300
|
1,1
|
1,125
|
1,050
|
0,88
|
0,905
|
1,012
|
202
|
|
140/145
12,4 сек;
300
|
1,1
|
1,2
|
1,050
|
1,025
|
1,075
|
1,090
|
218
|
По значениям среднего усилия построена гистограмма влияния температуры
дублирования на прочность клеевого соединения (рисунок 2.1).
желтым цветом отмечен первый пакет материалов (основа артикул
С227,прокладочный – R161); зеленый –
второй пакет материалов (основа – С 206 ИА, прокладочный - 5120030); коричневый
– третий пакет материалов (основа – 3326, прокладочный - 81040).
Рисунок 2.1 - Гистограмма влияния температуры дублирования на прочность
клеевого соединения
Как видно из результатов испытаний, прочность клеевого соединения
возрастает с увеличением температуры, а также значительно меняется в
зависимости от видов материалов. Влияние данного параметра дублирования на
адгезию прокладочных материалов можно объяснить следующим образом. Вязкость
клея уменьшается по мере возрастания температуры. Наивысшую способность к склеиванию
(адгезию) клея приобретают в определённом диапазоне вязкости, который находится
между температурой размягчения и температурой плавления и составляет 130-160ºC.
Ниже диапазона оптимальных температур адгезия уменьшается, клей становится
слишком твёрдым. Выше диапазона оптимальных температур клей становится чересчур
текучим и впитывается верхней тканью и прокладкой, прочность клеевого
соединения уменьшается [17].
2.2 Исследование влияния давления дублирования на прочность клеевых
соединений
В исследовании использовались аналогичные виды основного и прокладочного
материала, как и в раздели 2.1
Значение давления дублирования обычно
выбирают в зависимости от типа от типа дублируемых материалов. Если ткань имеет
ворсовое покрытие (или рельефную поверхность) и сжатие может привести к
появлению блеска, то давление при дублировании желательно уменьшить.
Большинство современных прессов, предназначенных для дублирования,
обеспечены устройствами, позволяющими регулировать давление прессования от 0 до
10 Н/см2. Практически все материалы дублируют при давлении, равном
20-60 Н/см2 [3].
Дублирование исследуемых образцов осуществлялось на прессе "Certus". Параметры дублирования
следующие: температура – 130/135ºC, время – 12,4 секунды, давление – 20;
35, 40 Н/см2.
Результаты испытаний прочности клеевых соединений продублированных
образцов в таблице 2.4.
Анализ полученных данных говорит о том, что увеличение давления ведёт к
увеличению прочности склеивания. При большом усилии прессования клеевая точка
сплющивается, увеличиваясь в диаметре. В результате прочность склеивания
увеличивается. Но слишком большое давление может вызвать утонение пакета
соединяемых материалов, выдавливание клея в структуру тканей. Всё это ведёт к
ухудшению гигиенических свойств изделия.
Таблица 2.4 - Результаты испытаний прочности клеевых соединений
продублированных образцов при изменении давления
|
Номер пакета материалов/Артикул основы и прокладочного
материала
|
Режим (0С; сек; Н/см2)
|
Усилие расслоения, Н
|
Среднее усилие расслоения, Н
|
Проч-ность склеи-вания, R , Н/м
|
|
1. Основа: С227
Прокл: R161
|
130/135;
12,4;
30
|
5,35
|
4,05
|
3,95
|
4,45
|
4,59
|
92
|
|
130/135;
12,4;
35
|
5,75
|
5,15
|
5,85
|
5,8
|
5
|
5,5
|
110
|
|
130/135;
12,4;
40
|
5,65
|
5,45
|
5,85
|
5,75
|
6,25
|
5,79
|
116
|
|
2. Основа: С 206 ИА
Прокл: 5120030
|
130/135;
12,4;
30
|
12,2
|
14,5
|
12,35
|
10,65
|
10,85
|
12,11
|
242
|
|
130/135;
12,4;
35
|
11,9
|
13,75
|
12,5
|
12,25
|
11,5
|
12,38
|
248
|
|
130/135;
12,4;
40
|
13,35
|
11,9
|
11,75
|
13,5
|
12,45
|
12,59
|
252
|
|
3. Основа: 3326
Прокл: 81040
|
130/135;
12,4;
30
|
8,75
|
9,05
|
9,25
|
9,1
|
9,15
|
9,06
|
181
|
|
130/135;
12,4;
35
|
10,9
|
11,05
|
10,55
|
9,05
|
9,75
|
10,26
|
205
|
|
130/135;
12,4;
40
|
11,25
|
12,35
|
10,65
|
10,95
|
10,75
|
11,19
|
224
|
По значениям среднего усилия построена гистограмма влияния давления
дублирования на прочность клеевого соединения (рисунок 2.2).
желтым цветом отмечен первый пакет материалов (основа артикул
С227,прокладочный – R161); зеленый –
второй пакет материалов (основа – С 206 ИА, прокладочный - 5120030); коричневый
– третий пакет материалов (основа – 3326, прокладочный - 81040).
Рисунок 2.2 - Гистограмма влияния давления дублирования на прочность
клеевого соединения
2.3 Исследование влияния времени дублирования на прочность клеевых
соединений
В исследовании использовались аналогичные виды основного и прокладочного
материала как и в раздели 2.2
Дублирование осуществлялось на прессе "Certus". Параметры дублирования следующие: температура
– 130/135ºC, давление 30 Н/см2, время 11,4; 12,4; 13,7;
секунды. Результаты испытаний прочности клеевых соединений продублированных
образцов и их статистическая обработка представлены в таблице 2.4.
Таблица 2.4 - Результаты испытаний прочности клеевых соединений
продублированных образцов при изменении времени воздействия на материал
|
Номер пакета материалов/Артикул основы и прокладочного
материала
|
Режим (0С; сек; Н/см2)
|
Усилие расслоения, Н
|
Среднее усилие расслоения, Н
|
Проч-ность склеи-вания, R , Н/см
|
|
1. Основа: С227
Прокл: R161
|
130/135;
13,7;
30
|
3,95
|
3,25
|
3,5
|
2,75
|
4,05
|
3,5
|
70
|
|
130/135;
12,4;
30
|
3,35
|
4,9
|
5
|
5,05
|
4,5
|
4,56
|
91
|
|
130/135;
11,4;
30
|
4,65
|
5,35
|
5,8
|
5,25
|
5,65
|
5,34
|
107
|
|
2. Основа: С 206 ИА
Прокл: 5120030
|
130/135;
13,7;
30
|
10,05
|
10,6
|
11,05
|
10,15
|
10,05
|
10,38
|
208
|
|
130/135;
12,4;
30
|
10,25
|
13,25
|
11,3
|
11,25
|
11,5
|
11,51
|
230
|
|
130/135;
11,4;
30
|
13
|
11
|
10,75
|
12,1
|
11,95
|
11,76
|
235
|
|
3. Основа: 3326
Прокл: 81040
|
130/135;
13,7;
30
|
7,75
|
8,65
|
9,15
|
8,75
|
8,85
|
8,63
|
173
|
|
130/135;
12,4;
30
|
11
|
10,25
|
10,05
|
8,8
|
8,75
|
9,77
|
195
|
|
130/135; 11,4;
30
|
10,1
|
11,05
|
10,3
|
10,05
|
10,25
|
10,35
|
207
|
По значениям среднего усилия построена гистограмма влияния времени
воздействия при дублировании на прочность клеевого соединения (рисунок 2.3).
желтым цветом отмечен первый пакет материалов (основа артикул
С227,прокладочный – R161); зеленый –
второй пакет материалов (основа – С 206 ИА, прокладочный - 5120030); коричневый
– третий пакет материалов (основа – 3326, прокладочный - 81040).
Рисунок 2.3 - Гистограмма влияния времени воздействия при дублировании на
прочность клеевого соединения
Как видно из результатов исследований, прочность склеивания с увеличением
времени дублирования уменьшилась. Возможно, для данного пакета материалов время
дублирования, равное 11,4; 12,4; 13,7 секунды, оказалось слишком долгим. Это
могло повлечь за собой перегрев клея, в итоге он расплавился бы, при этом
впитался бы в прокладку, ткань стала бы жёсткой, а клеевое соединение слабым.
2.4 Исследование влияния скорости расслоения на результаты прочностных
характеристик клеевого соединения
Были проведены испытания 80 образцов дублированного материала по 16
скоростям на разрывной машине РМ-3 с целью выявления влияния скорости
расслоения на результаты определения прочности клеевого соединения, и выбора
наиболее подходящей скорости движения подвижного зажима для разрабатываемого
тестера. В качестве материала верха – ткань костюмная (шерсть 40% и полиакрилонитрильное
волокно (ПАН) 60%), поверхностная плотность 280 г/м2. В качестве
прокладки – нетканый термоклеевой материал, артикул 81 030 (090) 110, состав
основы – полиэфир 100% , поверхностная плотность 30 г/м2, имеет
полиамидное клеевое покрытие. Дублирование осуществлялось на прессе "Certus" фирмы "Каннегиссер"
(Германия). Время дублирования – 13 секунд, давление – 32 Н/см2.
Температура (верхняя плита/нижняя плита пресса) изменялась от 130/135
Результаты проведенных испытаний приводятся в Приложении А, на рисунке
2.4 показана тенденция изменения прочности клеевого соединения в зависимости от
скорости расслоения.
Две кривые, показанные желтым и зеленым цветом, характеризуют верхний и
нижний предел прикладываемой нагрузки, которая достаточно сильно изменяется в пределах
испытаний.
Как видно из графика при увеличении скорости движения зажима диапазон
между средним минимальным усилием расслоения Rmin.ср. и средним максимальным усилием
расслоения Rmax.ср. уменьшается, при этом общее усилие
расслоения увеличивается с увеличением скорости, что в принципе хорошо
подтверждает общие положения теории адгезии.
Увеличение скорости разрыва приводит к упругим деформациям как к тканых
материалах, так и в клеевом соединении, в результате усилие возрастает.
Рисунок 2.4 – График зависимости нагрузки в момент расслоения образца от
скорости расслоения
При расслаивании клеевых соединений часть усилий затрачивается не на
преодоление адгезионного взаимодействия, а на деформацию текстильных материалов
(распрямление, растяжение, выдергивание волокон, нитей и пряжи).
В общем виде сопротивление А расслаиванию следует рассматривать как
результирующую двух слагаемых:
А=Аад+Адеф, (2.1)
где, Аад – работа расслаивания на преодаление адгезионных сил,
Н·м;
Адеф – работа деформирования компонентов клеевого соединения
(клея, основной ткани, прокладочного материала), Н·м; (Адеф=55…65%А)
Усилие расслаивания зависит от скорости приложения нагрузок: с
увеличением скорости оно возрастает из-за увеличения Адеф. Величина
Адеф зависит от вида материалов, составляющих клеевое соединение:
для трикотажных полотен, обладающих высокой растяжимостью, Адеф гораздо
больше, чем для тканей [4].
В соответствии с полученными значениями, для разрабатываемого тестера
рекомендуется выбрать минимальную скорость передвижения подвижного зажима.
Соответственно, для гармонизации с уже действующими методиками, определяем
скорость в 100 мм/мин, как наиболее часто применяемую для проведения испытаний.
В результате, к определенным основным техническим требованиям, касающихся
размеров исследуемых образцов и угла расслоения, принимаем значение скорости
расслоения в 100 мм/мин. Указанное требование необходимо обеспечить при
проектировании тестера для экспресс оценки прочности клеевых соединений
дублированных материалов при производстве верхней одежды.
2.5 Применение анализа размерностей для исследования зависимости
прочности склеивания от определяющих факторов
Содержание анализа размерностей определяется одной из теорем подобия,
которая называется теоремой Букингема: если какое-либо уравнение однородно
относительно размерностей, то его можно преобразовать к соотношению,
содержащему набор безразмерных комбинаций входящих в него величин.
Однородным относительно размерностей является уравнение, вид которого не
зависит от выбора основных единиц измерения. Безразмерные комбинации
представляют собой произведения или отношения величин, составленные таким
образом, что в каждой комбинации размерности величин сокращаются. Безразмерные
комбинации величин ценны тем, что они входят в состав изучаемой зависимости,
вид которой неизвестен заранее.
Таким образом, анализ размерностей даёт возможность устанавливать
некоторые черты (особенности) математической структуры уравнения, описывающего
реальный процесс или состояние объекта. Он, как правило, не даёт окончательного
ответа на вопрос о точной форме уравнения, но позволяет значительно прояснить
такой вопрос.
Для проведения анализа размерностей исследователь должен прежде всего
выявить величины, входящие в состав уравнения, отображающего изучаемую
зависимость. При этом одну из них, исходя из физического смысла, выбирают в
качестве функции, а остальные рассматриваются в качестве её аргументов. При
отборе величин следует учитывать, что они должны иметь характер фундаментальных
переменных, то есть величин, обязательно оказывающих влияние на ту из них,
которая выбрана в качестве функции. Признаком того, что данная переменная может
рассматриваться как фундаментальная, является её способность изменяться
независимо от других переменных.
Важно отметить, что можно не знать всех переменных, входящих в уравнение
изучаемого процесса, но необходимо представлять себе, что эти переменные и
связывающее их уравнение существуют независимо от того, известны они или нет.
При проведении анализа размерностей необходимо осуществить:
-выбор фундаментальных переменных, рассматривая в качестве таких
переменных также и размерные коэффициенты и физические постоянные;
-выбор системы основных размерностей и составление формул размерностей;
-построение безразмерных комбинаций.
Анализ размерностей обладает важной зависимостью: если систему
безразмерных комбинаций получить не удаётся, то есть, если хотя бы одна из комбинаций
оказывается небезразмерной, то это указывает на то, что какие-то
фундаментальные переменные были упущены или некоторые были выбраны неверно и от
них следует отказаться. Во многих случаях результаты анализа размерностей
позволяют скорректировать первоначальную группу фундаментальных переменных и
сделать в конечном итоге их правильный выбор. Пусть R – показатель
прочности склеивания. Предположим, что
R=f (P, T, t, γ)
, (2.2)
где Р – давление дублирования, Н/м2;
Т – температура дублирования, К ;
t – время
дублирования, с ;
λ – коэффициент теплопроводности системы,
.
Будем считать, что введённые факторы являются определяющими, то есть в
решающей степени влияющими на прочность склеивания.
Представим выражение (2.2) в форме, содержащей безразмерные комбинации
входящих в него величин.
Введём буквенные обозначения размерностей основных единиц в системе СИ:
единица массы – М;
единица длины – L;
единица времени – Θ;
единица температуры – К.
Используя эти обозначения, построим так называемые формулы размерностей
для рассматриваемых величин (таблица 2.5).
Таблица 2.5- Результаты построения формул размерностей
|
Обозначение величины
|
Размерность в СИ
|
Математическое
преобразование размерности
|
Формула размерности
|
|
R
|
Н/м
|
|
MΘ-2
|
|
Р
|
Н/м2
|
|
МL-1Θ-2
|
|
T
|
K
|
-
|
K
|
|
T
|
С
|
с
|
Θ
|
|
Γ
|
|
|
МLΘ-3K-1
|
Совершенно очевидно, что выражение (2.2) является лишь общей формой
зависимости между введёнными величинами. В действительности характер влияния
аргументов на функцию неодинаков. Поэтому с точки зрения приближения к истинной
зависимости можно использовать такую форму:
R=f (Pa, Tb , tc
,γd ) , (2.3)
где а, b, c, d – некоторые безразмерные показатели степени,
отражающие характер влияния факторов P ,T, t ,
γ на выходной параметр "R".
Подставим в формулу (2.3) вместо символов переменных формулы их
размерности из таблицы 2.5:
MΘ-2 = φ[ (ML-1Θ-2)a
, Kb, Θc, (MLΘ-3K-1)d]
(2.4)
Для того, чтобы соотношение (2.4) было однородным относительно размерностей,
должны выполняться следующие соотношения между показателями степеней:
для М: 1 = a+d (2.5)
для L: 0 = -a+d (2.6)
для Θ: -2 = -2a+c-3d (2.7)
для K: 0 = b-d (2.7)
В итоге имеем четыре уравнения с четырьмя неизвестными. Решая эту
систему, получаем a=0,5; b=0,5; c=0,5; d=0,5.
Подставим найденные значения в форму (2.3):
R= f (P½, T½, t½, γ½) (2.9)
Для получения безразмерных комбинаций используется приём объединения
степеней, имеющих одинаковые показатели степени. При этом, если величины из
правой части объединяются с величиной, стоящей в левой части, то комбинация
представляет собой дробь, числитель которой – величина, стоящая в левой части,
а знаменатель – произведение величин из правой части, имеющих показатель
степени равный единице. Получаем формулу (2.10):
соnst = G (2.10)
Таким образом, окончательно имеем:
(2.11)
Рассчитаем теоретическую прочность склеивания при температуре
дублирования трех пакетов материалов, рассмотренной в подразделе 2.2.
Преобразовав выражение (2.11), получаем [19]:
(2.12)
Обозначим "
" символом V. Тогда:
V1=
, (2.13)
где А1 – практическая прочность склеивания, полученная в 1-ом
опыте (смотри таблицу 2.3);
Т1 - температура дублирования (среднее значение между
температурами верхней и нижней плитами пресса) в 1-ом опыте, К.
Получаем :
1
для первого
пакета материалов:
-
для опыта 1: V1=
;
-
для опыта 2: V2=
;
-
для опыта 3: V3=
;
2
для второго пакета материалов:
-
для опыта 4: V4=
;
-
для опыта 5: V5=
;
-
для опыта 6: V6=
;
3
для третьего пакета материалов:
-
для опыта 7: V7=
;
-
для опыта 8 V8=
;
-
для опыта 9 V9=
.
Среднее значение: для 1 пакета материалов -
=5,03; для 2 пакета -
=11,59; для
3 пакета -
=9,81. Теоретическая прочность склеивания
рассчитывается следующим образом:
3
для первого
пакета материалов:
-
для опыта 1: А1=
, Н/м;
-
для опыта 2: А2=
, Н/м;
-
для опыта 3: А3=
, Н/м;
4
для второго пакета материалов:
-
для опыта 4: А4=
, Н/м;
-
для опыта 5: А5=
, Н/м;
-
для опыта 6: А6=
, Н/м;
3
для третьего пакета материалов:
-
для опыта 7: А7=
, Н/м;
-
для опыта 8 А8=
, Н/м;
-
для опыта 9 А9=
, Н/м.
Для сравнения теоретических и практических значений прочности склеивания
при разной температуре дублирования результаты расчётов представлены в таблице
2.6.
Таблица 2.6 –
Теоретическая и практическая прочность склеивания при разной температуре
дублирования
|
Темпера-тура дублиро-вания, К
|
Теоретическая прочность склеивания, Н/м
|
Практическая прочность склеивания, Н/м
|
|
Первый пакет материалов
|
Второй пакет материалов
|
Третий пакет материалов
|
Первый пакет материалов
|
Второй пакет материалов
|
Третий пакет материалов
|
|
405,5
|
101
|
233
|
198
|
89
|
220
|
176
|
|
410,5
|
102
|
235
|
199
|
108
|
238
|
202
|
|
415,5
|
102
|
236
|
200
|
110
|
247
|
218
|
Аналогично рассчитываем теоретические значения прочности склеивания при
разном давлении дублирования и времени дублирования. Результаты расчётов
представлены соответственно в таблице 2.7 и таблице 2.8.
Таблица 2.7 – Теоретическая и практическая прочности склеивания при
разном давлении дублирования
|
Давление дублиро-ания, Н/м2
|
Практическая прочность склеивания, Н/м
|
|
Первый пакет материалов
|
Второй пакет материалов
|
Третий пакет материалов
|
Первый пакет материалов
|
Второй пакет материалов
|
Третий пакет материалов
|
|
30
|
98
|
230
|
188
|
92
|
220
|
181
|
|
35
|
106
|
248
|
203
|
110
|
248
|
205
|
|
40
|
113
|
265
|
217
|
116
|
252
|
224
|
Таблица 2.8 - Теоретическая и практическая прочности склеивания при
разном времени дублирования
|
Время дублиро-вания,с.
|
Теоретическая прочность склеивания, Н/м
|
Практическая прочность склеивания, Н/м
|
|
Первый пакет материалов
|
Второй пакет материалов
|
Третий пакет материалов
|
Первый пакет материалов
|
Второй пакет материалов
|
Третий пакет материалов
|
|
11,4
|
143
|
532
|
427
|
107
|
235
|
207
|
|
12,4
|
130
|
515
|
406
|
91
|
230
|
195
|
|
13,7
|
111
|
477
|
372
|
70
|
208
|
173
|
Для наглядности полученных результатов данные таблиц представлены в
графической форме (Приложения В, Г, Д), причем для каждого пакета материалов
свой цвет на графике: первый пакет материалов (основа - артикул С227; клеевой -
артикул R 161) – малиновый; второй (основа -
артикул С 206 ИА; клеевой - артикул 512 00 30) – коричневый; третий (основа -
артикул 3326; клеевой - артикул 81040) – синий. Можно отметить, что
теоретическая прочность склеивания возрастает с увеличением температуры,
давления. А при увеличении времени дублирования, наоборот, уменьшается. На
практике эта зависимость подтвердилась. И для разных пакетов материалов
прочность склеивания различная, так как прочность склеивания зависит и от вида,
и свойств материалов верха; химического состава, физико-химических и физико-
механических свойств клеевых материалов; вида применяемого при дублировании оборудования,
которые также необходимо принимать во внимание, учитывать при расчёте
теоретической прочности склеивания.
3. Разработка методики на экспресс
оценку прочности клеевых соединений при производстве верхней одежды
Настоящая методика распространяется на прокладочные материалы с
дискретным или сплошным термопластическим полимерным покрытием, предназначенные
для швейных изделий, и устанавливает метод определения прочности склеивания
прокладочного материала с контрольным материалом. Сущность метода заключается в
определении нагрузки при расслаивании склейки, полученной термосклеиванием
прокладочного и контрольного материала при заданных условиях температуры,
давления, увлажнения и времени термосклеивания.
Для испытаний пробы отбирают по ТНПА на прокладочные материалы. Из разных
мест точечной пробы на расстоянии не менее (100±1) мм от края вырезают в
продольном направлении элементарные пробы в форме полоски. Длина элементарной
пробы должна быть (200±2) мм, ширина (50±3).
Количество элементарных проб должно быть указано в ТНПА на
соответствующий вид прокладочного материала, но не менее четырех.
Испытания проводятся на тестере ТПКС-1 для экспресс-оценки прочности
клеевых соединений, для проведения испытаний на устойчивость к расслаиванию
дублированных материалов верхней одежды.
Тестер состоит из основания 13, на котором установлен гидроцилиндр 11
(рисунок 3.1). На штоке 10 выходящем из гидроцилиндра закреплен рабочий зажим,
состоящий из нижней 7 и верхней 6 пластин, между которыми размещены резиновые
накладки 5. Рабочий зажим снабжен рукояткой 9 для его перемещения и винтом 8
для фиксации образцов. Силоизмерительный зажим, который также состоит из нижней
3 и верхней 4 пластин, между которыми размещены резиновые накладки 5,
прикреплен через силоизмерительное кольцо 2 к основанию. В силоизмерительное
кольцо упирается шток индикатора 1. При расслаивании образца силоизмерительное
кольцо деформируется, что фиксируется через перемещение штока индикатора.
Показания усилия считываются по шкале индикатора.
Рисунок 3.1 – Тестер ТПКС-1
При взведении рабочего зажима за рукоятку 9 он фиксируется при помощи
стопорного устройства.
Перед испытанием пробы должны быть выдержаны в нормальных условиях
(относительная влажность 65 ± 2 % и температура 20 ±2 ºС) не менее 24
часов. При испытаниях должны быть обеспечены те же условия.
На каждом образце отмечается участок длиной 50 мм, который расслаивается вручную и служит для закрепления образцов в зажимы тестера.
Рабочий зажим за рукоятку подводится к силоизмерительному зажиму до
момента щелчка, обозначающего его фиксацию с помощью стопорного устройства.
Испытуемый образец заправляется в зажимы тестера: материал верха – в
силоизмерительный зажим; дублирующий материал – в рабочий.
Нажатием на спуск стопорного устройства рабочий зажим приводится в
действие. Скорость
движения рабочего зажима 100 мм/мин, как наиболее оптимальная для снятия
показаний. Расслаивание
проводится на длине 100 мм. Показания усилия расслаивания считываются по шкале
индикатора.
Схема расслаивания изображена на рисунке 3.2.
1 – проба материала; 2, 3 – захваты тестера нагрузочный и
силоимерительный соответственно
Рисунок 3.2 – Схема расслаивания тестером ТПКС-1
С помощью тарировочной шкалы результаты испытания переводятся в Ньютоны
для нахождения нагрузки расслоения.
Затем прочность склеивания (R) в килоньютонах на метр (кН/м) вычисляют по формуле:
, (3.1)
где P – средняя нагрузка расслаивания в Н.
За результат испытания принимаем среднее арифметическое результатов
испытаний всех элементарных проб, округленное до 0,01 кН/м.
Результаты испытаний записывают в протокол, который должен содержать:
-
обозначение
прокладочного материала, полимерной композиции и текстильной основы;
-
номер ТНПА на
прокладочные материалы;
-
номер и
обозначение тестера;
-
значение
прочности склеивания испытанных проб и способ ее расчета;
-
среднее
арифметическое значение прочности склеивания;
-
особенности
процесса расслоения;
-
дату испытания;
аппаратуру для термосклеивания.
Пример оформления протокола испытания, в соответствии с разработанной
методикой, приведены в приложении Б.
4. Исследование конъюнктуры рынка
термоклеевых прокладочных материалов
Рынок – явление динамическое, подверженное частым и быстрым изменениям.
Можно отметить два основных подхода к его определению. Первый основан на выделении
политико-идеологического и философского содержания: рынок рассматривается как
способ организации общественного производства, поведения хозяйствующих
субъектов, мышления. Второй подход акцентирует внимание на его конкретном
экономическом содержании: рынок рассматривается как механизм, объединяющий
спрос и предложение для обеспечения процессов купли-продажи товаров данное
время и определенном месте. Обстановка на рынке складывается под воздействием
комплекса факторов и обстоятельств, которые создают рыночную ситуацию. А
рыночная ситуация определяет сложившуюся конъюнктуру рынка.
Конъюнктура (от лат. conjungere – соединяю, связываю) – экономическая ситуация на рынке в определенный
момент как результат взаимодействия факторов и условий, определяющих
соотношение спроса и предложения на товары, а также уровень и динамику цен на
них.
Оценка конъюнктуры представляет собой важную составную часть не только
анализа рынка, но и маркетинговых исследований в целом.
Маркетинговое исследование – целенаправленный сбор, анализ и
интерпретация информации целью уменьшения неопределенности, сопутствующей
принятию маркетинговых решений, относящихся к конкретной рыночной ситуации.
Конъюнктура во многом определяет позиции предприятия на рынке и
содержание всей его маркетинговой деятельности [16].
Глубокое изучение товарного рынка должно быть комплексным, увязанным с
оценками рынка ценных бумаг, рынка услуг, рынка инвестиций, рынка недвижимости,
рынка труда и т.д. Многие процессы на товарном рынке объясняются или
обусловлены ситуацией, сложившейся на других рынках.
Пространственный анализ рынка определяется его масштабами (числом его
участников, объемом сделок, оборотом рынка) и структурой. Структура рынка –
один из главных качественных показателей конъюнктуры. Он отражает главные
пропорции рынка и в частности товарную структуру [17].
Состояние рынка охарактеризуется через систему количественных и
качественных показателей, каждый из которых отражает определенную сторону
конъюнктуры рынка:
1
масштаб рынка -
его емкость, объем операций по купле-продаже товара (товарооборот), число
предприятий различных типов, выступающих на рынке;
2
степень
сбалансированности рынка - соотношение спроса и предложения;
3
тип рынка
(конкурентный, монополистический и т.д.);
4
динамика рынка
(изменения основных параметров рынка, их вектора, скорость и интенсивность,
основные тенденции);
5
степень деловой
активности (заполненность хозяйственного портфеля фирмы, число и размер
заказов, объем и динамика сделок и т.п.);
6
уровень
устойчивости/колеблемости основных параметров рынка в динамике и пространстве
(географическом и экономическом – показатели вариации);
7
уровень рыночного
риска (оценка вероятности потерпеть поражение на рынке);
8
уровень
конкурентной борьбы (число конкурентов, их активность);
9
цикличность
рынка, т.е. положение рынка в определенной точке/стадии экономического или
сезонного цикла.
Конъюнктурный анализ позволяет всесторонне проанализировать рыночную
ситуацию и дать комплексную характеристику состояния рынка; выяснить, насколько
благоприятна конъюнктура для осуществления поставленных целей.
Важной составляющей конъюнктурного анализа является система рыночных
индикаторов. Индикатор рынка - это качественный или количественный показатель,
позволяющий единолично или в комбинации с другими показателями отразить или
измерить рыночную ситуацию [17].
К рыночным индикаторам относятся:
-
вовлечение
товарной массы в сферу рынка;
-
товарооборот;
-
товарные запасы
(в стоимостном выражении или в днях оборота);
-
цены (в денежных
единицах или в отношении к доходу);
-
прибыль (или
рентабельность).
При изучении конъюнктуры товарного рынка ставиться задача не только
определения ее состояния в тот или иной момент, но и предсказание вероятного
характера дальнейшего развития. Конъюнктурный прогноз дает оценку перспектив
развития рынка и является основой для выработки стратегии и тактики
деятельности предприятия.
Рынки потребительских товаров и продукции производственно-технического
назначения изучаются главным образом на основе использования двух подходов:
1
посредством
анализа вторичной информации и прежде всего о выпуске и сбыте продукции;
2
путем
исследования мотивации и поведения потребителей.
В рамках первого подхода изучаются все документы, представляющие интерес
для организации, изданные статистическими органами, различными министерствами,
торговыми палатами, региональными органами управления, а также являющиеся
результатом специальных немаркетинговых исследований. Такая информация является
достаточно дешевой, даже бесплатной, относительно легко доступной.
Второй подход к
изучению рынка предполагает исследование мотивации и поведения потребителей
путем проведения специальных обследований: интервьюирования, собеседований,
заполнения анкет. В качестве опрашиваемых выступают как обычные потребители,
так и профессионалы — эксперты.
В случае изучения продукции производственно-технического назначения
выборка охватывает не отдельных людей, а предприятия. Когда проводят
анкетирование в промышленной сфере, то выборка, как правило, невелика
(исключение составляют рынки, где потенциальные потребители представлены
большим количеством предприятий) и замены невозможны: существуют компании,
которые надо обязательно опросить, — например, крупные фирмы - лидеры в своей
отрасли.
Здесь важно учитывать одно важное обстоятельство. Спрос на продукцию
производственно-технического назначения является производным от спроса на
конечные потребительские товары, при изготовлении которых она используется.
Поэтому в прогнозных целях необходимо изучать не только существующих и
потенциальных потребителей продукции производственно-технического назначения,
но также и рынок соответствующих конечных товаров.
При проведении маркетинговых исследований, особенно когда нет возможности
получить надежную количественную информацию на основе одного из рассмотренных
подходов, следует использовать одновременно все подходы [17].
Основными производителями термоклеевых прокладочных
материалов в мире являются следующие фирмы: "Куфнер" (Kufner), "Хансель" ( ), "Текстильгмп
Хоф" (Textilgmppe Hof), "Фройденберг" (с. Freudenberg), "Фулда" (Fulda) (Германия), "Ланур Пикарди"
(Lainiere de Picardle) (Франция), "Кениг" (Konig), "Балдин" (Baldin) (Бельгия), "Вилен" (Vilene Organisation) (Великобритания) и др.
В России и Беларуси термоклеевые прокладочные
материалы (ТПМ) производят: ОАО "Мамонтовка" (Московская обл.), ОАО "ТИМ-холдинг"
(Красноярск), НТК "Джей" (Москва), ОАО "Ручайка" (Кобрин), ООО
"АТЕМ" (Минск), ООО "Омега Текс" (Кобрин).
Прокладочные материалы известных фирм имеют отличительные
символы, например: фирма "Куфнер" — оранжевую полосу, фирма "Хансель"
— скачущую лошадь. Как правило, производители ТПМ указывают в рекомендациях по
их применению вид оборудования для дублирования [4].
Фирмы, специализирующиеся на выпуске ТПМ, постоянно
расширяют их ассортимент для использования в самых разнообразных швейных
изделиях. В ассортименте могут быть выделены группы материалов, имеющие разные
торговые обозначения (таблица 4.1).
Таблица 4.1 – Ассортимент ТПМ и их характеристика
|
Наименование фирмы-изготовителя
|
Наименование термоклеевых прокладочных материалов
|
Характеристика термоклеевых прокладочных материалов
|
|
Фирма "Хансель"
|
Polyfix
|
Тканая основа
|
|
Polyknit
|
Нетканая основа, выработанные на Рашель-машинах
|
|
Alrolherm
|
Многоцелевого назначения
|
|
Polyvlies
|
Нетканая основа
|
|
Polytape
|
Ленты
|
|
Specialise
|
Прокладочный материал для кожи, меха, нижнего воротника,
поясов брюк и юбок
|
|
Polygnik
|
Для домашнего использования
|
|
Polydress
|
Цветные термоклевые прокладочные материалы для платьев и
блузок
|
|
Фирма "Эсвег Бралтекс"
|
Variopoint
|
Нетканая основа с мягким туше для небольших зон мужских
пальто
|
|
Softpoint
|
Нетканая основа с уточной нитью и очень мягким туше
|
|
Softpoint
|
Нетканая основа с уточной нитью для мужских пиджаков
|
|
Varipoint
|
Нетканая основа с точечных покрытием
|
|
Unipoint
|
Нетканая основа для небольших зон кожаной и спортивной
одеждой
|
|
Unisoft
|
Нетканая основа, усиленный продольное нить
|
|
Bassopoint
|
Тканая основа для легких камвольных габаритных шерстяных
нитей
|
|
Minipoint
|
Тканая основа, х/б для блузок и платьев.
|
Одним из известнейших и старейших производителей ТПМ в
Европе является фирма "Хансель", которая постоянно совершенствует
свои разработки в этой области. Ею освоен выпуск растяжимых прокладочных
материалов, способных к удлинению на 14 %. Такие материалы позволяют повысить
формуемость клеевых соединений в соответствии с формой тела человека. Такая по
величине деформационная способность гарантирует выполнение двух противоположных
требований: возможность беспроблемной переработки в швейном производстве, в
частности при раскрое, и придание повышенной формоустойчивости деталям одежды
при одновременном сохранении их способности к многократному растяжению при
эксплуатации. Фирма "Хансель" выпускает термопрокладочные материалы
разного целевого назначения, различающиеся поверхностной плотностью, режимами
склеивания, цветом и т.д. Наиболее известной разработкой фирмы является тканая
прокладка Hansel 901, имеющая вплетенный в уток
конский волос.
Другим крупнейшим производителем ТПМ является фирма "Фройденберг",
известная как первый разработчик и создатель флизелина. Половина объема
выпускаемых в мире флизелинов сходит с производственных потоков этой фирмы.
Помимо флизелина фирма выпускает перфорированные и нитепрошивные ленты, клеевой
синтепон.
На рынке Республики Беларусь в настоящее время
представлено обширный ассортимент клеевых прокладочных материалов.
Проанализируем данные, приведенные в сводных таблицах
4.2 - 4.4 некоторых термоклеевых прокладочных материалов по Республики Беларусь
и Российской Федерации.
Из таблицы 4.2 видно, что цена на термоклеевые
прокладочные материалы находится в пределах 1700 рублей за метр погонный.
Оптимальными режимами для процесса дублирования деталей одежды является
температура склеивания - от 120 0С до 140 0С; давление прижимания
основы материала к клеевому прокладочному материалу – от 0,2 кгс/м2
до 0,4 кгс/ м2; время нахождения пакета материалов по воздействием
температуры и давления – от 10 до 16 секунд.
Эти режимы обеспечивают при изготовлении изделий
необходимое качество операции дублирования без дополнительных материальных
затрат. Принимая во внимания качественные характеристики и цену из двух
представленных видов бязи, наилучшем является бязь артикул Х.100.01.140.070-01.
Таблица 4.2 – Сравнительный анализ цен и характеристик
бязи сорочечной производителей, присутствующих на рынке Республики Беларусь
|
Наименование и артикул ТПМ
|
Произво-дитель
|
Качественные характеристики
|
Цена, руб.
|
|
Ши-рина, см
|
Режимы склеива-ния (темпера-тура 0С; давление;
время)
|
Повер-хностная плот-ность, г/м2
|
Длина материалв упаковке, п.м.
|
|
1.1
Х.100.01.140.070-01
|
Россия
|
94
|
130/140; 0,2-0,4; 15-20
|
140
|
50-150
|
1720,6
|
|
1.2
355
|
Россия
|
94
|
150/160; 0,3-0,4; 16-18
|
100
|
40-70
|
1750
|
Из таблицы 4.3 видно, что цена на дублерин на тканевой
основе колеблиться от 1600 рубле до 3300 Сопоставив цены на дублерин на
тканевой основе с его качественными характеристиками, среди представленных в
таблице наилучшими качественными и ценовыми характеристиками обладают: дублерин
на тканевой основе, белого цвета артикул 8В10ЛЦ по цене 2964,5 рублей за
погонный метр и дублерин воротничковый артикул 355 по цене 1669,1 рублей.
Таблица 4.3 – Сравнительный анализ цен и характеристик
дублерина на тканевой основе производителей, присутствующих на рынке Республики
Беларусь
|
Наименование и артикул ТПМ
|
Произво-дитель
|
Качественные характеристики
|
Цена, руб.
|
|
Ши-рина, см
|
Режимы склеива-ния (темпера-тура 0С; давление;
время)
|
Поверх-ностная плот-ность, г/м2
|
Длина материалв упаковке, п. м.
|
|
1.1
514/3,бязевый белый
|
г. Нефтекамск, Россия
|
135
|
160; 0,4-0,5; 20
|
140
|
100
|
2642,3
|
|
1.2
508, тканевый белый
|
Беларусь
|
106
|
150; 0,05; 30
|
120
|
100
|
2192,3
|
|
1.3
1.14, тканевый белый
|
Беларусь
|
150
|
130/140; 0,3-0,4; 10-16
|
80
|
100
|
3128,1
|
|
1.4
8501, 8501-3F, тканевый белый
|
Россия
|
90
|
130/140; 0,3-0,4; 10-16
|
105
|
50
|
2354,184
2433,072
|
|
1.5
8В10ЛЦ, тканевый
белый
серый
|
Беларусь
|
150
|
130/140; 0,3-0,4; 10-16
|
80
|
100
|
2964,5
|
|
1.6
ПР14, тканевый
|
Беларусь
|
150
|
130/140; 0,3-0,4; 10-16
|
80
|
100
|
3138,912
|
|
1.7
1,16(7с 30ПР), тканевый белый
|
Беларусь
|
150
|
130/140; 0,3-0,4; 10-16
|
80
|
100
|
3270,9
|
|
1.8
355, воротничко-вая ткань
|
Беларусь
|
80
|
130/140; 0,3-0,4; 10-16
|
105
|
100-150
|
1669,1
|
|
1.9
2.23Б, воротничко-вая ткань
|
Беларусь
|
95
|
130/140; 0,3-0,4; 10-16
|
105
|
100-150
|
2192,3
|
Таблица 4.4 – Сравнительный анализ цен и характеристик
дублерина на трикотажной основе производителей, присутствующих на рынке
Республики Беларусь
|
Наименование и артикул ТПМ
|
Произво-дитель
|
Качественные характеристики
|
Цена, руб.
|
|
Ши-рина, см
|
Режимы склеива-ния (темпера-тура 0С; давление;
время)
|
Поверх-ностная плот-ность, г/м2
|
Длина материал в упаковке, п.м.
|
|
1.1
216/6,216/4,трикотажный, белый, черный
|
г. Нефтекамск, Россия
|
90
|
150; 0,5; 30
|
75
|
150
|
1809,4
2108,4
|
|
1.2
212, трикотажный белый
|
г. Нефтекамск, Россия
|
150
|
120/130; 0,3-0,4; 10-15
|
60
|
100
|
2840,8
|
|
1.3
212, трикотажный черный
|
г. Нефтекамск, Россия
|
90/150
|
120/130; 0,3-0,4; 10-15
|
66
|
150/100
|
2108,4
|
|
1.4
531, трикотажный,белый
черный
|
Беларусь
|
150
|
150; 0,5; 30
|
75
|
100
|
2391,6
2972,8
|
|
1.5
216/6, 216/4, трикотажный,белый
черный
|
г. Нефтекамск, Россия
|
150
|
150; 0,5; 30
|
75
|
100
|
2840,8
3461,9
|
|
1.6
1.13, трикотажный
|
Беларусь
|
150
|
150; 0,5; 30
|
75
|
100
|
3067,5
|
|
1.7
1.13В,трикотажный,белый
черный
|
Беларусь
|
150; 0,5; 30
|
75
|
100
|
3425,4
3632,2.
|
|
1.8
2138, эластичный,белый
|
Россия
|
90
|
150; 0,5; 30
|
75
|
50
|
3507,6
|
|
1.9
2158, эластичный,черный
|
Россия
|
90
|
150; 0,5; 30
|
75
|
50
|
3811,5
|
|
1.10
26 РА, 266 РА, тканевый,белый
черный
|
Беларусь
|
90
|
150; 0,5; 30
|
75
|
50
|
2985,3
3487,7
|
|
1.11
5832РА,тканевый,серый
|
Беларусь
|
90
|
150; 0,5; 30
|
75
|
50
|
3487,7
|
|
1.12
619А,трикотажный,белый
|
Россия
|
143
|
120/130; 0,3-0,4; 10-15
|
66
|
100
|
3487,7
|
|
1.13
619, трикотажный, белый
|
Россия
|
150
|
120/130; 0,3-0,4; 10-15
|
66
|
41
|
2864,9
|
По данным таблицы видно, что цена на дублерин на
трикотажной основе лежит в пределах от 1600 до 3700 рублей за погонный метр.
Наиболее приемлемо использование дублерина артикула 212 по цене 2108,4 рублей и
артикула 519 по цене 2864,9 рублей.
Т.о. данные исследования позволяют выявить основных
производителей термоклеевых прокладочных материалов, определить уровень цен на
различные термоклеевые прокладочные материалы. Принимая во внимания наличие
большого количества швейных предприятий в Республике Беларусь можно
предположить наличия достаточно устойчивого спроса на этот вид материалов.
5.
Охрана труда и промышленная экология
5.1 Охрана труда
Важнейший социальный эффект реализации мер по охране
труда – сохранение жизни и здоровья работающих. Здоровье и безопасные условия
труда способствуют повышению производительности труда, удовлетворенности
работников своим трудом, созданию хорошего психологического климата в трудовых
коллективах, что ведет к снижению текущих кадров, созданию стабильных трудовых
коллективов. В обществе охрана труда - это система законодательных актов и
соответствующих им экономических, гигиенических, санитарно-технических и
организационных мероприятий и средств, обеспечивающих безопасность работающих,
сохранение здоровья и работоспособности человека.
Соблюдение конституционного права работников на
здоровье и безопасные условия труда обеспечивается осуществлением государственной
политики в области охраны труда, а также имеет большое социально-экономическое
значение. Состояние условий труда в значительной степени влияет на
производительность труда. Так неудовлетворенность работника рабочим местом,
недостатки, упущения в работе по созданию надлежащих условий труда, нарушение
техники безопасности приводит к травматизму на производстве, профессиональной
заболеваемости и т.д.
В систему законодательных актов, регулирующих вопросы
охраны труда в Республике Беларусь, входят:
·
Трудовой кодекс
РБ;
·
Конституция РБ,
которая гарантирует право граждан на здоровье и безопасные условия труда;
·
Закон РБ "Об
основах государственного социального страхования", где предусмотрены
вопросы страхования граждан от несчастных случаев на производстве и
профзаболеваний;
·
Закон РБ "О
санитарно-эпидемиологическом благополучии населения", который направлен на
предупреждение воздействия неблагоприятных факторов среды на здоровье населения
и регламентирует действия органов государственной власти и управления,
предприятий и организаций, должностных лиц и граждан по обеспечению
санитарно-эпидемиологического благополучия;
·
Закон РБ "О
коллективных договорах и соглашениях", который определяет правовые основы
заключения и исполнения коллективных договоров и соглашений для содействия
регулированию трудовых отношений и согласованию социально-экономических
интересов работников и нанимателей, в частности в вопросах создания здоровых и
безопасных условий груда, улучшения охраны здоровья, среды.
·
Закон РБ "О
сертификации продукции, работ, услуг", направлен на обеспечение
безопасности продукции для жизни, здоровья и имущества населения, а также
окружающей среды.
Трудовое законодательство регулирует одну из важнейших
сфер жизнедеятельности человека - сферу применения труда. Трудовой кодекс,
принятый в 1999 году, регулирует трудовые отношения, складывающиеся на этапе
формирования государства нового типа. Трудовое законодательство выполняет в
обществе производственную и защитную функции, способствуя тем самым, с одной
стороны, правовому обеспечению развития экономики, а с другой - осуществлению
гарантий прав человека в сфере труда.
В лаборатории производятся исследования зависимости
прочности клеевых соединений от технологических параметров склеивания при
изготовлении верхней одежды. При исследовании используются электромеханическое
оборудование. По степени опасности поражения людей электрическим током в
окружающей среде, помещения подразделяются на три группы: помещения без
повышенной опасности; помещения с повышенной опасности; помещения особо
опасные. Испытательная лаборатория по всем параметрам относится к помещениям
без повышенной опасности, так как помещение отапливаемое, пыль образуется,
температура воздуха не выше 30°С, полы покрыты линолеумом, металлоконструкций,
имеющих заземление с землей в помещении нет.
По пожаро-взрывоопасности помещение относится к: по
пожароопасности к классу П-IIа -
помещение, в котором содержатся твёрдые горючие вещества, неспособные
переходить во взвешенное состояние; по взрывоопасности лаборатория относится к
зоне класса В -IIа - помещение, в
котором образование взрывоопасных смесей возможно лишь в результате аварии или
неисправности технологического оборудования.
По пожароопасности помещения и здания подразделяются
на пять категорий - А, Б, В, Г и Д. Категория определяется для наиболее
неблагоприятного в отношении пожара или взрыва периода исходя из вида
находящихся в аппаратах и помещениях горючих веществ и материалов, их
количества и пожарных свойств, особенностей технологического процесса. Помещение
лаборатории относится к категории В, разряду. Размер санитарно-защитной зоны - 50 метров с санитарной классификацией - V.
Так как в помещении лаборатории при проведение
испытаний выделяется вредные пыль и газ в воздух, то это следует учесть. Для
ограничения вредного воздействия на организм и самочувствие человека
предусматривается в соответствии с санитарными нормами предельно допустимые
концентрации (ПДК) пыли и газов в воздухе.
ПДК вредных веществ в рабочей зоне - это такие
концентрации, которые при ежедневной работе по 8 часов или при другой
продолжительности рабочего дня, но не более 40 часов в неделю в течение всего
рабочего стажа не могут вызвать заболеваний или отклонений в состоянии
здоровья.
Контроль за содержанием вредных веществ обязательно
производится по стандартным методикам. ПДК вредных веществ в воздухе рабочей
зоны приведены в СанПиН № 11-19-94 "Перечень регламентированных в воздухе
рабочей зоны вредных веществ", а также в ГОСТ 12.1.005 "ССБТ. Воздух
рабочей зоны. Общие санитарно-гигиенические требования".
К важным мероприятиям по оздоровлению воздушной среды
в рабочей зоне испытательной лаборатории относятся вентиляция и
кондиционирование воздуха.
Для поддержания в производственных помещениях постоянной
температуры, влажности и чистоты воздуха, независимо от атмосферных условий и
времени года применяется установка для кондиционирования воздуха.
Кондиционирование - это процесс автоматического
поддержания в производственном помещении определённых параметров воздушной
среды. При кондиционировании независимо от наружных метеорологических условий и
режима работы технологического оборудования в помещении поддерживаются
необходимые температура, относительная влажность, чистота, скорость движения
воздуха. Различают комфортное и технологическое кондиционирование воздуха. В
испытательной лаборатории комфортное кондиционирование воздуха.
Такая установка поддерживает в помещениях заданные
климатические условия, автоматически создает самостоятельный микроклимат, не зависящий
от внешней среды. При кондиционировании воздух нагревается или охлаждается до
нужной температуры, осушается и увлажняется, подвергается очистке от примеси
паров, газов или пыли. Воздуху, подаваемому на рабочие места, придается
определенная наиболее благоприятная скорость. В помещении, оснащенном
установкой для кондиционирования воздуха, двери и окна следует держать
закрытыми. Контроль и регулирование заданных расчетных параметров воздуха
проводиться автоматически. Баланс воздуха в помещении положительный. В
помещении лаборатории вентиляция выполнена приточно-вытяжной. Аварийная
вентиляция в помещении лаборатории служит для быстрого удаления из помещения
значительных объёмов воздуха с большим содержанием вредных веществ, поступающих
при нарушении технологического режима и авариях. Аварийная вентиляция, как
правило, проектируется вытяжной.
Метеорологические условия на производстве нормируются
такими нормативными документами, как СанПиН 9-80-98 "Гигиенические
требования к микроклимату производственных помещений" и ГОСТ 12.1.005 "ССБТ.
Воздух рабочей зоны. Общие санитарно-гигиенические требования".
Метеорологические условия характеризуются такими основными параметрами, как
температура, влажность, подвижность воздуха, и оказывают огромное влияние на
функциональную деятельность человека, его работоспособность и здоровье. В
основу нормирования метеорологических условий производственной среды положена
оценка метеорологических условий как оптимальных и допустимых в зависимости от
категории работ по тяжести, по периодам года, тепловой характеристики
производственного помещения. Параметры микроклимата для лёгкой категории работ
представлены в таблице 5.1 .
Таблица 5.1 - Параметры микроклимата
|
Период
|
Категория работ
|
Температура,°С
|
Относительная влажность, %
|
Скорость движения воздуха, м/с
|
|
Оптимальная
|
Допустимая на рабочем месте
|
Оптимальная
|
Допустимая на рабочем месте,
не более
|
Оптимальная
|
Допустимая на рабочем месте,
не более
|
|
Холодный
|
Легкая 1а
|
22-24
|
20-25
|
40-60
|
75
|
0,1
|
0,1
|
|
Теплый
|
Легкая 1 а
|
23-25
|
21-28
|
40-60
|
75
|
0,1
|
0,1-0,2
|
В лаборатории предусмотрена дежурно-водяная система
отопления и используется теплоноситель с горячей температурой на входе - (+96)
°С, на выходе - (+70)°С. Система отопления поддерживает в помещении
температуру, соответствующую гигиеническим требованиям охраны труда.
Класс помещения лаборатории по опасности поражения
электрическим током относится к помещениям с повышенной опасностю и категория
помещения по пожаро- и взрывоопасности - В, так как лаборатория имеет
электрооборудование с напряжением 220В/380 В.
Тип исполнения электрооборудования, установленного в
лаборатории, - П-1 закрытый. По классу защиты от поражения электрическим током
используется оборудование с классом защиты 01- электрооборудование, имеющее
рабочую изоляцию и электрическую для заземления (для присоединения к системе
защитного заземления), I -
электрооборудование, которое присоединено к системе питания 4-х жильным кабелем
и 4-х рожковой вилкой (жила кабельная и 1 ножка вилки является заземляющей).
Способ отключения электрооборудования от сети тройной: 1) ручной (кнопка "Стоп"),
2) автоматический, 3) общий рубильник.
При наличии дистанционного или автоматического
управления механизмами должна быть предусмотрена предварительная (перед пуском)
сигнализация или звуковое оповещение о предстоящем пуске. Такую сигнализацию и
такое оповещение не требуется предусматривать у оборудования, вблизи которых
установлен аппарат аварийного отключения. При наличии дистанционного или
автоматического управления испытательным оборудованием вблизи него должен
устанавливаться аппарат аварийного отключения, исключающий возможность
дистанционного или автоматического пуска оборудования до принудительного
возвращения этого аппарата в исходное положение.
Органы управления оборудования снабжены надписями или
символами, указывающими управляемый объект, к которому они относятся, его
назначение и состояние ("Включено", "Отключено", "Ход",
"Тормоз" и т.п.) соответствующее данному положению органа управления.
У оборудования, имеющего несколько органов управления, для осуществления одной
и той же операции с разных постов, должна быть исключена возможность
одновременного управления с различных постов. Кнопки аварийного отключения
должны выполнятся без блокировки. Орган управления, которым осуществляется
остановка, должен быть выполнен из материала красного цвета. Орган управления,
которым осуществляется пуск (включение), должен иметь ахроматическую расцветку
(чёрную, серую или белую). Допускается выполнять этот орган зелёного цвета.
Рукоятки автоматических выключателей допускается выполнять жёлто-коричневого
цвета.
Электрозащитные средства по характеру их применения
подразделяются на две категории: средства коллективной защиты, средства
индивидуальной защиты.
Испытательная лаборатория укомплектована
диэлектрическими ковриками, как средством коллективной защиты от поражения
электрическим током, а также плакатами и знаками безопасности. Для защиты людей
от поражения электрическим током при повреждении изоляции должна быть применена
одна из следующих защитных мер: заземление, зануление, защитное отключение,
двойная изоляция, малое напряжение. Тип защитного заземления, используемый в
лаборатории - контурный. К частям, подлежащим занулению или заземлению,
относят: корпуса электрических машин, трансформаторов, светильников и т.п.;
приводы электрических аппаратов; вторичные обмотки измерительных
трансформаторов; металлические конструкции распределительных устройств,
металлические кабельные конструкции и т.п.; металлические корпуса передвижных и
переносных электроприёмников; электрооборудование, размещённое на движущихся
частях станков, машин, механизмов. Сопротивление заземляющего устройства должно
быть не более 4 Ом и 8 Ом соответственно при линейных напряжениях 380В и 220 В.
Сопротивление изоляции токоведущих частей должно быть не менее 0,5 МОм.
Статическое электричество – это возникновение и
сохранение электрических зарядов на поверхности и в объёме диэлектрических и
полупроводниковых веществ, а также на изолированных проводниках.
Возникновение зарядов статического электричества в
лаборатории незначительное. Так как в испытательной лаборатории есть
технологические операции (дублирование деталей одежды на дублирующих прессах),
способствующие накоплению зарядов статического электричества, поэтому в
помещении рекомендовано с помощью кондиционирования воздуха поддерживать
влажность порядка 65%-70% ,что гарантирует отвод зарядов статического
электричества.
На оборудовании, установленном в лаборатории, все
выступающие и движущиеся части имеют ограждения, которые в свою очередь, имеют
блокировки, исключающие работу оборудования при снятом ограждении.
В лаборатории используются следующие виды знаков:
указательные, предписывающие, запрещающие. Все движущиеся части окрашены в
желтый цвет, ограждение внутри окрашено в красный цвет. Кнопки "Стоп"
красного цвета выполнены в виде грибка. Каждая единица оборудования имеет
инструкцию по эксплуатации, которая вывешена непосредственного на рабочем
месте. Все электрооборудование, электрощиты соответственно замаркированы (знак
в виде молнии). В лаборатории имеется набор знаков безопасности, таких как: "Не
включать", "Высокое напряжение" и т.п..
Шум и вибрация являются результатом колебаний тел,
передаваемых непосредственно телами через газообразные, жидкие и твердые среды.
Шум и вибрация отличаются друг от друга лишь частотой этих колебаний и тем, что
они по-разному воспринимаются человеком. Колебания с частотой 20 Гц -20000 Гц,
передаваемые через газообразную среду, называются звуками, а беспорядочное
сочетание разнообразных звуков представляет собой шум. Колебания менее 20 Гц,
называются инфразвуками, а выше 20000Гц - ультразвуками. Они органами слуха
человека не воспринимаются, однако оказывают на него влияние. Колебания твердых
тел, передаваемые через твердые тела (машины, строительные конструкции и т.п.),
называются вибрацией.
Шум представляет собой беспорядочное сочетание
разнообразных звуков. Колебания источника звука приводят к попеременному сжатию
и разряжению воздуха и возникновению вследствие того волн, распространяющих от
источника звука во все стороны. Условно принято все шумы делить на:
низкочастотные - с частотой колебаний не более 350 Гц, среднечастотные - от 350
Гц до 800 Гц и высокочастотные - более 800 Гц. Нормируемые среднегеометрические
частоты при вибрации (63, 125, 250, 500, 1000, 7000, 4000, 8000) Гц.
Лаборатория относится к помещениям с низкочастотными шумами. Допустимый уровень
звукового давления в помещении 65дБ. Для уменьшения уровня шума всё
оборудование регулярно смазывается, по мере возможности подшипники качения
заменены на подшипники скольжения. В качестве средств индивидуальной защиты
используются ушные втулки.
Вибрация – это механические колебания в области
инфразвуковых и частично звуковых частот. Классификация методов и средств
вибрационной защиты приведена в ГОСТ 12.4.046 "ССБТ. Методы и средства
вибрационной защиты. Классификация". Вибрация распространяется по всему
телу человека в связи с тем, что ткани тела человека и особенно костная ткань
обладают хорошей проводимостью механических колебаний. Вибрация оказывает опасное
действие на отдельные органы и организм человека в целом, вызывая вибрационную
болезнь, относящуюся к профессиональным заболеваниям. Нормируемые
среднегеометрические частоты при вибрации: 63, 125, 250, 500, 1000, 2000, 4000,
8000 Гц. Что касается вибрации, то в лаборатории она, как опасный фактор
отсутствует. Для гарантии всё оборудование установлено на резинометаллические
амортизаторы.
В помещении лаборатории используется естественное и
искусственное освещение, которое используется в разное время суток.
Естественный свет, источником, которого является солнце, проникает внутрь
помещения через окна, расположенные в боковых стенах. Не менее двух раз в год
окна должны подвергаться очистке, при этом один раз осенью обязательно.
Искусственное освещение применяется при недостаточном естественном освещении и
подразделяется на рабочее и аварийное. Рабочее освещение может быть общим и
комбинированным. В нашем случае используется комбинированное освещение, то есть
общее освещение плюс местное. Для общего освещения используются светильники с
лампами люминесцентными типа ЛБ-65, мощность лампы-80 Вт. В качестве местного
освещения используются бытовые настольные светильники, крепящиеся к столам,
источником света является лампа накаливания мощностью 60 Вт. Норма освещенности
в помещениях лаборатории согласно СНБ 2.04.05-98 "Естественное и
искусственное освещение" при высокой точности зрительной работы III-А для комбинированного освещения 500
лк. Аварийное освещение нам необходимо только на случай эвакуации, либо чрезвычайных
ситуаций, так как наш производственный процесс не является непрерывным, нужно
осветить только лестничные марши, площадки, коридоры на пути эвакуации. Для
этого достаточно освещенности в 20 лк. Количество эвакуационных выходов -
четыре. Расстояние от наиболее удаленного рабочего места до эвакуационного
выхода - не более 50 метров.
Здание, в котором находится лаборатория II степени огнестойкости, стены
кирпичные, перекрытия выполнены железобетонными плитами, кровля из битумно-полимерного
материала "Изопласт" марок "К" и "П".
Огнестойкость стен - 2 часа, перекрытий - 0,75 часа. Внутри здания на каждом
этаже расположено по 2 пожарных крана. Лаборатория обеспечена первичными
средствами пожаротушения: огнетушитель ОХП-10, огнетушитель ОУ-2-1, вода и
песок в емкостях. Извещатель о пожаре - телефон.
Категории молниезащиты здания III тип молнееприёмника металлическая сетка,
сопротивление заземляющего устройства при молнеезащите не менее 10 Ом.
5.2 Промышленная экология
Проблема ухудшения экологической ситуации в Беларуси с
каждым годом становится все более актуальной. С развитием рыночных отношений и
промышленности увеличивается количество промышленных отходов, что, к сожалению,
сопровождается нарушением экологического равновесия в нашей стране. Научно -
технический прогресс поставил перед человечеством ряд новых, весьма сложных
проблем, с которыми оно до этого не сталкивалось вовсе, или проблемы не были
столь масштабными. Ухудшилось состояние окружающей среды: стойкое увеличение
индекса загрязнения вод по всем рекам республики, техногенная деградация
ландшафтов, загрязнение воздушного бассейна, почв, радиоактивное загрязнение,
оскудение биологического разнообразия и т.д. Изменения окружающей среды под
воздействием человека стали всемирными, то есть затрагивающими все без
исключения страны мира, поэтому их стали называть глобальными. Дальнейшее
ухудшение состояния окружающей среды может привести к отрицательным
последствиям для человечества. Поэтому охрана природы и рациональное использование
природных ресурсов является одной из важнейших экономических и социальных задач
современного общества.
Основное направление её решения - создание
экологически безопасных, малоотходных и безотходных производств, органически
вписывающихся в природные системы и отличающихся высокой степенью
инженерно-экологического совершенства. Важной организационно-правовой формой
контроля в области природопользования и охраны окружающей среды является
экологическая экспертиза. В настоящее время все проекты на строительство и
реконструкцию лабораторий подвергаются экологической экспертизе и не
утверждаются без решения всех вопросов охраны окружающей среды в соответствии с
современным уровнем развития науки и техники. Законами Республики Беларусь "О
государственной экологической экспертизе" (1993) и "О внесении
изменений и дополнений в Закон Республики Беларусь "О государственной
экологической экспертизе" (2000) определяются цели экспертизы, её место в
системе принятия решений, устанавливается новый порядок организации и
проведения экспертизы, оговариваются права и обязанности сторон. Проведение
государственной экологической экспертизы возложено на органы Министерства
природных ресурсов и охраны окружающей среды, а также на специализированные
инспекции по государственной экологической экспертизе. 12 ноября 1998 г. Постановлением главного государственного санитарного врача Республики Беларусь №32 было
утверждено "Положение о порядке осуществления государственной
гигиенической регламентации и регистрации химических и биологических веществ,
материалов и изделий из них, продукции производственно-бытового назначения,
продуктов питания на территории Республики Беларусь".
Согласно Положению, Государственная гигиеническая
регламентация - определение порядка производства и применения продуктов,
веществ, материалов на основе результатов проведенных токсиколого-гигиенических
исследований или научного анализа имеющейся в достаточном объёме информации,
включая разрешение, ограничение или запрещение производства и применения,
установление предельно допустимых уровней содержания, воздействия вредных
веществ, факторов в различных объектах окружающей среды и методов контроля с
целью предотвращения неблагоприятного влияния их на здоровье человека.
Государственная гигиеническая регистрация - система
учёта продукции, производимой в Республике Беларусь или поступившей из-за её
пределов, реализуемой и применяемой в народном хозяйстве и в быту, которая на
основании экспертной оценки документации и лабораторных исследований признана
соответствующей требованиям гигиенической безопасности, установленным
нормативным документам. Государственной гигиенической регистрации подлежит
продукция в соответствии с перечнем, утвержденным постановлением главного
государственного санитарного врача Республики Беларусь на основании действующих
законодательных актов и правительственных постановлений. Для предотвращения
загрязнения окружающей среды при потреблении товаров, а также обеспечения
безопасности среды для человека осуществляется экологическая экспертиза.
Экологическая экспертиза товаров - оценка экспертом
вредного воздействия, которое оказывают товары на окружающую среду.
Экологическими показателями, т.е. количественной и качественной характеристикой
степени вредного воздействия товаров на окружающую среду, могут служить состав
и количество вредных веществ, выделяемых товарами при их производстве,
эксплуатации или утилизации и создающих химическое загрязнение окружающей
среды, а также механическое и химическое разрушение окружающей среды под
воздействием товаров. После проведения экспертизы выдается заключение
экологической экспертизы - документ, подготовленный экспертной комиссией,
содержащий обоснованные выводы о допустимости воздействия на окружающую
природную среду хозяйственной или иной деятельности либо других объектов
экспертизы и о возможности их реализации, одобренной большинством списочного
состава экспертной комиссии. Целью санитарно-гигиенической экспертизы является
подтверждение безопасности товаров для потребителей. Объектами
санитарно-гигиенической экспертизы являются товары, услуги, процессы, а также
факторы, обеспечивающие безопасность в течение всего жизненного цикла товара. В
этом случае объектами санитарно-гигиенической экспертизы могут быть сырьё,
технологические процессы производства, хранения, реализация, включая
технологическое и торговое оборудование, транспортные средства,
производственный и обслуживающий персонал.
Гигиеническая экспертиза - оценка экспертами
соответствия сырья, продукции и упаковки установленным гигиеническим
требованиям для обеспечения безопасности товаров для жизни, здоровья и
имущества граждан. После проведения гигиенической экспертизы выдается
гигиеническое заключение (сертификат) - технический документ о соответствии
продукции (товара) гигиеническим требованиям безопасности. Сертификат является
обязательным документом при постановке на производство продукции, для
импортируемых товаров при пересечении таможенной границы. Основанием для выдачи
гигиенического заключения является протокол испытания, содержащий данные о
действительных значениях показателей безопасности. Гигиенический сертификат не
заменяет сертификат соответствия, а может служить лишь основанием для его
выдачи.
Технический кодекс установившейся практики ТКП
5.1.07–2004 "Национальная система подтверждения соответствия.
Экологическая сертификация. Основные положения" устанавливает основные
положения проведения работ по экологической сертификации, основные цели,
задачи, объекты, организационную структуру подсистемы, определяет основные
принципы и правила организации работ по экологической сертификации, функции её
органов. Экологическая сертификация - деятельность по подтверждению
соответствия объекта сертификации природоохранным требованиям, установленным
действующим законодательством Республики Беларусь. При положительном заключении
выдается экологический сертификат соответствия - документ установленной формы,
выданный по правилам экологической сертификации для подтверждения соответствия
объекта сертификации требованиям охраны окружающей среды.
Объектами экологической сертификации являются:
продукция, способная оказывать вредное воздействие на окружающую среду, жизнь и
здоровье населения; системы управления окружающей средой производственных,
опытно-экспериментальных и других объектов, предприятий и организаций;
территории.
Следует отметить, что актуальной сферой по-прежнему
остаются отходы. Сертификация в этой области направлена на устранение опасного
влияния отходов на среду обитания и максимальное их использование в качестве
вторичного сырья.
Эффективность сертификации напрямую зависит от
критериев безвредности продукции, услуг, процесса и др. Критерии экологической
сертификации должны превосходить по своей сущности параметры экологичности,
содержащиеся в стандартах и определить такие критерии можно на основе широких
маркетинговых исследований, которые позволяют установить критерии для каждой
конкретной группы товаров. Схемы экологической сертификации основаны на схемах,
принятых в ИСО, дополненных применением заявления об экологическом соответствии
продукции, и учитывают модульный подход оценки соответствия природоохранным
методом.
Предприятиям и организациям предоставляется право
маркировать свою продукцию знаком экологически чистой продукции продукцию,
тару, упаковку и т.п. Стандарт ЭКО-ТЕКС 100 предусматривает маркирование
продукции, удовлетворяющей всем требованиям этого стандарта, этикеткой с
надписью "Текстиль, заслуживающий доверия. Проверенный на содержание
вредных веществ текстиль".
Система управления охраной труда (СУОТ) организации
предполагает разработку в организации политики в области охраны труда, которая
должна:
- соответствовать характеру и масштабу рисков
организации;
- включать обязательство руководства организации по
постоянному ее улучшению;
- включать обязательство подчиняться действующему
законодательству по охране труда и другим требованиям, которые распространяются
на организацию;
- быть документально оформленной, осуществимой и ее
следует придерживаться;
- быть доведена до сведения всех работников с тем, чтобы
каждый из них знал и исполнял свои индивидуальные обязанности;
- быть доступной для заинтересованных сторон;
- периодически проверяться на соответствие целям и
задачам организации.
Основные требования к СУОТ установлены в СТБ
18001-2005, в соответствии с которым организация должна разработать, внедрить и
поддерживать в рабочем состоянии документально оформленные цели в области
охраны труда на каждой соответствующей ступени и уровне в пределах организации. Для достижения своих целей организация должна разработать,
внедрить и поддерживать в рабочем состоянии программы управления охраной труда.
Организация должна разработать, внедрить и
поддерживать в рабочем состоянии процедуры для определения ответственности и
полномочий за:
- устранение и расследование несчастных случаев,
инцидентов, несоответствий;
- проведение действий по ослаблению последствий
несчастных случаев, инцидентов или несоответствий;
- инициирование и завершение корректирующих и
предупреждающих действий;
- подтверждение эффективности предпринятых
корректирующих и предупреждающих действий.
Руководство организации должно через определенные
промежутки времени анализировать систему управления охраной труда с целью
обеспечения непрерывного соответствия, пригодности и эффективности.
Система управления окружающей средой (СУОС) - часть общей системы
административного управления, которая включает в себя организационную
структуру, планирование, ответственность, методы, процедуры и ресурсы,
необходимые для разработки, внедрения, реализации, анализа и поддержания
экологической политики. Основными принципами СУОС являются:
- организация должна определить свою экологическую
политику и принять на себя обязательства в отношении СУОС;
- организация должна разработать план реализации своей
экологической политики, т.е. определить целевые и плановые показатели своей
деятельности в области охраны окружающей среды;
- с целью эффективной реализации организация должна
создать возможности и разработать механизмы поддержки, необходимые для осуществления
своей экологической политики и достижения целевых и плановых показателей;
- организация должна проводить измерения, контроль и
оценку своей экологической эффективности;
- организация должна анализировать и постоянно
улучшать свою СУОС с тем, чтобы повышать общую экологическую эффективность.
Требования к СУОС, определенные ИСО, соответствуют
тому минимально необходимому уровню, который обязателен для предприятий, фирм,
организаций, пытающихся выйти на международный рынок.
Заключение
Выполненная дипломная работа ставила
целью исследование зависимости прочности склеивания при дублировании материалов
для верхней одежды от технологических параметров дубления. Прочность склеивания
– основной показатель качества клеевых соединений. Для достижения оптимальной
прочности склеивания ориентироваться только на норму прочности недостаточно,
так как прочность склеивания является неустойчивой величиной и в процессе
эксплуатации изделий обычно снижается. Вследствие этого при дублировании
материалов желательно создать определённый резерв прочности клеевого
соединения, который без ущерба качеству мог бы расходоваться на различного рода
потери при эксплуатации.
Операция дублирования характеризуется
тремя основными параметрами: температурой, давлением и длительностью
прессования.
Температура дублирования (температура
подушки пресса) – температура, при достижении которой термопластичный клей
переходит в вязко-текучее состояние, проникает в склеиваемые материалы на
некоторую часть их толщины, где затем при охлаждении закрепляется с
образованием клеевого соединения. Время склеивания – время от закрытия плитного
пресса до его открытия, или, для пресса непрерывного действия, - время от
момента входа в поле нагрева до выхода из него. Давление – параметр,
определяющий нажим, осуществляемый верхней плитой на единицу её поверхности
Проведенными исследованиями установлено, что факторы давления и
температуры оказывают большое воздействие на показатель прочности склеивания,
поэтому их нужно постоянно контролировать на швейных фабриках.
Повышение температуры и давления
дублирования ведёт к увеличению связей между звеньями мономеров адгезива и
субстрата и способствует образованию более прочных и устойчивых к различного
рода эксплуатационным воздействиям клеевых соединений.
Проведено исследование на зависимость величины нагрузки расслаивания
клеевого соединения от скорости расслаивания, по результатам можно сделать
вывод, чем больше скорость расслаивания, тем больше получатся величина
нагрузки. Для получения данных по нагрузке достаточно небольшая скорость
расслаивания в пределах от 80 до 300 мм/мин.
Разработана методика экспресс оценки прочности клеевого соединения на
спроектированном и разработанном тестере. По результатам исследования влияния
скорости расслаивания на нагрузку расслаивания установлена оптимальная скорость
расслаивания, равная 100 мм/мин.
При анализе размерностей для исследования прочности склеивания от
определяющих факторов установлено, что, теоретически, увеличение времени
дублирования должно способствовать уменьшению прочности склеивания. Однако на
швейных предприятиях увеличение данного параметра дублирования приведёт к
снижению производительности труда.
Для выбора оптимального режима дублирования необходимо иметь следующие
данные: вид изделия, способ ухода за ним , волокнистый состав (в частности ,
температура плавления волокон), тип основы прокладочного материала, марка клея
(в частности, температура плавления клея), способ нанесения клеевого покрытия.
В ходе дипломной работы производился анализ рынка дублирующих материалов
Республики Беларусь. Данные исследования позволяют выявить основных
производителей термоклеевых прокладочных материалов, определить уровень цен на
различные термоклеевые прокладочные материалы. Принимая во внимания наличие
большого количества швейных предприятий в Республике Беларусь можно
предположить наличия достаточно устойчивого спроса на этот вид материалов.
Охрана труда – это система обеспечения безопасности жизни и здоровья
работников в процессе трудовой деятельности, включающая правовые, социально-экономические,
организационные, технические, психофизические, санитарно-гигиенические,
лечебно-профилактические, реабилитационные и иные мероприятия и средства.
Важнейший социальный эффект реализации мер по охране труда – сохранение
жизни и здоровья работающих.
Здоровье и безопасные условия труда способствуют повышению
производительности труда, удовлетворенностью работников своим трудом, созданию
хорошего психологического климата в трудовых коллективах, что ведет к снижению
текучести кадров, созданию стабильных трудовых коллективов.