Сучасний технологічний розвиток на рівні машинобудівельного підприємства

  • Вид работы:
    Реферат
  • Предмет:
    Технология машиностроения
  • Язык:
    Русский
    ,
    Формат файла:
    MS Word
    964,88 kb
  • Опубликовано:
    2010-11-17
Вы можете узнать стоимость помощи в написании студенческой работы.
Помощь в написании работы, которую точно примут!

Сучасний технологічний розвиток на рівні машинобудівельного підприємства

Зміст

Вступ

1. Прогресивні технології при обробці заготовок

1.1 Електрохімічне полірування

2. Автоматизація виробництва як вищий етап технологічного розвитку підприємства

3. Поняття гнучких виробничих систем

4. Поняття науково-технічної підготовки сучасного виробництва

5. Оцінка та вибір технологічних рішень на підприємстві

Завершення

Література


Вступ


Тема реферату "Сучасний технологічний розвиток на рівні машинобудівельного підприємства".

В металообробці часто виникають проблеми, пов'язані з обробкою матеріалів і деталей, форму і стан поверхневого шару яких важко або й неможливо одержати механічними способами. Є матеріали дуже міцні, в'язкі, крихкі, тверді. Іноді потрібно обробляти тонкостінні деталі, одержувати дуже малі отвори, з криволінійною віссю, вузькі щілини, пази. Часто потрібно провести напилення дуже тонким і точним шаром. Такі проблеми розв'язують завдяки застосуванню прогресивних технологій. Серед цих технологій дуже ефективними є електрохімічні й електрофізичні способи обробки. Для їх проведення використовують електричну, хімічну, світлову, звукову, променеву та інші види енергії. Силові навантаження або зовсім відсутні, або надзвичайно малі. Такі методи не тільки дають змогу змінювати форму, вони впливають на стан поверхневого шару заготовки. При цьому підвищується міцність, зносостійкість, корозійна стійкість та інші експлуатаційні характеристики. Процеси, як правило, прості, що забезпечує їх точне регулювання й автоматизацію. Такі методи обробки універсальні і безперервні, дають змогу виконувати одночасне формоутворення всіх оброблюваних поверхонь.

Мета написання реферату - ознайомлення з сучасним технологічним розвитком на рівні машинобудівельного підприємства.

1. Прогресивні технології при обробці заготовок


1.1 Електрохімічне полірування


Процес належить до електрохімічної обробки. Така обробка ґрунтується на законах анодного розчинення при електролізі. При проходженні постійного електричного струму через електроліт на поверхні заготовки, що увімкнена в електричне коло і є анодом, проходять хімічні реакції і поверхневий шар металу перетворюється на хімічну сполуку. Продукти електролізу переходять у розчин або видаляються механічним способом.

При електрохімічному поліруванні оброблювану заготовку 2 (рис.1) підмикають до аноду. Катодом є металева пластинка 3 виготовлена зі свинцю, молібдену, міді або сталі. Електролітом є розчин лугу або кислоти. Для більшої інтенсивності процесу електроліт 4 підігрівають до температури 40-80°С. При подачі напруги на електроди проходить процес окислення на аноді (заготовка розчиняється). Розчинення проходить головним чином на виступах 5 мікронерівностей поверхні внаслідок більш високої щільності струму на їх вершинах. Крім того, впадини 6 між мікровиступами заповнюються продуктами розчинення. Мікронерівності вирівнюються, і оброблювана поверхня полірується.

Техніко-економічні показники.

Електрохімічне полірування поліпшує електрофізичні показники деталі, оскільки зменшується глибина мікротріщин, поверхневий шар деталі не деформується, виключається зміцнення і термічні зміни структури, підвищується корозійна стійкість.

Можна одночасно обробляти партію деталей на всіх їх поверхнях, що забезпечує високу продуктивність процесу. Таким способом декоративно обробляють деталі, очищають їх, виготовляють фольгу, тонкі листи, доводять робочі поверхні різальних інструментів. Процес проходить при невисоких температурах.

Рис.1. Схема електрохімічного полірування

Електрохімічна розмірна обробка.

Схему обробки показано на рис.2.

Через міжелектродний простір (щілину), утворений оброблюваною заготовкою-анодом 2 та інструментом-катодом 1 безперервно під тиском подається електроліт. Він розчиняє утворені на заготовці-аноді солі і видаляє їх із зони обробки. При цьому одночасно обробляється вся поверхня заготовки, що знаходиться під активною дією катода. Інструмент-катод має форму, обернену до форми оброблюваної поверхні. Ділянки заготовки, які не потребують обробки, ізолюються. Електроліт є таким, щоб інструмент не зношувався (нейтральним).

Техніко-економічні показники.

Розглянутий процес відзначається високою продуктивністю і точністю обробки. Точність обробки підвищується при зменшенні щілини між інструментом та заготовкою. Цим способом обробляють заготовки із високоміцних сплавів, карбідних і важкооброблюваних матеріалів.

Рис.2. Схема електрохімічної розмірної обробки

Можна обробляти тонкостінні деталі й одержувати високу точність розмірів і малу шорсткість поверхонь (штампи, прес-форми, турбінні лопатки). Можна одержувати наскрізні циліндричні отвори.

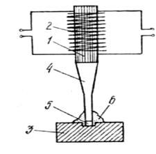
Ультразвукова обробка.

Така обробка ґрунтується на руйнуванні поверхні заготовки абразивними зернами від ударів інструмента, який коливається з ультразвуковою частотою. Для ультразвукової обробки застосовують спеціальні верстати, частиною яких є вібратори з феромагнітного матеріалу - нікелю, пермалою (нікель із залізом), та ін.

Вібратор 1 (рис.3) виготовлено з тонких пластин феромагнітного матеріалу.

Рис.3. Схема ультразвукової обробки

Його розміщують в обмотці збудження 2, ультразвукової під'єднаний до генератора частоти. Електромагнітні коливання генератора перетворюються на механічну вібрацію з амплітудою 0,1 - 0,12 мм. Далі вібрація через концентратор (стержень) 4 передається інструменту 5. Робочий торець інструмента виготовлений за формою отвору заготовки 3. В зону обробки підводиться струмінь рідини 6 в суміші з абразивним пилом (алмазний пил, карбокорунд, карбід бору). Енергія коливання інструмента передається абразивним частинкам. Вони набувають великих прискорень і вдаряються по оброблюваній поверхні з силою, яка в десятки тисяч разів перевищує їх масу. Матеріал заготовки руйнується.

Техніко-економічні показники.

За допомогою ультразвукової обробки можна свердлити отвори дуже малих діаметрів, з криволінійними осями, нарізати канавки, пази, різьбу у твердих сплавах, загартованих сталях, у кварцах, алмазах, склі та ін. Можна проводити чистову обробку (шліфування, полірування). Оброблені деталі відзначаються високою точністю розмірів і малою шорсткістю поверхонь. Для підвищення цих показників потрібно використовувати абразиви меншої зернистості. Використовуючи мікропорошки, можна довести шорсткість поверхні до шорсткості полірування.

Процес високопродуктивний. Так, в порівнянні з обробкою різанням продуктивність ультразвукової обробки підвищується в 10-20 разів. При цьому економія матеріалу становить 20-50%.

Плазмова обробка.

Суть цього методу обробки полягає в тому, що плазму (повністю іонізований газ) з температурою 10000-30000°С направляють на оброблювану поверхню заготовки.

Плазму одержують в плазмотронах (рис.4). Дуговий розряд 3 виникає між вольфрамовим електродом 5 і мідним електродом 4.

Електрод 4 виконано у вигляді труби, він охолоджується нротічною водою. У трубу подають газ (аргон, азот або їх суміш). Обтискаючи дуговий розряд, газ при з'єднанні з електронами іонізується та із сопла плазмотрона виходить у вигляді яскравого потоку 2, який направляють на оброблювану заготовку 1.

Можна проводити плазмове напилення. Для цього в камеру плазмотрона подають порошкоподібний конструкційний матеріал (і одночасно інертний газ), який у вигляді плазми направляють на заготовку. Відбувається нарощування металу. За допомогою спеціальних систем плазму на заготовці можна переміщувати.

Техніко-економічні показники.

За допомогою плазми можна обробляти будь-які матеріали - тверді сплави, загартовані сталі, скло, природні камені, алмази та ін. Можна проводити різні операції - точіння, стругання, свердління та ін. Процес високопродуктивний. Впровадження обладнання для плазмового різання і механічної обробки деталей сприяє підвищенню продуктивності праці в 5-10 разів. Можна обробляти заготовки дуже складних форм, тонкостінні.

Рис.4. Схема плазмової головки

Процес високоавтоматизований - спеціальні пристрої стежать за процесами обробки, нарощування покриття і автоматично відключають систему, коли деталь готова.

2. Автоматизація виробництва як вищий етап технологічного розвитку підприємства


Автоматизація виробництва - основа розвитку сучасної промисловості, генеральний напрямок технологічного розвитку. Розвиток автоматизації - довготривалий еволюційний процес - історично здійснюється на основі механізації. Автоматизація вимагає підвищення технічного й організаційного рівня виробництва на всіх його етапах. Вимагається чіткість і безперебійність роботи від усіх ланок виробництва. Розрізняють часткову, комплексну і повну автоматизацію виробництва.

Часткова автоматизація виробництва передбачає автоматизацію окремих операцій, процесів, що здійснюються в тих випадках, коли керування ними є недоступним (вони складні, швидкоплинні). Частково автоматизується, як правило, діюче виробниче обладнання. Часткова автоматизація найбільш ефективна тоді, коли виробниче обладнання розробляють одразу як автоматизоване.

При комплексній автоматизації виробництва дільниця, цех, підприємство функціонують як єдиний автоматизований комплекс. Вона охоплює всі основні виробничі функції підприємства. Така автоматизація ефективна лише при високорозвиненому виробництві на базі досконалих технологій і прогресивних методів роботи та управління. Функції людини при цьому обмежуються лише загальним контролем і керуванням роботою комплексу.

Повна автоматизація виробництва передбачає передачу всіх функцій управління і контролю комплексно-автоматизованим виробництвом автоматичним системам управління. Вона проводиться тоді, коли автоматизоване виробництво рентабельне, стійке, його режими практично незмінні, можливі відхилення завчасно можуть бути враховані, а також в умовах складних та небезпечних для життя і здоров'я людей. На машинобудівних підприємствах є великі можливості для застосування різних засобів і методів автоматизації. Автоматизують окремі механізми машин і обладнання, створені нові автоматизовані верстати, які частково або повністю викопують технологічні операції в автоматичному режимі, автоматизують процеси виготовлення заготовок, їх обробки, складання машин і цілі виробничі комплекси.

Верстати напівавтомати.

Це машини, що виконують виробничий цикл в автоматичному режимі, але для його повторення потрібне втручання робітника. Робітник закріплює заготовку, включає і виключає верстат, знімає готову деталь, проводить контроль.

Верстати автомати.

Це самокеруюча машина, що автоматично проводить всі роботи, крім контролю і налагодження. На автоматах можна обробляти одну або декілька заготовок одночасно. Робітник може обслуговувати декілька таких машин.

Агрегатні верстати.

Спеціальні верстати, що компонуються із нормалізованих стандартних складових частин - агрегатів - уже готових і перевірених у роботі. На агрегатному верстаті за одну операцію обробляють багато поверхонь. Обробку ведуть при нерухомій заготовці одночасно декількома інструментами, які виконують свердління, розточування, зенкерування, розвертання, фрезерування, підрізування, різьбонарізання. Агрегатні верстати високопродуктивні, менш трудомісткі у виготовленні, універсальні. Вони можуть легко переналагоджуватися на виготовлення інших деталей. Застосування агрегатних верстатів дає змогу найбільш раціонально організувати випуск виробів, знизити їх собівартість, забезпечити ефективну їх експлуатацію та ремонт.

Автоматичні лінії.

Це групи верстатів і транспортних пристроїв, що автоматично виконують в технологічній послідовності цикл операцій по обробці заготовок. Заготовки потоком з єдиним темпом автоматично обробляються і переміщуються від одного верстату до іншого. Такі лінії найчастіше складають з агрегатних і спеціальних верстатів, автоматів, напівавтоматів, універсальних верстатів для обробки однотипних деталей.

Дуже часто в промисловості застосовують роторні автоматичні лінії. Вони включають завантажувальні, розвантажувальні і робочі ротори, які зв'язані єдиним технологічним процесом. На таких лініях інструмент і деталь одночасно переміщуються в процесі обробки і обертаються навколо центральної осі. Заготовки тут послідовно передаються від одного ротора на другий. При цьому вони рухаються по хвилястій кривій. Роторні лінії займають значно меншу виробничу площу, їх продуктивність не залежить від тривалості виконуваних операцій.

Існують комплексні автоматичні лінії, в які крім верстатів входить ливарне, термічне, зварювальне, складальне та інше устаткування.

Недоліком автоматичних ліній є те, що використання їх є ефективним лише в масовому виробництві.

Обробні центри.

Так називають верстати, де максимально сконцентровані в єдиному агрегаті операції для обробки заготовок. Це не верстат, це мініатюрний заводський цех. Верстат оснащений ЕОМ і програмами, які легко і швидко можна змінювати на обробку інших заготовок. Вони мають магазини, в яких зберігаються комплекти інструментів (до 60 шт.), потрібних для обробки та механізми для автоматичної зміни інструментів. На цих верстатах виконуються операції свердління, розточування, зенкерування, розвертання, фрезерування, різьбонарізання та ін. За одне встановлення повністю обробляється заготовка. В таких верстатах вирішені складні завдання - автоматизація обробки заготовок, заміна заготовок та інструментів, контроль за обробкою заготовки і роботою інструментів.

Застосування обробних центрів сприяє зменшенню числа верстатів, економії виробничих площ, зменшенню обслуговуючого персоналу. Забезпечується висока точність і надійність обробки.

Техніко-економічні показники.

Автоматизація забезпечує досягнення високої продуктивності виробництва "і якості виготовленої продукції, поліпшення умов праці. Підвищується ефективність виробництва, створюються умови для оптимального використання всіх ресурсів виробництва. При визначенні ступеня автоматизації враховується її економічна ефективність і доцільність в умовах конкретного виробництва. Праця людей отримує нові якості, стає більш складною і змістовною. Центр тяжіння в трудовій діяльності людини переміщується на технічне обслуговування машин-автоматів. їх діяльність стає більш аналітичною. Робота однієї людини стає такою ж важливою, як і робота цілого підрозділу.

Рівень автоматизації виробництва визначається відношенням часу автоматизованої роботи до загального часу, необхідного для виконання даної роботи. Це кількісна оцінка. Для оцінки якісних результатів використовують показники соціально-економічної ефективності - зниження собівартості, підвищення продуктивності тощо.

Досвід підприємств та галузей в області автоматизації показує, що застосування нових методів обробки значно підвищує її економічну ефективність. Якщо автоматизується виробництво і одночасно впроваджуються нові прогресивні технології, які замінюють традиційні, ефективність підвищується в 4-5 разів і більше. Нові прогресивні технології в умовах автоматизації ведуть до різкого підвищення продуктивності праці.

3. Поняття гнучких виробничих систем


Найбільш розповсюдженим типом виробництва є серійний. Щоб в умовах серійного виробництва мати можливість швидкого переналагодження обладнання, автоматичні лінії замінюють гнучкими автоматичними системами. Вони організовуються на базі обладнання керованого ЕОМ за допомогою програм. Зміна програм проводиться досить просто і швидко, при цьому обладнання швидко переналагоджується на обробку іншої заготовки. Гнучкими можуть бути лінія, дільниця, цех, завод. Всі елементи виробництва керуються єдиною системою. Погоджено, в автоматичному режимі, працюють транспортні пристрої, склади заготовок і деталей, система зміни і встановлення інструментів та ін.

Складність і багатогранність проблем створення ГВС призводить до того, що технічне переозброєння машинобудівних підприємств на основі ГВС вимагає значних трудових і капітальних затрат. Тому дуже важливе значення має підвищення якості й оптимальності прийнятих проектних рішень. Вони мають забезпечувати досягнення найвищих техніко-економічних і експлуатаційних показників функціонування ГВС.

Проблеми створення ГВС не повинні розглядатися самостійно з відривом від загальних концепцій сучасного розвитку і вдосконалення виробничих систем машинобудівних підприємств. Створення ГВС є важливим, але лише одним із напрямків в загальному обсязі робіт щодо вдосконалення і комплексної автоматизації в усіх сферах виробничої діяльності підприємства. Тому методологія технологічної підготовки і створення ГВС має бути невіддільною складовою частиною єдиної системи технологічної підготовки виробництва (ЄСТПВ). В світлі нових технічних і технологічних можливостей змінюються позиції технологічної підготовки виробництва і проектування гнучких виробничих систем.

Основними принципами побудови ГВС є:

гнучкість, тобто здатність системи до швидкої автоматичної перебудови з мінімальними витратами на випуск нової продукції;

автоматизація, що забезпечить досягнення максимального підвищення продуктивності праці, підвищення і стабілізацію якості продукції;

інтеграція виробничих процесів в ГВС;

модульність, що забезпечує компоновку ГВС і її елементів, а також формування окремих підсистем із уніфікованих і стандартних гнучких виробничих агрегатів і модулів. Це одиниця технологічного обладнання для виробництва виробів довільної номенклатури у встановлених границях значень їх характеристик з програмним керуванням, що функціонує автономно, автоматично виконує всі функції і має можливість вбудовуватись в гнучку виробничу систему.

Ідеальною (теоретично можливою) ГВС вважають таку, при побудові якої реалізовано всі чотири принципи. Проте часто на можливості їх реалізації впливають різні фактори. Це означає, що неможливо побудувати ідеальну систему.

Розрізняють наступні чотири групи гнучких виробництв.

1. Виробництва, принцип побудови і роботи яких ґрунтується на жорсткій технології виробництва. Технологічне обладнання тут призначене для виготовлення однієї деталі (виробу) і після закінчення її випуску не може використовуватися для виготовлення нового виробу. Ступінь гнучкості відсутня.

2. Виробництва, здатні до перебудови. При цьому обладнання при заміні окремих його компонентів або заміні компоновки може використовуватися для виготовлення нового виробу.

3. Виробництва, здатні до переналагоджування. Тут є можливості чергувати обробку різних деталей, перехід на випуск нових деталей.

4. Виробництва, побудовані на гнучкій технології виробництва і обладнання, пристосованого до високого рівня автоматизації.

Впровадження і подальший розвиток ГВС відкриває шлях до створення в машинобудуванні автоматизованого підприємства майбутнього. Це буде повністю інтегроване виробництво, яке включатиме в єдину систему всі необхідні функціональні підсистеми для виготовлення виробів (від ідеї до реалізації готової продукції). Всі підсистеми будуть автоматизовані на базі ЕОМ і мікропроцесорної техніки.

Техніко-економічні показники.

У виробничому процесі ГВС людина безпосередньої участі не бере. Вони функціонують на основі безлюдної технології. ГВС сприяють різкому підвищенню продуктивності праці в умовах серійного виробництва, дозволяють дуже швидко переходити на виготовлення подібної але іншої продукції, забезпечують підвищення якості продукції, покращують умови праці робітників. Знижуються затрати на виробництво, скорочуються виробничі цикли, тривалість технічної підготовки. Гнучкі виробничі системи швидко адаптуються до зовнішніх і внутрішніх дій, забезпечують автоматизацію як основних, так і допоміжних процесів. Створення ГВС забезпечує ефективне використання нових технологій, нової техніки, матеріалів.

В умовах функціонування ГВС забезпечується значне скорочення чисельності основних і допоміжних працівників, які приймають участь у виробничому процесі, одночасно є тенденція на розширення категорій фахівців, необхідних як для створення, так і для експлуатації ГВС. Це означає, що при широкому впровадженні ГВС на машинобудівних підприємствах виникає проблема підготовки відповідних фахівців.

4. Поняття науково-технічної підготовки сучасного виробництва


Вирішення економічних, соціальних та інших завдань на підприємстві безпосередньо пов'язано із технологічним прогресом виробництва і використанням його досягнень в усіх сферах господарської діяльності. На підприємстві він здійснюється тим ефективніше, чим досконаліше проведена науково-технічна підготовка. Під науково-технічною підготовкою розуміють комплекс наукових, конструкторських, технологічних та організаційних заходів, що забезпечують розробку й освоєння виробництва нових видів продукції, а також удосконалення виробів, що випускаються. Впровадження у виробництво виробів, що пройшли повну науково-технічну підготовку, дозволяє домогтися високої рентабельності їхнього випуску вже через 1-2 роки. Виробництво виробів без належної технічної підготовки подовжує термін освоєння у 2-2,5 рази. У цьому випадку рентабельний період скорочується тому, що настає моральне старіння продукції, зниження попиту і ціни на неї.

Науково-технічна підготовка виробництва за своїм змістом поділяється на науково-дослідницьку і технічну (конструкторську і технологічну) стадії.

На першій (науково-дослідній) стадії проводяться прикладні дослідження, експериментування, вивчення можливостей використання нових конструктивних рішень, матеріалів, технологічних процесів, прогнозування попиту на продукцію тощо. Наукові дослідження бувають фундаментальні і прикладні. При фундаментальних дослідженнях формуються принципово нові теоретичні проблеми, закони і теорії. їх проводять в структурах академії наук, вищих навчальних закладах. Прикладні дослідження спрямовані на пошуки шляхів практичного використання результатів фундаментальних досліджень у виробництві. їх здійснюють наукові підрозділи галузі чи підприємства.

На другій (конструкторській) стадії проводять всі необхідні види робіт з конструювання нових виробів (розробляють проект), виготовлення дослідних зразків, удосконалення виробів, що випускаються.

На третій (технологічній) стадії розробляють нові та вдосконалюють існуючі технологічні процеси, технологічне оснащення, засоби і методи контролю якості, удосконалюють організацію виробництва в цехах і на виробничих дільницях.

Основними завданнями технічної підготовки виробництва на машинобудівному підприємстві є: формування прогресивної технічної і технологічної політики; створення умов для ритмічної і рентабельної, високопродуктивної роботи підприємства; послідовне скорочення тривалості технічної підготовки виробництва, її трудомісткості і вартості при одночасному підвищенні якості усіх видів робіт.

Рівень технічної підготовки виробництва залежить від багатьох факторів. їх можна поділити на групи, що включають технічні, економічні, організаційні і соціальні аспекти.

Технічні фактори - розробка і впровадження типових і стандартних технологічних процесів, використання стандартизованих і уніфікованих засобів технологічного оснащення; застосування систем автоматизованого проектування технологічного оснащення; застосування АСУП, верстатів із числовим програмним управлінням, прогресивних режимів обробки заготовок; використання прогресивних технологій; впровадження прогресивних заготовок з метою зниження трудомісткості їх обробки; застосування прогресивних методів контролю, їх автоматизація.

Економічні фактори - поетапне фінансування робіт технічної підготовки виробництва; надання пільгових кредитів; створення фонду стимулювання освоєння нової техніки.

Організаційні фактори - розвиток і поглиблення спеціалізації виробництва; атестація якості технологічних процесів і виготовлених засобів технологічного оснащення, нестандартного устаткування за результатами якості дослідного зразка чи першої промислової партії виробів основного виробництва, поліпшення організації допоміжного виробництва; удосконалення відносин між основним і допоміжним виробництвами; розширення кооперування.

Соціальні фактори - підвищення кваліфікації працівників; механізація й автоматизація основних і допоміжних операцій з метою поліпшення умов праці, розвиток соціальної сфери; поліпшення психологічної атмосфери в колективі.

Технічна підготовка виробництва може передбачати технічне переозброєння, реконструкцію і розширення окремих виробничих ділянок, модернізацію устаткування.

Існує визначена система технічної підготовки виробництва. Це сукупність взаємозалежних технічних процесів, що забезпечують технологічну готовність підприємства випускати продукцію з заданими технічними умовами та якістю. В умовах переходу до ринку підготовка підприємства до виходу зі своєю продукцією на міжнародний ринок буде ускладнюватися. Тому сьогодні застосовується єдина система технічної підготовки виробництва (ЄСТПВ). Це встановлена державними стандартами система організації та управління технічною підготовкою виробництва. ЄСТПВ покликана забезпечити єдиний для кожного підприємства системний підхід до вибору та застосування методів і засобів технічної підготовки виробництва, високу здатність виробництва до постійного його вдосконалення, швидкого переналагодження на випуск більш досконалої продукції, раціональну організацію механізованого виконання комплексу інженерно-технічних робіт.

Терміни технічної підготовки виробництва можуть бути значно скорочені, якщо механізувати і автоматизувати трудомісткі обчислювальні, графічні, пошукові, розмножувальні та інші роботи, характерні для більшості етапів конструкторської і технологічної підготовки виробництва. Найбільшого ефекту від механізації й автоматизації технічної підготовки виробництва досягають з використанням автоматизованих систем (АСТПВ), автоматизованих систем управління технологічними процесами в рамках автоматизованої системи управління виробництвом. У цьому випадку забезпечується прискорення і підвищення технічного рівня конструкторських і технологічних розробок, вибирається оптимальний технологічний процес, раціонально використовуються виробничі потужності, матеріальні і трудові ресурси, підвищується якість продукції.

5. Оцінка та вибір технологічних рішень на підприємстві


Нові технології і технологічні рішення на підприємствах мають бути такими, щоб забезпечити ефективність підприємства, поліпшити його техніко - та соціально-економічні показники. За допомогою цих показників проводять оцінку технологічних рішень, визначають правильний їх вибір.

Ефективність - це відносна величина, що характеризує результативність будь-яких витрат. Якщо розглядаємо технологічний розвиток, то тут маємо на увазі витрати на впровадженій! нових технологій або технологічних рішень. Визначають ефективність шляхом порівняння ефекту з витратами на його досягнення. Ефект є результатом від впровадження нових технологій, нових технологічних рішень (або інших заходів). Цим результатом є підвищення якості продукції, продуктивності, зменшення собівартості, вивільнення ресурсів, економія сировинних матеріалів та ін. Найчастіше величину економічного ефекту оцінюють певною грошовою сумою. Він може бути позитивним і негативним (збитки).

Відповідно до методичних рекомендацій, економічний ефект нових технологічних рішень, технологій (нововведень) визначають як різницю між отриманим результатом і витратами за певний період, тобто з врахуванням вартісної оцінки результатів від їх впровадження за розрахунковий період (Р) і вартісної оцінки витрат на їх впровадження за той же період (В):

Е = Р - В

Залежно від обсягу врахованих ефекту і витрат є декілька видів оцінювання, а саме:

1. Народно-господарська ефективність нових технологій. Вона характеризує відношення ефекту до витрат у масштабі народного господарства.

2. Госпрозрахункова ефективність, що оцінює результативність витрат в масштабах галузі (підприємства). її розраховують як відношення прибутку до собівартості продукції або до вартості виробничих фондів.

3. Порівняльна ефективність. Це коли потрібно вибрати кращий варіант впровадження.

4. Абсолютна ефективність. Оцінюється відношенням кінцевого народно-господарського ефекту до витрат на реалізацію вибраного варіанту. Цей розрахунок завершує процес оцінювання і вибору оптимального варіанту технологій.

При виборі й оцінюванні технологій і технологічних рішень потрібно враховувати й інші показники. Це витратні коефіцієнти, продуктивність праці (процесу), собівартість і якість продукції за новою технологією та ін. Одним з важливих показників є якість продукції. Адже ми знаємо, що якість продукції визначає конкурентоспроможність її на ринку. Продукція може бути дешевою але не високої якості. Така продукція сьогодні не користується попитом. Якість продукції залежить від багатьох факторів, в тому числі від технологічного процесу, його структури й організації. Нові технології повинні бути такими, щоб забезпечувати якість продукції сьогодні і можливості підвищення якості завтра.

Важливими факторами прискорення впровадження нових технологій є комп'ютеризація, що дає змогу автоматизувати не тільки основне виробництво, а й допоміжні процеси, процеси перенесення наукових знань у виробництво, отримання нових знань. Автоматизовані системи наукових досліджень, автоматизованого проектування, гнучкі автоматизовані виробництва є елементами системи, котра дозволяє автоматично формувати найновіші досягнення науки і техніки.

Завершення


При написані реферату ми ознайомилися з прогресивними технологіями при обробці заготовок, автоматизацією виробництва як вищого етапу технологічного розвитку підприємства, поняттям гнучких виробничих систем та науково-технічною підготовкою сучасного виробництва, оцінкою та вибором технологічних рішень на підприємстві.

Література


1. Колотило Д.М. Системи технологій і екологія промисловості - К., НМКВО, 1992 - 143 с.

2. Основы технологии важнейших отраслей промышленности. Ч.I, II / Под ред. И.В. Ченцова - Минск, Вышейшая шк., 1989

3. Технологічні процеси галузей промисловості: Навч. посіб. / За ред. Д.М. Колотила, А.Т. Соколовського - К, КНЕУ, 2008 - 372 с.

Похожие работы на - Сучасний технологічний розвиток на рівні машинобудівельного підприємства

 

Не нашли материал для своей работы?
Поможем написать уникальную работу
Без плагиата!
Без нейросетей!