Рекомендацій щодо конструювання торцевих ущільнень
Рекомендацій щодо конструювання торцевих ущільнень
Зміст
1. Охолоджування ущільнень
2. Термогідродинамічні торцеві ущільнення
3. Матеріали пар тертя на основі вуглецю
3.1 Приклади конструкції торцевих ущільнень насосів АЕС
Список літератури
Найважливішим
показником, що обмежує ресурс ущільнення, є втрати потужності на тертя, які
приводять до підвищення температури у торцевому зазорі, руйнування змащувальної
плівки, температурних деформацій і в результаті до інтенсивного зносу
контактних поверхонь. Тому при проектуванні ущільнень необхідно вживати всі
доступні заходи щодо зменшення втрат потужності на тертя, перш за все за
рахунок гідравлічного розвантаження (коефіцієнт навантаження k = 0,55-0,85) і вибору
антифрикційних матеріалів для пари тертя. Якщо ці заходи є недостатніми для
забезпечення задовільного теплового стану, необхідно збільшувати тепловідведення. Для ущільнень на високі параметри (р1v >
100 МПа м/с) потрібно створювати умови рідинного або напіврідинного
змащення за рахунок гідро - та термогідродинамічних ефектів або переходити до
гідростатичних ущільнень.
Збільшення тепловідведення досягається за допомогою спеціальних систем охолоджування
(рис.1). У системі І відведення тепла з камери збільшується за рахунок
циркуляції ущільнювальної рідини під дією тиску, що розвивається самим насосом.
Така система ефективна, якщо насос перекачує холодну воду. Для насосів, що
працюють на гарячій воді, система охолоджування доповнюється виносним
теплообмінником, який вимагає додаткового джерела холодної води. Системи із
внутрішнім холодильником для охолоджування пари тертя (ІІ) можуть
працювати за рахунок циркуляції перекачуваної рідини аналогічно системі І,
якщо насос працює на холодній воді. Інакше потрібна додаткова зовнішня система
прокачування холодної води. На гарячих насосах вбудовані холодильники
використовуються як термобар’єр (ІІІ) для охолоджування ущільнювальної
рідини в камері ущільнення. Щоб підвищити ефективність вбудованих
холодильників, їм надають геометричні форми з розвиненими поверхнями
тепловіддачі.
Рисунок 1 - Системи
охолоджування торцевих ущільнень
Значного поширення
набули системи охолоджування з виносним теплообмінником та вбудованим
лабіринтово-гвинтовим насосом (рис.2), що розвиває тиск, достатній для
забезпечення необхідної витрати ущільнювальної рідини через холодильник. Як
правило [1], примусова циркуляція від вбудованого насоса доповнюється
термосифонною системою, яка являє собою піднятий на висоту не менше двох метрів
теплообмінник, природна циркуляція в якому відбувається завдяки різній густині
гарячої води на вході та охолодженої на виході.
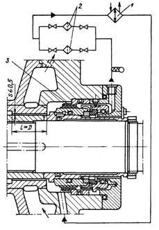
Найефективнішим
способом охолоджування (рис.3 а, б) є підведення в камеру ущільнення холодної
замикаючої води під тиском, що дещо перевищує тиск ущільнювальної рідини (гідрозатвор).
Найчастіше системи замикання поєднуються з подвійними торцевими ущільненнями
(рис.3 б); при цьому внутрішнє обмежує перетікання замикаючої рідини в
порожнину насоса під дією невеликого перепаду тиску, а зовнішнє ущільнює вихід
запірної рідини назовні з насоса та сприймає повний тиск гідрозатвора. Такі
системи охолодження повністю виключають зовнішні витоки рідини, що
перекачується насосом, тому застосовуються у всіх насосах першого контуру. Системи
з гідрозатвором, окрім теплообмінників та фільтрів, вимагають додаткового
насоса високого тиску та автоматичних регуляторів перепаду тиску замикаючої і
ущільнювальної рідин. Необхідний тиск у контурі циркуляції замикаючої води
можна підтримувати газовою подушкою, утворюваною при підключенні до
теплообмінника через редукційний клапан балона з рідким азотом. При цьому
неминучі втрати замикаючої води, тому періодично необхідно заповнювати
підживлюваним насосом.
Рисунок 2 - Система
охолоджування з виносним теплообмінником та вбудованим лабіринто-гвинтовим насосом
Рисунок 3 - Системи
охолоджування з гідро затвором з одинарним (а) та з подвійним (б)
торцевим ущільненням
Особливість таких
ущільнень (рис.4 а) - серпоподібні канавки 2 на одній з контактних
поверхонь 1. Ці ущільнення характеризуються тим, що коефіцієнт тертя в
них зменшується із зростанням ущільнювального тиску (рис.4 б) та колової
швидкості. Пояснюється це тим, що в зоні канавок умови охолоджування кращі, ніж
на віддалених від них ділянках контактної поверхні. У результаті осесиметричне
температурне поле кільця змінюється хвилеподібно від канавки до канавки,
викликаючи відповідні температурні мікродеформації. Завдяки цьому торцевий
зазор по периметру змінюється згідно із законом, близьким до гармонійного, і
при ковзанні контактних поверхонь відносно один одного в місцях зменшення
зазора виникають гідродинамічні мікроклини з підвищеним тиском. Таким чином,
температурні деформації збільшують розклинюючу гідродинамічну силу та зменшують
контактний тиск поверхонь та втрати потужності на тертя. Термогідродинамічні
ущільнення мають здатність до саморегулювання втрат потужності на тертя: зростання
контактного тиску веде до збільшення температурних ефектів, які зменшують стале
значення втрат потужності. На жаль, зворотний зв'язок щодо температури пари
тертя порівняно слабкий та не піддається прогнозуванню. Тому успіхи, досягнуті
в області термогідродинамічних ущільнень, базуються на практичному досвіді та
на інженерних пошуках оптимальних конструкцій [1]. Такі ущільнення є проміжним
ступенем між традиційними механічними торцевими ущільненнями та гідростатичними
ущільненнями з саморегульованим зазором.
Рисунок 4 - Термогідродинамічне
торцеве ущільнення:
від параметрів
серпоподібні канавки
Надійність та
ресурс контактних ущільнень визначається головним чином фізико-механічними
властивостями матеріалів пар тертя. Пари тертя повинні мати мінімальний
коефіцієнт тертя та низьку швидкість зношування, високу теплопровідність і
термоміцність, низький температурний коефіцієнт лінійного розширення, стійкість
проти задирання, схоплювання та корозії. Перелічені вимоги значною мірою
задовольняють антифрикційні матеріали на основі вуглецю. Коефіцієнт
теплопровідності цих матеріалів в 2-4 рази більше, а коефіцієнт
лінійного розширення в 2-3 рази менше, ніж у чорних металів; вони легко
переносять термічні удари, здатні до самозмащування та мають низький коефіцієнт
тертя.
Для торцевих
ущільнень в основному використовують штучні вуглеграфітові матеріали, які
одержують з нафтового коксу шляхом термообробки, подрібнення та пресування. Використовують
також антрацит, пековий кокс та сажу. В якості зв'язувального матеріалу
застосовують кам'яновугільний пек та смоли. Для підвищення антифрикційних властивостей
додають природний очищений графіт.
Після випалення (1200-1300°С)
пресованих заготовок кілець одержують обпалений вуглець (АО - антифрикційний
обпалений вуглеграфіт). При випаленні випаровуються леткі складові пеку та
утворюються пори, об'єм яких досягає 20-40% об'єму матеріалу; розміри
пор 0,01-5мкм. Додаткове випалення заготовок при температурі 2300-2600°С
викликає рекристалізацію вуглецю та переводить частину аморфного вугілля в
графіт, у результаті одержують графітірований вуглеграфіт (АГ).
Для зменшення
пористості та підвищення експлуатаційних якостей вуглеграфітів їх просочують
металами, термостійкими смолами, кремнієм, фторопластами і т.д. Випалені та
графітизовані вуглеграфіти АО-1500-СО5 та АГ-1500-СО5 просочені сплавом свинцю
(95%) та олова (5%), а АГ-1500-Б83 та АГ-1500-Б83 - бабітом. Гранично допустимі температури в
зоні тертя 300 та 200 °С відповідно для просочень СО5 та Б83. Перевищення
цих температур приводить до виплавлянню металу, просочення та порушенню
герметичності. Обпалений вуглеграфіт 2П-1000-Ф просочений
фенолформальдегідною смолою (допустима температура 140°С). Просочення
синтетичною смолою зменшує небезпеку задирання при підвищеному контактному
тиску. Обпалений антифрикційний матеріал химаніт-Т виготовляють методом
суміщеного пресування та випалення з подальшим просоченням фурфуриловим спиртом
та термообробкою при 300°С. Матеріал має високу термостійкість (до 300°С)
та малий коефіцієнтом тертя, що забезпечує його працездатність при швидкостях
ковзання до 25 м/с і контактному тиску до 8 МПа.
Для ущільнень з
високим та надвисоким ступенем навантаження (табл.1) частіше
за все використовують силіційований графіт, який одержують
просоченням пористого графіту розплавленим кремнієм. У процесі просочення у
результаті взаємодії кремнію з вуглецем утворюється карбід кремнію. Частина
кремнію та графіту залишається не зв'язаною, тому силіційований
графіт являє собою трикомпонентну систему. Фаза карбіду обумовлює високі
фізико-механічні показники та хімічну стійкість, а вільний графіт - антифрикційні
властивості. Силіційовані графіти СГ-М, СГ-П, СГ-Т розрізняються змістом фази
карбіду (у порядку зростання) та відповідно твердістю і зносостійкістю. Недоліком
цих матеріалів є крихкість (зростає із збільшенням твердості), а також те, що
вони піддаються обробці тільки алмазним кругом на шліфувальних верстатах.
Менш крихкі
боросиліційовані графіти БСГ-30 та БСГ-60, що розрізняються пористістю
початкового графіту ПРОГ-2400: 30% для БСГ-30 та 60% для БСГ-60. Ці
графіти також обробляються лише шліфуванням алмазним кругом.
Кращим з
силіційованих графітів є алюмокарбідкремнієвий графіт ГАКК 55/40, який
обробляється на металорізальних верстатах твердосплавними різцями. Матеріал
допускає короткочасну роботу насухо, коефіцієнт сухого тертя 0,05-0,1.
Поверхні тертя
ущільнювальних кілець з вуглецевих матеріалів доводять на скляних та чавунних
притирах алмазними пастами, алмазними порошками або порошками карбіду бору. Шорсткість
контактних поверхонь після доведення Ra = 0,025-0,1 мкм, неплощинність не більше 0,9 мкм.
Термогідродинамічні
торцеві ущільнення (рис.5) для живильних насосів АЕС розроблені фірмою "Бургман"
(Німеччина) на діаметри вала 150-200 мм, колова швидкості до 70 м/с
та тиск до 7 МПа [1]. В якості пари тертя використаний карбід вольфраму
по графіту або карбід кремнію по графіту. Ущільнювальні кільця встановлені в
обоймах по пресовій посадці із попереднім натягом, що виключає їх звільнення
через різницю температурних коефіцієнтів лінійного розширення кілець та обойм. Гранична
температура охолоджувальної води на виході з камери ущільнення 90°С. Перевищення
цієї межі викликає аварійне відключення насоса. Обойма, що обертається,
гідравлічно розвантажена та зафіксована на валу шпонкою тільки від повороту. Вторинні
ущільнення - гумові кільця круглого перерізу. Температура перекачувальної
насосом живильної води 150-200°С, зовнішня система 1, 2
забезпечує безперервне очищення та охолодження води в камері ущільнення до 50-70°С.
Циркуляцію води в цьому контурі здійснює вбудоване лабіринтно-гвинтовий насос 3
із багатозахідною прямокутною нарізкою.
Рисунок 5 - Торцеве
ущільнення живильного насоса фірми "Бургман"
Фірма "Борг-Вонер"
(США) поставляє торцеві ущільнення (Рис.6) для потужних (до 12,5 МВт) високообертових
(до 8000 об/хв) живильних насосів АЕС [24] ; тиск ущільнювальної рідини
до 14 МПа, колова швидкість до 75 м/с. Пара тертя карбід
вольфраму - графіт добре припрацьовується та має підвищену термостійкість,
завдяки чому ущільнення зберігає працездатність в умовах запарювання насоса. При
цьому передвключене дискове ущільнення 1 підтримує тиск у кільцевій
камері і тим самим перешкоджає протоку пара з порожнини насоса в камеру
основного ущільнення. Циркуляція води через зовнішній холодильник
забезпечується за рахунок відцентрового напору, що розвивається в камері
ущільнення диском, що обертається 1. Ущільнювальні кільця встановлені в
обоймах по вільній посадці і герметизуються по тильних поверхнях гумою круглого
перетину. Опорне кільце, що обертається, зафіксоване в обоймі штифтом, а
аксіально рухоме утримується від проворота силами тертя.
Рисунок 6 - Ущільнення
високообертового живильного насоса АЕС фірми "Борг-Вонер"
Конструкція
торцевого ущільнення фірми "Летті" (Франція) відрізняється способом
установки ущільнювальних кілець в обойми (рис.7). Посадка кільця, що обертається,
по внутрішньому діаметру забезпечує добре тепловідведення від зовнішньої
циліндрової поверхні. Аксіально рухоме кільце герметизується двома гумовими
кільцями круглого перерізу. Ущільнення призначене для живильних насосів АЕС,
тиск ущільнювальної рідини 5 МПа, колова швидкість у парі тертя 60
м/с.
Рисунок 7 - Ущільнення
живильного насоса АЕС фірми "Летті"
У торцевому
ущільненні фірми "Флексибокс" (Англія) обойма кільця (рис.8), що
обертається, спирається на гумове кільце круглого перерізу, що допускає деяке
самоцентрування та зменшує торцеве биття. Форма перерізу кільця, що
обертається, та аксіально рухомого кільця і їх посадка в обоймах вибрані з
умови мінімуму сумарних силових та температурних деформацій, що порушують
площинність контактних поверхонь. Як матеріали пари тертя використовуються
карбіди кремнію або вольфраму по графіту. Ущільнення рекомендується для
живильних насосів, ущільнювальний тиск до 7 МПа при коловій швидкості до
70 м/с.

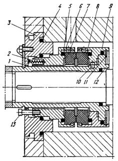
Блокова
конструкція торцевого ущільнення типу Т (рис.9) розроблена ВНДІАЕН та серійно
виготовляється Нальчикським машинобудівним заводом. Пару тертя утворюють два
однакові кільця 8 з силіційованого графіту СГ-П, що вільно встановлені в
аксіально рухомій 6 обоймі та обоймі, що обертається 9. Від
провертання кільця утримуються повідцями 7 та ущільнюються гумовими
кільцями 5. Аксіально рухома обойма з пружинами 2 встановлена в
корпусі 3 ущільнення та зафіксована від провертання гвинтами 13. Обойма,
що обертається, пружинною шайбою 11 кріпиться на перехідній втулці 12
та утримується від відносного провертання повідцем 10. Монтажна скоба 1
разом з перехідною втулкою забезпечують блоковість конструкції вузла ущільнення.
Як вторинні ущільнення 4 використовуються гумові кільця круглого
перерізу.
Рисунок 9 - Механічне
торцеве ущільнення типу Т
Конструкцію обойми
(коефіцієнт навантаження аксіально рухомої обойми 0,7) та спосіб
установки кілець забезпечують їх мінімальні деформації. Середній діаметр
ущільнювальних пасків від 75 до 120 мм, тиск ущільнювальної
рідини до 6 МПа, колова швидкість до 25 м/с.
Ущільнення
використовуються в головних (ПЕА 1650-80) та резервних (ПЕА 250-80) живильних насосах енергоблоків з реакторами РБМК-1500, в конденсатних насосах КсВА 700-180 та КсВА 650-135, в насосах
розхолоджування та інших насосах із частотою обертання ротора до 3000 об/хв.
Аналіз наведених
конструкцій показує, що торцеві ущільнення насосів АЕС на високі параметри в
основному виготовляють із зовнішнім підведенням ущільнювальної рідини та з
аксіально рухомими кільцями, що не обертаються. Як вторинні ущільнення
використовуються гумові кільця круглого перерізу, а як натискні пружні елементи
- набори гвинтових циліндрових пружин, розміщенних в ущільнювальній рідині. У
більшості конструкцій кільця ущільнювачів встановлюються в обоймах по вільній
посадці, а форма поперечних перерізів кілець та розташування тильних опорних
поверхонь вибираються так, щоб звести до мінімуму деформації і неплощинність
ущільнювальних контактних поверхонь.
Повідцеві пристрої
для передачі крутильного моменту від вала на обойму, що обертається, а також
способи стопоріння кілець в обоймах і кріплення монтажних гільз на валу
найрізноманітніші. Вибір того або іншого конструктивного рішення визначається
умовами роботи ущільнень.
1. Mayer E. Axial Gleitringdichtungen. - 7., neubearb. und erw. Aufl. Dusseldorf: VDI - Verlag, 1982.
2. Гордеев В.В. Пути повышения
экономичности, надежности и долговечности торцовых уплотнений насосов // Обзорная
информация. Сер. ХМ-4. М.: ЦИНТИ-химнефтемаш, 1982. - 38 с.
3. Кондаков Л.А. Рабочие жидкости и
уплотнения гидравлических систем. - М.: Машиностроение, 1982.
4. Голубев А.И. Торцовые уплотнения
вращающихся валов. - М.: Машиностроение, 1974.
5. Крагельский И.В., Михин Н.М. Узлы
трения машин: Справочник. - М.: Машиностроение, 1984.
6. Словарь-справочник по трению,
износу и смазки деталей машин / Е.Л. Шведков, Д.Я. Ровинский, В.Д. Зозуля, Э.Д.
Браун. - Киев: Наукова думка, 1979.