Расчет технологической детали "Втулка"

  • Вид работы:
    Курсовая работа (т)
  • Предмет:
    Технология машиностроения
  • Язык:
    Русский
    ,
    Формат файла:
    MS Word
    1,56 Mb
  • Опубликовано:
    2009-11-27
Вы можете узнать стоимость помощи в написании студенческой работы.
Помощь в написании работы, которую точно примут!

Расчет технологической детали "Втулка"




РАСЧЕТНО-ПОЯСНИТЕЛЬНАЯ ЗАПИСКА

к курсовому проекту по технологии машиностроения

на тему: Расчет технологической детали ”Втулка”

Содержание

Задание

Введение

1. Служебное назначение и конструкция детали

2. Анализ технологичности конструкции детали

3. Определение типа производства         

4. Выбор метода получения исходной заготовки

5. Экономическое обоснование выбора метода получения исходной заготовки

6. Расчет припусков на заготовку

7. Выбор и обоснование варианта маршрутного технологического процесса

8. Выбор металлорежущего оборудования и его технические характеристики

9. Аналитический анализ режимов резания

10. Описание операций и расчёт режимов резания

11. Нормирование технологического процесса        

12. Определение фактического типа и организационной формы производства

13. Расчёт количества металлорежущих станков на программу

14. Расчёт производственных и вспомогательных рабочих        

15. Описание и принцип работы контрольного приспособления        

16. Технико-экономические показатели

17. Список используемой литературы

Приложение:

Комплект технологической документации

Введение

Развитию и формированию учебной дисциплины «технология машиностроения» как прикладной науки предшествовал непрерывный прогресс машиностроения на протяжении последних двух столетий. Степень прогресса определяла интенсивность изучения производственных процессов, а, следовательно, и научное их обобщение с установлением закономерностей в технологии механической обработки и сборки.

Машиностроительная промышленность является ведущей отраслью, так как это главный потребитель сырья и рабочей силы. От нее зависит материально техническая база и обороноспособность страны. Именно в машиностроении материализуются научно-технические идеи, создаются новые системы машин, определяющие прогресс в других отраслях.

Современный уровень технического прогресса, создание совершенных высокопроизводительных, автоматизированных и высокоточных машин, основанных на использовании новейших достижений науки, требует подготовки высокообразованных инженеров, обладающих глубокими знаниями и хорошо владеющих новой техникой и технологией производства.

Эффективность производства, его технический прогресс, качество выпускаемой продукции во многом зависят от опережающего развития нового оборудования, машин, станков и аппаратов, от внедрения методов технико-экономического анализа, обеспечивающего решение технических вопросов, экономическую эффективность технологических и конструкторских разработок.

Целью данного курсового проектирования является:

- Расширение, систематизация и закрепление теоретических и практических знаний, полученных студентами во время лекционных, лабораторных, практических занятий, а также в период прохождения инженерной производственной подготовки на базовых предприятиях;

- Практическое применение этих знаний для решения конкретных технических, организационных и экономических задач;

- Развитие и закрепление навыков ведения самостоятельной работы;

- Проведение поиска научно – технической информации и работа со справочной и методической литературой, стандартами и нормами;

- Обучение студента краткому изложению сущности проделанной работы, аргументировано объяснять принятые решения при ответах на вопросы.

Курсовой проект является одним из основных этапов подготовки студентов к дипломному проектированию. Основной задачей курсового проекта является разработка технологического процесса механической обработки заготовки на стадии технического проекта для различных видов и типов производства с выполнением ряда технических расчетных работ и технико-экономическим обоснованием принятых решений.

1. Служебное назначение и конструкция детали

Деталь втулка представляет собой полое тело вращения типа «втулка с буртом». Служит как промежуточный элемент для базирования в корпусных деталях подшипниковых опор. Втулка входит в корпусную деталь и дополнительно крепится 4-мя болтами или штифтами через отверстия Ø14мм. Применение втулок в подшипниках скольжения сокращает расход дорогостоящего и обычно дефицитного антифрикционного материала (оловянистые бронзы и баббиты), а также упрощает ремонт, сводя его к замене изношенной втулки новой.

Масса детали составляет 4,65 кг. Габаритные размеры детали 140×128 мм. Из конструктивных особенностей можно отметить наличие: сквозного центрального отверстия Ø40мм по которому перемещается шток; 4-х сквозных отверстий Ø14мм параллельных оси детали; резьбового отверстия М16×2-7Н под , в которое устанавливается манометр для измерения давления; выточки Ø50мм в которую вставляется уплотнительное кольцо; 3-х лысок на фланце; канавки для выхода шлифовального круга.

Допуск на радиальное биение наружной цилиндрической поверхности Ø70d10 относительно базовой поверхности A составляет 0,1 мм. Так как больше специальных требований на чертеже нет, то точность геометрической формы поверхностей и точность взаимного расположения поверхностей детали в пределах допусков на размеры. Наиболее точными поверхностями детали являются: внутреннее цилиндрические поверхности Ø40H8(+0,039) с шероховатостью Ra=0,4 мкм, Ø50H11(+0,16) с шероховатостью Ra=3,2 мкм, наружные цилиндрические поверхности Æ70d10 с шероховатостью Ra=3,2 мкм, Æ128h12 с шероховатостью Ra=6,3 мкм. Остальные поверхности выполнены по 14-му квалитету с шероховатостью Ra=6,3 мкм.

Соответственно служебному назначению исполнительными поверхностями втулки являются основное отверстие Ø40H8 и соосная ему наружная цилиндрическая поверхность Æ70d10. Основной конструкторской базой втулки является ось основного отверстия. Основной технологической базой при обработке является основное отверстие, относительно которого обрабатывается точность расположения остальных поверхностей.

В качестве материала для изготовления детали втулка используется конструкционная легированная сталь 40Х ГОСТ 4543-88. Хромистая сталь имеет очень широкое применение. Хром оказывает положительное влияние и является недорогой примесью. Сталь 40Х применяют для изготовления осей, валов, вал-шестерен, плунжеров, штоков, коленчатых и кулачковых валов, колец, шпинделей, оправок, реек, зубчатых венцов, болтов, полуосей, втулок и других улучшаемых деталей повышенной прочности.

Вид поставки: сортовой прокат, в том числе фасонный: ГОСТ 4543-71, ГОСТ 2590-71, ГОСТ 2591-71, ГОСТ 2879-69, ГОСТ 10702-78. Калиброванный пруток ГОСТ 7414-75, ГОСТ 8559-75, ГОСТ 8560-78, ГОСТ 1051-73. Шлифованный пруток и серебрянка ГОСТ 14955-77. Лист толстый ГОСТ 1577-81, ГОСТ 19903-74. Полоса ГОСТ 82-70, ГОСТ 103-76, ГОСТ 1577-81. Поковки и кованые заготовки ГОСТ 8479-70. Трубы ГОСТ 8731-87, ГОСТ 8733-87, ГОСТ 13663-68.

Заменитель: стали 45Х, 38ХА, 40ХН, 40ХС, 40ХФ, 40ХР.

Таблица №1 Химический состав стали 40Х

Химический элемент

%

Кремний (Si)

0.17-0.37

Медь (Cu), не более

0.30

Марганец (Mn)

0.50-0.80

Никель (Ni), не более

0.30

Фосфор (P), не более

0.035

Хром (Cr)

0.80-1.10

Сера (S), не более

0.035

Таблица №2 Механические свойства стали 40Х

Термообработка, состояние поставки

Сечение, мм

0,2, МПа

B, МПа

5, %

, %

KCU, Дж/м2

HB

Пруток. Закалка 860 °С, масло. Отпуск 500 °С, вода или масло 

25

780

980

10

45

59

-

Поковки. Нормализация. КП 245 

500-800

245

470

15

30

34

143-179

Поковки. Нормализация. КП 275 

300-500

275

530

15

32

29

156-197

Поковки. Закалка, отпуск. КП 275 

500-800

275

530

13

30

29

156-197

Поковки. Нормализация. КП 315 

<100

315

570

17

38

39

167-207

Поковки. Нормализация. КП 315 

100-300

315

570

14

35

34

167-207

Поковки. Закалка, отпуск. КП 315 

300-500

315

570

12

30

29

167-207

Поковки. Закалка, отпуск. КП 315 

500-800

315

570

11

30

29

167-207

Поковки. Нормализация. КП 345 

<100

345

590

18

45

59

174-217

Поковки. Нормализация. КП 345 

100-300

345

590

17

40

54

174-217

Поковки. Закалка, отпуск. КП 345 

300-500

345

590

14

38

49

174-217

Поковки. Закалка, отпуск. КП 395 

<100

395

615

17

45

59

187-229

Поковки. Закалка, отпуск. КП 395 

100-300

395

615

15

40

54

187-229

Поковки. Закалка, отпуск. КП 395 

300-500

395

615

13

35

49

187-229

Поковки. Закалка, отпуск. КП 440 

<100

440

635

16

45

59

197-235

Поковки. Закалка, отпуск. КП 440 

100-300

440

635

14

40

54

197-235

Поковки. Закалка, отпуск. КП 490 

<100

490

655

16

45

59

212-248

Поковки. Закалка, отпуск. КП 490 

100-300

490

655

13

40

54

212-248


Таблица №3

Механические свойства стали 40Х при повышенных температурах

t испытания, °C

0,2, МПа

B, МПа

5, %

, %

KCU, Дж/м2

Закалка 830 °С, масло. Отпуск 550 °С

200

700

880

15

42

118

300

680

870

17

58


400

610

690

18

68

98

500

430

490

21

80

78

Образец диаметром 10 мм, длиной 50 мм кованый и отожженный. Скорость деформирования 5 мм/мин, скорость деформации 0,002 1/с.

700

140

175

33

78


800

54

98

59

98


900

41

69

65

100


1000

24

43

68

100


1100

11

26

68

100


1200

11

24

70

100



Таблица №4

Механические свойства в зависимости от температуры отпуска

t отпуска, °С

0,2, МПа

B, МПа

5, %

, %

KCU, Дж/м2

HB

Закалка 850 °С, вода

200

1560

1760

8

35

29

552

300

1390

1610

8

35

20

498

400

1180

1320

9

40

49

417

500

910

1150

11

49

69

326

600

720

860

14

60

147

265


Таблица №5 Механические свойства в зависимости от сечения

Сечение, мм

0,2, МПа

B, МПа

5, %

, %

KCU, Дж/м2

HB

Закалка 840-860 °С, вода, масло. Отпуск 580-650 °С, вода, воздух.

101-200

490

655

15

45

59

212-248

201-300

440

635

14

40

54

197-235

301-500

345

590

14

49

174-217


Таблица №6 Температура критических точек

Критическая точка

°С

Ac1

743

Ac3

815

Ar3

730

Ar1

693

Mn

325


Таблица №7 Ударная вязкость, KCU, Дж/см2

Состояние поставки, термообработка

+20

-25

-40

-70

Закалка 850 С, масло. Отпуск 650 С.

160

148

107

85

Закалка 850 С, масло. Отпуск 580 С.

91

82

-

54

Таблица №8 Предел выносливости

-1, МПа

-1, МПа

n

B, МПа

0,2, МПа

Термообработка, состояние стали

363

-

1Е+6

690

-

-

470

-

1Е+6

940

-

-

509

-


960

870

-

333

240

5Е+6

690

-

-

372

-

-

-

-

Закалка 860 С, масло, отпуск 550 С.


Таблица №9 Физические свойства

Температура испытания, °С

20

100

200

300

400

500

600

700

800

900

Модуль нормальной упругости, Е, ГПа

214

211

206

203

185

176

164

143

132

-

Модуль упругости при сдвиге кручением G, ГПа

85

83

81

78

71

68

63

55

50

-

Плотность, pn, кг/см3

7850


7800

-

-

7650

-

-

-

-

Коэффициент теплопроводности

Вт/(м ·°С)

41

40

38

36

34

33

31

30

27

-

Уд. Электросопротив-ление (p, НОм · м)

278

324

405

555

717

880

1100

1330

-

-

Температура испытания, °С

20- 100

20- 200

20- 300

20- 400

20- 500

20- 600

20- 700

20- 800

20- 900

20- 1000

Коэффициент линейного расширения

(a, 10-6 1/°С)

11.8

12.2

13.2

13.7

14.1

14.6

14.8

12.0

-

-

Удельная теплоемкость (С, Дж/(кг · °С))

466

508

529

563

592

622

634

664

-

-


Технологические свойства:

— Температура ковки: начала 1250 °С, конца 800 °С. Сечения до 350 мм охлаждаются на воздухе.

— Свариваемость: трудносвариваемая. Способы сварки: РДС, ЭШС. Необходимы подогрев и последующая термообработка. КТС - необходима последующая термообработка.

— Обрабатываемость резанием: в горячекатаном состоянии при НВ 163-168, B = 610 МПа K тв.спл. = 0.20, K б.ст. = 0.95.

— Склонна к отпускной способности.

— Флокеночувствительна.

2. Анализ технологичности конструкции детали

Под технологичностью конструкции изделия понимается совокупность свойств конструкции изделия, проявляемых в возможности оптимальных затрат труда, средств, материалов и времени при технической подготовке производства, изготовлении, эксплуатации и ремонте по сравнению с соответствующими показателями однотипных конструкций изделий того же назначения при обеспечении установленных значений показателей качества и принятых условий изготовления, эксплуатации и ремонта.

Обработка конструкции на технологичность представляет собой комплекс мероприятий по обеспечению необходимого уровня технологичности конструкции по установленным показателям, направлена на повышение производительности труда, снижение затрат и сокращение времени на изготовление изделия при обеспечении необходимого его качества. Виды и показатели технологичности приведены в ГОСТ 18831-73, а правила отработки конструкции изделия и перечень обязательных показателей технологичности в ГОСТ 14.201-73. Оценка технологичности конструкции может быть двух видов: качественной и количественной. Качественная оценка характеризует технологичность конструкции обобщенно на основании опыта исполнителя и допускается на всех стадиях проектирования как предварительная. Количественная оценка технологичности конструкции изделия выражается числовым показателем и рациональна в том случае, если эти показатели существенно влияют на технологичность рассматриваемой конструкции.

Качественная оценка технологичности конструкции детали:

— технологический контроль чертежа детали «втулка» дает полное представление о ее конструкции. На чертеже проставлены размеры с допусками и шероховатостью необходимыми для изготовления детали;

— заготовкой для втулки служит штамповка, получаемая на горизонтально-ковачной машине из стали 40Х. Штамповка проста по конфигурации и не требует применения специальной оснастки;

— деталь имеет удобные и надежные технологические базы в процессе обработки;

— предусмотрена возможность непосредственного измерения большинства заданных на чертеже размеров;

— деталь по форме средней сложности (канавки, сквозные отверстия, резьбовое отверстие, ступени, лыски);

— жесткость детали:

    следовательно, деталь жесткая;

— все поверхности можно обработать универсальными инструментами, включая канавку для выхода шлифовального круга;

— наружную цилиндрическую поверхность Ø128h12 можно обрабатывать проходным резцом.

— деталь имеет один относительно большой перепад диаметров ступеней, поэтому обработка на многорезцовом станке становится невозможной;

— большинство поверхностей детали можно считать технологичными, за исключением внутренних цилиндрических поверхностей Ø40H8 с шероховатостью Ra=0,4 мкм, Ø50H11 с шероховатостью Ra=3,2 мкм, наружных поверхностей Ø70d10 с шероховатостью Ra=3,2 мкм и для которой необходимо выдержать допуск на радиальное биение 0,1мм относительно базовой поверхности А, Ø128h12 с шероховатостью Ra=6,3 мкм, вследствие необходимости введения дополнительных операций для их изготовления. К остальным размерам не предъявляется высоких требований точности и качества поверхности.

— для обработки трех лысок потребуется проектировать специальные приспособления;

— присутствуют размеры, требующие пересчёта размерной цепи, что также снижает технологичность детали.

Количественная оценка технологичности

1) Коэффициент точности

 ,

где:  - средняя точность детали,  - квалитет различных поверхностей,  - количество поверхностей с квалитетом ;  - коли­чество поверхностей всего.

2) Коэффициент шероховатости :

 ,

где:  - средняя шероховатость детали,

 - сумма произведений шероховатостей на их количество.

3) Коэффициент использования материала


где:  - масса детали (кг),  - масса заготовки (кг).

4) Максимальное значение шероховатости — Ra 0,4 мкм

5) Максимальный квалитет точности — 8

6) Коэффициент применяемости стандартизованных обрабатываемых поверхностей


где: ,  — соответственно число поверхностей детали, обрабатываемых стандартным инструментом, и всех, подвергаемых механической обработки поверхностей.

7) Коэффициент унификации


где: ,  - соответственно число унифицированных конструктивных элементов детали и общее число поверхностей.

Исходя из вышесказанного, данную деталь можно считать технологичной.

3. Определение типа производства

Тип производства на данном этапе проектирования определяется ориентировочно в зависимости от массы детали и годовой программы выпуска, используя таблицу 10.

Таблица №10

Тип производства

Годовая программа выпуска, шт

Легкие

(до 20 кг)

Средние

(20-300 кг)

Тяжелые

(свыше 300 кг)

Единичное

Мелкосерийное

Серийное

Крупносерийное

Массовое

11-100

101-500

501-5000

5001-50000

Св. 50000

6-10

11-200

201-1000

1001-5000

Св. 5000

1-5

6-100

101-300

301-1000

Св. 1000


При массе детали 4,65 килограмм и годовой программе выпуска 16000 шт/год, тип производства является крупносерийным.

4. Выбор метода получения исходной заготовки

Метод выполнения заготовок деталей машин определяется назначением конструкции детали, материалом, техническими требованиями, масштабом и серийностью выпуска, а также экономичностью изготовления. Выбрать заготовку - значит установить способ ее получения, наметить припуски на обработку каждой поверхности, рассчитать размеры и указать допуски на неточность изготовления. От правильного выбора заготовки зависит трудоемкость и себестоимость обработки.

Для данной детали можно использовать следующие методы получения заготовок: горячая объемная штамповка на молотах и прессах, горячая объемная штамповка на горизонтально-ковочных машинах, а также получение заготовки из проката.

Наиболее рациональными методами получения заготовки из вышеперечисленных для данной детали, с учетом материала, массы, конфигурации, габаритов детали и годовой программы выпуска, являются горячая объемная штамповка на горизонтально-ковочных машинах (ГКМ) - используется в серийном и массовом производствах для заготовок имеющих форму тел вращения и массой не более 100 кг и метод получения заготовок из проката, так как он не требует изготовления штампов, пресс-форм и т.п.

Поковки, изготовляемые на ГКМ, имеют форму тел вращения с прямой осью. Масса поковок может быть несколько десятков килограммов, но не превышать 100 кг. На ГКМ можно: производить высадку конусов длинных (до 3,5 м) прутков и труб; получать изделия типа стержня или трубы с головкой значительного объема; штамповать осадкой в торец изделия сложной формы; получать от прутка поковки с прошитыми отверстиями без отходов металла при просечке.

В качестве исходной заготовки используют пруток круглого или квадратного сечения, трубный прокат. Штампуют поковки: стержни с утолщениями и глухими отверстиями, кольца, трубчатые детали со сквозными и глухими отверстиями. Так как штамп состоит из трех частей, то напуски на поковки и штамповочные уклоны малы или отсутствуют. К недостаткам горизонтально-ковочных машин следует отнести их малую универсальность и высокую стоимость.

Горизонтально-ковочная машина представляет собой механический кривошипный штамповочный пресс, имеющий разъемную матрицу, одна часть которой является подвижной – зажимной. Кроме главного деформирующего ползуна, имеется ползун, движение которого перпендикулярно движению главного. Горизонтально-ковочные машины выбираются по номинальному усилию, которое составляет 1…31,5 МН.

Штамп состоит из трех частей: неподвижной матрицы, подвижной матрицы и пуансона, размыкающихся в двух взаимно перпендикулярных плоскостях. Пруток с нагретым участком на его конце закладывают в неподвижную матрицу. Положение конца прутка определяется упором. При включении машины подвижная матрица прижимает пруток к неподвижной матрице, упор автоматически отходит в сторону, и только после этого пуансон соприкасается с выступающей частью прутка и деформирует ее. Металл при этом заполняет формующую полость, расположенную впереди зажимной части. Формующая полость может находиться только в матрице, только в пуансоне, а также в матрице и пуансоне. После окончания деформирования пуансон движется в обратном направлении, выходя из полости матрицы. Матрицы разжимаются, деформированную заготовку вынимают или она выпадает из них.

Штамповка выполняется за несколько переходов в отдельных ручьях, оси которых расположены одна над другой. Каждый переход осуществляется за один рабочий ход ползуна. Осуществляются операции: высадка, прошивка, пробивка. За один переход можно высадить выступающий из зажимной части матрицы конец прутка только в том случае, если его длина не превышает трех диаметров. При большей длине возможен изгиб заготовки, поэтому предварительно необходимо произвести набор металла. Набор металла осуществляется в полости пуансона, которой придают коническую форму.

После штамповки в открытых штампах производят обрезание облоя и пробивку пленок в специальных штампах, устанавливаемых на кривошипных прессах. Правку штампованных поковок выполняют для устранения искривления осей и искажения поперечных сечений, возникающих при затрудненном извлечении поковок из штампа, после обрезания облоя, после термической обработки. Крупные поковки и поковки из высокоуглеродистых и высоколегированных сталей правят в горячем состоянии либо в чистовом ручье штампа сразу после обрезания облоя, либо на обрезном прессе (обрезной штамп совмещается с правочным штампом), либо на отдельной машине. Мелкие поковки правят на винтовых прессах в холодном состоянии после термической обработки. Термическую обработку применяют для получения требуемых механических свойств поковок и облегчения их обработки резанием. Отжиг снимает в поковках из высокоуглеродистых и легированных сталей остаточные напряжения, измельчает зерно, снижает твердость, повышает пластичность и вязкость. Нормализацию применяют для устранения крупнозернистой структуры в поковках из сталей с содержанием углерода до 0,4%. Очистку поковок от окалины производят для облегчения контроля поверхности поковок, уменьшения износа металлорежущего инструмента и правильной установки заготовки на металлорежущих станках. На дробеструйных установках окалину с поковок, перемещающихся по ленте конвейера, сбивают потоком быстро летящей дроби диаметром 1…2 мм. В галтовочных барабанах окалина удаляется благодаря ударам поковок друг о друга и о металлические звездочки, закладываемые во вращающийся барабан. Калибровка поковок повышает точность размеров всей поковки или отдельных ее участков. В результате этого последующая механическая обработка устраняется полностью или

ограничивается только шлифованием. Различают плоскостную и объемную калибровку. Плоскостная калибровка служит для получения точных вертикальных размеров на одном или нескольких участках поковки. Объемной калибровкой повышают точность размеров поковки в разных направлениях и улучшают качество ее поверхности. Калибруют в штампах с ручьями, соответствующими конфигурации поковки.

Припуски и допускаемые отклонения размеров поковок, штампуемых на ГКМ, определяют по ГОСТ 7505-89.

5. Экономическое обоснование выбора метода получения исходной заготовки

Как было указанно в пункте 4 наиболее рациональным методом получения заготовки для детали втулка является горячая объемная штамповка на горизонтально-ковочных машинах и метод получения заготовок из проката. Рассмотрим два этих варианта, которые показаны на рисунке 1.

Категория материала — М1. Степень сложности С поковок определяется в зависимости от объема Vп (массы Gп) поковки к объему Vф (массы Gф) фигуры в виде цилиндра, описанного вокруг поковки

 


Отсюда следует, что  и степень сложности С2.

Класс точности – Т4.

Исходный индекс – 12.

Конфигурация поверхности разъема штампа – П (плоская).

Масса заготовки полученной штамповкой mз =7,54 кг; масса заготовки из проката mз=16,34 кг.

Для определения более рационального варианта заготовки произведем технико-экономический расчет таких показателей, как коэффициент использования материала .

 где

mд – масса детали, кг

mЗ – масса заготовки, кг

Прокат                        Штамповка на ГКМ

                  

Себестоимость изготовления заготовок Sзаг определяем по формулам 6 и 7 стр. 31-48 [ 2 ].

Для заготовки из проката:

 

Q – масса заготовки, кг; Q =16,34 кг;

S – цена 1 кг материала заготовки, руб.; S = 0,134 руб.;

q – масса готовой детали, кг; q = 4,65 кг;

Sотх – цена 1 тонны отходов, руб.; Sотх = 29,8 руб.;

 

Для штамповки на ГКМ:

 

где:Ci – базовая стоимость 1 тонны заготовок, руб; Ci = 315 руб.

КТ, КС, КВ, КМ, КП – коэффициенты, зависящие от класса точности, группы сложности, массы, марки материала и объема производства заготовок.

КТ = 0,9; КС = 1,15; КВ = 0,89; КМ = 1,18; КП = 1,0;

Q = 7,54 кг; q = 4,65 кг; Sотх = 29,8 кг

Рассчитаем затраты на дополнительную механическую обработку проката по отношению к отливке в кокиль.

Число ходов определим по формуле:

.


Определим основное время:

Черновое точение:

 


Сверление отверстия:


Рассверливание отверстия:


Отрезание:


Будем считать, что точение выполняется на токарно-револьверном станке (1341), тогда j = 1,98.

Определим штучно-калькуляционное время:


Определяем технологическую себестоимость операций:


где: Спз – приведенные затраты на рабочем месте, коп/час;

 

где:  – основная и дополнительная заработная плата, а также начисления на соцстрах оператору и наладчику за физический час работы обслуживаемых машин, коп/час;

 – коэффициент многостаночности, принимаемый по фактическому состоянию на рассматриваемом участке;

 – часовые затраты по эксплуатации рабочего места, коп/час;

 – нормативный коэффициент экономической эффективности капитальных вложений: для машиностроения ;

 – удельные часовые капитальные вложения в станок, коп/час;

 – удельные часовые капитальные вложения в здание, коп/час.

 

где:  – принятое число станков на операции.

  

где:  – производственная площадь, занимаемая станком, с учетом проходов, м2;

 – производственная площадь, занимаемая станком, м2;

 – коэффициент, учитывающий дополнительную производственную площадь (на проходы, проезды и др.).


Определение полной себестоимости заготовки из проката:


Экономический эффект изготовления заготовки:


Таблица 11 Сравнительная таблица для выбора заготовки

Вид заготовки

Масса заготовки

Q, кг

КИМ

Себестоимость изготовления, руб

Экономический эффект (по отношению к прокату), руб

Прокат

16,34

2,86

Штамповка на ГКМ

7,54

0,62

2,5

5760


Вывод: проанализировав два варианта метода получения заготовки, принимаем штамповку на ГКМ, так как этот метод более эффективен с экономической точки зрения.



Рис. 1

6. Расчет припусков на заготовку

 

Исходная заготовка – штамповка на ГКМ. Масса исходной заготовки 7,54кг. Расчёт припусков на механическую обработку будем вести для поверхности диаметром Ø70d10. Технологический маршрут обработки поверхности Ø70d10 состоит из однократного точения и однократного шлифования.

Таблица 12

Технологический переход

Элементы припуска, мкм

Расчетный припуск

2Zmin мкм

Расчетный мини-

мальный размер

dmin, мм

Допуск на изготовление

Тd, мкм

Принятые размеры по переходам, мм

Полученные предельные припуски, мм

Rz

h

ΔΣ

e

dmax

dmin

2Zmax

2Zmin

Исходная заготовка

150

250

1203

73,52

4000

77,52

73,52

Точение

30

30

72,2

600

2·1744

70,04

300

70,34

70,04

7,18

3,48

Шлифование

2·132

69,78

120

69,90

69,78

0,44

0,26










7,62

3,74


Суммарное значение пространственных отклонений, возникающих при штамповке, будут равны:


где:  - величина коробления заготовки

Δк=0,6 мкм/мм – удельная кривизна заготовок (коробление),

Погрешность заготовки по смещению.

Суммарные отклонения расположения (пространственные отклонения) после обработки являются следствием копирования исходных отклонений, они определяются для каждого перехода.

Определение промежуточных значений припусков на механическую обработку:

.

– коэффициент уточнения формы.

На основании записанных в таблице данных проводим расчёт минимальных значений межоперационных припусков, по формуле:

.

Минимальный припуск :

под точение                  ;

под шлифование         .

Определяем расчетные минимальные размеры шейки золотника после каждого перехода, начиная с конечного (чертежного) размера, который получают:

при шлифовании

при точении       

для заготовки     

Значение допусков каждого перехода принимаются по таблицам в соответствии с классом точности обработки.

Шлифование IT 10 ()

Точение                IT 12 ()

Определяем наибольшие предельные размеры прибавлением допуска к наименьшим предельным размерам:

.

Предельные размеры припусков определяются как разность соответствующих наибольших или наименьших размеров:


Общий припуск определяем, суммируя промежуточные припуски:


Проверка правильности выполненных расчётов:

7. Выбор и обоснование варианта маршрутного, технологического процесса

Технологический маршрут обработки заготовки служит для установления последовательности выполнения технологических операций с соблюдением принципа единства и постоянства технологических баз.

Для крупносерийного производства технологический процесс должен быть дифференцирован по операциям.

Все операции выполняются методом получения заданной точности на настроенных станках с применением специальных приспособлений, сокращающих время на установку и снятие заготовок, а также специального и стандартного режущего инструмента.

Технологический маршрут обработки втулки состоит из следующих основных операций:

005 Токарно-револьверная;

010 Токарно-револьверная;

015 Радиально-сверлильная;

020 Фрезерная;

025 Фрезерная;

030 Фрезерная;

035 Слесарная;

040 Вертикально-сверлильная;

045 Круглошлифовальная.

Обоснование варианта маршрутного технологического процесса

Различие двух вариантов обработки детали заключается в 045 операции. В первом случае окончательная обработка наружной цилиндрической поверхности Ø70d10 выполняется шлифованием с осевым движением подачи на круглошлифовальном станке 3Б12. Во втором случае обработка ведется точением на токарно-винторезном станке 1А616.

Произведем сравнение двух вариантов рассчитав штучно-калькуляционное время на рассматриваемую операцию.

В первом случае (см. п. 11):

.

 мин.

Во втором случае:

Инструмент: Токарный проходной упорный отогнутый резец Т14К8 ГОСТ 18879-73.

Глубина резания t=0,34 мм.

Подача на оборот: S=0,2 мм/об.

Корректируем подачу по паспортным данным станка Sд=0,18 мм/об.

Скорость резания:

 м/мин.

n =  об/мин.

Принимаем по паспорту станка n = 360 об/мин.

Vф =  м/мин.

мин.

Вспомогательное время на операцию:

.

Оперативное время на операцию:

.

Время на обслуживание рабочего места, отдых и личные надобности:

.

Штучное время на операцию:

 

=1,5+0,58+0,2=2,28 мин.

Подготовительно-заключительное время на партию:

.

Штучно-калькуляционное время:

 

 мин.

С учетом годовой программы экономия составит:


Вывод: выбираем первый вариант обработки наружной цилиндрической поверхности Ø70d10. Обработка данным методом (шлифованием) будет экономичнее, поскольку время на обработку сократится (), по сравнению с точением в один проход.

8. Выбор металлорежущего оборудования и его технические характеристики

 

Выбор металлорежущего станка для операции определяется методом обработки, габаритными размерами заготовок с учетом их конфигурации, мощностью, необходимой на резание, техническими требованиями, определяющими точность и шероховатость обработанных поверхностей; производительностью и себестоимостью в соответствии с типом производства. При выборе конкретной модели станка необходимо обязательно учитывать его технические характеристики, основные из которых размерные, скоростные и силовые.

Режущий инструмент необходимо выбирать в зависимости от методов обработки, свойств обрабатываемого материала, предусматриваемой точности обработки и качества поверхности. Следует отдавать предпочтение быстродействующим, автоматизированным многоместным приспособлениям, допускающим совмещение переходов, перекрытие основного и вспомогательного времени.

Основные характеристики металлорежущих станков:

 

Токарно-револьверный станок 1П365:

Наибольший диаметр обрабатываемого прутка, мм                     80

Наибольший диаметр заготовки над станиной, мм                      500

Наибольший диаметр заготовки над суппортом, мм                    320

Наименьшее и наибольшее расстояние от торца

шпинделя до грани револьверной головки, мм                            275–1000

Пределы чисел оборотов в минуту                                               34–1500

Количество ступеней чисел оборотов                                          12

Наибольший продольный ход револьверной

головки и поперечного суппорта, мм                                           725

Число продольных и поперечных подач                                                11

Пределы продольных подач револьверной головки и

поперечного суппорта, мм/об                                               0,045 – 1,35

Пределы поперечных подач поперечного суппорта, мм/об         0,09 – 2,7

Мощность главного электродвигателя, кВт                         14

Габариты станка, мм                                                   3320×1565×1755

Вес станка, кг                                                                                 3400

Категория ремонтной сложности                                                 32

 

Радиально-сверлильный станок 2Е52:

Наибольший диаметр сверления по стали, мм                              25

Наибольшее усилие подачи, кг                                                      400

Расстояние от оси шпинделя до колонны, мм                    313-813

Расстояние от торца шпинделя до плиты, мм                              900

Конус Морзе шпинделя                                                                 №3

Наибольшее вертикальное перемещение шпинделя, мм               130

Число ступеней скоростей                                                            8

Пределы чисел оборотов в минуту                                               56-1400

Число ступеней подачи                                                                           3

Пределы подач шпинделя, мм/об                                        0,1; 0,15; 0,2

Мощность электродвигателя, кВт                                                 2,2

Габариты станка, мм                                                            1770×815

Категория ремонтной сложности                                                 9

Вертикально-фрезерный станок 6М13П:

Расстояние от оси или торца шпинделя до стола, мм                           30-520

Расстояние от вертикальных направляющих до

середины стола, мм                                                              260-580

Расстояние от оси шпинделя до станины (вылет шпинделя), мм 450

Размеры рабочей поверхности стола, мм                                     800×200

Наибольшее перемещение, мм

         продольное                                                                                    900

         поперечное                                                                                     300

         вертикальное                                                                        300

Число ступеней подач                                                                   18

Подача стола, мм/мин:

         продольная                                                                           25-1250

поперечная                                                                                    25-1250

         вертикальная                                                               8,3-416,6

Диаметр отверстия шпинделя, мм                                                 29

Конус Морзе шпинделя                                                                 №3

Размер оправок для инструмента, мм                                           32; 50

Количество скоростей шпинделя                                                  18

Пределы чисел оборотов шпинделя в минуту                     31,5-1600

Мощность электродвигателя, кВт

         главного движения                                                               10

         подачи стола                                                                         3

Габариты станка, мм                                                            1720×1750

Категория ремонтной сложности                                                 23

Вертикально-сверлильный станок 2Н118:

Наибольший диаметр сверления, мм                                            18

Конус Морзе шпинделя                                                                 №2

Наибольшее осевое перемещение шпинделя, мм                          150

Вылет шпинделя, мм                                                                      200

Расстояние от конца шпинделя до стола, мм

наибольшее                                                                                    650

наименьшее                                                                                    0

Перемещение шпинделя на 1 оборот маховичка рукоятки, мм    110

Цена деления лимба, мм                                                                1

Перемещение шпиндельной головки на один оборот маховичка, мм 4,4

Наибольшее перемещение шпиндельной головки, мм                  300

Наибольшее вертикальное перемещение стола, мм                      350

Перемещение стола на 1 оборот рукоятки, мм                                       2,4

Ширина рабочей поверхности стола, мм                                               320

Длина рабочей поверхности стола, мм                                         320

Число скоростей шпинделя                                                           9

Величины чисел оборотов шпинделя      180, 250, 355, 500, 710, 1000, 1420, 2000, 2800

Число подач                                                                                   6

Величины подач, об/мин                          0,1; 0,14; 0,20;

0,28; 0,40; 0,56

Наибольшее усилие подачи на шпинделе, кг                                560

Наибольший крутящий момент на шпинделе, кг.см                     880

Мощность, кВт                                                                              1,5

Габариты станка, мм                                                            910×550

Категория ремонтной сложности                                                 11

 

Кругло-шлифовальный станок 3Б12:

Наибольший диаметр заготовки над станиной, мм                      200

Наибольшая длина обрабатываемой заготовки, мм                     500

Конус Морзе передней бабки                                                                 №3

Диаметр шлифовального круга, мм                                                        300

Число оборотов шпинделя шлифовальной бабки в минуту                   2500

Скорость перемещения стола, мм/мин                                         0,1-6

Угол поворота стола, град                                                            ±6

Наибольшее поперечное перемещение шлифовальной бабки, мм         215

Поперечная подача шлифовальной бабки на один ход стола, мм        

0,002-0,038

Пределы чисел оборотов поводкового патрона в минуту           78-780

Мощность электродвигателя станка, кВт                                               3

Габариты станка, мм                                                            2600×1750

Категория ремонтной сложности                                                  30

9. Аналитический анализ режимов резания

Назначение режимов резания ведем по [ 11 ]

Операция 005 Токарно-револьверная

Обработка детали ведется на токарно-револьверном станке 1П365.

Заготовка устанавливается в 3-х кулачковый патрон ГОСТ 2675-80, и базируется по наружной цилиндрической и торцовой поверхностям.

Операция осуществляется за 8 переходов.

СОТС: 5%-ная эмульсия из эмульсола НГЛ-205 ТУ 38-1-242-69.

Переход 1: Подрезать торец 5 (142,6­-1).

Инструмент: Токарный подрезной прямой резец Т15К6 ГОСТ 18893-73.

Измерительный инструмент: Штангенциркуль ШЦ-׀-150-0,1 ГОСТ 166-89.

Глубина резания t=2,6 мм.

Подача на оборот: S=0,6 мм/об.

Корректируем подачу по паспортным данным станка Sд=0,5 мм/об.

Скорость резания:

 м/мин.

n =  об/мин.

Принимаем по паспорту станка n = 380 об/мин.

Vф =  м/мин.

Сила резания:

.

Мощность резания:

 кВт.

Мощность станка кВт, следовательно, условие выполняется.

Переход 2: Точить поверхность 2 (Ø128-0,4).

Инструмент: Токарный проходной прямой резец Т15К6 ГОСТ 18878-73.

Измерительный инструмент: Штангенциркуль ШЦ-׀-150-0,1 ГОСТ 166-89.

Глубина резания t=2,6 мм.

Подача на оборот: S=0,33 мм/об.

Корректируем подачу по паспортным данным станка Sд=0,36 мм/об.

Скорость резания:

 м/мин.

n =  об/мин.

Принимаем по паспорту станка n = 380 об/мин.

Vф =  м/мин.

Сила резания:

.

Мощность резания:

 кВт.

Мощность станка кВт, следовательно, условие выполняется.

Расчет режимов резания на переходы 3, 4, 8 (растачивание отверстия 1) приведены в пункте 10.

Переход 5: Расточить выточку 3 предварительно (Ø48+0,62)

Инструмент: Токарный расточной резец Т15К6 ГОСТ 18883-73

Глубина резания t=2,0175мм.

 – число ходов.

Подача на оборот: S=0,1 мм/об.

Корректируем подачу по паспортным данным станка Sд=0,09 мм/об.

Скорость резания:

 м/мин.

n =  об/мин.

Принимаем по паспорту станка n = 380 об/мин.

Vф =  м/мин.

Сила резания:

.

Мощность резания:

 кВт.

Мощность станка кВт, следовательно, условие выполняется.

Переход 6: Расточить выточку 3 окончательно (Ø50+0,16)

Инструмент: Токарный расточной резец Т15К6 ГОСТ 18883-73

Измерительный инструмент: Штангенциркуль ШЦ-׀-125-0,02 ГОСТ 166-89.

Глубина резания t=1,0 мм.

Подача на оборот: S=0,08 мм/об.

Корректируем подачу по паспортным данным станка Sд=0,09 мм/об.

Скорость резания:

 м/мин.

n =  об/мин.

Принимаем по паспорту станка n = 380 об/мин.

Vф =  м/мин.

Сила резания:

.

Мощность резания:

 кВт.

Мощность станка кВт, следовательно, условие выполняется.

Переход 7: Зенковать фаску 4 (2×45º)

Инструмент: Зенковка коническая 2353-0148 Р6М5 ГОСТ 14953-80.

Измерительный инструмент: шаблон СТП.

Глубина резания t=2,0 мм.

Подача на оборот: S=0,3 мм/об.

Корректируем подачу по паспортным данным станка Sд=0,25 мм/об.

Скорость резания:

 м/мин.

n =  об/мин.

Принимаем по паспорту станка n = 68 об/мин.

Vф = м/мин.

Сила резания:

.

Крутящий момент:

.


 кВт.

Мощность станка кВт, следовательно, условие выполняется.

Операция 010 Токарно-револьверная

Обработка детали ведется на токарно-револьверном станке 1П365.

Заготовка устанавливается в 3-х кулачковый патрон ГОСТ 2675-80, и базируется по наружной цилиндрической и торцовой поверхностям.

Операция осуществляется за 4 перехода.

СОТС: 5%-ная эмульсия из эмульсола НГЛ-205 ТУ 38-1-242-69.

Переход 1: Подрезать торец 5 (140­-1)

Инструмент: Токарный подрезной прямой резец Т15К6 ГОСТ 18893-73.

Измерительный инструмент: Штангенциркуль ШЦ-׀-150-0,1 ГОСТ 166-89. Глубина резания t=2,6 мм.

Подача на оборот: S=0,6 мм/об.

Корректируем подачу по паспортным данным станка Sд=0,5 мм/об.

Скорость резания:

 м/мин.

n =  об/мин.

Принимаем по паспорту станка n = 270 об/мин.

Vф =  м/мин.

Сила резания:

.

Мощность резания:

 кВт.

Мощность станка кВт, следовательно, условие выполняется.

Переход 2: Зенковать фаску 4 (2×45º)

Инструмент: Зенковка коническая Р6М5 ГОСТ 14953-80

Измерительный инструмент: Шаблон СТП.

Глубина резания t=2,0 мм.

Подача на оборот: S=0,25 мм/об.

Корректируем подачу по паспортным данным станка Sд=0,25 мм/об.

Скорость резания:

 м/мин.

n =  об/мин.

Принимаем по паспорту станка n = 68 об/мин.

Vф = м/мин.

Сила резания:

.

Крутящий момент:

.

Мощность резания:

 кВт.

Мощность станка кВт, следовательно, условие выполняется.

Переход 3: Подрезать торец 1 и точить канавку 2 (Ø68-0,5)

Инструмент: Токарный отрезной резец Р6М5 ГОСТ 18874-73

Измерительный инструмент: Штангенциркуль ШЦ-׀-150-0,1 ГОСТ 166-89 и шаблон СТП.

Глубина резания t=2,5 мм.

Подача на оборот: S=0,2 мм/об.

Корректируем подачу по паспортным данным станка Sд=0,18 мм/об.

Скорость резания:

 м/мин.

n =  об/мин.

Принимаем по паспорту станка n = 68 об/мин.

Vф =  м/мин.

Сила резания:

.

Мощность резания:

 кВт.

Мощность станка кВт, следовательно, условие выполняется.

Переход 4: Точить поверхность 3 (Ø70,34-0,3)

Инструмент: Токарный проходной упорный отогнутый резец Т15К6 ГОСТ 18879-73.

Измерительный инструмент: Штангенциркуль ШЦ-׀-150-0,1 ГОСТ 166-89.

Глубина резания t=3,59 мм.

Подача на оборот: S=0,5 мм/об.

Корректируем подачу по паспортным данным станка Sд=0,5 мм/об.

Скорость резания:

 м/мин.

n =  об/мин.

Принимаем по паспорту станка n = 272 об/мин.

Vф =  м/мин.

Сила резания:

.

Мощность резания:

 кВт.

Мощность станка кВт, следовательно, условие выполняется.

 

Операция 015 Радиально-сверлильная

Обработка детали ведется на радиально-сверлильном станке 2Е52.

Заготовка устанавливается в приспособление, и базируется по торцу и отверстию.

Операция осуществляется за 1 переходов.

СОТС: 5%-ная эмульсия из эмульсола СДМУ-2 МРТУ 38.1.258.-67.

Переход 1: Сверлить 4 отверстия 1 последовательно по кондуктору (Ø14+0,43)

Инструмент: Сверло спиральное Ø14 Р6М5 ГОСТ 4010-77.

Измерительный инструмент: Калибр-пробка Ø14Н14 ГОСТ 14811-69, шаблон СТП.

Глубина резания t=7,0 мм.

Подача на оборот: S=0,32 мм/об.

Корректируем подачу по паспортным данным станка Sд=0,2 мм/об.

Скорость резания:

 м/мин.

n =  об/мин.

Принимаем по паспорту станка n = 565 об/мин.

Vф = м/мин.

Сила резания:

.

Крутящий момент:

.

Мощность резания:

 кВт.

Мощность станка кВт, следовательно, условие выполняется.

Операция 020 Фрезерная

Обработка детали ведется на вертикально-фрезерном станке 6М13П.

Заготовка устанавливается в специальное приспособление на оправку, и базируется по внутренней цилиндрической поверхности, с упором в торец.

Операция осуществляется за 1 переход.

СОТС: 5-10%-ная эмульсия из эмульсола НГЛ-205 ТУ 38-1-242-69.

Переход 1: Фрезеровать поверхность 1

Инструмент: Фреза торцовая насадная Ø80 Р6М5 ГОСТ 9304-69

Измерительный инструмент: Шаблон СТП.

Глубина резания t=20,0 мм.

D=80мм – диаметр фрезы.

z=16 – число зубьев.

Подача на зуб Sz=0,04 мм/зуб.

Стойкость фрезы: мин.

Скорость резания:

 м/мин.

n =  об/мин.

Принимаем по паспорту станка n = 160 об/мин.

Vф =  м/мин.

Минутная подача:

мм/мин.

Мощность резания:

 кВт,

где:  – величина, определяемая по таблице [ 11 ].

Мощность станка кВт, следовательно, условие выполняется.

 

Операция 025 Фрезерная

Обработка детали ведется на вертикально-фрезерном станке 6М13П.

Заготовка устанавливается в специальное приспособление на оправку, и базируется по внутренней цилиндрической поверхности, с упором в торец.

Операция осуществляется за 1 переход.

СОТС: 5-10%-ная эмульсия из эмульсола НГЛ-205 ТУ 38-1-242-69.

Переход 1: Фрезеровать поверхность 1

Инструмент: Фреза торцовая насадная Ø80 Р6М5 ГОСТ 9304-69.

Измерительный инструмент: Шаблон СТП.

Глубина резания t=14,0 мм.

D=80мм – диаметр фрезы.

z=16 – число зубьев.

Подача на зуб Sz=0,04 мм/зуб.

Стойкость фрезы: мин.

Скорость резания:

 м/мин.

n =  об/мин.

Принимаем по паспорту станка n = 160 об/мин.

Vф =  м/мин.

Минутная подача:

мм/мин.

Мощность резания:

 кВт,

где:  – величина, определяемая по таблице [ 11 ].

Мощность станка кВт, следовательно, условие выполняется.

 

Операция 035 Слесарная

 

Операция 040 Вертикально-сверлильная

Обработка детали ведется на вертикально-сверлильном станке 2Н118.

Заготовка устанавливается в специальное приспособление на оправку, и базируется по внутренней цилиндрической поверхности, с упором в торец.

Операция осуществляется за перехода.

СОТС: 5%-ная эмульсия из эмульсола СДМУ-2 МРТУ 38.1.258.-67

Переход 1: Центровать отверстие 1

Инструмент: Сверло центровочное Ø2,5 Р6М5 ГОСТ 14952-75

Глубина резания t=1,25 мм.

Подача на оборот: S=0,09 мм/об.

Корректируем подачу по паспортным данным станка Sд=0,1 мм/об.

Скорость резания:

м/мин.

n =  об/мин.

Принимаем по паспорту станка n = 2000 об/мин.

Vф = м/мин.

Сила резания:

.

Крутящий момент:

.

Мощность резания:

 кВт.

Мощность станка кВт, следовательно, условие выполняется.

Переход 2: Сверлить отверстие 1 (Ø14+0,43)

Инструмент: Сверло спиральное Ø14 Р6М5 ГОСТ 4010-77.

Измерительный инструмент: Штангенциркуль ШЦ-׀-125-0,1 ГОСТ 166-89.

Глубина резания t=7,0 мм.

Подача на оборот: S=0,3 мм/об.

Корректируем подачу по паспортным данным станка Sд=0,28 мм/об.

Скорость резания:

м/мин.

n = об/мин.

Принимаем по паспорту станка n = 355 об/мин.

Vф = м/мин.

Сила резания:

.

Крутящий момент:

.

Мощность резания:

 кВт.

Мощность станка кВт, следовательно, условие выполняется.

Переход 3: Зенковать фаску 3 (2×45º)

Инструмент: Зенковка коническая Р6М5 ГОСТ 14953-80

Глубина резания t=2,0 мм.

Подача на оборот: S=0,2 мм/об.

Корректируем подачу по паспортным данным станка Sд=0,2 мм/об.

Скорость резания:

м/мин.

n = об/мин.

Принимаем по паспорту станка n = 250 об/мин.

Vф = м/мин.

Сила резания:

.

Крутящий момент:

.

Мощность резания:

 кВт.

Мощность станка кВт, следовательно, условие выполняется.

Переход 4: Нарезать резьбу 2 (М16×2-7Н)

Инструмент: Метчик М16 Р6М5 ГОСТ 3266-81.

Измерительный инструмент: Калибр-пробка резьбовая М16×2-7Н СТП.

Глубина резания t=1,0 мм.

Подача на оборот: S=2,0 мм/об.

Скорость резания:

м/мин.

n = об/мин.

Принимаем по паспорту станка n = 180 об/мин.

Vф = м/мин.

Операция 045 Круглошлифовальная

Назначение режимов резания ведем по [ 7 ]

Обработка детали ведется на круглошлифовальном станке 3Б12.

Заготовка устанавливается на специальную оправку с гофрированными втулками, и базируется по внутренней цилиндрической поверхности, с упором в торец.

Операция осуществляется за 1 переход.

СОТС: Аквол-15 ТУ 38.101931-83.

Переход 1: Шлифовать поверхность 1.

Инструмент: Шлифовальный круг 1 300×40×127 14А 40 СТ1 6 К 35м/с 1кл А ГОСТ 2424-83.

Измерительный инструмент: Калибр-скоба Ø70d10 ГОСТ 16775-93, образцы шероховатости эталонные, контрольно-измерительное приспособление.

Окружная скорость 35 м/с.

Частота вращения заготовки:

.

Величина радиальной подачи Sp выбирается из диапазона 0,003...0,010мм/ход

Принимаем Sp′ = 0,006 мм/ход.

Скорость осевого движения подачи:

Vsос = 32 · (T / dз)0,5 · (2П)0,4 · KS4 · KS7 / Sp´, мм/мин,

где: 2П=0,26мм – снимаемый припуск; Т=40мм – высота круга;

KS4=1,0 – коэффициент в зависимости от жесткости заготовки и формы обрабатываемой поверхности; Коэффициент KS7 зависит от требуемой шероховатости обработанной поверхности.

Принимаем KS7 = 1,3; dз – диаметр обрабатываемой поверхности.

.

Принятое ранее значение радиальной подачи Sp´ корректируется по формуле:

 

Sp = Sp′ · KS1· KS2 ·KS3 · KS4 · KS5 · KS6, мм/ход, где

KS1=1,56 – коэффициент зависящий от группы обрабатываемого материала, требуемой точности и шероховатости обрабатываемой поверхности;

KS2=0,67 – коэффициент зависящий от диаметра шлифовального круга и скорости шлифования;

KS3=0,8 – коэффициент зависящий от способа осуществления радиального движения подачи и способа измерения диаметра обрабатываемой поверхности;

KS4=0,9 – коэффициент зависящий от жесткости заготовки и формы обрабатываемой поверхности;

KS5=0,7 – коэффициент зависящий от точности и жесткости используемого оборудования, что определяется моделью и сроком эксплуатации станка;

KS6=1,1 – коэффициент зависящий от твердости выбранного шлифовального круга;

.

Мощность резания:

 

N = 0,008 · (dз · Sp ·Vsос)0,68 · T0,25 · KN1 · KN2 , кВт,

где: KN1=1,4 – поправочный коэффициент зависящий от твердости круга и скорости шлифования; KN2 =1,0 – поправочный коэффициент зависящий от группы обрабатываемого материала.


Мощность привода главного движения станка N­ст=3,0 кВт, следовательно, условие выполняется.

Проверка на отсутствие прижогов

Предельное значение мощности, затрачиваемое на шлифование, при котором прижоги отсутствуют, вычисляют по формуле

 

[N*пр] = 0,039 = 0,0039 (dз · nз)0,4 · К1, кВт/мм,

где К1 =0,82– поправочный коэффициент в зависимости от степени твёрдости шлифовального круга.

 

[N*пр] =0,0039 (70 · 107)0,4 · 0,82=0,12 кВт/мм.

Сравниваем предельное значение мощности резания для бесприжоговой обработки с мощностью резания, приходящейся на 1 мм ширины шлифования.

Отсутствие прижога соответствует выполнению условия

[N*пр]  N / B , где B=Т=40мм

N / B = 2,5/40 = 0,06. Условие выполняется.

Правка шлифовального круга

В практике машиностроительного производства используют многие способы правки шлифовальных кругов. Наиболее распространенным из них является правка точением. Простота и надежность правки точением предопределяет ее широкое распространение. В первую очередь это касается шлифования для обеспечения точности 6…7-ого квалитетов и выше, шероховатости обрабатываемой поверхности Rа ≤ 0,32 мкм.

Правка выполняется на рабочей скорости шлифовального круга алмазно-металлическими карандашами; алмазными зернами (с естественными гранями), закрепленными в оправах; алмазными инструментами, режущая часть которых подвергнута огранке (шлифованию) для образования определенной геометрической формы (резцы, иглы, гребенки).

Преимущества алмазных карандашей: простота конструкции; жесткость; возможность изменения размеров, количества и расположения алмазов; достаточно равномерное распределение рабочей нагрузки между отдельными алмазными зернами; небольшое время установки и снятия; высокая производительность правки; низкая стоимость.

При правке кругов точением возникают сравнительно малые силы резания не превышающие 50Н, что способствует меньшему разрушению абразивных зерен и связки круга и соответственно меньшему износу рабочей поверхности инструмента при шлифовании.

Для правки круга на операции 055 (круглошлифовальная) принимаем алмазный карандаш типа 02 (С) по ГОСТ 607-80 с расположением алмазов по слоям. Алмазные карандаши типа 02 устанавливаются под углом 2°...5° к радиусу круга в точке взаимодействия инструмента в сторону вращения круга.

Режимы правки точением алмазным карандашом:

скорость осевой подачи Vs пр=0,40 м/мин; при черновых ходах: радиальная подача SPпр=0,03 мм/дв. ход , число рабочих ходов – 2;

при чистовых ходах: радиальная подача SPпр=0,01мм/дв. ход, число рабочих ходов – 1; число выхаживающих ходов – 1.

10. Описание операций и расчет режимов резания

Расчет режимов резания ведем по [ 5 ]

Операция 005 Токарно-револьверная

Обработка детали ведется на токарно-револьверном станке 1П365.

Заготовка устанавливается в 3-х кулачковый патрон ГОСТ 2675-80, и базируется по наружной цилиндрической и торцовой поверхностям.

СОТС: 5%-ная эмульсия из эмульсола НГЛ-205 ТУ 38-1-242-69.

Переход 3: Расточить отверстие 1 предварительно (Ø39,7+0,16)

Инструмент: Токарный расточной резец Т15К6 ГОСТ 18883-73

Глубина резания t=2,25 мм.

Подача на оборот: S=0,18 мм/об (при размерах державки 20×20мм).

Определяем скорость главного движения резания, допускаемую режущими инструментами:

 где

 – общий поправочный коэффициент на скорость резания, учитывающий фактические условия резания,

, где

­ – коэффициент, характеризующий группу стали по обрабатываемости;

 – показатель степени.

; .

.

Сv=420; x=0,15; y=0,20; m=0,20;

Т = 60 мин – период стойкости инструмента.

.

0,9 – поправочный коэффициент при внутренней обработке.

Определим частоту вращения соответствующую найденной скорости резания:

.

Корректируем частоту вращения по паспортным данным станка:

nд=380 об/мин, тогда действительная скорость:

.

Сила резания.

.

Для  Ср=300; х=1,0; y=0,75; n= –0,15.

Кр – коэффициент, учитывающий фактические условия резания.

Крмр∙Кjр∙Кyр∙Кlр∙Кrр=0,86∙0,89∙1,25∙1,0∙0,93=0,89 .

;

Для  Ср=243; х=0,9; y=0,6; n= –0,3;

Крмр∙Кjр∙Кyр∙Кlр∙Кrр=0,86∙0,50∙2,0∙1,0∙0,82=0,71.   

Для  Ср=339; х=1,0; y=0,5; n= –0,4;

Крмр∙Кjр∙Кyр∙Кlр∙Кrр=0,86∙1,17∙2,0∙1,0∙1,0=2,01.

;

;

.

Определяем мощность затраченную на резание.

.

Мощность станка Nст = 14 кВт, следовательно, условие выполняется.

Переход 4: Расточить отверстие 1 начисто (Ø39,93+0,1)

Инструмент: Токарный расточной резец Т15К6 ГОСТ 18883-73

Глубина резания t=0,115 мм.

Подача на оборот: S=0,09 мм/об.

Определяем скорость главного движения резания, допускаемую режущими инструментами:

 где

 – общий поправочный коэффициент на скорость резания, учитывающий фактические условия резания,

, где

­ – коэффициент, характеризующий группу стали по обрабатываемости;

 – показатель степени.

; .

.

Сv=420; x=0,15; y=0,20; m=0,20;

Т = 60 мин – период стойкости инструмента.

.

0,9 – поправочный коэффициент при внутренней обработке.

Определим частоту вращения соответствующую найденной скорости резания:

.

Корректируем частоту вращения по паспортным данным станка:

nд=765 об/мин, тогда действительная скорость:

.

Сила резания:

.

Для  Ср=300; х=1,0; y=0,75; n= –0,15.

Кр – коэффициент, учитывающий фактические условия резания.

Крмр∙Кjр∙Кyр∙Кlр∙Кrр=0,86∙0,89∙1,25∙1,0∙0,93=0,89 .

;

Для  Ср=243; х=0,9; y=0,6; n= –0,3;

Крмр∙Кjр∙Кyр∙Кlр∙Кrр=0,86∙0,50∙2,0∙1,0∙0,82=0,71.   

Для  Ср=339; х=1,0; y=0,5; n= –0,4;

Крмр∙Кjр∙Кyр∙Кlр∙Кrр=0,86∙1,17∙2,0∙1,0∙1,0=2,01.

;

;

.

Определяем мощность затраченную на резание.

.

Переход 8: Тонко расточить отверстие 1 (Ø40+0,039)

Инструмент: Токарный расточной резец Т30К4 ГОСТ 18883-73.

Измерительный инструмент: Калибр-пробка Ø40Н8 ГОСТ 14811-69, образцы шероховатости эталонные.

Глубина резания t=0,035 мм.

Подача на оборот: S=0,045 мм/об.

Определяем скорость главного движения резания, допускаемую режущими инструментами:

 где

 – общий поправочный коэффициент на скорость резания, учитывающий фактические условия резания,

, где

 – коэффициент, характеризующий группу стали по обрабатываемости;

 – показатель степени.

; .

.

Сv=420; x=0,15; y=0,20; m=0,20;

Т = 60 мин – период стойкости инструмента.

.

0,9 – поправочный коэффициент при внутренней обработке.

Определим частоту вращения соответствующую найденной скорости резания:

.

Корректируем частоту вращения по паспортным данным станка:

nд=1500 об/мин, тогда действительная скорость:

.

Сила резания:

.

Для  Ср=300; х=1,0; y=0,75; n= –0,15.

Кр – коэффициент, учитывающий фактические условия резания.

Крмр∙Кjр∙Кyр∙Кlр∙Кrр=0,86∙0,89∙1,25∙1,0∙0,93=0,89 .

;

Для  Ср=243; х=0,9; y=0,6; n= –0,3;

Крмр∙Кjр∙Кyр∙Кlр∙Кrр=0,86∙0,50∙2,0∙1,0∙0,82=0,71.   

Для  Ср=339; х=1,0; y=0,5; n= –0,4;

Крмр∙Кjр∙Кyр∙Кlр∙Кrр=0,86∙1,17∙2,0∙1,0∙1,0=2,01.

;

;

.

Определяем мощность затраченную на резание.

.

Мощность станка Nст = 14 кВт, следовательно, условие выполняется.

Операция 030 Фрезерная

Обработка детали ведется на вертикально-фрезерном станке 6М13П.

Заготовка устанавливается в специальное приспособление на оправку, и базируется по внутренней цилиндрической поверхности, с упором в торец.

Операция осуществляется за 1 переход.

СОТС: 5-10%-ная эмульсия из эмульсола НГЛ-205 ТУ 38-1-242-69.

Переход 1: Фрезеровать поверхность 1

Инструмент: Фреза торцовая насадная Ø100 Р6М5 ГОСТ 9304-69

Измерительный инструмент: Шаблон СТП.

Глубина резания t=14,0 мм.

D=100мм – диаметр фрезы.

z=18 – число зубьев.

Принимаем Sz=0,03 мм/зуб.

Скорость резания – окружная скорость фрезы, м/мин,

,

где Сv=64,7; q=0,25; x=0,1; y=0,2; u=0,15; p=0; m=0,2;

T-период стойкости инструмента, Т=180 мин;

– общий поправочный коэффициент на скорость резания, учитывающий фактические условия резания,

– коэффициент учитывающий качество обрабатываемого материала;

 – коэффициент учитывающий состояние поверхности заготовки;

 – коэффициент учитывающий материал инструмента;

, где

­ – коэффициент, характеризующий группу стали по обрабатываемости;

 – показатель степени при обработке фрезами из твердого сплава.

; .

.

 м/мин

Число оборотов шпинделя, об/мин

об/мин.

Принимаем по паспорту станка n=160 об/мин.

Уточнение режима:

м/мин;

мм/мин.

мм/об.

Сила резания:

, где

Cp=82,5; x=0,95; y=0,8; u=1,1; q=1,1; w=0;

.

 Н

Н

Н

Крутящий момент на шпинделе,

Нм.

Мощность резания:

кВт.

Мощность станка Nст = 10 кВт, следовательно, условие выполняется.

11. Нормирование технологического процесса

В серийном производстве определяется норма штучно-калькуляционного времени:

 , где

 – подготовительно-заключительное время на партию, мин.

n – количество деталей в партии, .

N – годовая программа, N=16000 шт.

nз=12 – число запусков в год,

.

 – штучное время на выполнение операции,

 , где

 – основное время;

 – вспомогательное время;

 – время на организационное обслуживание рабочего места;

 – время на техническое обслуживание рабочего места;

 – время на отдых и личные надобности рабочего;

 – подготовительно-заключительное время.

Для большинства видов механической обработки величина  определяется по формуле:

 ,

Где  – длина перемещения инструмента;

 – число ходов;

 – минутная подача.

Длина перемещения инструмента складывается из следующих составляющих:

 , где

 – длина обработки;

 – длина врезания;

 – длина перебега.

Вспомогательное время  складывается из следующих элементов:

 , где

 – время на установку и снятие заготовки;

 – время, связанное с выполнением перехода;

 – время на контрольные измерения.

Время на организационное обслуживание , техническое обслуживание  и на отдых  принимают в процентах от оперативного времени, которое равно:

.

Нормирование ведем по [ 3 ]

 

Операция 005 Токарно-револьверная

Переход 1: Подрезать торец 5 (142,6­-1).

 

мин.

 

Переход 2: Точить поверхность 2 (Ø128-0,4).

 

мин.

 

Переход 3: Расточить отверстие 1 предварительно (Ø39,7+0,16).

 

мин.

 

Переход 4: Расточить отверстие 1 начисто (Ø39,93+0,1).

 

мин.

 

Переход 5: Расточить выточку 3 предварительно (Ø48+0,62).

 

мин.

 

Переход 6: Расточить выточку 3 окончательно (Ø50+0,16).

мин.

 

Переход 7: Зенковать фаску 4 (2×45º).

 

мин.

 

Переход 8: Тонко расточить отверстие 1 (Ø40+0,039).

 

мин.

Основное время на операцию:

.

Вспомогательное время на операцию:

.

Оперативное время на операцию:

.

Время на обслуживание рабочего места, отдых и личные надобности:

.

Штучное время на операцию:

=7,54+1,58+0,73=9,85 мин.

Подготовительно-заключительное время на партию:

.

Штучно-калькуляционное время:

 

 мин.

Операция 010 Токарно-револьверная

Переход 1: Подрезать торец 5 (140­-1).

 

мин.

 

Переход 2: Зенковать фаску 4 (2×45º).

 

мин.

 

Переход 3: Подрезать торец 1 и точить канавку 2 (Ø68-0,5).

 

мин.

 

Переход 4: Точить поверхность 3 (Ø70,34-0,3).

 

мин.

Основное время на операцию:

.

Вспомогательное время на операцию:

.

Оперативное время на операцию:

.

Время на обслуживание рабочего места, отдых и личные надобности:

.

Штучное время на операцию:

 

=3,45+0,96+0,35=4,76 мин.

Подготовительно-заключительное время на партию:

.

Штучно-калькуляционное время:

 

 мин.

Операция 015 Радиально-сверлильная

Переход 1: Сверлить 4 отверстия 1 последовательно по кондуктору (Ø14+0,43).

 

мин.

Основное время на операцию:

.

Вспомогательное время на операцию:

.

Оперативное время на операцию:

.

Время на обслуживание рабочего места, отдых и личные надобности:

.

Штучное время на операцию:

 

=1,64+0,65+0,20=2,49 мин.

Подготовительно-заключительное время на партию:

.

Штучно-калькуляционное время:

 

 мин.

Операция 020 Фрезерная

Переход 1: Фрезеровать поверхность 1 .

 

мин.

Вспомогательное время на операцию:

.

Оперативное время на операцию:

.

Время на обслуживание рабочего места, отдых и личные надобности:

.

Штучное время на операцию:

 

=1,06+0,52+0,13=1,71 мин.

Подготовительно-заключительное время на партию: .

Штучно-калькуляционное время:

 мин.

Операция 025 Фрезерная

Переход 1: Фрезеровать поверхность 1 .

 

мин.

Вспомогательное время на операцию:

.

Оперативное время на операцию:

.

Время на обслуживание рабочего места, отдых и личные надобности:

.

Штучное время на операцию:

 

=0,94+0,52+0,12=1,58 мин.

Подготовительно-заключительное время на партию: .

Штучно-калькуляционное время:

 

 мин.

Операция 030 Фрезерная

Переход 1: Фрезеровать поверхность 1 .

 

мин.

Вспомогательное время на операцию:

.

Оперативное время на операцию:

.

Время на обслуживание рабочего места, отдых и личные надобности:

.

Штучное время на операцию:

 

=1,01+0,52+0,12=1,65 мин.

Подготовительно-заключительное время на партию:

.

Штучно-калькуляционное время:

 

 мин.

 

Операция 040 Вертикально-сверлильная

Переход 1: Центровать отверстие 1.

 

мин.

 

Переход 2: Сверлить отверстие 1 (Ø14+0,43).

 

мин.

 

Переход 3: Зенковать фаску 3 (2×45º).

 

мин.

 

Переход 4: Нарезать резьбу 2 (М16×2-7Н).

 

мин.

Основное время на операцию:

.

Вспомогательное время на операцию:

.

Оперативное время на операцию:

.

Время на обслуживание рабочего места, отдых и личные надобности:

.

Штучное время на операцию:

 

=0,67+1,22+0,18=2,07 мин.

Подготовительно-заключительное время на партию:

.

Штучно-калькуляционное время:

 

 мин.

 

Операция 045 Круглошлифовальная

Переход 1: Шлифовать поверхность 1.

 

То = 2П ·L ∙ Кв / (2 Sp· Vsос), мин,

Г

де L –длина рабочего хода стола с заготовкой в осевом направлении;

Кв =1,2 – коэффициент выхаживания.

 

L = l – (1 – 2K) · Т , мм,

где К – перебег шлифовального круга за пределы длины шлифуемой поверхности заготовки (К = 0,3);

l=96,0 мм – длина обрабатываемой поверхности.

.

Основное время на операцию:

.

Вспомогательное время на операцию:

.

Оперативное время на операцию:

.

Время на обслуживание рабочего места, отдых и личные надобности:

.

Штучное время на операцию:

 

=1,2+0,65+0,17=2,02 мин.

Подготовительно-заключительное время на партию:

.

Штучно-калькуляционное время:

 

 мин.

 

Таблица № 13 Нормы времени по операциям

Номер и наименование операции

,

мин

,

мин

,

мин

Тоборгтех ,

%

,

%

,

мин

,

мин

,

мин

 005 Токарно-револьверная

7,54

9,12

2

6

15,5

9,85

9,86

 010 Токарно-револьверная

3,45

0,96

4,41

2

6

15,5

4,76

4,77

 015 Радиально-сверлильная

1,64

0,65

2,29

2,5

6

11,0

2,49

2,50

020 Фрезерная

1,06

0,52

1,58

2

6

14,0

1,71

1,72

 025 Фрезерная

0,94

0,52

1,46

2

6

14,0

1,58

1,59

 030 Фрезерная

1,01

0,52

1,53

2

6

14,0

1,65

1,66

 040 Вертикально-сверлильная

0,67

1,22

1,89

2,5

7

11,0

2,07

2,08

 045 Круглошлифовальная

1,2

0,65

1,85

5

4

21

2,02

2,04

Итого







26,13

26,22


12. Определение фактического типа и организационной формы производства

На основании нормирования технологического процесса определяем среднее штучно-калькуляционное время:

, где

р=8 – количество операций.

 мин.

Определяем такт выпуска деталей:

, где

 час. – действительный годовой фонд работы оборудования при односменной работе в часах.

 шт. – годовая программа.

мин.

Определяем коэффициент серийности:

 ,

что соответствует крупносерийному производству.

Формы организации производства зависят от:

1. Порядка выполнения операций техпроцесса;

2. Расположение оборудования;

3. Количества изделий и направления их движения в процессе изготовления

Целесообразность применения поточной формы организации производства устанавливается на основе сопоставления среднего штучного времени с расчетным тактом выпуска, т.е. по числу работающих мест Rм , приходящихся на одну операцию.

.

При принимается групповая форма организации производства.

13. Расчет количества металлорежущих станков на программу

Правильный выбор оборудования определяет его рациональное использование во времени. При выборе станков этот фактор должен учитываться таким образом, чтобы исключить их простои, т.е. нужно выбирать станки по производительности.

Определение расчетного числа станков на операции:

, где

 – штучно-калькуляционное время на операцию;

 – такт выпуска деталей.

Коэффициент загрузки оборудования:

 , %

где  – принятое число станков на операцию.

Таблица № 14

№ операции

Модель станка

мин

%

005

1П365

9,86

1,34

2

99

010

1П365

4,77

0,65

015

2Е52

2,50

0,34

1

34

020

6М13П

1,72

0,23

1

68

025

6М13П

1,59

0,22

030

6М13П

1,66

0,23

040

2Н118

2,08

0,28

1

28

045

3Б12

2,04

0,28

1

28

Итого

6

257


Средний коэффициент загрузки станков: .

Рис. 4. График загрузки оборудования

14. Расчет производственных и вспомогательных рабочих

Определение числа рабочих станочников:

 , где

 – число станков на участке;

час. – действительный годовой фонд времени работы оборудования при односменной работе;

 – коэффициент ремонта оборудования;

час. – действительный годовой фонд времени работы рабочего;

 – количество смен.

чел.

Принимаем  человек.

Определение числа вспомогательных рабочих:

Число вспомогательных рабочих принимается в пределах 15-20% от числа производственных рабочих.


Принимаем 2 человека.

Определение числа младшего обслуживающего персонала (МОП):

Число МОП составляет 2-3% от общего числа рабочих.

Принимаем 1 человека.

Определение числа инженерно-технических работников (ИТР):

Число ИТР составляет 10-12% от общего числа рабочих и МОП.


Принимаем 2 человека.

Общее число работающих на участке:

 человек.

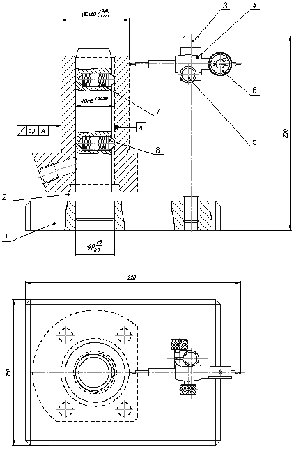
15. Описание и принцип работы контрольного приспособления

Контроль, которому подвергается каждый узел и каждая изготовленная деталь, имеет целью проверить соответствие точности формы относительного положения и перемещения их исполнительных поверхностей установленным нормам. Чтобы получить при контроле наиболее полное представление о значении контролируемого параметра, необходимо исключить, насколько это возможно влияние погрешности параметров связанных с ними.

Радиальное биение - разность наибольшего и наименьшего расстояний от точек реального профиля поверхности вращения до базовой оси (оси базовой поверхности или общей оси) в сечении плоскостью, перпендикулярной базовой оси.

Расчёт погрешности контрольно-измерительного приспособления.

Условие годности КИП по точности:

где: – допустимая погрешность измерения КИП;

Тп – допуск контролируемого параметра;

к – нормирующий коэффициент (0,2 – 0,35), принимаем к=0,35;

= 0,35∙0,1 =0,035мм=35 мкм

Погрешность измерения для данного случая контроля будет иметь вид:

= ∆б+ ∆пр+∆гол + ∆мет

где: ∆б.=0 мкм – погрешность базирования;

пр= 4 мкм – погрешность оправки;

гол.=3 мкм – погрешность индикаторной головки;

В качестве индикатора принимаем – головку пружинную (микрокатор), 5 ИГП (ГОСТ 6933-72), с ценной деления 0,005 мм.

мет. = 2 мкм – погрешность метода измерения;

= 0+4+3+2 =9 мкм < = 35 мкм – условие выполняется.

Описание контрольно-измерительного приспособления

Приспособление состоит из плиты 1, на которой размещены оправка 2 и индикаторная стойка 3. Индикатор 6 крепится на стойке при помощи кронштейна 4 , напротив участка измерения.

Предварительно индикатор отводят в противоположное от места измерения положение. Контролируемую деталь устанавливают на оправку 2. Подводится индикатор. Деталь вращают рукой относительно своей оси минимум на один оборот, производят измерения предельных отклонений стрелки индикатора. По разности показаний определяют радиальное биение.

Рис. 5 Схема контрольно-измерительного приспособления

16. Технико-экономические показатели

Таблица № 15

Наименование показателей

Ед. изм.

Количество

1

Наименование детали

Втулка

2

Годовая программа выпуска

шт.

16000

3

Число смен работы

1

4

Действительный годовой фонд времени работы оборудования

час

1960

5

Действительный годовой фонд времени рабочего

час

1650

6

Масса готовой детали

кг

4,65

7

Масса заготовки

кг

7,54

8

Коэффициент использования материала заготовки

0,62

9

Сумма основного времени по операциям

мин.

17,51

10

Сумма штучного времени по операциям

мин.

26,13

11

Средний коэффициент загрузки оборудования

0,43

12

Количество станков

шт.

6

13

Количество станочников

чел.

7

14

Общее количество работающих на участке

чел.

12



17. Список используемой литературы

1. Курсовое проектирование: Метод. Указания для спец-тей 1201 –Спб: ПИМаш 2005.

2. Горбацевич А.Ф., Шкред В.А. Курсовое проектирование по технологии машиностроения: учебное пособие для машиностроит. Спец-тей вузов. – Минск. 1983.

3. Общемашиностроительные нормативы времени вспомогательного, на обслуживание рабочего места и подготовительно-заключительного на работы, выполняемые на металлорежущих станках. – М.: Изд-во НИИ труда, 1984.

4. Справочник технолога-машиностроителя. В 2-х т. Т. 1/ Под ред. А.Г. Косиловой и Р.К. Мещерякова. – 4-е изд., перераб. И доп. – М.: Машиностроение, 1985.

5. Справочник технолога-машиностроителя. В 2-х т. Т. 2/ Под ред. А.Г. Косиловой и Р.К. Мещерякова. – 4-е изд., перераб. И доп. – М.: Машиностроение, 1985.

6. Экономическая эффективность новой техники и технологии в машиностроении/ К.М. Великанов, В.А. Березин, Э.Г. Васильева и др.: Под ред. К.М. Великанова. – Л.: Машиностроение, 1981.

7. Методические указания. Выбор шлифовальных кругов, режимов шлифования и нормирование. / В.Г. Юрьев - Спб: ПИМаш, 2006.

8. Расчет точности станочных приспособлений. / В.Г. Юрьев, Ю.М. Зубарев, А.Г. Схиртладзе, А.В. Приемышев, В.В. Звоновских, Л.А. Куцанов - Спб: ПИМаш, 2002.

9. Обработка металлов резанием: Справочник технолога / А.А. Панов, В.В Вникин, Н.Г. Бойм и др.: Под общ. ред. А.А. Панов. – М.: Машиностроение, 1988.

10.    Маталин А.А. Технология машиностроения: Учебник для машиностроительных вузов. – Л.: Машиностроение, 1985.

11.    Режимы резания металлов. / Под ред. Ю.В. Барановского – М.: машиностроение, 1972.

Похожие работы на - Расчет технологической детали "Втулка"

 

Не нашли материал для своей работы?
Поможем написать уникальную работу
Без плагиата!
Без нейросетей!