Фильтр низкой частоты
Курсовая
Работа на тему:
“ФНЧ” –
Фильтр низкой частоты
Содержание
Введение
1. Анализ технического задания
2. Расчёт электрических параметров
элементов схемы
3. Выбор корпуса
Заключение
Список литературы
Введение
Основным назначением
фильтров является подавление одних частотных составляющих сигнала и пропускание
других. Частотная характеристика фильтра есть кривая зависимости затухания в
нем от частоты.
Фильтры нижних частот
имеют характеристику затухания, показанную на рис. 1. Для расчета ФНЧ СВЧ
диапазона обычно используют метод сравнения с фильтрами-прототипами нижних
частот из элементов с сосредоточенными параметрами. Это позволяет
воспользоваться широко табулированными значениями элементов нормированных по
частоте фильтров с чебышевскими или максимально плоскими характеристиками и совершенно
не касаться сложных вопросов синтеза фильтров.
Рис. 1. Частотная
характеристика ФНЧ.
Для лучшего совпадения
значений распределенных и сосредоточенных элементов длины отрезков линии
и
должны
быть меньше или равны
. Здесь
и
длины
отрезков, аппроксимирующих индуктивность и емкость соответственно;
- длина волны в полосковом волноводе с
диэлектриком, соответствующая частоте среза фильтра.
Токонесущая полоска СВЧ
фильтра нижних частот изображена на рис. 2. Последовательные отрезки волноводов
высокого характеристического сопротивления аппроксимируют индуктивность фильтра
прототипа, каждая же емкость фильтра состоит из двух одинаковых разомкнутых
отрезков несимметричных полосковых волноводов относительно низкого характеристического
сопротивления.
Рис. 2. Эскиз токонесущей
части микрополоскового ФНЧ.
1. Анализ
технического задания
В данной курсовой работе
нужно рассчитать фильтр низкой частоты. С заданными электрическими параметрами:
частота среза fС = 3,5 ГГц; Z = 50 Ом; максимальное затухание в полосе пропускания АП ≤0,5
Дб; затухание на частоте fЗ = 4,9 ГГц; заданное затухание АЗ
≥ 30 Дб. Кроме этих данных, в расчёте потребуются электрические
данные подложки, это диэлектрическая проницаемость ε, а также тангенс угла
диэлектрических потерь подложки tgδ. Эти параметры влияют на активные потери (затухание в диэлектрике) в
фильтре, с увеличением этих параметров, увеличиваются потери в диэлектрике, что
приводит к снижению КПД СВЧ устройства.
Данный фильтр низкой
частоты должен работать при температуре окружающей среды t0 = −30 0С…+50 0С. Годовая
программа выпуска данного устройства 150 шт.
Основным достоинством
полосковых и микрополосковых линий и устройств СВЧ диапазона на их основе
является простота, компактность, дешевизна производства и малая масса. Рабочая
полоса частот полосковых линий значительно больше, чем у стандартных
прямоугольных волноводов.
Полосковые линии находят
применение в СВЧ устройствах, работающих в диапазоне от 500 МГц до 15 ГГц. В
последнее время широкое применение находят симметричные полосковые и
микрополосковые линии, использующиеся как базовые элементы узлов СВЧ трактов и
схем.
Способы изготовления
печатных плат классифицируются следующим образом:
1) проводящее покрытие
наносится только на те участки изоляционного основания, которые должны стать
токопроводящими;
2)на основание
предварительно наносится сплошной металлический слой, который в дальнейшем
удаляется с участков, не входящих в схему. Рассмотрим эти способы.
Нанесение проводящих
участков схемы:
Штамповка. При этом способе медную фольгу
покрывают соответствующим клеящим веществом и помещают в штамповальный пресс, в
котором фольга вырубается и впрессовывается в изоляционный материал. Нагретый
штамп одновременно расплавляет склеивающее вещество, что обеспечивает
сцепление, не уступающее механическому.
Металлизация
токопроводящей краской. Производство схем этим способом включает применение в качестве подложек
керамических материалов, стекла, кварца с последующим вжиганием краски. Металлизирующая
краска состоит обычно из мелкодисперсионого порошка углекислого серебра или
окиси серебра, связки и растворителя. Для защиты
полученного проводящего
слоя применяют осаждение меди электролитическим способом.
Металлизация горячим распылением. Этот
способ заключается в осаждении металлического тумана на изоляционную панель, на
которую предварительно укладывают трафарет, изготовленный по контуру схемы.
Вакуумные способы
получения проводящих покрытий. Способ вакуумного испарения металлов заключается в
нагревание испаряемого металла выше точки плавления в герметически
изолированном пространстве установки.
Изготовление схем
способом химического и электролитического осаждения металла. Химическое осаждение плёнок из
раствора на поверхность подложки основано на явлении вытеснения металла из раствора
его соли восстановителем.
Подложки для печатных
схем СВЧ диапазона:
Керамические
материалы. Стеатитовая
керамика, используемая в качестве изоляционных оснований, изготавливается на
основе талька, углекислого кальция и бария, глины и органических
пластификаторов.
Стекло и ситаллы. Стекло и изделия из стекла получают
сплавлением стеклообразующих окислов с модификаторами. Модификацией стекла
являются ситаллы. По механическим свойствам они превосходят высокоуглеродистые
стали, легче алюминия, химически стойки, обладают малыми диэлектрическими
потерями.
Листовые пластические
материалы.
Пластические материалы представляют собой комплексы низко- и высокомолекулярных
групп, обладающих разными диэлектрическими свойствами. К этим материалам
относятся: полиэтилен, фторопласты, полистирол, пенопласты, стеклопласты,
сополимеры.
2. Расчёт
электрических параметров элементов схемы
Исходные данные:
·
частота среза fС = 3,5 ГГц;
·
Z = 50 Ом;
·
максимальное
затухание в полосе пропускания АП ≤0,5;
·
затухание на
частоте fЗ = 4,9 ГГц;
·
заданное
затухание АЗ ≥ 30 Дб.
Материал подложки:
Ситалл СТ – 38 – 1
(ТХО.781.009.ТУ)
Технологические
характеристики:
ε = 7;
tg δ = 0,0004;
Электрический расчёт:
Находим отношение Ω
- нормированную частоту:

(1)
По графику рис. 3.9 [1]
для АП = 0,5 Дб и АЗ = 30 Дб при Ω=1,4 находим
число элементов фильтра n=6
g1 = 1,725;
g2 = 1,248;
g3 = 2,606;
g4 = 1,314;
g5 = 2,476;
g6 = 0,870.
Определим
характеристические сопротивления разомкнутых отрезков, аппроксимирующих ёмкости
фильтра-прототипа:
;
(4.2)
Ом ; (2)
Ом;
(3)
Ом.
(4)
Определим
характеристические сопротивления короткозамкнутых отрезков L2, L4, L6, аппроксимирующих индуктивности фильтра-прототипа:
;
(5)
Ом;
(6)
Ом;
(7)
Ом.
(8)
По данным электрического
расчёта определяем конструктивные размеры элементов фильтра. Результаты
расчётов приведены в табл. 1
Табл. 1
|
Zi, Ом
|
ZС1
|
ZL2
|
ZC3
|
ZL4
|
ZC5
|
ZL6
|
|
|
2,2
|
0,6
|
4,0
|
0,63
|
4,1
|
1,3
|
|
|
0,51
|
0,55
|
0,49
|
0,56
|
0,50
|
0,53
|
|
bi, см
|
0,22
|
0,06
|
0,4
|
0,07
|
0,41
|
0,13
|
|
LC, см
|
0,437
|
0,471
|
0,420
|
0,479
|
0,428
|
0,474
|
Длины 50–омных отрезков
выбираются произвольно. Пусть
= 20 мм.
Определим активные потери
в фильтре на частоте среза: tgδ=3·10−2. Потери в металле по графику рис. 3.8 [1]
;(9)
.
(10)
Затухание в диэлектрике:
(11)
Результаты расчёта
затухания в элементах фильтра приведены в табл. 2.
Табл. 2
|
i
|
βεi , Дб/см
|
βДi
|
βεi + βДi
|
|
0
|
0,00332
|
0,0452
|
0,0485
|
|
1
|
0,00163
|
0,0531
|
|
2
|
0,00502
|
0,0432
|
0,0482
|
|
3
|
0,00155
|
0,0521
|
0,0537
|
|
4
|
0,00477
|
0,0517
|
0,0565
|
|
5
|
0,00234
|
0,0479
|
0,0502
|
Подставив величины длин
отрезков резонаторов в формулу
, которая для данного
случая имеет вид:
(12)
Подставив значения,
получим:
(13)
Рис. 4.1. Токонесущая
полоска фильтра
Определим геометрические
размеры подложки, для этого вычислим общую длину токонесущей полоски фильтра.
Общая длинна полоски фильтра равна 74,7 мм. Выберем размер подложки, табл. П.3
[2]. Размеры подложки: габариты 75х48 мм; толщина – 1±0,05 мм.
Определим предельную
частоту. Частота, на которой происходит интенсивное возбуждение поверхностных
волн низшего типа, является предельной частотой использования микрополосковой
линии в конкретных конструкциях и определяется соотношением:
(14)
где h – толщина подложки, в мм;
fпр – предельная частота, в ГГц;
εr – относительная диэлектрическая
проницаемость.
Подставив значения,
получим:
ГГц
(15)
На практике fпр получается в 4 – 5 раза меньше, чем
рассчитанная, это объясняется тем, что в теории не учитывается влияние
различных неоднородностей.
3. Выбор
корпуса
В процессе хранения и
эксплуатации устройства СВЧ подвергаются воздействию различных внешних
факторов: механических, климатических. Для уменьшения влияния этих факторов на
работоспособность устройств, осуществляют её защиту.
Основным способом защиты
устройств СВЧ от воздействия дестабилизирующих факторов (температуры,
влажности, плесневых грибков, агрессивных химических сред, механических
воздействий) является герметизация. Её осуществляют с помощью специально
разработанных корпусов.
В зависимости от условий
хранения и эксплуатации к корпусам устройств СВЧ предъявляются различные
требования: достаточная механическая прочность, позволяющая выдерживать
нагрузки при сборке и эксплуатации; минимальные габариты, для обеспечения
компактности сборки; конструкция корпуса должна позволять легко и надёжно выполнять
электрические соединения внутри корпуса; обеспечивать минимальные паразитные
параметры, надёжную изоляцию элементов, герметичность, минимальное тепловое
сопротивление между подложкой и окружающей средой; защищать устройство от
воздействий электромагнитного поля, света; иметь минимальную стоимость.
В связи с необходимостью
обеспечения хорошего электрического контакта экранирующих трактов, а также
компонентов микросборки с экранирующими металлическими слоями подложек одним из
конструктивных требований к монтажу таких устройств, является необходимость
многократной пайки в блоке без выведения из строя уже выполненных соединений.
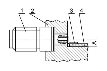
Рис. 5.1. Конструкция
герметичного СВЧ соединителя.
Выводы СВЧ сигнала из
гермообъёма выполняются с помощью коаксиального микрополоскового герметичного
соединения рис. 5.1. Где 1 – корпус; 2 – штырь; 3,4 – изоляционные втулки; 5 –
стекло. Для герметизации штыря соединителя используется металлостеклянный спай,
для этого применяют твёрдые стёкла с коэффициентом теплового расширения α=(45…55)·10-7, 1/0с.
Чаще всего в качестве материалов корпуса используют ковар (α=47·10-7, 1/0с,
Fe - 54%, Ni – 29%, Co – 17%, обладает хорошей теплопроводностью) и молибден (α=55·10-7, 1/0с).
Эти материалы образуют хороший спай с твёрдыми стёклами. Соединитель
герметизируется опайкой, электрические соединения между СВЧ микросборками и
гермосоединителем осуществляются перемычками из фольги, как показано на рис. 5.2.
Где 1 – соединитель; 2 - корпус блока; 3 – перемычка; 4 – СВЧ микросборка.
Расстояние А от плоскости установки микросборки до оси гермосоединителя зависит
от способа крепления микросборок и толщины подложек табл. 2.6 [2]. В данной
курсовой работе используется подложка толщиной 1 мм и способ крепления подложки
к корпусу – приклейка, для этих данных коэффициент А равен 1,6±0,05 мм.
Рис. 5.2. Монтаж СВЧ
соединителя.
Вычислим конструктивные
размеры для микрополосковой линии. Расстояние до верхнего экрана выбирается из условия:
(5.1)
где b – расстояние между нижним и верхним
экраном корпуса;
h – толщина диэлектрика.
Подставив значения,
получим, что b=6 мм.
Минимальное расстояние
между боковыми экранами определяется по формуле:
(5.2)
где a – ширина между боковыми экранами;
W – максимальная ширина токонесущей
пластинки.
Подставив значения
получим, a = 3·8,7 = 26,1 мм.
Корпус для данного ФНЧ
фильтра показан на рис. 5.3. Где 1 – СВЧ соединители; 2 – перемычки; 3 – СВЧ
микросборка.
Рис. 5.3. Корпус ФНЧ
фильтра.
Для уменьшения
напряжений, вызванных изменением температуры окружающей среды и (или) СВЧ
устройства, между корпусом и подложкой прокладывается медная сетка. В следствие
этих напряжений, возможно разрушение подложки. Эта сетка, также будет играть
роль контакта, между корпусом и нижней металлизированной стороной подложки. Для
соединения корпуса с сеткой, а также сетки с подложкой используется пайка.
Общая герметизация СВЧ устройства, достигается с помощью пайки по контуру
верхнего экрана (крышки). Крепление подложки к корпусу, а также крепление
верхнего экрана показано на рис. 5.4. Где, 1 – верхний экран (крышка); 2 –
подложка; 3 – корпус.
Рис. 5.4. Крепление
подложки и верхнего экрана (крышки) к корпусу.
Заключение
Во время выполнения данной курсовой
работы были освоены методики конструкционных расчётов устройств СВЧ. Проведен
расчет фильтра низкой частоты СВЧ устройства. Сделан анализ и разработана
конструкция микросборки. Таким образом, все требования технического задания
были выполнены.
Список
литературы
1.
Голубев В. И.,
Ковалев И. С., Кузнецов Е. Г. и др. «Конструирование и расчет полосковых
устройств», М. – 1974.
2.
Конструирование
экранов и СВЧ устройств/ сост.: Васильев Е.П. Захарьящев Л.И. – Рязань: РРТИ
1984 г. 36с.
3.
Конструирование
тонкоплёночных гибридных микросборок/ сост.: Клочков А.Я., Дьяков С.Н.,
Чистяков В.В. – Рязань: РГРТА 2002. 160с.