Устройство гидропривода

  • Вид работы:
    Контрольная работа
  • Предмет:
    Технология машиностроения
  • Язык:
    Русский
    ,
    Формат файла:
    MS Word
    263,30 kb
  • Опубликовано:
    2010-12-03
Вы можете узнать стоимость помощи в написании студенческой работы.
Помощь в написании работы, которую точно примут!

Устройство гидропривода














КОНТРОЛЬНАЯ РАБОТА

По предмету «ГИДРАВЛИКА И ГИДРОПРИВОД»

Вариант №8

1.Уравнение Бернулли для струйки идеальной жидкости

Рассмотрим элементарную струйку идеальной жидкости при установившемся движении, в которой выделим два сечения 1-1 и2-2.Площади живых сечений потока обозначим d1 и d2. Положение центров тяжести этих сечений относительно произвольно расположенной линии сравнения (нулевой линии) 0- 0 характеризуется величинами z1и z2. Давления и скорости жидкости в этих сечениях имеют значения P1, P2и u1, u2 соответственно.

Будем считать, что движение струйки жидкости происходит только под действием силы давления (внутреннее трение в жидкости отсутствует), а давление обладает свойствами статического и действует по нормали внутрь рассматриваемого объёма.

Image

За малый промежуток времени dt частицы жидкости из 1-1 переместятся в 1'-1' на расстояние, равноеu1dt, а частицы из 2-2 в 2' - 2' на расстояние u2dt.

Согласно теореме кинетической энергии приращение энергии тела (в данном случае выделенного объёма жидкости) равно сумме работ всех действующих на него сил.

Работу в данном случае производят силы давления, действующие в рассматриваемых живых сечениях струйки 1-1 и 2-2, а также силы тяжести. Тогда работа сил давления в сечении 1-1 будет положительна, т.к. направление силы совпадает с направлением скорости струйки. Она будет равна произведению силы P1d1 на путь u1dt:

Image.

Работа сил давления в сечении 2-2 будет отрицательной, т.к. направление силы противоположно направлению скорости. Её значение

Image.

Полная работа, выполненная силами давления, примет вид:

Image.

Работа сил тяжести равна изменению потенциальной энергии положения выделенного объёма жидкости при перемещении из сечения 1-1 в сечение 2-2. С учётом условия неразрывности потока и несжимаемости жидкости, выделенные элементарные объёмы будут равны и, следовательно, будут равны их веса dG:

Image.

При перетекании от сечения 1-1 в сечение 2-2 центр тяжести выделенного объёма переместится на разность высот (z1 z2) и работа, произведённая силами тяжести, составит:

Image.

Проанализируем теперь изменение кинетической энергии рассматриваемого объёма элементарной струйки жидкости.


Image.

Приравнивая приращение кинетической энергии сумме работ сил тяжести и сил давления, придём к виду:

Image.

Разделив обе части на вес dG, т.е. приведя уравнение к единичному весу, получим

Image.

После сокращения и преобразований придём к искомому виду

Image

Если учесть, что сечения 1-1 и 2-2 выбраны произвольно, можно прийти к выводу, что сумма приведённых выше величин Image описывающих движение жидкости под действием сил давления и сил тяжести есть величина постоянная для элементарной струйки, т.е.

Image

2.Типы объёмных гидроприводов по виду движения и их определение

Объемный гидропривод состоит из гидропередачи, устройств управления, вспомогательных устройств и гидролиний (рис.1.1).

#

Рис.1.1. Схема объемного гидропривода

 

Объемная гидропередача, являющаяся силовой частью гидропривода, состоит из объемного насоса (преобразователя механической энергии приводящего двигателя в энергию потока рабочей жидкости) и объемного гидродвигателя (преобразователя энергии потока рабочей жидкости в механическую энергию выходного звена).

В состав некоторых объемных гидропередач входит гидроаккумулятор (гидроемкости, предназначенные для аккумулирования энергии рабочей жидкости, находящейся под давлением, с целью последующего ее использования для приведения в работу гидродвигателя). Кроме того, в состав гидропередач могут входить также гидропреобразователи - объемные гидромашины для преобразования энергии потока рабочей жидкости с одними значениями давления P и расхода Q в энергию другого потока с другими значениями P и Q.

Устройства управления предназначены для управления потоком или другими устройствами гидропривода. При этом под управлением потоком понимается изменение или поддержание на определенном уровне давления и расхода в гидросистеме, а также изменение направления движения потока рабочей жидкости. К устройствам управления относятся:

гидрораспределители, служащие для изменения направления движения потока рабочей жидкости, обеспечения требуемой последовательности включения в работу гидродвигателей, реверсирования движения их выходных звеньев и т.д.;

регуляторы давления (предохранительный, редукционный, переливной и другие клапаны), предназначенные для регулирования давления рабочей жидкости в гидросистеме;

регуляторы расхода (делители и сумматоры потоков, дроссели и регуляторы потока, направляющие клапаны), с помощью которых управляют потоком рабочей жидкости;

Вспомогательные устройства обеспечивают надежную работу всех элементов гидропривода. К ним относятся: кондиционеры рабочей жидкости (фильтры, теплообменные аппараты и др.); уплотнители, обеспечивающие герметизацию гидросистемы; гидравлические реле давления; гидроемкости (гидробаки и гидроаккумуляторы рабочей жидкости) и др.

Состав вспомогательных устройств устанавливают исходя из назначения гидропривода и условий, в которых он эксплуатируется.

Гидролинии (трубы, рукава высокого давления, каналы и соединения) предназначены для прохождения рабочей жидкости по ним в процессе работы объемного гидропривода. В зависимости от своего назначения гидролинии, входящие в общую гидросистему, подразделяются на всасывающие, напорные, сливные, дренажные и гидролинии управления.

В зависимости от конструкции и типа входящих в состав гидропередачи элементов объемные гидроприводы можно классифицировать по нескольким признакам.

1. По характеру движения выходного звена гидродвигателя:

гидропривод вращательного движения (рис.1.2, а), когда в качестве гидродвигателя применяется гидромотор, у которого ведомое звено (вал или корпус) совершает неограниченное вращательное движение. Гидропривод поступательного движения (рис.1.2, б, в), у которого в качестве гидродвигателя применяется гидроцилиндр - двигатель с возвратно-поступательным движением ведомого звена (штока поршня, плунжера или корпуса);

гидропривод поворотного движения (рис.1.2, г), когда в качестве гидродвигателя применен поворотный гидроцилиндр, у которого ведомое звено (вал или корпус) совершает возвратно-поворотное движение на угол, меньший 360 .

2. По возможности регулирования:

регулируемый гидропривод, в котором в процессе его эксплуатации скорость выходного звена гидродвигателя можно изменять по требуемому закону. В свою очередь регулирование может быть дроссельным (рис.1.2, б, г), объемным (рис.1.2, а), объемно-дроссельным или изменением скорости двигателя, приводящего в работу насос. Регулирование может быть ручным или автоматическим. В зависимости от задач регулирования гидропривод может быть стабилизированным, программным или следящим. Регулированию гидропривода будет посвящена отдельная лекция;

нерегулируемый гидропривод, у которого нельзя изменять скорость движения выходного звена гидропередачи в процессе эксплуатации.

3. По схеме циркуляции рабочей жидкости:

гидропривод с замкнутой схемой циркуляции (рис.1.2, а), в котором рабочая жидкость от гидродвигателя возвращается во всасывающую гидролинию насоса. Гидропривод с замкнутой циркуляцией рабочей жидкости компактен, имеет небольшую массу и допускает большую частоту вращения ротора насоса без опасности возникновения кавитации, поскольку в такой системе во всасывающей линии давление всегда превышает атмосферное. К недостаткам следует отнести плохие условия для охлаждения рабочей жидкости, а также необходимость спускать из гидросистемы рабочую жидкость при замене или ремонте гидроаппаратуры;

гидропривод с разомкнутой системой циркуляции (рис.1.2, б, в, г), в котором рабочая жидкость постоянно сообщается с гидробаком или атмосферой. Достоинства такой схемы - хорошие условия для охлаждения и очистки рабочей жидкости. Однако такие гидроприводы громоздки и имеют большую массу, а частота вращения ротора насоса ограничивается допускаемыми (из условий бескавитационной работы насоса) скоростями движения рабочей жидкости во всасывающем трубопроводе.

4. По источнику подачи рабочей жидкости: насосные гидроприводы, в которых рабочая жидкость подается в гидродвигатели насосами, входящих в состав этих гидроприводов;

аккумуляторные гидроприводы, в которых рабочая жидкость подается в гидродвигатели из гидроаккумуляторов, предварительно заряженных от внешних источников, не входящих в состав данных гидроприводов;

магистральные гидроприводы, в которых рабочая жидкость подается к гидродвигателям от специальной магистрали, не входящей в состав этих приводов.

5. По типу приводящего двигателя гидроприводы могут быть с электроприводом, приводом от ДВС, турбин и т.д.

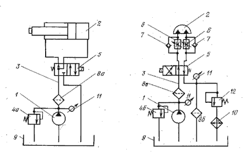
Принцип работы объемного гидропривода основан на законе Паскаля, по которому всякое изменение давления в какой-либо точке покоящейся жидкости, не нарушающее ее равновесия, передается в остальные ее точки без изменения (рис.1.2).

Насосом 1 рабочая жидкость подается в напорную гидролинию 3 и далее через распределитель 5 к гидродвигателю 2. При одном положении гидрораспределителя совершается рабочий ход гидродвигателя, а при другом положении - холостой. Из гидродвигателя жидкость через распределитель поступает в сливную гидролинию и далее или в гидробак 9, или во всасывающую гидролинию насоса (в гидроприводах с замкнутой схемой циркуляции рабочей жидкости, см. рис.1.2, а). В резервуаре жидкость охлаждается и снова поступает в гидросистему. Надежная работа гидропривода возможна только при соответствующей очистке рабочей жидкости фильтрами 8.

Регулирование скорости движения выходного звена гидродвигателя может быть дроссельным или объемным. При дроссельном регулировании в гидросистеме устанавливаются нерегулируемые насосы, а изменение скорости движения выходного звена достигается изменением расхода рабочей жидкости через дроссель 6. При объемном регулировании скорость движения выходного звена гидродвигателя изменяется подачей регулируемого насоса либо за счет применения регулируемого гидромотора.

Работа гидроагрегатов сопровождается утечками рабочей жидкости. В гидросистемах с замкнутой циркуляцией утечки компенсируются специальным подпитывающим насосом 1а (рис.1.2, а).

#

#

Ри.1.2. Варианты принципиальных схем гидроприводов:

а - с объемным регулированием; б - с дроссельным регулированием;
в - нерегулируемый; г - с дроссельным регулированием рабочего и холостого ходов

3.Основные характеристики гидроаппаратов:

- условный проход Dу

- номинальное давление Pном.

- номинальный расход Q ном.

Гидроаппаратами называются устройства, предназначенные для изменения или поддержания заданных параметров потока рабочей жидкости (давления, расхода, направления движения).

По характеру выполнения своих функций все гидроаппараты делятся на регулирующие и направляющие.

Направляющий — это гидроаппарат, который изменяет направление потока рабочей жидкости путем полного открытия или полного перекрытия проходного сечения в нем.

Под проходным сечением гидроаппарата понимается сечение потока, площадь которого определяет расход рабочей жидкости, проходящей через гидроаппарат.

Основным элементом гидроаппаратов является запорно-регулирующий элемент — деталь (или группа деталей), при перемещении которой частично или полностью перекрывается проходное сечение гидроаппарата.

По конструкции запорно-регулирующего элемента гидроаппараты делятся на: золотниковые, в которых запорно-регулирующим элементом является цилиндрический золотник.

Гидроаппараты бывают регулируемые и настраиваемые.

Регулируемый — это гидроаппарат, характеристики которого проходное сечение, поджатие пружины и др.

Настраиваемый — это гидроаппарат, характеристики которого могут быть изменены только в условиях неработающей гидросистемы.

На принципиальных и полуконструктивных схемах гидроаппаратов (ГОСТ 24242 — 80) их присоединительные отверстия обозначают буквами латинского алфавита: Р — отверстие для подвода рабочей жидкости под давлением; А и В — отверстия для присоединения к другим гидравлическим устройствам; Т — отверстие для отвода рабочей жидкости в бак; Хи Y— отверстия для потоков управления; L — отверстие для дренажного отвода жидкости.

К основным параметрам гидроаппаратов относятся: условный проход Dy — это диаметр такого условного отверстия, площадь которого равна максимальному значению площади проходного сечения гидроаппарата; номинальное давление Pном — это наибольшее давление рабочей жидкости в подводимом потоке, при котором гидроаппарат должен работать в течение установленного ресурса (срока службы) с сохранением своих параметров в пределах установленных норм; номинальный расход QHOM — это расход жидкости с определенной вязкостью, проходящей через гидроаппарат, при котором он выполняет свое назначение с сохранением параметров в пределах установленных норм; характеристика гидроаппарата — это зависимость (обычно графическая), определяющая работу гидроаппарата.

Все гидроаппараты, использующиеся в объемных гидроприводах, можно разделить на три основных класса: гидравлические дроссели (гидродроссели), гидравлические клапаны (гидроклапаны) и гидравлические распределители (гидрораспределители).

Гидродроссель представляет собой регулирующий гидроаппарат.

Гидроклапан — это гидроаппарат, в котором проходное сечение (положение запорно-регулирующего элемента) изменяется от воздействия потока рабочей жидкости.

Гидрораспределитель — это гидроаппарат, обеспечивающий изменение направления потока рабочей жидкости в двух или более гидролиниях при наличии внешнего управляющего воздействия.

Похожие работы на - Устройство гидропривода

 

Не нашли материал для своей работы?
Поможем написать уникальную работу
Без плагиата!
Без нейросетей!