Технологический процесс получения детали "Пробка 5а"

  • Вид работы:
    Курсовая работа (т)
  • Предмет:
    Технология машиностроения
  • Язык:
    Русский
    ,
    Формат файла:
    MS Word
    536,09 kb
  • Опубликовано:
    2009-12-12
Вы можете узнать стоимость помощи в написании студенческой работы.
Помощь в написании работы, которую точно примут!

Технологический процесс получения детали "Пробка 5а"

Введение

Курсовая работа «Технология получения и обработки заготовок» является обобщающей работой по дисциплине «Материаловедение». Выбранный в данной работе технологический процесс должен обеспечить высокую производительность труда, наиболее экономичное использование материалов, выбора оснастки с минимальными затратами при условии длительной эксплуатации, минимальную себестоимость готовых деталей.

Полученная в результате разработанного технологического процесса заготовка должна удовлетворять условиям, предъявляемым заданием для данной курсовой работы.

1 Общая схема технологического процесса получения детали

На рисунке 1.1 представлена общая технологическая схема получения и обработки заготовки, получаемой штамповкой.

Рисунок 1.1 – Общая технологическая схема получения и обработки заготовки

2 Выбор марки материала


Выбор материала обеспечивается необходимостью обеспечить требуемую надежность детали при имеющихся экономических ограничениях. То есть, при минимальных затратах на изготовление детали получить максимальную выгоду.

В данной курсовой работе исходной деталью для проектирования является деталь “Пробка 5а”. На чертеже ТПЖА.752457. представлен её внешний вид, размеры, технические требования на её изготовление, заложенные конструктором.

Выбор материала заготовки определяется следующим требованиями:

- предел прочности σВ ≥ 440 МПа;

- относительное удлинение d ≥ 18%;

- температура эксплуатации t = 500ºC.

В качестве вариантов рассматриваются материалы: легированные стали 20ХМ и 23Х2НМФА ГОСТ 4543-73. В таблице 2.1 приводится их химический состав, а также механические и физические свойства этих материалов.

Таблица 2.1 – Химический состав, механические и физические свойства материалов

Наименование

величины

Единицы

измерения

20ХМ

ГОСТ 4543-73

23Х2НМФА

ГОСТ 4543-73

Химический состав

С

%

0,82÷ 0,9

0,19 ÷ 0,26

Mn

0,4 ÷ 0,7

0,3 ÷ 0,6

V

-

0,18÷ 0,28

Ni

-

0,8 ÷ 1,2

Cr

0,8 ÷ 1,1

1,9 ÷ 2,4

Si

0,17 ÷ 0,37

0,17 ÷ 0,37

Mo

0,15 ÷ 0,25

0,35 ÷ 0,45

Механические свойства после закалки и высокого отпуска

σв

МПа

440

440

Продолжение таблицы 2.1

δ

%

18

16

HRC

-

229

260

Физические свойства

ρ

кг/м3

7800

7830

λ

кал/м·сек·˚

46

36,5


Сталь 20ХМ – фланцы, шестерни, крестовины, втулки, зубчатые колеса, цилиндры и другие детали, работающие от -40ºС до +540ºС. Детали паровых и газовых турбин, арматура и детали трубопроводов, работающие при температурах до 500-540ºС./1/

Стоимость материала в относительных единицах можно оценить по формуле:


где Mi - концентрация i-го компонента сплава в масс.%;

Ci - его стоимость в относительных единицах.

Элемент

20ХМ

23Х2НМФА

Si

1,44

1,44

Mn

2,6

2,6

Cr: из ферросплава

7,26

13,2

V

-

26,6

Mo: из ферросплава

42,8

85,6

Ni

-

54

ИТОГО:

54,1

183,44


Таким образом, окончательно принимается материал заготовки быстрорежущая сталь 20ХМ.

 

3. Получение материала


Для получения данного материала применяются индукционные печи. В индукционных сталеплавильных печах выплавляют наиболее качественные коррозионно-стойкие, жаропрочные и другие стали и сплавы. Вместимость печей обычно колеблется от десятков килограммов до 30 тонн металла. Схема индукционной бессердечниковой печи для выплавки стали приведена на рисунке 3.1.

Рисунок 3.1 - Схема индукционной печи для выплавки стали;

1 - тигель из огнеупорных материалов; 2 - водоохлаждаемый индуктор; 3- желоб для выпуска плавки; 4 - сталеразливочный ковш; 5 - металл;

6 - вихревые токи.

Плавку металлов проводят в тигле, изготовленном из основных или кислых огнеупорных материалов. Вокруг тигля располагается спиральный многовитковый индуктор, изготовленный из медной трубки, в которой циркулирует охлаждающая вода.

По характеру тока, питающего индуктор, различают высокочастотные печи (10-1000 кГц), печи, работающие на повышенной (500-10000 Гц) и промышленной частоте (50-60 Гц).

При пропускании тока через индуктор в металле, находящемся в тигле, индуктируются мощные вихревые токи, что обеспечивает нагрев и плавление металла. Шихтовые материалы загружают сверху. Для выпуска плавки печь наклоняют в сторону сливного желоба. Под действием электромагнитного поля индуктора при плавке происходит интенсивная циркуляция жидкого металла, что способствует ускорению химических реакций, получению однородного по химическому составу металла, быстрому всплыванию неметаллических включений, выравниванию температуры. В конце основной плавки проводят раскисление смесью из порошкообразной извести, кокса, ферросилиция, алюминия и другие. В кислых печах происходит «самораскисление» металла восстановленным кремнием; для окончательного раскисления применяют ферросплавы и алюминий.

4. Оценка технологичности детали

Деталь “Пробка 5а” изготавливается из материала сталь 20ХМ штамповкой.

С точки зрения механической обработки деталь представляет некоторую сложности, т. к. необходимо изготовить сферу высокой точности и шероховатости. Отверстие Ø144 предварительно получается штамповкой, но в дальнейшем обрабатывается механически. Выступы на площадках среза сферы так же получаются в ходе штамповки, но также подвергаются механической обработке. Сферическая область так же получается в ходе штамповки и доводится обработкой. Так как крупносерийное производство, то затраты на оснастку компенсируются производительностью. Отверстие и пазы в выступах получаются механическим путем.

В крупносерийном и массовом производстве проблемы изготовления и обработки решаются введением более сложной оснастки, станков и инструмента.

5. Выбор способа получения заготовки

Исходными данными для выбора способа получения заготовки являются:

- чертеж детали;

- годовая программа выпуска 10000 шт./год (крупносерийное производство);

- наличие оборудования и оснастки в заготовительном цехе конкретного предприятия.

Выбранный материал заготовки сталь 20ХМ не льется, поэтому существует определенное ограничение в применении других видов получения заготовки кроме как штамповки. Ниже рассматриваются два возможных варианта получения заготовки: штамповка на гидравлических молотах и штамповки на высокоскоростных газовых молотах. Критерием выбора метода получения заготовки является влияния факторов на изготовление.

Таблица 5.1 - Матрица влияния факторов

Факторы

Способы штамповки

Высокоскоростные газовые молоты

Гидравлические

молоты

1 Форма и размеры заготовки

2

1

2 Технологические свойства

2

1

3 Точность изготовления и качество поверхности

2

1

4 КИМ

1

1

5 Механические и эксплуатационные свойства

1

1

6 Годовая программа

2

ИТОГО:

10

6


Итак, для получения заготовки используется штамповка на высокоскоростных газовых молотах.

6. Разработка чертежа заготовки

Чертеж поковки выполняют по имеющемуся чертежу детали в соответствии с требованиями ГОСТ 2.423 – 73 и ведут в определенной последовательности.

Вначале выбирают поверхность разъема штампов, далее по ГОСТ 7505-89 назначают припуски, допуски, напуски, штамповочные уклоны, радиусы закругления и указывают основные технические условия на поковку. Затем разрабатывают технологический процесс штамповки.

Для получения поковки из заготовки с помощью штамповки будем использовать закрытые штампы, так как поковка имеет сложную форму и точность ее получения высокая.

Технологический процесс получения поковки

Технологический процесс штамповки поковки сведем в таблицу представленную ниже с расчетом заготовки. Найдем объем заготовки по формуле.

Vпок= 1/3ּ115ּ2302 ּπ – π/4ּ179ּ1402 – (230-182) ּ230ּ179 + π/4ּ27ּ632 = = 1805388,6 мм3 ≈ 1805,4  ּ10 -6 м3

Найдем диаметр заготовки по формуле

, (6.1)

где m – величина осадки (m=2).


Площадь поперечного сечения заготовки определится по формуле.

 (6.2)


Определим длину заготовки по формуле.

 (6.3)

.

Округляем длину заготовки до 210 мм и проверяем условие 1,25 ≤m≤ 2,5


Таблица 6.1 – Технологический процесс получения поковки

Операции и переходы

Эскизы переходов

Оборудование и инструмент


Резка заготовки


Пилы, мерительный инструмент

Нагрев заготовки

t = 1000ºC


Методическая печь


Насадка с наметкой полости


Молот, штамп, робот


Окончательная

штамповка


Молот, штамп, робот


Обрезка заусенцев и прошивка отверстия


Пресс, штамп для прошивки и обрезки

Окончательный контроль по чертежу поковки


Мерительный инструмент



Выбор положения поковки и определение разъема штампа

При выборе положения поковки в штампе необходимо учесть следующее:

Требуется обеспечить равномерное или направленное затвердевание поковки;

Наиболее ответственные, обычно обрабатываемые поверхности, надо делать нижними или боковыми (эти поверхности получаются более чистыми), но не располагать их на линии разъема;

Рекомендуется располагать поковку по возможности с меньшим вертикальным габаритом и большим горизонтальным.

Выбор разъема штампа зависит от конфигурации и размеров поковки, а также от характера производства. Для данной штампа линия разъема будет одна, которая изображена на чертеже поковки (ТПЖА.752457. -01).

Припуски на механическую обработку

Припуском на механическую обработку является слой металла (на сторону), предназначенный для снятия в процессе механической обработки с целью получения требуемой чистоты поверхности и размеров, заданных чертежом детали. Величина припусков зависит от материала детали, характера производства, положения обрабатываемой поверхности и регламентируется с ГОСТом. Припуск на поверхности по линии разъема должны быть больше, так как в этой части поковки образуется избыток металла, могут скапливаться мелкие частицы шлака, неметаллические включения и газовые пузыри.

Припуски на механическую обработку поковок назначаются по ГОСТу 7505 – 89. /2/

Æ230 при чистоте поверхности Rа 0,40 – припуск 2;

178 при чистоте поверхности Rа 6,3 – припуск 2,8;

Дополнительные припуски

Данные припуски учитывают смещение по поверхности разъема штампа, а так же отклонение от плоскостности данной поверхности.

Штамповочный уклон

Штамповочные уклоны делают для облегчения выемок поковок из штампа. Размеры поковки увеличиваются в направлении извлечения из штампа, то есть в сторону плоскости разъема. На обрабатываемые поверхности поковок штамповочные уклоны даются поверх припусков на механическую обработку, на необрабатываемые – за счет увеличения или уменьшения размеров отливки.

Величина штамповочных уклонов выбирается для наружных плоскостей – 5-7º, а для внутренних – 7-10º.

Напуски

Напуск служит для упрощения изготовления поковки. Например, режущие зубья в виде зубчатого венца целесообразнее изготовить в процессе механической обработки. А также канавки, вырезанные в детали, получают механической обработкой.

Радиусы скругления

Для лучшего заполнения металлов углов поковок и уменьшения износа штампов переходы их поверхностей скругляются радиусами. Радиусы угловых впадин должны больше, чем у наружных углов.

Определим коэффициент использования металла:

, (6.46)

где МД – объем детали,

Мзаг – объем поковки.

Vдет= 1/3ּ115ּ2302 ּπ – π/4ּ176ּ1442 – (230-178) ּ230ּ176 + π/4ּ23ּ602 - - π/4ּ40ּ102 - π/4ּ8ּ602 - π/4ּ20ּ202 - 30 ּ20 ּ20 = 1485359,8 мм3 ≈ ≈ 1485,4  ּ10 -6 м3


mзаг = Vзагּr (6.6)

Плотность стали r=7,82ּ10 6 г/м3; тогда масса детали и поковки найдутся по следующим формулам:

mД =7,82  ּ10 6  ּ1485,4  ּ10 -6 = 11,6 кг

mзаг=7,82  ּ10 6  ּ1805,4  ּ10 -6 = 14,1 кг.

КИМ==83%=0,83.

 

7. Разработка технологического процесса получения заготовки. Оборудование

Сущность процесса и способы объемной штамповки

Объемная штамповка – придание заготовке заданной формы и размеров путем заполнения материалом рабочей полости штампа. Полость штампа, которую заполняет металл при штамповке, называют ручьем.

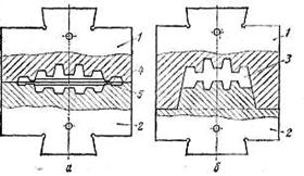
По способу изготовления поковок горячую объемную штамповку разделяют на штамповку в открытых штампах и штамповку в закрытых штампах, схемы которых представлены на рисунке 7.1.

Рисунок 7.1 – Схемы штамповки в открытом (а) и закрытом (б) штампах:

1– верхняя половина штампа; 2 – нижняя половина штампа; 3 – конфигурация поковки; 4 – заусенечная канавка; 5 – мостик.

В данном случае применяется штамповка в закрытых штампах.

Закрытыми или безоблойными называют штампы, в которых металл деформируется в замкнутом пространстве. В отличие от отрытых штампов, имеющих поверхность разъема в виде плоскости, закрытые штампы имеют разъем по сложной поверхности с направляющими, обеспечивающими точное соударение половин штампа в конце штамповки. При безоблойной штамповке расход металла уменьшается на 20%, кроме того, исключаются затраты на обрезку облоя. Однако закрытые штампы для деталей сложной формы конструктивно трудновыполнимы, дороги и быстро выходят из строя. Кроме того, при безоблойной штамповке необходимы точные соблюдения размеров заготовки и установка ее по центру ручью штампа, иначе возможен брак – односторонние торцовые заусенцы и незаполнение формы штампа.

Технологический процесс изготовления штампованной поковки состоит из следующих основных операций: разделки проката на мелкие заготовки; нагрева; штамповки; термической обработки; очистки от окалины; правки; калибровки.

Для получения заготовки используется штамповка на высокоскоростных газовых молотах. В высокоскоростных молотах создается высокое давление газа – азота или воздуха с помощью специальных гидравлических устройств. Энергия расширения газа используется для встречного движения подвижных частей и двустороннего удара.

Молот состоит из следующих составных частей: фундамента; шабота с рабочим инструментом, станины; падающих частей, основной деталью которых является баба молота; деталей управления.

При ударе молота по поковке происходит одновременно несколько процессов. Подвижные части замедляют движение, отдавая запасенную ими энергию. Часть ее расходуется на совершение полезной работы, то есть деформацию поковки. Оставшаяся энергия передается через поковку нижнему бойку и его основанию – шаботу.

8. Термическая обработка заготовки

Термическая обработка представляет собой совокупность операций нагрева, выдержки и охлаждения, проводимых в определенной последовательности с целью изменения внутреннего строения сплава и получения нужных свойств /3/.

Для снятия напряжений, повышение вязкости, стабилизация размеров детали и снижение деформаций применяют отжиг при температуре 8500 – 9000С и охлаждение проводят как в воде, так и на воздухе, что обеспечивает однородную структуру. Данная термообработка необходима для дальнейшей механической обработки заготовки.

После механической обработки для получения необходимых свойств сталь подвергают нормализации. Отливку нагревают до температуры 880 ÷ 900 ˚С. Охлаждение проводится в воде. Происходит превращение аустенита в перлит. Твердость перлита НВ 150 ÷ 200. Во время нормализации происходит увеличение количества связанного углерода, повышение твердости, прочности, износостойкости. Для придания детали окончательных свойств, проводят высокий отпуск с охлаждением на воздухе. Температура отпуска 600 ÷ 640˚С. Окончательной структурой является сорбит отпуска.

9. Механическая обработка

Механическая обработка представляет собой совокупность действий, направленных на обеспечение нужной формы и размеров заготовки путем снятия слоя металла, назначенного на припуски и напуски, режущим инструментами. При этом получают заданную точность и чистоту поверхности.

Первая операция представляет собой подготовку баз для дальнейшей обработки детали. Она осуществляется на специальном токарно-фрезерном станке различными инструментами резцами, сверлами для рассверливания и фрезами. На рисунке 9.1 представлена схема обработки на первой операции.

Рисунок 9.1 – Схема обработки на первой операции

На последующих операциях происходит обработка остальных поверхностей и доведение их до нужной шероховатости и требований по точности. Наружные поверхности и отверстие предварительно обрабатывают на станках специальных и токарных с ЧПУ, а доведение сферы на полировальном станке.

Заключение

Таким образом, в данной курсовой работе был создан технологический процесс получения детали – «Пробка 5а». Для заданных механических свойств был подобран соответствующий материал – Сталь 20ХМ, для заданной программы 10000 штук в год – способ получения – штамповка. Разработан чертеж поковки, учитывая припуски на механическую обработку, напуски, штамповочные уклоны и радиусы.

Похожие работы на - Технологический процесс получения детали "Пробка 5а"

 

Не нашли материал для своей работы?
Поможем написать уникальную работу
Без плагиата!
Без нейросетей!