|
Компонент
|
кг/кмоль
|
|
N2
|
28
|
|
O2
|
32
|
|
CO2
|
44
|
|
H2O
|
18
|
Реферат
Определены следующие
параметры, характеризующие воздух в точке 0 цикла ГТД: молекулярные массы, количество
вещества, мольные и массовые доли, удельные газовые постоянные, изобарные и изохорные
теплоёмкости компонентов воздуха, поступающего в диффузор, показатель адиабаты.
Рассчитано
оптимальное значение степени сжатия воздуха в компрессоре, обеспечивающее
максимально полезную работу цикла для заданного значения температуры Т3.
Вычислен
коэффициент избытка воздуха a в камере сгорания.
Найдены
значения масс, количества вещества, мольных и массовых долей компонентов
рабочего тела, как смеси продуктов сгорания и избыточного воздуха. Рассчитано
количество топлива, сгорающего в 1 кг воздуха. Определена масса рабочей смеси, удельная
изобарная и изохорная теплоёмкости, газовая постоянная и показатель адиабаты,
характеризующие смесь при температуре Т3. Результаты расчётов
сведены в таблицы.
Рассчитаны параметры
состояния в характерных и нескольких промежуточных точках идеализированного
цикла ГТД, определены изменения внутренней энергии, энтальпии, энтропии, теплоты,
удельные работы процессов и за цикл. Изображён идеальный цикл в p-v и T-S-координатах. Определены погрешности
рассчитанных
и
. Рассчитаны энергетические характеристики ГТД.
Авиационный газотурбинный двигатель является сложной технической
системой с высокими удельными параметрами. Конструкция доводилась до
совершенства на основе большого объёма экспериментальных исследований,
накопленной статистики. Технические достижения в области конструкции,
материалов, технологии, различных методов повышения нагрузочной способности,
усталостной прочности нашли в современном двигателе самое непосредственное
воплощение. В мировой практике разработаны и освоены в производстве двигатели
новых поколений, где в конструкцию привнесены качественные изменения, приведшие
к существенному повышению удельных эксплуатационных параметров. Продолжающие
находиться в эксплуатации и выпускаться, проверенные временем и доведённые на
основе анализа результатов практического использования до высокого уровня
совершенства ряд моделей ГТД сформировали большой объём практической
информации.
Циклы ГТД подразделяются на две основные группы: с подводом тепла при p
= const и с подводом тепла при v = const.
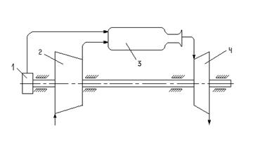
1. Описание
работы двигателя
Принципиальная
схема ГТД со сгоранием топлива при p = const показана на рисунке 1.
Принцип его работы следующий: при полёте самолёта набегающий поток воздуха
поступает в диффузор и там сжимается. Затем попадает в компрессор 2, где опять
подвергается сжатию. Далее сжатый воздух поступает в камеру сгорания 3, где
происходит сгорание топливно-воздушной смеси и, следовательно, осуществляется
подвод тепла. Привод компрессора осуществляется от газовой турбины 4. Пройдя
через газовую турбину, продукты сгорания расширяются в реактивном сопле до
атмосферного давления, и, после истечения, изобарно охлаждаются в атмосфере. Поскольку
адиабатно сжимаемый в компрессоре воздух и образовавшиеся продукты сгорания,
расширяющиеся на лопатках турбины и в сопловом аппарате, имеют различный
состав, параметры состояния рабочего тела в различных точках термодинамического
цикла должны рассчитываться с учётом этой особенности. Расход воздуха на
горение и количество продуктов сгорания определяются уравнениями химических
реакций окисления элементов горючего с учётом содержания их в топливе.
Рисунок 1 – Принципиальная схема ГТД с подводом
тепла при
p = const: 1 – топливный насос; 2 – компрессор; 3 – камера сгорания; 4 – газовая
турбина
2. Расчёт состава рабочего
тела
2.1 Предварительный расчёт
состава воздуха
Расчёт количества
вещества, массовых и мольных долей компонентов и теплоёмкостей производится для
воздуха, потребляемого двигателем самолёта на высоте полёта Н=10000 м.
Рассчитаем
массовые доли по формуле:
Обозначим
как
–
молекулярная масса смеси:
Тогда:
Рассчитаем
количество вещества:
Найдём
удельную газовую постоянную для каждого компонента по формуле:
(3),
где R=8,314
Удельные изобарные
теплоёмкости компонентов:
Удельные изохорные
теплоёмкости компонентов найдём по формуле:
(4)
Для газовой
смеси определим удельную изобарную теплоёмкость:
И удельную изохорную
теплоёмкость:
Показатель
адиабаты:
Удельную
газовую постоянную:
2.2 Определение
оптимальной степени сжатия в компрессоре ГТД
Для заданного
числа М полёта оптимальное значение можно получить аналитически из условия, что
при его значении полезная работа цикла ГТД наибольшая. Решение сводится к
отысканию максимума функции
.
Этот максимум
в идеальном цикле достигается при значении
(5).
Подставив
исходные и рассчитанные в разделе 1.1 значения в формулу (5), получим:
2.3 Определение коэффициента избытка воздуха
Основано на
обеспечении заданной температуры перед турбиной.
Для расчёта
примем соотношение
для данного вида топлива
:
Для топлива керосин
Т-2 с химической формулой
:
Коэффициент
избытка воздуха определяется по формуле:
(6), где:
Тогда:
2.4 Расчёт состава продуктов сгорания и рабочей смеси
Мольные доли
компонентов:
(7)
Массовые доли
компонентов:
(8)
Количество
топлива, сгорающего в 1 кг воздуха:
Масса рабочей
смеси:
Удельные теплоёмкости
рабочей смеси:
Газовая
постоянная:
Показатель
адиабаты:
Результаты
расчётов сведём в таблицы 6 и 7.
Таблица 6 – Состав
рабочего тела цикла ГТД
|
Характеристика
|
Компонент
|
|
N2
|
O2
|
CO2
|
H2O
|
|
|
0,297
|
0,260
|
0,189
|
0,462
|
|
|
Воздух
|
1,039
|
0,915
|
0,815
|
1,859
|
|
|
Воздух
|
0,742
|
0,655
|
0,626
|
1,397
|
|
|
28
|
32
|
44
|
18
|
|
G, кг
|
Воздух
|
0,752
|
0,224
|
0,013
|
0,011
|
|
Пр. сгор.
|
0,752
|
0,2116
|
0,0244
|
0,0133
|
|
M, кмоль
|
Воздух
|
0,0268
|
0,007
|
0,000295
|
0,00061
|
|
Пр. сгор.
|
0,027
|
0,0066
|
0,000555
|
0,000642
|
|
g
|
Воздух
|
0,752
|
0,224
|
0,013
|
0,011
|
|
Пр. сгор.
|
0,751
|
0,2113
|
0,0244
|
0,0133
|
|
r
|
Воздух
|
0,7729
|
0,2015
|
0,0083
|
0,0173
|
|
Пр. сгор.
|
0,7759
|
0,1896
|
0,0159
|
0,0184
|
|
|
|
|
|
|
|
Таблица 7
– Характеристики рабочего тела в цикле ГТД
|
Рабочее тело
|
Характеристика
|
|
|
|
|
|
G, кг
|
|
Воздух
|
1,015
|
0,727
|
0,288
|
1,396
|
1
|
|
Продукты сгорания
|
1,018
|
0,729
|
0,289
|
1,396
|
1,0013
|
3. Расчет основных параметров состояния
рабочего тела в узловых точках цикла ГТД
Точка 1. Процесс 0–1 – адиабатное
сжатие воздуха в диффузоре:
,
– степень
повышения температуры
Точка
5. Процесс 4–5 – адиабатное расширение в реактивном сопле ГТД до давления окружающей
среды
:
4. Расчет калорических величин цикла ГТД
4.1 Определение
изменений калорических величин в процессах цикла
Внутренняя
энергия в процессе:
(9)
Энтальпия:
(10)
Энтропия для
изобарного процесса вычисляется по формуле:
(11)
4.2 Расчёт
теплоты процессов и тепла за цикл
Подводимую и
отводимую удельные теплоты в изобарном процессе рассчитаем по формуле:
(12)
Таким
образом,
.
Вычислим
:
.
4.3 Расчёт работы процесса и работы за цикл
– работа сжатия газа в диффузоре
– работа сжатия газа в компрессоре
– работа газа в турбине
– работа реактивного сопла
Рассчитаем
:
Результаты
расчётов представлены в таблице 8.
Таблица 8 –
Основные параметры состояния рабочего тела в узловых точках цикла, изменение
калорических параметров в процессах и за весь цикл идеального ГТД
|
Значения
|
Точки
|
Для цикла
|
|
0
|
1
|
2
|
3
|
4
|
5
|
|
|
0,265
|
0,736
|
5,89
|
5,89
|
2,94
|
0,265
|
-
|
|
|
2,427
|
1,17
|
0,265
|
0,66
|
1,084
|
6,053
|
-
|
|
|
223,3
|
299
|
542
|
1350
|
557
|
-
|
|
Значения
|
Процесс
|
Для цикла
|
|
0–1
|
1–2
|
2–3
|
3–4
|
4–5
|
5–0
|
|
|
55
|
177
|
589
|
-177
|
-401
|
-243
|
0
|
|
|
77
|
247
|
822
|
-247
|
-560
|
-339
|
0
|
|
|
0
|
0
|
0,9
|
0
|
0
|
-0,9
|
0
|
|
|
0
|
0
|
822
|
0
|
0
|
-339
|
483
|
|
|
-77
|
-247
|
0
|
247
|
560
|
0
|
483
|
5. Расчет параметров состояния рабочего тела в
промежуточных точках процессов сжатия и расширения
5.1 Расчёт
для процессов, изображаемых в p-v-координатах
Определение
значений параметров p и v в промежуточных точках процессов 1–2, 3–4 и 4–5 позволяет
построить достаточно точные графики. Поскольку процессы 1–2 и 3–4–5 адиабатные,
то для любой пары точек на них справедливы соотношения:

Отсюда,
задаваясь значениями параметров
и используя известные величины
, найдём параметры
промежуточных точек:
Значения
точек сведём в таблицу 9.
Промежуточные
точки процессов также, как и характерные, откладываем на графике p-v и через них проводим
плавную кривую процесса.
5.2 Расчёт
для процессов, изображаемых в T-S-координатах
Для
построения цикла ГТД в T-S координатах необходимо интервалы изменения температур от
до
и
до
разбить
на три примерно равные части. Для значений температур процессов
,
,
,
вычисляем
соответствующие изменения энтропии рабочего тела в процессах 2–3 и 0–5 по
соотношениям:
Вычислим параметры
промежуточных точек для построения графика цикла ГТД в T-S координатах:
Значения
полученных точек отразим в таблице 9.
Полученные
изменения энтропии откладываем в принятом масштабе на T-S диаграмме и по
выбранным значениям Т находим координаты промежуточных точек процесса, через которые
проводим плавную кривую.
Таблица 9
– Параметры состояния рабочего тела в промежуточных точках процессов и
изменение энтропии
|
Параметр
|
Точки
|
|
a
|
b
|
c
|
d
|
e
|
f
|
g
|
|
|
1,06
|
1,51
|
2,42
|
4,50
|
1,25
|
0,71
|
0,47
|
|
|
0,9
|
0,7
|
0,5
|
0,8
|
2
|
3
|
4
|
|
Параметр
|
a¢
|
b¢
|
c¢
|
d¢
|
|
T, K
|
811
|
1081
|
446
|
335
|
|
Параметр
|
Процесс
|
|
2-a¢
|
2-b¢
|
0-c¢
|
0-d¢
|
|
|
0,410
|
0,703
|
0,702
|
0,412
|
|
|
|
|
|
|
|
|
|
|
|
6. Расчет
энергетических характеристик ГТД
Вычислим
скорости набегающего потока С0 и скорость истечения газа из
реактивного сопла С5, а также удельную тягу двигателя Rуд, секундный расход
воздуха Gвозд, массу двигателя Gдв, суммарную массу топлива
,
термический КПД
и термический КПД цикла Карно
, действующего в том же интервале
максимальной и минимальной температур.
Скорость
набегающего потока:
Скорость
истечения рабочего тела из сопла двигателя:
Удельная тяга
двигателя:
Расход
воздуха:
Масса
двигателя:
Суммарная
масса топлива за время полёта:
Термический
коэффициент полезного действия ГТД:
Термический
коэффициент полезного действия ГТД по циклу Карно:
Таблица 10 – Энергетические
характеристики идеального ГТД
|
|
|
|
C0, м/с
|
C5, м/с
|
|
8
|
483
|
18
|
390
|
1058
|
|
|
Gдв, кг
|
,
кг
|
|
|
Gвозд, кг/с
|
Rуд, м/с
|
|
122,5
|
352,5
|
59
|
83
|
6,80
|
669
|
|
|
|
|
|
|
|
|
|
|
Список использованных
источников
1. Мухачев Г.А., Щукин В.Е. Термодинамика
и теплопередача. М.: Высшая школа, 1991 г. – 400 с.
2. Кирилин В.А., Сычев В.В.,
Шейндлин А.Е. Техническая термодинамика. М: Энергоатомиздат, 1983 г.
– 416 с.
3. Сборник задач по
технической термодинамике и теплопередаче / Под редакцией Б.Н. Юдаева.
М.: Высшая школа, 1968 г. – 372 с.
4. Требования к оформлению
учебных текстовых документов: Метод. указания/ Сост. В.Н. Белозерцев, В.В. Бирюк,
А.П. Толстоногов/ Куйбышев. авиац. ин-т. Куйбышев, 1988. – 29 с.
5. Белозерцев В.Н., Бирюк В.В.,
Толстоногов А.П. Методические указания по оформлению пояснительной
записки к курсовой работе (проекту)/ Куйбышев. авиац. ин-т. Куйбышев, 1987. –
16 с.
6. Меркулов А.П. Техническая
термодинамика: Конспект лекций/ Куйбышев. авиац. ин-т. Куйбышев, 1990. – 235 с.
7. Толстоногов А.П. Техническая
термодинамика: Конспект лекций/ Куйбышев. авиац. ин-т. Куйбышев, 1990. – 100 с.