Разработка регулятора температуры обратной воды калорифера

  • Вид работы:
    Практическое задание
  • Предмет:
    Технология машиностроения
  • Язык:
    Русский
    ,
    Формат файла:
    MS Word
    816,79 kb
  • Опубликовано:
    2010-06-01
Вы можете узнать стоимость помощи в написании студенческой работы.
Помощь в написании работы, которую точно примут!

Разработка регулятора температуры обратной воды калорифера

Министерство науки и образования Украины

Донбасская государственная машиностроительная академия

Кафедра АПП










Лабораторная работа №1

Основы компьютерно-интегрированного управления

Разработка регулятора температуры обратной воды калорифера










Краматорск

Создание первого проекта

Цель работы: получение студентами навыков работы в ИС программирования КОНГРАФ.

№ п/п

Датчик температуры

Диапазон

регулирования

температур

Постоянная

Времени, сек

Гистерезис,

°С

9

T100 ohm Ni (3 wires)

От +7°С до +86°С

1,9

34


Ход работы

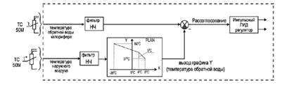
В процессе выполнения лабораторной работы был разработан небольшой проект регулятора температуры обратной воды калорифера в зависимости от температуры наружного воздуха. В данном случае объектом управления является калорифер, с помощью которого обогревается помещение. Теплоносителем служит горячая вода, подаваемая в калорифер. Возмущающим воздействием является температура наружного воздуха, поступающего в калорифер. Необходимо автоматически поддерживать заданную температуру воздуха в помещении в зависимости от температуры приточного воздуха с помощью автоматического регулятора. Структурная схема алгоритма регулятора температуры горячей воды калорифера в зависимости от температуры наружного воздуха представлена на рисунке 1.

Рисунок 1- Структурная схема алгоритма регулятора температуры обратной воды калорифера в зависимости от температуры наружного воздуха

Шаг1. Создание структуры проекта

Главный блок проекта алгоблок MC8-Controller представлен на рисунке 2.

Рисунок 2- Главный блок проекта алгоблок MC8-Controller

Совокупность блоков MC8 и MR8 представлена на рисунке 3.

Рисунок 3 - Блоки приборов MC8 и MR8

Шаг 2. Построение алгоритма работы контроллера MC8

После удаления неиспользуемых входов и выходов блок прибора примет такой вид приведенный ниже.

Рисунок 4 - Блок прибора MC8 после удаления избыточных деталей

Произведем настройку алгоритма работы котроллера МС8.

Рисунок 5 - Алгоритм работы контроллера MC8 (открытое окно блока прибора MC8)

Внутренняя функциональность блоков ОбрВода и НаружВоздух представлена на рис.6.

Рисунок 6 - Комплексные ФБ “ОбрВода” и “НаружВоздух”

Шаг 3. Настройка алгоритма работы контроллера MC8

После того как алгоритм проекта построен, нужно ввести настроечные параметры в необходимые функциональные блоки.

Так, для компараторов верхнего уровня в комплексных блоках “Обр.вода” и “Наруж.возд.” значение верхнего предела установить равным 88°C (открыть комплексный блок “Обр.вода” (“Наруж.возд.”) Properties блока UP CMP вкладка Parameters установить параметр Value переменной XUP в значение, равное 88. Можно проставить галочку в поле Constant, но тогда этот параметр нельзя будет ввести в какой-либо список и, соответственно, нельзя наблюдать/изменять из программы Console или SCADA-системы). Значение гистерезиса HYS на этой же вкладке установить, равным константе 33. 

Аналогично, для компараторов нижнего уровня в комплексных блоках “Обр.вода” и “Наруж.возд.” значение нижнего предела установить равным +8°C и значение гистерезиса HYS - константе 33.

Постоянные времени фильтров установить, равными 1.8 сек. (открыть комплексный блок “Обр.вода” (“Наруж.возд.”) Properties блока FILTER вкладка Parameters установить параметр Value переменной TF в значение 1.8, можно поставить галочку в поле Constant, Units = sec). 

Настроим блок задания температуры обратной воды от температуры наружного воздуха PLAN. Для этого нужно ввести точки графика: температуре X1 = -26°C соответствует Y1 = 84°C, температуре X2 = 8°C соответствует Y2 = 37°C, а при температуре X0 = 4°C величина излома графика Y0 = 5°C.

 

Шаг 4. Построение алгоритма работы модуля релейного MR8

По аналогии с изменением изображения модуля MC8 изменим изображение блока релейного модуля MR8 для большей наглядности. В результате алгоблок модуля релейного MR8 примет следующий вид (рис.7).

Рисунок 7 - Блок прибора MR8 после удаления избыточных деталей

Модуль MR8 применяется здесь в качестве обыкновенного усилителя входных сигналов для их подачи непосредственно на КЗР. Входы модуля DI[1] и DI[2] нужно передать без изменения на выходы DO[1] и DO[2], соответственно. Для этого между входами и выходами вставлены простейшие ФБ цифровых уставок SET B (рис.8).

Рисунок 8 - Алгоритмический блок модуля релейного MR8.

Шаг 5. Создание списков переменных для их отображения в программе console и/или scada-системе

Введем основные переменные нашего проекта в списки. Тогда эти списки, как и переменные, сгруппированные в них, можно просмотреть при помощи программы Console. При использовании SCADA-системы списки и переменные можно также просмотреть на технологической мнемосхеме проекта (возможно, по сети Internet или Intranet).

Для этого проделаем следующие шаги:

Создадим два списка: “Температуры” и “PID-регулятор”.

Нажать правой кнопкой мыши на блоке контроллера MC8 Properties Lists;

Добавить списки “Температуры” [Add (Ctrl+A) Name: Температуры, Comment: Температуры наруж.воздуха и обр.воды], “Heating Schedule” [Add (Ctrl+A) Name: Heating Schedule, Comment: Планировщик темп. воды в зависимости от темп. наруж. воздуха] и “PID-регулятор” [Add (Ctrl+A) Name: PID-регулятор, Comment: Параметры ПИД-регулирования].

Составить список “Температуры”.

Открыть комплексный ФБ “Обр.вода”. Выделить ФБ FILTER.

o Properties Parameters Для выхода Y этого ФБ заполнить поля (Name: Tbackwater, List: Температуры, Precision: 1, Units: °C);

Аналогичные действия проделаем в комплексном ФБ “Наруж.воздух” для ФБ FILTER.

o Properties Parameters Для выхода Y этого ФБ заполнить поля (Name: Tair, List: Температуры, Precision: 1, Units: °C).

Составить список “Heating Schedule”.

o Properties Parameters Для входа X заполнить поля (Name: Tair, List: Heating Shedule, Precision: 1, Units: °C));

o Properties Parameters Для выхода Y заполнить поля (Name: Twater, List: Heating Shedule, Precision: 1, Units: °C));

o Properties Parameters Для входа X1 заполнить поля (Name: X1, List: Heating Shedule, Precision: 0, Units: °C, Value: -26));

o Properties Parameters Для входа X2 заполнить поля (Name: X2, List: Heating Shedule, Precision: 0, Units: °C, Value: 8));

o Properties Parameters Для входа X0 заполнить поля (Name: X0, List: Heating Shedule, Precision: 0, Units: °C, Value: 4));

o Properties Parameters Для входа Y1 заполнить поля (Name: Y1, List: Heating Shedule, Precision: 0, Units: °C, Value: 84));

o Properties Parameters Для входа Y2 заполнить поля (Name: Y2, List: Heating Shedule, Precision: 0, Units: °C, Value: 37));

o Properties Parameters Для входа Y0 заполнить поля (Name: Y0, List: Heating Shedule, Precision: 0, Units: °C, Value: 5)).

Все параметры ФБ PLAN введены в список “Heating Schedule” и все входные параметры этого ФБ могут быть изменены или из программы Console или из SCADA-системы.

Составить список “PID-регулятор”.

Правая кнопка мыши на ФБ “DIFF”.

o Properties Parameters Для переменной X1 (Subtrahend) заполнить поля (Name: Tfb.backwater, List: PID-регулятор, Precision: 1, Units: °C);

o Properties Parameters Для переменной X2 (Subtracter) заполнить поля (Name: Tset.backwater, List: PID-регулятор, Precision: 1, Units: °C).

Правая кнопка мыши на ФБ “PID P”.

o Properties Parameters Для переменной X заполнить поля (Name: Terr, List: PID-регулятор, Precision: 1, Units: °C);

o Properties Parameters Для переменной Z1 заполнить поля (Name: PIDP_Z1, List: PID-регулятор);

o Properties Parameters Для переменной Z2 заполнить поля (Name: PIDP_Z2, List: PID-регулятор);

o Properties Parameters Для переменной MANUAL заполнить поля (Name: PIDP_A/M, List: PID-регулятор);

o Properties Parameters Для переменной DZONE заполнить поля (Name: DeadZone, List: PID-регулятор, Precision: 1, Units: °C);

o Properties Parameters Для переменной KP заполнить поля (Name: KP, List: PID-регулятор, Precision: 1, Value: 1);

o Properties Parameters Для переменной TI заполнить поля (Name: TI, List: PID-регулятор, Precision: 1, Units: sec, Value: 1);

o Properties Parameters Для переменной D заполнить поля (Name: D, List: PID-регулятор, Precision: 1, Units: sec, Value: 0);

o Properties Parameters Для переменной B заполнить поля (Name: B, List: PID-регулятор, Value: 0).

Далее определим параметры, входящие в дополнительный встроенный список “ALARMS” (в список могут входить только булевы переменные).

Открыть комплексный ФБ “Обр.вода”.

o В ФБ OR: Properties Parameters Для выхода Z ФБ OR проставить галочку в поле “Alarms List” и ввести название переменной “Tbw_is_out_of_range” (в поле ниже введенной галочки).

Открыть комплексный ФБ “Наруж.воздух”.

o В ФБ OR: Properties Parameters Для выхода Z ФБ OR проставить галочку в поле “Alarms List” и ввести название переменной “Tair_is_out_of_range” (в поле ниже введенной галочки).

Открыть алгоблок модуля MC8.

o В ФБ OR: Properties Parameters Для выхода Z ФБ OR проставить галочку в поле “Alarms List” и ввести название переменной “Temperature_Alarm” (в поле ниже введенной галочки).

Аналогично, определим параметры, входящие в дополнительный встроенный список “SItePlayer List”.

Открыть алгоблок модуля MC8.

o В ФБ OR: Properties Parameters Для выхода Z ФБ OR проставить галочку в поле SitePlayer List и ввести название переменной “Temperature_Alarm” (в поле ниже введенной галочки).

Открыть комплексный ФБ “Обр.вода”.

o В ФБ OR: Properties Parameters Для выхода Z ФБ OR проставить галочку в поле SitePlayer List и ввести название переменной “Tbw_is_out_of_range” (в поле ниже введенной галочки).

Открыть комплексный ФБ “Наруж.воздух”.

o В ФБ OR: Properties Parameters Для выхода Z ФБ OR проставить галочку в поле SitePlayer List и ввести название переменной “Tair_is_out_of_range” (в поле ниже введенной галочки).

Открыть комплексный ФБ “Обр.вода”. Выделить ФБ FILTER.

o Properties Parameters Для выхода Y этого ФБ проставить галочку в поле SitePlayer List. По умолчанию в это поле автоматически занесутся данные из поля Name, т.е. Tbackwater;

Аналогичные действия проделаем в комплексном ФБ “Наруж.воздух” для ФБ FILTER.

o Properties Parameters Для выхода Y этого ФБ проставить галочку в поле SitePlayer List. По умолчанию в это поле автоматически занесутся данные из поля Name, т.е. Tair;

Правая кнопка мыши на ФБ “PLAN”.

o Properties Parameters Для выхода Y этого ФБ проставить галочку в поле SitePlayer List. По умолчанию в это поле автоматически занесутся данные из поля Name, т.е. Twater;

Правая кнопка мыши на ФБ “PID P”.

o Properties Parameters Для переменной X этого ФБ проставить галочку в поле SitePlayer List. По умолчанию в это поле автоматически занесутся данные из поля Name, т.е. Terr;

o Properties Parameters Для переменной Z1 этого ФБ проставить галочку в поле SitePlayer List. По умолчанию в это поле автоматически занесутся данные из поля Name, т.е. PIDP_Z1;

o Properties Parameters Для переменной Z2 этого ФБ проставить галочку в поле SitePlayer List. По умолчанию в это поле автоматически занесутся данные из поля Name, т.е. PIDP_Z2;

o Properties Parameters Для переменной MANUAL этого ФБ проставить галочку в поле SitePlayer List. По умолчанию в это поле автоматически занесутся данные из поля Name, т.е. PIDP_A/M.

Шаг 6. Сопоставление входам и выходам функциональных блоков приборов физических входов и выходов этих приборов

Рисунок 9 - Окно I/O Connections модуля MC8 в примере проекта

Шаг 7. Создание “виртуальных” межприборных соединений

Соединим цифровые выходы DO[1] и DO[2] контроллера MC8 с цифровыми входами DI[1] и DI[2] модуля MR8. Это будет “виртуальное” соединение выводов приборов (реализуемое по сети RS-485), поскольку выводы блоков приборов не соединены физически (проводниками). Физические межблочные соединения не отображаются в ИС, отображаются только соединения, реализуемые программно (“виртуальные” межблочные связи).

Вывод

В ходе выполнения лабораторной работы №1 получил навыки работы в ИС программирования КОНГРАФ и самостоятельно разработал небольшой проект регулятора температуры обратной воды калорифера в зависимости от температуры наружного воздуха.

Похожие работы на - Разработка регулятора температуры обратной воды калорифера

 

Не нашли материал для своей работы?
Поможем написать уникальную работу
Без плагиата!
Без нейросетей!