Прессование

  • Вид работы:
    Контрольная работа
  • Предмет:
    Технология машиностроения
  • Язык:
    Русский
    ,
    Формат файла:
    MS Word
    752,85 kb
  • Опубликовано:
    2010-02-28
Вы можете узнать стоимость помощи в написании студенческой работы.
Помощь в написании работы, которую точно примут!

Прессование

Содержание

1. Идеализированная кривая прессования

2. Горячее прессование

Список литературы

1. Идеализированная кривая прессования

Прессование является одной из ключевых операций технологии получения изделий из металлических и других порошков. Для проектирования технологического процесса прессования, конструирования оснастки и выбора оборудования необходимо определить зависимость между давлением прессования и достигаемой плотностью используемого порошкового материала. Получаемые в результате таких испытаний кривые называются кривыми уплотнения. Для их определения проводят эксперименты по прессованию порошков в цилиндрической матрице.

Идеализированная кривая процесса уплотнения порошка имеет три характерных участка. Наиболее быстро плотность упаковки частиц нарастает на первой стадии (участок 1), когда частицы перемещаются относительно свободно, занимая близлежащие, пустоты; одновременно происходит разрушение арок. К концу этой стадии частицы оказываются уложенными максимально плотно, и появляется горизонтальный участок 2.

Здесь сопротивление частиц сжатию велико, и несмотря на возрастание давления порошок некоторое время не уменьшает своего объема, так как частицы не перемешиваются относительно друг друга и испытывают лишь упругую деформацию. Когда давление прессования превысит сопротивление сжатию порошкового тела, начинается пластическая деформация частиц (третья стадия процесса уплотнения, выражаемая участком 3). Чем пластичнее металл, тем при более низких давлениях прессования начинается уплотнение порошка за счет деформации его частиц. Для хрупких материалов, у которых пластическая деформация отсутствует, наступление третьей стадии невозможно, и при соответствующем возрастании давления частицы разрушаются.

В настоящее время разработан новый метод экспериментального определения кривых уплотнения порошковых материалов, исключающий влияние трения между порошком и стенками матрицы. Идеализированные кривые уплотнения могут быть использованы при расчетах усилий прессования изделий с разной высотой, а также при теоретическом анализе распределения плотности в порошковых прессовках.

В процессе прессования между порошком и стенками матрицы возникают силы трения, препятствующие уплотнению. Действие сил трения приводит к необходимости повышать давление прессования, а также является причиной неравномерности плотности в изделиях. Величина сил трения увеличивается с ростом плотности и высоты прессовок. Соответственно, увеличивается необходимое давление, которое в случае одностороннего прессования можно рассчитать по формуле:

pпр = pприд (1 + 4mfhпр / dпр), (1)

где m - коэффициент трения; f - коэффициент бокового давления; hпp, dпp - высота и диаметр прессовки; pприд - идеализированное давление прессования до заданной плотности, определяемое при отсутствии трения.

При выводе формулы (1) принималось, что боковое давление определяется из соотношения:

pбок = fpпp, (2)

В литературе отсутствуют сведения по определению идеализированного давления прессования в функции плотности для порошковых материалов и не приводятся соответствующие идеализированные кривые уплотнения. Отсутствие этих данных затрудняет проведение расчетов по формуле (1).

В основу метода нахождения идеализированного давления прессования до заданной плотности и построения идеализированных кривых уплотнения положен подход Л.А. Шофмана, использованный им для исключения влияния трения при определении сопротивления деформации из испытаний цилиндрических образцов на сжатие.

Суть данного метода состоит в экспериментальном определении давления прессования, необходимого для достижения фиксированной относительной плотности ρотн (величина равная отношению плотности прессовки к плотности материала, из которого она изготовлена), для образцов с разной массой m. В результате экстраполяции полученной зависимости pпp=f(m) до значения m=0 находится величина рприд для данного значения плотности. После повторения экспериментов для других значений плотности, устанавливается идеализированная кривая уплотнения рприд=f(ρотн). Ниже рассматривается применение этой методики для порошков железа и меди.

В указанных экспериментах использовался порошок железа марки ПЖР 3.200.28 (ГОСТ 9849-86). Распределение частиц порошка по фракциям характеризуется значениями d10=41,13, d50=84,34, d90=120,17 мкм. Насыпная плотность порошка равна 3,388 г/см3. Плотность утряски составляет 3,702 г/см3.

Для экспериментов использовался также электролитический порошок меди марки ПМС-1 (ГОСТ 4960-75). Распределение частиц порошка по фракциям характеризуется значениями d10=17,51, d50=38,43, d90=76,95 мкм. Насыпная плотность порошка равна 2 г/см3. Плотность утряски составляет 2,486 г/см3.

Для построения идеализированных кривых уплотнения применяли навески порошков трех масс: m, m/2, m/4. Прессование осуществляли в цилиндрической матрице диаметром 16,8 мм при изменении давления прессования в диапазоне 100-800 МПа с шагом 100 МПа. Масса базовой навески порошка железа mFe принималась равной 22 г, что обеспечивает получение в беспористом состоянии высоты прессовки hпp=12,63 мм и отношение высоты к диаметру - hпp/dпp=0,75. В случае пористости образца равной 0,5 для данной навески имеем: hпp=25,21 мм и hпp/dпp=1,5. Для образцов меньшей массы соответствующие значения будут еще ниже, как показано в табл. 1.

Таблица 1. – Значения hпp/dпp для прессовок из порошков железа и меди разной массы в зависимости от пористости


Пористость

Масса навески

m

m/2

m/4

0

0,5

0,75

1,50

0,376

0,752

0,188

0,376


Таким образом, практически во всех случаях отношение hпp/dпp было меньше единицы. Поэтому можно предположить, что изменение пористости прессовок по высоте было незначительным. Чтобы сохранить соотношения размеров образцов, приведенные в табл. 1, массу базовой навески порошка меди определяли по формуле:

mCu = mFeCu / ρFe), (3)

где ρCu, ρFe - плотности порошков меди и железа. В результате расчета по формуле (3) было получено значение mCu =25 г.

На рис. 1 представлены кривые уплотнения прессовок разной массы из порошков железа и меди. Как и ожидалось, с увеличением массы прессовок давление, необходимое для достижения заданной плотности, растет. Соответственно, плотность прессовок разной массы, спрессованных одинаковым давлением, получалась различной. Поэтому, с целью дальнейшего использования экспериментальных данных, применялась их интерполяция с помощью степенной и экспоненциальной функций. Результирующие формулы приведены в табл. 2.

Таблица 2. – Зависимости, аппроксимирующие кривые уплотнения порошков железа и меди

Материал порошка

Масса образца, г

Зависимость

Интервал р_

R2

Железо

22

рпр = 2979,2ρотн5.3867

0,54-0,81

0,9983

11

рпр = 2172,5ρотн5.3773

0,55-0,83

0,9964

5,5

рпр = 2050,9ρотн5.4832

0,55-0,85

0,9954

Медь

25

рпр = 1,7088e7.2597•ρ_

0,57-0,85

0,9962

12,5

рпр = 1,4944e7.0799•ρ_

0,59-0,89

0,9992

6,25

рпр = 1,1717e7.2126•ρ_

0,61-0,90

0,9985

Рис. 1 - Кривые уплотнения трех навесок разной массы и идеализированная кривая уплотнения: а - для порошка железа; б - для порошка меди

По формулам из табл. 2 для порошков железа и меди рассчитывали давление, необходимое для достижения относительной плотности ρотн=0,55; 0,6; 0,65; 0,7; 0,75; 0,8 и 0,85. По полученным данным строили графические зависимости давления прессования, необходимого для достижения определенной плотности, от массы навески порошка. Расчетные значения для порошков железа и меди показаны на рис. 2.

 б

Рис. 2 - Давление прессования, необходимое для уплотнения до фиксированной плотности, в зависимости от массы навески: а - для порошка железа; б - для порошка меди

Из рис. 2 следует, что экспериментальные данные каждой серии можно аппроксимировать прямыми линиями. Наклон прямых увеличивается с ростом относительной плотности. Это свидетельствует о возрастании влияния сил трения с повышением степени уплотнения образца, что связано с увеличением коэффициента бокового давления при росте плотности. Продлив прямые до пересечения с осью ординат, что соответствует равенству нулю массы навески порошка, находили идеализированные значения давления прессования, соответствующие принятому набору величин относительной плотности. Эти данные были использованы для построения идеализированных кривых уплотнения для порошков железа и меди, которые показаны на рис. 1. Идеализированные кривые расположены несколько выше реальных кривых уплотнения, полученных в условиях влияния контактного трения на процесс уплотнения.

Данная методика определения кривых уплотнения порошковых материалов позволяет исключить влияние трения между порошком и стенками матрицы. Идеализированные кривые уплотнения могут быть использованы при расчетах давления прессования, а также в теоретическом анализе распределения плотности в порошковых прессовках.

2. Горячее прессование

Горячее прессование осуществляется в закрытых пресс-формах при повышенных и высоких температурах и возрастающем до заданной величины давлении. С повышением температуры уменьшается величина давления, необходимого для уплотнения порошка.

Метод горячего прессования позволяет получать изделия из порошков, не поддающихся формованию или спеканию обычными способами. При горячем прессовании увеличение контакта между частицами достигается:

1) за счет их деформации внешними силами;

2) собственной температурной подвижностью атомов.

При горячем прессовании можно получить материал плотностью, приближающейся к теоретической, и со свойствами компактных металлов.

Механические свойства материала повышаются с ростом прилагаемого давления до достижения 100%-ной плотности. При дальнейшем повышении давления свойства практически не изменяются. Чем выше температура, тем ниже давление, при котором достигается постоянство свойств изделий. Давление, необходимое для получения изделий определенной плотности, при высоких температурах составляет 0,1–0,2 давления холодного формования.

Горячее прессование осуществляется преимущественно на гидравлических прессах. Оно производится в пресс-формах, изготовляемых из жаропрочных сплавов (для низких температур прессования – до 1000°С), либо из графита для высокотемпературного прессования.

При горячем прессовании совмещаются процессы формования и спекания изделий в пресс-формах, нагреваемых до нужной температуры (как правило, - до реализации пластических свойств материалов). Стадийность процессов, происходящих при горячем прессовании, во времени можно проиллюстрировать рисунком 3, где имеется три основных стадии:

1. До 90 % от максимально достижимой плотности реализуется сдвиг и скольжение частиц относительно друг друга;

2. Граничное скольжение частиц и объёмная деформация;

3. Объёмная деформация.

pic20.gif (4106 bytes)

Рисунок 3. – Процессы, происходящие при горячем прессовании.

Давление прессования по данному методу составляет обычно 200-400 кГс/см2. Примерные режимы и последовательность задания требуемых температур и давлений приведены на рисунке 4. При этом время, необходимое собственно для операции спекания, после обычного прессования больше, чем при осуществлении горячего прессования.

pic7-5.gif

Рисунок 4. – Примерные режимы и последовательность задания требуемых температур и давлений

 

Достоинства метода:

очень хорошие механические (прочностные) характеристики получаемых изделий;

минимальные допуски по размерам заготовок;

относительно невысокие рабочие давления;

сокращение времени спекания.

Недостатки метода:

необходимость использования жаропрочных дорогостоящих пресс-форм, их быстрый износ;

невысокая производительность.

Нагрев пресс-форм и материала осуществляется одним из следующих способов (Рисунок 5):

применением внешних нагревателей (а);

непосредственным пропусканием тока через пресс-форму (б);

непосредственным пропусканием тока через порошок (в);

индукционным высокочастотным нагревом (г).

Рисунок 5. – Способы нагрева при горячем прессовании. а – внешний нагрев, б – электронагрев пресс-формы, в – электронагрев порошка, г – высокочастотный нагрев (1 – матрица, 2 – пуансон).

Горячее прессование применяется только в ряде специальных случаев: при производстве твердых и жаропрочных материалов, алмазно-металлических сплавов и крупных изделий весом до 500 кг (например, твердосплавных прокатных валков). Кроме того, оно применяется при производстве тонких пластин, дисков и других деталей, которые коробятся при спекании и поэтому изготовление их холодным формованием затруднительно.

Выдержка при горячем прессовании (длительность спекания при максимальном давлении) во много раз ниже, чем при обычном спекании заготовок. Так, спекание твердых сплавов производится при выдержках 0,75 – 1,5 часа, а при горячем формовании на это затрачивается всего 1 –10 минут.

Горячее прессование менее производительно по сравнению с холодным, связано со значительным износом пресс-форм и трудностью подбора для них материала, способного выдерживать высокие температуры. Однако, несмотря на ряд трудностей, связанных с предотвращением окисления порошка, выбором материала пресс-формы, а также некоторым ограничением областей применения горячего прессования, принципиальная ценность и перспективность метода очевидны, особенно для получения изделий большой плотности и с высокими механическими свойствами.

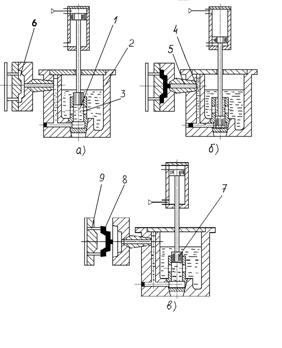
По рисунку 6 можно определить сущность способа горячего прессования. Камера прессования в машинах литья под давлением с горячей камерой прессования располагается в тигле с расплавленным металлом.

Камера прессования 1 располагается в тигле 2 и сообщается с ним при помощи отверстий 3, через которые в неё поступает расплав (Рис. 6а). При движении поршня вниз отверстия 3 перекрываются, и расплав по каналу 4 поступает через мундштук 5 в полость пресс-формы 6 (Рис. 6б). После затвердения отливки, поршень 7 возвращается в исходное положение, и остатки расплава из канала 4 сливаются в камеру прессования (Рис. 6в). Пресс-форма раскрывается, отливка 8 выталкивается из неё толкателем 9, после чего пресс-форма закрывается и цикл повторяется.

Рисунок 6. – Машина ЛПД с горячей камерой прессования

В большинстве случаев все операции изготовления отливок на машинах ЛПД автоматизированы. Широкое применение находят комплексы ЛПД, в состав которых входят манипуляторы для заливки жидкого металла, смазки пресс-форм, извлечения отливок из пресс-формы и передачи их на последующую обработку.

На машинах с вертикальной горячей камерой прессования получают отливки массой 3-25 г с толщиной стенки менее 1 мм из свинцово-сурьмяных, оловянных, цинковых и магниевых сплавов в автомобилестроении, приборостроении и электронной промышленности.

Температура заливки расплава должна быть на 10-20 0С выше температуры ликвидуса. Например, температура заливки цинковых сплавов должна находиться в пределах 420- 430 0С.

При изготовлении отливок литьем под давлением с горячей камерой прессования габариты отливок должны быть менее 150 мм. Для машин с горячей камерой прессования величина литейных уклонов должна быть повышенной. Литейные уклоны для наружных поверхностей составляют 30’, а для внутренних – 20.

Для уменьшения прилипания расплава к стенкам формы, износа, а также задиров на отливках проводят смазку рабочих поверхностей пресс-формы. Смазка автоматически наносится тонким слоем через несколько запрессовок или перед каждой запрессовкой. В качестве смазки используют машинное масло.

Перед началом работы необходимо включить рубильник “Общ. выкл.” и подать напряжение на обогрев тигля, равное 18 В (КС-4), и обогрев мундштука – 2 В (КС-3). О включении судить по приборам и сигнальным лампочкам.

После разогрева мундштука и металла до необходимой температуры включить электросхему управления литейной машины (КС-1). При этом загораются сигнальные лампочки, разогревают блок реле времени (РВ-1). После разогрева РВ-1 осуществить пуск литейной машины в режиме одиночного хода или в автоматическом режиме, нажав кнопку “пуск” (КС-2).

Качество отливок, полученных литьём под давлением, по сравнению с качеством отливок, изготовленных другими способами, характеризуется:

высокой точностью геометрических размеров (соответствует 3- 7 классам точности (ГОСТ 26645-85));

параметром шероховатости поверхности отливок Rz = 20-10 мкм, а иногда Ra = 1,25-0,63 мкм и зависит от шероховатости пресс-формы;

малыми припусками на механическую обработку ( до 0,1-0,3 мм ), а в некоторых случаях – полным исключением механической обработки;

мелкозернистой структурой и незначительной усадочной пористостью отливок (вследствие давления при затвердении ).

По степени сложности отливки, изготовленные литьем под давлением, подразделяют на 6 групп. Минимальный размер партии отливок составляет свыше 3000 шт.

При литье под давлением значительно улучшаются санитарно-гигиенические условия труда, а на роботизированных комплексах полностью исключается ручной труд.

Недостатки литья под давлением:

высокая стоимость пресс-форм, сложность и трудоемкость их изготовления, ограниченная стойкость, высокая стоимость оборудования;

трудно изготовить отливки со сложными полостями, поднутрениями и карманами;

наличие газовоздушной пористости снижает пластичность материала отливки, геометричность и затрудняет термическую обработку (сплав заполняет пресс-форму за 0,01-0,6 с при скорости до 135 м/с );

ограниченность номенклатуры полученных отливок по размерам и массе.

Список литературы

1. Левин Б.Е., Третьяков Ю.Д., Летюк Л.М. Физико-химические основы получения, свойства и применение ферритов. - М.: Металлургия, 1979. - 470с.

3. Шевченко А. А. Химическое сопротивление неметаллических материалов и защита от коррозии. Учебное пособие. – М.: «КолосС», 2006. - 248 стр.

4. Шофман Л. А. Элементы теории холодной штамповки. - М.: Оборонгид, 1952. - 335 с.

Похожие работы на - Прессование

 

Не нашли материал для своей работы?
Поможем написать уникальную работу
Без плагиата!
Без нейросетей!