Екстракти в промисловій технології ліків

  • Вид работы:
    Дипломная (ВКР)
  • Предмет:
    Медицина, физкультура, здравоохранение
  • Язык:
    Русский
    ,
    Формат файла:
    MS Word
    939,98 kb
  • Опубликовано:
    2010-11-25
Вы можете узнать стоимость помощи в написании студенческой работы.
Помощь в написании работы, которую точно примут!

Екстракти в промисловій технології ліків

Зміст

Вступ

Глава 1. Процес екстрагування

1.1 Теоретичні основи екстрагування

1.2 Особливості екстрагування рослинної сировини з клітинною структурою

1.3 Стадії процесу екстрагування i їх кількісні характеристики

1.4 Основні чинники впливу на повноту i швидкість екстрагування

1.5 Вимоги до екстрагентів

Глава 2. Настойки

2.1 Визначення настойок

2.2 Способи одержання настойок

2.3 Стандартизація

2.4 Зберігання настойок

2.5 Класифікація i номенклатура настойок

2.6 Рекуперація екстрагентів відпрацьованої сировини

Глава 3. Рідкі екстракти

3.1 Визначення

3.2 Рідкі екстракти

3.3 Способи одержання

3.4 Очищення

3.5 Стандартизація

3.6 Номенклатура рідких екстрактів

3.7 Зберігання

Глава 4. Густі i сухі екстракти

4.1 Визначення

4.2 Способи одержання

4.3 Одержання витяжок

4.4 Очищення витяжок        

4.5 Згущення витяжок

4.6 Висушування витяжок

4.7 Номенклатура густих i сухих екстрактів i основні їхні показники (за державним реєстром)

4.8 Зберігання

Глава 5. Інші екстракти

5.1 Екстракти-концентрати

5.2 Масляні екстракти

Висновки

Список використаної літератури

Вступ

Сучасні екстракційні препарати з лікарської рослинної сировини за технологією одержання можна поділити на три групи:

сумарні (галенові) препарати;

новогаленові (максимально очищені) препарати;

препарати індивідуальних речовин.

Галенові препарати необхідно розглядати як специфічну групу лікарських засобів, що разом із хіміко-фармацевтичними та іншими препаратами входять до складу ліків. Галеновими вони називаються за прізвищем відомого римського лікаря і фармацевта Клавдія Галена, що жив у 131—201 рр. н. е. Термін «галенові препарати» з'явився у XIII столітті.

Витяжки із сировини у виробництві галенових препаратів (настойки, екстракти тощо) не є хімічно індивідуальними речовинами, вони являють собою складні комплекси, що часто діють інакше, ніж окрема хімічно чиста речовина. Тому й лікувальна дія галенових препаратів зумовлена всім комплексом біологічно активних речовин, посилюючи, послаблюючи або видозмінюючи дію основних речовин.

У 60-і роки XIX століття з'явилися нові препарати галенового типу, названі новогаленовими. Вони є витяжками з лікарських рослин, цілком або частково звільненими від супутніх речовин, тому мають ще й назву максимально очищених препаратів (МОП). Це також сумарні препарати, але з вузьким спектром дії на організм і зі своїми особливостями. Так, глибоке очищення підвищує їх стабільність, усуває побічну дію ряду супутніх речовин (смоли, таніни тощо), дозволяє рекомендувати їх для парентерального застосування.

Промислове виробництво лікарських препаратів індивідуальних речовин було організоване в колишньому СРСР у середині XX століття. Якщо порівняно недавно їх виробництво вважалося важкодоступним, то завдяки досягненням у галузі хімії, фізики, технології ліків та фармакології стали можливими їх виділення, всебічне дослідження та аналіз. Поширення набули препарати індивідуальних алкалоїдів, серцевих глікозидів та ін.

Основу виробництва екстракційних препаратів становлять про-цеси екстракції. У фармації вони широко впроваджені для одержання препаратів із лікарськоїрослинної сировини (настойки, екстракти рідкі, густі та сухі, екстракти-концентрати, максимально очищені, тобто новогаленові препарати, витяжки зі свіжих рослин тощо) та із сировини тваринного походження (препарати гормонів, ферментів, препарати неспецифічної дії — пантокрин, вітогепат і т. под.)

Вирізняють екстрагування в системі тверде тіло — рідина та у системі рідина — рідина, або рідинну екстракцію. Найпопулярніше у фармацевтичному виробництві екстрагування в системі тверде тіло — рідина, де твердим тілом є лікарська рослинна сирови-на або сировина тваринного походження, а рідиною — екстрагент. Рідинну екстракцію використовують при очищенні витяжок у виробництві максимально очищених препаратів і препаратів індивідуальних речовин з лікарської рослинної сировини.

Глава 1. Процес екстрагування

 

1.1 Теоретичні основи екстрагування

Процес екстрагування належить до масообмінних процесів і відбувається завдяки дифузії із зони з високою концентраціею. Екстрагування базується на дифузії біологічно активних речовин із внутрішніх структур частинок матеріалу в екстрагент і закінчується при досягненні рівноважних концентрацій. У рівноважному стані з матеріалу в екстрагент переходить така ж кількість молекул, як і з екстрагента в матеріал, тобто концентрація залишається постійною. При цьому звичайно в матеріалі концентрація вища, ніж в екстрагенті.

Дифузія буває молекулярна і конвективна.

Молекулярна дифузія — це процес перенесення елементів речовини (біологічно активної речовини — БАР) за рахунок хаотичного руху самих молекул у нерухомому середовищі. Вона характеризується коєфіціентом молекулярної дифузії Б, який виводять із рівняння Ейнштейна.

Коєфіціент молекулярної дифузії характеризує здатність даної речовини проникати внаслідок дифузії в нерухоме середовище і, як видно з рівняння, зростає з підвищенням температури і зменшується зі збільшенням в'язкості середовища та розміру частинок речовини.

Отже, чим менший радіус дифундуючих частинок, тим швидше відбувається дифузія. Наприклад, розчинам білків, слизів, пектинів та інших, що мають великі молекули, властиві дуже низькі коєфіціенти дифузії. Речовини з малими розмірами молекул (якими частіше бувають БАР) дифундують набагато швидше.

1.2 Особливості екстрагування рослинної сировини з клітинною структурою

При екстрагуванні з лікарської рослинної сировини відбувається дифузія БАР із внутрішніх структур частинки матеріалу. Цей процес має свої особливості. Перш за все, наявність пористої перегородки, міжклітинного простору і клітинних ходів знижує швидкість дифузії. По-друге, у пори перегородки можуть проникати лише ті речовини, частинки яких не перевищують розмірів пор. Нарешті, є ще одна істотна особливість — явище десорбції, що спостерігається в клітині після проникнення в неї екстрагента. Оскільки речовини в клітині зв'язані силами тяжіння, то необхідне насамперед подолання цих адсорбційних сил. Увесь складний комплекс дифузійних явищ, які відбуваються всередині шматочків рослинного матеріалу, називають внутрішньою дифузіею. Для вираження коєфіціента дифузії в порах рослинного матеріалу до рівняння Ейнштейна для вільної дифузії вводять поправочний коєфіціент В, який враховує всі ускладнення процесу.

Для матеріалу з клітинною структурою значення коєфіціента внутрішньої дифузії значно менше за значення коєфіціента вільної дифузії. Так, розмір коєфіціента вільної дифузії для багатьох природних сполук перебуває в межах 104—105 м2/с. А для цих же сполук значення коєфіціента дифузії в порах матеріалу з клітин-ною структурою на 2—3 порядки менший, тобто 106—108 м2/с.

Особливості витягу біологічно активних речовин із матеріалів з клітинною структурою пов'язані з тим, що на шляху до речовини, яка міститься в клітині, знаходиться клітинна стінка, фізіологічний стан якої змінюється. Так, жива рослинна клітина має пристінний шар протоплазми відповідної товщини. Він позначається на властивостях клітинної стінки як перегородки, що відокремлює розчин усередині клітини (клітинний сік) від рідини поза клітиною.

Доки протоплазма жива, клітинна стінка залишається напів-прозорою перегородкою, яка не пропускає речовини, розчинені в клітинному сокові. У цьому разі можливе лише проникнення екстрагента у клітину за рахунок явища осмосу.

Зовсім інакше поводиться висушена клітина. Внаслідок загибелі протоплазми (плазмолізу) клітинна стінка втрачає характер напівпрозорої перегородки і починає пропускати речовини в обидві сторони (явище діалізу). Тобто клітинна стінка набуває властивості пористої перегородки, крізь яку можуть дифундувати біологічно активні речовини, молекули яких не перевищують розміру пор.

Переважну більшість екстракційних препаратів одержують із висушеної рослинної сировини, тобто зневодненої природним або тепловим висушуванням. У разі одержання препаратів зі свіжих рослин клітини умертвляють етиловим спиртом. Він дуже гігроскопічний і при зіткненні з рослинною клітиною зневоднює її, викликаючи найсильніший плазмоліз. Умертвіння клітин сировини тваринного походження досягається тими ж способами: висушуванням або зневоднюванням за допомогою спирту чи ацетону.

При одержанні препаратів зі свіжої сировини, клітини якої не зневоднені, очевидно, має місце вимивання клітинного соку із зруйнованих клітин, а не процес екстрагування.

 

1.3 Стадії процесу екстрагування i їх кількісні характеристики

У процесі екстрагування відбувається масопередача, тобто перехід одніеї або кількох речовин з одніеї фази (сировини) в іншу (екстрагент). Масопередача із сировини з клітинною структурою — складний процес, в якому можна виділити три стадії:

«внутрішню дифузію», що включає всі явища перенесення

речовин усередині частинок сировини;

перенесення речовини в межах безпосередньо дифузійного

пограничного шару;

перенесення речовини рухомим екстрагентом (конвективна дифузія).

Екстрагування із зневодненої сировини з клітинною структурою починається проникненням екстрагента в матеріал, змочуванням речовин, що знаходяться усередині клітини, розчиненням їх та десорбціею. Далі відбувається молекулярне перенесення розчинених речовин — спочатку в екстрагент, що знаходиться в міжклітинному просторі, потім в екстрагент, який заповнює мікро- і макротріщини, і, нарешті, на поверхню шматочків матеріалу.

Зобразимо схематично (рис. 1) частинку матеріалу, яка знаходиться в екстрагенті, і позначимо середню концентрацію речовин, що екстрагуються всередині частинки, як С1 а на її поверхні — С2.

Рис. 1. Частинка сировини в екстрагенті

Тоді кількість речовини, що продифундувала із внутрішніх структур частинки на поверхню (перша стадія), буде пропорційна коєфіціентові внутрішньої дифузії, поверхні частинки матеріалу, часові, різниці концентрації всередині частинки та на її поверхні, обернено пропорційна розмірові частинок рослинної сировини.

На другій стадії починається дифузія речовин від поверхні частинки (концентрація С2) до зовнішньої поверхні дифузійного пограничного шару (концентрація С3). Зараз уже загальновизнане існування на поверхні шматочків сировини пристінного шару, екстрагента, названого дифузійним пограничним шаром. Цей шар чинить великий опір подальшому перенесенню екстрагованих речовин у екстрагент. Товщина його залежить від гідродинаміки процесу, передусім від швидкості перемішування екстрагента. Чим більша швидкість перемішування, тим тонший пограничний шар. У межах дифузійного пограничного шару перенесення речовин здійснюється за законом вільної дифузії і може бути виражене у вигляді першого закону Фіка.

На третій стадії процесу екстрагування перенесення діючих речовин триває завдяки руху екстрагента (конвективна дифузія).

Звичайно коєфіціент конвективної дифузії Р у багато разів більший за коєфіціент молекулярної дифузії Б.

Аналіз процесів екстракції засвідчує, що процес екстрагування залежить від багатьох чинників, найважливіші з яких: гідродинамічні умови, поверхня розділення фаз, різниця концентрацій, тривалість процесу, в'язкість екстрагента, температура. Крім того, на повноту витягу та швидкість впливають: додавання поверхнево-активних речовин, характер завантаження сировини, вибір екстрагента, пористість і порозність сировини, коєфіціент вимивання, вплив вібрацій, пульсацій, електроімпульсний розряд у рідкому середовищі, здрібнення і деформація сировини в екстрагенті. Розглянемо вплив кожного із цих чинників.

1.4 Основні чинники впливу на повноту i швидкість екстрагування

Гідродинамічні умови. Коєфіціент масопередачі К визначають, включаючи коєфіціенти всіх видів дифузії. Він може змінюватися залежно від гідродинамічних умов процесу. Так, за відсутності конвекції, тобто без перемішування, коєфіціент конвективної дифузії Р дорівнює нулю, а товщина дифузійного шару стає рівною товщині всього шару екстрагента. Отже, третя стадія екстрагування відпадає, а коєфіціент масопередачі визначається тільки внутрішньою дифузіею в сировину і вільною молекулярною дифузіею в нерухомій рідині.

Таке явище спостерігається при мацерації (настоюванні) без перемішування. Цей спосіб екстрагування найбільш тривалий.

Якщо екстрагент переміщується із незначною швидкістю, коєфіціент масопередачі визначається кількісними характеристиками всіх трьох стадій процесу. Швидкість цього способу екстракції вища, адже зменшується шар не-рухомої рідини, з'являються конвекційні потоки, які сприяють перенесенню речовини. Такий режим екстрагування характерний для мацерації з перемішуванням, перколяції, швидкоплинної реперколяції, безперервної протитечійної екстракції тощо.

I нарешті, при дуже інтенсивному перемішуванні можуть не відбуватися друга й третя стадії дифузійного процесу. Тоді коєфіціент конвективної дифузії зростає до нескінченності, тобто конвективне масоперенесення здійснюється миттево. Водночас стає рівною нулю і товщина пограничного дифузійного шару. Коєфіціент масопередачі в таких випадках визначається тільки коєфіціентом дифузії в порах рослинного матеріалу.

Такий вид залежності для коєфіціента масопередачі прийнятний для вихрової екстракції та екстрагування із застосуванням роторно-пульсаційного апарата.

Другий і третій складники можуть бути відсутніми, але наявність першого невід’ємна від процесу екстракції із сировини з клітинною структурою.

Останнім часом запропоновано екстрагування із застосуванням ультразвуку, за допомогою електричних зарядів з використанням електроплазмолізу та електродіалізу. У таких випадках з'являється можливість впливати на коєфіціент внутрішньої дифузії, що дозволяє значно прискорити процес екстрагування на найбільш повільній стадії.

Поверхня розділення фаз «тверда лікарська сировина — рідина» залежить від ступеня здрібнення сировини і буде тим більшою, чим менші розміри частинок. Однак з практики відомо, що при надмірному здрібненні сировина може злежуватись, а вміст слизистих речовин призводить до ослизнення, внаслідок чого крізь такі маси екстрагент проходитиме дуже погано. При надто тонкому здрібненні різко збільшується кількість розірваних клітин, що стає причиною вимивання супутніх речовин, які забруднюють витяжки (білки, слизи, пектини та інші високомолекулярні сполуки). У результаті витяжки одержують каламутні, їх важко освітлювати і фільтрувати. 3 цього випливає, що сировину слід подрібнювати до оптимальних розмірів: листя, квіти, трави до 3—5 мм; стебла, корені, кору до 1—3 мм, плоди й насіння до 0,3—0,5 мм. При цьому у вихідному матеріалі зберігатимється клітинна структура і переважатимуть дифузійні процеси, екстрагування сповільниться, але отриману витяжку легше буде очищати від механічних домішок.

Різниця концентрацій у сировині та екстрагенті є рушійною силою процесу екстракції. Під час екстракції необхідно прагнути до максимального перепаду концентрацій, що досягається частою зміною екстрагента (ремацерація замість мацерації), проведенням протитечійного процесу та ін.

Час (тривалість) екстрагування. 3 основного рівняння масопередачі випливає, що кількість речовини, продифундованої крізь умовний шар, прямо пропорційна часові екстракції. Однак потрібно досягати максимальної повноти витягу в найкоротший термін, максимально скориставшись усіма можливостями інтенсифікації процесу.

Надмірна тривалість процесу екстрагування призводить до забруднення витяжок супутніми високомолекулярними сполуками, швидкість дифузії яких значно менша, ніж у біологічно активних речовин. При тривалому екстрагуванні під впливом ферментів можуть з'являтися небажані процеси. Загальна тривалість екстракції найчастіше змінюється з економічних міркувань. Буває доцільно припинити процес у певний момент, бо додатково витягнуті кількості речовин не окуплять надлишкових витрат цінних екстрагентів (спирту, ефіру).

В'язкість екстрагента. За законом Фіка кількість розчиненої речовини, продифундованої крізь шар екстрагента, обернено пропорційна в'язкості цього екстрагента при даній температурі. Отже, менш в'язкі розчини мають більшу дифузійну здатність. Для зменшення в'язкості при екстрагуванні рослинними оліями вдаються до нагрівання.

Перспективними в цьому відношенні є зріджені гази: карбону діоксид СО2, пропан, бутан, рідкий амоніак та ін. Найбільш часто використовують зріджений карбону діоксид, що хімічно індиферентний до значної кількості діючих речовин. Його в'язкість у 14 разів менша за в'язкість води і в 5 — за в'язкість етанолу. Зріджений карбону діоксид добре витягає ефірні масла та інші гідрофобні речовини. Гідрофільні речовини добре екстрагуються зрідженими газами з високою діелектричною проникністю (амоніаком, метилхлоридом, метиленоксидом та ін.).

Температура. Підвищення температури прискорює процес екстрагування, але в умовах фітохімічних виробництв нагрівання можливе тільки для водних витяжок. Спиртова, а тим більше ефірна екстракція проводиться при кімнатній (або навіть нижчій) температурі, оскільки з її підвищенням зростають втрати екстрагентів, а отже шкідливість і небезпека роботи з ними.

Як було зазначено вище, екстрагування рослинними оліями відбувається з нагріванням. Але для термолабільних речовин застосування підігрітого екстрагента припустиме лише протягом короткого часу. Шдвищення температури екстрагента небажане для ефіромасляної сировини, оскільки при нагріванні неминучі значні втрати. Необхідно враховувати, що при використанні гарячої води відбувається полімеризація крохмалю, пептизація речовин; витяжки в цьому разі стають слизуватими, і подальша робота з ними значно утруднюється. Шдвищення температури доцільне при екстрагуванні з коренів, кореневищ, кори та шкірястого листя. Тоді гаряча вода сприяє кращому відділенню тканин і розриву клітинних стінок, прискорюючи тим самим перебіг дифузійного процесу.

Додавання поверхнево-активних речовин (ПАР). Експериментально встановлено, що додавання невеликих кількостей ПАР (0,01—0,1 %) поліпшує процес екстрагування. При цьому збільшується вихід екстрагованих речовин: алкалоїдів, глікозидів, ефірних масел тощо, а в деяких випадках повнота витягу досягається при меншому об’ємі екстрагента. Добавки ПАР знижують поверхневий натяг на межі розділення фаз, поліпшуючи змочуваність вмісту клітини і полегшуючи проникнення екстрагента. Крім того, істотну роль відіграє солюбілізувальна здатність ПАР.

Вибір екстрагента. Для забезпечення повноти витягу діючих речовин і максимальної швидкості екстрагування до екстрагента висувають такі вимоги: селективність (вибіркова розчинність); хімічна і фармацевтична індиферентність; мала токсичність; доступність.

Вибір екстрагента визначається ступенем гідрофільності речовин. Для екстрагування полярних речовин із високим значенням діелектричної сталої використовують полярні розчинники: воду, метанол, гліцерин; для неполярних — кислоту оцтову, хлороформ, етер етиловий та інші органічні розчинники. Найчастіше як екс-трагент застосовують етанол — малополярний розчинник, який при змішуванні з водою утворює суміші різного ступеня полярності, що дозволяє використовувати його для вибіркового екстрагування різних біологічно активних речовин. Крім етанолу, з мало-полярних розчинників застосовують ацетон, пропанол, бутанол.

Пористість і порозність сировини. Пористість сировини — це розмір порожнин усередині рослинної тканини. Чим вона вища, тим більше утворюється внутрішнього соку при набуханні. Порозність — це розмір порожнин між шматочками здрібненого матеріалу. Від розмірів пористості й порозності залежать швидкість змочування і набухання матеріалу. Швидкість набухання зростає при попередньому вакуумуванні сировини, а також при підвищенні тиску і температури.

Пористість і порозність сировини обумовлюють її поглинальну здатність, що характеризується коєфіціентом поглинання сировини.

Поглинальна здатність сировини перебуває в прямій залежності від ступеня її здрібнення.

Коєфіціент вимивання характеризує ступінь руйнування клітин у здрібненій сировині. Якщо він низький, це означає, що в сировині мало зруйнованих клітин, екстрагування йде повільно і обумовлюється швидкістю молекулярної дифузії. За розмір коєфіціента вимивання прийнято брати кількість речовини у витяжці, отриманої з певної наважки сировини, при певному співвідношенні (сировина-екстрагент) в результаті екстрагування сировини протягом одніеї години при певній швидкості перемішування.

Вплив вібрації, пульсації, здрібнення і деформації сировини в середовищі екстрагента. Використання методів екстрагування, в яких мають місце вібрація, пульсація, здрібнення і деформація в середовищі екстрагента, дозволяє значно збільшити швидкість і повноту екстрагування із сировини. Пояснюється це тим, що:

3 появою турбулентного перемішування як усередині, так і назовні клітин молекулярно-кінетичний рух змінюється на конвективний, що дозволяє підтримувати різницю концентрацій у зоні зіткнення фаз на високому рівні.

Вплив електроімпульсних розрядів. При екстрагуванні БАР за допомогою електричних розрядів процес прискорюється, тому що завдяки іскровому розрядові в сировині відбувається мікровибух, який розриває клітинні структури матеріалу. Процес витягу відбувається швидше внаслідок вимивання екстрактивних речовин та пульсації, що так само позначається на швидкості руху екстрагента. Виникаючі в рідині коливання скорочують час екстрагування і збільшують вихід біологічно активних речовин.

1.5 Вимоги до екстрагентів

Екстрагент у процесі екстракції БАР відіграє особливо важливу роль. Він має здатність проникати крізь стінки клітини, вибірково розчиняти біологічно активні речовини і виходити за межі рослинного матеріалу. Тому до екстрагентів висувають конкретні вимоги, обумовлені специфічними особливостями фармацевтичного виробництва. Отже, екстрагент повинен:

максимально розчиняти лікарські речовини і мінімально — баластні речовини;

проникати у пори матеріалу і крізь стінки клітин, забезпечувати високу змочувальну здатність;

перешкоджати розвиткові у витяжці мікрофлори;

мати низьку температуру кипіння, легко регенеруватися;

бути мінімально токсичним і вогнебезпечним;

бути доступним за вартістю.

Із двох рівноцінних екстрагентів обирають безпечніший, доступний за ціною, фармакологічно не шкідливий і т. д. Якщо екстрагент не задовольняє зазначені вимоги, то використовують суміші, наприклад підкислену воду, спирт із водою, ефір зі спир-том тощо.

Одним з найбільш прийнятних екстрагентів є вода, яка має ряд переваг, а саме:

добре проникає крізь клітинні оболонки, непроникні для гідрофобних речовин;

розчиняє і витягає речовини краще за інші рідини;

фармакологічно індиферентна;

дуже розповсюджена;

негорюча і вибухобезпечна;

доступна за вартістю.

Однак як екстрагент має ряд негативних сторін, наприклад:

не розчиняє і не витягає гідрофобні речовини;

не має антисептичних властивостей, внаслідок чого у водних витяжках можуть розвитися мікроорганізми;

за рахунок води відбувається гідролітичне розщеплення багатьох речовин, особливо при високій температурі;

у водному середовищі ферменти можуть розщеплювати лікарські речовини.

Етиловий спирт С2Н5ОН теж дуже часто використовується як екстрагент.

Якість спирту-ректифікату регламентується ДФ X і ГОСТом 5962-51.

Спирт як екстрагент:

є розчинником багатьох сполук, що не витягаються водою, наприклад жирів, алкалоїдів, хлорофілу, глікозидів, ефірних масел, смол та ін.;

має антисептичні властивості (у спирто-водних розчинах з концентраціею понад 20 % не розвиваються мікроорганізми та цвіль);

чим міцніший спирт, тим менш можливі в його середовищах гідролітичні процеси. Спирт інактивує ферменти;

достатньо леткий, тому спиртові витяжки легко згущуються і висушуються до порошкоподібних речовин. Для зберігання термолабільних речовин випарювання й сушіння проводять під вакуумом;

є лімітованим продуктом, відпускається фармацевтичним виробництвом за встановленим порядком;

значно важчий ніж вода, проникає крізь стінки клітин, віднімаючи воду в білків та слизуватих речовин, перетворюючи їх на осади, що закупорюють пори клітин, а відтак погіршує дифузію.

Чим нижча концентрація спирту, тим легше він проникає всередину клітин;

фармакологічно неіндиферентний; проявляє як місцеву, так і загальну дію, що необхідно враховувати при виробництві витягів вогненебезпечний.

Отже, спирт як екстрагент має ширший діапазон витягу БАР порівняно з водою, причому його екстрагуюча здатність залежить від концентрації. При екстрагуванні етанолом з концентраціею не менше 70 % одержують витяжки, вільні від біополімерів (білків, слизу, пектинів).

Ацетон СН3СОСН3. Безбарвна рідина з характерним запахом. Відносна густина 0,798. Температура кипіння 56,2 °С. 3 водою та органічними розчинниками змішується в будь-яких співвідношеннях. Застосовузться як екстрагент для алкалоїдів, смол, олій таін.

Етиловий етер СН5ОС2Н5. Безбарвна, легкорухлива летка рі-дина, має температуру кипіння від 34 до 36 °С. Розчиняється в 12 частинах води, змішується у всіх співвідношеннях з ацетоном, спиртом, петролейним етером, жирними оліями та ефірними маслами. Густина 0,714 (при 20 °С). Пари етилового етеру мають велику густину (2,56 відносно повітря), вони стеляться по підлозі, отруйні, можуть переміщуватися і накопичуватися далеко від джерела випаровування. При зіткненні з вогнем або гарячими предметами може статися вибух великої сили (температура займання етеру 40 °С). Тому при роботі з етиловим етером необхідно дотримуватися особливих заходів безпеки, а це обмежує його застосування як екстрагента. Етилацетат у суміші з етанолом у співвідношенні 9: 1 використовують при рідинній екстракції флавоноїдів у виробництві фламіну.

Хлороформ СНС13. Безбарвна, прозора, легколетка рідина, що змішується у всіх співвідношеннях зі спиртом, ефіром, бензином, з багатьма жирними оліями та ефірними маслами, у воді розчинна (1:200) і не змішується з гліцерином. Густина 1,52, кипить при 59,5—62 °С. Пари хлороформу отруйні, але не горючі, вибухобезпечні.

Є гарним розчинником для багатьох лікарських речовин: алкалоїдів, глікозидів, масел, олій тощо.

Дихлоретан СЮН2СН2С1. Безбарвна, прозора рідина, що не змішується з водою. Запахом нагадує хлороформ. Густина 1,252— 1,235. Температура кипіння 83,0—84,0 °С. Змішується зі спиртом і ефіром, жирами, мінеральними маслами, смолами. Дихлоретан маловогненебезпечний (температура займання 21,1 °С). При вдиханні його парів можливе отруєння. Дихлоретан у суміші з хлороформом (при густині 1,315) застосовується для екстрагування глікозидів.

Хлористий метилен СН2С12. Екстрагент з відносно високою густиною — 3,33 і температурою кипіння — 41 °С. Застосовується для екстрагування гідрофобних речовин (глікозидів, алкалоїдів та ін.).

Метанол, метиловий, або деревний спирт СН3ОН, виробляється синтетичний. Прозора, безбарвна рідина зі слабким запахом, що нагадує етиловий спирт. Змішується з водою в усіх співвідношеннях, утворюючи прозорі розчини без слідів покаламутніння та опалесценції. Густина не більше 0,793. Температура кипіння 64 — 67 °С. Сильна отрута. Вживання всередину 10 мл речовини викликає атрофію зорового нерва, дози 15—20 мл смертельні. До роботи з метиловим спиртом працівники допускаються лише після спеціального інструктажу. Зберігають його в опломбова-ній тарі. Застосовують при екстрагуванні кумаринів. Для розділення суміші глікозидів використовують суміш метанолу і води (густина 0,9464).

Олії рослинні. Використовують олії рослинні холодного пресування, добре відстояні; жовтого кольору. Найчастіше застосовують персикову, мигдалеву і соняшникову олії. Жирні олії змішуються з ефіром, хлороформом, бензином, ефірними та мінеральними маслами. Усі олії, крім рицинової, не змішуються зі спиртом і водою. Гіркнуть, а це тягне за собою підвищення кислотного числа. Жирні олії мають вибіркову здатність як екстрагенти.

Зріджені гази. Перспективними для екстрагування є запропоновані останнім часом зріджені гази: карбону діоксид, пропан, бутан, рідкий амоніак, хладони (хлорофторопохідні вуглеводнів) та ін. Зріджений карбону діоксид добре витягає ефірні масла, жирні олії та інші гідрофобні речовини. Гідрофільні речовини добре екстрагуються зрідженими газами з високою діелектричною проникністю (амоніак, метилхлорид, метиленоксид та ін.)

Дослідженнями, проведеними в ДНЦЛЗ, доведено, що найбільш селективним розчинником відносно ефірних масел є хладон-С318 (ц-С4Г8), який практично не витягує жирні олії. Хладон-11 (СС13Г), хладон-12 (СС12Г2) і хладон-22 (СНС1Г2) витягають ефірні масла й жирні олії, каротиноїди, терпеноїди та інші природні речовини.

Екстрагування зрідженими газами проводиться під тиском, після зняття якого екстрагент звітрюється, а екстрактивні речовини залишаються в чистому вигляді.

 

Глава 2. Настойки

 

2.1 Визначення настойок

Настойки — це рідкі спиртові або водно-спиртові витяжки, одержані з висушеної або свіжої рослинної чи тваринної сировини без нагрівання і усунення екстрагента.

При виготовленні настойок з одніеї масової частини рослинної сировини одержують 5 об’ємних частин готового продукту, із сильнодіючої сировини — 10 частин. В окремих випадках настойки готують в інших співвідношеннях із сировини, що не містить сильно-діючих речовин (настойки арніки, календули, глоду, м'яти, софори).

Настойки можуть бути простими, тобто з одного виду сировини, і складними (суміш витяжок із декількох рослин, іноді з додаванням лікарських речовин).

 

2.2 Способи одержання настойок

Настойки одержують розчиненням густих і сухих екстрактів, але в промислових умовах найчастіше — екстракцій-ними методами:

мацераціею та її різновидами;

перколяціею.

МАЦЕРАЦІЯ

Раніше метод мацерації (від лат. тасегаііо — вимочування), або настоювання, був дуже поширеним. Тепер його застосування поступово скорочується, тому що при екстрагуванні цим методом важко досягти повноти витягу лікарських речовин із рослинного матеріалу.

При одержанні настойок мацераціею здрібнену сировину із запропонованою кількістю екстрагента завантажують у мацера-ційний бак і настоюють при температурі 15—20 °С, періодично перемішуючи. Якщо немає спеціальних указівок, то настоювання триває протягом 7 діб. Після цього витяжку зливають, залишок віджимають, віджату сировину промивають невеликою кількістю екстрагента, знову віджимають, віджату витяжку додають до вже злитої і потім об’єднану витяжку доводять екстрагентом до необхідного об’єму.

Цей метод малоєфективний, повільний, сировина не до кінця виснажується. 3 метою інтенсифікації екстрагування матеріалу процес проводять із застосуванням дробної мацерації (ремацерації), мацерації з примусовою циркуляціею екстрагента, вихрової екстракції (турбоєкстракції), ультразвуку та ін.

Ремацерація, або дробна мацерація з розділенням на частини екстрагента (або сировини і екстрагента). Загальну кількість екстрагента ділять на 3—4 частини і послідовно настоюють сировину з першою частиною екстрагента, потім з другою, третьою і четвертою, щоразу зливаючи витяжку. Час настоювання залежить від властивостей рослинного матеріалу. Таке проведення екстрагування дозволяє при менших витратах часу повніше виснажувати сировину, адже постійно підтримується висока різниця концентрацій у сировині та екстрагенті.

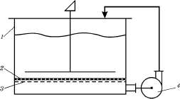
Мацерація з примусовою ииркуляцією екстрагента. Проводиться в мацераційному баку 1 (рис. 2) із перфорованим дном 3, на який укладено фільтрувальний матеріал 2. Екстрагент, відділений від сировини перфорованим дном, за допомогою насоса 4 прокачується крізь сировину до досягнення рівноважної концентрації. При цьому час настоювання скорочується в кілька разів. 3 примусовою циркуляціею екстрагента проводять також дробну мацерацію. Таким чином досягається більш повне виснаження сировини при таких же витратах екстрагента.

Рис. 2. Мацераційний бак із циркуляцією екстрагента

Вихрова екстракція, або турбоєкстракція, ґрунтується на вихровому, дуже інтенсивному перемішуванні сировини і екстрагента при одночасному здрібнюванні сировини. Турбінна мішалка обертається із швидкістю 8000—13 000 об/хв. Час екстракції скорочується до 10 хв. Одержані настойки — стандартні.

Ультразвукова екстракція. Для інтенсифікації мацераційного процесу ефективне застосування ультразвукових коливань. При цьому прискорюється екстрагування і досягається повнота витягу діючих речовин. Джерело ультразвуку кріплять до корпусу мацераційного бака в місці, заповненому екстрагентом і сировиною. Найбільший ефект від впливу ультразвуку виявляється тоді, коли клітина матеріалу, що екстрагується, добре насичена екстрагентом, який проводить ультразвук. Ультразвукові хвилі, що виникають, створюють знакоперемінний тиск, кавітацію і «звуковий вітер». Унаслідок цього прискорюється просочуваність матеріалу і розчинення вмісту клітини, збільшується швидкість обтікання частинок сировини, у пограничному дифузійному шарі екстрагента виникають турбулентні і вихрові потоки. Молекулярна дифузія в клітинах матеріалу та в дифузійному шарі змінюється на конвективну, що приводить до інтенсифікації масообміну. Виникнення кавітації викликає руйнування клітин. При цьому екстрагування прискорюється через вимивання екстрактивних речовин із зруйнованих клітин і тканини. При озвучуванні витяжку можна одержати за декілька хвилин.

До інших видів динамізації мацерації належать: подрібнення сировини в середовищі екстрагента, наприклад у кульовому млині; ремацерація, яка супроводжується пресуванням на гідравлічних пресах або вальцях. В останньому випадку процес повторюється до досягнення рівноважних концентрацій, що дозволяє скоротити втрати діючих речовин і екстрагента, тому що в шроті залишається незначний об’єм витяжки. У готовій настойці міститься висока кількість екстрактивних речовин.

ПЕРКОЛЯЦІЯ

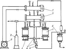
Рис. 3. Перколятори-екстрактори

Перколяція (від лат. регсоіаііо — проціджування крізь...), тобто проціджування екстрагента крізь рослинний матеріал з метою одержання витяжки розчинних у екстрагенті речовин. Процес проводиться в емкостях різної конструкції, названих перколяторами-екстракторами (рис. 3). Вони можуть бути циліндричної а, в або конічної б форми, із паровою оболонкою в або без неї, що перекидаються і саморозвантажуються, виготовлені з нержавіючої сталі, алюмінію, лудженої міді та інших матеріалів. У нижній частині перколятора є перфорована сітка 2, на якій розташовують фільтрувальний матеріал 1 (мішковину, полотно та інше), і завантажують сировину. Циліндричні перколятори зручні в роботі при вивантаженні сировини, конічні — забезпечують більш рівномірне екстрагування.

Метод перколяції включає три стадії, які послідовно проходять одна за одною: замочування сировини (набухання сировини), настоювання, власне перколяція.

Замочування (набухання) проводиться поза перколятором. Частіше для цього використовують мацераційні баки або інші емкості, із яких зручно вивантажувати замочену сировину. Для замочування використовують від 50 до 100 % екстрагента відносно маси сировини. Після перемішування сировину залишають на 4—5 год у закритій емкості. За цей час екстрагент проникає між частинками рослинного матеріалу та усередину клітин, сировина набухає, збільшуючись в об’ємі. При цьому відбувається розчинення діючих речовин усередині клітини.

У виробничих умовах замочування може бути поєднане з настоюванням, але якщо сировина здатна сильно набухати, стадію замочування обов'язково проводять в окремій емкості, тому що внаслідок значного збільшення об’єму матеріалу в перколяторі сировина може сильно спресовуватися і не пропустити екстра-гент.

Настоювання — друга стадія процесу перколяції. Набухлий або сухий матеріал завантажують у перколятор на перфороване дно з оптимальною щільністю, щоб у сировині залишалося якнайменше повітря. Зверху накривають фільтрувальним матеріалом, притискають перфорованим диском і заливають екстрагентом так, щоб максимально витиснути повітря. Можливе завантаження матеріалу в мішок із фільтрувального матеріалу, який заповнює весь об’єм перколятора. У верхній частині мішок зав'язують і кладуть тягар. Сировину заливають екстрагентом до утворення «дзеркала», товщина шару якого над сировиною має дорівнювати 30—40 мм, і про-водять настоювання 24—48 год, протягом яких буде досягнута рівноважна концентрація. Для багатьох видів сировини час настоювання може бути скороченим внаслідок особливостей її морфолого-анатомічної будови.

Власне перколяція — безперервне проходження екстрагента через шар сировини та збір перколяту. При цьому зливання перколяту та одночасна подача зверху екстрагента проводяться зі швидкістю, що не перевищує 1/24 або 1/48 (для великих виробництв) робочого об’єму перколятора за 1 год. При цьому насичена витяжка витісняється з рослинного матеріалу потоком свіжого екстрагента, і утворюється різниця концентрацій речовин, що екстрагуються, у сировині і екстрагенті. Швидкість перколяції повинна бути такою, щоб встигала відбутися дифузія екстрагованих речовин у витяжку. При готуванні настойок перколяцію закінчують одержанням п'ятьох або десятьох об’ємів (залежно від властивостей сировини) витяжки у відношенні до маси заванта-женої сировини.

При одержанні настойок у промисловості для максимальної інтенсифікації екстрагування в процес перколяції вносять зміни. Часто замість звичайної перколяції використовують настоювання, циркуляцію та їх поєднання.

В одному із варіантів перколяції першу, досить концентровану витяжку, зливають окремо, повністю видаляючи її з перколятора. Потім перколятор заповнюють свіжим екстрагентом, який після настоювання протягом 3—6 год зливають повністю. Отриману другу витяжку приєднують до першої, а із сировиною проводять ще 1—2 подібні операції, поки не зберуть необхідну кіль-кість витяжки.

В іншому випадку в процесі настоювання проводять циркуляцію екстрагента в перколяторі-екстракторі за допомогою насоса, що подає витяжку з нижньої частини у верхню. Така циркуляція екстрагента відбувається до рівноважної концентрації. Час настоювання скорочується багаторазово. Далі проводять перколяцію витісненням чистим екстрагентом так, як описано в стадії «власне перколяція».

Отримані витяжки — це каламутні рідини, що містять значну кількість завислих частинок. Очищення витяжок проводять відстоюванням при температурі не вище 10 °С до одержання прозорої рідини. При цій температурі зменшується розчинність екстрагованих речовин і тому надалі, у процесі зберігання настойок при температурі 15 °С, імовірність появи осаду незначна. Після відстоювання понад 2 доби проводять фільтрування декантаціею (тобто без скаламучування осаду). Для фільтрації застосовують фільтр-преси, друк-фільтри, центрифуги. Нутч-фільтри використовувати не рекомендується із-за можливої втрати екстрагента. Завершальною стадіею процесу одержання препаратів із сировини з клітинною структурою є рекуперація екстрагента із відпрацьованої сировини — шроту.

РОЗЧИНЕННЯ ГУСТИХ АБО СУХИХ ЕКСТРАКТІВ

Розчиненням сухих або густих екстрактів у спирті необхідної концентрації готують невелике число настойок. Цим методом одержують настойку блювотного горіха, який має отруйне насіння, що важко порошкується із-за великої твердості. При цьому використовують сухий екстракт.

Розчиненням густого або сухого екстракту солодки готують грудний еліксир.

Технологія одержання настойок цим методом зводиться до простого розчинення в реакторі з мішалкою розрахованої кількості сухого або густого екстракту в спирті необхідної концентрації. Отримані розчини фільтрують. Цей метод характеризується значним скороченням часу одержання настойки.

 

2.3 Стандартизація

До загальних методів оцінки якості настойок відносять: перевірку органолептичних ознак, кількісне визначення спирту або відносної густини, сухого залишку, важких металів, мікробіологічної чистоти, об’єм вмісту контейнера.

Перевірка органолептичних ознак. Настойки повинні бути прозорими і зберігати смак і запах тих речовин, які містяться у вихідній сировині.

Вміст спирту в настойках визначають одним із методів ДФУ:

а)      дистиляційним;

б)      за температурою кипіння.

Сухий залишок (екстрактивні речовини) і важкі метали в настойках визначають за ДФУ.

У переважній більшості настойок вміст діючих речовин визначають хімічним (настойки, що містять алкалоїди, дубильні речовини, ефірні масла, органічні кислоти та інші) або біологічним (настойки, що містять глікозити серцевої групи і гіркі речовини) методом. Вміст (масову або об’ємну частку) речовин у настойках, які визначаються, виражають у відсотках. Якщо кількість діючих речовин у настойках вища за встановлену межу або більшої біологічної активності, їх розбавляють чистим екстрагентом або настойкою зі зведеним вмістом діючих речовин. При отриманні діючих речовин нижчих за норму їх зміцнюють додаванням більш концентрованої настойки.

 

2.4 Зберігання настойок

Настойки необхідно зберігати в добре закупорених склянках у місці, захищеному від прямих сонячних променів, при температурі 15 °С. 3 часом в них можуть з'являтися осади і при дотриманні правил зберігання — настойки «старіють». Це пов'язано зі зміною розчинності біологічно активних речовин і утворенням нерозчинних сполук, у результаті взаємодії присутніх у настойках речовин. В осаді можуть міститися цукор, дубильні речовини, органічні кислоти, пігменти, сліди алкалоїдів, глюкозидів та інші, настойки з осадом відфільтровують і знову стандартизують. У разі відповідності числових показників вимогам ДФУ їх дозволяється застосовувати.

Настойки використовують для приймання усередину і як зовнішні засоби.

 

2.5 Класифікація i номенклатура настойок

Усі настойки, що виготовляються в промислових умовах, можна розділити на дві групи: прості і складні.

Прості настойки частіше одержують способом перколяції. При одержанні настойок у співвідношенні 1: 5 із метою досягнення повноти виснаження сировини екстрагування проводять із засто-суванням циркуляційного перемішування за допомогою відцент-рових насосів. Асортимент простих настойок наведено в табл. 1.

Настойки складні. Представником ціеї, раніше великої групи настойок є настойка гірка, до складу якої вхо-дять: трава золототисячника — 6 г; листя бобівника — 6 г; корневища аїру — 3 г; трава полину — 3 г; шкірка мандарина — 1 г.

Таблиця 1

Номенклатура (із реєстра лікарських засобів) і основні показники простих настойок

Найменування настойок

Сировина, спирт, співвідношення, спосіб одержання

Основні відомості про настойки

Настойка аралії

Корені, 70 %-вий, 1:5, перколяція

Сапоніни тритерпінові. Тонізуючий засіб

Настойка арніки

Квіти, 70 %-вий, 1:5, перколяція

Ефірне масло. Каротиноїди. Зовнішньо при ударах і дрібних пораненнях. Також в акушерсько-гінекологічній практиці

Настойка женьшеню

Корені, 70 %-вий, 1:10, мацерація

Сапоніни тетрациклінового ряду. Стимулятор ЦНС

Настойка заманихи

Кореневища і ко-рені, 70 % -вий, 1:5, перколяція

Сапоніни стероїдні. Тонізуючий засіб

Настойка звіробою

Трава, 40 % -вий, 1:5, перколяція

Антраценпохідні. При лікуванні гінгівітів і стоматитів

Настойка з листя барбарису звичайного

Листя, 70 %-вий, 1:10, перколяція

Алкалоїди — берберин, ок-сіакантин, бербамін, ятрорицин. При анатомічних кровотечах у післяродовий період, субінволюції матки

Настойка глоду

Плоди, 70 %-вий, 1:10, перколяція

Флавоноїди. При функціональних розладах серцевої діяльності

Настойка календули

Квіти календули, 70 %-вий, 1:10, перколяція

Вітаміни. При порізах, гнійних ранах і виразках. Жовчогінний засіб

Настойка беладони

Листи, 40 %-вий, 1:10, перколяція

Алкалоїдів 0,027—0,033 %. Спазмолітичний засіб

Настойка конвалії

Трава, 70 %-вий, 1:10, перколяція

Карденоліди, 10—13 ЖОД. Кардіотонічний засіб

Настойка лимонника

Насіння, 95 %-вий, 1:5, мацерація

Лігнани, ефірне масло. Стимулятор ЦНС

Настойка м'яти перцевої

Листя та ефірне масло, 90 % -вий, 1:20 + 5 % масла, перколяція і реперколяція

Ефірне масло (ментол). При нудоті і для поліпшення травлення. Входить до складу мікстур як коригент

Настойка перцю стручкового

Плоди, 90 % -вий, 1:10, перколяція

Алкалоїди. Зовнішній по-дразнювальний засіб

Настойка півонії

Корені, кореневища і трава півонії, 40 %-вий, 1:10, перколяція

Заспокійливий засіб. При неврастенії, безсонні, вегетативно-судинних порушеннях

Настойка полину

Трава, 70 %-вий, 1:5, перколяція

Ефірне масло, гіркі глікозиди. Ароматні гіркоти

Настойка собачої кропиви

Трава, 70 %-вий, 1:5, перколяція

Флавоноїди. Седативний засіб

Настойка софори японської

Плоди, 48 % -вий, 1:2, перколяція

Флавоноїди. Для лікування виразок і опіків

Настойка вовчуга польового

Корені, 20 %-вий, 1:15, перколяція

Сапоніни тритерпінові і флавоноїди. Протигеморойний засіб

Настойка стеркулії

Листя, 70 %-вий, 1:5, перколяція

Алкалоїди. Тонізуючий засіб

Настойка евкаліпта

Листи, 70 % -вий, 1:5, перколяція

Ефірне масло (ціанол). Дезінфікувальний (примочки, полоскання) протималярійний засіб


2.6 Рекуперація екстрагентів 13 відпрацьованої сировини

У відпрацьованій лікарській рослинній сировині (ЛРС) — шроті — залишається від 2 до 3 об’ємів екстрагента відносно маси сировини. Цей екстрагент обов'язково рекуперують, тобто витягають різними методами для повернення у виробництво.

Якщо на фармацевтичному підприємстві відсутня водяна пара як теплоносій (що часто буває на фармацевтичних фабриках), то рекуперацію етанолу зі шроту проводять методом витіснення водою. Для зменшення втрат екстрактивних речовин і екстрагента зі шроту попередньо віджимають екстрагент на пресі та отриману витяжку використовують у відповідному виробничому процесі. Шрот після преса заливають водою і настоюють 1,5 год. При цьому етанол дифундує із сировини у воду. Потім зі швидкістю перколяції одержують промивні води. їх кількість залежить від концентрації екстрагента.

Так, для рекуперації 70 %-вого етанолу одержують приблизно 5 об’ємів промивних вод стосовно сировини, для 40 %-вого етанолу — майже 3 об’єми. Промивні води, що містять 5—30 % етанолу, можуть бути використані для розведення міцного етанолу. Частіше промивні води піддають простій перегонці (рис. 4) з метою зміцнення етанолу. Промивні води в емкості 1 нагрівають до кипіння електронагрівником 2, газом або будь-яким іншим

Рис. 4. Схема простої перегонки

доступним підприємству теплоносіем. Пари спирту із во-дою, які утворюються, надходять у конденсатор 3, з якого конденсат збирається в збір-нику відгону 4. При цьому одержують відгін, що містить до 88 % спирту.

На великих фармацевтичних заводах рекуперацію екстрагента зі шроту проводять у перколяторах після повного зливувитяжки методом перегонки з водяною парою (рис. 5). Для прискорення процесу рекуперації одночасно використовують «глуху» і «гостру» пару. «Глуха» пара подається в оболонку 1 перколятора 2 крізь штуцер 5. «Гостра» пара надходить через нижній штуцер 4 і змішується із сировиною 3. У результаті такої подачі теплоносія сировина швидко прогрівається, етанол, що міститься в сировині, закипає і видаляється з верхньої частини перколятора через патрубок 6 із парами води. Суміш спирту і води направ-ляється в теплообмінник 7, із якого конденсат надходить у збірник відгону 8.

Рис. 5. Схема рекуперації екстрагента зі шроту методом перегонки з водяною парою

Отриманий відгін використовують як екстрагент, якщо його концентрація відповідає необхідній. При інших концентраціях відгін використовують для приготування екстрагента для сировини того ж найменування, тому що ароматичні сполуки сировини переганяються разом із етанолом. Рекуперати і відгони, що міс-тять 30—40 % етанолу і вище, можуть бути зміцнені та очищені ректифікаціею.

 

Глава 3. Рідкі екстракти

 

3.1 Визначення

Екстракти (від лат. ехігасіит — витяжка, витяг) це концентровані витяжки із висушеної рослинної або тваринної сировини.

Вони можуть бути класифіковані в залежності від консистєнції на:

екстракти рідкі,

екстракти густі,

екстракти сухі;

або від використаного екстрагента:

водні,

спиртові,

ефірні,

олійні,

отримані за допомогою зріджених газів.

Крім того, виділяють стандартизовані екстракти або екстракти-концентрати.

Рідкі екстракти бувають тільки спиртовими; інші можуть бути спиртовими, водними, ефірними та ін.

 

3.2 Рідкі екстракти

Рідкі екстракти — це рідкі концентровані водно-спиртові витяжки з лікарської рослинної сировини (ЛРС), одержані в співвідношенні 1:1. На фармацевтичних підприємствах рідкі екстракти готують за масою (з 1 кг сировини одержують 1 кг рідкого екстракту).

Рідкі екстракти знайшли широке розповсюдження у фарма-цевтичній промисловості, тому що мають такі переваги:

однакові співвідношення між діючими речовинами, що містяться в лікарській сировині та в готовому препараті;

зручність у відмірюванні в умовах аптек бюретками і піпетками;

можливість одержання без застосування випарювання дозволяє отримати рідкі екстракти, що містять леткі речовини (ефірні масла).

До негативних характеристик рідких екстрактів належать:

насиченість їх супутніми речовинами, витягнутими з рослинної сировини;

поява осадів при незначних зниженнях температури або частковій втраті спирту;

необхідність у герметичній закупорці і зберіганні при температурі 15—20 °С;

містять великі об’єми екстрагента, є малотранспортабельними препаратами.

3.3 Способи одержання

Рідкі екстракти одержують методами перколяції, реперколяції (у різних варіантах), дробної мацерації різних модифікацій, розчиненням густих і сухих екстрактів.

Перколяція у виробництві рідких екстрактів на стадіях набухання і настоювання не відрізняється від перколяції у виробництві настойок. На стадії власне перколяції процес проводиться аналогічно і з тіеї ж швидкістю; відмінність тільки у зборі готових витяжок. Для рідких екстрактів витяжки розділяють на дві порції. Першу порцію в кількості 85 % щодо маси сировини збирають в окрему емкість. Потім проводять перколяцію в іншу емкість до повного виснаження сировини. При цьому одержують у 5—8 разів (відповідно до маси завантаженої в перколятор сировини) більше слабких витяжок, які називають «відпуском». Відпуски упарюють під вакуумом при температурі 50—60 °С до 15 % щодо маси сировини, завантаженої в перколятор. Після охоло-дження згущений залишок розчиняють у першій порції витяжки. Одержують витяжки в співвідношенні 1:1.

Реперколяція, тобто повторна (багаторазова) перколяція, що дозволяє максимально використовувати розчинювальну здатність екстрагента, одержувати концентровані витяжки при повному виснаженні сировини. У всіх випадках процес проводять у батареї перколяторів (від 3 до 10), що працюють у взаємозв'язку. У батареї зливання готового продукту проводять із перколятора, в якому завжди свіжа сировина, а свіжий екстрагент подають у перколятор, де найбільш виснажена сировина. Витяжками з першого перколятора обробляють сировину в наступному перколяторі, і так у всій батареї — наступна сировина екстрагується витяжками, отриманими з попередніх перколяторів. У такий спосіб від першого до останнього перколятора в батареї здійснюється протитечійний рух сировини і екстрагента. У міру виснаження сировини змінюється положення «головного» і «хвостового» перколяторів.

Існують різні варіанти реперколяції з розподілом сировини на рівні і нерівні частини, із закінченим і незакінченим циклом, які дозволяють одержати концентровані витяжки без подальшого упарювання.

Реперколяція з розподілом сировини на рівні частини з неза-кінченим циклом проводиться в батареї перколяторів (рис. 6).

Першу порцію сировини, призначену для завантаження, попередньо замочують рівним або половинним об’ємом екстрагента відносно маси сировини. Після набухання протягом 4—6 год матеріал укладають у перколятор і настоюють 24 год із подвійним у відношенні до маси сировини об’ємом екстрагента.

Після закінчення зазначеного часу проводять перколяцію до повного виснаження сировини з поділом витяжок на першу порцію в кількості 80 % від маси сировини, яку вважають готовим продуктом;

другу порцію (менш концентровані витяжки) — у кількості, рівній масі сировини і призначену для намочування сировини для перколятора II;

третю порцію — відпуск 2 у подвійній кількості щодо маси сировини і призначену для настоювання сировини в перколяторі II;

четверту порцію — відпуск 3 в кількості, що майже в 6 разів перевищує масу сировини, і призначену для екстрагування (перколяції) сировини в перколяторі II.

3 перколятора II одержують 100 % готового продукту (ГП) відносно маси сировини в перколяторі і збирають відпуски для роботи із сировиною в черговому перколяторі.

3 останнього перколятора одержують 100 % готового продукту і відпуски, що використовують для обробки наступної партії аналогічної сировини. Усі порції готового продукту, отримані з кожного перколятора, об’єднують.

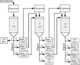
Реперколяція з розподілом сировини на рівні частини із закінченим циклом проводиться в батареї перколяторів (рис. 7).

Рис. 6. Схема реперколяції з розподілом сировини на рівні частини із незакінченим циклом

Рис. 7. Схема реперколяції з розподілом сировини на рівні частини із закінченим циклом

Кількість перколяторів у батареї залежить від властивостей сиро-вини, чим складніше екстрагується сировина, тим більше число перколяторів входить у батарею.

Сировину, розділену на рівні частини, завантажують у перколятори. У перколяторі I сировину замочують для набухання протягом 4—6 год, після чого в перколятор подають екстрагент до «дзеркала» і настоюють 24 год. Потім перколюють в окрему емкість, одержуючи 80 % готового продукту (III 1 — 80 %) у відношенні до маси сировини в цьому перколяторі.

Перколяцію продовжують до повного виснаження сировини в іншу емкість — одержують «відпуск 1». Цим відпуском 1 прово-дять замочування, настоювання і перколяцію сировини в перколяторі II, з якого одержують готовий продукт (III 2 — 100 %) у кількості, рівній 100 % щодо маси сировини в перколяторі, і відпуск 2. Відпуском 2 проводять замочування, настоювання і перколяцію сировини в перколяторі III, з якого одержують (III 3 — 100 %) готовий продукт 3 у кількості, рівній 100 % відносно маси сировини в перколяторі і відпуск 3. Так ведуть процес у кожному наступному перколяторі, якщо їх більше трьох. Відпуск останнього перколятора упарюють до 20 %, яких не вистачає, готового продукту, злитого з перколятора I. При цьому одержують на 300 кг сировини рідкого екстракту: 80 + 100 + 100 + 20 = 300 л (кг), тобто у співвідношенні 1:1.

Реперколяція за методом Босіна. Сировину завантажують у рів-них кількостях у кожний перколятор батареї (рис. 8). Сировину в перколяторі I екстрагують чистим екстрагентом, у наступних — відпусками після витягу сировини з попередніх перколяторів. Готовий продукт одержують тільки з останнього перколятора в об’ємі, рівному всій масі матеріалу, що екстрагується, тобто 1:1.

Рис. 8. Схема реперколяції за Босіним

Реперколяція з розподілом сировини на нерівні частини за Фармакопеями США і Німеччини. Ці варіанти реперколяції офіцинальні в зазначених країнах.

Відповідно до Фармакопеї США вихідну сировину приймають за 100 % і завантажують у перколятори в співвідношенні 5:3:2 (рис. 9).

Рис. 9. Схема реперколяції з розподілом сировини на нерівні частини фармакопеєю США

Роботу починають із найбільшою порціею сировини та оброб-ляють її чистим екстрагентом. Перколят збирають у два прийоми: III 1 у кількості 20 % від загальної кількості сировини і відпуск, що використовують для набухання, настоювання і пер-коляції у перколяторі II. 3 перколятора II одержують III 2 в кількості 30 % від загальної кількості сировини і відпуск 2, який використовують для екстрагування сировини перколятора III. 3 перколятора III збирають 50 % готового продукту відносно до маси сировини. Усього одержують 20 + 30 + 50 = 100 % готового продукту на 100 % вихідної сировини, тобто 1:1.

Відповідно до Німецької фармакопеї всю суху сировину заван-тажують у три перколятори в співвідношенні 5: 3,25: 1,75 і про-водять процес, аналогічно описаному вище, для фармакопеї США.

Реперколяція з розподілом сировини на нерівні частини за Фар-макопеями США і Німеччини може застосовуватися для невеликих виробництв при одержанні незначної кількості продукту, тому що в цих модифікаціях реперколяції сировина в другому і в третьому перколяторах виснажується не повністю. Найменше сировина виснажується в третьому перколяторі.

Метод реперколяції Чулкова. Запропонований у 1943 році, знайшов застосування на фармацевтичних виробництвах, що довгостроково працюють за ціею схемою. Екстрагування проводять у батареї з чотирьох і більше перколяторів. Розрізняють два періоди: у пусковий період щодня завантажують по одному перколятору; зливання готового продукту не проводять. У кожний перколятор завантажують рівну кількість сировини, що попередньо заливають рівною кількістю чистого екстрагенту (для першого перколятора) або витягом, отриманим із попереднього перколятора (для другого і всіх наступних перколяторів). Набухлу сировину завантажують у перший перколятор, заливають екстрагентом до «дзеркала» і залишають на добу. Наступного дня з першого перколятора зливають витяжки в два прийоми: першу витяжку — в об’ємі, рівному масі сировини, завантаженої в перколятор, який використовують для замочування сировини в другому перколяторі, і другий витяг — у подвійному об’ємі стосовно маси сировини, що використовують для настоювання сировини в другому перколяторі. У цей час у перший перколятор подають свіжий екстрагент у кількості, рівній сумі витяжок. На третій день із другого перколятора збирають також дві витяжки: для роботи із сировиною, призначеною для завантаження в третій перколятор. У другий перколятор подають витяжки з першого перколятора, а в нього знову подають свіжий екстрагент. Далі процес проводиться аналогічно. Через добу після завантаження останнього перколятора починається робочий період. У цей час з останнього перколятора зливають першу порцію готового продукту в об’ємі, рівному масі сировини в цьому перколяторі. Одночасно з першого перколятора зливають усі витяжки і подають їх у другий перколятор. Сировина в першому перколяторі повністю виснажена. Свіжий екстрагент подають у другий перколятор. Збір готового продукту робиться щодня з того перколятора, який знову завантажений сировиною.

Втрат біологічно активних речовин практично немає, тому що в кожному перколяторі сировина неодноразово обробляється свіжим екстрагентом і виснажується максимально.

Прискорена дробна мацерація протитечійним методом (за ЦАНДІ). Проведення екстрагування за ЦАНДІ дозволяє значно скоротити час на випуск готової продукції.

Сировину в сухому вигляді завантажують у рівних кількостях у три перколятори. Свіжий екстрагент подають тільки в перший перколятор, у три прийоми. Спочатку заливають сировину в пер-шому перколяторі «до дзеркала» і настоюють 2 год. Після закінчення цього терміну витяжку з першого перколятора переносять у другий перколятор, а в перший перколятор знову подають свіжий екстрагент «до дзеркала». Сировину в обох перколяторах настоюють 2 год, після чого витяжку з другого перколятора переносять на сировину в третій перколятор, у другий — переносять витяжку з першого перколятора, а в перший — знову (утрете) подають свіжий екстрагент. Завантажені перколятори залишають для настоювання на 24 год. Наступного дня з третього перколятора зливають усю витяжку, що є готовим продуктом. 3 другого перколятора всю витяжку переносять у третій перколятор. 3 першого перколятора витяжки зливають, сировину вивантажують і віджимають. Усі витяжки з першого перколятора об’єднують і використовують для настоювання сировини в другому перколяторі. Обидва перколятори залишають на 2 год. Потім із третього перколятора зливають другу порцію готового продукту. 3 другого перколятора повністю зливають витяжку, сировину вивантажу-ють і віджимають. Усі витяжки з другого перколятора передають у третій перколятор, настоюють 2 год. Після закінчення цього часу одержують третю порцію готового продукту, до якого приєднують віджим з останнього перколятора.

Такий метод екстрагування застосовують для фітохімічного виробництва невеликих об’ємів і в лабораторних умовах. При використанні цього методу в останньому і передостанньому перколяторах сировина виснажується не повністю, тому що обробка проводиться не чистим екстрагентом.

 

3.4 Очищення

Отримані одним із наведених вище способів, витяжки відстоюють не менше 2 діб при температурі не вище 10 °С до одержання прозорої рідини. Відстоювання іноді допускається проводити в присутності адсорбентів, що сприяє кращому очищенню і більшій стійкості при зберіганні. Відстояну, прозору частину витяжки, фільтрують від домішок, що випадково потрапили, через друк-фільтри, фільтр-преси або центрифугують. В останню чергу фільтрують залишок витяжок з осадом. Профільтровані витяжки ретельно перемішують і стандартизують.

3.5 Стандартизація

Екстракти контролюють згідно з вимогами ДФУ за такими показниками якості:

описом,

ідентифікаціею,

вмістом важких металів,

вмістом органічних розчинників,

мікробіологічною чистотою,

кількісним визначенням.

У рідких екстрактах додатково визначають об’єм вмісту контейнера.

3.6 Номенклатура рідких екстрактів

Таблиця 2 Рідкі екстракти (номенклатура за Державним реєстром) і основні показники

Найменування

Вихідна сировина і спирт

Основні відомості про препарат

Екстракт глоду рідкий

Плоди, 70 %-вий

Флавоноїди. Для стимуляції і регуляції серцево-судинної системи

Екстракт валеріани рідкий

Корені і кореневища

Ефірне масло 0,5—2 %; вільна ізовалеріанова кислота, дубильні речовини, алкалоїди. Седативний, спазмолітичний засіб

Екстракт водяного перцю рідкий

Трава, 70 %-вий

Флавоноїди, вітамін К. Кро-воспинний засіб

Екстракт жостеру рідкий

Кора, 70 %-вий

Похідні антрацену. Проносний засіб

Екстракт кукурудзяних приймочок рідкий

Приймочки кукурудзяні, 70 %-вий

Флавоноїди, вітаміни К та ін. Жовчогінний засіб (холецистити, холангіти, гепатити із затримкою жовчовиділення)

Екстракт левзії або маралового кореня рідкий

Кореневища і корені, 70 %-вий

Лінгнани. Стимулювальний засіб для хворих із функціональними захворюваннями нервової системи і при перевтомі

Екстракт пасифлори рідкий

Трава, 70 %-вий

Алкалоїди. Седативний засіб при неврастенії, безсонню

Екстракт грициків рідкий

Трава, 70 %-вий

Вітаміни (К та ін.). Кровоспинний засіб при маткових, ниркових і легеневих кровотечах

Екстракт собачої кропиви рідкий

Трава, 70 %-вий

Ефірне масло, сапоніни, дубильні речовини, алкалоїди. Заспокійливий засіб при підвищеній нервовій збудливості, серцево-судинних неврозах, у ранніх стадіях гіпертонічної хвороби

Екстракт родіоли рідкий

Корені, 40 %-вий

Глікозиди фенолоспиртів. Тонізуючий засіб

Екстракт чебрецю рідкий

Кореневища, 30 %-вий

Ефірне масло, що містить тимол і карвакрол. Входить до складу відхаркувального препарату — пертусину

Екстракт елеутерококу рідкий

Кореневища, 40 %-вий

Сапоніни тритерпенові. Засіб, що стимулює ЦНС

Екстракт чистцю буквицецвітного рідкий

Надземні частини, 40 %-вий

Шдсилює скорочення матки. Застосовується при субінволюції матки після родів і абортів, при функціональних маткових кровотечах (запального характеру), кро-вотечі при фіброміомі


3.7 Зберігання

Рідкі екстракти зберігають у добре закупорених фла-конах при температурі 12—15 °С і, якщо необхідно, у захищеному від світла місці. У процесі зберігання можливе випадання осаду. Якщо екстракти після відфільтрування осаду і перевірки якості відповідають установленим вимогам, їх вважають придатними до вжитку.

Глава 4. Густі i сухі екстракти

 

4.1 Визначення

Густі екстракти — це концентровані витяжки з лікарської рослинної сировини, що являють собою в'язкі маси з вмістом вологи не більше 30 %. Вони не виливаються із тари, а розтягуються в нитки і знову зливаються в суцільну масу.

Густі екстракти внаслідок високої в'язкості використовують як зв'язувальні і формоутворювальні речовини при виготовленні пілюль. Крім того, вони можуть входити як коригенти до складу сиропів, мікстур, еліксирів. Густі екстракти використовують як напівпродукти для низки лікарських форм (настойок, таблеток).

До вад густих екстрактів відноситься незручність їх використання при відважуванні. Крім того, на сухому повітрі вони підсихають і стають твердими; у вологому повітрі — відволожуються і пліснявіють. Тому вони потребують герметичної упаковки.

Сухі екстракти — це концентровані витяжки з лікарської рослинної сировини, що являють собою сипучі маси з вмістом вологи не більш 5 %. їх слід вважати найбільш раціональним типом екстрактів. Вони зручні в застосуванні, мають мінімально можливу масу. До вад сухих екстрактів відноситься їх висока гігроскопічність, унаслідок чого вони перетворюються в грудко-подібні маси і втрачають сипучість.

Сухі екстракти поділяють на екстракти з лімітованою верхньою межею діючих речовин і на екстракти з нелімітованою верхньою межею діючих речовин.

Екстракти з лімітованою верхньою межею діючих речовин одержують із сировини, що містить високоактивні в біологічному відношенні сполуки. Такі екстракти повинні містити діючі речовини в строго певній кількості. Цього домагаються додаванням наповнювачів або змішуванням у певних співвідношеннях екстрактів, що містять діючі речовини більше і менше норми. Як наповнювач використовують молочний цукор, глюкозу, декстрин, крохмаль картопляний та ін. Наповнювачі частіше додають до висушеного продукту на стадії розмелювання.

Екстракти з нелімітованою верхньою межею діючих речовин одержують без додавання до них наповнювачів. Такі екстракти одержують із лікарської сировини, що містить несильнодіючі речовини.

4.2 Способи одержання

Процес виробництва густих екстрактів включає три основні стадії:

отримання витяжки;

її очищення

згущування.

Виробництво сухих екстрактів може бути здійснене за двома схемами. За першою схемою процес складається з чотирьох стадій:

отримання витяжки;

очистки;

згущування витяжки;

висушування згущеної витяжки.

За другою схемою процес виробництва сухих екстрактів проводиться без стадії згущування, тобто він включає три стадії:

отримання витяжки;

очистки;

висушування рідкої або злегка згущеної витяжки.

Висушування рідкої витяжки може проводитися в розпилювальних або сублімаційних (ліофільних, молекулярних) сушарках. Злегка згущену витяжку висушують у вакуум-вальцевих сушарках.

У виробництві густих і сухих екстрактів як екстрагент використовують воду (у деяких випадках гарячу), водні розчини амоніаку, хлороформну воду, етанол різних концентрацій, органічні розчинники, зріджені гази, рослинні олії і мінеральні масла.

4.3 Одержання витяжок

У виробництві густих і сухих екстрактів для одер-жання витяжок із сировини використовують різні способи:

ремацерацію і її варіанти;

перколяцію;

реперколяцію;

циркуляційне екстрагування;

протитечійне екстрагування в батареї перколяторів із циркуляційним перемішуванням;

безперервне протитечійне екстрагування з переміщенням сировини і екстрагента;

а також інші методи, що включають подрібнювання сировини в середовищі екстрагента;

вихрову екстракцію;

екстракцію з використанням електромагнітних коливань, ультразвуку, електричних розрядів, електроплазмолізу, електродіалізу та ін.

Перколяція. Процес перколяції на стадіях замочування і настоювання здійснюється аналогічно одержанню настойок і рідких екстрактів. Власне перколяцію ведуть із тіею ж швидкістю до повного виснаження сировини без поділу на первинні і вторинні витяжки, тому що потім всі отримані витяжки згущують або висушують.

Реперколяція. Має перевагу перед перколяціею і ремацераціею тому, що витрачається менша кількість свіжого екстрагента і витяжки одержують більш концентрованими. 3 варіантів реперколяції частіше застосовують протитечійне екстрагування в батареї перколяторів (з трьох і більше). Екстрагент, що потрапляє в перший (хвостовий) перколятор, проходить послідовно через усю батарею і зливається у вигляді насиченої витяжки з останнього (головного) перколятора (рис. 10). У кожному перколяторі підтримується значна різниця концентрацій. Скоротити час екстрагування в батареї дозволяє використання циркуляційного перемі-шування в кожному перколяторі в процесі настоювання за допомогою відцентрового насоса 1, у міру виснаження сировини в першому перколяторі хвостовим стає другий перколятор (тобто до нього будуть подавати свіжий екстрагент), а головним — колишній перший, з якого вивантажили виснажену сировину (шрот) і завантажили свіжу.

Рис. 10. Схема реперколяції в батареї перколяторів із циркуляційним перемішуванням

Метод дозволяє максимально виснажити сировину в кожному перколяторі, скоротити час екстрагування до мінімуму, тому що при циркуляції екстрагента досягнення рівноважної концентрації відбувається швидше.

Циркуляційне екстрагування. Спосіб ґрунтується на циркуляції екстрагента. Екстракційна установка працює безперервно та автоматично за принципом апарата Сокслета (рис. 11). Вона складається з комуніційованих між собою перегінного куба 1, екстрактора 3, холодильника-конденсатора 5, збірника конденсату 4.

Суть методу полягає в багатократному екстрагуванні матеріалу чистим екстрагентом. Як екстрагент використовують леткі органічні розчинники, що мають низьку температуру кипіння, — ефір, хлороформ, метиленхлорид або їх суміш. Етиловий спирт (навіть 96 % -вий) для цих цілей не придатний, тому що він адсорбує вологу, яка міститься в сировині і змінює свою концентрацію, що призводить до зміни температури кипіння і екстрагувальної здатності. Сировину завантажують у екстрактор 3 і заливають екстрагентом трохи нижче петлі сифонної трубки 2. Одночасно в куб 1 і збірник 4 заливають невелику кількість екстрагента. По закінченні настоювання зі збірника впускають в екстрактор стільки екстрагента, щоб витяжка досягла верхнього рівня петлі сифона і почала переливатися в куб. Потім куб починають нагрівати. Пари екстрагента, які утворюються, піднімаються в конденсатор, а з нього в збірник. Насичена витяжка знову надходить у куб. Циркуляція екстрагента проводиться багаторазово до повного виснаження сировини. Отриману витяжку концентрують відгоном екстрагента в збірник. У кубі залишається концентрований розчин екстрактивних речовин.

Рис. 11. Схема циркуляційного апарата типу Сокслета

Безперервне протитечійне екстрагування з переміщенням сировини і екстрагента. Рослинний матеріал за допомогою транспортних пристроїв: шнеків, ковшів, дисків, стрічок, шкребків або пружинно-лопатевих механізмів переміщується назустріч руху екстрагента. Сировина, що безперервно надходить в екстракційний апарат, рухається протитечіею до екстрагента. При цьому свіжа сировина контактує з насиченим екстрактивними речовинами екстрагентом, що виходить і який ще більше насичується, тому що в сировині концентрація ще вища. Виснажена сировина екстрагується свіжим екстрагентом, який ще повніше витягає залишкові екстрактивні речовини. 3 погляду теорії екстрагування цей спосіб найбільш ефективний, тому що в кожний момент процесу та в будь-якому поперечному перерізі по довжині (або висоті) апарату має місце різниця концентрацій БАР у сировині і екстрагенті, що дозволяє з найбільшим виходом і найменшими витратами проводити процес. Крім того, безперервні процеси піддаються автоматизації, що дозволяє виключити трудомісткі роботи по завантаженню і вивантаженню сировини з перколяторів.

Екстрагування проводиться в екстракторах різної конструкції: шнековому горизонтальному або вертикальному, дисковому, пружинно-лопатевому та ін.

Шнековий горизонтальний екстрактор (рис. 12) має завантажувальний бункер 1, в який подається здрібнений рослинний матеріал. Далі матеріал рухається за допомогою шнека 4, виконаного з аркушевого перфорованого кислостійкого матеріалу, до протилежного кінця корпусу, де за допомогою нахиленого шнека 5 звільняється від екстрагента і вивантажується. Назустріч сировині через патрубок 2 подається екстрагент, що рухається крізь отвори перфорації і зазори корпусу шнека до патрубка 3. Ступінь виснаження сировини регулюється швидкістю подачі екстрагента і сировини, довжиною корпусу екстрактора.

Рис. 12. Схема шнекового горизонтального екстрактора:

1 — завантажувальний бункер; 2,3 — патрубок; 4 — шнек; 5 — нахилений шнек

Шнековий вертикальний екстрактор (рис. 13). Складається з трьох основних частин: завантажувальної колони 1, поперечного з’єднуючого шнека 2 і екстракційної колони 3. Завантажувальна колона, в якій також проходить процес екстрагування, являє собою вертикальний циліндр з обертовим усередині нього шнековим валом. Ручки шнека мають отвори. Горизонтальний вал служить для передачі твердого матеріалу (сировини) в екстракційну колону, що має вигляд вертикального циліндра, усередині якого обертається шнековий вал. Екстрагована сировина постійно завантажується крізь люк, і рухом шнека регулюється його подача до низу. Горизонтальним шнеком матеріал подається в екстракційну колону, призначену для матеріалу, і в ній він піднімається нагору шнековим валом. У верхній частині матеріал (шрот) віджимається від надлишків екстрагента і, позбавлений екстрактивних речовин, виштовхується з екстрактора. У верхню частину екстракційної колони безперервно подається екстрагент, що рухається назустріч матеріалу. При цьому екстрагент постійно насичується екстракційними речовинами та у вигляді концентрованої витяжки безперервно виводиться з верхньої частини завантажувальної колони.

Рис. 13. Схема шнекового вертикального екстрактора

Дисковий екстрактор (рис. 14) складається з двох труб 1, розташованих під кутом і з’єднаних знизу камерою 2. Труби мають парові оболонки 3. Верхні кінці труб входять у корито 4 із встановленими в ньому двома обертовими зірочками 5, через які проходить трос 6. На трос насаджені дірчасті (перфоровані) диски 7. Трос із дисками проходить крізь похилі труби і нижню камеру із зірочкою 5. Зірочки приводяться в рух електродвигуном. Перед початком роботи екстрактор через патрубок 8 заповнюється екстрагентом, трос із дисками приводиться в рух і одночасно з бункера 9 на диски рухомого тросу подається сировина. Сировина опускається від місця завантаження вниз, проходить через нижню камеру, піднімається по другій трубі нагору, вивантажується в корито 4 і далі в збірник 10. Одночасно крізь патрубок 8 із певною швидкістю подають екстрагент. Насичена витяжка виводиться з екстрактора через патрубок 11, оснащений фільтрувальною сіткою і збирається в збірнику 12.

Рис. 14. Схема дискового екстрактора

Пружинно-лопатевий екстрактор (рис. 15) складається з корпусу 1, розділеного на секції. У кожній секції є вал 7 із барабаном 6, на якому закріплені два ряди пружинних лопатей 4. Кожний вал приводиться в рух. У днищі апарата знаходиться камера підігріву 5. Витяжки збираються в камері 8 і виводяться через штуцер 9. Подрібнений, підготовлений матеріал з бункера 11 за допомогою живильника 10 надходить у першу секцію екстрактора, де знаходиться екстрагент. Сировина за допомогою пружинних лопатей занурюється в екстрагент і передається далі, притискаючись достінки секції, де відбувається часткове відділення екстрагента. При виході лопатей із секції вони випрямляються і перекидають вологу сировину в сусідню секцію. Так сировина переходить у 2-гу, 3-тю і всі наступні секції до транспортера 3. Екстрагент із патрубка 2 надходить на виснажений матеріал, що рухається по транспортеру, після чого надходить в останню секцію, рухається протитечійно сировині і збирається в камері 8. Випробування екстрактора на різній рослинній сировині (корені солодки і валеріани, трава горицвіту і полину) показали, що виснаження сировини в ньому закінчується за 75—120 хв і може проводитись в широкому діапазоні температур.

Рис. 15. Схема пружинно-лопатевого екстрактора

Позитивна риса роботи екстрактора полягає в тому, що на сировину чиниться механічний вплив, який значно збільшує вихід екстрактивних речовин. До вад слід віднести численність обертових валів апарата, що ускладнює обслуговування і підвищує витрати електроєнергії.

Екстрагування сировини за допомогою роторно-пульсаційного апарата (РПА). В основу способу покладено багаторазову циркуляцію сировини і екстрагента, що надходять в екстрактор за допомогою РПА.

При роботі РПА відбувається механічне подрібнення частинок, виникає інтенсивна турбулізація і пульсація оброблюваної суміші. У технологічній схемі РПА встановлюють нижче днища екстрактора. Сировину завантажують на перфороване дно екстрактора і заливають екстрагентом. Рідка фаза надходить у РПА через штуцери, а сировина — за допомогою шнека. 3 РПА суміш здріб-неного матеріалу і екстрагента (тобто пульта) піднімається нагору і через штуцер надходить в екстрактор з мішалкою. Процес повторюється до одержання концентрованої витяжки (рівноважної концентрації). При цьому відбувається одночасно екстрагування і подрібнення. Як екстрагент використовують дихлоретан, метиленхлорид, мінеральні масла і рослинні олії. Використання РПА ефективне при одержанні олії обліпихи, настойок календули і валеріани, таніну з листів скумпії, каротиноїдів і оксиметилен-тетрамінів із плодів шипшини, оксіантрахінонів з кори жостеру ламкого та ін.

У всіх випадках підвищується продуктивність і збільшується вихід діючих речовин. Для повного витягання біологічно активних речовин із сировини використовують установки, що складаються із трьох секцій, кожна з яких має екстрактор із мішалкою, РПА і центрифуги. При цьому сировина рухається послідовно від першої секції до другої і до третьої, а екстрагент — протитечіею сировині від третьої секції до другої і до першої. Відпрацьована сировина (шрот) видаляється з центрифуги третьої секції. Насичену витяжку одержують із першої секції після першого екстрактора, РПА і відокремлення в центрифузі. У такій установці час екстрагування скорочується в 1,5—2 рази, підвищується вихід біологічно активних речовин.

Екстрагування із застосуванням ультразвуку. Прискорює процес екстрагування із сировини, забезпечуючи більш повне здобування діючих речовин. Джерело ультразвуку закріплюють на корпусі екстрактора-перколятора із зовнішнього його боку. Ультразвукові хвилі, що виникають, створюють знакозмінний тиск, кавітацію і звуковий вітер. У результаті швидше відбувається набухання матеріалу і розчинення вмісту клітини, збільшується швидкість обтікання частинок сировини, у пограничному дифузійному шарі виникають турбулентні і вихрові потоки. Молекулярна дифузія усередині частинок матеріалу та в пограничному дифузійному шарі практично замінюється конвективною, що призводить до інтенсифікації масообміну. Унаслідок кавітації відбувається руйнування клітинних структур, що прискорює процес переходу діючих речовин в екстрагент за рахунок їх вимивання. Застосування ультразвуку дозволяє одержати витяжку за декілька хвилин. Ефективність використання ультразвуку залежить від параметрів процесу: інтенсивності та експозиції озвучування, вибору екстрагента, співвідношення сировини і екстрагента та ін. Найбільш оптимальна температура при озвучуванні не вище 30— 60 °С, щоб уникнути утворення бульбашок повітря, які гасять ультразвукові хвилі. Як екстрагент використовують переважно спирто-водні суміші з високою концентраціею етанолу, який інгібує окисно-відновні процеси, що мають місце в ультразвуковому полі. Для багатьох видів сировини оптимальна інтенсивність уль-тразвуку (із частотами 2 • 104—2 • 108 с-1) знаходиться в інтервалі 1,5—2,3•104 Вт/м2.

До вад ультразвукової обробки можна віднести несприятли-вий вплив на обслуговуючий персонал. Крім цього, ультразвукові коливання викликають: кавітацію, іонізацію молекул, зміну властивостей біологічно активних речовин, знижуючи або посилюючи їх терапевтичну активність, тому використання ультразвуку вимагає всебічного дослідження.

Екстрагування за допомогою електричних розрядів. Застосування елект-роімпульсних розрядів дозволяє прискорити екстрагування із сировини з клітинною структурою. Для цього використовується імпульсний електроплаз-молізатор (рис. 16).

Рис. 16. Схема імпульсного електроплазмолізатора

Усередині екстрактора 1 з оброблюваною сировиною поміщають електроди 2, на які подають імпульсний струм високої або ультрависокої частоти. Під впливом електричного розряду в екстрагованій суміші виникає хвиля, що створює високий імпульсний тиск. Унаслідок цього відбувається інтенсивне перемішування оброблюваної суміші, витончується або повністю зникає дифузійний пограничний шар і збільшується конвективна дифузія. Виникнення ударних хвиль сприяє проникненню екстрагента усередину клітини, що прискорює внутрішньоклітинну дифузію. Через іскровий розряд у рідині утворюються плазмові каверни, які, розширяючись, досягають максимального об’єму і захлопуються. При цьому за короткий проміжок часу в малому просторі виділяється велика кількість енергії і відбувається мікровибух, розриваючи клітинні структури рослинного матеріалу. Екстракція прискорюється за рахунок вимивання біологічно активних речовин із зруйнованих клітин. Крім того, порожнини, які утворюються, постійно пульсують, викликаючи збільшення швидкості руху екстрагента біля частинок сировини і збільшуючи швидкість екстрагування за рахунок зростання коєфіціента конвективної дифузії.

У процесі імпульсної обробки матеріалу, який екстрагується, за допомогою високовольтних розрядів електрична енергія перетворюється в енергію коливального руху рідини, що скорочує час екстрагування і підвищує вихід біологічно активних речовин, ефективність екстрагування за одиницю часу та ін.

Екстрагування з використанням електроплазмолізу і електродіалізу. Електроплазмоліз — обробка сировини електричним струмом низької і високої частоти, унаслідок чого відбувається плазмоліз протоплазми. Суть методу полягає в руйнівному впливові струму на білково-ліпідні мембрани рослинних тканин із збереженням цілісності клітинних оболонок. Електроплазмоліз дає найбільший ефект при одержанні препаратів із свіжої сировини рослинного і тваринного походження. При цьому одержані витяжки збагачені діючими речовинами і містять лише невелику кількість супутніх речовин. Електроплазмолізатор з рухомими електродами-вальцями має два горизонтальні вальщ-електроди, що обертаються назустріч один одному, до яких підводиться електричний струм напругою 220 В. Свіжа сировина надходить у зазор між вальцями з бункера, сік збирається в збірник. Вихід соку збільшується на 20—25 % у порівнянні з використанням традиційних методів. Апарат із нерухомими електродами зображений на рис. 16.

У ньому є рухома кришка 3, яка, опускаючись, віджимає сировину. Час обробки сировини електричним струмом складає долі секунди.

Електродіаліз використовують для прискорення екстрагування сировини рослинного і тваринного походження. Рушійною силою процесу в цьому разі є різниця концентрацій речовин, що екстрагуються, по обидва боки напівпроникної перегородки, роль якої в сировині з клітинною структурою виконують оболонки клітин. Під діею електричного струму змінюються електричні потенціали поверхні сировини, поліпшується його змочуваність, прискорюється рух іонів біологічно активних речовин у порожнині клітин і в капілярах клітинних структур. У результаті збільшується коефіціент внутрішньої дифузії. Екстрагування цим методом проводять в апараті (рис. 17) з електронепровідного матеріалу (дерево, пластикат) з конічним днищем з нержавіючої сталі, над яким міститься сталева перфорована пластинка 1, яка служить катодом. На пластину, покриту фільтрувальним матеріалом 2, завантажують попередньо замочену сировину 3, на яку зверху опускається кришка 4 з умонтованим графітовим анодом 5.

Рис. 17. Схема пристрою з використанням елекродіалізу

Електроди приєднуються до джерела постійного струму 15 А, густина на катоді — 0,6 А/м2, напруженість — 0,8 В/см. При безперервному надходженні екстрагента на отримання продукту витрачається в два рази менше часу в порівнянні з іншими методами екстрагування. Вихід біологічно активних речовин у цьому випадку зростає майже на 20 %.

Екстрагування зрідженими газами. Установка призначена для екстракції природних сполук з рослинної сировини з використанням зріджених газів (хладонів) як екстрагентів. Це замкнута система і складається з таких основних вузлів (рис. 18): екстракторів 1; балона 2 з газом; напірних емкостей 3, оснащених покажчиком рівня, манометром і захисним клапаном; оглядових віконець 4 для візуального спостереження за переміщенням роз-чинника та екстракту; об’ємного фільтра 5 для очищення екстрак-ту; випарника 6, оснащеного покажчиком рівня, манометром і захисним клапаном; конденсатора 7, обладнаного покажчиком рівня, манометром і захисним клапаном; холодильного агрегата 8 для охолодження конденсатора, трубопроводів і арматури.

Рис. 18. Принципова схема екстрагування зрідженими газами

Принцип роботи пристою: в екстрактори 1 завантажують здрібнену сировину через завантажувальний штуцер за допомогою вакууму. 3 екстракторів і випарника повітря видаляють вакуумуванням і заповнюють газоподібним хладоном із балона 2. Після досягнення рівноваги тисків в екстрактори 1 подають зріджений хладон із напірних емкостей 3. Розчинник проходить крізь шар сировини, екстрагує розчинні компоненти і через фільтр 5 злива-ється у випарник 6. У випарнику екстракт підігрівається, пари розчинника відокремлюються і за рахунок різниці тисків надходять у конденсатор 7, який охолоджується холодильним агрегатом 8, де конденсуються, і розчинник повертається в напірні емкості 3.

Процес екстрагування здійснюється при робочому тискові 1,0— 6,6 МПа (залежить від тиску насиченої пари екстрагента) і температурі 20—25 °С. Багато які з екстрактів, отримані з використанням зріджених газів, відрізняються більш високим вмістом біологічно активних речовин, стійкістю до мікробної контамінації. Особливо це відноситься до сировини, що містить поліфенольні сполуки, алкалоїди, глікозиди.

4.4 Очищення витяжок

Водні і водно-спиртові витяжки з малою кількістю етанолу (20—40 %) містять багато високомолекулярних сполук (водорозчинні білки, цукри, ферменти, пектини, слизи, крохмаль), які до випарювання мають бути обов'язково видалені. Залежно від кількості і властивостей баластних речовин використовують різні методи очищення. У деяких випадках очищення проводять кип'ятінням — якщо немає інактивації БАР. При цьому білки швидко відшаровуються. Іноді застосовують адсорбенти (каолін, бентоніти, тальк тощо) або поєднання адсорбентів з кип'ятінням. Часто застосовують спосіб видалення баластних речовин їх осадженням спиртом.

Спиртоочищення проводиться з попереднім упарюванням ви-тяжок до половинного об’єму відносно маси вихідної сировини. Після охолодження до неї добавляють подвійний об’єм міцного (95—96 %) етанолу. Ретельно перемішують і залишають на 5 — 6 днів при температурі не вищій 10 °С. Відстояний шар зливають з осаду і фільтрують, а за необхідності додатково згущують.

Для витяжок хлороформних (тетрахлорометанових) застосовують метод заміни екстрагента. При цьому до упареної до половинного об’єму відносно маси вихідної сировини витяжки добавляють воду в кількості, рівній масі сировини. Розчинні в хлороформі (тетрахлорометані) хлорофіл і смолисті речовини випадають в осад, тому що вони не розчиняються у воді. Витяжку відстоюють, фільтрують і піддають подальшій обробці.

4.5 Згущення витяжок

Очищені витяжки упарюють під вакуумом при температурі 50—60 °С і розрідженні 80—87 кПа (600—650 мм рт. ст.) до необхідної консистенції. При згущуванні спиртових витяжок або витяжок після спиртоочищення спочатку відганяють спирт, не включаючи вакууму. Апаратура, що використовується для упарювання витяжок у фармацевтичному виробництві, має свої особливості. Пояснюється це тим, що витяжки містять біологічно активні речовини, які при упарюванні можуть осаджуватися на стінках випарних апаратів, що обігріваються парою, і втрачати свою активність через високу температуру стінок. Тому апарати, в яких немає циркуляції витяжки, що упарюється, або є слабка циркуляція (як у випарному кубі), у фармацевтичному виробництві застосовують рідко. Запропоновані останніми роками конструкції з інтенсивною циркуляціею не набули широкого розповсюдження в заводському виробництві. Так, високоєфективний відцентровий роторно-плівковий апарат «Центрітерм», маючи високу продуктивність у промисловості, не знайшов застосування через вібрації і великий шумовий ефект, що виникають в процесі роботи. Найбільше застосування на цій стадії, як високоефективні, надійні в роботі, зручні в обслуговуванні і малоєнергоємні, знайшли такі конструкції, як прямоточний роторний, циркуляційний вакуум-випарний апарати і пінний випарник.

Рис. 19. Роторний прямоточний апарат

Роторний прямоточний апарат (рис. 19) має вертикальний корпус 1 із паровою оболонкою 2. Вздовж центру корпусу розташований ротор у вигляді вертикального обертового вала 9 із шарнірно закріпленими на ньому шкребками 7. Витяжка, що підлягає упарюванню, подається у верхню частину корпусу роторного випарного апарата крізь штуцер 2 у порожнину розподільного кільця 6, з якого витікає у вигляді численних струминок, що змочують обертові шкребки.

Зі шкребків витяжка розбризкується на циліндричну поверхню корпусу, що обігрівається, у вигляді тонкої плівки, з якої випарюється розчинник. Витяжка, яка згущується, знімається шкребками і під діею сили ваги стікає в нижню конічну камеру, звідки безперервно виводиться через штуцер 10. У сепараційній камері 3 із вторинної пари відокремлюються краплі рідини за допомогою краплевідбійника 4. Вторинна пара, що утворюється, без крапель підхопленої рідини надходить у верхню частину сепараційної каме-ри 3 і крізь патрубок 5 надходить до конденсатора. Роторний випарник може працювати як під атмосферним тиском, так і під вакуумом.

Рис 20. Схема циркуляційного ваrуум-випарного апарата фірми «Сімакс»

Циркуляційний вакуум-випарний апарат фірми «Сімакс» (рис. 20) також працює як під вакуумом, так і під атмосферним тиском. Апарат виготовляється з тєрмостійкої боросилікатної скломаси, що дозволяє контролювати процес, включаючи циркуляцію упарюваної витяжки, конденсацію пари екст-рагента, кількість упареної витяжки та об’єм сконденсованого екстрагента.

У колбу-приймач 1 за допомогою вакууму, створеного через штуцер 7, затягують витяжку, яка підлягає упарюванню. Рівень витяжки в колбі 1 повинен досягати верхнього краю спіралей калорифера 12. У калорифер подають гріючу пару через патрубок 3 і відводять утворений конденсат по патрубку 2. У зоні калорифера витяжка швидко закипає та у вигляді парорідинної суміші викидається через хобот 13 у колбу-розширник 4, де інтенсивно циркулює, створюючи велику поверхню випару. Пара, яка утворюється, піднімається нагору і надходить по широкій трубі 8 у холодильник-конденсатор 6, де охолоджується холодною водою. Сконденсована пара екстрагента збирається в колбі-збірнику 8 і виводиться через штуцер 9 після зняття вакууму в установці. Витяжка, що не випарувалася, із колби 4 стікає вниз по зазору між циркуляційною трубою 10 із хоботом 13 і царгою 11 у колбу 1, із якої знову піднімається по трубі 10, закипає від калорифера 12 і викидається в колбу 4. Така циркуляція упарюваної витяжки продовжується до одержання заданого кінцевого об’єму витяжки, після чого сконцентровану витяжку і чистий екстрагент зливають, а в установку завантажують нову порцію витяжки.

Пінний випарник (рис. 21) використовують для упарювання водних витяжок, тому що в ньому не передбачена конденсація вторинної пари.

Рис. 21. Схема пінного випарника

Установка складається з робочої емкості 2, в яку завантажують вихідну витяжку. Витяжка насосом 1 через патрубок 7 подається на розподільний пристрій 6, з якого вона стікає у вигляді численних струменів на горизонтальні трубки 11 випарної камери 8, що обігріваються ізсередини парою. Витяжка закипає, сильно спінюється, створюючи велику поверхню випарювання. Для прискорення процесу випарювання через киплячу витяжку знизу за допомогою вентилятора 9 прокачується повітря, яке, забираючи вологу з витяжки, що спінюється, надходить у сепаратор 4. Тут, ударяючись об перегородку 3, повітря звільняється від крапель витяжки і, збагачене вологою, викидається в атмосферу через патрубок 5. Краплі витяжки, які відокремилися, із сепаратора 4 зливаються в робочу емкість 2. Циркуляція витяжки в установці проводиться до необхідної кінцевої концентрації. Краплі витяжки, що пройшли між трубками, з випарної камери 8 крізь патрубок 10 направляються в робочу емкість 2. Апарат високоєфективний, малоєнергоємний, зручний в експлуатації. Широко використовується для упарювання водних витяжок у виробництві плантаглюциду.

 

4.6 Висушування витяжок

Висушування очищених витяжок може проводитися за двома схемами:

без згущування рідкої витяжки

через стадію згущування з подальшим висушуванням.

У першому випадку висушування витяжок здійснюється в розпилювальних сушарках, де рідкі витяжки розпорошуються в дуже дрібні краплі у великій камері. Знизу, назустріч осідаючим краплям, подається за допомогою вентилятора нагріте повітря (його температура становить 150—200 °С), при цьому перегріву матеріалу не відбувається, тому що все тепло повітря йде на зміну агрегатного стану вологи з крапельок витяжки. Температура матеріалу, який висушується, не перевищує 50—60 °С. За першою схемою висушування здійснюється в барабанних (вальцьових) вакуум-сушарках. Витяжку трохи упарюють (щоб на обертових вальцях утворився після висушування достатній шар сухого екстракту) і подають між обертовими назустріч один одному вальцями, які обігріваються ізсередини. Зняту з вальців кірку сухого екстрагента потім розмелюють у кульовому млині.

3 рідкого стану висушування може проводитися також у сублімаційних (ліофільних, молекулярних) сушарках. При цьому розчин (витяжку) заморожують, поміщають у сублімаційну камеру, де створюють глибокий вакуум. У таких умовах волога із замороженого матеріалу сублімується, тобто випаровується, минаючи рідку фазу. Температура висушування в цьому разі 20—30 °С. Отриманий порошок дуже легко розчиняється, містить усі біологічно активні речовини в незмінному вигляді.

В іншому випадку висушування проводять у вакуум-сушильних шафах. Згущену витяжку наносять у вигляді тонкого шару на листи і проводять висушування при залишковому тискові 14— 21 кПа (110—160 мм рт. ст.), тобто вакуум 80—87 кПа (600— 650 мм рт. ст.). У процесі висушування об’єм екстракту збільшується в кілька десятків разів. У результаті одержують дуже пухку легку масу у вигляді коржів, що розмелюють на кульовому млині.

 

4.7 Номенклатура густих i сухих екстрактів i основні їхні показники (за державним реєстром)

Густі екстракти

1. Екстракт беладони густий. Вихідна сировина — лист беладони; екстрагент — 20 %-вий спирт етиловий. Містить 1,4—1,6 % алкалоїдів. Спазмолітичний і болезаспокійливий засіб.

Екстракт валеріани густий. Вихідна сировина — корені і кореневища; екстрагент — 40 % -вий спирт етиловий. Містить ізовалеріанову, вільну валеріанову, органічні кислоти, алкалоїди, дубильні речовини. Заспокійливий засіб.

Екстракт бобівника трилистого густий. Вихідна сировина — лист трилисника водяного; екстрагент — гаряча вода. Містить глікозиди меніантин і меніатрин, флавони, глікозиди (рутин). Збуджує апетит, жовчогінний і антисептичний засіб.

Екстракт папороті чоловічої густий. Вихідна сировина — висушені кореневища; екстрагент — ефір, дихлоретан або тетрахлорометан. Містить папоротеву кислоту, флаваспидінову кислоту, аспідинол. Діе переважно на стрічкових глистів. Вміст філіцину 25—28 %. Застосовують при лікуванні теніїдозів (інвазії бичачими і свинячими ціп'яками), дифілоботріози, гіменолепідози.

Екстракт перцю стручкового густий. Вихідна сировина — плоди. Містить капсицаїн. Подразнювальний і відволікальний засіб.

Екстракт полину густий. Вихідна сировина — трава; екстрагент — хлороформна вода. Містить абсинтин і анабсинтин, ефірні масла, вітамін С, дубильні речовини. Застосовується як гіркота.

Екстракт солодкового кореня густий. Вихідна сировина — корені і кореневища; екстрагент — 1 % -вий водний розчин амоніаку. Містить гліциризинову кислоту, флавоноїди і слизуваті речовини. Вміст чистої гліциризинової кислоти — не менше 14 %. Відхаркувальний, протизапальний, противиразковий засіб.

Сухі екстракти

А. 3 нелімітованою верхньою межею діючих речовин

1. Екстракт кореня алтеї сухий. Вихідна сировина — корінь. Містить до 35 % рослинного слизу. Відхаркувальний і протизапальний засіб при захворюван-нях верхніх дихальних шляхів.

Екстракт безсмертника сухий. Вихідна сировина — квітки. Містить флавони, гіркоти, дубильні речовини, стерини, ефірні масла та ін.

Екстракт горицвіту сухий. Вихідна сировина — трава. Містить глікозиди — цимарин, адонітоксин та ін. Застосовують при недостатності кровообміну, вегетодистоніях, неврозах та ін.

Екстракт жостеру сухий. Вихідна сировина — кора; екстрагент — 70 %-вий етанол. Вміст похідних антрацену — не менше 6 %. Проносний засіб.

Екстракт логохилуса сухий. Вихідна сировина — квітки і листи. Містить логохилін, ефірне масло, дубильні речовини, каротин. Застосовують при кровотечах геморагічних, гемороїдальних, носових.

Екстракт марени красильної сухий. Вихідна сировина — кореневища. Містить глікозиди, похідні оксиметилу і оксіантрахінону. Проявляє спазмолітичну і сечогінну дію, сприяє розпушенню сечових конкрементів, що містять фосфати кальцію і магнію. Застосовують при нирковокам'яній хворобі для зменшення спазмів і полегшує відходження дрібних конкрементів.

Екстракт ревеню сухий. Вихідна сировина — кореневища і корені; екстрагент — 30 %-вий етанол. Містить не менше 3 % похідних антрацену. Проносний засіб.

Екстракт сени сухий. Вихідна сировина — листя. Містить антраглікозиди, хризофанову кислоту, смолисті речовини. Проносний засіб.

Екстракт солодкового кореня сухий. Його одержують із густого екстракту солодкового кореня висушуванням. Містить не менше 17 % гліциризинової кислоти. Відхаркувальний, протизапальний, противиразковий засіб. Готують сироп і лакричний еліксир.

10. Екстракт термопсису сухий. Вихідна сировина — трава. Містить алкалоїди (цитизин, метилцитизин, пахікарпін, анагірин, термопсидин, термопсин), сапоніни, ефірні масла та ін. В 1 г препарату повинно бути 1 % алкалоїдів (наповнювач — молочний цукор).

Б. 3 лімітованою верхньою межею діючих речовин

11. Екстракт беладони сухий. Вихідна сировина — лист беладони; екстрагент — 20 %-вий спирт етиловий. Вміст алкалоїдів у перерахунку на гіос-ціамін — 0,7—0,8 %.

Екстракт горицвіту сухий. Вихідна сировина — трава. Екстракт (1: 1) містить в 1 г 46—54 ЖОД; екстракт (2: 1) містить в 1 г 90—110 ЖОД. Застосовують при легких формах хронічної недостатності кровообігу, як заспокійливий засіб ЦНС, при неврозах.

Екстракт елеутерококу сухий. Вихідна сировина — кореневища. Тонізуючий, загальнозміцнювальний засіб, стимулятор ЦНС.

 

4.8 Зберігання

Густі екстракти зберігають у герметично закупореній тарі, за необхідності в прохолодному, захищеному від світла місці.

Сухі екстракти, що відрізняються великою гігроскопічністю, необхідно зберігати в мілких банках з широкими шийками, герметично закупорених, місткістю не більше 100 г.

 

Глава 5. Інші екстракти

 

5.1 Екстракти-концентрати

Екстракти-концентрати, або екстракти для готування настоїв і відварів,— це стандартизовані рідкі і сухі витяжки з лікарської рослинної сировини, призначені для швидкого приготування водних витяжок в аптечній практиці.

Розрізняють рідкі концентрати, що готують у співвідношенні 1:2 і сухі в співвідношенні 1:1. Це означає, що з 1 частини за масою рослинного матеріалу одержують дві об’ємні частини рідкого концентрату або 1 частину за масою сухого концентрату. При одержанні екстрактів як екстрагент використовують етанол низьких концентрацій (від 20 до 40 %). Це пояснюється прагненням наблизити концентрати за вмістом екстрактивних речовин до аптечних водних витяжок.

Технологія одержання рідких концентратів передбачає такі ж стадії, що і при одержанні рідких екстрактів: одержання витяжки з лікарської рослинної сировини, очищення витяжки, стандартизація. Для одержання витяжки найчастіше використовують методи, в яких не застосовують випарювання (кількість кінцевого продукту при цьому буде вищою). Очищення витяжок зводиться до відстоювання і фільтрування відстояної витяжки. Стандартизують рідкі концентрати за тими ж показниками, що й рідкі екстракти (вмістом діючих речовин, сухим залишком, вмістом спирту або густиною, вмістом важких металів).

Сухі концентрати відрізняються від звичайних сухих екстрактів тим, що вміст діючих речовин у них дорівнює вмісту у вихідній сировині, тобто 1:1 (тільки для сухого концентрату конвалії він дорівнює половинній кількості 1:2). Отже, для приготування настоїв і відварів із сухих концентратів замість прописаної в рецепті кількості лікарської сировини беруть однакову за масою кількість сухого концентрату і розчиняють у розрахованому об’ємі води.

Сухі концентрати, або «концентровані сухі настої і відвари», у зарубіжній фармацевтичній літературі більше відомі під назвою «абстракти». Одна частина абстракту може відповідати одній (1:1) або 0,5 (1:2) частинам вихідної лікарської рослинної сировини.

Сухі концентрати одержують аналогічно сухим екстрактам.

Одержання витяжки проводять до повного виснаження сировини, використовуючи найчастіше високоєфективні методи (для алтейного кореня застосовують мацерацію). Для очищення витяжок застосовують відстоювання з подальшим фільтруванням. Висушування може проводитися через стадію згущування. У цьому випадку застосовують усі типи апаратів, що використовуються для упарювання витяжок. Наступне висушування проводиться у вакуум-вальцьових сушарках або вакуум-сушильних шафах при 50 — 60 °С. Якщо висушування проводять без стадії згущування, то застосовують розпилювальні, сублімаційні (ліофільні, молекулярні) сушарки.

Наповнювачі (використовують декстрин, молочний цукор або суміші) вводять під час розмелу висушеного екстракту.

Стандартизацію сухих концентратів проводять за вмістом вологи і важких металів.

 

5.2 Масляні екстракти

Масляні екстракти, або медичні олії — це витяжки з лікарської рослинної сировини, отримані з використанням рослинних олій або мінеральних масел.

На сьогодні в медичній практиці використовують масляні екстракти з листя блекоти (олію блекотну), листя дурману (олію дурманну), трави звіробію, олію м'якоті плодів шипшини, каротолін, олію насіння шипшини, олію обліпихову.

Блекотна олія одержують із листя блекоти, що містять не менше 0,05 % алкалоїдів, методом мацерації. Як екстрагент застосовують соняшникову олію. На одну частину листя блекоти беруть 10 частин олії. У чавунний емальований реактор поміщають грубоздрібнене листя блекоти, яке змочують сумішшю, що складається з 75 частин 95 %-вого спирту і 3 частин 10 %-вого розчину амоніаку. Масу перемішують і залишають у реакторі з щільно закритою кришкою на 12 год при кімнатній температурі. При цьому гіосціамін та інші алкалоїди, що містяться в блекоті у формі солей, майже нерозчинні в жирних оліях, переходять у вільні основи, добре розчинні в жирних оліях. Після мацерації масу заливають соняшниковою оліею, добавляють безводний натрію сульфат, підвищують температуру суміші до 50—60 °С і при постійному перемішуванні домагаються повного звітрення спирту та амоніаку (близько 12 год). При такому екстрагуванні алкалоїди-основи зі спиртового розчину цілком переходять у гарячу олію. При повному видаленні спирту і води листя, яке розтирається, хрустить між пальцями. Надмірно довге нагрівання призводить до втрати алкалоїдів. Зневоднена масляна витяжка стає прозорою. Після охолодження екстракт фільтрують, сировину віджимають, об’єднуючи витяжки, які після 48-годин-ного відстоювання фільтрують у скляні балони.

3 метою максимального витягу алкалоїдів і їх збереження в незмінному стані застосовують метод протитечійного екстрагування в батареї перколяторів сумішшю 70 % -вого етанолу і 10 % -вого розчину амоніаку. Отримані витяжки фільтрують, змішують із рівною кількістю соняшникової олії та у вакуум-апараті спочатку відганяють основну масу спирту (при нормальному тиску), а потім при розрідженні 80—87 кПа (600—650 мм рт. ст.) — залишки спирту і води. Отриманий масляний концентрат розбавляють до необхідного вмісту алкалоїдів, відстоюють 4—5 діб, після чого фільтрують спочатку прозорий верхній шар, а потім осад. Обидві порції екстракту об’єднують, визначають якісні показники і вихід. Розливають у скляні сулії по 15—18 кг. Зберігають у прохолодному місці.

Блекотну олію застосовують у формі лініментів як болезаспокійливий засіб при невралгічних і ревматичних болях.

Масляні екстракти шипшини одержують із сухого жому, що є відходом виробництва вітамінів С і Р із плодів шипшини. Сухий жом — це суміш м'якоті і насіння плодів шипшини, що переробляють окремо. 3 м'якоті одержують масляний каротиноїдний препарат каротолін; із насіння шипшини — масло шипшини.

Каротиноїди швидко руйнуються при зберіганні сухого жому, тому його негайно піддають переробці. Сухий жом подають у сепаратор, де потоком продувного повітря відбувається відокремлення м'якоті від насіння.

Каротолін із сухої м'якоті може бути отриманий за трьома схемами:

екстракціею рослинною оліею;

екстракціею органічним розчинником (дихлоретаном, метиленхлоридом;

екстракціею зрідженими газами.

Для екстращп рослинною олією застосовують соняшникову або соєву (остання краща, тому що вона містить природні антиоксиданти — а- і Р-токофероли). Отриманий препарат — це масло оранжевого кольору в тонкому шарі зі специфічним запахом і смаком. Проводять стандартизацію препарату за кислотним числом та вмістом каротиноїдів.

Рис. 22. Схема одержання каротоліну з м'якоті плодів шипшини

Екстращію органічними розчинниками (рис. 22) проводять у вертикальному шнековому екстракторі 1, в який завантажують суху м'якоть і назустріч їй безперервно подають екстрагент. Виснажена сировина (шрот) надходить на рекуперацію екстрагента в шне-ковий випарник 2, що обігрівається парою. Пари екстрагента конденсуються в холодильнику 3 і у вигляді конденсату направляються в збірник 4. Шрот, звільнений від екстрагента, за допомогою шнека 5 вивантажується в збірник відходів. Витяжка, насичена кароти-ноїдами, подається у вакуум-випарний апарат 6, де після видалення екстрагента одержують пасту каротиноїдів, яку купажують оліею до стандартного вмісту каротиноїдів.

Екстрагування зрідженими газами (див. рис. 18). У Харкові (ХНДХФІ) у 1983 році проведено дослідження з екстрагування зрідженими газами (хладонами — хлорофторопохідними вуглеводню) речовин ліпофільної природи (ефірні масла і жирні олії, каротиноїди, токофероли, стерини, хлорофіли та ін.).

Перевага хладонів як екстрагентів у порівнянні з рідким карбону діоксидом полягає в тому, що робочий тиск в екстракторі більш ніж у 6 разів нижчий, ніж при екстрагуванні зрідженим карбону діоксидом. Відповідно до запропонованої схеми суха м'якоть плодів шипшини, здрібнена комбінованим способом (спочатку на молотковій або дисковій, а потім на валковій дробарках) до товщини пелюстка 0,1—0,2 мм, екстрагується хладоном-12 протягом 3 год при температурі 18—25 °С під тиском 4,5—5,5 атм і співвідношенні сировини до розчинника 1:5. Після видалення екстрагента (зменшенням тиску) отриманий ліпофільний комплекс купажують соняшниковою оліею. Використання запропонованої технології у виробництві каротоліну дозволило збільшити вихід на 10—15 %, а також розширити сировинну базу за рахунок використання низькокаротиноїдної сировини.

Отриманий одним із наведених способів каротолін повинний мати: кислотне число — не більше 3,5; вміст каротиноїдів у перерахунку на Р-каротин — не менше 1,2 г/л.

Препарат застосовують при трофічних виразках, екземах, атро фічних змінах слизистих оболонок, деяких видах еритродермії (псоріатичних, десква-матичних); на уражені ділянки тіла накладають серветки, просочені каротоліном, і накривають вощеним папером.

Олію шипшини одержують із сухого насіння плодів шипшини, відділеного від м'якоті (рис. 23). Насіння подрібнюють у дробарці 1 і подають в екстрактор 2 циркуляційного апарата типу Сокслета. Екстракцію проводять дихлоретаном або метиленхлоридом, який заливають на сировину. Насичений екстрагент надходить у куб 3 установки через сифон. Отримані в кубі 3 пари надходять у холодильник-конденсатор 4, із якого конденсат безперервно зливається на сировину. Після повного виснаження сировини екстрагування припиняють, витяжку із куба 3 подають у вакуум-випарний апарат 5, де повністю видаляють екстрагент під вакуумом, а отримане масло шипшини зливають через нижній штуцер апарата 5 у збірник 6, із якого подають на розфасування.

ХНДХФІ запропоноване екстрагування за допомогою зрідже-ного газу (хладон-12). Для цього висушене насіння здрібнюють комбінованим способом: спочатку на молотковій або дисковій, потім на валковій дробарках до товщини пелюстки 0,1—0,2 мм. Екстрагування проводять за схемою, аналогічною, зображеній на рис. 18. У цьому разі купажування соняшниковою оліею не проводять.

У результаті збільшений вихід олії шипшини на 10—15 %. Отримана одним із наведених способів готова олія шипшини — рідина бурого кольору із зеленуватим відтінком, гіркуватим смаком і специфічним запахом.

Кислотне число — не більше 5,5; вміст суми каротиноїдів — не менше 0,5 г/л, вміст а- і Р-токоферолів — не менше 0,4 г/л.

Застосовують як зовнішній засіб при неглибоких тріщинах і саднах сосків у жінок-годувальниць, пролежнях, трофічних виразках, дерматозах у вигляді масляних пов'язок. Використовують усередину для лікування виразкового коліту і дерматозу.

Олію обліпихи одержують двома способами:

екстрагуванням сухого жому соняшниковою оліею;

екстрагуванням м'якоті плодів або окремо насіння органічними роз-чинниками.

За першим способом використовують жом плодів обліпихи після видалення з них соку. Жом висушують у вакуум-вальцьовій сушарці та у вигляді «пелюстка» подають на екстрагування, яке проводять протитечійним методом в батареї екстракторів-перколяторів, обладнаних паровими оболонками. В оболонку подають гарячу воду. Висушений жом у мішках із фільтрувальної тканини завантажують у попередньо нагріті екстрактори. У першому екстракторі сировину настоюють із соняшниковою оліею 1,5 год при температурі 60—65 °С. Отримана витяжка з першого екстрактора подається на сировину в другому екстракторі, а в перший — подають свіжу олію. 3 другого екстрактора витяжку передають у третій екстрактор, із третього в четвертий і т. д. Свіжа олія завжди подається в перший екстрактор. Коли з останнього перко-лятора одержують масляний екстракт, який відповідає вимогам за вмістом каротиноїдів і токоферолів, то перший екстрактор відключають. 3 нього зливають відпрацьовану соняшникову олію, названу «кінцевою», і вивантажують шрот. У перший екстрактор завантажують свіжу сировину (він стає головним), на який подають витяжку з останнього екстрактора, а свіжу олію подають на сировину в другому перколяторі, що тепер стає «хвостовим». Наступну порцію готового продукту одержують із першого «головного» перколятора. Усі подальші зливання готового продукту проводять із «головного» перколятора, яким стає завантажений свіжою сировиною, а свіжий екстрагент подають у «хвостовий» екстрактор, що містить найбільш виснажену сировину. Щораз кількість готового продукту, названу «дифузійною» оліею, повинна бути рівна масі сировини в екстракторі. Масляні витяжки об’єднують і проводять стандартизацію за вмістом каротину і каротиноїдів, яких має бути не менше 0,13—0,18 %; токоферолів — не менше 0,11 %; хлорофілових сполук — не більше 0,1 %. Кислотне число має становити не більше 14,5. Якщо олія містить більше діючих речовин, то до неї добавляють «кінцеві олії», тобто проводять купаж. Після цього олію фільтрують.

За другим способом як сировину використовують м'якоть плодів без насіння або окремо насіння. Для цього сухий жом подають у дробарку, із якої здрібнений матеріал передають у сепаратор, де продуванням повітря відокремлюють насіння від м'якоті і проводять їх переробку окремо.

Обробку м'якоті і насіння здійснюють із застосуванням методу циркуляційного екстрагування в апараті типу Сокслета (аналогічно схемі, наведеній на рис. 23). Екстракцію ведуть 4-, 5-крат-ною кількістю метиленхлориду при температурі близько 40 °С. Залишки розчинника з екстрактора видаляють у вакуум-апараті в присутності невеликої кількості води, що сприяє видаленню екстрагента при більш низькій температурі, тому що відганяється суміш взаємно нерозчинних рідин (метиленхлорид і вода). Для запобігання процесу окиснення упарювання ведуть у вакуум-випарному апараті в середовищі вуглекислого газу. Метод дозволяє збільшити вихід олії з підвищеним вмістом каротиноїдів і меншою кількістю вільних жирних кислот. Одержання олії обліпихи може бути проведене екстрагуванням зрідженим хладоном-12. Із сухого жому з вологістю до 7 %, здрібненого до пелюстка товщи-ною 0,25 мм, одержують препарат, який відповідає вимогам НТД. При цьому вихід готового продукту збільшений на 10—15 %.

Готовий продукт стандартизують за тими ж показниками, що зазначені вище, і після фільтрації фасують у склянки із оранжевого скла по 100 мл.

Олія обліпихова — рідина оранжево-червоного кольору з характерним запахом і смаком. Застосовується зовнішньо у вигляді масляних пов'язок, при лікуванні променевих уражень шкіри і слизових оболонок, при кольпітах, ендоцервитах, ерозіях шийки матки; усередину — при виразковій хворобі і при ураженнях стравоходу.

Висновки

Екстракти — це рідкі концентровані або згущені витяжки з лікарської рослинної сировини. Для виготовленні їх беруть рослину й екстрагуючі речовини, або екстрагенти (воду, спирт, ефір, спиртововодний розчин).

За консистенцією розрізняють такі види екстрактів:

а) екстракти рідкі, які готують на спирті 70% і значно рідше — 40—50% (екстракт з калини, деревію, кропиви) або 20—30% (екстракт із чебрецю й бадану);

б) Екстракти густі — досить в'язкі рідини, що нє виливаються з посудини і містять до 25% вологи. Вони бувають спиртові, водні, спиртововодні і ефіри;

в) екстракти сухі — порошки або пориста маса, що містить не більш ніж 5% вологи і легко перетворюється па порошок.

У рідких екстрактах вміст діючих речовин відповідає вмістові їх у сировині. Для виготовлення беруть 1 частину рослинної сировини і 1 частину спирту. Дозують рідкі екстракти краплями, вживають їх через рот. Зберігати рідкі екстракти потрібно закритими при 15—20° С, бо при незначному зниженні температури і частковому випаровуванні спирту з'являється осад.

Густі й сухі екстракти найчастіше виготовляють з рослин, які містять гіркі, гірко-ароматні або солодкі речовини. На повітрі вони легко відволожуються або висихають, Тому застосовуються рідко. Виготовлення густих і сухих екстрактів потребує складнішої апаратури і технології, що під силу тільки підприємствам хіміко-фармацевтичної промисловості.

Список використаної літератури

1.   Ажгихин И.С. Технология лекарств. Москва: “Медицина” – 1980, 440 с.

2.   Государственная фармакопея СССР, Х издание – под. ред. Машковского М.Д. Москва: “Медицина” – 1968, 1078 с.

3.   Дмитриєвський Д.І. Промислова технологія ліків. Вінниця: “Нова книга” – 2008, 277 с.

4.   Державна фармакопея України, перше видання – під. ред. Георгієвського В.П.. Харків: “РІРЕГ” – 2001, 531 с.

5.   Державна фармакопея України, перше видання, доповнення 1. – під. ред. Георгієвського В.П.. Харків: “РІРЕГ” – 2004, 492 с.

6.   Державна фармакопея України, перше видання, доповнення 2. – під. ред. Гризодуба О.І.. Харків: “РІРЕГ” – 2008, 617 с.

7.   Кондратьева Т.С., Иванова Л.А. Технология лекарственных форм т.1,2. Москва: “Медицина” – 1991, 1038 с.

8.   Краснюк И.И. Технология лекарственных форм. Москва: “Академия” – 2004, 455 с.

9.   Милованова Л.Н. Технология изготовления лекарственных форм. Ростов-на-Дону: “Феникс” – 2002, 447 с.

10. Муравьев И.А. Технология лекарств т.1,2. Москва: “Медицина” – 1980, 704 с.

11. Синев Д.Н., Гуревич И.Я. Технология и анализ лекарств. Ленинград: “Медицина” – 1989, 367 с.

12. Тихонов А.И. Биофармация. Харків: “НФАУ” – 2003, 238 с.

13. Чуешов В.И. Промышленная технология лекарств, т.1,2. Харьков: “НФАУ” – 2002, 1272 с.

14. Чуєшов В.І. Технологія ліків. Харків: “Золоті сторінки” – 2003, 719 с.

Похожие работы на - Екстракти в промисловій технології ліків

 

Не нашли материал для своей работы?
Поможем написать уникальную работу
Без плагиата!
Без нейросетей!