Розробка технології нових видів загартованого морозива
ВСТУП
Головною задачею країни є
забезпечення найвищого рівня життя населення. Для виконання цієї задачі важливе
місце займає забезпечення населення високоякісними і різноманітними продуктами
харчування. Задовольнити потребу
населення в молоці та молочних продуктах можливо шляхом переведення галузі
молочного скотарства на нові методи господарювання, впровадження господарського
розрахунку, колективного підряду, розвитку фермерських господарств, приватних
підприємств у поєднанні з інтенсивними технологіями. У зв’язку з цим виробництво
продуктів харчування незмінно збільшується.
Молоко і молочні продукти є одними
з основних продуктів харчування і їх роль в харчування людини все більше і
більше зростає. Особливо потрібні ці продукти дітям і хворим. З кожним роком
виробництво молока – сировини для молочної промисловості – зростає. Зважаючи на
це, виникає необхідність у переробці молока безпосередньо в господарствах, де
включаються такі процеси як пастеризація, сепарування, нормалізація, а також
виробництво питного молока, кисломолочних продуктів, масла, сиру; виникає
потреба в компонуванні обладнання і устаткування молочних і молочно-переробних
приміщень сучасним спеціальним технологічним обладнанням для обробки і
переробки молока. Молоко – це біологічна рідина, секрет молочної залози ссавців.
Воно забезпечує організм всіма необхідними речовинами і є одним з основних
продуктів харчування людини та сировиною для виробництва різних молочних
продуктів.
На сучасному етапі розвитку
створюються умови для повної промислової переробки вторинної сировини
(знежиреного молока, маслянки, молочної сироватки). Широко вводяться мембранні
процеси переробки. Комплексна переробка молочної сировини на основі мембранних
методів, виробництво нових молочних продуктів з молочно-білкових концентратів і
переробка фільтрату на молочний цукор, гідролізати, білки мікробіологічного
походження, істотно знижує забруднення стічних вод і сприяє вирішенню
екологічних проблем. Заморожений десерт (морозиво) - це
солодкий збитий заморожений продукт, який виробляють по спеціальних рецептурах
сумішей, що містять у визначених співвідношеннях складові частини молока та
молочних продуктів, плодово-овочеву сировину, сахарозу, стабілізатори, у деяких
рецептурах - яєчні продукти, смакові й ароматні речовини. Воно є одним із самих
улюблених продуктів населення, особливо дітей. Це пояснюється не тільки його
високими смаковими якостями, але і великою харчовою і біологічною цінністю.
Щорічно збільшуєьться асортимент та кількість загартованого морозива на
споживчому ринку України. Покращується його якість, враховуються потреби
споживачів в випуску нових видів спеціального призначення. Одним з завдань
нашого дипломного проекту була розробка технології нових видів загартованого
морозива з метою задоволення споживчого попиту українців. Технологія морозива,
що було розроблено нами відрізняється від традиційного тим, що в його
технології використано функціонально-технологічні можливості нової сировини.
Робота, що була проведена нами, завершилася розробкою технологічних карт на
новий продукт. Дегустації нової продукції отримали позитивну оцінку, що
дозволяє оцінити нашу роботу, як позитивну.
1. ЕКОНОМІЧНЕ ОБГРУНТУВАННЯ
ПРОЕКТУ
1.1 МАРКЕТИНГОВІ ДОСЛІДЖЕННЯ
Для ефективної ринкової
діяльності, ведення цілеспрямованої конкурентної боротьби підприємству
необхідна надійна, достовірна і своєчасна інформація про ринок, структуру і
динаміку окремого попиту, про смаки та переваги споживачів. Проведення
маркетингових досліджень дозволяє отримати дану інформацію і виявити чинники,
що сприяють комерційному успіху або перешкоджають йому.
Маркетингове дослідження – це
цілеспрямований процес постановки задач, отримання маркетингової інформації,
планування і організації її збору, аналізу і представлення звіту про результати
[1].
Маркетингові дослідження створюють
обґрунтовану базу для прийняття рішень про стратегію і програму розвитку
підприємницької і збутової діяльності підприємства. Прогнозування ринку,
розробка стратегії і планування своїх дій на ринку, формування ринкового попиту
– основні проблеми, які допомагають вирішити маркетингові дослідження. Загальноукраїнський ринок морозива протягом останніх десяти років
стабільно зростає. В період з 2001-2005 щорічний темп розвитку складав близько
15 %. Проте, з розвитком ринкової
інфраструктури та поступовим насиченням сегментів ринку, динаміка росту дещо
знизилась та на сьогодні складає 4‑5 % щорічного приросту. Але на порядку
денному оптимізм – провідні українські виробники заявляють про збільшення
потужностей на сезон 2009.
Ринок
морозива розвивається в основному за рахунок нарощення потужностей уже існуючих
виробників, аніж через появу нових. Останні роки ринок переживає процес
укрупнення. З іншого боку, збільшується споживання «холодних ласощів»: за останні
три роки українець в середньому став з’їдати за рік на 1,5 кг морозива більше
(тепер це – 3 кг). До слова, до світових стандартів попит явно не дотягує – житель
Європи споживає 7 кг щороку, а США й того більше – цілих 22 кг.
Сповільнення
темпів розвитку ринку в останні роки більшість фахівців пояснює порівняно
низькою культурою споживання десертів з морозива та сезонними коливаннями
ринку. Так, уже наприкінці серпня – на початку вересня спостерігається
поступове зменшення обсягів продажу. З листопада ринок взагалі завмирає аж до
початку теплих місяців. Попит на десерти з морозива дещо пожвавлюється на зимові
свята. Проте реальна стабілізація попиту спостерігається починаючи з травня.
Культура споживання морозива в Україні дуже відрізняється від західних країн. В
Україні 80 % морозива споживають на ходу (в основному, це морозиво на паличці
або у вафельному стаканчику), 15 % – дома (так зване сімейне морозиво) і 2 % –
у кафе. Українські потужні виробники, які постійно борються між собою за заповнення
тих чи інших сегментів ринку, усвідомлюють, що загальний ринок ще далекий від
насичення й морозиво за допомогою правильної маркетингової стратегії може стати
для споживача звичайнісіньким щоденним продуктом. У зв’язку з стабільним
зростанням ринку протягом останнього десятиріччя простежується тенденція
поступового скорочення кількості дрібних виробників, які ані фінансово, ані
стратегічно не можуть конкурувати з потужними компаніями, що здатні охопити
ринки цілих регіонів. На сьогодні в Україні працює понад 88 виробників
морозива, хоча реально саме випуском морозива займаються набагато менше.
Фахівці ринку в перспективі прогнозують подальше скорочення виробників у зв’язку
зростанням ціни на молоко та цукор. Сьогодні практично кожний регіон України
має «свого» виробника морозива. На Волині, приміром їх є аж троє. Та лише окремі
з них спромоглися вийти на загальнонаціональний ринок й дістати означення «одні
з перших». За інформацією Асоціації «Українське морозиво» сьогодні лідери
українського ринку за об’ємами виробництва – це ТзОВ «Ласунка» (Дніпропетровськ;),
фірма «Ласка» (Кіровоград), ВАТ «Житомирський маслозавод» (ТМ «Рудь»;
заснований у 1981 році, ВАТ – з 1996 року; ТМ «Рудь» з’явилася у квітні 1998
року.), ВАТ «Луганськхолод» (ТМ «Королівське морозиво»), ЗАТ «Геркулес»,
компанія «Троянда» (створення – 2000 рік; Київ, виробництво – Макіївка, Полтава
та с. Гірка Полонка Волинської області; підприємство з іноземними інвестиціями,
засновник – інвестиційний фонд Western NIS Enterprise Fund).
Асоціація
«Українське морозиво» на сьогодні об’єднує 26 провідних підприємств галузі
виробництва морозива з усіх регіонів України. Частка продукції підприємств, що нині
входять до Асоціації, складає понад 94,8 % усього морозива, що виробляється в державі.
За
підрахунками фахівців медіа-ресурсу «Агро Перспектива», на сьогодні до чільної
десятки загальноукраїнського ринку входять наступні підприємства: Ласунка
(Дніпропетровськ), Житомирський маслозавод (Житомир), Геркулес (Донецьк),
Троянда (Київ), Ласка (Кіровоград), Луганськхолод (Луганськ), Хладпром (Харків),
Айс (Запоріжжя), Львівський холодокомбінат (Львів), Лубенський молокозавод
(Полтавська область)
Їхні
частки на ринку України показані на рис. 1.1.
«Сьогодні
в Україні ринок морозива практично сформований» – вважає в. о. директора заводу
компанії «Троянда» Волинській області. «Крупні виробники зайняли свою нішу,
малі практично відживають. У нас «сценарій» відбувається такий самий, як у
Польщі: колись там була купа виробників, а зараз лишилося п’ять найбільших».
На
ринку сьогодні вирізняються два методи «експансії» товару у регіони. Перший,
більш поширений – це створення мережі дилерів-реалізаторів. Другий – відкриття
у регіонах власних представництв. Другим шляхом пішли, наприклад, торгові марки
«Рудь» та «Ласунка». Шукати представників в регіонах і класти на них проблему
реалізації свого морозива сьогодні більшість виробників вважає більш простим і дешевим
шляхом просування. Створювати свої представництва ефективніше (немає
посередника в реалізації, відтак стають більшими доходи). Але не завжди можливо.
Зайти на ринок нового регіону просто «з нуля» (тобто власною структурою) важче,
ніж зробити це на базі вже існуючих фірм. У Луцьку сьогодні є 7 чи 8 операторів
ринку морозива. І, звичайно, створити ще одну структуру з реалізації тут доволі
важко.
Рис.1.1
– Ринок виробників загартованого морозива України
У
своїй «тактиці» завоювання прихильності споживача, виробники сьогодні
притримуються схожих методів. Товарна пропозиція повинна включати увесь
асортимент морозива – від традиційних і найдешевших вафельних стаканчиків до так
званої «зимової групи» – тортів, «відер», вагового морозива (у холодну пору
року купують якраз таке морозиво; його реалізація складає близько третини
літніх продажів). Дизайн упаковки має бути оригінальний і якісний. Щодо
асортименту, то пропозиція хоч і має включати увесь перелік видів морозива,
проте все більший попит мають дорожчі, ексклюзивні, види продукції. «Все
більший акцент сьогодні робиться поряд з асортиментом на якості і на дорогій
продукції. Один з чинників, який сьогодні впливають на ринок морозива – погода.
Якраз холодне літо 2006-го року стало причиною падіння реалізації морозива на 4
%. Додають тривоги холодні квітень і травень 2007-го – місяці, які «морозивники»
традиційно вважають початком сезону продаж.
Хоча
на наміри це впливає мало. До прикладу, «Рудь», за інформацією Української
асоціації продавців морозива, направив близько 1,5 мільйона доларів США на збільшення
виробничих потужностей. Це дало можливість збільшити потужності на 15 %. Компанія «Троянда» збільшила потужність
на 33 % через вивід на ринок
нової торгової марки. У 2009 році продукція виробників морозива подорожчала на 10-15
% через збільшення ціни на енергоносіїв та таких необхідних інгредієнтів як цукор
і молоко. Хоча експерти не вважають, що це хоч якось вплине на реалізацію.
1.2 ТЕХНІКО–ЕКОНОМІЧНЕ
ОБҐРУНТУВАННЯ БУДІВНИЦТВА ПІДПРИЄМСТВА
Для виробництва молочної продукції
маємо можливість використати за зміну наступні ресурси: електроенергія, не
більше 400 кВт година, вода, не більше 500м3, пара, не більше 100 т,
холод, не більше 4000кДж, молоко, не більше 50 т.
Для визначення можливих видів
випуску продукції та її об’ємів, при цих обмеженнях, виконуємо оптимізаційний
розрахунок методом лінійного програмування.
При розробці планів будівництва
підприємств по переробці молока найважливішим є питання про те, скільки і яких
продуктів доцільно виготовляти і які у зв’язку з цим слід прийняти проектні
рішення, щоб відповідним чином розподілити виробничі потужності. Як правило,
дати однозначну відповідь на таке питання достатньо складно, оскільки при цьому
необхідно вирішити оптимізаційну задачу безліччю обмежень економічного,
соціального і технічного характеру.
Ефективним для вирішення завдання
оптимального розподілу ресурсів є використання алгоритмів лінійного
програмування, які застосовують, коли необхідно оптимізувати одну з
характеристик системи, конструкції або процесу, яка описується лінійною
функцією типу
А = С1Х1 + С2Х2
+ … СіХі + … СпХп , (1.1)
де: А – цільова функція
(наприклад, продуктивність, яку треба максимізувати, або об’єм закупівель
молока, яку слід мінімізувати);
Хі – параметр, який
впливає на величину цільової функції;
Сі – ціна (числовий
коефіцієнт, що описує ступінь впливу змінної на цільову функцію).
При цьому на параметри системи
накладаються лінійні обмеження:
Р11Х1 + Р12Х2
+ … + Р1іХі + … + Р1пХп = В1;
Р21Х1 + Р22Х2
+ … + Р2іХі + … + Р2пХп = В2;
Рj1Х1 + Рj2Х2
+ … + РjіХі + … + РjпХп = Вj;
Рt1Х1 + Рt2Х2
+ … + РtіХі + … + РtпХп = Вt;
Х1 ≥ 0,Х2
≥ 0,Хі ≥ 0,…,Хп ≥ 0, (1.2)
де: Вj – обмеження,
переробки молока, що накладаються умовами, на проектованому підприємстві
(наприклад, ресурси молока, чисельність тих, що працюють, допустимі витрати
пари, холоди, електроенергії і тому подібне);
Рjі – коефіцієнт впливу
параметра системи на величину обмеження.
Такий запис обмежень, разом з
умовою знайти мінімум цільової функції, називається канонічною формою завдання
лінійного програмування.
Завдання лінійного програмування,
в якому потрібно максимізувати цільову функцію, може тат зведена до канонічної
форми мінімізацією зворотної функції А’ = -А, у якої знаки при цінах Сі
змінені на протилежні:
А’’ = -С1Х1
+ -С2Х2 + … -СіХі + … -СпХп
(1.3)
Якщо в завданні обмеження дані як
нерівності
Рj1Х1 + Рj2Х2
+ … + РjіХі + … + РjпХп ≥ Вj,
(1.4)
або
Рj1Х1 + Рj2Х2
+ … + РjіХі + … + РjпХп ≤ Вj,
(1.5)
То вона приводиться до канонічної
форми, відповідно, відніманням або збільшенням додаткових змінних Хn+k
(з ціною Сn+k =0):
Рj1Х1 + Рj2Х2
+ … + РjіХі + … + РjпХп+к = Вj;
Рt1Х1 + Рt2Х2
+ … + РtіХі + … + РtпХt+m = Вt;
(1.6)
При
А = С1Х1 + С2Х2
+ … СіХі + … СпХп + 0*Хп+к
+ 0*Хt+m (1.7)
Після запису завдання в канонічній
формі її вирішують симплекс-методом в наступній послідовності.
Складання початкової
симплекс-таблиці.
– Визначається початковий план, в
який включаються вільні члени Вj з обмежень - рівності, що має один
з коефіцієнтів Рji, рівний +1, за умови, що в решті обмежень -
рівності коефіцієнт Рji = 0. Наприклад, для завдання
А = С1Х1 + С2Х2
+ С3Х3;
Р11Х1 + Р12Х2
+ Р13Х3 = В1;
Р21Х1 + Р22Х2
+ Р23Х3 = В2;
Р31Х1 + Р32Х2
+ Р33Х3 = В3; (1.8)
Значення В1 включається
в опорний план, якщо Р11 = 1, Р21 = 0, Р31 =0
або якщо Р12=1, Р22 = 0, Р32 = 0 або Р13
= 1, Р23 = 0, Р33 = 0.
Значення В2 включається
в план, якщо Р11 = 0, Р21 = 1, Р31 = 0 або Р12
= 0, Р22 = 1, Р32=0 або Р13 = 0, Р23
= 1, Р33 = 0.
Значення В3 включається
в план, якщо Р11 = 0, Р21 = 0, Р31 = 1 або Р12
= 0, Р22 = 0, Р32=1 або Р13 = 0, Р23
= 0, Р33 = 1.
Якщо при складанні початкового
плану є обмеження-рівність, в яких більше одного коефіцієнта Рji =
+1, або він один, але в інших обмеженнях-рівності є значення Рji
відмінні від нуля, то включають штучну змінну Хn+k+r з ціною Сn+k+r
=М (М = ∞ - скільки завгодно велике позитивне число), тобто
Рj1Х1 + Рj2Х2
+ … + РjіХі + … + Рjп + Хп + Хп+к
+ Хn+k+r = Вj;
Α = С1Х1
+ С2Х2 + … СіХі + … СпХп
+ 0*Хп+к + МХn+k+r (1.9)
– початковий план записують в
стовпець «В» початковою симплекс-таблиці (таблиця 1)
– заповнюють решту кліток
початкової симплекс-таблиці:
а) у стовпець «V» – записують
умовні позначення параметрів Хі, по яких формувався початковий план;
б) у стовпець «С» – записують
ціну, що стоїть в цільовій функції перед параметрами, по яких формувався
початковий план;
в) у вільні клітки верхнього рядка
послідовно записують умову позначення параметрів Хі і відповідні ним
значення ціни Сі з рівняння цільової функції;
г) у рядки з номерами від 1 до t
послідовно записують значення коефіцієнтів Рjі;
д) у рядку з номером t +1 першу і
другу клітки не заповнюють, в третю записують значення А, якщо воно
визначалося, або 0, а в решту кліток послідовно записують значення Сі
з рівняння цільової функції, узяті з протилежним знаком;
е) якщо в початковий план
включалися змінні з ціною М = ∞ то заповнюють рядок з номером t +2,
елементи якої визначають як постійну суму відповідних елементів що стоять в
цьому ж стовпці. При складанні враховують тільки ті рядки, у яких в стовпці «С»
коштує нескінченно велике число М, тобто
,
де j – номер рядка, у якого в
стовпці «С» стоїть число «М»;
При вирішенні завдань, що не
вимагають включення штучних змінних з ціною М, рядок з номером t +2 не
будується, а елементи рядка з номером t +1 визначаються оскільки описано вищим.
Таблиця 1.1 - Початкова
симплекс-таблиця
|
N
|
V
|
C
|
B
|
С1
|
С2
|
-
-
|
Сj
|
-
-
|
Сn
|
Сn+1
|
-
-
|
Сn+k
|
Сn+k+1
|
-
-
|
Сn+k+r
|
|
Х1
|
Х2
|
Хj
|
Хn
|
Хn+1
|
Хn+k
|
Хn+k+1
|
Хn+k+r
|
|
1
|
Х1
|
С1
|
B1
|
P11
|
P12
|
-
|
P1i
|
-
|
P1n
|
P1n+1
|
-
|
P1n+k
|
P1n+k+1
|
-
|
P1n+k+r
|
|
2
|
Х2
|
С2
|
B2
|
P21
|
P22
|
-
|
P2i
|
-
|
P2n
|
P2n+1
|
-
|
P2n+k
|
P2n+k+1
|
-
|
P2n+k+r
|
|
|
|
|
|
|
|
|
|
|
|
|
|
|
|
|
|
j
|
Хj
|
Сj
|
Bj
|
Pj1
|
Pj2
|
-
|
Pji
|
-
|
Pjn
|
Pjn+1
|
-
|
Pjn+k
|
Pjn+k+1
|
-
|
Pjn+k+r
|
|
|
|
|
|
|
|
|
|
|
|
|
|
|
|
|
|
t
|
Хt
|
Сt
|
Bt
|
Pt1
|
Pt2
|
-
|
Pti
|
-
|
Ptn
|
Ptn+1
|
-
|
Ptn+k
|
Ptn+k+1
|
-
|
Ptn+k+r
|
|
t+1
|
--
|
--
|
α
|
-C1
|
-C2
|
-
|
-Ci
|
-
|
-Cn
|
-Cn+1
|
-
|
-Cn+k
|
-Cn+k+1
|
-
|
-Cn+k+r
|
|
t+2
|
--
|
--
|
W0
|
W1
|
W2
|
-
|
Wi
|
-
|
Wn
|
0
|
-
|
0
|
0
|
-
|
0
|
Оптимізація початкової
симплекс-таблиці
Оптимізація здійснюється у
декілька етапів (интерацій) шляхом перебудови початкового плану і знаходження
нового опорного плану із значенням цільової функції не більшим, ніж у
попереднього.
При переході від плану до плану
необхідно:
– вибрати стовпець, що дозволяє,
по найбільшому позитивному елементу (t+2) -о рядка. При вирішенні завдань, що
не вимагають включення в цільову функцію штучних змінних з ціною М = Ѕ,
стовпець, що дозволяє визначається відразу по рядку з номером t+1. Стовпцю, що
дозволяє привласнити номер q=1;
– за порядком розділити величину Bj
на позитивний елемент Pjq цього ж рядка, що стоїть у стовпці, що
дозволяє q (елементи рядків «t+1» і «t+2» пропускаються і якщо Pjq≤0,
то елементи цього рядка теж пропускаються). Знайти мінімальне відношення, тобто
обчислити як:
при Pjq > 0, j < t+1.
Якщо опиниться, що у стовпці, що
дозволяє, немає позитивних елементом, а оптимум ще не досягнутий, то рішення
припиняється і приймається рішення про відсутність оптимуму цільової функції.
Якщо продовження рішення можливе, то рядку, що містить елементи Bj і
Pjq, що задовольняють цій умові привласнюється номер s = j і рядок
вважається такою, що вирішує;
– знайти елемент, що дозволяє, Psq,
який знаходиться на перетині стовпця, що дозволяє, і рядка;
– перейти до нової
симплекс-таблиці, відповідній новому опорному плану, для чого:
а) замінити елемент s-строки, що
стоїть в стовпці «V», на Хi, узяте з верхнього рядка стовпця, що
дозволяє;
б) елементу s-строки, що стоїть в
стовпці «С», привласнити значення Сi, узяте з верхнього рядка
стовпця, що дозволяє;
в) заповнити вільні місця в
стовпцях «V» і «С», переписуючи відповідні елементи цих стовпців з попередньої
симплекс-таблиці;
г) елементи s-строки, що стоять в
стовпцях «В» і «Хi» розділити на елемент, що дозволяє, тобто
обчислити
,
;
д) решта всіх елементів
симплекс-таблиці стоїть в стовпцях «В» і «Хi», перераховуються за
формулою:

Ітераційний процес продовжується
до тих пір, поки всі елементи (t+2) -о рядку не стануть рівні нулю. Якщо при
цьому опиниться, що в даному рядку не залишилося позитивних елементів і не всі
вони стали нульовими, то робиться вивід про несумісність обмежень даного
завдання і про неможливість скласти оптимальний план.
Якщо висновок про неможливість
побудови оптимального плану зробити не можна, то рішення продовжується до тих
пір, поки всі елементи (t+2) рядку не стануть нульовими. Подальші, після
витіснення елементів (t+2) -о рядку, кроки виконуються за загальним правилом,
що проте вирішує стовпець вибирається по найбільшому позитивному елементу (t+1)
рядку. (Стовпці, що містять штучні змінні, в тому разі опускаються, оскільки
вони виявляються витисненими з початкового плану). У завданнях, що не вимагають
ведення штучних змінних з ціною М = ∞, дозволяючий стовпець визначається
відразу по рядку з номером t+1.
Інтерація закінчується досягненням
оптимуму, про що свідчить відсутність позитивних елементів в (t+1) -му рядку. У
випадку якщо оптимум не досягнутий, але у дозволяючому стовпці всі елементи Pjq
≤0, то робиться вивід про те, що цільова функція не обмежена на даній
безлічі планів.
Встановимо оптимальне по критерію
максимального прибутку розподілення виробничих потужностей по видам
продукції(при плановій рентабельності 15 %) і визначимо максимальний прибуток
при наступних виробничих даних які занесемо до табл. 1.2.
Таблиця 1.2- Виробничі дані
|
Морозиво
|
Сиркова маса
|
Сир
|
Молоко
|
Масло
вершкове
|
Казєїн
|
Обмеження
|
|
Питомі норми витрат на тонну продукції
|
|
Електроенергія, кВт. час
|
9
|
121
|
128
|
32
|
330
|
80
|
400
|
|
Вода, м3
|
37
|
37
|
37
|
5,5
|
65
|
45
|
500
|
|
Пар, т
|
0,3
|
1,15
|
1,28
|
0,28
|
4,8
|
3,0
|
100
|
|
Холод, кДж
|
887,4
|
365,2
|
375,4
|
166,8
|
716,7
|
853,2
|
4500
|
|
Оптові ціни, грн.
|
24000
|
13000
|
14000
|
3000
|
23000
|
22000
|
|
|
|
|
|
|
|
|
|
|
В відповідності з початковими
даними:
- за 15 % рентабельності прибуток
на 1 т. продукції (Ціна ∙ 0,15) складає:
Таблиця 1.3 - Прибуток за 15 %
рентабельності
|
Морозиво
|
Сиркова маса
|
Сир
|
Молоко
|
Масло вершкове
|
Казеїн
|
|
|
Прибуток, грн.
|
3600
|
1950
|
2100
|
450
|
3450
|
3300
|
→ max
|
Для автоматизації розрахунків
використана активна інтернет-сторінка, інтерфейс якої показаний на рисунку 1.2.
Беремо декілька видів молочних
продуктів, для того щоб вирішити, який продукт доцільно виробляти. В даному
випадку взято морозиво, сиркова маса, творог, молоко, масло вершкове і казеїн.
Заносимо дані до «Исходная
симплекс таблица».
В стовпчик «В» вносимо обмеження
по ресурсам.
Вводимо у віконце «Количество
циклов» достатньо велике значення.
Натискаємо на кнопку «Вычислить».
Рис. 1.2 - Оптимальний розрахунок продукту
Обчислення здійснюються таким
чином як наведено на рисунку 1.3.
|
Питомі норми часу на одиницю продукції (люд.год) на
заводах
потужністю 50тон молока/зміну [23]
|
|
|
Морозиво
|
Сиркова маса
|
Сир
|
Молоко
|
Масло вершкове
|
Казеїн
|
|
|
Х1
|
Х2
|
Х3
|
Х4
|
Х5
|
Х6
|
|
|
3600
|
1950
|
2100
|
450
|
3450
|
3300
|
|
Питомі норми часу на 1 тону продукції потужністю
потужністю 50 тон молока/зміну [23]
|
|
Електроенергія, кВт.час
|
9
|
121
|
128
|
32
|
330
|
80
|
|
Вода, м3
|
37
|
37
|
37
|
5,5
|
65
|
45
|
|
Пар, т
|
0,3
|
1,15
|
1,28
|
0,28
|
4,8
|
3,0
|
|
Холод, кДж
|
887,4
|
365,2
|
375,4
|
166,8
|
716,7
|
853,2
|
Рис.1.3 - Вихідні дані до
розрахунків потужності
Програма самостійно вирахує, який
продукт і в якій кількості потрібно виробляти. Результат отримаємо в «Таблица
результатов вычислений», а у віконці «Количество интераций» побачимо кількість
інтерацій. Якщо потрібно знати результати після кожної інтерації, потрібно у
віконці «Количество циклов» ввести порядковий номер циклу.
Виходячи з розрахунків, ми бачимо,
що за даних умов доцільно виробляти морозиво. Постачальниками сировини будуть
сільськогосподарські підприємства Конотопського, Буринського, районів, а також
населення цих районів. Радіус зони не перевищує 50км. Так, як останнім часом в
даному регіоні спостерігається незначне збільшення обсягу сировини, то
підприємство буде знаходитися у сприятливій сировинній зоні.
Вихідні дані для проекту
представлені в таблиці 1.4.
|
Потужність підприємства, т/зм молока
|
Кількість умовної доби на рік
|
Кількість робочих змін на добу
|
Тривалість зміни, год.
|
Цех, що будується
|
|
Назва
|
Потужність, т/зм
|
|
50
|
340
|
2
|
8
|
Цех морозива
|
3,2
|
Висновки по
розділу
1.
Проведено маркетингові дослідження ринку морозива України. Встановлено, що
лідерами у виробництві загартованого морозива є такі підприємства як: Ласунка
(Дніпропетровськ), Житомирський маслозавод (Житомир), Геркулес (Донецьк),
Троянда (Київ), Ласка (Кіровоград), Луганськхолод (Луганськ), Хладпром
(Харків), Айс (Запоріжжя), Львівський холодокомбінат (Львів), Лубенський
молокозавод (Полтавська область);
2. Встановлено сезонний вплив на
виробництво морозива. Загальний обсяг виробництва і продажу продукції припадає
на період весна – середина осені;
3. Проведене техніко-економічне обґрунтування проекту
дозволило визначитися з асортиментом та кількістю продукції, що буде виробляти
майбутнє підприємство;
4. Розроблено виробничу програму
та проведено розрахунки витрат сировини та допоміжних матеріалів на
виготовлення морозива. При цьому враховано, що в асортименті продукції буде
представлено інноваційну розробку: морозиво «Умка» та «Льодовий рай»;
5. Проведено обґрунтування типу та
режиму роботи підприємства, що виготовлятиме нову продукцію.
2 РОЗРОБКА ТЕХНОЛОГІЇ ЗАМОРОЖЕНИХ ДЕСЕРТІВ З ВИКОРИСТАННЯМ
СТАБІЛІЗУЮЧИХ СИСТЕМ
2.1 ХАРАКТЕРИСТИКА ТА
СУЧАСНІ ТЕНДЕНЦІЇ РОЗВИТКУ АСОРТИМЕНТУ ТА ТЕХНОЛОГІЙ ЗАМОРОЖЕНИХ ДЕСЕРТІВ
2.1.1 Загальна
характеристика харчової та біологічної цінності заморожених десертів
Серед
широкого асортименту нових молочних продуктів заморожені десерти, як і раніше,
залишається улюбленим десертом дорослих та дітей.
Відомо,
що їх винахід належить найдавнішим цивілізаціям Сходу. В Китаї за 3000 років до
нашої ери вже виготовляли заморожені десерти з лимонаду та води. В Європу, а
згодом і в саму Росію, заморожені десерти надійшли значно пізніше у вигляді
дрібно наструганих шматків замороженого молока, які подавали до млинців. З того
часу історія зазнала багато змін і тепер на сучасному ринку нараховується
близько 300 видів морозива та заморожених десертів, які виробляють з
різноманітної сировини (як молочної, так і рослинної). Розширення асортименту
дозволило заохотити додаткових споживачів і тепер попит на нього розповсюджений
на всі вікові групи населення (рис. 2.1).
Рис.
2.1 – Вікова структура споживачів заморожених десертів
За
останні роки спостерігається тенденція підвищення обсягу виробництва
заморожених десертів на Україні, що обумовлено постійним зростанням попиту на
нього. При проведенні соціологічних анкетувань в Україні було з’ясовано, що
найбільшим попитом користуються традиційні його види (рис. 2.2).
Рис.
2.2 – Переваги морозива за смаками
Насичення
ринку традиційними, а також новими видами заморожених десертів обумовлює
неминуче виникнення серед підприємств-виробників на споживчому ринку
конкуренції, що постійно росте. У цей період посилюються вагомість підприємств,
які здатні забезпечити свою конкурентоздатність на ринку за рахунок створення
максимально сприятливих умов споживачам : низька ціна + стабільно висока
якість.
Незважаючи
на широкий асортимент заморожених десертів, його виробляють по загальній
технологічній схемі. Одним з обов’язкових компонентів усіх видів морозива є
стабілізатори – колоїдні гідрофільні речовини. Вміст їх не перевищує 0,3…7 %,
але роль в технології морозива вони виконують багато важливих функцій:
зв’язують вільну вологу та підвищують в’язкість системи, протидіють
агломеруванню та коалесценції жиру, сприяють структуроутворенню морозива та
його зберіганню, тобто безпосередньо впливають на якість готового виробу.
Метою
даного дослідження є розробка технологій виробництва заморожених десертів з
використанням нових ефективних стабілізаторів.
Заморожений десерт (морозиво) - це солодкий збитий
заморожений продукт, який виробляють по спеціальних рецептурах сумішей, що
містять у визначених співвідношеннях складові частини молока та молочних
продуктів, плодово-овочеву сировину, сахарозу, стабілізатори, у деяких
рецептурах - яєчні продукти, смакові й ароматні речовини. Воно є одним із самих
улюблених продуктів населення, особливо дітей. Це пояснюється не тільки його
високими смаковими якостями, але і великою харчовою і біологічною цінністю.
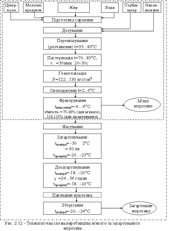
По засобах виробітки морозиво підрозділяють на загартоване,
м’яке і домашнє [1].
М’яким називається
морозиво, що виробляють, в основному, в закладах ресторанного господарства і
вживають в їжу відразу ж після виходу з фризера (температурою -5... -7°С), що
обумовлює специфічність його складу (незначний вміст стабілізаторів). Це досить
новий товар на ринку продуктів харчування. Він запропонований у якості
альтернативи добре відомому загартованому морозиву в зв’язку з тим, що має ряд
переваг у порівнянні з останнім. Переваги ці досить істотні і містять у собі:
- спрощення схеми
технологічного процесу виробництва морозива (відсутність процесу загартовування);
- виняток витрат по транспортуванню готового продукту на
підприємство, частково по реалізації і збереженню;
- можливість використання для виробництва фризерного
морозива більш дешевої сировини і т. ін.
Загартоване морозиво - це продукт, виготовлений у
виробничих умовах, що після виходу з фризера з метою підвищення стійкості при
збереженні заморожують (гартують) до низьких температур (-18°С та
нижче). У такому вигляді його зберігають до реалізації.
Загартоване морозиво класифікують за видом продукту і
наповнювача (за складом) та за видом фасування (рис. 2.3). За видом продукту і
наповнювача воно підрозділяється на основні й аматорські види.
Основні види - це традиційні види, які відрізняються
вмістом цукру, сахарози та сухих речовин: • молочне; • вершкове; • пломбір: •
плодово-ягідне; • ароматичне.
Аматорські види морозива - це ряд особливих видів морозива,
які відрізняються від основних видів за фізико-хімічними показниками,
сировиною, що використовується для їх виробництва та зовнішнім виглядом морозива:
• морозиво, яке виробляють на молочній основі;
• морозиво, яке виробляють на плодово-ягідній або овочевій
основі;
• морозиво, яке виробляють з плодів, ягід і овочів із
додаванням молочної основи;
• морозиво, яке виробляють з використанням курячих яєць;
• багатошарове морозиво;
• морозиво спеціального призначення ;
• морозиво, що містить кондитерський жир.
При виробництві цього морозива висуваються індивідуальні
вимоги - знижений вміст жиру (морозиво "Морозко" вершкове), сахарози
(морозиво "Мальвіна" вершкове); підвищений вміст сухого знежиреного
молочного залишку (морозиво "Білосніжка"); особливий набір сировини,
наприклад,
|
|
 |
використання екстракту чаю - морозиво "Аромат
чаю" овочевої сировини - морозиво "Томатне", що виробляється із
томатів або продуктів їх переробки. При виробництві морозива основних видів,
можуть бути використані наповнювачі та добавки (какао-порошок, сироп
крем-брюле, екстракт цикорію або кави, курячі яйця, фруктові сиропи, горіхи,
цукати, родзинки, шматочки плодів та ягід, шоколадно-вафельні крихти,
подрібнений шоколад). Морозиво, крім того, може бути покрите одним із видів
глазурі або спеціальним ароматизованим покриттям. Морозиво на молочній основі,
в залежності від використаного наповнювача або добавки, може бути поділене на:
морозиво із застосуванням наповнювачів та добавок - кавове, крем-брюле,
шоколадне, горіхове, з плодами та ягодами, ванільне та ін.; морозиво без
наповнювачів та з наповнювачами, без добавок та з добавками, в глазурі або
ароматизованому покритті.
Морозиво одержує назву в залежності від складу і
компонентів, які до нього додаються. Наприклад, морозиво молочно-шоколадне,
вершково-шоколадне, пломбір шоколадний виробляють із відповідної суміші
морозива з додаванням шоколаду або какао; молочно-горіхове, вершково-горіхове,
пломбір горіховий - із додаванням горіхів; молочно-полуничне,
вершково-полуничне, пломбір полуничний - із додаванням полунички ( ягоди, пюре,
соки). При додаванні в суміш морозива харчової ароматної есенції або харчової
ароматної олії морозиво одержує назву: "Молочне - пахощі лимона",
"Вершкове - пахощі лимона" (при додаванні лимонної есенції або
лимонної олії), "Молочне - пахощі полунички", "Вершкове - пахощі
полунички" (при додаванні в суміш полуничної ароматної есенції). У пломбір
ароматні есенції не вводяться. Фруктово-ягідне морозиво в залежності від
використання натуральних фруктів і ягід називають: фруктово-ягідне яблучне,
фруктово-ягідне малинове, фруктово-ягідне чорносмородинове [2].
Морозиво має високу харчову цінність та добре засвоюється
організмом людини. В морозиві, яке виготовлене на молочній основі, міститься
молочний жир, білки молока, вуглеводи - сахароза, лактоза, мінеральні речовини,
вітаміни А, D, Е, С, Р, групи В, а, до складу якого входять плоди, ягоди або
продукти їх переробки - відзначається високим вмістом аскорбінової кислоти.
Плодово-ягідні наповнювачі можуть збагачувати морозиво окрім вітамінів, ще й
пектиновими речовинами, флавоноїдами, в тому числі антоціанами, органічними
кислотами, мінеральними сполуками, особливо, мікроелементами, дубильними речовинами,
клітковиною, моноцукрами, що легко засвоюються.
Порівняльні дані про харчову та енергетичну цінність
морозива та деяких продуктів харчування, які часто застосовуються в
повсякденному харчуванні, наведено в табл. 2.1. Споживання такого продукту
утворює тонізуючий ефект та сприяє підвищенню імунітету.
Таблиця 2.1 - Порівняльні данні про
харчову та біологічну цінність деяких видів морозива [1]
|
Морозиво
|
Білки, г
|
Жири, г
|
Вуглеводи, г
|
Вітаміни, мг
|
Енергетична цінність
|
|
А
|
В
|
ккал
|
кДж
|
|
1
|
2
|
3
|
4
|
5
|
6
|
7
|
8
|
|
Молочне
|
3,7
|
3,5
|
20,9
|
0,02
|
0,16
|
129,9
|
543,9
|
|
Молочно-шоколадне
|
3,6
|
3,7
|
22,6
|
0,02
|
0,16
|
138,5
|
579,9
|
|
Молочне з плодами та ягодами
|
3,2
|
2,8
|
21,8
|
0,02
|
0,16
|
125,2
|
524,2
|
|
Молочне в шоколадній глазурі
|
3,2
|
15,1
|
20,6
|
0,09
|
0,17
|
231,1
|
967,6
|
|
Вершкове
|
3,7
|
10
|
19,4
|
0,04
|
0,2
|
182,4
|
763,7
|
|
Вершково-шоколадне
|
3,6
|
10,2
|
21,1
|
0,04
|
0,2
|
191
|
799,7
|
|
Вершково-горіхове
|
4,3
|
13,6
|
19
|
0,04
|
0,2
|
215,6
|
902,7
|
|
Вершкове з плодами та ягодами
|
3,2
|
8
|
20,8
|
0,04
|
0,2
|
168
|
703,4
|
|
Вершкове в шоколадній глазурі
|
3,2
|
20,3
|
19,4
|
0,12
|
0,21
|
272,7
|
1142
|
|
Пломбір
|
3,7
|
15
|
20,4
|
0,09
|
0,21
|
231,4
|
968,8
|
|
Пломбір шоколадний
|
3,6
|
15,2
|
21,9
|
0,09
|
0,21
|
238,8
|
999,8
|
|
Пломбір горіховий
|
4,3
|
18,8
|
20
|
0,09
|
0,21
|
264,6
|
1108
|
|
Пломбір з плодами та ягодами
|
3,2
|
12
|
21,8
|
0.09
|
0,21
|
208
|
870,9
|
|
Пломбір в шоколадній глазурі
|
3,2
|
24,3
|
20,2
|
0,14
|
0,22
|
311,9
|
1306
|
|
Плодово-ягідне
|
0,5
|
-
|
27,2
|
-
|
-
|
110,8
|
463,9
|
|
Ароматичне
|
-
|
-
|
25
|
-
|
-
|
100
|
418,7
|
|
"Морозко" вершкове
|
3,7
|
8
|
19,4
|
0,05
|
0,2
|
164,4
|
688,3
|
|
"Морозко" пломбір
|
3,7
|
12
|
19,4
|
0,07
|
0,2
|
204,4
|
855,8
|
|
"Снежинка" молочне
|
3,5
|
2
|
23,7
|
0,1
|
0,16
|
126,8
|
530,9
|
|
"Снежинка" вершкове
|
3,5
|
5
|
22,7
|
0,03
|
0,16
|
179,8
|
752,8
|
|
"Полюс"
|
3,7
|
8
|
19,4
|
0,04
|
0,2
|
164,4
|
688,3
|
|
"Білосніжка"
|
4,4
|
-
|
23,5
|
-
|
0,14
|
111,6
|
467,2
|
Молочний жир, як відомо, у порівнянні з іншими харчовими
жирами є найбільш цінним. Він відрізняється приємним смаком, високим рівнем засвоєння,
унікальний за складом, тому що містить декілька жирних кислот, у тому числі
незамінних. Завдяки високій дисперсності молочного жиру забезпечується його легке
засвоювання організмом (легке всмоктування в кров’яні судини через стінки
тонкого шлунку), що підвищує його біологічну цінність.
Білки морозива на молочній основі представлені, головним
чином, казеїном і білками сироватки - альбуміном і b-лактоглобуліном.
Більша частина білків сироватки в морозиві знаходиться в денатурованому стані
(в результаті теплової обробки під час пастеризації суміші для морозива). Також
в морозиві присутні білки оболонок жирових кульок, які відзначаються підвищеним
вмістом незамінних амінокислот, таких як аргінін, фенілаланін і трионін. Білки
морозива (молока) є повноцінними і добре засвоюються організмом людини.
Вуглеводи в морозиві представлені, як правило, сахарозою та
лактозою. В деяких видах морозива, наприклад "Хрещатик", також, є
глюкоза. В морозиві, що містить плодово-ягідну сировину і морозиві
"Антарктида" міститься крім сахарози ще й глюкоза та фруктоза.
Вуглеводи, як відомо, є основними постачальниками енергії для організму людини.
Морозиво, також, містить важливі мікро- та макроелементи,
такі як Na, K, Сa, Mg, Cu, Fe, S, P та ін., які дуже важливі для нормального
розвитку організму.
Таким чином, харчова, біологічна і енергетична цінність
морозива визначається видом використаної сировини та вмістом в ній основних
харчових речовин, а також умовами проведення технологічного процесу його
виробництва, тобто такими його параметрами які забезпечать максимальне
збереження цих речовин.
2.1.2 Аналіз рецептурного складу і технологічного процесу виробництва
загартованого морозива
Виробництво морозива - це складний технологічний процес, що
поєднує в собі цілий ряд стадій обробки сировини і сумішей для морозива. До них
можна віднести наступні:
-
змішування і розчинення компонентів суміші для
морозива;
-
теплова обробка рідкої суміші (пастеризація), її
фільтрування;
-
гомогенізація;
-
охолодження;
-
збереження;
-
піноутворення та заморожування суміші в процесі фризерування;
-
загартовування та зберігання морозива.
Механічне змішування сухих компонентів - цукру-піску,
сухого молока, стабілізатора, емульгатора, які призначені для приготування
суміші для морозива, необхідне для полегшення процесу розчинення їх в рідкому
компоненті суміші (молоко, вода). Необхідну по рецептурі сировину підготовлюють
і вводять у змішувальну ванну в такому порядку:
- рідкі
продукти - молоко, вершки, вода, сироватка, знежирене молоко, йогурт та ін.;
-
згущені молочні продукти - молоко згущене цільне і
знежирене з цукром, згущені вершки з цукром, згущена сироватка й ін.;
-
сухі молочні продукти, цукор-пісок, какао-порошок,
яєчний порошок, плодово-ягідні й овочеві порошки, стабілізатори й ін .
Із
перелічених сухих компонентів найгірше розчиняються сухе молоко та деякі види
стабілізаторів, особливо пшеничне борошно, крохмаль, желатин, пектин. Їх
розчинення ускладнюється при вузькому рівні перемішування під час розчинення;
при низькій або занадто високий температурі рідкого компоненту, в якому
відбувається розчинення. Складнощі при цьому пояснюються тим, що сухе знежирене
молоко, стабілізатори мають високодисперсну структуру та високу гідрофільність.
Поєднання цих двох властивостей призводить при попаданні в рідину до утворення,
на межі контакту сухого гідрофільного компоненту та рідини шару злиплих
частинок сухого компоненту, який покриває велику його масу з утворенням
грудочок сухого компоненту різного розміру. Особливо це явище небезпечне при
високій температурі для крохмалю та пшеничного борошна, коли відбувається
клейстеризація крохмальних зерен та утворення водонепроникного шару на поверхні
грудочок. Тому часто застосовується взаємне, попереднє змішування сухого молока
і стабілізатора з цукром-піском, яке значно полегшує та прискорює розчинення їх
в рідкому компоненті. Крім того, одним з альтернативних рішень є використання
нових видів стабілізаторів, в яких усунено недоліки, що перешкоджають
розчиненню [1].
Із практичного досвіду відомо, що розчинення сухих
компонентів найбільш легко відбувається при температурі 35…45 °С. Процес
розчинення значно полегшується та прискорюється при збільшенні інтенсивності
перемішування.
Теплова
обробка (нагрівання) суміші здійснюється, по-перше, - для пастеризації суміші;
по-друге, - для найбільш повного розчинення компонентів суміші; по-третє, - для
можливості проведення процесу гомогенізації жировмісних сумішей; по-четверте -
для переведення в активний стан стабілізатора.
Пастеризація суміші для морозива необхідна для знищення
ферментів і патогенних мікроорганізмів, зменшення загальної кількості
мікроорганізмів в суміші, а також для запобігання небажаним біохімічним
процесам в готовій суміші. На підприємствах, що виробляють морозиво, суміш пастеризують
в апаратах безупинної дії - автоматизованих пластинчастих
пастеризаційно-охолоджувальних установках, трубчастих пастеризаторах і
пастеризаторах із барабаном, виштовхує, а також в апаратах періодичної дії -
ваннах із змієвиковою мішалкою, ваннах тривалої пастеризації, паро-варильних
казанах і т. ін. Температурні режими пастеризації лежать в межах від 70 до 95°С в
залежності від її тривалості. Такі різноманітності режимів теплової обробки
сумішей пояснюється тим, що конструктивні особливості теплообмінних установок
забезпечують різну інтенсивність обробки суміші; збільшення температури обробки
або її тривалості прискорює та інтенсифікує знищення мікроорганізмів в ній.
При нагріванні
вміст енергії в суміші для морозива підвищується. Тепловий рух частинок
компонентів і атомів в їх молекулах посилюється. Внаслідок цього під час
нагрівання всі складові частини суміші для морозива з незначною енергією
зв’язку можуть змінюватися. Найбільшим змінам піддаються білки сироватки (денатурують),
ферменти і частина вітамінів (руйнуються). Казеїн та істинно розчинні складові
змінюються незначно.
Під дією нагрівання в сумішах на молочній основі
відбуваються, по-перше, реакції меланоїноутворення, які сприяють формуванню
таких органолептичних показників морозива як аромат і забарвлення, а, по-друге,
подальша гідратація гідроколоїдів, формування адсорбційного шару молекул води
на поверхні білків та стабілізатора, що супроводжується підвищенням в’язкості
системи.
Для видалення із суміші грудочок сировини, що не
розчинилися (сухого молока, стабілізаторів й ін.), і можливих різноманітних
механічних домішок її фільтрують після розчинення компонентів і після
пастеризації.
Так як суміш сировини представляє собою грубу жирову
емульсію на наступному етапі теплової обробки її піддають гомогенізації. При
цьому відбувається подрібнення жирових кульок під дією зміни гідравлічних
швидкостей руху потоку суміші в тонкому каналі гомогенізуючого пристрою
гомогенізатора. Під час подрібнення жирових кульок значно зростає їх кількість
і на новоутворених жирових кульках формується стабілізуючий шар із білків
плазми суміші або емульгаторів та відбувається його стабілізація.
Суміші
гомогенізують при температурі, близькій до температури пастеризації, не
допускаючи охолодження сумішей. Чим більше масова частка жиру в суміші, тим
менше повинний бути тиск гомогенізації. Застосовують такі тиски гомогенізації:
при одноступінчастій гомогенізації для молочної суміші - від 125 до 150 кгс/см2,
вершкової суміші - від 100 до 125 кгс/см2, пломбіру - від 70 до 90
кгс/см2. При використанні двохступінчастого гомогенізатора тиск на
першому щаблі відповідає тиску по кожному виді суміші на одноступінчастому
гомогенізаторі, а на другій - для усіх видів суміші - від 45 до 50 кгс/см2.
Після пастеризації і гомогенізації суміш охолоджується до
температури не вище 6°С. При цьому відбувається два важливих процеси підготовки
суміші до фризерування. По-перше, відбувається кристалізація частини молочного
жиру - близько 40 %. По-друге, відбувається гідратація гідроколоїдів, в тому
числі молочних білків і стабілізаторів, які були використані для приготування
суміші, наслідком чого є підвищення в’язкості сумішей. Кількість утриманої
вологи при цьому залежить від виду та властивостей стабілізатора, а точніше від
його вологоутримуючої здатності (ВУЗ).
Фризерування - основний процес виробництва морозива, при
здійсненні якого відбувається часткове заморожування і насичення сумішей
повітрям, що у продукті розподіляються у вигляді дрібних пухирців. У процесі фризерування
суміші утворюється структура морозива, що остаточно формується при наступній
холодильній обробці продукту.
Для фризерування використовують фризери періодичної та
безупинної дії. Повітря в суміш вробляється в циліндрі фризера шляхом її
збивання збивально-перемішуючою частиною фризера. Суміш для морозива і повітря
одночасно подаються насосом в циліндр фризера, який має робочий вал, що виконує
збивальну та зрізаюче-перемішувальну функції.
Механізм утворення кульки піни полягає у формуванні
адсорбційного шару на міжфазній поверхні газоподібного включення (повітря) в
рідкому середовищі, що містить поверхнево-активні речовини. Швидкість формування
такого шару визначається швидкістю дифузії молекул поверхнево-активних речовин
із глибини фази розчину до поверхні включення. Піноутворююча здатність сумішей
для морозива залежить як від вмісту, так і від складу сухих речовин, виду
використаного стабілізатора, температури, в’язкості, поверхневого натягу,
кислотності (рН) та інших факторів. Здатність сумішей для морозива утворювати
пінну структуру обумовлена наявністю в їх складі поверхнево-активних речовин. В
ролі поверхнево-активних речовин в сумішах для морозива виступають молочні
білки, стабілізатори та емульгатори, які мають неполярні (олеофільні) групи, що розташовані асиметрично відносно
полярних гідрофільних груп. Поверхнево-активні речовини переходять з фази
розчину суміші на межу розділу фаз повітря/суміш. Жирові кульки, при цьому,
орієнтуються частково навколо повітряних кульок у вигляді ланцюжків в незамерзлій
частині морозива. В процесі фризерування жировмісних сумішей для морозива
відбувається дестабілізація (руйнування оболонок) молочного жиру під дією
інтенсивного перемішування суміші мішалкою і часткової кристалізації жиру в
кульках. Частина жиру може бути видавленою із жирової кульки. Рідкий жир
прикріплюється до зовнішньої поверхні оболонок, і коли до такої жирової кульки
наближаються інші жирові кульки, всі ці жирові кульки з’єднуються
(агломеруються) між собою. Вільний рідкий жир, який може утворюватися при
послідуючому деемульгуванні, сорбується на поверхні повітряних кульок, при
послідуючому охолодженні твердіє і утворює міцний каркас навколо повітряної
кульки [1,3, 4].
Наступним етапом при фризеруванні сумішей, є перетворення в
фазі розчину. Волога, яка є розчинником всіх розчинних складових суміші для
морозива, при зниженні температури нижче кріоскопічної підлягає фазовому
перетворенню - перетворюється на лід. Частка вологи, що підлягає вимерзанню під
час фризерування і послідуючого загартовування різна для різних видів морозива
і визначається їх складом - масовою часткою вільної вологи (залежить від ВУЗ
стабілізатора та інших компонентів) та концентрацією розчинених в ній речовин.
Паралельно з процесом вимерзання вологи в морозиві на
молочній основі відбувається один із важливих фізичних процесів - фазові зміни
лактози, тобто формування її кристалів (від 10 до 70 мкм), яке залежить від
концентрації останньої в розчині. Підвищення концентрації лактози призведе до
прискорення утворення центрів кристалізації та інтенсифікації процесу в цілому.
З цього випливає, що вимерзання води та лактози пов’язані між собою, тобто
обидва залежать від якісного та кількісного вмісту вологоутримуючих речовин. А
чим менші їх кристали та більш рівномірно вони розповсюджені у загальній масі
морозива, тим краще його якість.
У виробництві загартованого морозива продукт після
фризерування піддають подальшому заморожуванню (загартовуванню), намагаючись наблизити
температуру морозива до температури камери схову (-18...-20°С) і
нижче. Цей процес варто проводити в максимально короткий термін, щоб не
припустити істотного збільшення розмірів кристалів льоду, які утворилися під
час фризерування. Цей процес призводить до ще більшого концентрування лактози в
розчині, зростання кількості великих кристалів, прискорення їх росту і появі
вад борошнистість та пісчанистість.
Існують принципові відмінності при виробництві м’якого та
загартованого морозива. У фризерах для м’якого морозива суміш та готове морозиво
знаходяться значно довше і тому підлягає більш тривалій механічній дії, чим у
фризерах для загартованого морозива. Тому при його приготуванні та зберіганні
найбільш ймовірне виникнення пороків, обумовлене збільшенням жирових часточок.
Дестабілізації та деемульгуванню жиру сприяють також тривалий вплив низьких
температур та порівняно невелика збитість [5]. Незважаючи на рухливу стійкість
структури м’якого морозива, вміст стабілізатора в ньому, передбачений
рецептурою, набагато менший ніж у загартованому (табл.2.2).
Суміші морозива є складними
системами. В їх водній фазі (60...70% від маси сумішей) знаходиться декілька
складових частин, які відрізняються не тільки розмірами часточок, а й хімічним
складом. Це такі, як солі органічних та неорганічних кислот, сахароза, лактоза,
сечовина, молочні білки, стабілізатори та жирові включення. Згідно з
класифікацією за агрегатним станом в залежності від температури морозиво можна
розглядати як емульсію або суспензію молочного жиру та як концентровану
емульсію газу у воді, тобто піну [1].
Таблиця 2.2 - Вміст стабілізатора в
м’якому та загартованому морозиві [6]
|
Найменування морозива
|
Вміст стабілізатора в морозиві, %
|
|
загартованому
|
м’якому
|
|
Молочне
|
3
|
0,3
|
|
Вершкове
|
3
|
0,3
|
|
Пломбір
|
3
|
0,3
|
|
Фруктово-ягідне
|
4-5
|
0,6-1
|
|
Ароматичне
|
5-7
|
0,5-1
|
|
Аматорські види
|
3-5
|
0,5-1
|
Для отримання таких систем необхідне використання певної
сировини, яку умовно можна розділити на основну та допоміжну (смако-ароматичні
та функціональні добавки). З основної сировини частіше за все використовують
молоко та молочні продукти, рідкіше - плодово-ягідні та овочеві пюре, соки,
яйця, рослинні жири та ін.
Аналіз ринку показав, що не зважаючи на широкий асортимент
морозива, представлений сучасним зарубіжним та вітчизняним виробником, його
склад базується на класичних рецептурах традиційних видів морозива – молочного,
вершкового, пломбіру, плодово-ягідного (табл. 2.3, 2.4).
Таблиця 2.3 - Рецептури молочного, вершкового морозива та
пломбіру (в кг на 1т) [6]
|
Найменування сировини
|
Найменування морозива
|
|
Молочне
|
Вершкове
|
Пломбір
|
|
Молоко коров’яче незбиране (жир 3,2%, сомо 8%)
|
684
|
25
|
480
|
|
Масло коров’яче несолоне (жир 82,5%)
|
15,9
|
-
|
131,5
|
|
Молоко нежирне згущене з цукром (сомо 26%, цукор
буряковий 44%)
|
174,2
|
331,2
|
-
|
|
Молоко незбиране згущене з цукром (жир 8,5%, сомо
20%, цукор буряковий 43,5%)
|
-
|
-
|
308
|
|
Вершки з коров’ячого молока (жир 40%, сомо 4,8%)
|
-
|
248
|
-
|
|
Цукор буряковий
|
83,4
|
14,3
|
26,1
|
|
Агар
|
3
|
3
|
3
|
|
Вода питна
|
39,5
|
378,5
|
51,4
|
Таблиця
2.4 - Рецептури деяких видів плодово-ягідного морозива (в кг на 1т) [6]
|
Найменування сировини
|
Морозиво
|
|
із суниці , полуниці,
малини
|
з чорниці,
голубиці
|
з журавлини
|
з лимону
|
|
1
|
2
|
3
|
4
|
5
|
6
|
|
Пюре та сік із суниці, полу ниці, малини (сухі
речовини 10%, кислотність 200оТ)
|
300
|
-
|
-
|
-
|
-
|
|
Пюре та сік з винограду (сухі речовини 16%,
кислотність 100оТ)
|
-
|
250
|
-
|
-
|
-
|
|
Пюре та сік з чорниці, голубиці (сухі речовини
10-12%, кислотність 200оТ)
|
-
|
-
|
200
|
-
|
-
|
|
Пюре та сік із журавлини (сухі речовини 6%, кислотність
450°Т)
|
-
|
-
|
-
|
150
|
|
|
Пюре та сок з лимонів (сухі
речовини 10,5%, кислотність 900оТ)
|
-
|
-
|
-
|
-
|
77
|
|
Цукор буряковий
|
240
|
240
|
240
|
240
|
240
|
|
Те ж додатково для приготування
інвертного сиропу
|
80
|
80
|
80
|
80
|
80
|
|
Агар
|
4
|
5
|
5
|
5
|
5,5
|
|
Кислота лимонна харчова
|
0,64
|
2,88
|
1,92
|
0,16
|
-
|
|
Вода питна
|
375,36
|
422,12
|
473,08
|
524,85
|
597,5
|
Аналізуючи рецептурний склад треба сказати, що за
кількісним складом найважливішим компонентом в морозиві є молоко та молочні
продукти, що пояснюється вмістом в них молочного білку, який відіграє у
технологічному процесі певну роль. По-перше, під час гомогенізації він утворює
емульсію жирових кульок та стабілізує її до повного охолодження. При витримці
суміші білок десорбує з поверхні частинок жиру, після чого частинки білка
стають більш гідратованими та разом зі стабілізатором підвищують в’язкість
суміші. По-друге, під час фризерування молочний білок сприяє насиченню суміші
повітрям та її стабілізації за рахунок реалізації його поверхнево-активних
властивостей, обумовлених вмістом гідрофільних та гідрофобних груп [4].
Жири впливають на формування органолептичних показників
морозива, таких як смак та консистенція, у першу чергу. Вони, також,
стабілізують повітряні пухирці під час загартовування та зберігання морозива.
Але надмірний вміст жиру у морозиві погіршує збитість. (Зі збільшенням
дисперсності повітряних пухирців стінки повітряних чарунок стають тонкішими та
лопаються. Присутність жиру послаблює стінки, тому що зчеплення між жиром та
плазмою менше ніж між частинками плазми).
Цукор формує смак морозива, знижує його кріоскопічну
температуру, впливає на консистенцію морозива – робить його більш еластичним.
Важливою складовою морозива є стабілізатор. Хоча вміст його
в морозиві невеликий, він відіграє значну роль на всіх етапах технологічного
процесу та в значній мірі сприяє як формуванню, так і стабілізації структури
морозива протягом зберігання.
Встановлено, що стабілізатор у розчині утворює біополімерну
плівку різноманітного характеру, а разом зі структурними елементами харчових
продуктів (білками та полісахаридами) – комплекси біополімерів типу мембран,
які і є основою для формування структури морозива [7].
З огляду на вищесказане, аналіз рецептур та технологій
виробництва морозива для запропонування шляхів їх удосконалення доречно зробити
за допомогою горизонтальної декомпозиції зі знаходженням у ній проблемного
елементу (рис. 2.4) [8].
З рисунку можна побачити, що якість морозива обумовлюють
властивості його складових речовин, які здатні утворювати структуру морозива за
зберігати її протягом часу. Головна роль серед цих речовин належить
стабілізаторам, тому що вони безпосередньо впливають на характер перебігу
багатьох процесів під час виготовлення морозива та його зберігання, таких, як,
наприклад, зв’язування та вимерзання вологи, кристалізація лактози, агломерація
та коалесценція жиру, насичення суміші морозива повітрям й ін. Але
стабілізатори, які використовують при виробництві морозива зараз, мають суттєві
недоліки (висока собівартість, важкоємність отримання, хімічна природа, низька
стабілізуюча дія), що дозволяє вважати їх проблемним елементом в системі
“Морозиво”. Це обумовлює необхідність аналізу функціональних властивостей
стабілізаторів, виявлення вад, пошук та дослідження нових речовин, які б могли
використовуватись в якості альтернативи добре відомим. Крім того для кожного
конкретного виду морозива роль стабілізатора може бути скорегована та серед
його функціональних властивостей повинні бути відібрані лише необхідні. Тому
незважаючи на те, що морозиво досить відомий продукт харчування, питання
підбору та використання стабілізаторів є досить актуальним та потребує більш
детального вивчення, що і пропонується зробити в наступному розділі.

2.1.3 Роль стабілізаторів у формуванні якості м’якого та
загартованого морозива
При виробництві морозива - продукту, що повинен визначатися
особливими структурно-механічними та смаковими властивостями окрім основної
сировини, виникає необхідність у використанні різних добавок, які повинні
забезпечувати в готовому морозиві бажані фізичні та органолептичні показники.
За призначенням всі добавки, які використовуються для виробництва морозива,
можна розділити на два види. Перші - ті, які призначені для утворення в
готовому морозиві бажаного забарвлення, аромату та смаку. До них відносяться:
барвники, підсилювачі смаку і аромату, підсолоджувачі, регулятори кислотності.
Другі - ті, які призначенні для забезпечення певних технологічних властивостей
в сумішах для морозива та бажаних фізичних структурно-механічних показників
готового морозива. Ця група включає емульгатори і стабілізатори.
Слід відзначити, що стабілізатори та емульгатори відіграють
особливу технологічну роль у морозиві (табл. 2.5). Без їх застосування
неможливе виробництво високоякісного продукту. Це обумовлено специфічністю
технології морозива.
Таблиця 2.5 - Роль
стабілізаторів у формуванні якості м’якого та загартованого морозива
|
Найменування етапу технологічного процесу
|
Параметри
|
Роль стабілізаторів у
формуванні якості н/ф та/або готової
продукції
|
t, 0C
|
Тривалість
|
|
1
|
2
|
3
|
4
|
|
Приготування
рецептурної суміші:
Змішування
Пастеризація
|
35…45
70…85
|
15…20 хв
30 хв...30 с
|
Гідратація
гідроколоїдів, формування адсорбційного шару молекул води на поверхні
стабілізатора, що супроводжується підвищенням в’язкості системи
|
|
Гомогенізація
|
80…85
|
3…5 с
|
Створення тонкодисперсної
емульсії та її стабілізація за рахунок формування адсорбційного шару на
поверхні розділу фаз вода/масло
|
|
Охолодження
|
4…6
|
30…60 хв
|
Формування необхідних технологічних властивостей:
в’язкості, співвідношення вільної та зв’язаної води, кріоскопічної
температури та ін.
|
|
Фризерування
|
-6…-4
|
10…15 хв
|
Створення пінної структури за рахунок реалізації
поверхнево-активних властивостей гідроколоїдів ( формування адсорбційного
шару на між фазній поверхні газоподібного включення в рідкому середовищі), зв’язування
вільної вологи
|
|
Загартовування
|
-45…-40
|
4…6 год
|
Стабілізація пінної структури за рахунок фазового
перетворення вода-лід, підвищення в’язкості, яке протидіє агломеруванню та
коалісценції жиру
|
|
Зберігання та реалізація
|
-22…-20
|
1,5…3 міс
|
Регулювання співвідношення
вільної та зв’язаної води, оптимального
гранулометрування складу кристалів лактози, льоду
|
Згідно ТУ У
46.39.096-96 "Морозиво" при виробництві морозива використовують такі
види стабілізаторів [2]:
-
агар харчовий згідно з ГОСТ 16280;
-
агароїд кондитерський згідно з ТУ 15-04-454;
-
альгінат натрію харчовий згідно з ТУ 15-544;
-
желатин харчовий згідно з ГОСТ 11293;
-
желатин харчовий для кондитерської промисловості
згідно з ТУ 10-02-01-21 та інші, що дозволені до застосування Міністерством
охорони здоров’я України;
-
крохмаль желюючий, згідно з ОСТ 10-237;
-
крохмаль картопляний, окрім другого сорту, згідно з
ГОСТ 7699 або окислений желюючий харчовий згідно з ТУ 10-04-08-31, або
карбоксіметиловий чи окислений харчовий згідно з діючою документацією;
-
крохмаль кукурудзяний згідно з ГОСТ 7697 (тільки
для морозива "Сніжинка") або окислений харчовий згідно з ТУ
10-04-08-17, або згідно з діючою документацією;
-
крохмаль тапіоковий желюючий згідно з ТУ
10-04-08-33 або окислений харчовий згідно з ТУ 10-04-08-40;
-
казеїнат натрію згідно з ТУ 49 721;
-
каррагенан харчовий згідно з ТУ 15-04-536;
-
метилцелюлоза водорозчинна згідно з діючою
документацією;
-
мука пшенична хлібопекарна вищого сорту згідно з
ГОСТ 26574;
-
пектин згідно з ГОСТ 29186;
-
пектин харчовий сухий бурячний згідно з ОСТ 18-62.
Деякі з них мають суттєві недоліки, вивчення яких дозволить
обґрунтувати доречність їх використання в технологічному процесі та
запропонувати шляхи покращення якості готового виробу.
Агар - високополімерна сполука типу полісахаридів, яка має
ланцюгоподібну молекулу. Окремі ланки молекули складаються із залишків
галактози. Не розчинний в холодній воді, але набрякає як колоїд обмеженого
набрякання. В гарячій воді ( t>90°С ) та при
кип’ятінні агар утворює колоїдний розчин з концентрацією 8%. Гарячій водний
розчин агару ( золь ) переходить при остиганні в драглі, які відрізняються
скловидним зломом. Використовують в якості стабілізатора емульсій.
Агароїд - агароподібний продукт, який отримують з багряних
водоростей роду філлофора. Він є складним полісахаридом, в основі якого
знаходиться галактоза. Агароїд погано розчинний в холодній воді та гарно в
гарячій, починаючи з 60…70 °С. Водні розчини утворюють драглі,
після охолодження до 40…45 °С, починаючи з концентрації 0,8…1 %.
ВУЗ агароїду слабша за ВУЗ агару. Желатин - драглеутворювач тваринного
походження, діючим початком якого є глютин. Останній є складною білковою
сполукою, яку отримують шляхом теплового гідролізу колагену, або осеїну, який
міститься в шкурах, хрящах та кістках наземних тварин. В холодній воді желатин
набрякає, поглинає при кімнатній температурі 10…15-кратну кількість води, перетворюючись
поступово на гель. В гарячій воді желатин легкорозчинний. При остиганні
гарячого розчину він перетворюється на драглі. Водні драглі желатина мають
здатність до розплавлення при нагріванні та відновленню драглистої структури
при охолодженні. Драглі желатина дуже чутливі до температури, при нагріванні їх
вище 60°С здатність до драглеутворення желатина зменшується.
Пектин - є складовою частиною фруктів, ягід та овочів,
листя, коріння та інших органів багатьох рослин. Фруктово - ягідна сировина,
яку перероблюють для виробництва фруктово-ягідного морозива містить пектин, від
якого залежить основні технологічні властивості цієї сировини - здатність до
драглеутворення. Крім пектину, який використовують в нативному вигляді, значне
розповсюдження отримали препарати пектину, який виділяють з сировини, яка
містить пектин. Пектин - суміш речовин вуглеводного характеру
(полігалактуронове ядро, яке складається із залишків галактуронової кислоти,
з’єднаних між собою у відкритому ланцюгу головних валентностей пектинової
молекули. Карбоксильні групи залишків галактуронової кислоти насичені
радикалами метилового спирту. Пектин легко набрякає, розчиняється в холодній та
гарячій воді. Водні розчини пектину мають високу в’язкість.
"Нормальний" метоксильований пектин (вміст
метоксильних груп не менш семи відсотків) при варці з цукром та водою утворює
стійкі драглі. Температура драглоутворення пектино-цукристого розчину
коливається в межах 65…75 °С. Особливістю неметоксилоьваних
пектинів є те, що вони можуть утворювати драглі з невеликою кількістю цукру або
драглі з іонами полівалентних металів без цукру.
Пектин відрізняється від агару чутливістю до нагрівання,
особливо при температурі вище за 70 °С. Підвищення температури
збільшення строку нагрівання суміші з пектином призводять до деполімерізації
пектину, розриву ланцюгу пектинової молекули, яке визиває послаблення
властивостей пектину. Пектин використовують як емульгатор, стабілізатор піни та
вологоутримуючу речовину.
Вищеперелічені речовини є гарними драглеутворювачами,
причому свої властивості вони починають проявляти при дуже малих концентраціях.
Так, наприклад, для желатина це – 2 %, пектину – 3 %, агару та агароїду –
0,2-0,3 %. Приблизно таким і є їх вміст у сумішах для морозива, технологічний
процес виробництва якого передбачає охолодження рецептурної суміші до 2…4 °С, фризерування
(t=–2...-4 °С) та її загартовування ( t=-18...-20°С) . Неважко
уявити, що суміш, яка надходить до фризеру, являє собою деяку сформовану
драглисту структуру, оптимальні умови для утворення якої знаходяться у межах
умов охолодження. При її подальшій обробці відбувається механічне руйнування
драглів під дією робочих органів фризеру. Наслідками цього процесу є різке
зниження ВУЗ стабілізатора, а готовий виріб при цьому має низьку збитість, тому
що сформована структура протидіє насиченню суміші повітрям. При загартовуванні,
а точніше при зниженні температури вже до –2…(-4)°С у
желатинових драглів спостерігається процес старіння з помітним синерезисом.
Альгінова кислота та її похідні
Альгінову кислоту отримують з бурих водоростей виду
ламінарія дігітата, ламінарія клоустоні та роду фуксів. Вона являє собою
продукт полімерізації, який складається з ангідрідних залишків d-мануронової
кислоти. Альгінат Na використовують в якості стабілізатора та емульгатора
сумішей морозива [6].
Стосовно інших стабілізаторів, треба сказати, що їх
непридатність обумовлена невеликим вибором їх функціональних можливостей. Так,
наприклад, каррагенан (драглеутворююча речовина, яку отримують з багряних
водоростей виду хондрус криспус і гігартину стеллату та ін. Він містить
каррагенін, який є сірнокислим ефіром полісахариду, який складається з залишків
галактози. До складу каррагеніну входять m та l- каррагенін.
Перший і є драглеутворювачем.) має гарну ВУЗ, є емульгатором , але не має
здатності до піноутворення. Ще гіршим є крохмаль та мука, які мають серед усіх
необхідних властивостей лише здатність до згущування суміші .
Аналіз цих факторів обумовлює пошук та впровадження нових
видів стабілізаторів, емульгаторів та стабілізаційних систем, використання яких
дозволить спростити технологічний процес виробництва морозива та отримати
продукт стабільно високої якості.
2.1.4 Огляд сучасного ринку стабілізаторів та їх
використання у технологічному процесі
В останні роки велику увагу приділяють функціональним
системам, які містять декілька компонентів - стабілізаторів високої якості (
емульгаторів, гідроколоїдів). Їх якісний склад, співвідношення компонентів
можуть бути різноманітними, що залежать від виду морозива його консистенції,
технології отримання, умов зберігання, способу реалізації. Основні переваги
таких систем - покращення в’язкості, стабільності, структури, текстури, якості
емульсії, хімічних, фізичних та органолептичних властивостей всих типів
кінцевих продуктів.
Стабілізуючі системи базуються на сумішах декількох
наступних емульгаторів та гідроколоїдів:
Емульгатори - моно- і дігліцеріди жирних кислот, ефіри
моно- і дігліцеріди жирних кислот, ефіри сахарози, білки тваринного та
рослинного походження. Емульгатори сприяють зниженню поверхневого натягу між
масляною та водною фазами, при чому отримують стабільну емульсію.
Гідроколоїди можливо формально розділити на дві категорії:
- загусники: крохмаль, КМЦ, мамедь рожкового дерева,
гуарова камедь, ксантанова камедь, аравійська камедь. Ці продукти є справжніми
"камедями " з дуже високим ступенем зв’язування вологи,
гідроколоїдами з сильною здатністю до згущування та різноманітним рівнем
стабілізуючої активності.
- жилюючі речовини: агар - агар, тваринний желатин, каррагенан,
пектин, альгінат натрію. Ці речовини також є гідроколоїдами з довгим ланцюгом
полімеру та мають високу желюючу активність, яка перевищує їх здатність до
загущування, а також з різний рівень стабілізуючої дії [9, 10].
Основні функції таких систем полягають у здатності
диспергувати жирові частинки в суміші; зменшувати електричний заряд частинок
жиру, який виникає внаслідок вмісту в системі білку, і тим самим впливає на
процеси агломерації та коалесценції жиру; покращувати здатність морозива до
насичення повітрям; забезпечувати так звану сухість екструзії; покращувати опір
морозива таненню; протидіяти утворенню осаду, зв’язувати вологу.
Вологозв’язувальний ефект доповняється ефектом фіксації води внаслідок
взаємодії між молекулами стабілізатора та/або між молекулами стабілізатора і
білка [11].
Комплексні
стабілізатори-емульгатори у виробництві морозива почали використовувати у
зв’язку з технічним переобладнанням вітчизняних підприємств. Перші
постачальники обладнання на ринок – фірми “Марк” (Італія) та “Хокер” (Данія)
заявили, що гарантувати роботу свого обладнання вони можуть тільки при умовах
використання стабілізаційних систем. Асортимент їх дуже широкий і залежить від
якісного та кількісного складу, що дозволяє використовувати іх для продуктів з
різною масовою часткою жиру, кислотністю, які відрізняються за способом
приготування (екструзійний, на ескомогенераторах та ін.), видом фасування
(брикети, стаканчики та ін.), способом загартовування та умовами зберігання
(табл. 2.6. Як можна побачити з таблиці 2.6, виробниками стабілізаційних
системи є різні держави Європи та Америки. Нажаль, серед їх числа немає
вітчизняного виробника. Тому тепер, коли пропозиція морозива набагато перевищує
попит, українським виробникам на світовому ринку дозволить «вижити» лише стабільно
висока якість морозива, але не за рахунок використання дорогих імпортних
компонентів, а за рахунок розробки власного продукту.
Огляд літературних даних з питання використання
стабілізаторів у виробництві морозива дозволив зробити наступні висновки.
Морозиво – це складна високо функціональна дисперсна система, яка у певних
співвідношеннях містить складові частини основної сировини, цукру,
смако-ароматичні речовини, стабілізатор. Основний об’єм морозива (близько 50 %)
складають пухирці повітря, близько 1/3 об’єму – кристали льоду, близько 5% -
жирові кульки. Все інше складає так звана плазма – дисперсне середовище, яке
містить вище перелічені речовини. Склад плазми визначає якість морозива. Вода,
яка є її основою, підрозділяється на вільну та зв’язану. Вільна вода схильна до
вимерзання з утворенням кристалів льоду, утворення якого більше деякої
кількості призводить до погрублення структури морозива у той час як основна
частина зв’язаної вологи вимерзанню не підлягає. Співвідношення вільної та
зв’язаної вологи можна регулювати за допомогою загусників та стабілізаторів.
Недостатня ефективність стабілізаторів, як і їх надмірна кількість можуть бути
причинами деяких пороків структури морозива, наприклад, сніжистої та
пластівцевої структури.

Таблиця 2.6 Огляд сучасного ринку стабілізаторів, стабілізаторів-емульгаторів
та стабілізаційних систем
Частина
жирових кульок розподілена в морозиві хаотично, інша частина повиває пухирці
повітря, що перешкоджає їх поєднанню та стабілізує структуру морозива. Самі
жирові кульки вкриті оболонкою з білкових молекул. Кристали льоду можуть
проривати цю оболонку, що дозволяє кулькам утворювати скупчення. Цей процес має
назву деемульгування. Якщо демульгованого жиру не досить, морозиво не буде мати
необхідну властивість зберігати форму. У той же час зайве деемульгування
призводить до утворення великих агломератів жиру та появі пороків структури.
Регулювання частки демульгованого жиру здійснюється за допомогою емульгаторів.
Таким чином, створення оптимальної структури морозива
можливе лише при використанні підібраної системи високоефективних
стабілізаторів, емульгаторів та загусників, тобто так званих стабілізаційних систем.
Розробка таких систем з оптимальним співвідношенням ціни, дозування та
технологічних характеристик дозволить кількісно та якісно змінювати набір
сировини для морозива, випускати низькокалорійні вироби, в яких роль молочного
білку та жиру грають складові стабілізаційних систем, впроваджувати у
виробництво суміші для швидкого приготування м’якого та загартованого морозива,
спрощувати технологічний процес виробництва в цілому та отримувати морозиво
високої якості. Але так як на сьогоднішній день в Україні немає аналогу такому
продукту проблема розробки стабілізаційних систем з широким набором
функціональних властивостей для різноманітних видів морозива є досить
актуальною і потребує уваги.
Метою дослідження є розробка рецептури
та технології заморожених десертів, які передбачають введення до рецептурного
складу стабілізаційної системи.
Завдання:
-
виявлення ролі стабілізаторів у формуванні якості
м’якого та загартованого морозива;
-
визначення
технологічних параметрів виробництва заморожених десертів з використанням нової
стабілізаційної системи – тиску гомогенізації суміші для морозива, температури
охолодження морозива, тривалості його фризерування, органолептичних й
фізико-хімічних показників;
-
розробка
рецептури та технологічної схеми виробництва морозива зі стабілізаційною
системою – “Умка”, “Льодовий рай”;
-
розробка
проекту технологічної карти;
-
морозиво
“Умка”, “Льодовий рай”.
2.2 ОБ’ЄКТИ, МАТЕРІАЛИ ТА МЕТОДИ
ДОСЛІДЖЕНЬ
2.2.1 Об’єкти та матеріали досліджень
При проведенні експериментальних робіт в якості об’єкту
досліджень використовували метилцелюлозу за ТУ 6-05-1875-78, натрій карбоксиметилцелюлозу
за ОСТ 6.05-386-90, камедь гуарову за сертифікатом фірми – виробника.
В якості об’єктів дослідження також використовували суміші
для морозива , а також заморожені десерти.
Сировина, що використовується при виробництві морозива, -
молоко та інші молочні рідкі й сухі продукти, вершкове масло, цукор-пісок,
плодово-овочева сировина, лимонна кислота, вода питна, функціональні та
смако-ароматичні добавки - відповідають за якістю вимогам діючої нормативної
документації.
2.2.2 Методи досліджень
Відбір проб заморожених десертів проводять для кожної
однорідної партії. Від партії беруть середню пробу у кількості 0,1-0,2% від
загальної кількості одиниць фасування. У якості середнього зразка відбирають
2-3 одиниці фасованого морозива в оригінальній упаковці; кожну одиницю
фасованого морозива досліджують окремо. Від партії тортів з морозива у якості
середнього зразка відбирають один торт. Проби суміші морозива перед її
фризеруванням у кількості 200г з кожної ванни.
Збитість висловлюють у відсотках приросту обсягу
заморожених десертів проти первісного обсягу суміші.
Визначають збитість за формулою:
, (2.1)
де
-
збитість, %;
-
обсяг суміші до її фризерування, л;
-
обсяг морозива, отриманого з даного обсягу суміші, л.
Опір таненню характеризували тривалістю часу, необхідного
для накопичування 10 мл суміші, отриманої при термостатування морозива при t=25°С.
В’язкість сумішей для заморожених десертів визначали за
допомогою віскозиметру постійних напружень ВПН - 0.2Н. В основу роботи
віскозиметру покладена властивість двухфазного асинхронного двигуна з повним
ротором, типу АДП - 362, (в діапазоні швидкостей 20 - 40 об/хв) лінійну
залежність крутного моменту, що характеризується від прикладеного до обмотки
управління двигуна електричної напруги. Величина напруги зрушення визначається
крутячим моментом електродвигуна та геометричними розмірами вимірювальних
поверхонь.
В’язкість систем, що досліджуються, розраховується за
формулою:
, (2.2)
де
-
в’язкість; Па×с;
K - постійна вимірювального вузла, Па/В;
T - період обертання, с;
U - напруга управління, В;
А - коефіцієнт форми вимірювального вузла;
Для вимірювання температур морозива користувалися
хромель-капелевими термопарами з ціною ділення не більше 0,2°С.
Температуру морозива вимірювали у 2-3 місцях упаковки ( центр, середина, край)
та обчислювали середнє значення.
При проведенні лабораторних та виробничих відпрацювань
визначали технологічні параметри рецептури і технологічного процесу виробництва
морозива за звичайними методиками [16].
Оцінка похибки експериментальних даних й величин, що
вимірюються здійснювалася згідно відповідних методик. При порівнянні
результатів експериментів враховували стандартні помилки дослідів (коефіцієнти
варіації). При цьому проводили не менше п’яти паралельних дослідів, з яких
знаходили середнє арифметичне (Y) за формулою:
,
(2.3)
де Х - сума значень кожного окремого визначення;
n - число визначень.
При обробці експериментальних даних, побудови діаграм,
графиків, таблиць користувались пакетом прикладних програм Microsoft
Office-2003: Microsoft Word, Microsoft Excel.
2.3 ОБГРУНТУВАННЯ ТА
РОЗРОБКА ТЕХНОЛОГІЧНОГО ПРОЦЕСУ ВИРОБНИЦТВА ЗАМОРОЖЕНИХ ДЕСЕРТІВ З
ВИКОРИСТАННЯМ СТАБІЛІЗАЦІЙНОЇ СИСТЕМИ
2.3.1 Обґрунтування
технологічних параметрів виробництва заморожених десертів
При технологічних
відпрацюваннях в якості досліджуваного об’єкту використовували суміші для
виробництва м’якого та загартованого морозива, технологія яких передбачає введення
стабілізаційної системи, яка містить наступні складові: метилцелюлозу, натрій карбоксиметилцелюлозу,
гуарову камедь у співвідношеннях 4,5:3,5:2,0. Доцільність використання саме цих
речовин обумовлена їх функціональними властивостями, необхідними для технологічного
процесу виробництва на молочній основі. Це такі, як піноутворююч (МЦ),
емульгувачі (NаКМЦ, гуарова камедь), загущувачі (гуарова камедь) та
стабілізуюча дія (всі вище представлені).
Вважаємо, що використання нової стабілізуючої системи потребує
вивчення та обґрунтування деяких технологічних параметрів виробництва морозива,
а саме тиску гомогенізації суміші, в’язкості суміші, збитості, опору таненню,
температури та часу загартовування тощо.
На першому етапі визначено вплив тиску гомогенізації на
в’язкість суміші для морозива з наступним вмістом стабілізатора: 0,6 % для
молочного, 0,5 % для вершкового морозива, 0,4 % для пломбіру. Важливість цього
дослідження обумовлена тим, що в’язкість суміші безпосередньо впливає на
насичення суміші повітрям, її стійкість, на кількість вимороженої вологи та ін.
На основі отриманих даних було складено певну залежність (рис.2.5).
Аналізуючи експериментальні дані, можна побачити, що в
інтервалі тиску гомогенізації, що досліджується, в’язкість суміші змінюється
наступним чином: в інтервалі від 80 до 110 кгс/см2 спостерігається
зменшення в’язкості, що пояснюється зменшенням діаметрів жирової фази суміші,
яке сприяє підвищенню рухливості водної фази суміші, більш вільному переміщенню
їх в системі. З підвищенням тиску гомогенізації ( 112-140 кгс/см2)
в’язкість суміші підвищується. Природа цього явища обумовлена хімічною природою
жиру, кульки якого при поступовому зменшенні досягають певних розмірів та
починають утворювати агломерати. Треба сказати, що характер протікання змін
однаковий як для молочної, так і для вершкової та пломбірної суміші. Різниця
полягає лише в розташуванні графіків, яке залежить знову ж таки від вмісту
жиру, який безпосередньо впливає на консистенцію суміші.
Відомо, що найбільш доцільним при виробництві морозива
вважають використання суміші, в’язкість якої складає 0,18…0,22 Па·с. Враховуючи
це, можна стверджувати, що найбільш раціональним є гомогенізація суміші при
таких параметрах:
*молочна суміш – 124...130 кгс/см2;
*вершкова суміш – 122...128 кгс/см2;
*пломбірна суміш – 118...125 кгс/см2.
Саме
ці значення тиску були використані нами в подальших дослідженнях.
Але
в’язкість – це фізико-хімічний показник, який характеризує властивості суміші
для морозива. Основними фізико-хімічними показниками, які дозволяють визначити
якість самого морозива, є збитість та опір таненню.
На
рисунках 2.5, 2.6 наведені результати експериментальних даних цих показників в
залежності від тиску гомогенізації. Встановлено, що в інтервалі тиску
гомогенізації, рекомендованому нами для обробки молочної, вершкової та
пломбірної сумішей, збитість готового виробу складає: 115…125 % для вершкового
морозива та пломбіру, 145…150 % для молочного морозива.
Такі
відмінності пояснюються щільністю суміші, тобто природою її складових
компонентів, здатністю їх чинити опір насиченню суміші повітрям, наявністю
серед їх властивостей тих, які сприяють утриманню повітряних пухирців.
Найбільше значення щільності зі складових морозива має жир, тому з підвищенням
його масової частки збитість погіршується. При збільшенні тиску гомогенізації,
наприклад, вершкової суміші спостерігається зменшення збитості, що пояснюється
утворенням жирових агломератів (дивись вище).
Опір таненню при
цьому достатньо високий : для молочного морозива – 8...12 хвилин, для
вершкового морозива – 20...23 хвилини, для пломбіру – 22...27 хвилин.
Аналізуючи отримані дані, не важко побачити, що при
збільшенні тиску гомогенізації опір таненню підвищується. Це пояснюється
зменшенням дисперсності жирових кульок, завдяки чому відбувається більш
рівномірне їх розповсюдження та утворення стійкої системи. Крім того, опір
таненню підвищується з підвищенням масової частки жиру в морозиві, що
пояснюється наступним чином. З усіх компонентів суміші найменшу температуру
перетворення на рідину має вода, тобто вона є лімітуючою в цьому процесі. Жирові
кульки за рахунок більш високої температури плавлення, створюють механічний
опір для витікання води, яка утворилася з льоду при підвищенні температури.
Таким
чином, використання нової стабілізаційної системи потребує гомогенізації суміші
при значеннях: 124...130 кгс/см2 - для молочної, 122...128 кгс/см2
- для вершкової та 118...125 кгс/см2 - для пломбірної суміші, що
дозволить отримати морозиво з високими показниками збитості та опору таненню.
Однак, як відомо, технологія загартованого морозива
передбачає заморожування його при температурі – 30 ± 2 °С. З
метою обґрунтування часу загартовування нами була визначена динаміка зміни
температур морозива при загартовуванні (рис. 2.8).
Виявлено, що на початкових стадіях загартовування
температура не змінюється, що пояснюється специфічністю складових морозива.
Так, наприклад, жир має кріопротекторні властивості, тобто перешкоджає
зменшенню температури в суміші і для їх подолання необхідний деякий час. Тому
суміш пломбірного морозива потребує більш тривалого впливу низьких температур
для отримання в глибині морозива необхідної температури, ніж вершкового та
молочного.
З огляду на експериментальні дані, нами визначено, що через
60 хв - для молочного морозива, 70 хв. - для вершкового морозива та 80 хв. -
для пломбіру температура морозива складає -25...-20 °С. Це є
достатнім для загартовування. Отримані дані досліджень дозволяють стверджувати,
що загартовування морозива треба здійснювати протягом 60-80 хв, після чого воно
може бути направлено в камеру для зберігання.

Як вказувалось вище, нова стабілізаційна система може бути
використана як в технології загартованого , так і м’якого морозива.
На рисунках 2.9 та 2.10 наведені результати досліджень
збитості та опору таненню м’якого морозива в залежності від тривалості фризерування.
Так, при фризеруванні морозива протягом 20-25 хв збитість зростає
в 2,8 - 3 рази і складає: для молочного морозива - 75-80%, для вершкового
морозива - 65-70%, для пломбіру - 60-65% . Слід відзначити, що підвищення часу фризерування
більше 20 хвилин не призводить до підвищення збитості.
Опір таненню, перш за все, має дуже важливе значення для
зберігання гарних органолептичних показників м’якого морозива, тому що воно має
високу температуру при виході з фризеру. При дослідженні опору таненню отримані
такі дані: для молочного морозива – 16...17 хв., для вершкового морозива –
18...20 хв., для пломбіру – 21...23 хв. Природа цього явища така ж, як і у
загартованого морозива.


Таким чином, фризерування суміші протягом 20 – 25 хв дозволяє
отримати морозиво, яке характеризується високими показниками збитості та опору
таненню.
На підставі експериментальних даних було складено параметричну
схему виробництва морозива (рис. 2.11). З неї можна побачити, що крім
зазначених параметрів, які впливають на якість морозива до них слід віднести ще
й такі, як технічні характеристики обладнання, якість та вид сировини,
професіоналізм виконавця та ін.
Проведені дослідження дозволили з’ясувати та обґрунтувати
деякі технологічні параметри виробництва морозива з використанням нової
стабілізаційної системи. Визначені показники покладені в основу технологічної
схеми виробництва та рецептурного складу морозива.
2.3.2 Розробка нормативної документації на загартоване морозиво
Проведенні дослідження дозволили розробити рецептуру та
обґрунтувати деякі технологічні параметри технологічного процесу виробництва
морозива.
Технологічну схема виробництва м’якого та загартованого
морозива з використанням стабілізаційної системи представлено на рис 2.12. З
неї можна побачити, що параметри проведення обробки суміші наведено в більш
вузьких межах, обґрунтування вибору яких здійснено у попередньому розділі. Розроблені
рецептура загартованого морозива “Умка” та м’якого морозива “Льодовий рай”
представлені у вигляді технологічних карток .
ВИСНОВКИ ПО РОЗДІЛУ
1. Проведено аналіз та
сучасних тенденцій розвитку асортименту загартованого морозива та визначено
технологію його виробництва. Складено загальну класифікаційну схему морозива,
що виробляється в Україні;
2. Проведено аналіз та
встановлено харчову та біологічну цінність заморожених десертів. Визначено
спрямованість продукції на споживчому ринку України;
3. Проведено аналіз рецептурного складу та технології
виробництва загартованого морозива;
4. Проведено аналіз стабілізаторів у формуванні якості
загартованого морозива. Визначено їхню роль у виробництві морозива;
5. Проведено огляд сучасного ринку стабілізаторів та їх використання
у технологічному процесі виробництва морозива;
6. Обґрунтовано та
розроблено технологічний процес виробництва загартованого морозива з
використанням стабілізаційної системи;
7. Проведено
обґрунтування технологічних параметрів виробництва заморожених десертів;
8. Розроблено
нормативну документацію на загартоване морозиво
3. ТЕХНОЛОГІЧНЕ ПРОЕКТУВАННЯ
3.1 – ПРОДУКТОВИЙ РОЗРАХУНОК
При виконанні продуктового
розрахунку керуємось наказом № 387 від 29.12.84 .
Проводимо розрахунок рецептури морозива молочного з масовою часткою жиру
– 3,5 %, СЗМЗ – 10 %, цукру – 16 %
Розрахунок проводимо на 1000 кг суміші морозива. Для виробництва використовуємо молоко незбиране з масовою часткою жиру 3,2
%, СЗМЗ 8 % та в кількості 684 кг. Масло коров'яче несолоне з масовою часткою
жиру 82,5 %, молоко нежирне згущене з цукром (СЗМЗ 26 %, цукор буряковий 44 %),
цукор буряковий, агар 0,3 %.
1.
Знаходимо
кількість жиру, що вноситься з молоком 3,2 % в кількості 684 кг:
2.
Визначаємо
кількість внесеного жиру з маслом:
Кількість жиру на 1000 кг суміші 35 кг.
35 – 21,9 = 13,1 кг.
3.
Визначаємо
кількість масла:
4.
Визначаємо
кількість СЗМЗ, що внесемо з молоком:
5.
Знаходимо
кількість СЗМЗ у згущеному молоці:
Кількість СЗМЗ на 1000 кг суміші 100 кг.
100 – 54,7 = 45,3 кг.
6.
Визначаємо
кількість згущеного молока:
7.
Знайдемо
кількість цукру, що внесемо із згущеним молоком:
8.
Визначимо
загальну кількість цукру, що внесемо:
Кількість цукру на 1000 кг суміші 160 кг.
160 – 76,6 = 83,4 кг.
9.
Кількість
агару на 1000 кг суміші 3 кг.
10.
Кількість
доповнюємо водою, що становить 39,5 кг
Таблиця 3.1 - Рецептура молочного
морозива.
|
Найменування
|
К-ть, кг
|
Жир, кг
|
СЗМЗ, кг
|
Цукор, кг
|
Агар, кг
|
|
Молоко коров'яче незбиране (жир 3,2%, СЗМЗ 8%)
|
684
|
21,9
|
54,7
|
-
|
-
|
|
Масло коров'яче несолоне (жир 82,5%)
|
15,9
|
13,1
|
-
|
-
|
-
|
|
Молоко нежирне згущене з цукром (СЗМЗ26%, цукор буряковий
44%)
|
174,2
|
-
|
45,3
|
76,6
|
-
|
|
Цукор буряковий
|
83,4
|
-
|
-
|
83,4
|
-
|
|
Агар
|
3
|
-
|
-
|
-
|
3
|
|
Вода питна
|
39,5
|
-
|
-
|
-
|
-
|
|
Всього:
|
1000
|
35
|
100
|
160
|
3
|
Проводимо розрахунок рецептури морозива вершкового з масовою часткою жиру
– 10 %, СЗМЗ – 10 %, цукру – 16 %.
Розрахунок проводимо на 1000 кг суміші морозива. Для виробництва використовуємо молоко незбиране з масовою часткою жиру 3,2
%, СЗМЗ 8 % та в кількості 25 кг. Вершки з коров'ячого
молока (жир 40 %, СЗМЗ 4,8 %),
молоко нежирне згущене з цукром (СЗМЗ 26 %, цукор буряковий 44 %), цукор буряковий,
агар 0,3 %.
1.
Знаходимо кількість жиру,
що вноситься з молоком 3,2 % в кількості 25 кг:
2.
Визначаємо кількість
внесеного жиру з вершками:
Кількість жиру на 1000 кг суміші 100 кг.
100 – 0,8 = 99,2 кг.
3.
Визначаємо кількість
вершків:
4.
Визначаємо кількість СЗМЗ,
що внесемо з молоком:
5.
Визначаємо кількість СЗМЗ,
що внесемо з вершками:
6.
Знаходимо кількість СЗМЗ у
згущеному молоці:
Кількість СЗМЗ на 1000 кг суміші 100 кг.
100 – 2 – 11,9 = 86,1 кг.
7.
Визначаємо кількість
згущеного молока:
8.
Знайдемо кількість цукру,
що внесемо із згущеним молоком:
9.
Визначимо загальну
кількість цукру, що внесемо:
Кількість цукру на 1000 кг суміші 160 кг.
160 – 145,7 = 14,3 кг.
10. Кількість агару на 1000 кг суміші 3 кг.
11.
Кількість
доповнюємо водою, що становить 378,5 кг.
Таблиця 3.2 – Рецептура вершкового
морозива.
|
Найменування
|
Кількість, кг
|
Жир, кг
|
СЗМЗ, кг
|
Цукор, кг
|
|
Молоко коров'яче незбиране (жир 3,2 %, СЗМЗ 8 %)
|
25
|
0,8
|
2
|
-
|
-
|
|
Вершки з коров'ячого молока (жир 40%, СЗМЗ 4,8 %)
|
248
|
99,2
|
11,9
|
-
|
-
|
|
Молоко нежирне згущене з цукром (СЗМЗ 26 %, цукор
буряковий 44 %)
|
331,2
|
-
|
86,1
|
145,7
|
-
|
|
Цукор буряковий
|
14,3
|
-
|
-
|
14,3
|
-
|
|
Агар
|
3
|
-
|
-
|
-
|
3
|
|
Вода питна
|
378,5
|
-
|
-
|
-
|
-
|
|
Всього:
|
1000
|
100
|
100
|
160
|
3
|
Проводимо розрахунок рецептури морозива «Умка» з масовою часткою жиру –
10 %, СЗМЗ – 11,2 %, цукру – 14,5 %.
Розрахунок проводимо на 1000 кг суміші морозива. Для виробництва використовуємо молоко сухе коров’яче незбиране з масовою
часткою жиру 21 %, вологи 4 % та в кількості 82 кг, масло селянське (жир 72,5 %), молоко сухе коров’яче знежирене з масовою часткою вологи 5 %,
олія рослинна в кількості 25 кг, емульгатор-стабілізатор 0,5 %, вершки-ваніль
0,6 %.
1.
Визначаємо
кількість жиру, що внесемо з молоком:
2.
Визначаємо кількість жиру,
що внесемо з рослинною олією:
3.
Знаходимо
кількість жиру внесеного з маслом:
Кількість жиру на 1000 кг суміші 100 кг.
100 – 25 – 17 = 58 кг
4.
Визначимо
кількість масла:
5.
Визначаємо
кількість СЗМЗ, що внесемо з молоком сухим коров’ячим незбираним 21 % в
кількості 82 кг і вологою 4 %:
82 – 4 – 17 = 61 кг
6. Знаходимо кількість СЗМЗ, що вносимо з маслом :
7. Визначаємо кількість СЗМЗ що внесемо з молоком сухим
коров’ячим знежиреним:
112 – 61 – 2 = 49 кг
8. Визначимо кількість сухого знежиреного молока:
100 – 5 = 95 %
9. Визначимо загальну кількість цукру, що внесемо:
Кількість цукру на 1000 кг суміші 145 кг.
10. Кількість емульгатора-стабілізатора на 1000 кг суміші 5 кг.
11. Кількість вершки-ваніль на 1000 кг суміші 6 кг.
12. Кількість доповнюємо водою, що
становить 605 кг
Таблиця 3.3 – Рецептура морозива «Умка»
|
Найменування
|
Кількість, кг
|
Жир, кг
|
СЗМЗ, кг
|
Цукор, кг
|
Емульгатор-стабілізатор, кг
|
Вершки-ваніль,
кг
|
|
Молоко сухе коров’яче незбиране ( жир 21 %, волога
4 % )
|
82
|
17
|
61
|
-
|
-
|
-
|
|
Молоко сухе коров’яче знежирене (волога 5 % )
|
52
|
|
49
|
-
|
-
|
-
|
|
Масло селянське (жир 72,5 %, СЗМЗ 2,5 % )
|
80
|
58
|
2
|
-
|
-
|
-
|
|
Олія рослинна (жир 99,9 % )
|
25
|
25
|
-
|
-
|
-
|
-
|
|
Цукор-пісок
|
145
|
-
|
-
|
145
|
-
|
-
|
|
Емульгатор-стабілізатор
|
5
|
-
|
-
|
-
|
5
|
-
|
|
Вершки-ваніль
|
6
|
-
|
-
|
-
|
-
|
6
|
|
Вода питна
|
605
|
-
|
-
|
-
|
-
|
-
|
|
Всього:
|
1000
|
100
|
112
|
145
|
5
|
6
|
3.2 – РОЗРАХУНОК І ПІДБІР
ТЕХНОЛОГІЧНОГО ОБЛАДНАННЯ
Для нового цеху встановлюємо
потужне обладнання згідно технологічної лінії.
Для приймання молока встановлено
два відцентрових насоси марки 1Г2-ОПД потужністю 25 т/год і ваги марки ВСЭ-600М
в кількості 2 шт. Також встановлено дві ванни до вагів. Необхідну кількість
молока при такому обладнанні можна прийняти за 2,5 – 3 год.
Для охолодження молока
використовують два охолоджувачі марки ОГІ-010 в кількості 2 шт., і два насоси
до них марки Г2 – ОПД. Тривалість охолодження становитиме близько 3,5 год.
Для резервування молока
встановлено 2 резервуари Г6ОМГ-25, місткістю 25 т кожен. Біля кожного
резервуару насос марки Г2 – ОПД.
Для підігрівання молока
використовується трубчатий підігрівач марки ПТУ-10 в кількості 1 шт.
Для змішування компонентів суміші
на морозиво використовуємо ванну Д7-ОСА-0,30. Для фільтрації використовуємо
фільтр А1-ОШФ.
Для пастеризації встановлюємо
пастеризаційно-охолоджувальну установку ОПЛ-10.
Суміш гомогенізуємо на
гомогенізаторі А1-ОГМ-1.
Визріває суміш в резервуарі
В2-ОМВ-1.
Для заморожування суміші до
температури -4…-6 °С встановлюємо фризер марки Б6-ОФШ.
Фасування проводимо на
фасувальному автоматі марки М3-ОЛВ.
Зведена таблиця необхідного
обладнання представлена в таблиці 3.4.
Таблиця 3.4. – Обладнання для виробництва морозива
|
Найменування
|
Марка
|
Потужність
(місткість)
|
Кількість
|
|
1
|
2
|
3
|
4
|
|
Насос відцентровий
|
1Г2 – ОПД
|
25 т/год
|
5
|
|
Ваги
|
ВСЭ-600М
|
600 кг
|
2
|
|
Ванна
|
-
|
-
|
2
|
|
Охолоджувач
|
ОГІ-10
|
10 т/год
|
2
|
|
Резервуар
|
Г6ОМГ-25
|
25 т
|
2
|
|
Резервуар
|
В2-ОМВ-1
|
6,3 т
|
1
|
|
Насос відцентровий
|
Г2 – ОПД
|
10 т/год
|
3
|
|
Підігрівач
|
ПТУ-10
|
10 т/год
|
1
|
|
Пастеризаційно – охолоджувальна установка
|
ОПУ-10
|
10 т/год
|
1
|
|
Гомогенізатор
|
А1-ОГМ-1
|
10 т/год
|
1
|
|
Фільтр
|
|
|
1
|
|
Фризер
|
Б6-ОФШ
|
|
1
|
|
Фасувальний автомат
|
М3-ОЛВ 6-ОФ
|
|
1
|
|
|
|
|
|
|
|
3.3 –
РОЗРАХУНОК ПЛОЩ ПРИМІЩЕНЬ
Відповідно
до діючого будівельними нормами і правилами площі виробничих будинків поділяють
на наступні основні категорії:
- робочу площу
(приміщення основного виробничого призначення) – цехи, лабораторії, термостатні
камери, камери для охолодження, різні камери і конторські приміщення, що знаходяться
у виробничих цехах;
- підсобні і
складські приміщення – бойлерна, вентиляційна, трансформаторна, компресорна,
приміщення технічного призначення, ремонтно-механічні майстерні, тарні
майстерні, камери збереження готової продукції, експедиції, склади припасів,
тари та інше;
- допоміжні
приміщення – побутові, площі заводоуправління, конструкторські бюро, приміщення
громадських організацій, культурного обслуговування та інше.
Площу цеху
визначають за формулою:
F=А×f (3.1)
де: А –
потужність цеху, т/зм;
f – питома
норма площі, м2/т
F=2×150=300
м2
Розрахунок
термостатних та холодильних камер за формулою:
F= k ×
(G/g) (3.2)
де: k –
коефіцієнт запасу площ (k=2);
G –
кількість продукту, т;
g – норма
навантаження продукту, т/м2.
F=2×
(3000/346)=17,3м2 – кожна з камер
Розрахунок
відділення приймання сировини
Сумарна
площа обладнання:
FM=48
м2
Коефіцієнт
використання площі k=0,6.
Площу
відділення розрахуємо за формулою:
FВ=
k×å F (3.3)
де: k -
коефіцієнт використання площі;
å F – сумарна
площа обладнання, м2.
FВ=
0,6×48=28,8 м2
Розрахунок
мийного відділення за нормативом
За
нормативом розрахунків приймаємо норму площі (м2) на навантаження
(кг) 2 м2/Т та 50 м2/Т
Сумарна
площа обладнання:
FM=
181,16 м2
Коефіцієнт
використання площі k=0,7.
Площа
відділення:
FВ=
181,16×0,7=126,81 м2
Розрахунок
тарного складу за нормативами
За
нормативом розрахунків приймаємо норму площі (м2) на навантаження
(кг) 6 м2/Т та 120м2
Розрахунок
камери зберігання
Площу камери
зберігання розраховують за формулою:
F=G×C/m×k
(3.4)
де: G –
кількість продукції, яка підлягає зберіганню, кг;
C – термін
зберігання, діб;
m -
укладальна маса продукту на 1м2 площі, кг;
к –
коефіцієнт використання площі.
F=0,75×4200/(150×5)=4,2м2
В нашому
випадку розраховуємо так:
F=с×G/g
(3.5)
F=0,75×4200/346=9,1м2
Розрахунок
відділення теплової та механічної обробки:
Сумарна
площа обладнання:
FБУД.=
82,7м2
Коефіцієнт
використання площі k=0,7.
Площа
відділення:
FВ=0,7×82,7=57,89м2
3.4 РОЗРАХУНОК ТЕХНІЧНИХ ТА
ДОПОМІЖНИХ ПРИМІЩЕНЬ
Площі технічних та допоміжних
приміщень прийняті за даними [30, 31].
Розрахунок приміщення
водопідготовки та майстерня
1. Зберігання витратних матеріалів
для підготовки води до виробництва:
- сіль куховарська;
- обладнання технологічне для
водопідготовки.
2. Підготовка води:
- видалення механічних домішок
методом фільтрації через фільтр;
- пом’якшення;
- видалення залишкового хлору і
органічних сполук.
Приймаємо фільтр
(500х500).
Для зберігання
очисних матеріалів (сіль – 100 кг, вугіль фільтруючий – 100 кг, смола катіон обмінна – 20 кг) встановлюємо підтоварник.
Для виконання
інструментальних робіт встановлюємо два столи-верстаки (1000х800). Для
зберігання інструменту приймаємо підвісний настінний стелаж (1000х500).
Розрахунок площі
приміщення зведено до таблицю 3.5
Таблиця 3.5 –
Обладнання прийняте до встановлення
|
Обладнання
|
Кількість
|
Площа, що ним займається
|
|
Фільтр
|
1
|
0.25
|
|
Підтоварник
|
1
|
1,2
|
|
Стіл-верстак
|
2
|
1,6
|
|
Стелаж
|
1
|
0,5
|
|
Разом:
|
|
3.55
|
Площу приміщення водопідготовки та
майстерні приймаємо 9 м2.
Машинне відділення для
охолоджувальних камер
Агрегати встановлюватимуться на дах
охолоджувальних приміщень.
3.5 – Проектування
адміністративно-побутових приміщень
Площі технічних та допоміжних
приміщень прийняті за даними [30, 31].
Розрахунок приміщень адміністрації
Кабінет директора
приймаємо рівним 5м2. У цьому приміщенні встановлюємо стіл
канцелярський (1000х600).
Контору приймаємо
рівною 7м2. В цьому приміщенні встановлюємо два столи канцелярські
(1000х600).
Розрахунок
операторської
Приміщення приймаємо
рівним 6 м2.
До встановлення
приймаємо два столи канцелярські (1000х600).
Розрахунок
роздягалень для персоналу
Проектуємо окремо
чоловічу і жіночу роздягальні по 13,5м2. В кожній роздягальні є одна
душова сітка. Для переодягнення персоналу встановлено шафи (500х330) та лавки
шириною 250 мм.
Розрахунок санвузлу
для персоналу
Для чоловіків і
жінок окремі санвузли
Кожен з них
оснащений одним рукомийником та одним унітазом.
Розрахунок
манікюрної
Розмір манікюрної
приймаємо 6м2.
До встановлення
приймаємо стіл канцелярський (1000х600), рукомийник, шафу для документації.
Розрахунок
приміщення прийому їжі персоналом
Розмір цього
приміщення приймаємо 6м2. До встановлення приймаємо два столи
(1000х600).
Розрахунок
приміщення охорони
Це
приміщення розташовується біля входу для персоналу, поруч з кабінетом директора
та конторою.
Площа
приміщення 2 м2.
Дані
розрахунків площ занесені в таблицю 3.5.
Таблиця 3.5
– Дані розрахунків площ
|
Найменування площ
|
Площа, м2
|
|
Розрахункова
|
Буд. кв.
|
|
Відділення приймання сировини
Мийне відділення
Дієт відділення
Тарний склад
Камера зберігання
Відділ теплової і механічної обробки
Відділення фасування
|
124,9
50
126,81
120
121,9
57,89
53,62
|
3,5
1
3,5
3
3
2
1,5
|
ВИСНОВКИ ПО РОЗДІЛУ
1. Проведено продуктовий
розрахунок витрат сировини на виробництво загартованого морозива. Кількість
молока, що використовується склала 709 кг;
2. Розраховано і підібрано
механічне та електричне технологічне обладнання для виробництва 3 тон морозива;
3. Розраховано необхідні площі
виробничих, складських та допоміжних приміщень: цех для виробництва морозива,
термостатні та холодильні камери, приймальне відділення сировини, камери
зберігання, приміщення адміністрації, операторської, охорони, що склала – 300 м2
4. РОЗРОБКА ЗАХОДІВ З БЕЗПЕКИ ФУНКЦІОНУВАННЯ ПІДПРИЄМСТВА
4.1 ЗАХОДИ ЩОДО ЗАБЕЗПЕЧЕННЯ ОХОРОНИ ПРАЦІ НА ПІДПРИЄМСТВІ
Головними об’єктами дослідження охорони праці є людина і процес
праці, виробниче середовище, зв’язок людини з промисловим устаткуванням, організація
праці і виробництва, організація технологічних процесів.
Мета охорони праці складається в розробці способів
забезпечення виробничої безпеки та нормування умов роботи.
У задачу охорони праці входять:
- виявлення потенційних небезпек виробництва;
- мінімізація імовірності виробничих травм чи захворювань
працюючих з одночасним забезпеченням високопродуктивних умов і безпеки праці;
- здійснення правових, організаційних, технічних і
санітарно-гігієнічних основ охорони праці та пожежної безпеки.
Закон України «Про охорону праці»
[20] затверджений 21 листопада 2002 року за № 229-ІV. Декілька разів у нього
вносились зміни. Останні зміни було внесено у листопаді 2005 року. Закон
регулює взаємовідносини роботодавців та працівників з питань безпеки, гігієни
праці та виробничого середовища. Цим Законом встановлено єдиний порядок
організації охорони праці в Україні. Розділ третій Закону присвячено власне
питанням організації охорони праці.
Важливим моментом є встановлення
та функціонування системи управління охороною праці. Для цього можна
використати «Рекомендації щодо побудови систем управління охороною праці на
виробництві», затверджені наказом МНС України 27.06.2006 №398. У цих стандартах
є також вимоги щодо виконання підприємством встановлених законодавчих вимог.
У проекті передбачений комплекс
заходів, які направлені на створення безпечних і комфортних умов праці.
Значення охорони праці полягає в
забезпеченні здорових і безпечних умов праці, що досягається оснащенням
виробництва сучасними засобами техніки безпеки, що попереджають виробничий
травматизм, і створення санітарно гігієнічних умов, що запобігають виникненню
професійних захворювань.
Для розробки мір, що забезпечують безпеку умов праці,
необхідно проаналізувати технологічний процес з погляду можливості виникнення
потенційних небезпек.
Перелік основних документів з
питань охорони праці на підприємстві
Основні документи з питань охорони
праці розробляються на підставі вимог різних нормативно-правових актів з
урахуванням специфіки виробництва та за участі відповідних фахівців підрозділів
підприємства.
На підставі передового досвіду
різних підприємств примірний перелік таких документів може складати:
1. Загальна документація.
Висновки експертизи на
спроможність підприємства виконувати роботи підвищеної небезпеки та
експлуатувати устаткування підвищеної небезпеки (Порядок видачі дозволів
Держнаглядохоронпраці і його територіальними органами, постанова КМ України від
15.10.2003 р. №1631).
Дозвіл на виконання робіт
підвищеної небезпеки та експлуатацію визначеного переліку обладнання підвищеної
небезпеки (Порядок видачі дозволів Держнаглядохоронпраці і його територіальними
органами, постанова КМ України від 15.10.2003р. №1631).
Висновки експертизи проектної
документації на будівництво і реконструкцію виробничих об’єктів і виготовлення
засобів виробництва на відповідність їх нормативним актам з охорони праці
(Порядок видачі дозволів Держнаглядохоронпраці і його територіальними органами,
постанова КМ України від 15.10.2003 р. № 1631).
Страхове свідоцтво, видане Фондом
соціального страхування від нещасних випадків на виробництві і професійних
захворювань України (Закон України «Про загальнообов’язкове державне соціальне
страхування від нещасного випадку на виробництві і професійного захворювання,
які спричинили втрату працездатності»).
Проектна та експлуатаційна
документація на технологічне оснащення (машини, механізми, устаткування) і
об’єкти підвищеної небезпеки (Порядок видачі дозволів Держнаглядохоронпраці і
його територіальними органами, постанова КМ України від 15.10.2003 р. №1631).
Дозвіл на початок роботи
підприємства, виданий органами державного пожежного нагляду (Порядок видачі
органами державного пожежного нагляду дозволу на початок роботи підприємств і
оренду приміщень, постанова КМ України від 14.02.2001 р. №150).
Колективний договір між
адміністрацією (роботодавцем) і представниками від працівників (профспілок)
(Закон України «Про колективні договори і угоди» від 01.07.1993 р.).
Положення про функціонування на
підприємстві системи управління охороною праці (Рекомендації щодо побудови
системи управління охороною праці на виробництві, наказ МНС України від
27.06.2006 р. №398).
Наказ роботодавця (керівника) про
створення служби охорони праці (або призначення відповідальної особи) з метою
забезпечення функціонування охорони праці на підприємстві (Закон України «Про
охорону праці», Типове положення про службу охорони праці на підприємстві,
наказ Держнаглядохоронпраці від 15.11.2004р. №255).
Положення про службу охорони праці
підприємства (Типове положення про службу охорони праці на підприємстві, наказ
Держнаглядохоронпраці від 15.11.2004 р. № 255).
Посадові інструкції на працівників
служби охорони праці та інших інженерно-технічних посадових осіб та
спеціалістів, де викладені основні обов’язки і права з питань забезпечення
функціонування системи охорони праці (Довідник кваліфікаційних характеристик
професій працівників, затверджений наказом Мінпраці від 29.12.2004 р. №336;
ст.13 Закону України «Про охорону праці»).
Наказ про створення комісії з
питань охорони праці підприємства (якщо ухвалено рішення про її створення)
(Типове положення про комісію з питань охорони праці підприємства, наказ
Держнаглядохоронпраці від 03.08.93 р. №72).
Накази про розробку, перегляд,
затвердження інструкцій (та інших внутрішніх нормативних документів
підприємства) з питань охорони праці на підприємстві (Порядок розробки і
затвердження власником нормативних актів про охорону праці, що діє на
підприємстві, наказ Держнаглядохоронпраці від 21.12.93 р. №132).
Інструкції з охорони праці для
працівників (за професіями або видами робіт (Положення про розробку інструкцій
з охорони праці, наказ Держнаглядохоронпраці від 29.01.98 р. №9).
Тимчасові інструкції з охорони
праці для працівників, що забезпечують безпечне проведення технологічних
процесів (робіт) і експлуатацію устаткування (застосовуються під час
впровадження нових і реконструйованих виробництв на термін, коли вказані
виробництва будуть готовими до експлуатації) (Положення про розробку інструкцій
з охороні праці, наказ Держнаглядохоронпраці від 29.01.98 р. №9).
Акт за результатами комплексної
перевірки з питань охорони праці, проведеної наглядовими органами.
Приписи інспекторів наглядових
органів за результатами оперативних або цільових перевірок та копії листів
(відповідей) про виконання виявлених недоліків.
Аудиторський висновок про
відповідність стану охорони праці на підприємстві вимогам нормативно-правових
актів.
Плани робіт служби охорони праці,
приписи за результатами оперативних та планових перевірок підрозділів.
Журнали проведення 1-го, 2-го
ступеней контролю з питань охорони праці на підприємстві (підрозділах).
Акти проведення 3-го ступеня
контролю з питань охорони праці комісією підприємства.
План комплексних заходів з охорони
праці на підприємстві (підрозділах) (ст.13, 19, 20 Закону України «Про охорону
праці»),
Витрати на охорону праці, які
відносяться до валових витрат, повинні визначатися відповідно до Переліку
заходів і засобів з охорони праці, витрати на здійснення і придбання яких
включаються у валові витрати, постанова КМ України від 27.06.2003 р. №994.
Аналіз потенційних небезпек і
виробничих шкідливостей
Аналіз виробничого процесу
підприємства, що проектується показав, що основними причинами виникнення
нещасних випадків на підприємстві можуть бути наступні:
- травми при виконанні
вантажно-розвантажувальних робіт і транспортуванні вантажів;
- поразка електричним струмом;
- неправильна експлуатація
холодильних установок і теплового обладнання;
- падіння на слизьких підлогах;
- порушення правил протипожежної
безпеки.
До виробничих шкідливостей
відносяться:
- надлишки тепла (від теплового
обладнання цеху при виробництві гарячих страв);
- інфрачервоне, теплове
випромінювання від поверхні теплового обладнання;
- знижена або підвищена швидкості
руху повітря у виробничих приміщеннях;
- підвищений виробничий шум і
вібрація (від холодильних і вентиляційних установок);
- значне вологовиділення (мийні
столового і кухонного посуду).
Основним професійними
захворюваннями, які загрожують працівникам виробництва підприємства, є
варикозне розширення вен і плоскостопості, оскільки велику частину робочого
часу (11,5 годин) вони проводять стоячи.
При проектуванні підприємства
харчування велика увага приділяється розробці заходів, що передбачають
можливість виникнення нещасних випадків на виробництві і професійних
захворювань, а також створенню сприятливих метеорологічних умов в приміщеннях,
де знаходяться люди (працівники і відвідувачі).
Профзахворювання виникають
внаслідок тривалого впливу на людину шкідливих умов праці (шум, запиленість
повітря і т. ін.).
При аналізі нещасних випадків,
головним є виявлення причин, що їх викликали.
У залежності від надлишку явного
тепла виробничі приміщення поділяються на дві категорії: приміщення зі значними
надлишками явного тепла і приміщення з незначними надлишками тепла.
Згідно з допустимими нормами
верхня межа температури на робочих місцях в ресторані встановлена 28 °С, відносна вологість повітря 40...50 %.
Для створення здорових умов праці
важливе значення має швидкість руху повітря. Це сприяє віддачі організмом тепла
у зовнішнє середовище і прискорює випаровування вологи з поверхні шкіри,
полегшуючи тим самим самопочуття людини при високій температурі і відносній
вологості повітря.
У виробничих цехах підприємства
рекомендується наступна допустима швидкість руху повітря при температурі в
робочій зоні цеху 23 °С - 0,3 м/сек., при 24 °С від 0,4 до 0,5 м/сек.
У підприємстві, що проектується,
передбачена приточно-витяжна вентиляція, призначена для видалення надмірного
тепла, водяних пар і пилу з виробничих і торгових приміщень і подачі в них
чистого повітря.
Заходи щодо забезпечення санітарної
безпеки
Державний санітарний нагляд за
додержанням санітарних правил державними органами, підприємствами, установами
та організаціями незалежно від форми їх власності, а також фізичними особами,
які займаються підприємницькою діяльністю, покладається на органи і установи
санітарно-епідеміологічного профілю Міністерства охорони здоров’я України,
відповідні установи, організації, частини і підрозділи Міністерства оборони
України, Міністерства внутрішніх справ України, Державного комітету у справах
охорони державного кордону України, Служби безпеки України (ст.31 Закону
України «Про забезпечення санітарного та епідемічного благополуччя населення»).
Нормативні посилання:
- Закон України «Про забезпечення
санітарного та епідемічного благополуччя населення»;
- ДСН 3.3.6.042-99 «Державні
санітарні норми мікроклімату виробничих приміщень» [21];
- СанПіН 2.2.7.029-99 «Гігієнічні
вимоги щодо поводження з промисловими відходами та визначення їх класу
небезпеки для здоров’я населення».
Генеральний план і територія підприємства
проектуються на основі СНіП Л. 8-71. Вказані норми проектування визначають
площу земельної дільниці під будівництво підприємства, а також розміри
господарського двора, під’їзних шляхів.
На території підприємства передбачене озеленення ділянки, огородження
господарської зони, зручні під’їзні колії, розвантажувальні площі.
У проекті даного підприємства виробничі, побутові і торгові
приміщення відповідають вимогам технологічного процесу, що протікає в них. Крім
того, таке розташування виробничих приміщень забезпечує мінімальне перетинання
потоків сировини, напівфабрикатів, готової продукції, тари, білизни.
Об’ємно-планувальні рішення приміщень враховують нормативи, що визначають обсяг
цеху на одного працівника, мінімальні розмірні співвідношення, прийняті при
розміщенні устаткування, пристрій проходів, виходів та входів.
У господарській зоні обладнані
розвантажувальний майданчик і майданчик для сміттєзбірников. Сміттєзбірники
водонепроникні з кришками, що щільно закриваються. Щодня організований вивіз
сміття і хлорування сміттєзбірників.
Зона відвідувачів відділена від
господарської зони – чагарниковими насадженнями.
Земельна дільниця для будівництва,
джерело водопостачання, системи каналізації і спуску стічних вод заздалегідь
узгоджуються з місцевими організаціями санітарного нагляду. Дільниця
передбачена на сухому місці, що не затопляється, з відносно рівною поверхнею, з
прямим сонячним освітленням і природним провітрюванням. Рівень ґрунтових вод
нижче основного підмурівка будівлі.
Матеріали, з яких виготовлені
конструктивні елементи будівлі і їх покриття, відповідають вимогам
протипожежної безпеки і виробничій санітарії. Планування приміщень проводилося
з урахуванням забезпечення сприятливого мікроклімату в приміщенні. Велика увага
також приділялася раціональному розміщенню приміщень з урахуванням технологічного
процесу.
Передбачені технологічним процесом
робочі місця організовані так, щоб не створювалося зустрічних і перехресних
рухів сировини, що обробляється, і щоб були забезпечені площею, достатньою для
установки допоміжного обладнання і інвентарю, з природним освітленням.
Для створення сприятливих
метеорологічних умов на підприємстві передбачаємо установку вентиляційних
систем.
Важливе значення при виконанні
санітарно-гігієнічних вимог на виробництві має організація освітлення приміщень
і робочих місць.
На даному підприємстві в таких
приміщеннях, як виробничі цехи, мийні столового і кухонного посуду, кабінет
директора, контора, приміщення персоналу, гардероб персоналу, передбачене
природне освітлення. У інших приміщеннях – штучне. На підприємстві передбачене
аварійне освітлення на випадок раптового відключення робочого освітлення для
евакуації людей. Воно спроектоване в торговому залі і на всіх шляхах евакуації
при пожежі або при аварії, і забезпечує освітленість робочих місць на 10 % від
номінального освітлення. Для штучного освітлення використовують лампи
розжарювання.
Для персоналу розроблені
спеціальні комплекти одягу і виробничого взуття, призначеного для профілактики
плоскостопості.
Велика увага приділена пристрою
підлоги. Підлога розташована на одному рівні без вибоїн і порогів. Для
відведення води після миття обладнання в підлозі влаштовані каналізаційні трапи
з гратчастими фільтрами.
Стіни виробничих і складських
приміщень облицьовані на висоту 1,8 м вологостійкими матеріалами, які
дозволяють проводити їх систематичне очищення і миття водою.
Двері спроектовані шириною не менш 1,2 м, якщо площа приміщення складає більш 10 м2, і не менш 0,9 м, якщо площа приміщення менш 10 м2.
Вимоги до санітарно-технічного устаткування виходять,
головним чином, з підтримки сприятливого мікроклімату в підприємстві. Температуру
в осінньо-зимовий період (опалювальний сезон) у приміщеннях підприємства
підтримують у межах норми (t=18...20°С), за допомогою водяного центрального
опалення.
Тому що виробничий процес супроводжується виділенням у
повітря робочих приміщень шкідливих для здоров’я людини газів і пар, необхідно
підтримувати чистоту повітря, що забезпечує система вентиляції.
На підприємстві, що проектується, функціонує система
центрального водопостачання. Підведення гарячої і холодної води організовано у
виробничих, побутових і торгових приміщеннях.
Для відводу стічних вод передбачено дві роздільні системи
внутрішньої каналізації: господарсько-фекальна, призначена для відводу стічних
вод від санітарних приладів, і виробнича – для відводу виробничих стічних вод.
Забезпечення безпеки роботи
торгово-технологічного і холодильного обладнання
Обслуговування та експлуатація
електроустановок здійснюється відповідно до вимог:
- Правила технічної експлуатації
електроустановок споживачів, зареєстровані Міністерством юстиції України
25.10.2006 р. №1143/13017 (введені в дію з 25.04.2007 р.);
- Правила безпечної експлуатації
електроустановок споживачів, зареєстровані Міністерством юстиції України
10.02.1998 р. за №93/2533. НПАОП 40.1 -1.21 -98 (ДНАОП 0.00-1.21-98);
- Правила експлуатації
електрозахисних засобів, зареєстровані Міністерством юстиції України 05.06.2001
р. №253. НПАОП 40.1-1.07-01 (ДНАОП 1.1.10-1.07-01);
- Правила безпечної роботи з
інструментом та пристроями, зареєстровані Міністерством юстиції України
05.06.2001 р. №252. НПАОП 0.00-1.31-01 (ДНАОП 1.1.10-1.04-01).
Спонукувані частини механічного устаткування, що
використовується на підприємствах ресторанного господарства, являють собою
значну небезпеку для обслуговуючого персоналу, тому з метою попередження
травматизму необхідно знати будівлю машин і механізмів і суворо дотримуватися
правил експлуатації і техніки безпеки.
Одним з основних завдань безпечної експлуатації механічного
устаткування є підвищення його якості. Це, насамперед, стосується його
міцності, зручності обслуговування, зборки та розбирання, а також безшумності
роботи механізмів, відсутності вібрації, надлишкової ваги знімних частин та ін.
Особливу увагу приділяють міцності і надійності кріплення
знімних частин, робочих органів до приводного валу, а також кріплення
огороджень, що необхідні для попередження аварій.
Для попередження аварій усі частини машин роблять з великим
запасом міцності в порівнянні зі звичайним навантаженням. Вимоги зручності
обслуговування машин зв’язані не тільки з полегшенням, але і з безпекою праці.
До експлуатації технологічного
обладнання приступають працівники, що пройшли навчання по програмі техмінімуму
і інструктаж.
Все обладнання (крім допоміжного),
встановлене в цехах, приєднане до електричної мережі відповідно до норм і
вимог. Корпуси технологічних машин і апаратів заземлені. Під електричними
пристроями на підлозі укладаються діелектричні килимки. На підприємстві
передбачені засоби індивідуального захисту від поразки електричним струмом:
діелектричні рукавички, діелектричні гумові боти і калоші.
При монтажі й експлуатації електротеплового устаткування
користуються «Правилами технічної експлуатації електроустановок споживачів
(ПТЕ)» і «Правилами техніки безпеки при експлуатації електроустановок
споживачів (ПТБ)».
Технологічні машини встановлено з
урахуванням мінімально допустимих відстаней між окремими одиницями обладнання у
виробничих приміщеннях. Розміщення технологічного обладнання здійснюється
відповідно до норм технологічного проектування.
При цьому передбачається
дотримання наступних умов:
- послідовність розміщення
обладнання по технологічній схемі;
- забезпечення зручності і безпеки
обслуговування і ремонту;
- максимальне природне освітлення
і надходження свіжого повітря.
При роботі з тепловим обладнанням
необхідно виконувати наступні вимоги:
- працювати можна тільки на
справному обладнанні;
- перед початком роботи перевірити
справність робочих частин;
- при роботі необхідно дотримувати
норми завантаження робочої камери, а також вказані режими роботи апарату;
- стежити за справністю
електропроводки і заземлювального пристрою;
- при замиканні електропроводки на
корпусі, негайно відключити плиту від мережі і провести ремонт;
- категорично забороняється
залишати плиту під напруженням при її санітарній обробці і ремонті.
Несправність апаратів, що включають, приладів контролю та
захисту, регулювання їх, може призвести до поразки електричним струмом, опіків
персоналу, а також до обвуглювання ізоляції проводів і пожежі в результаті
короткого замикання.
Надійна і безпечна робота холодильного
обладнання залежить від правильного вибору місця його установки (пристінне
розташування), якості монтажу, виконання правил експлуатації і техніки безпеки,
своєчасності ремонту.
Заново змонтоване і реконструйоване холодильне устаткування
приймається технічною комісією при участі представника технічної інспекції
профспілки. Апарати холодильного устаткування, що працюють під тиском, реєструються
і проходять технічний огляд у районних органах Держнадзорохоронпраці.
Апарати, що не підлягають реєстрації в органах
Держнадзорохоронпраці, реєструються й оглядаються адміністрацією підприємства
ресторанного господарства відповідно до діючого Правилами пристрою та безпечної
експлуатації апаратів, що працюють під тиском.
У період іспиту в дію уводять усі механізми, вузли та ділянки
холодильного устаткування для комплексної перевірки в роботі. Крім основних
машин і апаратів, випробують прилади автоматичного керування та контролю,
вентиляційні та допоміжні механізми й апарати.
У системі, що заповнена аміаком, місця витоку визначаються
лакмусовим індикатором, хладоном – галоїдної лампою, шукачами витоку типу ГТИ
чи розчином мильної піни.
Визначення витоку хладона за допомогою галоїдної лампи
допускається тільки в тому випадку, коли лампа наповнена чистим етиловим спиртом
чи ректифікатом пропану. Вільним кінцем гумового шланга обводять місця
з’єднання, спостерігаючи при цьому за полум’ям пальника під час витоку. Хладон,
стикаючись з розігрітою мідною поверхнею пальника, офарблює її полум’я в
зелений колір.
При прориві аміаку компресор зупиняється, аварійна ділянка
відключається від усієї системи, і включається аварійна вентиляція. Всі
операції виконуються в протигазі і гумових рукавицях.
Особлива увага приділяється стану запірної та регулюючої
арматури. Усі запірні вентилі на магістралях, що нагрівають, за винятком
запірних вентилів компресорів, пломбуються у відкритому положенні механіком
холодильного устаткування.
При зупинці компресора на тривалий час, його пуск у роботу
можна здійснювати тільки з дозволу особи, відповідальної за безпечну
експлуатацію компресорного приладу.
По закінченні монтажних робіт і
перевірки режиму охолоджування приладів автоматики складається
приймально-здавальний акт про введення обладнання в експлуатацію.
Біля холодильного обладнання
вивішується інструкція по обслуговуванню і експлуатації холодильної установки.
З персоналом підприємства проводиться інструктаж за правилами експлуатації
холодильного обладнання.
Персонал, що допускається до обслуговування холодильного
устаткування, повинний знати: пристрій, принцип роботи і правила безпечної
експлуатації холодильного устаткування, характеристику і властивості
холодоагентів, фізичні процеси виробництва холоду, режим роботи холодильного
устаткування, правила його ремонту, зарядки, електромонтажні роботи в обсязі
знань електромонтера-ремонтника, порядок оформлення звітної документації про
роботу холодильного устаткування.
При роботі зі збивальною машиною потрібно дотримувати такі
вимоги:
- завантаження робочої камери
проводити при вимкненому двигуні;
- не вводити лопатки, руки в
небезпечну зону при включеному двигуні.
Необхідно зазначити, що всі
поверхні машин, небезпечні відносно травматизму, виділяють червоним або
яскраво-оранжевим кольорами.
Вимоги (правила і норми) електробезпечності щодо конструкції
та пристрою електроустановок передбачаються ССПБ, стандартами і технічними
умовами на електротехнічні вироби.
Технічні міри захисту, що забезпечують електробезпечність,
визначаються з розрахунку: номінальної напруги, роду і частоти струму, способу
електрозабезпечення (від стаціонарної мережі, від автономного джерела), режиму
нейтрали (середньої крапки) джерела електроенергії (ізольована чи глухо заземлена
нейтраль), виду виконання засобу захисту (стаціонарне, пересувне і переносне),
умов зовнішнього середовища, можливості зняття напруги зі струмоведучих частин,
у яких чи біля який повинна проводитися робота, характеру можливого дотику до
електричного ланцюга (однофазне, двофазне), можливості наближення до
струмоведучих частин, менше припустимий чи влучення в зону розтікання струму,
виду робіт (монтаж, налагодження, іспити, експлуатація ).
Для забезпечення електробезпечності технічними засобами
(окремо чи в сполученні один з одним ) використовують захисне заземлення,
занулення, вимір потенціалів, малу напругу, електричний поділ мереж, захисне
відключення, ізоляцію струмоведучих частин (працюючу, додаткову, посилену,
подвійну), компенсацію струму, замикання на землю, що обгороджує пристрій, що
попереджає сигналізацію, чи блокування знаків безпеки, засобу захисту та попереджуючи
пристосування.
Організаційні та технічні міри для забезпечення
електробезпечності передбачають: допуск до роботи на електроустановках осіб, що
пройшли інструктаж і навчання способам праці та які не мають медичних
протипоказань; перевірку знань техніки безпеки й інструкцій, відповідно
займаній посаді, відповідно до роботи, що виконується, із присвоєнням
відповідної кваліфікаційної групи по техніці безпеки; реалізацію таких
організаційних мір, як: призначення осіб, відповідальних за організацію роботи,
оформлення закінчення роботи, установлення перерв, переклад на інші робочі
місця.
Безпека роботи в діючих електроустановках забезпечується
відключенням електроустановки чи її частин від джерела електроживлення,
механічним замиканням приводів відключених апаратів, зняттям запобіжників,
від’єднанням кінців від ліній та інших мір, що виключають можливість подачі
напруги до місця роботи, огородження струмоведучих частин, що залишилися під
напругою, накладенням заземлення, огородженням робочого місця й установкою
знаків безпеки, що наказують.
Вантажно-розвантажувальні роботи
потрібно виконувати відповідно до вимог ГОСТ 12.3.020-80 «ССБТ. Процеси
переміщення вантажів на підприємстві. Загальні вимоги безпеки.»
Відповідальність за правильну організацію і безпечне проведення
вантажно-розвантажувальних робіт покладається на керівника підприємства, що
організовує ці роботи. При підйомі і переміщенні вантажів вручну необхідно
дотримувати норми, встановлені чинним законодавством.
Працівник, що використовує обладнання
для переміщення вантажів заздалегідь проходить інструктаж за правилами
експлуатації підіймально-транспортного обладнання.
Заходи щодо забезпечення пожежної
безпеки
Пожежна охорона – це комплекс
різноманітних заходів, метою яких є попередження виникнення пожеж і організація
їх гасіння.
На підприємстві, що проектується, велике значення
приділяють протипожежному захисту, що організовується відповідно до діючої в
країні загальної системи забезпечення пожежної безпеки на підприємствах. Їхні
основи визначені Законом України «Про пожежну безпеку», затвердженим 17 грудня
1993 року постановою Верховної Ради України.
Керівник підприємства несе
відповідальність за проведення всіх пожежних заходів. Він постійно перевіряє
справність теплового обладнання, стан електропроводки і дотримання всіма
працівниками підприємства протипожежного режиму.
Керівник підприємства проводить
інструктаж по протипожежній безпеці з новими працівниками при оформленні їх на
роботу і заняття по пожежно-технічному мінімуму.
Основними причинами виникнення
пожежі на підприємстві можуть бути: необережне поводження з вогнем,
несправність виробничого обладнання, електроустаткування, коротке замикання,
перевантаження електродвигунів, ряд хімічних процесів (самозаймання,
самозапалювання). Нерідко пожежі відбуваються внаслідок порушення
будівельно-пожежних правил і норм. Необхідно відмітити, що причиною пожежі є
наступне: засміченість території підприємства, безладне нагромадження
пожежонебезпечних відходів, невчасне прибирання виробничого пилу з приладів
освітлення.
На підприємстві, що проектується,
функціонують вентиляційні системи для очищення повітря у виробничих
приміщеннях. У повітроводах даних систем нагромаджуються частки пилу, смолисті
продукти, які під час пожежі здатні загорятися. Щоб цього не трапилося,
технічні працівники постійно стежать за справністю витяжних пристроїв,
своєчасно усувають помічену неполадку, систематично очищають камери, зовнішні і
внутрішні поверхні повітроводів. А також, щоб уникнути цього до експлуатації
електроустаткування пред’являють наступні вимоги: прихована проводка, все
обладнання заземлене, рубильники змонтовані поза приміщеннями, де знаходиться
обладнання, світильники пилонепроникні, обгороджені металевими сітками.
У підприємстві передбачено
аварійне освітлення і загальний рубильник для відключення електросилових і
освітлювальних мереж на вводах у разі виникнення пожежі.
Блискавка - одна з причин
виникнення пожежі. Для відведення в землю удару блискавки на підприємстві, що
проектується передбачений громовідвід.
Приміщення і територія
підприємства підтримуються в чистоті. Під’їзди до будівлі, підступи до
пожежного інвентарю завжди вільні. У приміщеннях підприємства проходи, виходи,
коридори нічим не захаращені.
Всі приміщення підприємства,
небезпечні в пожежному відношенні, забезпечені засобами гасіння пожежі. Біля
кожного телефону вивішені таблички з вказівкою номера телефону, по якому
потрібно дзвонити у разі пожежі.
При проектуванні підприємства
враховано ряд спеціальних вимог.
Вимоги, що встановлюють специфіку
забезпечення пожежної безпеки в кабінетах, їдальні, виробничих та складських
приміщеннях, під час виробництва у підприємстві визначаються відповідними
правилами пожежної безпеки.
Керівники,
працівники, обслуговуючий персонал та інші зобов’язані знати і суворо
виконувати правила пожежної безпеки, а у випадку виникнення пожежі вживати всіх
залежних від них заходів до евакуації працівників та відвідувачів та гасіння пожежі.
Розведення
вогнищ, спалювання сміття на території не допускається.
Розміщення меблів і
обладнання в приміщеннях не повинно перешкоджати евакуації людей і підходу до
засобів пожежегасіння.
Евакуаційні проходи,
виходи, коридори, тамбури і сходи не повинні заставлятися будь-якими предметами
і обладнаннями.
У будівлі проживання
обслуговуючого персоналу та інших осіб не допускається.
У підприємстві
забороняється:
- використовувати
електроплитки, кип’ятильники, електрочайники, газові плити та ін. для
приготування їжі за винятком спеціально обладнаних приміщень;
- здійснювати
вогневі, електрогазозварювальні та інші види пожежонебезпечних робіт у будівлі
при наявності у приміщеннях людей;
- обгортати
електричні лампи папером, матерією та іншими пальними матеріалами;
- застосовувати для
освітлення свічки, гасові лампи та ліхтарі.
- здійснювати прибирання
приміщень, очищення деталей і обладнання із застосуванням легкозаймистих і
пальних рідин;
- залишати без
нагляду увімкнене у мережу електричне обладнання.
Користування
прасками дозволяється лише у спеціально відведених приміщеннях. Використання приміщень
для іншої мети, в тому числі для зберігання білизни, не допускається.
Прасування дозволяється лише прасками зі справними терморегуляторами та
світловими індикаторами увімкнення. Праски повинні встановлюватися на підставках
з вогнетривких матеріалів.
З’єднання
та відгалуження жил проводів і кабелів мають бути виконані за допомогою
обпресування, зварювання, паяння або спеціальних зажимів.
Влаштування
та експлуатація тимчасових електромереж за винятком електропроводки, яка живить
місця проведення будівельних і тимчасових ремонтно-монтажних робіт не
допускається.
Підключення
переносних світильників слід передбачати від відгалужуваних коробок зі
штепсельними розетками.
Несправні
електроапарати слід негайно відмикати до приведення їх у пожежобезпечний стан.
При
експлуатації електроустановок забороняється:
а) користуватися
пошкодженими (несправними) розетками, відгалужувальними коробками, рубильниками
та іншими електровстановлювальними виробами;
б) зав’язувати
і скручувати електропроводи і світильники (за винятком відкритих ламп) на
електричних проводах;
в) використовувати
ролики, вимикачі, штепсельні розетки для підвішування одягу та інших предметів;
г) застосовувати
як електричний захист саморобні та некалібровані запобіжники;
д) знімати скляні
ковпаки із світильників закритого виконання.
В усіх
приміщеннях (незалежно від їх призначення), які по закінченню робіт замикаються
і не контролюються, всі електроустановки (крім холодильників) мають відключатися.
При експлуатації
пожежної автоматики не допускається:
а) захаращувати
підходи до контрольно-сигнальних пристроїв і приладів;
б) складати
матеріали на відстані менше 0,9 м до зрошувачів і 0,6 м до оповіщувачів;
в) використовувати
трубопроводи установок для підвішування або кріплення будь-якого обладнання;
г) наносити на
зрошувачі та попереджувальні фарби, побіл, штукатурку та інші захисні покриття
при ремонтах і в процесі експлуатації.
Підприємство має
бути оснащене первинними засобами пожежогасіння.
Використання
первинних засобів пожежогасіння для господарських та інших потреб, не
пов’язаних з гасінням пожеж, забороняється.
Особлива увага приділяється розробці заходів, спрямованих
на запобігання пожеж: забезпечення підприємства вогнегасними засобами першої
допомоги, розміщення в цехах пожежних кранів. Передбачено пожежну сигналізацію
– важливий засіб повідомлення про виникнення пожежі. Найбільш швидким і надійним
видом пожежної сигналізації є електрична пожежна сигналізація. Вона призначена
для виявлення початкової стадії пожежі й оповіщення про місце її виникнення.
Будівельні конструкції й елементи будівлі, що проектується,
задовольняють протипожежним вимогам з погляду відповідності вогнестійкості
будинку пожежній характеристиці технологічного процесу.
Пожежна безпека на підприємстві забезпечується не тільки за
рахунок пожежної профілактики, а і за рахунок організації пожежогасіння.
Для гасіння пожежі на початковій стадії використовують
ручні пінні та порошкові вогнегасники. На підприємстві використовують вогнегасники
повітряно-пінні ОВП-5. Гасіння пожежі здійснюється внаслідок припинення доступу
в зону горіння окислювача (кисню повітря). Концентрація кисню знижується до
такого рівня, при якому горіння неможливе.
Вимоги пожежної безпеки
для приміщень різного призначення
Адміністративні,
загальногосподарські та санітарні приміщення:
- у
адміністративних, загальногосподарських та санітарних приміщеннях слід
розміщувати меблі, прилади, посібники, транспаранти та ін.;
- прилади, меблі,
приладдя, посібники, транспаранти та ін. розміщують у шафах, на стелажах чи на
стаціонарно встановлених стійках;
-
адміністративні, загальногосподарські та санітарні приміщення повинні бути оснащення
сигналізаційною системою.
Виробничі приміщення
Електричні
машини, апарати, обладнання (апарати, електродвигуни, світильники тощо),
електропроводки та кабелі за виконанням та ступенем захисту повинні відповідати
класу зони (за ПУЕ), мати апаратуру захисту від струмів короткого замикання та
інших аварійних режимів.
Плавкі вставки
запобіжників повинні бути калібровані із зазначенням на клеймі номінального
струму вставки (клеймо ставиться заводом-виготовлювачем або електротехнічною
лабораторією).
Застосування
саморобних некаліброваних плавких установок забороняється. В електропроводках
вибухонебезпечних і пожежонебезпечних зон слід застосовувати відгалужувані та
з’єднувальні коробки з негорючих матеріалів. Ці коробки повинні бути постійно
закриті кришками із зазначених матеріалів.
Влаштування та
експлуатація тимчасових електромереж не дозволяється. Винятком можуть бути
тимчасові ілюмінаційні установки і електропроводки, які живлять місця проведення
будівельних, тимчасових ремонтно-монтажних та аварійних робіт.
Температура
зовнішньої поверхні електроопалювальних приладів у найбільш нагрітому місці в
нормальному режимі роботи не повинна перевищувати 65 °С.
Електрошафи, щити
повинні бути замкнені
Електрощити
необхідно оснащувати схемою підключення споживачів з пояснюючими написами і
вказаним значенням номінального струму апарата захисту (плавкої вставки).
Електродвигуни,
світильники, проводи та розподільні пристрої треба регулярно, не рідше одного
разу на місяць, а в запилених приміщеннях - щотижня, очищати від пилу.
Електрошафи, а
також вся електроапаратура для регулювання напруги та струму (реостати,
автотрансформатори, дросельні котушки, пускові реостати тощо) повинні розміщатися
за межами площ естрад, підмостків, а також сцен.
В харчоблоках та
пральні з усіх електроустановок та електроприладів, а також з мереж їх живлення
повинна бути відключена напруга (за винятком чергового освітлення, протипожежних
та охоронних установок, а також електроустановок, що за вимогами технології
працюють цілодобово).
Все
електрообладнання підлягає зануленню або заземленню.
Несправність в
електромережах та електроапаратурі, які можуть викликати іскріння, коротке
замикання, понаднормований нагрів горючої ізоляції кабелів і проводів, повинні
негайно ліквідовуватися черговим персоналом. Пошкоджену електромережу потрібно
відключити до приведення її в пожежобезпечний стан. Заміри опору ізоляції
електричних мереж та електроустановок мають проводитися в терміни відповідно до
вимог Правил технічної експлуатації електроустановок споживачів.
Порядок дій у
випадку виникнення пожежі
У випадку
виникнення пожежі дії працівників і залучених до гасіння пожежі осіб у першу чергу
мають бути спрямовані на забезпечення безпеки відвідувачів, їх евакуації та
рятування.
Кожний працівник,
який виявив пожежну або її ознаки (задимлення, запах горіння або тління різних
матеріалів, підвищення температури та ін.) зобов’язаний:
а) негайно
повідомити про це по телефону до пожежної частини (при цьому необхідно чітко
назвати адресу закладу, місце виникнення пожежі, а також повідомити свою посаду
та прізвище);
б) задіяти
систему оповіщення людей про пожежу, розпочати самому і залучати інших осіб до
евакуації відвідувачів та працівників з будівлі до безпечного місця згідно з
планом евакуації;
в) сповістити про
пожежу керівника дошкільного закладу або працівника, що його заміняє;
г) організувати
зустріч пожежних підрозділів, вжити заходів до гасіння пожежі наявними в
установі засобами пожежогасіння.
При
проведенні евакуації та гасіння пожежі необхідно:
а) з
урахуванням обстановки, що склалася, визначити найбільш безпечні евакуаційні
шляхи і виходи, які забезпечують можливість евакуації людей до безпечної зони у
найкоротший термін;
б) виключити
умови, які сприяють виникненню паніки. З цією метою керівникам та іншим
працівникам не можна залишати підприємство без нагляду з моменту виявлення
пожежі та до її ліквідації;
в) евакуацію
людей слід починати з приміщення, у якому виникла пожежа, і суміжних з ним
приміщень, яким загрожує небезпека поширення вогню і продуктів горіння.
г) виставляти
пости безпеки на входах у будівлю, щоб виключити можливість повернення працівників
до будівлі, де виникла пожежа;
д) при гасінні
слід намагатися у першу чергу забезпечити сприятливі умови для безпечної
евакуації людей;
е) утримуватися
від відчинення вікон і дверей, а також від розбивання скла для уникнення
поширення вогню і диму до суміжних приміщень. Залишаючи приміщення або будівлю,
слід зачиняти за собою всі двері та вікна.
У приміщенні передбачені три
виходи, які знаходяться на протилежних сторонах будівлі. Всі двері, що ведуть
до виходів, відкриваються у бік виходу з будівлі. У виробничих приміщеннях
двері відкриваються всередину приміщення.
У підприємстві повинен бути чіткий
план евакуації людей і майна на випадок пожежі, який вивішений на видному
місці.
На підприємстві є найпростіший
ручний пожежний інвентар, розміщений на спеціальному щиті. До нього відносяться
ломи, сокири, лопати, відра. На щиті розміщуються вогнегасники, біля щита
встановлений ящик з піском. Пінні вогнегасники встановлюють з розрахунку один
вогнегасник на 100 м2 площі приміщень.
Комплекс заходів, розроблений по охороні праці,
спрямований, головним чином, на поліпшення мікроклімату, умов праці
працівників, а також охорону їхнього життя, здоров’я і збільшення
працездатності.
4.2 ЗАХОДИ ЩОДО ЗАБЕЗПЕЧЕННЯ ОХОРОНИ НАВКОЛИШНЬОГО
СЕРЕДОВИЩА
Відповідно до Закону України «Про охорону навколишнього
середовища» [22] екологічні знання є обов’язковою кваліфікаційною вимогою для всіх
посадових осіб, діяльність яких пов’язана з впливом на природне середовище.
Підприємства ресторанного господарства відносяться до
водоємних об’єктів, що мають також джерела викидів в атмосферу і тверді
відходи.
Охорона навколишнього
середовища – це система державних, цивільних, адміністративно-господарських,
техніко-виробничих, економічних і юридичних заходів, спрямованих на раціональне
використання виробничих природних ресурсів і на захист навколишнього середовища
від забруднень і руйнувань. Цей розділ містить у собі питання розробки
природоохоронної документації і проведення природоохоронних заходів. Природоохоронні
заходи передбачають: охорону атмосферного повітря, охорону і раціональне
використання вод, землі, ґрунту, мінеральних, органічних і біологічних
ресурсів. Розглянемо підприємство, що проектується, з погляду впливу на
навколишнє середовище. У зв’язку з тим, що в підприємстві кондитерська
продукція з сировини, доцільно дати коротку характеристику стадій
технологічного процесу.
Він включає механічну обробку сировини та напівфабрикатів
(миття, подрібнювання), теплову обробку, підготовку до реалізації і реалізацію.
Продукція виготовляється за допомогою теплового
електричного устаткування. Все електричне оснащення, прилади й апарати
забезпечуються електроенергією від міської електромережі. Проведемо аналіз
джерел викидів і знайдемо шкідливі речовини, що попадають в атмосферу від
функціонування підприємства. Визначимо характер цих викидів і позначимо клас
небезпеки шкідливих речовин. Характер викидів може бути: безупинним,
періодичним, разовим, залповим, а джерела викидів класифікуються на
організовані і неорганізовані. Крім того, розглянемо джерела викидів, що вимагають
очищення (таблиця 4.1).
Як випливає
з таблиці, в атмосферу можуть надходити три види шкідливих речовин.
Завданням
оздоровлення навколишнього середовища є охорона атмосферного повітря. При проектуванні підприємства
виникає необхідність у вирішенні задачі охорони навколишнього середовища й
атмосферного повітря.
Рішення задачі дозволить:
-
зменшити вплив шкідливих речовин на природне
середовище в результаті роботи підприємства;
-
підвищити екологічну чистоту продукції, що
випускається;
-
забезпечити комфортні умови роботи працівникам.
У ході заходів, охороняючи атмосферу від забруднення, ми
бачимо, у першу чергу, організацію роботи очисних споруджень, що знижають і
ліквідують шкідливі викиди. В основному все теплове та пило утворююче устаткування
має місцеву витяжку. Повітря із системи місцевої вентиляції подається на
рукавні фільтри, де очищається від забруднень на 90%. Очищені викиди, відповідаючи
нормативам якості повітря в населених пунктах, виводяться в атмосферу.
Таблиця 4.1 – Характеристика джерел викидів в атмосферу
|
№ з/п
|
Стадія технологічного процесу
|
Джерела викидів, що забруднюють навколишнє середовище
|
№ джерела
|
Шкідливі речовини
|
ПДК
|
Клас небезпеки
|
Характер постачань
|
|
1
|
Теплова обробка продуктів із застосуванням
електрообладнання
|
Вентиляційна труба
|
1
|
Акролеїн, оксид вуглецю
|
0,03
3
|
2
4
|
Періодичний
|
|
2
|
Збереження напівфабрикатів при знижених температурах
|
Холодильне оснащення
|
2
|
Фреон, аміак
|
10
0,04
|
4
4
|
Безперевний
|
Найбільша концентрація шкідливих факторів, тепла, вологи,
газів спостерігається у верхній зоні приміщення, тому витяжне повітря доцільно
видалити з верхньої зони системами загальнообмінної вентиляції. Повітря, що виводиться
із систем загальнообмінної вентиляції, направляється в атмосферу. Викид здійснюється
над дахом будівлі для кращого розсіювання, щоб уникнути проникнення шкідливих
речовин у приміщення підприємства.
Для зменшення концентрації шкідливих речовин, що виділяє
підприємство, улаштовують санітарно-захисні зони, територію яких потрібно
озеленювати. Для забезпечення чистоти повітряного басейну підприємство доцільно
розташовувати на території, що добре аерується, тому правильно обране місце
будівництва має велике значення.
Заходи щодо зменшення забруднень водного середовища
Однією з важливих екологічних проблем є охорона водних
ресурсів. Вода є коштовним природним ресурсом. Вона відіграє важливу роль у
процесах обміну речовин, що складають основу життя.
Подачу гарячої води можна здійснювати через централізовану
систему водопостачання, що приведе до зменшення забруднення навколишнього середовища.
Зменшити забруднення водяного середовища можна скороченням кількості стічних
вод, що викидаються, для чого застосовують оборотне і повторне водопостачання.
Частково така оброблена вода може застосовуватися при
роботі посудомийної машини. Господарсько-побутові стічні води підприємств
харчування забруднюються речовинами органічного і неорганічного походження.
Забруднення в стічних водах можуть знаходитися в наступному виді: механічні домішки,
суспензії, емульсії і колоїдні розчини. Найбільш небезпечні із санітарної точки
зору органічні забруднення (фізіологічні виділення людини, що можуть привести
до інфекційних захворювань). Органічні речовини, що накопичуються на поверхні
ґрунту, загнивають і заражають його. Щоб запобігти це, здійснюється очищення
стічних вод від забруднень у системах міської каналізації перед викидом у
водойми.
Вода для технічних і технологічних цілей надходить питної
якості за ГОСТ 2874-82 [23] з мережі централізованого водопостачання. Вода, що використовується як
сировина, проходить попереднє очищення побутовими фільтрами для водопровідної
води і звільняється від механічних домішок, хлорорганічних з’єднань і колоїдного
заліза.
Скидання стічних вод здійснюється в систему міської
каналізації. Основну кількість стоків підприємства харчування складають:
- вода, що надходить у результаті допоміжних стадій
виробництва – миття, дезінфекції оснащення, інвентарю, тари та сировини;
- побутових стоків;
- рідкі відходи основного
виробництва.
Виробництво є досить
водоємним, тому що велика кількість води витрачається на мийні операції.
Небажаними забрудненнями є хлорамін і кальцинована сода, що можуть гнітити
мікрофлору при біологічному очищенні стічних вод на міських очисних спорудженнях.
Стічні води, що утворилися, направляють у міську каналізацію. Перед скиданням
стічні води проходять очищення від механічних домішок шляхом відстоювання в
збірниках накопичувачах.
Перелік основних забруднюючих речовин і вимоги до рівня
забруднення стоків для скидань цих речовин у каналізацію представлені в таблиці
4.2.
Таблиця
4.2 – Вимоги до забруднення стічних вод для скидання їх у каналізацію
|
№ з/п
|
Технологічні операції
|
Основні забруднюючі речовини
|
Припустимий рівень забруднення
|
Од. вимірювання
|
Клас небезпеки
|
Перевищення рівня забруднення
|
|
1
|
Миття сировини
|
Органічні сполуки,
жири,
зважені речовини
|
500
4
450
|
мг/дм3
|
|
Не перевищує
|
|
2
|
Миття оснащення
|
Повітряно активні речовини і речовини, що дезінфікують
|
0,2
|
3
|
Характеристика
твердих відходів
Від основних та
допоміжних стадій виробництва виходять тверді харчові і нехарчові відходи
(таблиця 4.3).
Таблиця 4.3 –
Характеристика твердих відходів
|
№ з/п
|
Технологічний процес, що утворить тверді відходи
|
Тверді відходи
|
Склад твердих відходів
|
Спосіб утилізації
|
|
харчові
|
нехарчові
|
|
1
|
Відходи після технологічного процесу
|
Залишки сировини
|
—
|
Харчові речовини
|
На корм худобі
|
|
2
|
Спецодяг,
столова білизна
|
—
|
Залишки тканини
|
Тихорєцьке волокно
|
На переробку
|
|
3
|
Сировина, що розфасована в тару
|
—
|
Склотара, полімерні і картонні матеріали
|
Стекло, картон, полімери,
метал
|
На переробку
|
|
4
|
Основне, допоміжне оснащення, що вийшло з
експлуатації
|
—
|
Металобрухт, лампи
|
Метал, стекло
|
На переробку
|
|
5
|
Відходи допоміжних стадій
|
Залишки сировини
|
Зважені частки
|
Харчові і нехарчові речовини
|
На переробку
|
Розкладання
органічних відходів (харчових відходів, сміття) приводить до забруднення ґрунту
вуглекислотою, сірководнем, сприяє розмноженню мікроорганізмів, гризунів, появі
комах (мух).
Збір
харчових відходів на підприємствах харчування здійснюється в спеціальні бачки,
що негайно вивозять з території підприємства на спеціалізованому транспорті. Тверді відходи
збираються в спеціальні залізні збірники для сміття і вивозяться на
спеціалізованому транспорті. Тверді відходи повинні перероблятися і далі
використовуватися як добрива і біопаливо в сільському господарстві.
Збір харчових і
нехарчових відходів здійснюється окремо. Одні переробляють, а інші йдуть на
корм худобі.
ВИСНОВКИ ПО РОЗДІЛУ
Під час виконання розділу були:
1. Представлені заплановані заходи
з питань охорони навколишнього природного середовища згідно з вимогами;
2. Проведена розробка низки
заходів з питань охорони праці та протипожежної безпеки. Визначені потенційні
небезпеки, виробничі шкідливості;
3. Представлена організація
заходів щодо забезпечення пожежної безпеки з урахуванням вимог пожежної безпеки
для приміщень різного призначення. Визначено порядок дій у випадку виникнення
пожежі.
Також обов’язковою вимогою є розробка заходів щодо захисту
навколишнього середовища від шкідливих викидів. Після аналізу твердих відходів
і забруднень, що надходять у стічні води й атмосферу, з’ясували, що кількість
шкідливих речовин не перевищує встановлені ПДК. Для очищення стічних вод від
зважених часток перед викидом їх у міську каналізацію передбачена установка
водовідстійників.
Таким чином, при проектуванні підприємства передбачені всі
необхідні заходи щодо охорони праці, санітарії, пожежній безпеці й охороні
навколишнього середовища.
5. ОЦІНКА ЕФЕКТИВНОСТІ ПРИЙНЯТИХ У
ПРОЕКТІ РІШЕНЬ
Сучасний етап розвитку економіки
характеризується посиленням конкурентної боротьби між суб’єктами ринкових
відносин, виживання в якій є можливим тільки за умов результативної та
ефективної праці. Ефективне господарювання передбачає прибутковість бізнесу,
тобто перевищення доходів над витратами, що є беззаперечною умовою успішного
функціонування на ринку. Оскільки прибуток є основним внутрішнім джерелом
формування фінансових ресурсів підприємства, що забезпечують його розвиток, то,
чим вище рівень генерування прибутку в процесі господарювання, тим менше
потреба в залученні коштів із зовнішніх джерел та, за інших рівних умов, вище
рівень самофінансування розвитку, забезпечення реалізації стратегічних цілей
цього розвитку, підвищення конкурентної позиції підприємства на ринку.
Основними шляхами закріплення
конкурентної позиції підприємства можуть бути: підвищення
конкурентоспроможності продукції за рахунок поліпшення її якісних
характеристик; зниження вартості; скорочення витрат на виробництво та
реалізацію товарів; розширення асортименту; проведення обґрунтованої цінової
політики.
Виведенню товару на ринок повинне
передувати обґрунтування його ціни, за якою передбачається продаж цього
продукту. Основою ціни на продукцію є її собівартість, яка включає всі витрати,
що пов’язані з її виробництвом та реалізацією.
Витрати, які включаються до собівартості продукції визначаються
Національними положеннями (стандартами) бухгалтерського обліку та
галузевими методичними рекомендаціями з питань планування, обліку і
калькулювання готової продукції. Розрахунки здійснюються шляхом калькулювання
за номенклатурою статей витрат, яка включає наступні статті:
1. Сировина і матеріали;
2. Зворотні відходи (віднімаються);
3. Паливо та енергія на технологічні цілі;
4. Основна заробітна плата;
5. Додаткова заробітна плата;
6. Відрахування на соціальне страхування;
7. Витрати, пов’язані з підготовкою і освоєнням виробництва продукції;
8. Відшкодування зносу спеціальних інструментів і пристосувань цільового
призначення та інші спеціальні витрати;
9. Витрати на утримання та експлуатацію обладнання;
10. Загальні виробничі витрати;
11. Загальногосподарські витрати;
12. Втрати внаслідок технічно неминучого браку;
13. Супутня продукція (віднімається);
14. Інші виробничі витрати;
15. Позавиробничі (комерційні) витрати.
Всі статті витрат залежно від
способу віднесення їх на собівартість поділяють на прямі та непрямі. Прямими є
витрати сировини і матеріалів та витрати на оплату праці.
Їх величина прямо відноситься на
собівартість тих чи інших виробів. Інші витрати пов’язані з виробництвом
декількох видів продукції й не можуть бути прямо віднесені на собівартість
певних видів продукції, а розподіляються на них відповідно обраних баз
розподілу. Як правило такими базами є вартість сировини та матеріалів та
основна заробітна плата. Тому на першому етапі розрахуємо ці види витрат.
Розрахунки вартості сировини
наведено в табл. 5.1.
Таблиця 5.1 - Розрахунок вартості
сировини загартованого морозива
|
Найменування сировини
|
Ціна за
1 кг,
грн.
|
Молочне
|
Вершкове
|
«Умка»
|
|
Кількість сировини на 1т, кг
|
Вартість, грн.
|
Кількість сировини на 1т, кг
|
Вартість, грн.
|
Кількість сировини на 1т, кг
|
Вартість, грн.
|
|
Молоко коров'яче незбиране
|
1,30
|
684,0
|
889,2
|
25,0
|
32,5
|
-
|
-
|
|
Масло коров'яче
|
25,0
|
15,9
|
397,5
|
-
|
-
|
80,0
|
2000
|
|
Молоко нежирне згущене з цукром
|
15,0
|
174,2
|
2613
|
331,2
|
4968
|
-
|
-
|
|
Вершки з коров'ячого молока
|
23,0
|
-
|
-
|
248,0
|
5704
|
-
|
-
|
|
Цукор буряковий
|
4,0
|
83,4
|
333,6
|
14,3
|
57,2
|
145,0
|
580
|
|
Молоко сухе коров'яче незбиране
|
14,0
|
-
|
-
|
-
|
-
|
82,0
|
1148
|
|
Олія рослинна
|
11,0
|
-
|
-
|
-
|
-
|
25,0
|
275
|
|
Молоко сухе коров'яче знежирене
|
11,0
|
-
|
-
|
-
|
-
|
52,0
|
572
|
|
Емульгатор-стабілізатор
|
42,0
|
-
|
-
|
-
|
-
|
5,0
|
210
|
|
Вершки-ваніль
|
48,50
|
-
|
-
|
-
|
-
|
6,0
|
291
|
|
Агар
|
25,20
|
3,0
|
75,6
|
3,0
|
75,6
|
-
|
-
|
|
Вода питна
|
4,43
|
39,5
|
174,99
|
378,5
|
16,8
|
605,0
|
26,8
|
|
Всього:
|
|
|
4310,7
|
|
10854,1
|
|
5102,8
|
Розрахунки заробітної плати, яка
відноситься на собівартість морозива виконаємо на основі таблиці 5.2. При цьому
враховуємо штат, виходячи з проектної потужності 3тони на добу.
Заробітна плата розрахована,
виходячи з річної потужності. В розрахунку на 1 тону величина заробітної плати
складатиме:
- адміністративно-управлінського
персоналу – 107,5 грн.;
- основних працівників – 218,4
грн. (основної – 156, додаткової – 62,4 грн.);
- допоміжного персоналу – 80,6
грн.
На наступному етапі виконаємо
розрахунки інших статей витрат за вказаною номенклатурою.
Ст. 3. Паливо та енергія на технологічні цілі. Дані
витрати приймаємо в розмірі 1,2% до вартості сировини:
Молочне – 4310,7 * 0,012 = 51,7 грн.;
Вершкове – 10854,1 * 0,012 = 130,3 грн.;
«Умка » – 5102,8 * 0,012 = 61,2
грн.
Ст. 6. Відрахування на соціальне страхування – 37,7% від заробітної плати
основних працівників:
218,4 * 0,377 = 82,3 грн.
Ст. 7. Витрати, пов’язані з підготовкою і освоєнням виробництва продукції
– не передбачаються.
Ст. 8.Відшкодування зносу спеціальних інструментів і пристосувань
цільового призначення та інші спеціальні витрати – 0,2% від вартості сировини:
Молочне – 4310,7 * 0,002 = 8,6 грн.;
Вершкове – 10854,1 * 0,002 = 21,7 грн.;
« Умка » – 5102,8 * 0,002 = 10,2
грн.
Таблиця 5.2 - Розрахунки
заробітної плати
|
Посада
|
Середня за рік
чисельність працівників, осіб
|
Тарифна ставка,
грн.
|
Сума зарплати
за місяць,
грн.
|
Сума зарплати
за рік, грн.
|
Премії,
грн.
|
Фонд зарплати
за рік,
грн.
|
|
|
|
1 Адміністративно-управлінський персонал
|
|
|
Директор
|
1
|
1800
|
1800
|
21600
|
8640
|
30240
|
|
|
Головний бухгалтер
|
1
|
1400
|
1400
|
16800
|
6720
|
23520
|
|
|
Разом:
|
2
|
-
|
3200
|
38400
|
15360
|
53760
|
|
|
2 Основні працівники
|
|
|
Начальник виробництва
|
1
|
1500
|
1500
|
18000
|
7200
|
25200
|
|
|
Оператор
|
2
|
1300
|
2600
|
31200
|
12480
|
43680
|
|
|
Пакувальник
|
2
|
1200
|
2400
|
28800
|
11520
|
40320
|
|
|
Разом:
|
5
|
-
|
6500
|
78000
|
31200
|
109200
|
|
|
3 Допоміжний персонал
|
|
|
Комірник
|
1
|
900
|
900
|
10800
|
4320
|
15120
|
|
|
Експедитор-вантажник
|
1
|
900
|
900
|
10800
|
4320
|
15120
|
|
|
Прибиральниця
|
1
|
600
|
600
|
7200
|
2880
|
10080
|
|
|
Разом:
|
3
|
-
|
2400
|
28800
|
11520
|
40320
|
|
|
Всього:
|
10
|
-
|
12100
|
145200
|
58080
|
203280
|
|
Ст. 9.Витрати на утримання та експлуатацію обладнання – 50,0% від
основної заробітної плати :
156,0 * 0,5 = 78,0 грн.
Ст. 10. Загальні виробничі витрати. До неї відносять:
- витрати на заробітну плату допоміжного персоналу – 80,6 грн.;
- відрахування на соціальне страхування від зарплати допоміжного персоналу:
80,6 * 0,377 = 30,4 грн.
-
інші витрати за статтею – 40,0% від
основної зарплати:
156,0 * 0,4 = 62,4 грн.
Разом: 173,4 грн.
Ст. 11. Загальногосподарські витрати. До її складу входять:
- витрати на зарплату адміністративно-управлінського персоналу – 107,5
грн.;
- відрахування на соціальне страхування від зарплати адміністративно-управлінського
персоналу:
107,5 * 0,377 = 40,5 грн.
- інші витрати за статтею – 20,0% від основної зарплати
156,0 * 0,2 = 31,2 грн.
Разом: 179,2 грн.
Ст. 12. Втрати внаслідок технічно неминучого браку – 0,1% від вартості
сировини:
Молочне – 4310,7 * 0,001 = 4,3грн.;
Вершкове – 10854,1 * 0,001 = 10,8 грн.;
«Умка» – 5102,8 * 0,001 = 5,1 грн.
Ст. 13. Супутня продукція (віднімається) – не передбачається.
Ст. 14. Інші виробничі витрати – 20,0 % від основної заплати
156,0 * 0,2 = 31,2 грн.
Ст. 15. Позавиробничі (комерційні) витрати – 0,4% від вартості сировини:
Молочне – 4310,7 * 0,004 = 17,3 грн.;
Вершкове – 10854,1 * 0,004 = 43,4 грн.;
« Умка » – 5102,8 * 0,004 =20,4 грн.
Після розрахунків собівартості визначимо відпускну ціну, виходячи з
порядку ціноутворення для підприємств-виробників. При цьому прибуток приймаємо
як середній по галузі – 15 %. Результати наведено в таблиці 5.3.
Таблиця 5.3 - Собівартість та рентабельність загартованого морозива, грн.
|
Показник
|
Молочне
|
Вершкове
|
« Умка »
|
|
Сировина і матеріали,
грн.
|
4310,7
|
10854,1
|
5102,8
|
|
Зворотні відходи (віднімаються)
, грн.
|
-
|
-
|
-
|
|
Паливо та енергія на
технологічні цілі, грн.
|
51,7
|
130,3
|
61,2
|
|
Основна заробітна
плата, грн.
|
156,0
|
156,0
|
156,0
|
|
Додаткова заробітна
плата, грн.
|
62,4
|
62,4
|
62,4
|
|
Відрахування на
соціальне страхування, грн.
|
82,3
|
82,3
|
82,3
|
|
Витрати, пов’язані з
підготовкою і освоєнням виробництва продукції
|
-
|
-
|
-
|
|
Відшкодування зносу
спеціальних інструментів і пристосувань цільового призначення та інші
спеціальні витрати, грн.
|
8,6
|
21,7
|
10,2
|
|
Витрати на утримання
та експлуатацію обладнання, грн.
|
78,0
|
78,0
|
78,0
|
|
Загальні виробничі
витрати, грн.
|
173,4
|
173,4
|
173,4
|
|
Загальногосподарські
витрати, грн.
|
179,2
|
179,2
|
179,2
|
|
Втрати внаслідок
технічно неминучого браку, грн.
|
4,3
|
10,8
|
5,1
|
|
Супутня продукція
(віднімається), грн.
|
-
|
-
|
-
|
|
Інші виробничі
витрати, грн.
|
31,2
|
31,2
|
31,2
|
|
Позавиробничі
(комерційні) витрати, грн.
|
17,3
|
43,4
|
20,4
|
|
Повна собівартість:
|
5155,1
|
5965,8
|
|
Ціна 1 кг продукції без ПДВ, грн.
|
5,9
|
13,6
|
6,9
|
|
Виручка від
реалізації, грн.
|
5900
|
13600
|
6900
|
|
Затрати на
реалізацію, грн.
|
5155,1
|
11822,8
|
5965,8
|
|
Валовий прибуток,
грн.
|
744,9
|
1777,2
|
934,2
|
|
Податок на прибуток,
грн.
|
223,5
|
533,2
|
280,3
|
|
Чистий прибуток, грн.
|
521,4
|
1244
|
653,9
|
|
Рентабельність, %
|
10
|
10,5
|
11
|
ВИСНОВКИ ПО РОЗДІЛУ
Розрахунки показники затратної частини на
виробництво морозива молочного, вершкового та Умка, що підтвердили доцільність
впровадження інвестиційного проекту внаслідок його достатньо високої
ефективності. Про це свідчить насамперед такий показник, як собівартість та
рентабельність. При цьому рівень
рентабельності складе 10,5 %. Чистий прибуток у відсотках до обороту складе 30
%, що є достатньо високим показником для даного підприємства.
Показники оцінки
економічної ефективності проекту виступають в ролі необхідних критеріїв, на
основі яких учасники проекту можуть оцінити економічну (комерційну)
привабливість проекту. Зроблені економічні розрахунки доводять економічну
ефективність запропонованого проекту, доцільність прийняття рішення про
фінансування та реалізацію проекту, що підтверджується збільшенням обсягів
діяльності підприємства, і при зниженні рівня витрат обігу та виробництва,
зростанням прибутковості та рентабельності активів.
Тобто в цілому даний проект можна
признати, як економічно ефективним та пропонувати його до практичної
реалізації.
ВИСНОВКИ ПО
ДИПЛОМНОМУ ПРОЕКТУ
1.
Проведено маркетингові дослідження ринку морозива України. Встановлено, що
лідерами у виробництві загартованого морозива є такі підприємства як: Ласунка
(Дніпропетровськ), Житомирський маслозавод (Житомир), Геркулес (Донецьк),
Троянда (Київ), Ласка (Кіровоград), Луганськхолод (Луганськ), Хладпром
(Харків), Айс (Запоріжжя), Львівський холодокомбінат (Львів), Лубенський
молокозавод (Полтавська область). Проведене техніко-економічне обґрунтування
проекту дозволило визначитися з асортиментом та кількістю продукції, що буде
виробляти майбутнє підприємство;
2.
Проведено аналіз сучасних тенденцій розвитку асортименту загартованого морозива
та визначено технологію його виробництва. Складено загальну класифікаційну
схему морозива, що виробляється в Україні. Проведено аналіз та встановлено
харчову та біологічну цінність, рецептурного складу та технології виробництва загартованого
морозива. Розроблено нормативну документацію на загартоване морозиво
3. Проведено продуктовий розрахунок витрат сировини на виробництво
загартованого морозива. Розраховано і підібрано механічне та електричне
технологічне обладнання для виробництва 3 тон морозива. Розраховано необхідні
площі виробничих, складських та допоміжних приміщень.
4. Представлено заплановані заходи
з питань охорони навколишнього природного середовища згідно з вимогами.
Проведена розробка низки заходів з питань охорони праці та протипожежної
безпеки. Визначені потенційні небезпеки, виробничі шкідливості.
Представлена організація заходів
щодо забезпечення пожежної безпеки з урахуванням вимог пожежної безпеки для
приміщень різного призначення. Визначено порядок дій у випадку виникнення
пожежі.
5. Розрахунки
показників затратної частини на виробництво морозива «Молочне», «Вершкове» та
«Умка», що підтвердили доцільність впровадження інвестиційного проекту
внаслідок його достатньо високої ефективності. Про це свідчить насамперед такий
показник, як собівартість та рентабельність;
При цьому рівень
рентабельності складе 10,5 %.
ПЕРЕЛІК ЛІТЕРАТУРИ
1.
Стабилизаторы для мороженого. - / под ред. канд. техн. наук А.А Творогова,
Н.В. Казакова, И.А. Турбина. - ВНИХИ. - М.: Экономика,1985.-125с.
2.
Дерягин Б.В, Чураев Н.В., Муллер В.М. Поверхностные силы. - М.: Наука,
-1987. - 54 с.
3.
Измайлова В.Н., Ребиндер П.А. Структурообразование в белковых системах.
- М.:Наука, 1974. - 95 с.
4.
Урьев Н.Б., Талейсник М.А. Пищевые дисперсные системы. - :Агропромиздат,1985.
- 126с.
5.
Фролов Ю.Г. Курс коллоидной химии.Поверхностные явления и дисперсные
системы. - М.: Химия,1989. - С. 65-89.
6.
Оленев Ю.А., Борисова О.С. Пенообразующие свойства стабилизаторов для
мороженого. - ”Холодильная техника”, 1997.- № 7.- С.32-37.
7.
Фильчакова Н.Н. Способ оценки физико-химических свойств стабилизаторов
для мороженого/ ” Холодильная техника”.- 1974.-№ 11.- С.46-48.
8.
Гроностайская Н.А., Холодова Т.А. Исследование пенообразующих свойств
казеината натрия с целью применения их при выработке взбитых продуктов.- “
Труды ВНИМИ”.- 1974.- Вып. 36.- С.48-52.
9.
Сосновский Л.Б., Бузина Г.В., Иванова О.Ф. Измерение пенообразующей
способности яичного белка и других пенообразователей.- “ Хлебопекарная и кондитерская
промышленность”.- 1968. -№ 2. -С .14-16.
10.
Фридрихсберг Д.А. Курс коллоидной химии. - Л.:” Химия” . - 1974. - 293с.
с.
11. Справочник
по производству мороженого. - М.: Экономика, 1970. - 230 с.
12. Николаев
Л.К. производство масла и мороженого . - М.: Колос, 1978. - 175 с.
13.
Методические рекомендации по разработке новой (фирменной) продукции
для предприятий общественного питания. - М.: Экономика, 1991. - 46с.
14.
1.Державні санітарні правила для
молокопереробних підприємств ДСП 4.4.4011 – 98.
15.
Закон України про молоко та
молочні продукти 24.06.2004. №1870-ІV.
16.
ДСТУ 3662 – 97 «Молоко коровяче
незбиране. Вимоги при закупівлі»
17.
Алексеев А.Н. Ремонт станков.
Теория и реализация САПР – К.:ИСМО, 1998 – 279с.
18.
Артоментов А.Г. Совершенствование
первичной обработки молока -М .: Агропромиздат, 1990 – 63 с.
19.
Барабанщиков Н.А. Молочное дело –
М.: Колос, 1983 – 414 с.
20.
Богданов В.М. Микробиология молока
и молочных продуктов. Пищепромиздат – Москва, 1949.
21.
Бредихин С.А., Космодемьянский
Ю.В., Юрин В.И. Технология и техника переработки молока. М.: Колос, 2001 – 400
с.
22.
Власенко В.В., Машкін М.І., Бігун
П.П. Технологія виробництва і переробки молока і молочних продуктів. Вінниця
«Гіпаніс», 2000 – 306 с.
23.
Голот Б.Ф., Машкин Н.И., Козога
П.Г. Справочник по технологии молока. – К. Урожай, 1979 – 398 с.
24.
Диланян З.Х. Молочное дело. – М.:
Колос, 1979-192 с.
25.
Економіка підприємства: Підручник
/ За ред. С.Ф. Покропивного. – Вид. 2-ге, перероб. та доп. – К.: КНЕУ, 2001.-
528с.
26.
Економіка підприємств харчової
промисловості / А.О. Заїнчковський, І.М. Решетюк, Г.А. Болдуй та ін. – К.:Урожай,
1998. – 272с.
27.
Инихов Г.С. Биохимия молока и
молочных продуктов.- М.: Пищевая промышленность, 1970 – 317 с.
28.
Кравців Р.Й. та інші. Молочна
справа. За ред. В. І.. Хоменка – К.: Вища школа, 1998 – 279 с.
29.
Краткий справочник механика
молочного завода. Дегтярев Ф.Г., Котнер Б.А., Лев М.Б. Изд-во Пищевая
промышленность, Москва 1969.
30.
Кученев П.В. Обработка молока и
уход за молочным оборудованием. – М.: Россельхозиздат, 1986 – 94 с.
31.
Машкін М.І. Молоко і молочні
продукти. К.: Урожай,1996 – 336 с.
32.
Машкін М.І. Первинна обробка і
переробка молока – К.: Урожай, 1994 – 240 с.
33.
Молочна справа. Навч. вид./ Р.Й.
Хоменко, В.І. Хоменко, Я.Ю. Островський. За ред. В.Й. Хоменка. К.: Вища школа,
1998 – 279 с.