Коробки отбора мощности автомобилей
Министерство
образования и науки Украины
Запорожский
национальный технический университет
Отчет
О
прохождении преддипломной практике
на
СТО
ТОВ
«Агротехкомплект»
Выполнил:
ст.гр Т-125
Скирдков А.В.
Принял:
Щербина А.В.
Руководитель Д
П: Смоляров
А.В.
Руководитель
СТО:
Коверник В.В.
2010
Содержание
Стр.
Введение
3
Общая
характеристика ТОВ «Агротехкоммлект» 4
Назначение,
характеристика, и работа дополнительного 5
оборудования
1.
Привод
лебедки
5
2.
Тросоукладчик
6
3.
Включения
лебедки автомобиля
7
4.
Коробка
отбора мощности автомобиля
7
5.
Коробка
дополнительного отбора
8
6.
Коробка
отбора мощности автомобиля КамАЗ-4310 9
7.
Регулировка
10
8.
Установка
коробки зависимого отбора мощности (КЗОМ) 11
9.
Установка
коробки дополнительного отбора мощности (КДОМ) 15
10.
Установка
задней механической лебедки на автомобиль Урал 17
11.
Установка
передней механической лебедки на автомобиль Урал 20
12.
Установка
передней электрической лебедки на автомобиль Урал 21
13.
Коробки
отбора мощности Chelsea для АКПП Allison 23
14.
Раздаточная
коробка VG 2600
24
15.
Состояние
охраны труда на СТО
28
Список
литературы
29
Введение
Преддипломная
практика есть важнейшей частью учебного процесса к подготовке
высококвалифицированных специалистов, которая обеспечивает закрепление знаний в
период практики, их систематизацию и приобретения знаний, и навыков на станции
технического обслуживания автомобилей которые будут и понадобятся на протяжении
инженерной деятельности.
Основные задание практике, которые были
заданные в период прохождения на СТО, это полностью выполнить задание
задаваемой программой практики, это прием автомобиля в ремонт или для прохождения
диагностики в период ТО автомобиля в зависимости от пробега, а также ремонт в
период когда автомобиль находиться на гарантии и его ТО. А так же сдача
автомобиля владельцу после проведенного ремонта или отдельных деталей в период
гарантии автомобиля.
После окончания
практики был сложен отчет о прохождении практики на СТО и содержит программу
производственной практики и приобретенные навыки в период ее прохождения,
описание предприятия СТО, а также выполняемых работ производимых на станции
обслуживание автомобилей.
Общая
характеристика ТОВ «Агротехкоммлект»
Общая площадь СТО
составляет 700 кв.м. а также склад и бытовые помещения площадью 300 кв.м. Всего
насчитывается 9 рабочих постов в том числе пост электрика (оборудованный
диагностическими приборами),пост прямой приемки (оборудованный ножничным
подъемником),пост шиномонтажа , пост развала-схождения (оборудованный стендом и
4-х стоечным подьемником),5 постов общеремонтных работ (оборудованных 2-х
стоечными подьемниками). При СТО функционирует автомойка . В структуре СТО
функционирует узел приемки,2 мастера приемщика , 1 мастер сервисного цеха ,
инженер по гарантии. Весь руководящий персонал имеет высшее техническое
образование, систематически посещает тренинги согласно планов импортера.
Анализируя
работу СТО в 2009г.следует отметить увеличение количества машинозаездов в
течении текущего года с 8-январь до10 сентябрь . Значительно возросло
количество проданных нормочасов с 90 до 208. Выросло количество проданных
оригинальных запчастей с 50386 до 99815 гр.Удельная выработка механика за весь
анализируемый период колебалась от 0,12 до 0,47.Количкство нормочасов на 1
машинозаезд варьировало от 1,79 до 2,13 Количество продаваемых запчастей на 1 машинозаезд
колебалось в пределах 900-1000 гр.
Таким
образом за 9 месяцев текущего года отмечается рост количества машинозаездов ,значительно
выросло количество проданных нормочасов на 1 машинозаезд, практически в двое
увеличилась продажа оригинальных запчастей. На 2010 год планируется переход на
распределенный рабочий день, что позволит увеличить продолжительность работы
СТО и увеличить количество машинозаездов. Планируется увеличение рабочих
постов: второй пост электрика , моторный участок , участок инструментального
контроля .Устанавливается линия инструментального контроля (ожидаемые сроки
пуска ноябрь 2010г.).
Таким образом
вышеперечисленные мероприятия должны привести по нашим расчетам двух кратному
увеличению количества продаваемых нормочасов на машинозаезд а также к
увеличению количества машинозаездов в целом.
НАЗНАЧЕНИЕ,
ХАРАКТЕРИСТИКА, И РАБОТА ДОПОЛНИТЕЛЬНОГО ОБОРУДОВАНИЯ.
К дополнительному
оборудованию автомобилей Урал-4320 и КамАЗ-4310 относятся: лебедка, система централизованного
регулирования давления воздуха в шинах, коробки отбора мощности, а на
автомобиле Урал-4320 и система герметизации. Лебедка предназначена для
самовытаскивания и подтягивания автомобилей и прицепов через труднопроходимые
участки. Она состоит из привода, червячного редуктора, барабана с закрепленным
на нем тросом, ленточного тормоза и тросоукладчика. На автомобиле Урал-4320
рабочая длина троса 65 м, диаметр 17,5 мм. Максимальное тяговое усилие на тросе
ограничивается предохранительным штифтом, установленным на переднем карданном
валу привода лебедки. Предохранительный штифт срезается при усилии на тросе
70...90 кН (7000...9000 кгс). Для увеличения тягового усилия или изменения его
направления автомобилю придается блок лебедки. Возможные варианты использования
блока. Лебедка установлена на специальной поперечине и двух кронштейнах,
укрепленных в задней части рамы автомобиля. Механизм редуктора лебедки состоит
из глобоидальной пары. Червячное колесо приклепано к ступице, которая подвижной
муфтой соединяется с валом барабана. Барабан плотно посажен на шлицевой вал
лебедки. На червяке редуктора установлен автоматический ленточный тормоз,
препятствующий самопроизвольному вращению барабана лебедки и разматыванию троса
при включенной муфте сцепления автомобиля или в случае среза предохранительного
штифта. При наматывании троса на барабан тормозной шкив, вращаясь, захватывает
ленту тормоза и силой трения пружина сжимается, создавая незначительный
тормозной момент на шкиве. В процессе разматывания троса с барабана, например
при выключении сцепления, момент трения на тормозном шкиве автоматически
увеличивается, так как лента самозатягивается силой трения, значительно большей
и направленной в обратную сторону, чем при намотке троса.
1. Привод лебедки
Привод лебедки осуществляется
от раздаточной коробки через дополнительную коробку отбора мощности и три
карданных вала. Передний и задний карданные валы имеют подвижные шлицевые
соединения, обеспечивающие компенсацию неточностей при монтаже. Промежуточный
карданный вал установлен на двух опорах одинаковой конструкции. Тросоукладчик
обеспечивает правильную укладку на барабане троса при углах отклонения его от
оси автомобиля, не превышающих 15°. Трос укреплен на барабане скобой, выдача
его производится только назад. Корпус держателя направляющих роликов укладывает
трос вдоль барабана, совершая возвратно-поступательное движение вдоль ходового
винта по двум направляющим валикам. Ходовой винт с левой и правой нарезками,
установленный на двух подшипниках, приводится во вращение пенной передачей от
вала барабана через ведущую и ведомую звездочки. Осевое усилие ходового винта
передается на корпус Держателя направляющих роликов через сухарь. Он установлен
в корпусе держателя направляющих роликов и зафиксирован крышкой . Направляющие
ролики установлены на полиамидных втулках и вращаются на пальцах которые
зафиксированы стопорной пластиной .На автомобиле КамАЗ-4310 рабочая длина троса
при выдаче назад 95 м (при выдаче вперед 88 м); максимальное тяговое усилие при
выдаче троса вперед 3500 кгс, назад— 5000 кгс, с применением блока — 7000 кгс и
10 000 кгс соответственно .Лебедка установлена на двух поперечинах и двух
кронштейнах в задней части рамы автомобиля Привод лебедки осуществляется тремя
карданными валами от вала отбора мощности раздаточной коробки. На заднем
карданном валу для предохранения деталей от перегрузки установлен срезающийся
предохранительный штифт. Промежуточный карданный вал установлен на двух опорах
одинаковой конструкции.
2. Тросоукладчик
Тросоукладчик
с цепным приводом обеспечивает равномерную и плотную укладку троса на барабан.
Ход каретки тросоукладчика согласован с вращением барабана таким образом, что
за каждый оборот барабана каретка перемещается на один шаг витка троса. Лебедка
оборудована автоматическим тормозом, устройство и действие которого аналогичны
ранее рассмотренному. При малой частоте вращения вала червяка усилие торможения
незначительно и не препятствует разматыванию троса. В случае среза
предохранительного штифта при вращении барабана с повышенной скоростью действие
тормоза увеличивается и дополняет самоторможение червячной передачи.Трос
лебедки закреплен на крюке клиновым зажимом, что позволяет спять крюк, выбив
клин, и выдать трос назад. На правом лонжероне рамы установлен клин, который
служит для закрепления троса при самовытаскивании автомобиля с помощью
блока.Дистанционное, электропневматическое управление приводом лебедки
осуществляется переключателем, установленным в кабине.Вал барабана лебедки
отключается от редуктора поворотом рычага, вследствие чего муфта включения
выходит из зацепления с червячным колесом редуктора. Пользуясь лебедкой,
необходимо соблюдать следующие правила: разматывать трос надо вручную, отключив
вал барабана лебедки (допускается принудительное разматывание троса, но при
этом его слабину надо выбирать вручную);перед началом подтягивания на барабане
должно быть не менее четырех витков троса;угол отклонения троса от оси
автомобиля при подтягивании не должен превышать 15°;при подтягивании следует
плавно увеличивать частоту вращения коленчатого вала двигателя. Резкое
увеличение частоты вращения не увеличивает тягового усилия на тросе, но может
вызвать срез предохранительного штифта; в случае среза предохранительного
штифта во избежание задира карданного вала в вилке необходимо немедленно
остановить лебедку, выключив сцепление и установив нейтраль в коробке передач; запрещается
использовать вместо предохранительного штифта болты или другие детали; во
избежание перегрева редуктора не разрешается подтягивание троса на полную длину
более трех раз подряд с максимальной или близкой к ней нагрузкой; нельзя
использовать трос лебедки для буксировки автомобиля; при движении автомобиля
трос лебедки должен быть туго намотан на барабан
3. Включение
лебедки автомобиля
Для включения
лебедки автомобиля Урал-4320 необходимо установить рычаги раздаточной коробки и
коробки передач в нейтральное положение. Для принудительной выдачи троса,
пользуясь ключом на 30 мм, поставить рычаг подвижной муфты в верхнее
(включенное) положение. Для ручной размотки троса рычаг подвижной муфты должен
находиться в нижнем (выключенном) положении. Включить коробку отбора мощности,
первую или вторую передачу в коробке передач и выдать трос на необходимую
длину. Включить передачу заднего хода для подтягивания груза; при
самовытаскивании автомобиля включить пониженную передачу в раздаточной коробке
и передачу заднего хода в коробке передач. Для включения лебедки автомобиля
КамАЗ-4310 необходимо выжать до отказа педаль сцепления, установить
переключатель раздаточной коробки в нейтральное положение, а переключатель
лебедки в положение «Включено» и опустить педаль сцепления. Для наматывания
троса на барабан включить первую передачу в коробке передач. В случае
принудительного разматывания троса следует включать передачу заднего хода. Производя
самовытаскивание автомобиля, следует размотать трос, зацепить его за дерево или
столб, включить лебедку и первую передачу в коробке передач. С целью повышения
эффективности самовытаскивания при выдаче троса вперед допускается включать
первую (понижающую) передачу в раздаточной коробке, предварительно заблокировав
межосевой дифференциал. При самовытаскивании назад с применением блока
необходимо выбить клин, освободить трос, от крюка и закрепить его клином на
правом лонжероне рамы. Закончив пользование лебедкой, зацепить крюк троса за
левый буксирный крюк, включить лебедку, первую передачу в коробке передач и
натянуть трос.
4. Коробка отбора
мощности автомобиля
Коробка отбора мощности
автомобиля Урал-4326 предназначена для отбора мощности от
коробки передач и привода различных агрегатов. Она обеспечивает длительный
отбор мощности до 25 кВт (до 35 л. с). Крепится коробка к фланцу люка коробки
передач. Шестерни отбора мощности прямозубые
Рисунок
- 4.1 Коробка отбора мощности
Ведущая шестерня
7 (рис. 4.1) свободно вращается на роликоподшипниках 8 на оси 9 и находится в
постоянном зацеплении с шестерней заднего хода коробки передач. На выходной вал
11 отбираемая мощность передается подвижной шестерней 10, которая входит в
зацепление с ведущей шестерней 7. Управление коробкой отбора мощности
осуществляется рычагом, расположенным в кабине справа от водителя. Рычаг
фиксируется в нейтральном положении штифтом 2, который упирается в прорезь выступающей
части кронштейна /. Для включения коробки отбора мощности рычаг утапливается до
упора и переводится в положение включения отбора.
5. Коробка
дополнительного отбора
Коробка дополнительного отбора мощности
автомобиля Урал-4320 служит для привода лебедки. Отбор мощности производится от
первичного вала раздаточной коробки через подвижную муфту. Если автомобиль не
оборудован лебедкой, то отбираемая мощность может быть использована для привода
различных агрегатов в стационарных условиях и в движении. Коробка обеспечивает
отбор до 40 % максимальной мощности двигателя. Коробка дополнительного отбора
мощности состоит из корпуса, в котором на подшипниках установлен вал муфты
включения, механизма включения и масляного насоса. При включении муфты мощность
от первичного вала раздаточной коробки передается на вал коробки
дополнительного отбора мощности. Работа коробки дополнительного отбора мощности
возможна при нейтральном положении раздаточной коробки, когда шестерни
раздаточной коробки неподвижные и нет разбрызгивания масла. Для смазки
подшипников в корпусе установлен плунжерный масляный насос. Насос состоит из
корпуса, поршня с нагнетательным клапаном, цилиндра и предохранительного
клапана. Поршень приводится в действие установленным па валу эксцентриком. Для
предотвращения чрезмерного давления с увеличением частоты вращения применен
всасывающий клапан дифференциального типа с цилиндрической пружиной. Масло
забирается через трубку из масляной ванны раздаточной коробки и из насоса
поступает к подшипникам шестерен через каналы, выполненные в валу первичном
валу раздаточной коробки. Часть масла путем разбрызгивания смазывает подшипники
валов. Включается коробка дополнительного отбора мощности рычагом,
установленным в кабине. Для предотвращения самопроизвольного включения коробки
имеется стопор, фиксирующий рычаг в выключенном положении. При длительной
работе коробки дополнительного отбора мощности не должно наблюдаться
повышенного нагрева подшипников первичного' вала раздаточной коробки и вала
отбора мощности. Такой нагрев свидетельствует о неисправности масляного насоса.
Система
герметизации
Система
герметизации автомобиля Урал-4320 предназначена для обеспечения надежности
работы агрегатов и систем автомобиля, подвергающихся воздействию воды при
преодолении бродов. Такие узлы и агрегаты, как коробка передач, раздаточная
коробка, сцепление, редукторы мостов, поворотные кулаки, цилиндр
гидроподъемника, лебедка, пневмоусилители, главные тормозные цилиндры,
тормозной кран предохранены от попадания воды уплотнительными прокладками и
соединительными болтами наплотнительной пасте.
6.
Коробка
отбора мощности автомобиля КамАЗ-4310
Коробка отбора
мощности автомобиля КамАЗ-4310 предназначена для привода лебедки и
установлена на раздаточной коробке. Она состоит из выходного вала, установленного
на двух шарикоподшипниках. На шлицах выходного вала закреплен фланец с
отражателем для присоединения карданного вала привода лебедки. По шлицам
переднего конца выходного вала перемещается подвижная муфта, включающая отбор
мощности и входящая в зацепление со шлицами верхнего вала раздаточной коробки.
Стакан подшипников закрыт крышкой, уплотненной прокладкой. Для предотвращения
вытекания масла в крышке стакана установлена резиновая манжета а пружиной.
Коробка отбора мощности включается пневматическим механизмом диафрагменного
типа с дистанционным управлением.
7. Регулировка
При эксплуатации
лебедки проводится регулировка подшипников червяка и вала червячного колеса,
тормоза и натяжения цепи тросоукладчика. Подшипники редуктора регулируют при
появлении в них осевых зазоров, а также при установке новой червячной пары.
Регулировать подшипники необходимо в том случае, если затяжка болтов крышек
подшипников не устранила осевого зазора. Подшипники должны быть отрегулированы
с предварительным натягом. Крутящий момент для проворачивания вала червяка в
подшипниках должен быть 1...2.5 Н • м (0,1... 0,25 кгс • м). Если вал вращается
слишком свободно или имеет осевой зазор, удалить часть прокладок равной толщины
из-под передней и задней крышек подшипников. Если для вращения вала требуется
приложить крутящий момент более 2,5 Н • м (0,25 кгс • м), то под крышки
необходимо добавить прокладки равной толщины. При проверке момента вращения
вала червяка болты крепления крышек должны быть затянуты до отказа. Количество
прокладок под задней и передней крышками после регулировки должно быть
приблизительно одинаковым, что облегчает последующую регулировку зацепления
червячной пары. Конические подшипники вала червячного колеса следует
регулировать изменением количества прокладок под фланцами крышек. Проверить
предварительный натяг подшипников вала червячного колеса в зацеплении с
червяком. Крутящий момент для проворачивания вала червячного колеса в
подшипниках должен быть 3...6 Н • м (0,3...0,6 кгс • м). После окончательной
регулировки подшипников нужно отрегулировать червячную пару.Тормоз регулировать
при работающем на передаче заднего хода приводе и выключенной подвижной муфте
барабана. Если в те чение 1...3 мин тормоз нагревается выше температуры,
которую может выдержать рука, гайку и контргайку крепления ленты отвернуть на
два-три оборота.Натяжение цепи тросоукладчика регулируется прокладками 2 и 8
(см. рис. 9.3). Провисание нижней ветви должно быть З...10мм.
Неисправности
В процессе
эксплуатации лебедки может возникнуть такая неисправность, при которой
тросоукладчик не обеспечивает укладку троса на барабане. Это возможно
вследствие разрыва цепи, поломки сухаря, разрушения витков ходового винта. При
ремонте необходимо заменить поломанные детали. Если срезается предохранительный
штифт на кардане привода лебедки, то необходимо поставить новый штифт и
уменьшить нагрузку на трос лебедки путем применения блоков. При затрудненном
включении коробки дополнительного отбора мощности, что возможно из-за заусениц
на шлицах ведущего вала и муфты включения или заедания фиксаторов, необходимо
зачистить поверхность шлицев, прочистить отверстие под шарик в корпусе
фиксатора. Если не работает масляный насос коробки дополнительного отбора
мощности, что возможно при повреждении трубки подвода масла, засорении
масляного канала, западании клапана насоса или подсоса воздуха, то необходимо
соответственно заменить трубку подвода масла, продуть каналы сжатым воздухом,
разобрать коробку и тщательно промыть все детали или устранить подсос воздуха.
Техническое
обслуживание
Техническое
обслуживание лебедки заключается в регулярной смазке, проверке качества
уплотнений и состояния троса. Трос протирать и смазывать жидким маслом. Уровень
масла в редукторе лебедки проверять через закрываемое пробкой контрольное
отверстие на картере редуктора. При сезонном обслуживании заменять масло в
редукторе. Периодически очищать от грязи лебедку и смазывать ходовой винт и
цепь тросоукладчика, проверять все крепления лебедки. Перед пользованием
лебедкой проверить крапление троса в коуше и состояние крюка блока лебедки. При
техническом обслуживании системы регулирования давления воздуха в шинах особое
внимание следует обращать на герметичность трубопроводов и гибких шлангов, где
больше всего вероятность повреждения и ослабления креплений в соединениях.
Место значительной утечки воздуха определяю! на слух, а место малой утечки —
смачиванием мыльной эмульсией. Периодически следует продувать воздухопроводы
системы и сливать конденсат из воздушных баллонов. В зимнее время конденсат
сливать ежедневно. Если на автомобиле Урал-4320 коробка дополнительного отбора
мощности включается редко, то при сезонном техническом обслуживании необходимо
из коробки слить конденсат. Для этого ее необходимо разобрать, после чего
промыть и смазать детали. После установки коробки проверить работу масляного
насоса. Проверку работоспособности насоса делают два человек в такой
последовательности: установить в нейтральное положение рычаг включения передач
раздаточной коробки, отключить лебедку (для чего опустить вниз рычаг на правом
лонжероне рамы), затормозить машину стояночным тормозом, вывернуть заглушку в
корпусе 8 (см. рис. 9.8), пустить двигатель, включить коробку дополнительного
отбора мощности и одну из передач в коробке передач. Затем определить
исправность насоса, закрыв отверстие под заглушку пальцем. При исправном насосе
ощущается пульсация масла в отверстии под заглушку.
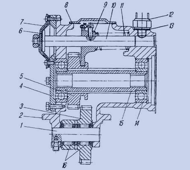
Коробка зависимого
отбора мощности (КЗОМ) служит для отбора мощности от промежуточного вала
коробки передач через специально устанавливаемую шестерню и предназначена для
привода вспомогательных агрегатов и механизмов, устанавливаемых на автомобили
Урал

Рисунок-8.1
Коробка зависимого отбора мощности (КЗОМ)
Коробка отбора мощности
(КОМ) - шестеренчатая, крепится к картеру коробки передач (с фланцами для
механического привода, возможна установка различных типов гидронасосов).
Максимально отбираемая мощность до 30л.с. при частоте вращения коленчатого вала
двигателя 1200-1800 об/мин, отбор мощности осуществляется только на стоянке.
Рисунок-8.2
Коробка зависимого отбора мощности (КЗОМ)
Коробка отбора мощности состоит:
1 - ось ведущей шестерни; 2 — картер; 3 — шестерня ведущая; 4 — крышка
картера; 5 — шестерня ведомого вала; 6 — диафрагма камеры включения; 7 - крышка
камеры включения; 8 - крышка; 9 - вилка; 10 - шток вилки включения; 11 -
пружина; 12 - включатель; 13 - прокладки регулировочные; 14 — шарикоподшипники;
15 — вал ведомый; 16 — роликоподшипники
Коробка отбора мощности — одноступенчатая, крепится
к картеру коробки передач с правой стороны. Между фланцами картеров коробки
передач и отбора мощности ставятся регулировочные и уплотнительная прокладки, с
помощью которых на заводе производится регулировка зацепления шестерен. Поэтому
при необходимости замены прокладок общая их толщина должна быть сохранена.
Ведомый вал 15 коробки отбора мощности приводится во вращение от промежуточного
вала коробки передач с помощью специально устанавливаемой для этой цели на валу
шестерни, находящейся в постоянном зацеплении с ведущей шестерней 3 коробки
отбора мощности.
С ведущей шестерней 3 при включении коробки вводится в зацепление ведомая
шестерня 5, которая может перемещаться по наружным шлицам ведомого вала 15 с
помощью вилки 9, жестко связанной со штоком 10.
Включение коробки отбора мощности осуществляется с помощью пневматической
рабочей камеры краном включения масляного насоса. При этом воздух подается в
пневмокамеру, перемещается шток 10 с вилкой 9 и вводит шестерню 5 в зацепление
с ведущей шестерней. Шток воздействует на выключатель 12, замыкая его контакты
и на щитке управления самосвальной установки загорается сигнализатор включения
насоса. При выключении коробки пружина 11 возвращает шток в исходное положение.
Включение коробки отбора мощности следует производить только при давлении
воздуха в пневмосистеме автомобиля не менее 500 кПа (5 кгс/см2) при выключенном
сцеплении.
Масляный насос — шестеренного типа, левого вращения.
Масляный бак - штампованный. В верхней части его имеется заливная горловина и
фланец крепления фильтра. В нижней — отверстие для слива масла, закрытое
резьбовой пробкой, всасывающий патрубок. В заливной горловине установлен
фильтр. Горловина закрывается резьбовой крышкой с подштампованными отверстиями
соединяющими полость бака с атмосферой. Крышка снабжена указателем уровня
масла, имеющим нижнюю и верхнюю отметки. Уровень масла в баке должен быть в
пределах этих отметок. Для проверки уровня (при опущенной платформе) следует
вывернуть пробку с указателем и вставить ее до упора в резьбу. Для
предотвращения попадания пыли и грязи внутрь масляного бака в крышке
установлена волосяная набивка.
На сливной магистрали к фланцу крепится фильтр масляного бака. При чрезмерном
засорении фильтрующего элемента давление в сливной магистрали возрастает,
вследствие чего открывается шариковый клапан и масло сливается в бак, минуя
фильтрующий элемент
9. Установка
коробки дополнительного отбора мощности (КДОМ)
Коробка дополнительного
отбора мощности (ДОМ) служит для отбора мощности от первичного вала раздаточной
коробки через подвижную муфту и предназначен для привода вспомогательных
агрегатов и механизмов, установленных на автомобили УРАЛ.
Рисунок-9.1
Коробка дополнительного отбора мощности УРАЛ-4320
Работа коробки
дополнительного отбора мощности возможна при любой передаче в раздаточной
коробке, включая и нейтральную. Допускается отбор мощности при движении.
Для смазки подшипников
шестерен и валов в коробке дополнительного отбора мощности установлен плунжерный
насос.
Насос состоит из поршня
17,
с нагнетательным клапаном, предохранительного клапана20,
корпуса22.
Поршень с шатуном установлен на эксцентрике вала 3 и при его вращении поступательно перемещается.
Для предотвращения чрезмерного давления с увеличением
частоты вращения всасывающий клапан выполнен дифференциального типа с
цилиндрической пружиной.
Масло забирается через трубку, соединенную с
масляной ванной раздаточной коробки, и из насоса поступает к подшипникам
шестерен через каналы, выполненные в валу 3 и в первичном валу раздаточной коробки.
Часть масла проникает через зазоры и смазывает подшипники
валов.
Для обеспечения дистанционного включения коробки
дополнительного отбора мощности в кабине справа от водителя на нижней кромке
панели приборов на кронштейне установлен кран управления
Рисунок-9.2 Коробка дополнительного отбора мощности
Коробка
дополнительного отбора мощности состоит: 1-корпус; 2-муфта; 3-вал; 4-втулка вала;
5-корпус камеры включения; 6-шток включения; 7-вилка; 8-пружина; 9-крышка;
10-диафрагма; 11-прокладка; 12-фланец; 13-манжета; 14-крышка;
15,23-шарикоподшипники; 16-шатун насоса; 17-поршепь; 18,21 -клапаны насоса;
19-заглушка; 20-клапан предохранительный; 22-корпус клапана.
10.
Установка задней механической лебедки на автомобиль
Урал.
Задняя лебедка является реверсивной.
Сматывание и разматывание троса осуществляется переключением передачи в КПП
автомобиля с передней на заднюю. Доработка карданных валов позволяет установить
лебедку на длиннобазовые модификации автомобилей Урал.

Рисунок-10.1
Установка задней лебедки на автомобиль УРАЛ
Привод задней тяговой лебедки осуществляется от
коробки дополнительного отбора мощности (ДОМ). Крутящий момент забирается от
раздаточной коробки автомобиля. Тяговое усилие на тросе лебедки составляет 9-11
т.с
Лебедка предназначена для
самовытаскивания, а также для вытаскивания автомобилей и прицепов на
труднопроходимых участках.
устройство тяговой механической лебедки
Лебедка состоит
из червячного редуктора, барабана с закрепленным на нем тросом и
тросоукладчика. Привод осуществляется от коробки дополнительного отбора
мощности; тяговое усилие 7-9 т.с., длина троса 60м.
Механизм
редуктора состоит из глобоидной пары с передаточным отношением 31:1. Червячное
колесо приклепано к ступице, которая подвижной муфтой может соединяться с валом
барабана.
На червяке редуктора установлен автоматический ленточный
тормоз, препятствующий самопроизвольному вращению барабана лебедки и
разматыванию троса при выключенном сцеплении автомобиля и при срезе
предохранительного штифта.
Рисунок-10.2
Редуктор лебедки
Редуктор лебедки: 1 - масленка; 2 -
шайба упорная; 3 - звездочка; 4 - кронштейн вала барабана; 5 - шайба стопорная;
6 - гайка; 7 - подшипник скольжения; 8 - втулка распорная; 9 - барабан; 10 -
вал барабана; 11,15 - болты; 12 - крышка редуктора; 13 - отбойник троса; 14 -
муфта неподвижная; 16,24,28,33 - прокладки регулировочные; 17,25,27,37 - крышки
подшипников; 18,23,29,31,32 - подшипники; 19 - картер редуктора; 20 - колесо
червячное; 21 - пробка; 22 - муфта подвижная; 26 - фланец; 30 - червяк
редуктора; 34 - прокладка; 35 - тормоз ленточный; 36 - скоба крепления троса;
38 - кронштейн ходового винта правый; 39 - шток муфты; 40 - вилка; 41 - сухарь;
42 - поперечина подвески лебедки
11.
Установка передней механической лебедки на
автомобиль Урал.
Передние тяговые лебедки
с приводом от трансмиссии автомобиля устанавливаются на доработанный передний
бампер автомобиля на всю ширину бампера, либо на специально вынесенную вперед
каркасную раму, равную ширине лебедки.

Рисунок-11.1
Установка передней механической лебедки
Передние лебедки
производятся в вариантах с реверсом и без реверса. Лебедка с реверсом позволяет
использовать мощность в обоих направления движения троса, что используется в
грузоподъемном механизме "кран-стрела".
Кран-стрелы
используются для обеспечения грузоподъемных операций с массой груза до 2000 кг.
В рабочем положении кран-стрела опирается на передний бампер, в транспортном
положении - грузится на платформу.
Рисунок-11.2
Установка передней механической лебедки в грузоподъемном
механизме "кран-стрела".
12.
Установка передней электрической лебедки на
автомобиль Урал.
Электрические лебедки
удобны для использования с различными агрегатами, т.к. недостаток мощности
компенсируется возможностью установки практически в любом месте - на раме,
бампере, на грузовой платформе и специальных установках.
Электрические лебедки
не обладают достаточной мощностью для вытягивания застрявшего груженого
грузовика, но способны работать при заглохшем двигателе.
Электрические лебедки
также требуют установки дополнительных аккумуляторов, т.к. в процессе работы
двигатель лебедки интенсивно разряжает аккумуляторы и оставшегося заряда может
не хватить для запуска двигателя.

Рисунок-12.1
Передняя электрическая лебедка

Рисунок-12.2
Передняя электрическая лебедка
13.
Коробки отбора мощности Chelsea для АКПП Allison
На все модели АКПП
Allison Transmission можно установить коробки отбора мощности Chelsea (одну или
две). Вам представляется широкий ассортимент моделей механизмов отбора мощности
для спецтехники, рассчитанных на различный рабочий момент, имеющих различные
передаточные числа, направление вращения и выходной фланец.
Специальная
коробка отбора мощности может также быть установлена на раздаточной
коробке.
Ниже представлены
таблицы с техническими характеристиками устройств отбора мощности,
предназначенных для установки на различные серии АКПП Allison. Там, где это не
указано отдельно, имеется возможность установки отбора мощности с правой и с
левой сторон АКПП. А также, если это не указано отдельно, направление вращения
выходного вала отбора мощности совпадает с направлением вращения вала
двигателя.
Рисунок-13.1
Коробки отбора мощности Chelsea для АКПП Allison
Макс. номинальный
момент 5 000 Н*м
Макс. допустимый
момент 7 000 Н*м
Пневматическое
включение, электрический сигнал на подключение.
14.
Раздаточная
коробка VG 2600
Рисунок-14.2
Раздаточная коробка VG 2600 B модификация с КОМ
Рисунок-14.3 Раздаточный редуктор VG 2600
варианты
применения:
Полноприводные грузовые
автомобили
Краны и лебедки
Специальная техника с
приводом оборудования от КОМ
Возможность установки
на АКПП Allison серии 4000
Вариант установки через
карданный вал
технические
характеристики редуктора VG 2600:
Максимальный входной
момент 26 000 Н*м
Максимальная входная
скорость в версии V1 3 250 об/мин
в версии V2 3 500
об/мин
Межосевое расстояние
470 мм
Высшая передача 1,17
Низшая передача 1,87
Распределение крутящего
момента 1:2,5 (28,6:71,4)
Переключение пневматическое
(давление воздуха 6,5÷8,0 Вar), управляющий сигнал электрический,
Система смазки
внутренний масляный насос, возможность использовать внешний контур охлаждения
Объём масла необходимый
прибл. 6,5 л
Тип
масла
SAE 75W-90, Multi Purpose Gear Oil, API-GL-5 или
CD
Макс. рабочая
температура 140°C
Вес (сухой) прибл. 405
кг
Фланец KV180
Входной KV180
Передняя ось KV180
Задняя ось КОМ KV120
Возможность установки
масляного насоса на среднем валу
Рисунок-14.4
Вариант для установки через карданный вал.
Рисунок-14.5Вариант
для непосредственной установки на 6/7 скоростные модели АКПП Allison серии 4000
15.
Состояние охраны труда на СТО
Для того чтобы улучшить
условия труда и снизить травматизм на СТО
разрабатывается план
мероприятий. В плане предусматривается изменение технологического
процесса, внедрения дистанционного и автоматического управления
машинами и оборудованием, обеспечение защиты работников от поражения
работников электрическим током путем замены устаревших приборов на новые и
регулярной проверкой электро безопасности.
Физические и
психофизиологические факторы являются основными опасными и вредными
производственными факторами. Они приводят к профессиональным
заболеваниям, развитие которых проходит постепенно. В СТО,
разрабатывается целый ряд мероприятий для снижения этих факторов.
На СТО строго
соблюдаются правила техники безопасности. Ответственный за соблюдение правил
безопасности является заведующий мастерской. На рабочих местах
развешаны соответствующие инструкции по эксплуатации оборудования.
Стоят щиты с
противопожарными средствами, имеются ящики с песком. Спецодеждой обеспечиваются
все работники СТО За спецодеждой ведется строгий учет и по мере износа ее
заменяют.
Но не смотря на все эти
мероприятия я считаю недостаточным. И по
этому я все таки
предлагаю улучшить условий труда рабочим на СТО.
Список
литературы
Руководство по эксплуатации автомобилей Урал 4320 и
КамАЗ-5320, устройство и техническое обслуживание./В.И. Медведков, С.Т. Билык и
др. –Москва : Издательство ДОСАФ СССР 1981г
#"#">http://www.mega-avtogal.ru/
http://1001uralavtogid.msk.ru/