Водяное отопление

  • Вид работы:
    Реферат
  • Предмет:
    Архитектура
  • Язык:
    Русский
    ,
    Формат файла:
    MS Word
    273,98 kb
  • Опубликовано:
    2010-07-18
Вы можете узнать стоимость помощи в написании студенческой работы.
Помощь в написании работы, которую точно примут!

Водяное отопление

 

 

 

 

 

 

 

 

 

 

Реферат на тему:

"Водяное отопление"

Разработал студент

Проверил:


 

 

 

 

 

 

 

 

 

 

 

 

 

План

 

1.Общие сведения о местном отопле­нии индивидуальных жилых домов………….3-5

2. Принцип действия и устройство системы водяного отопления с естественной циркуляцией теплоносителя……………………………………………………………...5-9

3. Устройство систем водяного отопления с искусственной циркуляцией теплоносителя……………………………………………………………………………...10-14

4. Конструктивные схемы систем водяного отопления……………………………...14-15

5. Системы отопления с вертикальными и горизонтальными стояками………….15

6. Системы отопления  с попутным движением воды в магистралях……………..15-16

 

 

 

 

 

 

 

 

 

 

 

 

 

 

 

 

 

 

 

 

 

 

 

 

 

 

Общие сведения о местном отопле­нии индивидуальных жилых домов

К настоящему времени сложились два основных типа индивидуальных жилых зданий: усадьбы для круглогодичного проживания жильцов и дома (дачи) для проживания только в летний период. С техноло­гической точки зрения требования к усадьбам и лет­ним домам заметно различаются. Поскольку в лет­них домах проживают в основном в летний период, разность температур помещения и наружного возду­ха относительно невелика. Поэтому наружные сте­ны домиков обычно имеют небольшое термическое сопротивление теплопередаче от воздуха внутренне­го помещения к наружному. Как правило, стены лет­них садовых домиков изготавливают из облегченных конструкций. И в этих домиках отопление, как пра­вило, отсутствует.

Необходимость создания комфортных условий в летнем садовом домике и в зимнее время обязывает хозяев использовать различные варианты отопления, причем в качестве теплогенераторов используются в основном печи на твердом топливе. Кроме печей и каминов могут быть рекомендованы также электро­нагреватели (ТЕНы, рефлекторы, электрокамины и т.д.). В этих случаях не следует использовать водя­ные системы отопления, поскольку при отрицатель­ных температурах нужно сливать воду из системы, а затем вновь заполнять ее водой - занятие, связанное с определенными неудобствами, Избежать их можно, если использовать в качестве теплоносителя незамер­зающую жидкость - антифриз. Однако следует счи­таться с тем, что антифриз достаточно дорог и ток­сичен.

Что касается теплоснабжения усадебных и дачных домиков с круглогодичным проживанием жильцов, то их устройства дол лены обеспечивать весь комп­лекс удобств, предоставляемых городским жителям: отопление, горячее водоснабжение, возможность при­готовления пищи. В то же время основные теллопотребляющие элементы домов - системы отопления и горячего водоснабжения - имеют некоторые особен­ности в сравнении с системами отопления и горячего водоснабжения городских жилых зданий. Они состо­ят в следующем:

1)  поскольку дома усадебного типа имеют неболь­шой объем и соответственно небольшие теллопотери, их обычно подсоединяют к наружным теплосе­тям, обслуживаемым групповой или индивидуаль­ной котельной с температурой теплоносителя не бо­лее 95°С. Присоединение квартирных систем ото­пления к теплосети в этом случае молено произво­дить без подмешивающих устройств в виде элевато­ров;

2)  ввиду того, что усадебные дома имеют один-два этажа, в них, как правило, целесообразно применять наиболее простую однотрубную систему отопления;

3)  из-за отсутствия регуляторов для небольших рас­ходов сетевой воды для присоединения к теплосети систем горячего водоснабжения  следует использовать емкостные водонагреватели, в которых вода теплосети нагревает местную воду через поверхность размещенного в нем змеевика (бойлерные котлы).

Для отопления малоэтажных здании в настоящее время применяют печное, водяное, электрическое и воздушное отопление.

Наиболее совершенно электрическое отопление, удобством регулирования тепловой нагрузки, отсутствием громоздких отопительных приборов, высокой гигиеничностью. Единственный, но часто решающий недостаток электрического отопления - его дороговизна. Стоимость единицы отпущенного тепла при электрическом отоплении в несколько раз выше, чем при выработке тепла  в печах или котлах.

т.е. теплоемкость воды больше чем теплоемкость воздуха почти в 4000 раз. Соответственно объем­ный расход ее, необходимый для отопления одного и того же помещения в тысячи раз меньше расхо­да воздуха, в силу этого требуется гораздо меньшее сечение соединительных коммуникаций, транспор­тирующих разогретый теплоноситель в отапливае­мое помещение. Большие объемы нагретого возду­ха затрудняют его транспортировку и распределе­ние по отапливаемым помещениям. Из-за значи­тельных диаметров разделительных воздуховодов вентилятор для передачи нагретого воздуха необ­ходимо располагать вблизи отапливаемого жилого помещения, что связано с проникновением в поме­щение шума от работающего вентилятора.

Вместе с тем воздух как теплоноситель имеет ряд преимуществ по сравнению с водой.

            Во-первых, он передает тепло в помещение не­посредственно, т.е. без установки отопительных приборов. Проникающая способность воздуха ве­лика, за счет высокой конвенционной способности осуществляется  эффективное отопление помещения.

Во-вторых, не требуется устройств канализа­ции теплоносителя (воздуха).

Достоинства воздушного отопления оценены че­ловеком давно. Известно, что отопление горячими газами было первым способом искусственного ото­пления жилища.

Простой и древний способ отопления путем сжи­гания топлива внутри помещения соседствовал с центральными установками водяного и воздушно­го отопления. Так, в г. Эфесе, основанном в X веке до н.э. па территории современной Турции, для ото­пления помещений уже в то время использовалась система трубок, в которые подавалась горячая вода из котлов, находящихся в подвалах домов. В Хака­сии и многих других местах нашей страны приме­нялось напольное отопление с использованием теп­лоты продуктов сгорания централизованно-сжига­емого топлива. Система воздушного отопления, со­зданная в Италии, подробно описана еще Витрувием (конец I века до н.э.). Наружный воздух нагре­вался в подпольных каналах, предварительно-про­гретых горячими газами, и поступал в отапливаемые помещения. По такому нее принципу отапли­вались помещения замков в Германии в средние века.

На развитие отопительной техники оказывал вли­яние вид применяемого топлива. В течении мно­гих столетий использовалось твердое топливо (дрова, уголь) и отопительные установки приспосаблива­лись к  его  сгоранию.  Известны многочисленные конструкции очагов и жаровен, каминов и особен­но печей, получивших широкое распространение в России. Отопительные печи для сжигания твердого топлива часто применяют и сейчас.

С открытием новых видов топлива (природный газ, нефть) создаются отопительные установки и тепловые станции для их сжигания с нагреванием промежуточной среды, переносящей теплоту в по­мещения.

В современных системах воздушного отопления малоэтажных зданий воздух нагревают обычно в калориферах-теплообменниках, печах, в которых тепло передается воздуху через стенку продукта­ми сгорания топлива или электрическими нагре­вателями. Нагретая изнутри металлическая (или кирпичная) поверхность калорифера (печи) охлаж­дается снаружи, отдавая тепло воздуху. Теплоотда­ча воздуху тем выше, чем больше поверхность теп­лообмена, поэтому искусственно увеличивают по­верхность теплообмена или увеличивают скорость движения воздуха, соприкасающегося с поверхнос­тью теплообменника.

Плотность воздуха при средней температуре 4-70°С примерно в тысячу раз меньше чем воды, поэтому его нагревающая способность (коэффициент тепло­передачи) значительно (в 30-50 раз) меньше, чем этот показатель для воды. Таким образом в огневоздушных калориферах (теплообменниках) суще­ствует опасность перегрева разделяющей стенки теплообменника. Чтобы исключить это негативное явление, применяют принудительное движение воз­душной среды в теплообменнике с помощью вен­тиляторов. Промышленностью, к сожалению, выпус­кается мало вентиляторов с низкой производитель­ностью и поэтому в большинстве случаев применя­ются огневоздушные калориферы и теплообменни­ки, в которых используется, так называемая есте­ственная тяга, возникающая при его нагреве. Не­достатком калориферов с естественной тягой яв­ляется незначительная величина возникающего напора воздуха. Это ограничивает протяженность распределительных воздуховодов и создает труд­ности в распределении нагретого воздуха по поме­щениям.

Указанный недостаток калориферов с естествен­ной тягой не является определяющим. Главная причина того, что воздушное отопление еще мало распространено в малоэтажных зданиях, состоит в недостаточном выпуске дешевых и малопроизводительных вентиляторов, а также в создаваемом ими шуме. Кроме того, конструкции разработан­ных к настоящему времени калориферов предус­мотрены только для сжигания сетевого газа или жидкого топлива. Поэтому наибольшее распрост­ранение для отопления малоэтажных зданий по­лучило печное и водяное отопления. Причем дви­жение воды в водяных системах можно осуществить, без применения насосов, используя естественный напор, возникающий в следствии охлаждения воды в нагревательных приборах.

Принцип действия и устройство

системы водяного отопления

с естественной циркуляцией

теплоносителя

Принципиальная схема системы водяного отопле­ния с естественной циркуляцией теплоносителя показана на рис. 1.1. Вода от котла к приборам теп­лообменника и обратно двигается под действием гидростатического напора, возникающего благодаря различной плотности охлажденной и нагретой жид­кости (теплоносителя).

Какая же сила заставляет воду циркулировать в системе, т.е. двигаться по трубам из котла в нагре­вательные приборы и обратно в котел? Эта сила воз­никает при нагревании воды в котле и охлаждении ее в нагревательных приборах. Вода, нагретая в кот­ле 1, как более легкая, поднимается по главному по­дающему стояку 2 вверх. Из стояка она поступает в разводящие магистральные трубопроводы 3, а из них через подающие стояки 4 - в нагревательные прибо­ры. Здесь вода остывает и поэтому становится более тяжелой. Например плотность воды при 400С состав­ляет 992,24 кг/м3, при 70 °С - 977,8 кг/м3, при 95°С -961,9 кг/м3. Охлажденная вода через обратные сто­яки 5 и обратную линию 6 опускается вниз и своим весом вытесняет нагретую воду из котла вверх - в главный подающий стояк.

Описанный процесс непрерывно повторяется и в результате происходит постоянная циркуляция воды в системе.

Сила циркуляции, или, как принято гово­рить, циркуляционное давление, зависит от разности весов столба горячей и столба охлажденной (обрат­ной) воды, следовательно, она зависит от разности температур горячей и обратной воды. Кроме того, циркуляционное давление обуславливается ещё высотой расположения нагревательного прибора над котлом: чем выше расположен прибор, тем больше для него циркуляционное давление.

Это можно доказать следующим образом.

В системах водяного отопления наибольшая темпе­ратура горячей воды обычно равна 95°С, а охлажден­ной - 70°С. Если пренебречь охлаждением воды в трубах, то можно считать, что в нагревательный при­бор вода поступает с температурой 95°С, а уходит из него с температурой 70°С. При этом условии опреде­лим сначала для верхнего, а затем для нижнего на­гревательного прибора циркуляционное давление, под влиянием которого происходит через них движение воды.

Проведем на рис. 1.1а пунктирные горизонтальные линии через центры нагревательных приборов и котла. Допустим, что эти линии являются границей между водой с температурой 95°С и водой с температу­рой 70°C. Очевидно, что на участке ВГДЛЕ температура воды будет одинакова и равна 95°С, следовательно, здесь не может возникнуть сила, которая заставила бы воду циркулировать. Одинакова и равна 70°С; температура на участке АКИЗ, поэтому и тут не мо­жет быть создана необходимая сила. Остается раcсмотреть остальные два участка - АВ и ЕЗ. На учас­тке АВ температура воды равна 95°С, а на участке ЕЗ она составляет 70°С. При таком соотношении температур налицо необходимое условие для возникновения циркуляционного давления - вследствие разности весов воды на участке ЕЗ и АВ и создается; циркуляция в кольце АБВГДЛЕЖЗИК. Сказанное относится к верхнему нагревательному прибору.

Для прибора, расположенного в нижнем этаже и включенного в кольцо АБВГДЛМЖЗИК, циркуляционное давление будет создаваться разностью весов столба воды ЖЗ и столба АБ, так как на участке БГДМЖ температура одинакова и равна 95°С, а на участке АЕИЗ температура тоже одинакова и равна 70°С. Но высота столбов воды АВ и ЕЗ соответствен­но больше высоты столбов воды АБ и ЖЗ. Следовательно, и разница в весе столбов АВ и ЕЗ будет боль­ше разницы в весе столбов АБ и ЖЗ, отсюда цирку­ляционное давление для прибора второго этажа боль­ше, чем для прибора первого этажа.

Этим объясняется следующее часто наблюдающее­ся явление: в системах водяного отопления нагрева­тельные приборы верхних этажей прогреваются луч­ше, чем приборы нижних этажей.

Из приведенных выше рассуждений вытекает, что в двухтрубных системах отопления нагревательные приборы, расположенные на одном уровне с котлом или ниже его, работать не будут или же будут очень слабо прогреваться. Для указанных систем практи­кой установлено наименьшее расстояние между цен­тром нагревательных приборов нижнего этажа и центром котла в 3 метра. В связи с этим котельные для систем отопления должны иметь достаточное заглубление. Указанного недостатка лишены одно­трубные системы отопления. В этом случае гидро­статический напор,  заставляющий циркулировать воду в системе, будет образовываться из-за охлажде­ния воды в трубопроводах, подводящих нагретую воду к нагревательным приборам, а также отводящих ох­лажденную воду от приборов к котлу.

 Это охлаждение полезно, во-первых, для создания гидростатического напора, а во-вторых, для дополни­тельного, обогрева помещения, поэтому указанные трубопроводы прокладывают открыто и не изолиру­ют. Напротив, охлаждение воды в главном стояке (подъемном трубопроводе) вредно, ибо приводит к снижению температуры и увеличению плотности и, как следствие, к уменьшению гидростатического на­пора. В связи с этим подъемный стояк от котла не­обходимо тщательно теплоизолировать.

Количество тепла, отдаваемого помещению нагре­вательными приборами, зависит от количества посту­пающей в прибор воды и ее температуры. В свою очередь, количество воды, которое может быть пропу­щено через трубопровод к прибору, зависит от цир­куляционного давления, заставляющего воду двигать­ся по трубе. Чем больше циркуляционное давление, тем меньше может быть диаметр трубы для пропус­ка определенного количества воды и наоборот чем меньше циркуляционное давление, тем больше дол­жен быть диаметр трубы.

Но для нормального действия системы отопления требуется еще одно условие: чтобы циркуляционное давление было достаточным для преодоления всех сопротивлений, которые встречает движущаяся в этой системе вода. Известно, что вода при своем движе­нии в системе отопления встречает сопротивления, вызываемые трением воды о стенки труб, а кроме них, еще и местные сопротивления, к которым отно­сятся отводы, тройники, крестовины, краны, нагрева­тельные приборы и котлы.

Сопротивление вследствие трения зависит от диа­метра и длины трубопровода, а также от скорости движения воды (если скорость увеличится в два раза, то сопротивление - в четыре раза, т.е. в квадратич­ной зависимости). Чем меньше диаметр и больше длина трубопровода и чем выше скорость воды, тем больше сопротивление создается на пути воды и на­оборот. В схеме отопления, изображенной на рис. 1.1а имеется два кольца: одно, проходящее через ближай­ший к котлу стояк, и другое, которое проходит через дальний стояк. Так как первое кольцо короче второ­го, то при одинаковой в обеих кольцах тепловой на­грузке и одинаковых диаметров труб будет прохо­дить по короткому кольцу больше воды, чем требу­ется по расчету, ж в результате по длинному кольцу будет проходить меньше воды, чем следует по расче­ту. Чтобы этого избежать необходимо для дальнего стояка применять трубы большего диаметра, чем для ближайшего стояка, и таким образом уравнять со­противления в обеих кольцах. При большей длине труб сопротивление возрастает, с увеличением диа­метра труб оно падает.

Величина местного сопротивления зависит, во-пер­вых, от скорости воды, следовательно, и от изменения сечения, вызывающего изменение этой скорости (на­пример, в кранах, нагревательных приборах, котлах и т.д.), во-вторых, от изменения направления, по ко­торому движется вода, и изменения количества воды (например, в отводах, тройниках, крестовинах, венти­лях).

Показанная ка рис. 1.1а система отопления -  это система с верхней разводкой. Здесь горячая вода поднимается через главный стояк в магистральный трубопровод, прокладываемый обычно на чердаке.  

На рис. 1.16 показана система отопления с нижней разводкой. В этой системе подающая магистраль, питающая восходящие стояки, располагается на пер­вом этаже в подпольном канале или же в подвале здания. Обратные стояки присоединяются к общей обратной магистрали.

По принципу действия система отопления с нижней разводкой не отличается от системы с верхней раз­водкой. И тут, и там циркуляция создается потому, что горячая вода, как более легкая, вытесняется об­ратной водой вверх по стоякам; остывая в нагрева­тельных приборах, эта вода опускается вниз через обратные стояки и снова поступает в котел.

В системах с естественным побуждением в здани­ях небольшой этажности величина циркуляционно­го давления невелика, и поэтому в них нельзя допус­кать больших скоростей движения воды в трубах; следовательно, диаметры труб должны быть больши­ми. Система может оказаться экономически невы­годной. Поэтому применение систем с естественной циркуляцией допускается лишь для небольших зда­ний.

Перечислим недостатки систем отопления с естественной циркуляцией воды:

1.   сокращен радиус действия (до 30м по горизонта­ли) из-за небольшого циркуляционного давления;

2.   повышена стоимость (до 5-7% стоимости здания), в связи с применением труб большого диаметра;

3.   увеличены расход металла и затраты труда на монтаж системы;

4.    замедлено включение системы в действие;

5.   повышены опасность замерзания воды в трубах, проложенных в неотапливаемых помещениях.

Вместе с тем, отметим преимущества системы с естественной циркуляцией  воды, определяющие в от­дельных случаях ее выбор:

1.   относительная простота устройства и эксплуата­ции;

2.   независимость действия от снабжения электри­ческой энергией;

3.   отсутствие насоса, а соответственно шума и вибра­ций;

4.   сравнительная долговечность (при правильной эксплуатации система может действовать 35-40 лет и более без капитального ремонта);

5.   саморегулирование, обусловливающее ровную тем­пературу помещений. В системе при изменении тем­пературы и плотности воды изменяется и расход вследствие возрастания или уменьшения естествен­ного циркуляционного давления. Одновременное из­менение температуры и расхода воды обеспечивает теплопередачу приборов, необходимую для поддержа­ния заданной температуры помещений, т.е. придает системе тепловую устойчивость.

Устройство систем водяного отопления с искусственной

циркуляцией теплоносителя

В системах водяного отопления с естествен­ной циркуляцией циркуляционные давления измеряются всего лишь десятками миллиметров водяного столба. Столь малые давления не по­зволяют устраивать данные системы в зданиях, .имеющих большую протяженность, кроме того,

они требуют применения труб значительных диаметров, что ведет к большому расходу метал­ла.

Перечисленных недостатков лишены системы во­дяного отопления с искусственной циркуляцией. В них циркуляция воды создается центробежными насосами. Насосы, действующие в замкнутых коль­цах системы: отопления, заполненных водой, воду не поднимают, а только ее перемещают, создавая цирку­ляцию, и поэтому называются циркуляционными.


Циркуляционный насос включает, как правило, обратную магистраль системы отопления для увеличения срока службы деталей, взаимодействующих с горячей водой. На рис. 1.2 изображены системы отопления с искусственной циркуляцией. Расширительный бак подсоединяют не к подающей, а к обратной магистрали.

В системах отопления целесообразно применять специальные циркуляционные насосы перемещающие значительное количество воды и развивающие сравнительно небольшие давления. Это малошумные горизонтальные лопастные насосы центробежного типа, соединенные в единый блок с электродвигателями и закрепляемые непосредственно на трубах (без фундамента), например насосы типа ЦНИПС (рис. 1.3) или ЦВЦ (рис. 1.4).

            Применение насосных: систем отопления позволяет существенно увеличить протяженность, трубопровода и уменьшить металлоемкость системы отопления за счет уменьшения диаметров разводящих трубе проводов. Кроме того, с установкой циркуляционного насоса появляется возможность применения новых схемных решений системы отопления, например, отказ от верхней разводки трубопроводов. Однако применение насосных систем отопления возможно только при условии надежного электроснабжения.

При отсутствии теплогенераторов на твердом топливе с топками длительного горения могут найти применение системы водяного отопления с баком аккумулятором и циркуляционным насосом типа ЦВЦ (рис. 1.5) такая система позволяет значительно сократить эксплуатационные затраты по обслуживанию генератора теплоты.

Принцип подобной системы отопления состоит в том,  что тепловую мощность теплогенератора выбирают в 3 раза больше, чем теплопотери отапливаемого дом, за счет чего появляется возможность не только обеспечивать компенсацию теплопотерь дома, но и аккумулировать теплоту в специальном баке, которы начинает работать по прекращении эксплуатации теплогенератора.  Объем бака-аккумулятора подбирают таким образом, чтобы время его разрядки составляло не менее 8 часов (при работе теплогенераторов два раза в сутки по 4 часа). Для эффективной работы системы бак-аккумулятор тщательно теплоизолирован с целью исключении потерь теплоты.

Конструктивные схемы систем водяного отопления

Конструктивно системы водяного отопления (как с естественным, так и с искусственным побуждени­ем) подразделяют:

1.   по шесту прокладки подающей магистрали - на системы с верхней и нижней разводкой;

2.   по способу присоединения нагревательных при­боров к подающим стоякам - на однотрубные и двух­трубные;

3.   по расположению стояков - на системы с верти­кальными и горизонтальными стояками;

4.   по схеме прокладки магистрали - на системы с тупиковой схемой и с попутным движением воды в магистралях.

Однотрубные и двухтрубные системы отопления

В однотрубных системах в нижние нагревательные приборы поступает смесь горячей воды и воды, ох­лажденной в верхних приборах. Так как температу­ра этой смеси ниже температуры воды б приборах верхних этажей, то поверхность нагрева нижних при­боров должна быть несколько увеличена.

В однотрубных системах вода циркулирует в на­гревательных приборах и стояках, которые их пита­ют, вследствие разности температур воды в тех и дру­гих. Однотрубные системы можно устраивать по двум схемам. При схеме радиаторы поступает из стояка только часть воды, остальная вода направляется по стояку к нижерас­положенным радиаторам, Количество воды для каж­дого нагревательного прибора можно регулировать кранами, установленными у приборов.

Другая проточная система.. Здесь вся вода из стояка проходит последовательно через все нагревательные приборы, начиная с верх­ней. В отличии от простой однотрубной системы, в проточной системе в нижележащие радиаторы по­ступает не смесь горячей и охлажденной в верхних приборах воды, а только охлажденная вода.

В проточных системах нельзя ставить у нагрева­тельных приборов обычные краны двойной регулировки. Если бы были установлены такие краны, то, перекрыв у того или иного прибора крап, уменьши­ли бы подачу воды во все приборы, присоединенные к стояку, а полностью закрыв один из кранов, можно прекратить циркуляцию воды через все приборы данного стояка.  Между тем установка нагревательных приборов без кранов влечет за собой большие неудобства, так как тогда становится невозможным регулировать температуру воздуха в помещениях.

Однотрубные системы отопления могут выполнятся только с верхней развод-ком, поэтому их применяют в зданиях, где имеются чердаки и где можно располагать подающие магистрали в верхних этажах. Поэтажный пуск данных систем в действие невозможен, и в этом их недостаток,

Однако по сравнению  с двухтрубными  системами (рис. 1.6) отопления однотрубные проще в монтаже и, кроме того, имеют более красивый внешний вид. Достоинство их в том, что на устройство однотрубной системы требуется меньше труб, чем на устройство двухтрубной.

Все эти положительные особенности  однотрубных систем весьма существенны и вполне оправдывают их широкое применение.

Системы отопления с вертикальными и горизонтальными стояками

Если нагревательные приборы разных этажей подключаются к единому стояку, то такая система яв­ляется системой с вертикальными стояками. Если нагревательные приборы одного эта­жа подключаются к единому стояку - это система с горизонтальными стояками. Преимуществом системы с горизонтальным расположением стояка является меньшая стоимость монтажа и экономия труб. Недостатком является сложность эксп­луатации и возможность скопления воздуха в на­гревательных приборах с образованием воздушных пробок.

Системы отопления тупиковые я с попутным движением воды в магистралях

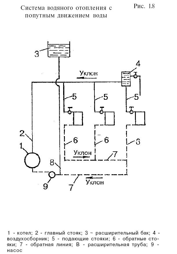
Показанные на рис. 1.2 системы отопления относят­ся к так называемым тупиковым системам, в которых циркуляционные кольца не равны по длине, при­чем самое короткое кольцо проходит через стояк, ближайший к котлу, а самое длинное - через стояк, наиболее отдаленный от котла.

На рис. 1.8 изображена система отопления другого типа, где длина всех колец одна и та же и, следова­тельно, одинаково сопротивление колец (при одина­ковой тепловой нагрузке стояков). Такие системы называют системами с попутным движением воды, причем их обычно устанавливают только в систе­мах с насосной циркуляцией. В этих системах все стояки и нагревательные приборы находятся почти в равных условиях, что значительно облегчает регу­лировку.

Недостаток систем с попутным движением воды: состоит в том, что для их устройства требуется большее количество труб, чем для тупиковых систем.






Список использованной литературы:

  1. Чернов Г.С.- Водяное отопление дома, дач,2005
  2. Горбов А.Н.- Ремонт сантехники,2001
  3. Белов Н.В.- Сам себе слесарь, 2003
  4. Большая энциклопедия Кирилла и Мефодия – 2007
  5. Журнал "Сантехника, отопление, кондиционирование, 2002. №4
  6. Интернет: http://tgv.ulstu.ru/library/scientists/

Не нашли материал для своей работы?
Поможем написать уникальную работу
Без плагиата!
Без нейросетей!