Конструирование микросхем

  • Вид работы:
    Реферат
  • Предмет:
    История техники
  • Язык:
    Русский
    ,
    Формат файла:
    MS Word
    20,55 kb
  • Опубликовано:
    2009-01-12
Вы можете узнать стоимость помощи в написании студенческой работы.
Помощь в написании работы, которую точно примут!

Конструирование микросхем

Конструирование микросхем и микропроцессоров

Задание на курсовое проектирование

В данном курсовом проекте требуется разработать комплект конструкторской документации интегральной микросхемы К 237 ХА2. По функциональному назначению разрабатываемая микросхема представляет собой усилитель промежуточной частоты. Микросхема должна быть изготовлена по тонкопленочной технологии методом свободных масок (МСМ) в виде гибридной интегральной микросхемы (ГИМС).

Рис. 1. Схема электрическая принципиальная

Таблица 1. Номиналы элементов схемы:

Элемент

Номинал

Элемент

Номинал

Элемент

Номинал

Элемент

Номинал

R1

950 Ом

R7

4,25 кОм

R13

1 кОм

R19

1 кОм

R2

14 кОм

R8

12,5 кОм

R14

3,5 кОм

C1

3800 пФ

R3

45 кОм

R9

500 Ом

R15

10 кОм

VT1-VT8

КТ 312

R4

35 кОм

R10

3 кОм

R16

3,5 кОм

E

7,25 В

R5

12,5 кОм

R11

10 кОм

R17

2,5 кОм



R6

950 Ом

R12

500 Ом

R18

1 кОм




Для подачи на схему входного сигнала и снятия выходного к микросхеме требуется подключить некоторое количество навесных элементов. Одна из возможных схем включения приведена на следующем рисунке.

Рис. 2. Возможная схема включения

Таблица 2. Номиналы элементов схемы включения

Элемент

Номинал

Элемент

Номинал

RA

8,2 кОм

CB

1 мкФ

43 Ом

CC

0,033 мкФ

RC

2,2 кОм

CD

0,015 мкФ

RD

1,5 кОм

CE

4700 пФ

CA

3300 пФ

CF

3300 пФ


Технические требования:

Конструкцию микросхемы выполнить в соответствии с электрической принципиальной схемой по тонкопленочной технологии методом свободных масок в корпусе.

Микросхема должна удовлетворять общим техническим условиям и удовлетворять следующим требованиям:

¨   предельная рабочая температура - 150° С;

¨   расчетное время эксплуатации - 5000 часов;

¨   вибрация с частотой - 5-2000 Гц;

¨   удары многократные с ускорением 35;

¨   удары однократные с ускорением 100;

¨   ускорения до 50.

Вид производства - мелкосерийное, объем - 5000 в год.

Аннотация

Целью данного курсового проекта является разработка интегральной микросхемы в соответствии с требованиями, приведенными в техническом задании. Микросхема выполняется методом свободных масок по тонкопленочной технологии.

В процессе выполнения работы мы выполнили следующие действия и получили результаты:

- произвели электрический расчет схемы с помощью программы электрического моделирования “VITUS”, в результате которого мы получили необходимые данные для расчета геометрических размеров элементов;

- произвели расчет геометрических размеров элементов и получили их размеры, необходимые для выбора топологии микросхемы;

- произвели выбор подложки для микросхемы и расположили на ней элементы, а также в соответствии с электрической принципиальной схемой сделали соединения между элементами;

- выбрали корпус для микросхемы с тем расчетом, чтобы стандартная подложка с размещенными элементами помещалась в один из корпусов, рекомендуемых ГОСТом 17467-79.

 Введение

Приведем принципы работы и основные характеристики разрабатываемой микросхемы:

Микросхема К 237 ХА 2 предназначена для усиления и детектирования сигналов ПЧ (промежуточной частоты) радиоприемных устройств не имеющих УКВ диапазона, а также для усиления напряжения АРУ (автоматической регулировки усиления). Широкополосный усилитель ПЧ состоит из регулируемого усилителя на транзисторах Т4, Т5 и Т6. Усиленный сигнал поступает на детектор АМ-сигналов (амплитудно-модулированных сигналов), выполненный на составном транзисторе Т7, Т8. Низкочастотный сигнал с резистора R19, включенного в эмиттерную цепь, подается через внешний фильтр на предварительный усилитель НЧ (низкой частоты), а также через резистор R15 на базу транзистора Т3, входящего в усилитель АРУ. Усиленное напряжение АРУ снимается с эмиттера транзистора Т2. Изменение напряжения на эмиттере транзистора Т2 вызывает изменение напряжения питания транзистора Т1, а следовательно и его усиления.

 На частоте 465 кГц коэффициент усиления усилителя ПЧ составляет 1200 - 2500. Коэффициент нелинейных искажений не превышает 3%. Если входной сигнал меняется от 0,05 до 3 мВ, то изменение выходного напряжения не превышает 6дБ. Напряжение на выходе системы АРУ при отсутствии выходного сигнала составляет 3 - 4,5 В. Напряжение питания составляет 3,6 - 10 В. Потребляемая мощность не более 35 мВт.

Анализ задания на проект

Микросхема усиления промежуточной частоты (ПЧ) К 237ХА2 может быть изготовлена по тонкопленочной технологии с применением навесных элементов. Конструкция микросхемы выполняется методом свободной маски, при этом каждый слой тонкопленочной структуры наносится через специальный трафарет. На поверхности подложки сформированы пленочные резисторы, конденсаторы, а также контактные площадки и межэлементные соединения. Пленочная технология не предусматривает изготовление транзисторов, поэтому транзисторы выполнены в виде навесных элементов, приклеенных на подложку микросхемы. Выводы транзисторов привариваются к соответствующим контактным площадкам.

Электрический расчет принципиальной схемы

Электрический расчет производился с помощью системы “VITUS”.

Система VITUS - это компьютерное инструментальное средство разработчика электронных схем. Система VITUS позволяет рассчитать токи, напряжения, мощности во всех узлах и элементах схемы, частотные и спектральные характеристики схемы. Система VITUS объединяет в себе компьютерный аналог вольтметров, амперметров и ваттметров постоянного и переменного тока, генераторов сигналов произвольной формы, многоканального осциллографа, измерителя частотных характеристик.

Система VITUS :

- позволяет описывать принципиальную схему как в графическом виде, так и на встроенном входном языке;

- выводит требуемые результаты расчета в графическом виде;

- снабжена справочником параметров элементов;

- работает под управлением дружественного интерфейса.

Основной задачей электрического расчета является определение мощностей, рассеиваемых резисторами и рабочих напряжений на обкладках конденсаторов. В результате расчета были получены реальные значения мощностей и напряжений, которые являются исходными данными для расчета геометрических размеров элементов.

Результаты расчета приводятся в расчете геометрических размеров элементов.

Данные для расчета геометрических размеров тонкопленочных элементов

Таблица 3. Данные для расчета резисторов

Резистор

Рном , Вт

gR

Резистор

Рном , Вт

gR

R1

1,41E-6

0,2

0,1

R11

4,46E-3

0,22

0,1

R2

3,36E-8

0,22

0,1

2,23E-4

0,2

0,1

R3

2,47E-4

0,22

0,1

R13

1,79E-5

0,2

0,1

R4

1,98E-4

0,22

0,1

R14

1,05E-2

0,2

0,1

R5

8,58E-6

0,22

0,1

R15

3,91E-10

0,22

0,1

R6

5,35E-13

0,2

0,1

R16

1,27E-6

0,2

0,1

R7

3,21E-5

0,2

0,1

R17

3,46E-4

0,2

0,1

R8

3,30E-3

0,22

0,1

R18

1,95E-4

0,2

0,1

R9

7,4E-5

0,2

0,1

R19

1,97E-4

0,2

0,1

R10

4,51E-5

0,2

0,1






Таблица 4. Данные для расчета конденсаторов

Конденсатор

Uраб , В

C1

2,348

0,115



Технологическая часть

Последовательность технологического процесса

1.   Изготовление масок;

2.   Подготовка подложек;

3.   Формирование тонкопленочной структуры;

4.   Подгонка номиналов;

5.   Резка пластин на кристаллы;

6.   Сборка;

7.   Установка навесных элементов;

8.   Контроль параметров;

9.   Корпусная герметизация;

10.Контроль характеристик;

11.Испытания;

12.Маркировка;

13.Упаковка.

Методы формирования тонкопленочных элементов

Основными методами нанесения тонких пленок в технологии ГИМС являются: термическое испарение в вакууме, катодное, ионно-плазменное и магнетронное распыления.

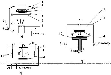
Термическое испарение в вакууме 10-3 - 10 -4 Па предусматривает нагрев материала до температуры, при которой происходит испарение, направленное движение паров этого материала и его конденсация на поверхности подложки. Рабочая камера вакуумной установки (Рис. 5, а) состоит из металлического или стеклянного колпака 1, установленного на опорной плите 8. Резиновая прокладка 7 обеспечивает вакуум-плотное соединение. Внутри рабочей камеры расположены подложка 4 на подложкодержателе 3, нагреватель подложки 2 и испаритель вещества 6. Заслонка 5 позволяет в нужный момент позволяет прекращать попадание испаряемого вещества на подложку. Степень вакуума в рабочей камере измеряется специальным прибором - вакуумметром.

Рис. 5. Методы осаждения тонких пленок а) - термическое испарение в вакууме; б) - катодное распыление; в) - ионно-плазменное распыление; 1 - колпак; 2 - нагреватель подложки; 3 - подложкодержатель; 4 - подложка; 5 - заслонка; 6 - испаритель; 7 - прокладка; 8 - опорная плита; 9 - катод-мишень; 10 - анод; 11 - термокатод

Катодным (ионным) распылением (Рис. 5, б) называют процесс, при котором в диодной системе катод-мишень 9, выполненный из распыляемого материала, оседающие в виде тонкой пленки на подложке 4. Ионизация инертного газа осуществляется электронами, возникающими между катодом-мишенью 9 и анодом 10 при U= 3-5 кВ и давлении аргона 1-10 Па.

При ионно-плазменном распылении (Рис. 5, в) в систему анод 10 - катод-мишень 9 вводят вспомогательный источник электронов (термокатод 11). Перед началом работы рабочая камера 1 откачивается до вакуума 10-4 Па и на термокатод 11 подается ток, достаточный для разогрева его и создания термоэлектронного тока (термоэлектронная эмиссия). После разогрева термокатода 11 между ним и анодом 10 прикладывается U=200 В, а рабочая камера наполняется инертным газом (Ar) до давления 10-1 - 10-2 Па - возникает газовый плазменный разряд. Если подать отрицательный потенциал на катод-мишень 9 (3-5 кВ), то положительные ионы, возникающие вследствие ионизации инертного газа электронами, будут бомбардировать поверхность катода-мишени 9, распылять его, а частицы материала оседать на подложке 4, формируя тонкую пленку.

Определенная конфигурация элементов ИМС получается при использовании специальных масок, представляющих собой моно- или биметаллические пластины с прорезями, соответствующими топологии (форме и расположению) пленочных элементов.

Для формирования сложных ТПЭ большой точности применяют фотолитографию, при которой сплошные пленки материалов ТПЭ наносят на подложку, создают на ее поверхности защитную фоторезистивную маску и вытравливают незащищенные участки пленки. Существует несколько разновидностей этого метода. Например, рпи прямой фотолитографии вначале на диэлектрическую подложку наносят сплошную пленку резистивного материала и создают защитную фоторезистивную маску, черз которую травят резистивный слой. Затем эту маску удаляют и сверху наносят сплошную пленку металла (например, алюминия). После создания второй фоторезистивной маски и травления незащищенного алюминия на поверхности подложки остаются полученные ранее резисторы, а также сформированные проводники и контактные площадки, закрытые фоторезистивной маской.

Удалив ненужную более маску, на поверхность наносят сплошную защитную пленку (например, SiO2) и в третий раз создают фоторезистивную маску, открывая участки защитного покрытия над контактными площадками. Протравив защитное покрытие в этих местах и удалив фоторезистивную маску, получают плату ГИМС с пленочными элементами и открытыми контактными площадками.

Использованная литература

1. Методические указания к выполнению курсового проекта по курсу “Конструирование микросхем и микропроцессоров”, МИЭМ, 1988

2. Романычева Э.Т., Справочник: ”Разработка и оформление конструкторской документации РЭА”, Радио и связь, 1989

Похожие работы на - Конструирование микросхем

 

Не нашли материал для своей работы?
Поможем написать уникальную работу
Без плагиата!
Без нейросетей!