Рабочие процессы и экологическая безопасность автомобильных двигателей
Министерство
образования и науки Российской Федерации
Федеральное
государственное автономное образовательное учреждение высшего
профессионального образования
«Уральский
федеральный университет имени первого Президента России Б.Н.Ельцина»
Строительный институт
Кафедра Городского строительства
Допустить к защите А.Р. Мухаметдинова
Зав.
кафедрой А.М. Гончаров
Применение
скоростной струнной системы пассажирского транспорта в Екатеринбургской
городской агломерации
ДИПЛОМНЫЙ ПРОЕКТ
ПОЯСНИТЕЛЬНАЯ ЗАПИСКА
Д.С.270105.57061.11.ДП.12-ПЗ
Руководитель
Л.И. Рябоконь канд. техн. наук, доц.
Консультант
Л.И. Рябоконь канд. техн. наук, доц.
Консультант
Н.Ф. Палеев доц.
Консультант
А.М. Гончаров канд. экон. наук, доцент
Консультант
Н.В. Якшина
канд. физ.-мат. наук, доцент
Н. контр. Л.И.
Рябоконь канд. техн. наук, доц.
Студент
А.Р. Мухаметдинов гр.С-57061
Екатеринбург 2012
Содержание
ВВЕДЕНИЕ................................................................................................................ 4
1. АНАЛИЗ СУЩЕСТВУЮЩЕГО ПОЛОЖЕНИЯ................................................. 6
1.1. Общие географические сведения................................................................... 6
1.2. Природно-климатические условия................................................................ 7
1.3. Население региона.......................................................................................... 8
1.4. Транспортное обслуживание междугородных перевозок............................ 9
1.5. Существующая интенсивность движения.................................................... 11
1.6. Основные выводы......................................................................................... 16
2. ТЕОРЕТИЧЕСКИЕ ОСНОВЫ СТРУННОГО ТРАНСПОРТА......................... 18
2.1. Путевая структура........................................................................................ 18
2.1.1. Рельс-струна......................................................................................... 20
2.1.2. Опоры................................................................................................... 27
2.1.2.1. Анкерные опоры........................................................................... 29
2.1.2.2. Поддерживающие опоры............................................................. 33
2.1.3. Инфраструктура................................................................................... 39
2.2. Подвижной состав........................................................................................ 45
3. ПРОЕКТ ВЫСОКОСКОРОСТНОЙ СТРУННОЙ СИСТЕМЫ ПАССАЖИРСКОГО ТРАНСПОРТА
МЕЖДУ ГОРОДАМИ ....................................................................
ПЕРВОУРАЛЬСК И ЕКАТЕРИНБУРГ.............................................................. 47
3.1. Ситуационный план...................................................................................... 47
3.2. Определение максимальной скорости движения на междугородном
.......
участке.......................................................................................................... 50
3.3. Выбор подвижного состава......................................................................... 54
3.4. Определение параметров рельс-струны...................................................... 61
3.5. Разбивочный план трассы............................................................................ 63
3.6. Продольный профиль трассы...................................................................... 66
3.7. Планировочные поперечные профили........................................................ 68
3.8. Схема размещения опор.............................................................................. 70
3.9. Определение размеров опор........................................................................ 73
3.10. Организация движения............................................................................... 74
4. ОРГАНИЗАЦИЯ И ТЕХНОЛОГИЯ СТРОИТЕЛЬСТВА.................................. 76
4.1. Введение........................................................................................................ 76
4.2. Технология изготовления поддерживающих опор СТЮ........................... 77
4.3. Объем земляных работ при монтаже фундамента...................................... 79
4.4. Требования безопасности............................................................................. 82
4.5. Заключение................................................................................................... 84
5. ЭКОНОМИКА СТРОИТЕЛЬСТВА.................................................................... 85
5.1. Введение........................................................................................................ 85
5.2. Экономия времени пассажиров................................................................... 86
5.3. Определение стоимости проезда по струнной трассе................................. 90
5.4. Заключение................................................................................................... 92
6. БЕЗОПАСНОСТЬ ЖИЗНЕДЕЯТЕЛЬНОСТИ.................................................... 93
6.1. Введение........................................................................................................ 93
6.2. Безопасность проекта................................................................................... 94
6.3. Чрезвычайные ситуации............................................................................... 99
6.4. Заключение................................................................................................. 101
7. ПРИРОДОПОЛЬЗОВАНИЕ И ОХРАНА ОКРУЖАЮЩЕЙ СРЕДЫ............. 103
ЗАКЛЮЧЕНИЕ...................................................................................................... 106
БИБЛИОГРАФИЧЕСКИЙ СПИСОК.................................................................... 107
Развитие коммуникаций всегда имело основополагающее
значение в общественном прогрессе, обеспечивая связь между народами,
способствуя усилению торговых и деловых отношений. Дороги это неотъемлемое
условие личного и общественного блага, это показатель уровня цивилизованности.
Современные автомобильные и железные дороги уже не вполне удовлетворяют
потребностям общества. Высокая стоимость, низкие скорости, относительно высокий
процент аварий, простои в пробках, сильный ущерб экологии – все эти
неблагоприятные явления существующей мировой транспортной сети подталкивают
государства к поиску новых видов транспортных коммуникаций.
Вышеперечисленные недостатки должны быть исключены в
новом виде транспорта. При этом он должен базироваться на хорошо отработанных
технологиях и материалах. На роль такого транспорта может претендовать Струнный
Транспорт Юницкого (далее в тексте СТЮ).
Идея струнного транспорта появилась 30 лет назад. Ее
автором является Анатолий Эдуардович Юницкий, академик РАЕН. За прошедшее время
была хорошо проработана теоретическая база струнного транспорта, запатентовано
множество конструкторских решений, относящихся к СТЮ, проведены испытания
отдельных элементов конструкции и подвижного состава, разработано множество
рабочих чертежей, а так же была опробована технология на 150-ти метровом
участке трассы, в городе Озеры, Московская область.
СТЮ представляет собой размещенную на опорах,
предварительно напряженную (растянутую) канатно-балочную конструкцию, по
которой движутся транспортные модули. Такая структура может обеспечивать
стократные запасы прочности и высокие показатели жесткости (выше, чем у мостов,
путепроводов и железных дорог). При этом стоимость такой путевой структуры в
разы ниже, чем у существующих видов транспорта, в виду низкой материалоемкости
и почти полного отсутствия земляных работ. СТЮ не требует больших отчуждений
территории, и не нарушает естественный рельеф местности. Энергозатраты
транспортных модулей передвигающихся по струнным путевым структурам ниже, чем у
автомобилей или поездов, благодаря низкому аэродинамическому сопротивлению, а
скорости этих модулей выше и могут достигать 500 км/час. При этом стоимость
строительства и эксплуатации СТЮ некритична к рельефу местности и климатическим
условиям, поэтому такой транспорт может быть основой для развития малоосвоенных
территорий.
Целью дипломного проекта является изучение основ
струнного транспорта, а так же закрепление знаний и навыков на проекте
высокоскоростной магистрали Первоуральск - Екатеринбург.
Екатеринбургская агломерация находится в центральной
части Евразии, в 1667 км к востоку от Москвы. Географические координаты:
56º50΄ северной широты, 60º35΄ восточной долготы, 270 м над
уровнем моря. Агломерация расположена на восточном склоне Уральских гор. По ее
территории протекают две крупных реки: Исеть и Чусовая. Так же в границах
агломерации присутствуют крупные водоемы: Исетское водохранилище, озеро
Таватуй, озеро Шарташ, озеро Здохня, озеро Балтым, Белоярское водохранилище,
Волчинское водохранилище и другие.
Стоит отметить, что географическое положение
Екатеринбургской городской агломерации крайне выгодно и с течением истории
благоприятно повлияло на ее развитие. Выгодное положение обусловлено низкой
высотой уральских гор, что послужило важным условием для строительства через
Екатеринбург основных транспортных магистралей из центральной России в Сибирь.
В результате Екатеринбург и прилегающие районы сформировались как стратегически
важный центр, который обеспечивает связь между Европейской и Азиатской частями
страны.
В данной работе проектируется скоростная связь между
крупнейшими населенными пунктами агломерации – городами Екатеринбург и
Первоуральск. Первоуральск располагается
западнее Екатеринбурга на 46 км. Примечательно, что между городами проходит
условная граница разделяющая Европу и Азию
Екатеринбургская агломерация находится в зоне
умеренноконтинентального климата с характерной резкой изменчивостью погодных
условий, хорошо выраженными сезонами года. Уральские горы, несмотря на их
незначительную высоту, преграждают путь массам воздуха, поступающим с запада. В
результате Средний Урал оказывается открытым для вторжения холодного
арктического воздуха и сильно выхоложенного континентального воздуха
Западно-Сибирской равнины, в то же время с юга сюда беспрепятственно проникают
теплые воздушные массы Прикаспия и пустынь Средней Азии. Поэтому для
Екатеринбурга и характерны резкие колебания температур.
Средняя температура января -12,6˚С.
Абсолютный минимум -46,7˚С;
средняя температура июля +19˚С. Абсолютный
максимум 38,8˚С;
среднегодовая температура +3˚С;
среднегодовая
скорость ветра – 2,9 м/с;
среднегодовая влажность воздуха – 71%;
среднегодовое
количество осадков – 537 мм.
Екатеринбургская городская агломерация является 4-ой
по величине агломерацией в России после Московской, Санкт-Петербургской и
СамароТольяттинской. Состав Екатеринбургской городской агломерации представлен
в таблице 1.
Таблица 1
|
Муниципальное образование
|
Площадь, км²
|
Население, чел
|
|
1
|
2
|
3
|
|
МО город Екатеринбург
|
1 142,89
|
1 383 448
|
|
Березовский ГО
|
1 152,47
|
68 678
|
|
ГО Заречный
|
299,27
|
29 749
|
|
Асбестовский ГО
|
745,02
|
72 832
|
|
ГО Рефтинский
|
24,44
|
16 490
|
|
Малышевский ГО
|
36,50
|
9 556
|
|
Белоярский ГО
|
1 323,29
|
34 580
|
|
ГО Верхнее Дуброво
|
33,90
|
4 793
|
|
МО поселок Уральский
|
10,01
|
2 445
|
|
Арамильский ГО
|
21,82
|
14 227
|
|
Сысертский ГО
|
2 107,12
|
63 487
|
|
Полевской ГО
|
1 550,58
|
71 182
|
|
ГО Дегтярск
|
174,77
|
15 521
|
|
ГО Ревда
|
1 118,77
|
63 428
|
|
ГО Первоуральск
|
2 053,75
|
148 873
|
|
Новоуральский ГО
|
110,00
|
88 307
|
|
ГО Верхняя пышма
|
1 044,93
|
72 823
|
|
ГО Среднеуральск
|
83,98
|
20 445
|
|
Всего
|
13 033,51
|
2 180 864
|
Транспортное сообщение между Первоуральском и
Екатеринбургом осуществляется по автомобильной дороге федерального значения
Р-242 (Пермь – Екатеринбург) и по железной дороге.
Автомобильная дорога является основной транспортной
связью Екатеринбурга и Первоуральска. Ежедневно по ней курсируют 10 автобусных
маршрутов, на которых можно доехать от Первоуральска до Екатеринбурга и
обратно. 4 из них отправляются с автостанции Первоуральск, остальные являются
проходящими, и помимо автостанции делают остановки на остановочных пунктах
города. Подробная информация о маршрутах представлена в таблице 2.
Таблица 2
|
№ маршрута
|
Кол-во рейсов в 1 сторону в день
|
Среднее кол-во пассажиров
за 1 рейс
|
Кол-во перевезенных
пассажиров в день (в 1 сторону)
|
|
1
|
2
|
3
|
4
|
|
Пригородные маршруты
|
|
150
|
28
|
18
|
504
|
|
150-к
|
20
|
18
|
360
|
|
Маршруты других перевозчиков
|
|
155
|
20
|
17
|
340
|
|
180
|
13
|
11
|
143
|
|
Проходящие междугородние маршруты
|
|
1060
|
6
|
25
|
150
|
|
1046
|
14
|
17
|
238
|
|
942
|
1
|
18
|
18
|
|
1049
|
1
|
6
|
6
|
|
1091
|
1
|
6
|
6
|
|
587
|
1
|
14
|
14
|
|
Всего:
|
105
|
17
|
1779
|
Все вышеперечисленные маршруты,
за исключением 180, следуют до северного автовокзала в Екатеринбурге, по улицам
Репина и Челюскинцев. В пути совершаются остановки у ТЦ «Мега», института связи
и дворца молодежи. 180-ый маршрут следует до южного автовокзала. Стоимость
проезда составляет в среднем 70 рублей.
Ежедневно в направлении Екатеринбурга следует порядка
80 единиц личного автотранспорта, перевозящих пассажиров в режиме такси. Это
как легковые автомобили, так и микроавтобусы. Учитывая, что за день каждый
автомобиль совершает в среднем 3 рейса, ежедневный пассажиропоток составляет
около 1200 пассажиров. Помимо этого, владельцы личного автотранспорта ищут
попутчиков через СМИ и интернет. Этот стихийный поток трудно даже предположить,
но по личным наблюдениям автора данной работы, он не превышает выше
обозначенных пассажиропотоков на автомобилях, работающих в режиме такси.
Менее охотно пассажиры пользуются железнодорожным
транспортом, несмотря на более дешевый проезд, чем на автобусе. Это обусловлено
большими интервалами движения поездов, и меньшей комфортностью поездки.
Ежедневный поток на пригородных электричках составляет в среднем 650
пассажиров.
Таким образом, ежедневный пассажиропоток на
вышеперечисленных видах транспорта составляет не более 4800 пассажиров.
Примерно такое же количество людей совершает ежедневные поездки на личных
автомобилях. Итоговый показатель колеблется в районе 9000 человек, ежедневно
совершающих поездки в Екатеринбург и обратно.
Проектом предусмотрены исследования интенсивности
движения на участке от площади Победы в г. Первоуральск, до улицы Токарей в г.
Екатеринбург. На этом участке транспортный поток ПервоуральскЕкатеринбург
оказывает наибольшее влияние на загрузку улично-дорожной сети. Расчет
интенсивности движения проводился в час-пик для каждого направления. Так на
пути следования из Первоуральска в Екатеринбург часпик приходится на период
между 07:30 и 09:00 утра, а на обратном направлении – на период между 17:30 и
19:00. Результаты обследования сведены в таблицу 3.
Таблица 3
|
Дата
|
Время
|
Участок
|
|
Число автомобилей по группам
|
|
Л
|
Гр. до 2т
|
Гр. до 6т
|
Гр.
свыше
6т
|
Авт. до 50 пасс.
|
Авт.
свыше
50 пасс.
|
|
1
|
2
|
3
|
4
|
5
|
6
|
7
|
8
|
9
|
|
21.05.12
|
7:30 –
7:45
|
1
|
214
|
6
|
1
|
0
|
28
|
1
|
|
7:55 –
8:10
|
2
|
220
|
7
|
1
|
0
|
27
|
1
|
|
8:15 –
8:30
|
3
|
327
|
6
|
2
|
7
|
30
|
2
|
|
22.05.12
|
7:30 –
7:45
|
4
|
319
|
6
|
5
|
6
|
27
|
2
|
|
8:00 –
8:15
|
5
|
308
|
5
|
3
|
5
|
6
|
5
|
|
8:20 –
8:35
|
6
|
298
|
7
|
9
|
11
|
2
|
5
|
|
21.05.12
|
17:55 –
18:10
|
7
|
236
|
5
|
8
|
11
|
0
|
4
|
|
18:15 –
18:30
|
8
|
308
|
8
|
14
|
43
|
0
|
4
|
|
18:40 –
18:55
|
9
|
309
|
7
|
18
|
42
|
0
|
5
|
|
22.05.12
|
17:40 –
17:55
|
10
|
320
|
9
|
21
|
42
|
0
|
4
|
|
18:00 –
18:15
|
11
|
344
|
9
|
19
|
38
|
0
|
5
|
|
18:25 –
18:40
|
12
|
317
|
5
|
7
|
6
|
7
|
4
|
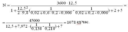
Для оценки уровня загрузки, произведен расчет существующей
интенсивности движения в час-пик по формуле 1 и пропускной способности, для
каждого из участков выбранного маршрута по формуле 2.
Nmax час = 4*Nmax 15мин = 4*Σki*Ni нат(1)
где, ki - коэффициент приведения i-ого вида транспорта к
легковому автомобилю;
Ni нат - интенсивность движения i-ого вида транспорта в
натуральных единицах;
Nм =
N*γ*α (2)
где, N – пропускная
способность одной полосы движения;
n=1, γ=1,0 n=2, γ=1,9 n=3,
γ=2,7 n=4, γ=3,5;
α – коэффициент,
учитывающий снижение пропускной способности за счет светофорного регулирования
(принимается в проекте в зависимости от класса магистрали).
Пропускная способность одной полосы движения
рассчитывается по формуле (3):
(3)
где, V – скорость движения потока,
принимается в зависимости от класса магистрали;
tр
- время реакции водителя от начала торможения переднего автомобиля до начала
торможения заднего автомобиля, 1 с (с учетом времени срабатывания тормозной
системы);
g –
ускорение свободного падения, 9,8 м/с²;
fk – коэффициент сопротивления качению, 0,02 для
асфальтобетонного покрытия; φ – коэффициент сцепления, 0,2 при
V<60 км/час и 0,3 при V>60 км/час;
- – отношение сцепного веса
автомобиля к полному, 0,6; i – продольный уклон, принимается со знаком
(+) при движении в подъем и со знаком (–) при спуске;
l0 – расстояние безопасности между
остановившимися транспортными средствами, 2 м; la - длина автомобиля, 5 м.
Ниже приведен расчет уровня загрузки для участка 1,
проходящего по улице пр. Ильича от ул. Ватутина до ул. Чкалова.
Пр. Ильича – магистральная улица общегородского
значения регулируемого движения. Скорость потока для данной категории улиц – 45
км/час или 12,5 м/с. Продольный уклон улицы 0,006, и принимается со знаком (–).
Коэффициент, учитывающий влияние светофорного регулирования, для данной
категории улиц принимается равным 0,8.
Пропускная
способность одной полосы движения равна:
Пропускная способность двухполосной проезжей части
равна: Nм = 1078*1,9*0,8
= 1639 ед/час.
Существующая интенсивность движения в час-пик в
приведенных единицах равна:
Nmax час =
4*(214*1+6*1,5+1*2+0*3+28*1,5+1*2+1*0,5) = 1076 пр. ед/час.
Уровень загрузки
проезжей части равен:
Аналогичный расчет произведен для каждого участка выбранного
маршрута. Результаты расчетов сведены в таблицу 4, картограмма интенсивности
движения с указанием пропускной способности и уровней загрузки представлена на
рис. 1.
Таблица 4
|
Участок
|
Интенсив-
ность в час-пик
|
Категория
улицы
(дороги)
|
Кол-во полос
|
Пропускная
способность
1 полосы
|
Пропускная способность проезжей части
|
Уровень загрузки
|
|
1
|
2
|
3
|
4
|
5
|
6
|
7
|
|
1
|
1076
|
МУОГЗРД
|
2
|
1078
|
1639
|
0,66
|
|
2
|
1100
|
МУОГЗРД
|
2
|
1092
|
1660
|
0,66
|
|
3
|
1640
|
МУОГЗРД
|
3
|
1092
|
2359
|
0,70
|
|
4
|
1602
|
МУОГЗРД
|
2
|
1071
|
1628
|
0,98
|
|
5
|
1422
|
МУОГЗРД
|
2
|
1071
|
1628
|
0,87
|
|
6
|
1490
|
МУОГЗРД
|
2
|
1085
|
2062
|
0,72
|
|
7
|
1202
|
МДСД
|
2
|
1120
|
2129
|
0,56
|
|
8
|
1940
|
МДСД
|
2
|
1037
|
2159
|
0,90
|
|
9
|
1966
|
МДСД
|
2
|
1168
|
2220
|
0,89
|
|
10
|
2038
|
МДСД
|
2
|
1168
|
2220
|
0,92
|
|
11
|
2078
|
МДСД
|
2
|
1115
|
2118
|
0,98
|
|
12
|
1500
|
МУОГЗНД
|
2
|
1050
|
1995
|
0,75
|
Рис.1.
Картограмма интенсивности движения в час-пик по маршруту движения Первоуральск
- Екатеринбург
15
Существующий пассажиропоток очень значителен для
Первоуральска, так как составляет 6% от всего населения города. В перспективе
он будет увеличиваться, так как оба города имеют положительную динамику роста.
Кроме того, на западных окраинах Екатеринбурга появляются крупные фокусы
тяготения, такие как ТЦ «Мега», которые пользуются большой популярностью у
жителей Первоуральска.
Транспортное обслуживание Первоуральска по
междугородним перевозкам полностью обеспечивает существующие пассажиропотоки,
однако, все варианты транспортного сообщения имеют свои недостатки. Вопервых,
стоимость проезда. На автомобильном и автобусном транспорте они составляют
ежедневно около 200 рублей на человека, на железнодорожном – 140 рублей,
ежемесячно – 4400 и 3080 рублей соответственно. Второй недостаток – это время
поездки. В среднем оно составляет 50 минут, без учета затрат времени на
городском транспорте. В час-пик время поездки может достигать полутора часов, а
в случае ремонтных работ или аварий на автомобильной дороге – 2-ух и более
часов. Если же учитывать затраты времени на городской транспорт, то время
поездки от дома до цели составляет в среднем 1 час 40 минут. Наконец, людям,
совершающим ежедневные поездки по трудовым и учебным целям, в среднем
приходится делать по 2 пересадки при поездке в одну сторону. Первая пересадка
осуществляется с городского на междугородний транспорт, вторая уже с
междугороднего на городской.
Главной проблемой владельцев личного автотранспорта,
совершающих ежедневные поездки между городами, является высокий уровень
загрузки улично-дорожной сети. По результатам обследования, уровень загрузки
превышает допустимый (Z>0,8) на 75% от общей протяженности пути, а
положительная динамика роста пассажиропотока только усугубит ситуацию.
Учитывая вышеперечисленные недостатки и внушительные
пассажиропотоки, можно сделать вывод о недостаточной эффективности
транспортного обслуживания и необходимости проектирования новой транспортной
коммуникации, в корне исключающей эти недостатки. Такой транспорт должен сочетать
преимущества электричек, время поездки на которых не зависит от загруженности
улично-дорожной сети, и автобусов, малые интервалы движения которых, позволяют
гибко планировать пассажирам свои перемещения. Кроме того это должен быть
комфортный транспорт, с малой стоимостью проезда.
Такими свойствами обладают высокоскоростные железные
дороги, поезда на магнитном подвесе и струнный транспорт. Однако для
дальнейшего проектирования целесообразно выбрать третий вариант, так как
струнный транспорт намного дешевле в строительстве и эксплуатации, чем
высокоскоростные железные дороги и поезда на магнитном подвесе, а значит, будет
ниже и стоимость проезда. Кроме того струнный транспорт не требует отчуждения
больших территорий и обладает низким уровнем шума (в случае применения
подвижного состава с электродвигателем), что благоприятно для городских
участков трассы.
Недостатком струнного транспорта
является отсутствие нормативноправовой базы, поэтому разработка проекта ведется
с учетом рекомендаций и наработок автора этого вида транспорта.
Известны два способа создания пролетного строения
между опорами: с помощью жесткой балки или с помощью гибкой нити натянутой до
высоких усилий. Поскольку абсолютно жестких систем не бывает, то в результате
компромисса между требованиями по снижению материалоемкости пролетных строений
и требованиями по получению максимально высокого значения жесткости путевой
структуры под воздействием расчетной подвижной нагрузки, во всем мире была
принята расчетная относительная жесткость пролетов мостов, путепроводов и эстакад,
равная 1/400 – 1/800.
Относительный прогиб балочного пролетного строения
пропорционален квадрату его длины и обратно пропорционален высоте в третьей
степени, модулю упругости материала и коэффициенту, учитывающему форму
поперечного сечения балки. Поэтому при проектировании балочного пролетного
строения стремятся уменьшить пролет, увеличить высоту балки и использовать
материалы с высоким модулем упругости. Все эти меры ведут к удорожанию путевой
структуры. С другой стороны, при струнном пролетном строении относительный
прогиб такого пролета обратно пропорционален силе натяжения струны. Естественно
от силы натяжения зависит и площадь поперченного сечения струны, но в сравнении
с балочным пролетным строением, при обеспечении одинаковой жесткости, материалоемкость
струнного пролетного строения примерно в 10 раз меньше. Поэтому транспортные
системы второго уровня целесообразнее создавать на основе струнных пролетных
строений без сплошного ездового полотна. Именно такая схема лежит в основе
струнного транспорта Юницкого.
Путевая структура СТЮ состоит из рельс-струн, опор и
инфраструктуры (станции, вокзалы, депо и т.д.). Рельс-струна представляет собой
набор предварительно напряженной проволоки, размещенной внутри стального
рельса. Опоры СТЮ подразделяются на два типа: анкерные и поддерживающие.
Анкерные опоры являются наиболее материалоемким и дорогим элементом струнного
транспорта, так как призваны нести продольную нагрузку в сотни тонн от
натянутых струн. Располагаются на расстоянии до 10 километров друг от друга.
Поддерживающие опоры устанавливаются через 20-1000 метров и несут вертикальную
нагрузку от веса рельс-струны и транспортных модулей.
В зависимости от длины пролета путевая структура СТЮ
разделяется на 2 характерных типа: обычной конструкции (пролет до 50м) и с
поддерживающей канатной конструкцией (пролет более 50м). Линейная схема трассы
представлена на рис. 1.
Рис. 1.
Линейная схема трассы СТЮ
1 –
рельс-струна; 2 – поддерживающая опора; 3, 4, 5, 6 – анкерные опоры,
соответственно: промежуточная; пилон; концевая; со стрелочным переводом; 7 –
поддерживающий канат;
8 –
промежуточная станция; 9 – участок трассы, выполненный из обычных рельсов; 10 –
кольцевой
вокзал; 11 – рельсовый автомобиль.
Основным элементом путевой структуры струнного
транспорта является рельс-струна (рис. 2), сочетающая в себе положительные
свойства обоих вариантов пролетных строений. Эта конструкция представляет собой
пустотелый металлический рельс, внутри которого уложен набор проволоки,
подверженный предварительному натяжению. Струна внутри рельса закреплена
металлическими фиксаторами, а остальное свободное пространство заполнено
модифицированным бетоном. Сверху, к рельсструне приварена головка рельса, по
которой происходит качение колеса транспортного средства. На головке рельса так
же устроены боковые щеки, за которые может быть заведено противосходное
устройство транспортного модуля и контактный провод для передачи электроэнергии
транспортным средствам с электрическим двигателем (рис. 3).
Рис.2.
Конструкция рельс-струны:
1 – головка
рельса; 2 – боковые щеки; 3 – проволока; 4 – корпус; 5 – крепление струны к
корпусу
рельса; 6 – заполнитель.
Рис. 3. Схема
размещения противосходного и токосъемного устройств юнибуса: 1 – токосъемное
устройство; 2 – поддерживающая опора; 3 – колесо юнибуса;
4 –
рельс-струна; 5 – противосходное устройство.
Струна, размещенная внутри рельса, защищена от
агрессивного воздействия внешней среды, а так же от непосредственного контакта
с колесом транспортного модуля, что обеспечивает ее долговечность. В тоже время
она в полной мере выполняет свои функции обеспечения достаточной прочности и
жесткости путевой структуры. Корпус и головка рельса так же могут быть
предварительно натянуты, обеспечивая дополнительную прочность и жесткость.
В отличие от железнодорожных путей, в струнных
системах не требуется устройство температурных швов. Несмотря на возникающие
температурные напряжения в рельс-струне, ее искривление будет незначительным.
Расчеты показывают, что искривление пути в плоскости провиса составляет
приблизительно 1/10000 от длины пролета при перепаде температур от -50ºС
до +50ºС.
Для струнных транспортных систем оптимальной
жесткостью является показатель 1/1000. Так при длине пролета 50м провис струны
в середине пролета составит всего 5см. Такой провис легко размещается внутри
рельса, это так называемый монтажный провис, положение которого внутри рельса
закрепляется фиксаторами. Рельс с монтажным провисом, будет иметь очень ровную
поверхность в статичном состоянии без учета движущегося транспортного средства.
Для обеспечения еще более высокой ровности, рельс на каждом пролете может быть
выполнен со строительным подъемом (выгибом вверх) равным динамической
деформации пролета при проезде автомобиля. В сочетании с монтажным провисом,
поверхность головки рельса будет очень ровной при проезде автомобиля (рис. 4).
Рис. 4.Схема
устройства монтажного провиса и строительного подъема рельс-струны.
Высокая ровность, отсутствие температурных швов и
низкое сопротивление качению стального колеса по стальному рельсу дают высокие
показатели комфортности и энергоэффективности транспортных модулей, движущихся
по струнному транспорту.
Помимо высокой ровности пути рельс-струна должна
обеспечивать достаточную прочность. Прочность, в данном случае зависит от
компоновки струны. Для того чтобы ее определить, необходимо в первую очередь
выполнить анализ пассажиропотоков и потребности в проектируемом транспорте.
Далее на основе этого анализа выбирается тип подвижного состава. Исходя из
массы выбранных транспортных модулей и оптимального для проекта показателя
относительной жесткости, определяется усилие натяжения струны. Наконец,
выбирается компоновка струны: выбор типа проволоки и ее количества.
Например, спроектирована трасса с максимальным
пролетом 35 м, выбран подвижной состав – юнибус Ю-362, вместимостью 30 человек
включая 12 мест для сидения и полной массой 5000кг. Относительная жесткость
пролета принята 1/800. При такой жесткости максимальный провис струны в
середине пролета составит 35/800 = 0,04375 м = = 4,375 см, этот провис
умещается в корпусе рельса. Исходя из заданной жесткости и массы юнибуса по
формуле (4) рассчитывается необходимое усилие натяжения струны:
(4)
В данном случае Р = 2500 кг (полная
масса 5000 кг равномерно распределяется на 2 рельс-струны), k = 1/800.
Для компоновки струны может быть использована
высокопрочная проволока В-II диаметром 5 мм. Расчетное сопротивление такой
проволоки равно 10750 кг/см² а предельное – 17600 кг/см². Помимо
усилия натяжения, струна испытывает температурные и ветровые напряжения,
напряжения от обледенения рельса и от подвижного состава, движущегося в
середине пролета. Эти напряжения составляют порядка 2100 кг/см², таким
образом, от расчетной нагрузки остается величина 10750 – 2100 = 8650
кг/см², именно под такую нагрузку нужно рассчитать количество жил в струне
при усилии натяжения 500000 кг. Площадь сечения струны будет равна: 500000 /
8650 = = 57,8 см². Проволока диаметром 5мм имеет площадь сечения, равную
0,19625 см², а
значит в струне необходимо как минимум 57,8 / 0,19625 = 295
жил из такой проволоки. Таким
образом, струна может быть собрана из проволоки, уложенной в 18 рядов по 17 жил
в каждом, итого 306 жил, габариты этой струны будут равны 8,5 см на 9 см.
Стоит отметить, что существуют технологии,
относящиеся к «ноу-хау» разработчика. Эти технологии позволяют при соблюдении
необходимой жесткости струны, снизить силу ее натяжения в несколько раз.
Чем выше скорость, под которую проектируется струнная
трасса, тем выше требования к жесткости путевой структуры и ее прочности (она
должна обеспечивать большие усилия натяжения струны). Соответственно повышается
материалоемкость рельс-струн и ее габариты. Для высокоскоростных трасс возможно
применение рельс-струны, выполненной в виде фермы (рис. 5), в верхнем и нижнем
поясе которой проходит предварительно напряженная струна. Такая конструкция
более материалоемка, но позволяет достигать высоких показателей жесткости пути,
при незначительном увеличении натяжения струн. Корпус, выполненный в виде
фермы, обуславливает большую изгибную жесткость, нежели простой рельс.
Рис. 5.
Рельс-струна выполненная в виде фермы
Еще один вариант рельс-струны, предназначен для
устройства горизонтальных кривых. Это обычный или несколько уширенный рельс
(ширина головки рельса при этом не изменяется), который имеет некоторую
кривизну, соответствующую радиусу поворота трассы. Струна в таком рельсе
проходит по хорде между соседними поддерживающими опорами, не вызывая боковых
нагрузок на корпус рельса. Такие конструкции применяются на высокоскоростных
трассах с большими радиусами поворота (рис. 6).
Рис. 6. Схема
устройства горизонтальной кривой.
Например, при скорости движения 300 км/час радиус
поворота трассы составляет 6950 м (такая величина обусловлена комфортным для
пассажира боковым ускорением, равным 0,1g или 1 м/с²). При расстоянии
между промежуточными опорами в 50 м, боковое отклонение дуги, радиусом 9400 м
от прямой линии, соединяющей эти две опоры, будет равно 4,5 см. Такая
незначительная величина может быть размещена внутри рельса.
При меньших скоростях, для того, чтобы поместить
струну внутри изогнутого рельса, можно либо увеличивать ширину рельса, либо
уменьшать расстояние между опорами. При малых скоростях, например в городских
условиях, где нецелесообразно, а зачастую и невозможно вписать кривую большого
радиуса в рамки сложившейся уличнодорожной сети, поворот трассы проходит по
специальной поворотной анкерной опоре. В таком случае, в пределах этой опоры
размещаются обычные рельсы. Чтобы минимизировать величину и стоимость таких
опор, следует уменьшить радиус поворота трассы, следовательно, ограничить
скорость движения на этом участке. Поэтому целесообразно на таких участках
трассы размещать остановочные пункты, которые можно вписать в конструкцию
анкерной опоры.
Опоры подразделяются на анкерные
и поддерживающие. Анкерные опоры несут горизонтальную нагрузку от натяжения
рельс-струны. Поддерживающие опоры, воспринимают вертикальную нагрузку от веса
рельс-струны и транспортных модулей. Разработано несколько типовых вариантов
анкерных и поддерживающих опор, которые могут быть применены на струнных
трассах, кроме того, по требованию заказчика могут быть спроектированы
индивидуальные конструкции.
Опоры СТЮ могут быть выполнены из железобетона
(сборного или монолитного), стальных сварных конструкций или высокопрочных
алюминиевых сплавов (рис. 7). Фундаменты опор, в зависимости от грунтов на
трассе, могут быть свайными (забивные, винтовые, буронабивные или
буроинъекционные сваи), либо плитными (монолитными или сборными). Опоры и
рельс-струна образуют рамную конструкцию, поэтому несущая способность опор
увеличена.
Минимальная высота опор СТЮ, обусловленная безопасным
прохождением под путевой структурой транспортных средств, составляет 5 м. На
определенных участках трассы, при необходимости, путевая структура может пройти
без опор, на уровне земли, либо ниже поверхности земли – в выемках или
тоннелях. Максимальная высота опор ограничена лишь экономической
целесообразностью. Оптимальной является высота 5-6 м.
Предельный продольный уклон трасс СТЮ составляет
150‰. Этот показатель обусловлен сцеплением стального колеса с влажной
поверхностью рельса, в случае, когда все колеса приводные. Продольный уклон
трассы контролируется не величиной насыпи или глубиной выемки, а высотой опор,
установка которых дешевле, чем устройство насыпей и выемок, поэтому трассы СТЮ
некритичны к рельефу местности и могут быть более прямолинейными.
А Б
В Г

Рис. 7. Опоры
СТЮ:
А –
железобетонная анкерная опора; Б – анкерная опора из стальных сварных
конструкций;
В – железобетонная поддерживающая опора; Г – поддерживающая опора из стальных
сварных конструкций.
Анкерные опоры, в зависимости от рельефа местности и
требований к трассе, будут установлены с шагом 500-3000 м и более. Максимальный
шаг опор составляет 10 км – по максимальной длине стальных проволок для
формирования струны, выпускаемых в настоящее время отечественной
промышленностью.
Анкерные опоры, должны быть рассчитаны на восприятие
горизонтальной нагрузки, как от силы натяжения струны, так и от температурный и
ветровых усилий, от усилий, возникающих при движении транспортных модулей.
Причем в процессе эксплуатации, такие нагрузки, испытывают только концевые
опоры, промежуточные же (технологические) таких усилий испытывать не будут, так
как усилия струн с одной и другой стороны опоры уравновешивают друг друга.
Технологические опоры могут испытывать усилия только в процессе монтажа, когда
промежуточная опора является концевой, так как трасса дальше еще не построена,
либо в аварийных ситуациях, в случае полного обрыва струн с одной стороны от
опоры.
Таким образом, и концевые и промежуточные опоры
должны выдерживать возможные нагрузки, но при этом концевые опоры, испытывают
эти нагрузки постоянно, и поэтому должны быть выполнены с большим запасом
прочности.
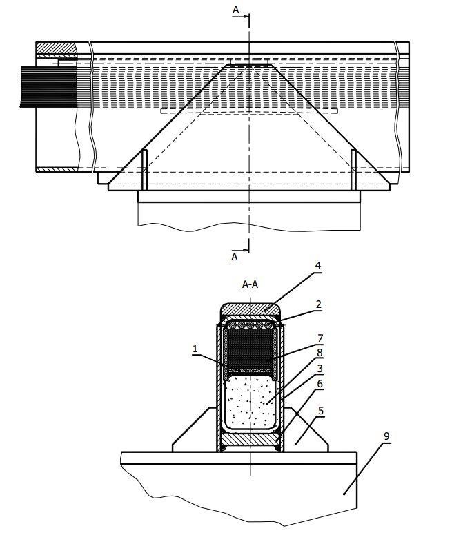
Анкерные опоры изготавливаются по проекту ООО «СТЮ» в
соответствии с требованиями технологической документации. Технические характеристики
анкерной опоры для высокоскоростного СТЮ, с шириной колеи 2,5 м, в исполнении,
показанном на рис. 8, приведены в таблице 5.
Рис. 8.
Анкерная опора для одного пути струнной трассы, колеей 2,5м:
1 – грунт; 2
– фундамент анкерной опоры; 3 – тело анкерной опоры.
Таблица 5 Технические
характеристики анкерной опоры для одного пути струнной трассы, колеей 2,5м
|
№ п/п
|
Технические характеристики анкерной опоры
|
Кол-во
|
|
1
|
Геометрические размеры тела
анкерной опоры:
|
|
|
- высота площадки анкерной
опоры от уровня земли, м
|
4
|
|
- ширина площадки анкерной
опоры, м
|
6
|
|
- длина площадки анкерной
опоры, м
|
17,2
|
|
- высота площадки анкерной
опоры, м
|
0,5
|
|
- размер сечения раскоса
фермы, м
|
0,5
|
|
- количество опорных
раскосов, шт
|
10
|
|
2
|
Максимальное усилие, приходящееся на анкерную опору от
одной рельс-струны, тс
|
300
|
|
3
|
Количество рельс-струн на
анкерной опоре, шт
|
2
|
|
4
|
Габаритные размеры
фундамента анкерной опоры:
|
|
|
№ п/п
|
Технические характеристики анкерной опоры
|
Кол-во
|
|
- глубина, м
|
2
|
|
- ширина, м
|
6
|
|
- длина, м
|
21
|
|
5
|
Расход железобетона:
|
|
|
- на тело опоры, м³
|
80
|
|
- на фундамент, м³
|
90
|
|
6
|
Земляные работы, м³
|
200
|
Подобные железобетонные анкерные опоры применяются:
при
расчетной температуре наружного воздуха до минус 60ºС;
в условиях газовой
среды с неагрессивной степенью воздействия;
при сейсмичности площадки
строительства до 9 баллов включительно.
Фактическая прочность бетона железобетонных анкерных
опор должна соответствовать требуемой, назначаемой по ГОСТ 18105-86 в
зависимости от класса бетона по прочности на сжатие и от показателя
однородности прочности бетона. Коэффициент вариации прочности бетона анкерных
опор должен быть не более 9%, а морозостойкость не ниже Мрз 100. Анкерные опоры
изготавливаются из бетона нормальной степени плотности согласно СНиП II-28-73.
Водонепроницаемость бетона W4. В качестве арматуры применяется проволока класса
Вр-II – ГОСТ 7348-81 и Врп-I – ТУ 14170-119-80.
Отклонения размеров анкерных опор не должны
превышать 20 мм. Непрямолинейность профиля боковых граней, измеряемая на длине
2 м, не должна превышать 10 мм.
На поверхности анкерных опор не допускаются:
раковины диаметром
более 10 мм и глубиной 5 мм;
местные наплывы бетона высотой более 5 мм и
впадины глубиной более 3 мм;
сколы бетона ребер глубиной более 10 мм и общей
длиной более
50 мм на участке ребра длиной 1
м;
трещины
в бетоне, за исключением местных поверхностных
усадочных.
Крепление струн на анкерных опорах осуществляется с
помощью анкерных зажимов. Специально для струнного транспорта были разработаны
5 вариантов анкерных зажимов. Это понадобилось в связи с тем, что существующие
анкерные зажимы предназначены для крепления витых канатов, а в СТЮ используется
не витой пучок проволоки малых диаметров. Один из таких анкерных зажимов
представлен на рис. 9.
Рис. 9.
Анкерный зажим А14132-12301000 без принудительного самозаклинивания (продольный
разрез).
В отличие от анкерных опор, поддерживающие
воспринимают намного меньшую нагрузку, поэтому они значительно дешевле.
Максимальное расстояние между поддерживающими опорами может составлять
несколько километров, однако при таких больших пролетах, появляются значительные
колебания рельс-струн, а провис может достигать нескольких метров. Естественно
при таких показателях невозможно скоростное движение транспорта, а комфортность
понижается. Поэтому, при необходимости создания больших пролетов, требуется
устройство поддерживающих конструкций (устройство вант, поддерживающих канатов
и т.д.) и увеличение силы натяжения струны. Стоимость строительства при этом
выше, чем при размещении поддерживающих опор с шагом не более 50 м. При этом не
рекомендуется размещать опоры с шагом менее 20 м, выигрыш в силе натяжения
струны и ее материалоемкости в таком случае не превышает расходы на
дополнительные опоры. Наиболее оптимальными считаются расстояния 30-40 м между
опорами.
Поддерживающие опоры могут, при необходимости,
использоваться в качестве: осветительных мачт, опор рекламных и информационных
щитов, для прокладки линий связи или других инженерных коммуникаций.
Железобетонные поддерживающие опоры подразделяются
на четыре типа (рис. 10):
Т-образные;
П-образные;
У-образные;
Индивидуального проектирования.
Опоры из сварных стальных конструкций не имеют такого
строгого разделения, они все выполнены в виде вертикальной плоской фермы.
Рис. 10.
Поддерживающие опоры.
Слева
направо: Т-образная; У-образная; П-образная; Индивидуального проекта.
Ниже на рис. 11 и 12 показаны поддерживающие
железобетонные опоры, разработанные компанией ООО «СТЮ».
Подобные поддерживающие опоры изготавливаются в
соответствии с требованиями технологической документации, устанавливающей
требования к качеству и точности изготовления опор.
Фактическая прочность бетона назначается по ГОСТ
18105-86. Коэффициент вариации прочности бетона в партии опор должны быть не
более 9%. Морозостойкость бетона не ниже Мрз 100, водонепроницаемость W4. В
качестве арматуры используется проволока Вр-II – ГОСТ 7348-81 и Врп-I – ТУ
14-170-119-80.
Отклонения размеров поддерживающих опор от
номинальных не должны превышать 20 мм по длине опоры и 3 мм по размерам
поперечного сечения. Непрямолинейность профиля боковых граней, измеряемая на
участке 2 м, не должна превышать 10 мм, а для поддерживающих опор большой
высоты (более 10 м) – 5 мм.
Рис. 11.
Поддерживающая железобетонная опора двухпутной трассы СТЮ колеей 1,5 м на
плитном фундаменте: 1 – рельс-струна; 2 – опора; 3 – фундамент;
4 – земля; 5
– выемка грунта.
Рис. 12.
Поддерживающая железобетонная опора однопутной трассы СТЮ колеей 1,5 м на
свайном фундаменте: 1 – рельс-струна; 2 – опора; 3 – свая; 4 – фонарь
освещения; 5 –
заполнитель
компенсатора высоты; 6 – земля.
Компанией ООО «СТЮ» так же разработаны опорные узлы,
предназначенные для крепления предварительно напряженных конструкций
рельс-струны на промежуточных опорах. Опорные узлы должны воспринимать
изгибающий момент и перерезывающую силу, возникающие как от собственного веса
конструкции и расчетной ветровой нагрузки, так и от статических и динамических
нагрузок, возникающих при движении транспортных модулей. Один из таких
вариантов представлен на рис. 13 и 14.
При выполнении поддерживающих опор гибкими (т.е. с малой
изгибной жесткостью) в направлении вдоль путевой структуры и жесткими в
поперечном направлении (рис 11), в 10-15 раз снижается горизонтальная нагрузка,
возникающая при торможении транспортных модулей. В таком случае эта тормозная
нагрузка распределяется через рельс-струну на десятки опор. При выполнении опор
жесткими (как в традиционных мостах) вся нагрузка воспринимается одной опорой и
соответственно одним опорным узлом. Первое решение позволяет значительно
снизить материалоемкость и стоимость промежуточных опор.
Рис. 13.
Внешний вид опорного узла (вид изнутри пути СТЮ).
Рис. 14. Вид
сбоку и разрез опорного узла поддерживающей опоры:
1 – ложемент;
2 – укрепляющая верх корпуса арматура; 3 – боковые накладки; 4 – головка
рельс-струны с приваренным к ней корпусом; 5 – косынка; 6 – усиливающая нижняя
накладка на корпусе рельс-струны; 7 – струна; 8 – бетонный заполнитель; 9 –
поддерживающая опора.
Инфраструктура трасс СТЮ включает в себя саму
путевую структуру, станции, вокзалы, погрузочные и разгрузочные терминалы,
сервисные депо, диспетчерские, устройства электроснабжения, сети связи,
системы сигнализации, информационные комплексы и другие сооружения и
устройства.
Вокзалы и станции
СТЮ классифицируются:
по площади помещений и расчетной вместимости на внеклассовые
(более 1000 м², более 100 пасс.); I класса (до 1000 м², 50-100
пасс.); II класса (до 500 м², 20-50 пасс.); III класса (до 200 м²,
до 20 пасс.);
по расположению относительно путевой структуры - на продольные,
торцевые и
П-образные (рис. 15);
по количеству уровней - на одно-, двух- или многоуровневые;
по
организации движения - на линейные, челночные и разворотные
(рис. 16);
по расположению относительно уровня земли на наземные и
надземные.
Рис. 15.
Расположение станций и вокзалов относительно путей СТЮ:
А – здание
вокзала (станции); Б – перроны; 1 – продольное расположение; 2 – торцевое;
3 –
торцево-боковое; 4 – П-образное.
а)
б)
в)
Экономически целесообразно размещать станции СТЮ на
анкерных опорах, в таком случае опора будет основным несущим элементом здания
станции. Для крупных станций и вокзалов, возможно, потребуется установка
дополнительных несущих конструкций, способных выдержать вес больших перронов,
пассажиров ожидающих прибытия транспортных модулей и стационарного оборудования
станций. Кроме того для надземных станций необходимо устройство лестничных
маршей, пандусов или эскалаторов, а для наземных – устройство лифтов, доставляющих
пассажиров из здания вокзала прямо к дверям транспортного модуля в момент его
подхода (рис 17).
Вариант наземного вокзала удобен для пассажиров
(особенно для маломобильных групп населения), а так же дешевле при
строительстве, так как здание вокзала не нужно поднимать на высоту прохождения
пути. Однако, такой вариант требует дополнительных затрат на эксплуатацию, а
так же крайне чувствителен к авариям лифтового оборудования, так как в случае
его поломки, пункт полностью перестает функционировать.
Рис. 17.
Промежуточные станции СТЮ:
сверху –
наземная; снизу – надземная по анкерной опоре.
Для конечных станций могут быть применены либо
кольцевые вокзалы, либо линейные, с устройством плоскопараллельного стрелочного
перевода и разворотной платформы (рис. 18). Непосредственно на станциях СТЮ
используются не рельс-струны, а обычные железнодорожные рельсы. Поэтому
становится возможным организация как плоскопараллельного стрелочного перевода
(наиболее эффективен для станций СТЮ) так и обычного стрелочного перевода.
Рис.18.
Организация движения на конечных станциях:
сверху –
кольцевая; снизу – с плоскопараллельным стрелочным переводом и разворотной
платформой.
Для эффективной работы СТЮ и обеспечения
гарантированного ресурса службы транспортных модулей необходимо их
своевременное обслуживание. Все работы по техническому обслуживанию и ремонту
автомобилей проводятся в сервисных депо. Сервисное депо, в зависимости от вида
станции и наличия свободных площадей может располагаться как в объединенном с
вокзалом здании, так и в отдельно стоящем; на уровне путевой структуры или на
уровне земли. При планировании продления трассы СТЮ необходимо размещать депо в
стороне от направления предполагаемого пути, а так же возможность расширения площади
для обслуживания транспортных модулей.
В сервисных депо должны выполняться следующие виды
работ: мойка и уборка юнибусов, заправка ГСМ, контроль и диагностика
оборудования и агрегатов, регулировка узлов и их смазка, сварка, окраска,
слесарномеханические и электротехнические работы. На рис. 19 показана схема
производственного процесса полнообъемного технического обслуживания.
Рис. 19.
Схема технического обслуживания в сервисном депо:
черной линией
показаны основные направления, красной – возможные.
Для проведения комплексного обслуживание, в депо
необходимо наличие следующего оборудования:
слесарный верстак;
заточный станок;
сверлильный
станок;
ручной
пресс;
сварочный
аппарат;
окрасочная камера;
кран-балка;
ванна для мойки
деталей;
стеллаж для инструмента;
домкрат;
контейнер
для отходов;
На струнных трассах, в качестве подвижного состава
могут применяться как существующие транспортные средства с установленными
специальными двухребордными колесами, либо специально разработанные
транспортные модули – юнибусы. В настоящее время разработано большое количество
вариантов юнибусов, часть из них предназначена для пассажирских перевозок, а
часть – для грузовых. Кроме этого, юнибусы различаются по вместимости
(грузоподъемности), скорости движения, ширине колеи и т.д.
Движение юнибуса по путевой структуре осуществляется
с помощью колес с двумя ребордами. Колеса оснащены противосходным устройством и
токосъемным механизмом, через который производится запитка привода
электрической энергией. Приводной агрегат юнибуса может быть выполнен в виде
двигателя вращения (роторного электродвигателя, двигателя внутреннего сгорания,
дизельного двигателя и др.), мотор-колеса (электрического или иного),
линейного электродвигателя или газовой турбины.
Форма юнибусов так же разнообразна, так для
высокоскоростных юнибусов применяется «каплевидная» форма, позволяющая снизить
аэродинамическое сопротивление, а для городских – более прямоугольная,
позволяющая удобно разместиться стоящим пассажирам (рис. 20).

Рис. 20.
Юнибусы:
слева –
городской, справа – высокоскоростной
Корпус юнибусов состоит из сварного каркаса,
служебной двери, запасной двери остекления и металлического покрытия, а так же
термо- и шумоизоляции. Нижняя рама сварного корпуса состоит из продольных и
поперечных балок, на которые крепится облицовка, а так же силовая установка,
ходовая система и прочее электрооборудование. Юнибусы также оснащены системами
вентиляции, кондиционирования и отопления, а при необходимости и системы
автоматического управления. Для безопасности пассажиров, юнибусы оборудованы системами
пожаротушения, состоящими из датчиков температуры, генераторов огнетушащего
аэрозоля, и углекислых огнетушителей. В случае аварийной остановки, для
безопасного спуска пассажиров на землю юнибусы оснащаются веревочными
лестницами, тросовыми эвакуаторами или спасательными рукавами.
Ситуационный план выполнен на спутниковой съемке,
взятой с интернет ресурса «Яндекс карты» (www.maps.yandex.ru). Для городских
участков использована съемка масштаба 1:5000, для междугороднего – масштаба
1:20000. На плане трассы были выделены автомобильные и железные дороги,
остановки общественного транспорта, железнодорожные станции, населенные пункты
и перспективные жилые кварталы, 2-ая линия метрополитена г. Екатеринбург, а так
же крупные фокусы тяготения, как существующие, так и перспективные.
В городе Первоуральск отсутствует внеуличный
пассажирский транспорт, а высокая загрузка улично-дорожной сети по пути
следования в сторону г. Екатеринбург, осложняет сообщение с железнодорожным
вокзалом и автовокзалом. Для наибольшей эффективности струнной транспортной
системы, она должна проходить в черте города, так чтобы пассажиры могли
добраться до ближайшего остановочного пункта пешком, либо на автобусе минуя
участок Московского шоссе от улицы Вайнера до улицы Сакко и Ванцетти, так как
на этом участке уровень загруженности проезжей части в час-пик превышает
нормативный.
Учитывая маршрутную сеть
городского автобусного пассажирского транспорта и крупные фокусы тяготения,
было определено расположение остановочных пунктов. Первый остановочный пункт
размещен на площади Победы, так как здесь сходится наибольшее количество
городских автобусных маршрутов и из любой точки города можно доехать до площади
без пересадок. Следующий остановочный пункт расположен на пересечении улицы
Вайнера с Московским шоссе, расположение обусловлено с непосредственной
близостью к городскому рынку и 2-ой проходной Первоуральского Новотрубного
Завода. Третий остановочный пункт находится вблизи автовокзала и центральной
проходной Первоуральского Новотрубного Завода. Четвертый – в районе поселка
Талица, рядом с одноименной автобусной остановкой. Размещение 4-ого
остановочного пункта связано с существенным пассажиропотоком жителей поселков
Талица и Магнитка, следующих в Екатеринбург.
Учитывая невозможность размещения здания депо на
территории площади Победы, струнная трасса продолжена по аллее вдоль ул.
Ватутина до набережной Нижнее-Шайтанского водохранилища. На выезде из депо
предусмотрен конечный остановочный пункт, так как в радиусе пешеходной
доступности, находится необслуженная вышеперечисленными остановками жилая
застройка.
В г. Екатеринбург, учитывалась перспективная
застройка района ВИЗправобережный, которая включает жилые кварталы, ледовый
дворец спорта, западный автовокзал, а так же конечную станцию перспективной
линии метрополитена, которая пойдет через площадь 1905 года в сторону жилого
района ЖБИ. Вторая для Екатеринбурга линия метрополитена начнется со
строительства участка от перекрестка улиц Викулова-Крауля до площади 1905 года.
Участок, протяженностью 4,5 километра будет включать в себя 4 станции
(Металлургическая, Татищевская, Уральских коммунаров и Площадь 1905 года).
Запуск участка планируется до 2018 года в связи с проведением на
Екатеринбургском центральном стадионе матчей чемпионата мира по футболу. В
последующие годы, линия метрополитена будет продлена на запад до проектируемого
западного автовокзала, вблизи которого будет располагаться станция
Верх-Исетская, и на восток через Уральский Федеральный Университет до
перекрестка улиц Высоцкого - 40 лет ВЛКСМ включая 5 станций (Театральная,
Восточная, Политехническая, Втузгородок и Каменные палатки).
Конечный остановочный пункт проектируемой струнной
трассы предлагается разместить вблизи будущего западного автовокзала и станции
метро Верх-Исетская, так как пассажиры, приехавшие из Первоуральска, смогут
быстро осуществить пересадку на междугородний автобус, либо на метро. Так же,
учитывая большую популярность ТРЦ «Мега» у жителей Первоуральска (примерно 10%
от всего пассажиропотока) предлагается размещение остановочного пункта на Ново-Московском
тракте, в непосредственной близости от торгового центра.
Если в черте города трассировка струнной транспортной
системы диктуется направлением улиц, в красных линиях которых размещаются опоры
и пролеты струнного пути, то на междугороднем участке, нужно учитывать
специфику проектируемого вида транспорта. СТЮ экономически менее чувствителен к
рельефу местности, чем к поворотам трассы, поэтому рекомендуется проектировать
меньшее количество поворотов, а прямые участки - большей протяженности, однако
полностью прямая трасса нецелесообразна по причине наличия населенных пунктов
между городами Первоуральск и Екатеринбург (трасса должна проходить вне
населенных пунктов). На трассировку так же повлияло направление автомобильных
и железных дорог, так как приближение к ним упрощает доставку рабочих и
материалов при строительстве и ремонте струнной трассы. Так же учитывалась
залесенность территории, трасса по возможности проложена вдоль просек или на
незалесенных участках территории.
Время передвижения от места проживания в г.
Первоуральск до конечной цели поездки в г. Екатеринбург складывается из 3-ех
составляющих: время передвижения от места проживания до ближайшей остановки
проектируемой струнной трассы, время поездки по струнной транспортной системе,
время передвижения от конечной остановки струнной трассы до цели передвижения.
Для определения средневзвешенной затраты времени на
передвижение до ближайшей остановки струнной трассы были построены
изохронограммы 10, 20 и 30 минутной доступности (рис. 21), совмещенной со
схемой жилых районов и маршрутной сети г. Первоуральск. Изохронограммы
строились по уравнению для безпересадочного движения (5), так как, по крайней
мере, до площади Победы можно доехать от любой другой автобусной остановки в
городе без пересадок.
(5)
где, y – дальность отхода от
остановки высадки до того пункта, когда будет полностью израсходовано время, соответствующее
изохроне; Vпеш –
скорость движения пешеходов (70 м/мин);
li –
расстояние подхода от объекта, для которого строится изохронограмма, до
ближайшего остановочного пункта (в проекте li = 0, так
как все остановочные пункты струнной трассы
находятся в
непосредственной близости от
остановок городского транспорта); tм – маршрутный интервал;
x – расстояние между
остановками посадки и высадки;
Vc – скорость сообщения (300
м/мин).
Рис. 21.
Изохронограмма остановочных пунктов струнной транспортной системы в черте
города Первоуральск
При расчете средневзвешенного времени передвижения до
ближайшей остановки струнной трассы учитывалась этажность застройки. Жилые
районы в пределах каждой изохроны разделялись на районы с разной этажностью
застройки, площадь каждого района умножалась на показатель этажности, и
находился процент от общей площади всех жилых районов, посчитанной по такому же
принципу. Таким образом, приблизительно была определена доля населения города,
проживающего в пределах каждой изохронны. Диаграмма распределения населения по
затратам времени на передвижение до ближайшей остановки струнной трассы
представлена на рис. 22.
Рис. 22.
Диаграмма распределения населения по затратам времени на передвижение до
ближайшей остановки струнной трассы.
Средневзвешенные
затраты времени составили:
Средние затраты времени на передвижение в
Екатеринбурге составляют 40 минут, однако учитывая близкое расположение
конечной остановки струнной трассы и станции 2-ой линии метрополитена, можно
предположить, что средние затраты времени для пассажиров, пользующихся струнной
транспортной системой составят 30 минут.
Затраты времени на поездку по струнной трассе
складываются из затрат времени на проезд в черте города (максимальная скорость
60 км/час, средняя – 45 км/час) и затраты времени на преодоление междугороднего
участка. В соответствии с ситуационным планом, протяженность городских участков
струнной трассы составляет 10 км (7,5 км в черте г. Первоуральск и 2,5 км в г.
Екатеринбург). Таким образом затраты времени на поездку по струнной трассе в
черте города составляют (10 / 45)*60 = 13,3 мин, а с учетом ожидания юнибуса ≈
16 минут.
Для того чтобы струнная транспортная система была
эффективна, общее время передвижения пассажиров от места проживания до конечной
цели поездки должно быть как минимум равно среднему времени поездки на личном
автомобиле (75 минут). Соответственно затраты времени на преодоление
междугороднего участка (30 километров) должны составлять не более 75 - 17,4 -
16 - 30 = 11,6минут. Таким образом, искомая максимальная скорость движения на междугороднем
участке составляет
(30 / 11,6)*60 = 155,17 ≈ 150
км/час. Время поездки юнибуса между конечными остановочными пунктами струнной
транспортной системы составит (10 / 45 + 30 / 150)*60 = 25,3 минут.
В качестве вариантов подвижного состава предложены
юнибусы моделей Ю-321ПЭ1, Ю-342МТ и Ю-326РА. Основные характеристики юнибусов
приведены в таблице 6.
Таблица 6
|
Параметры
|
Варианты юнибусов
|
|
|
Ю-321ПЭ1
|
Ю-342МТ
|
Ю-326РА
|
|
1
|
2
|
3
|
4
|
7550
|
6750
|
20000
|
|
Ширина, мм
|
1850
|
3100
|
1850
|
|
Высота, мм
|
1980
|
2200
|
2200
|
|
База, мм
|
4575
|
4100
|
12450
|
|
Колея, мм
|
1500
|
2500
|
1500
|
|
Вместимость пассажиров, чел
|
11
|
20
|
30
|
|
Полная масса, кг
|
2300
|
5500
|
7700
|
|
Максимальная скорость, кг
|
200
|
360
|
340
|
|
Тип двигателя
|
Электрический
|
Дизельный
|
Дизельный
|
|
Удельный расход топлива
|
21 кВт∙ч/100 км
|
14,2 л/100 км
|
17,4 л/100 км
|
Для выбора варианта юнибуса проводится расчет
необходимого количества подвижного состава, маршрутного интервала движения и
годового пробега для каждого типа юнибуса. Расчет выполняется по формулам
(6-8).
где: Мсут- суточная работа транспорта
на маршруте;
Нсут - производительность
единицы подвижного состава.
где: L – длина маршрута;
Vэ – эксплуатационная скорость;
Nдв – количество единиц
подвижного состава в движении.
где, h – число
часов работы подвижного состава в сутки.
Для определения суточной работы на маршруте была
построена схема тяготения населения к остановочным пунктам струнной
транспортной системы в пределах г. Первоуральск (рис. 23). На схеме были
выделены районы разной этажности, и проведены границы разделяющие районы,
тяготеющие к разным остановкам. По схеме было вычислено процентное соотношение
населения тяготеющего к каждому остановочному пункту (рис. 24). Допустив
предположение, что места жительства людей, совершающих ежедневные поездки в
Екатеринбург, равномерно распределены по всей территории города, можно
рассчитать количество пассажиров, совершающих посадку на каждом остановочном
пункте струнной трассы. Что касается количества пассажиров, совершающих
посадку/высадку на остановке
«Мега», оно принято
условно 10% от всего пассажиропотока.
Рис. 23.
Схема тяготения населения города Первоуральск к остановочным пунктам струнной
транспортной системы
Рис. 24.
Распределение населения г. Первоуральск по тяготению к остановочным пунктам
струнной транспортной системы.
Для оценки общего количества пассажиров, совершающих
поездки на струнном транспорте, принимаются допущения по количеству пассажиров,
которые предпочтут струнный транспорт, привычным средствам передвижения. Для
людей, совершающих поездки на автобусах, электричках и автомобилях, работающих
в режиме «такси» струнный транспорт будет более удобен, в связи с меньшими
затратами времени и денег на проезд, поэтому 95% этих людей предпочтут именно
струнный транспорт. Оставшиеся 5% будут по-прежнему пользоваться привычными
видами транспорта в связи с боязнью поездок на скоростном транспорте,
расположенном в нескольких метрах над землей. Примерно пятой части людей,
совершающих поездки на попутном автотранспорте, не требуются пересадки на
общественный транспорт, так как попутный транспорт проходит вблизи мест их
проживания и мест конечной цели поездки. Поэтому эти 20% останутся привержены
привычному для них средству передвижения. Наконец лишь 10% владельцев личного
автотранспорта предпочтут поездки на струнном транспорте. Итоговый
пассажиропоток составляет: (1779 + 650 + 1200)*0,95 + 1200*0,8 + 4200*0,1 =
4828 пасс/сут.
.
Картограмма суточного пассажиропотока на
проектируемом маршруте представлена на рис. 25.
Рис. 25.
Картограмма суточного пассажиропотока
Производительность подвижного состава рассчитана для
каждого варианта юнибуса по формуле (7).
где, Vэ – эксплуатационная скорость (расстояние 41 км, время
поездки 25,3 минуты или 0,4217 часа, учитывая автоматическое управление
юнибусом, задержки на конечных станциях не требуются, поэтому
Vэ = 41 / 0,4217 = 97,23
км/час); h – число часов работы подвижного состава в сутки (принимается 14
часов при работе подвижного
состава с 6:00 до 20:00); ω – вместимость подвижного состава;
η – среднесуточный коэффициент наполнения подвижного
состава
(0,3).
Выбор подвижного состава обосновывается по
технико-экономическим показателям. Поскольку разница в стоимости строительства
струнной путевой структуры для предложенных юнибусов несущественна (она больше
зависит от скоростного режима, который в проекте уже определен), то сравнение
проводится по эксплуатационным экономическим показателям, а точнее по годовым
затратам топлива/электроэнергии.
Расход электроэнергии юнибуса Ю-321ПЭ1 составляет 21
кВт∙ч/100 км. Годовой пробег составляет 20867502,6 маш∙км, а
годовые затраты электроэнергии – 208675,026*21 = 4382175,4 кВт∙ч.
Стоимость электроэнергии на первый квартал 2012 составляет 2,43
руб/кВт∙ч. Таким образом годовые затраты на электроэнергию составляют
4382175,4*2,43 = 10648686,2 руб.
Аналогичный расчет был проведен для юнибусов Ю-342МТ
и Ю326РА. Годовой расход топлива составил соответственно 1622696,75 и
1383217,32 литра, а затраты на топливо – 44624160,6 и 38038476,3 рублей.
Первый вариант значительно выгоднее по
эксплуатационным затратам, однако он требует дополнительных расходов для
проведения контактной сети. Стоимость контактной сети для струнной транспортной
системы на 2008 год составляла 1млн рублей за километр. Уровень инфляции с 2008
года до начала 2012 года вырос на 37%, таким образом, на начало 2012 стоимость
1 км контактной сети составляет 1 млн 370 тыс рублей, а полная стоимость
контактной сети 56 млн 170 тыс рублей.
Экономическая выгода от применения юнибусов Ю-321ПЭ1
составляет 33975474 рублей по сравнению с юнибусами Ю-342МТ и 27389790 по
сравнению с Ю-326РА. Затраты на
строительство контактной сети окупятся за 1,65 и 2,05 лет соответственно.
С технической точки зрения вариант юнибуса с
электрическим двигателем предпочтительнее юнибуса с дизельным двигателем, так
как струнная трасса частично проходит в пределах жилой застройки, а экипажи на
электрической тяге создают меньшее шумовое загрязнение и у них отсутствует
выброс вредных веществ в атмосферу.
Для дальнейшей
проработки выбирается юнибус Ю-321ПЭ1 (рис. 26).
Рис. 26.
Высокоскоростной пассажирский юнибус Ю-321ПЭ1
В проекте предусмотрено 2 варианта выполнения
рельс-струны, для городского участка с максимальной скоростью движения 60
км/час и для междугороднего с максимальной скоростью 150 км/час. Разница
заключается в относительной жесткости, так как она влияет на комфортность
поездки для пассажира при определенной максимальной скорости. Для городского
участка принимается относительная жесткость 1/400, для междугороднего – 1/800.
Для обоих вариантов неизменна ширина корпуса рельса, которая составляет 10 см.
Исходя из приведенных выше показателей относительной
жесткости и полной массы выбранного юнибуса (2300/2=1150 кг на каждую
рельс-струну) рассчитывается необходимое усилие натяжения струн.
Для компоновки струны предлагается высокопрочная
гладкая проволока В-II диаметром 3 мм. Предельные напряжения такой проволоки
составляют 15200 кг/см², а нормативные – 12050 кг/см². Помимо усилия
натяжения, струна испытывает температурные и ветровые напряжения, напряжения от
обледенения рельса и от подвижного состава, движущегося в середине пролета. Эти
напряжения составляют порядка 2100кг/см², таким образом, от нормативной
нагрузки остается величина 12050-2100 = 9950 кг/см². Площадь сечения
проволоки, диаметром 3 мм равна 0,07065 см², значит, каждая проволока должна
выдерживать 9950*0,07065 = 702,9675 км. Необходимое количество проволоки равно:
Количество горизонтальных рядов в проволоке в 1,5
раза больше количества вертикальных рядов. Тогда габариты струны равны 3Х на
3Y, где
Всего проволок в
струне – 187, ширина струны 3,3 см, высота – 5,1 см.
Монтажный провис струны на максимальном пролете в
50м для городского участка равен 50 / 400 = 0,125 м = 12,5 см. Минимальная
высота корпуса рельса складывается из максимального монтажного провиса, высоты
струны, толщины стенки корпуса рельса (3мм) и толщины головки рельса (20мм):
12,5 + 5,1 + 2 + 0,3 = 19,9 см.
Для междугороднего варианта рельс-струны количество
горизонтальных рядов равно 15, а вертикальных – 23, всего проволок в струне –
345. Ширина струны 4,5см, высота – 6,9см. Монтажный провис равен 6,25 см, а
минимальная высота корпуса рельса – 15,45 см. Для обоих вариантов принимается
рельс шириной 10 см и высотой 20 см (рис. 27).
Рис. 27.
Сечение рельс-струны (слева для городского участка, справа – для
междугороднего).
Для построения разбивочного плана трассы
использовалась топосъемка масштаба 1:50000 с шагом горизонталей 10 м. На плане
была задана ломаная линия струнной трассы с углами поворота, в которые
вписывались кривые необходимого радиуса. Радиусы для поворотов рассчитывались
исходя из скоростного режима на участке при соблюдении комфортного бокового
ускорения, которое испытывают пассажиры юнибуса при движении по криволинейному
участку трассы (1 м/с²). Для городских участков трассы при размещении на
повороте остановочного пункта, принят радиус 20 м. При повороте без остановки,
радиус закругления составил для городских участков – 280 м, для междугородного
– 1750 м.
Вершина первого угла поворота находится на
расстоянии 1 км 69,90 м от начала струнной трассы. Угол поворота составляет
89º12΄, радиус кривой 20 м. Элементы кривой рассчитываются по
формулам 8-11.
где, Т – тангенс кривой; К –
длина кривой; Б – биссектриса; Д – домер; R – радиус; α – угол поворота.
Для первого угла
поворота:
Положение начала и
конца закругление определяется пикетами:
Начало кривой - ПК
НК1 = ПК ВУП1 – Т1 = 1069,90 – 19,72 = 1050,18 м;
Конец кривой – ПК КК1 = ПК НК1 + К1 = 1050,18 + 31,13 = 1081,13 м;
Аналогичный расчет был проведен для каждой кривой, а
результаты занесены в таблицу 7.
Проверка расчетов:
1) 2∙ΣТ
= ΣК + ΣД:
2∙ΣТ =
2∙1879,03 = 3758,06 м; ΣК + ΣД = 3631,71 + 126,35 = 3758,06 м.
2) ΣP
+ ΣК = Lтр:
ΣР + ΣК =
37163,88 + 3631,71 = 40795,59 м; Lтр = 40795,59 м.
3) Σl
= Lтр + ΣД:
Σl = 40921,94
м; Lтр + ΣД =
40795,59 + 126,35 = 40921,94 м.
4) Σαпр – Σαлев = rнач – rкон;
Σαпр – Σαлев = 167º52΄ – 341º58΄ =
–174º06΄; rнач
– rкон = 4º20΄
– 10º14΄ = –174º06΄;
Таблица 7
|
№ угла поворота
|
Углы поворота
|
|
Элементы кривых
|
|
|
|
Прямые
|
|
|
ВУП, ПК+
|
Величина
|
НК, ПК+
|
КК, ПК+
|
R, м
|
Т, м
|
Б, м
|
К, м
|
Д, м
|
Расстояние между ВУП l, м
|
Прямые
вставки P, м
|
Румбы линий
|
|
влево
|
вправо
|
|
1
|
2
|
3
|
4
|
5
|
6
|
7
|
8
|
9
|
10
|
11
|
12
|
13
|
14
|
|
НТ
|
0+00,00
|
-
|
-
|
0+00,00
|
-
|
-
|
-
|
-
|
-
|
1069,90
1239,97
46,34
557,86
693,98
2014,09
568,67
815,21
640,73
8527,54
6284,11
3817,44
4928,51
6581,31
920,80
1648,60
566,88
|
1050,18
1201,97
21,65
517,37
627,15
1904,12
464,69
754,91
545,16
7843,84
5410,28
3337,68
4522,85
6315,19
780,34
1447,91
418,59
|
ЮЗ:4º20΄
ЮВ:84º52΄ Ю:0º00΄
ЮВ:35º32΄
ЮВ:49º25΄
ЮВ:64º11΄
ЮВ:34º28΄
ЮВ:45º23΄
ЮВ:59º04΄
ЮВ:55º00΄
СВ:85º51΄
ЮВ:77º45΄
СВ:87º27΄
ЮВ:80º56΄
СВ:64º09΄
СВ:85º20΄
СВ:10º14΄
|
|
1
|
10+69,90
|
89º12΄
|
-
|
10+50,18
|
10+81,31
|
20
|
19,72
|
8,09
|
31,13
|
8,31
|
|
2
|
23+01,56
|
-
|
84º52΄
|
22+83,28
|
23+12,90
|
20
|
18,28
|
7,10
|
29,62
|
6,94
|
|
3
|
23+40,96
|
35º32΄
|
-
|
23+34,55
|
23+46,96
|
20
|
6,41
|
1,01
|
12,41
|
0,41
|
|
4
|
28+98,41
|
13º53΄
|
-
|
28+64,33
|
29+32,18
|
280
|
34,08
|
1,97
|
67,85
|
0,31
|
|
5
|
35+92,08
|
14º46΄
|
-
|
35+59,33
|
36+24,54
|
280
|
32,75
|
1,97
|
65,21
|
0,29
|
|
6
|
56+05,88
|
-
|
29º43΄
|
55+28,66
|
56+79,39
|
280
|
77,22
|
10,46
|
150,73
|
3,71
|
|
7
|
61+70,84
|
10º55΄
|
-
|
61+44,08
|
61+97,42
|
280
|
26,76
|
1,41
|
53,34
|
0,18
|
|
8
|
69+85,87
|
13º40΄
|
-
|
69+52,33
|
70+19,15
|
280
|
33,54
|
1,97
|
66,82
|
0,26
|
|
9
|
76+26,34
|
-
|
4º04΄
|
75+64,31
|
76+88,27
|
1750
|
62,03
|
1,75
|
123,96
|
0,10
|
|
10
|
161+53,78
|
39º08΄
|
-
|
155+32,11
|
167+27,55
|
1750
|
621,67
|
107,75
|
1195,44
|
47,90
|
|
11
|
223+89,99
|
-
|
16º24΄
|
221+37,83
|
226+38,61
|
1750
|
252,16
|
17,68
|
500,78
|
3,54
|
|
12
|
262+03,89
|
14º49΄
|
-
|
259+76,29
|
264+28,60
|
1750
|
227,60
|
14,11
|
452,31
|
2,89
|
|
13
|
311+29,51
|
-
|
11º37΄
|
309+51,45
|
313+06,48
|
1750
|
178,06
|
8,79
|
355,03
|
1,09
|
|
14
|
377+09,73
|
34º55΄
|
-
|
376+21,67
|
377+92,33
|
88,06
|
13,50
|
170,66
|
5,46
|
|
15
|
386+25,07
|
-
|
21º12΄
|
385+72,67
|
386+76,24
|
280
|
52,40
|
4,84
|
103,57
|
1,23
|
|
16
|
402+72,44
|
75º06΄
|
-
|
401+24,15
|
403+77,00
|
192,9
|
148,29
|
50,35
|
252,85
|
43,73
|
|
КТ
|
407+95,59
|
-
|
-
|
407+95,59
|
-
|
-
|
-
|
-
|
-
|
|
Σ
|
|
341º58΄
|
167º52΄
|
|
|
|
1879,03
|
|
3631,71
|
126,35
|
40921,94
|
37163,88
|
rн-rк
=
= 174º06
|
65
Продольный профиль струнной трассы строился с учетом
специфики струнных транспортных систем. Они не требуют насыпей или выемок, а
продольный уклон и вертикальные кривые выдерживаются высотой опор. На участках,
где струнная трасса проходит вдоль автомобильных и железных дорог, вдоль
тротуаров и аллей или пересекает их, необходимо выдерживать определенное
расстояние от поверхности проезжей части, рельса, тротуара до низа рельс
струны.
В проекте принята высота струнного пути 5 м над
проезжими частями автомобильных дорог и 7 м – над железными дорогами. Для
соблюдения необходимых просветов, на продольном профиле, в пределах городской
черты и на пересечениях с автомобильными дорогами на междугороднем участке, на
5 метров вверх отложена линия рельефа. Соответственно на пересечениях с
железными дорогами линия рельефа отложена вверх на 7 м, а в случае пересечения
с путепроводом в районе ТРЦ «Мега» предусмотрен просвет в 12 метров. Область
между линией рельефа и отложенной линией заштрихована, в ее пределах не допускается
прохождение струнного пути.
В местах пересечения с линиями электропередач так же
необходимо соблюдение нормативных расстояний от путевой структуры до ближайшего
кабеля, в зависимости от величины напряжения. Струнная трасса дважды пересекает
высоковольтные линии электропередач. На выезде из г. Первоуральск, между 106 и
107 пикетами, трасса пересекает ЛЭП напряжением 45 кВт. В районе развязки
Ново-Московского тракта и Екатеринбургской кольцевой автодороги, между 281 и
282 пикетами, трасса пересекает ЛЭП напряжением 110 кВт. На топосъемке не
указана высота прокладки кабелей, однако рядом с обоими участками, ЛЭП так же
пересекает автомобильная дорога, которая проходит в уровне земли, поэтому и
струнные пути так же на пересечениях с ЛЭП проектируются в уровне земли.
Максимальный продольный уклон рельс-струн составляет
150‰. Этот показатель обусловлен сцеплением стального колеса с обледеневшей
поверхностью рельса. Радиусы вертикальных кривых, по аналогии с радиусами
кривых в плане рассчитываются исходя из максимальной скорости движения на
участке и комфортного ускорения 1 м/с². Если остановочный пункт находится
в пределах 10 м от точки перелома продольного профиля, радиус вертикальной
кривой составляет 20 м. На городских участках трассы радиус составляет 280 м, а
на междугородных – 1750 м.
Для каждой вертикальной кривой рассчитываются
тангенс, длина и биссектриса по формулам 12-14.
где, Т – тангенс кривой; К –
длина кривой; Б – биссектриса; R – радиус; Δi – алгебраическая разность
уклонов.
Для первой точки
перелома:
Выбранный вариант юнибуса разработан для колеи
шириной 1,5 м, ширина юнибуса составляет 1,85 м, а ширина рельс-струны – 0,1 м.
Тогда выступ корпуса юнибуса за край рельс струны составляет
(1,85-2*0,1-1,5) / 2 = 0,075 м.
Минимальное расстояние между встречными юнибусами составляет 0,8 м, таким
образом, расстояние между встречными рельс-струнами 0,8 + 2*0,075 = 0,95 м.
Расстояние между крайними гранями крайних рельс-струн составляет:
0,95 + 2*1,5 + 4*0,1 = 4,35 м
Проектом предусмотрены 4 типа поперечных профилей: по
поддерживающим Т-образным и П-образным опорам, по анкерным опорам с размещением
остановочного пункта и без него (рис. 28). Размеры поддерживающих опор
различны, а размеры анкерных опор (за исключением из высоты) постоянны, поэтому
в планировочных поперечных профилях размеры указываются только для анкерных
опор.
Если анкерная опора не предполагает размещение
остановочного пункта, то ее ширина составляет 6,50 м, которая складывается из
ширины технического тротуара по обеим сторонам от оси струнной трассы
(2∙1,0=2,0м), расстояния между крайними гранями крайних рельс-струн (4,35
м) и зазоров между крайними рельс-струнами и техническими тротуарами (0,075 м в
соответствии с выступом корпуса юнибуса за край рельс-струны). Ширина анкерных
опор при размещении на них остановочных пунктов увеличивается на 4 м и
составляет 10,5 м, так как ширина посадочной платформы составляет 3 м.
Рис. 28. Планировочные
поперечные профили.
69
Для схемы размещения опор выбран участок трассы между
50 и 60 пикетами. Участок примечателен тем, что находится в черте города,
пересекает автомобильную и железную дорогу, имеет поворот и анкерную опору,
совмещенную с остановочным пунктом «Талица». Схема размещения опор строилась на
топосъемке масштаба 1:1000.
В первую очередь размещение опор определялось в
пределах поворота трассы, так как радиус закругления и размеры сечения
рельс-струны определяют максимально возможные расстояния между опорами. При устройстве
горизонтальных кривых применяются криволинейные рельсы, струна внутри которых
проходит по хорде между соседними опорами, поэтому струна в пределах опоры
располагается ближе к одной стенке рельса, а в середине пролета между соседними
опорами – к другой.
Отклонение струны в
середине пролета рассчитывается по формуле:
где, R – радиус
поворота; L – расстояние между опорами.
Зная ширину рельса, толщину стенок рельса и ширину
струны, определяется максимальное отклонение струны, которое можно разместить в
горизонтальной плоскости рельса, а исходя из этого отклонения, находится
максимально возможное расстояние между опорами по формуле:
Максимальное отклонение струны:
, радиус
поворота – 280 м, тогда максимальное расстояние между опорами:
Длина кривой 150,73
м. Количество опор на кривой равно
N = 150,73 / 11,689
+ 1 = 13,89 = 14, а расстояние между соседними опорами
– 11,6 м.
Далее определяется размещение опор в районе
пересечений струнной трассы с автомобильными и железными дорогами. В таких
случаях учитывается длина прохождения струнной трассы над проезжей частью, а
так же минимальное расстояние от края опоры до кромки проезжей части, которое
составляет 0,75 м (или менее, в случае размещения опоры на центральной
разделительной полосе, минимальная ширина которой, при устройстве опор,
допускается 1,3 м). По возможности расстояние между опорами не должно превышать
50 м, так как при больших пролетах необходимо устройство поддерживающих
канатов.
На свободных участках трассы учитывается оптимальная
длина пролета между опорами (35 м) а так же наличие зеленых насаждений и других
препятствий, устранение которых приведет к удорожанию строительства.
Наиболее экономичны Т-образные поддерживающие опоры,
однако в некоторых случаях их применение невозможно. Например, на криволинейном
участке трассы, 26 опора располагается над железнодорожными путями, поэтому
установка Т-образной опоры невозможна. В данном случае предлагается устройство
П-образной опоры со стойками по обеим сторонам железной дороги.
На выбранном участке предполагается установка
анкерной опоры, совмещенной с остановочным пунктом струнной трассы (рис. 29).
Место ее положения определяется с учетом расположения автобусной остановки
«Талица».
Рис. 29.
Анкерная опора, совмещенная с остановочным пунктом на ПК 59+69,39.
72
Согласно планировочным поперечным профилям
установлены горизонтальные размеры акерных опор при размещении на них
остановочного пункта. Горизонтальные размеры поддерживающих опор, определяются
с учетом расстояния крайних граней крайних рельс-струн и смещения оси струнной
трассы относительно оси опоры.
На всех Т-образных опорах, ось струнной трассы
совпадает с осью опоры, поэтому ширина опор принимается одинаковой для всех и
составляет 5 м. Выступы консолей опоры за край рельс-струны составляет 0,325 м,
что превышает минимально необходимый 0,1 м. Длина пролетной балки для Побразной
опоры определяется исходя из ширины пересекаемой железной дороги, которая
составляет 8,62 м, а с учетом угла пересечения - 10,23 м.
Ширина опоры
составила 12 м.
Для определения высоты опор необходимо построить
продольный профиль трассы в границах заданного участка. На продольном профиле
линия рельефа откладывается вверх на 5 м, а в местах пересечения с железной
дорогой – на 7 м. область между существующей и отложенной линиями рельефа
характеризует зону, в пределах которой не может проходить струнная трасса из
соображений свободного прохождения большегрузных автомобилей и железнодорожного
подвижного состава.
Проектная линия строится по верхней грани
рельс-струны. Учитывая принятую в проекте высоту корпуса рельса (0,2 м) и
толщину консолей и пролетных строений промежуточных опор (0,5 м), проектная
линия на любом участке трассы должна быть выше отложенной линии рельефа как
минимум на 0,7 м.
На продольном профиле отмечаются все опоры, а их
высота на 0,2 м ниже высоты прохождения проектной линии. Данные по высоте опор
заносятся в ведомость опор, где так же обозначен их тип, материал изготовления,
пикетное положение и расстояние до соседних опор.
Управление юнибусами осуществляется
автоматизированной системой. Каждый юнибус оснащен набором датчиков,
контролирующих состояние всех агрегатов юнибуса и важные узлы корпуса,
устройством GSM-связи и модулем GPS (или ГлоНаС) позиционирования. Все эти устройства
передают информацию на центральный процессор, который находится в силовом
отсеке юнибуса. Центральный процессор в свою очередь на основе полученной
информации определяет скоростной режим движения, работу кондиционера,
обогревателя и системы пожаротушения, подает сигнал тормозной системе и т.д.
Модуль спутникового позиционирования в каждый момент
определяет положение юнибуса на трассе, и, в зависимости от скоростного режима
участка пути, на котором находится юнибус, центральный процессор задает скорость
юнибусу.
После прохождения юнибусом трассы от Первоуральска до
Екатеринбурга и обратно, в здании депо, с центрального процессора по
беспроводной связи снимаются показания о времени прохождения пути, задержках на
остановочных пунктах и количестве перевезенных пассажиров. Данные снимаются
моментально, поэтому на конечных станциях не требуется задержка юнибуса, он
может сразу продолжить движение.
Если в движении у юнибуса сработали датчики о
нарушении в работе какого-либо оборудования, центральный процессор принимает
решение продолжать движение, либо производить экстренную остановку с
последующим вызовом эвакуатора, в зависимости от степени поломки. Если движение
продолжается, то по приходу юнибуса в депо он отправляется на ремонт, а вместо
него на линию выходит запасной модуль.
Такая организация работы пассажирских модулей,
позволяет с высокой точностью выдерживать график поездок, исключает
столкновения юнибусов, минимизирует возможность аварий из-за несвоевременно
выявленной неисправности.
Для строительства струнных транспортных систем
используется технологический опыт дорожного строительства, где используются
дорожные отряды для поточного производства работ. Сформированные отряды,
выполняя отдельные технологические операции (например: первый отряд
устанавливает фундаменты опор, второй – устанавливает промежуточные опоры,
третий – анкерные опоры и т.д.), идут друг за другом до завершения
строительства. При этом, в зависимости от протяженности трассы, количества
строительных отрядов и наличия технологического оборудования и оснастки, можно
довести скорость поточного строительства струнных транспортных систем до 0,5 –
1,0 километра в сутки.
Одно из основных преимуществ строительства транспорта
«второго уровня» заключается в том, что большую часть времени монтаж будет
происходить на «втором уровне» не препятствуя работе других служб,
существующему транспорту и т.д.
В данном проекте предусмотрен расчет объемов
земляных работ, при монтаже фундаментов поддерживающих опор, струнной трассы
Первоуральск –
Екатеринбург.
Железобетонные поддерживающие опоры СТЮ изготовляются
на стационарных линиях завода ЖБИ на их оборудовании, которое обеспечивает
стабильное качество изготовления. Опоры трубчатые, цилиндрические и конические
изготовляются из листовой стали методом гибки, с одним продольным сварным швом.
Максимальная длина составных частей опор — не более 12,5 м, что обусловлено
технологией производства и обеспечивает транспортировку грузовым
автотранспортом без специальных разрешений.
Опоры высотой более 12,5 м изготавливаются
составными. Соединение составных частей (секций) опор производится при монтаже
методом «конус в конусе», обеспечивающим надежность соединения и не требующим
болтов и фланцев.
Поддерживающие опоры могут изготавливаться
непосредственно на строительной площадке с помощью опалубки (рис. 30). В
комплект щитовой опалубки входят стальные рамные щиты с палубой из
ламинированной опалубочной фанеры марки F/F1 толщиной 18 мм (при необходимости
возможно изготовление щитов с фанерой толщиной 21 мм), угловые элементы,
оснастка, предназначенная для быстрого соединения и выравнивания щитов
(клиновые литые замки, стяжки с гайками, подкосы), а также вспомогательная
оснастка (консоли для рабочих подмостей, кронштейны для установки опалубки
наружных стен, стойки ограждений и др.).
Рама щита опалубки выполнена из закрытых стальных
профилей, позволяет устанавливать замки, соединяющие щиты, в любом месте по
контуру рамы. Специальный выступ на профилях, образующих периметр рамы,
защищает фанеру от механических повреждений, а силиконовый герметик,
заполняющий зазор между этим выступом и фанерой, защищает фанеру от попадания
влаги.
Рис. 30. Виды
опалубок, применяемых при изготовлении поддерживающих опор:
а) опалубка
круглого профиля; б) опалубка прямоугольного профиля; в) щитовая опалубка
При приемке в эксплуатацию железобетонных конструкций
проверяется соответствие проекту: типы опор и фундаменты, габариты их
установки, глубина заделки опор или фундаментов в грунте, состояние отсыпки
вокруг опор при установке их на насыпях и состояние заделки опор в фундаментах.
Кроме того, проверяются наличие лежней и опорных плит, правильность установки
опор направленного типа по отношению к действующим нагрузкам, правильность
установки и комплектность закладных деталей, наличие и исправность изолирующих
элементов и защитных устройств на опорах (особенно устанавливаемых на участках
постоянного тока), правильность устройства заземления опор.
Для поддерживающих опор могут быть применены свайные
фундаменты, или фундаменты на естественном основании (монолитные или стаканного
типа). В проекте принимаются фундаменты монолитные, с глубиной заложения 2,1
метр. Для определения габаритов фундамента необходимо рассчитать полную
нагрузку от веса опоры, веса пролетного строения и веса 2-ух транспортных
модулей.
Средняя высота поддерживающих опор в
запроектированной трассе составляет 5,5 метров. Столбы поддерживающих опор,
прямоугольного профиля, шириной 0,5 метра и толщиной 0,2 метра. Консоли
Т-образных поддерживающих опор – ширина 5 м, толщина 0,2 м и высота в месте
соединения со столбом опоры – 0,5 м, на краю консоли – 0,2 м (рис. 31)
Рис. 31.
Поддерживающая железобетонная опора бирельсового СТЮ колеей 1,5 м.
Объем бетона для
опоры равен:
Учитывая плотность бетона 2500
кг/м³, вес бетона для одной опоры составит 1625 кг.
Рельс-струна имеет вес 55 килограмм на погонный метр,
средняя длина пролета 35 м, тогда вес одной рельс-струны, приходящийся на опору
составит 1925 кг, а вес 4-ех рельс-струн – 7700 кг.
Полная масса принятого в проекте юнибуса составляет
2300 кг, при учете, что над опорой могут проехать одновременно 2 юнибуса на встречных
направлениях, суммарная нагрузка от них составит 4600 кг. Итого общая нагрузка
на фундамент будет равна 13925 кг.
Для супеси сухой, несущая способность составляет 2,5
кг/см². Тогда минимальная площадь нижней грани фундамента должна быть 5570
см². Для надежности принимаем фундамент с площадью 7500 см².
Принимаем для расчета фундамент с длиной 1,5 м, шириной 0,5 м и высотой 0,3 м.
Объем выемки грунта при устройстве котлована в форме
призматоида, рассчитывается по формуле:
где, F1
– площадь поперечного сечения призматоида в начале, м²; F2 – площадь поперечного сечения
призматоида в конце, м²; h – высота призматоида, м (рис. 32).
Рис. 32.
Котлован в форме призматоида.
Площадь F1 задана размерами фундамента и составляет 0,75 м², высота
призматоида равна глубине заложения фундамента (2,1 м), площадь F2 находится с учетом крутизны
откосов. Для супеси, при глубине котлована до
2,5 м, предполагается угол откоса
1:0,67. Для определения площади F2 необходимо рассчитать длину и ширину верхней
части котлована, соответственно x и y, в соответствии с длиной и шириной нижней
части котлована (a и b):
Тогда объем выемки
составляет:
Для определения объема засыпки котлована необходимо
значение объема фундамента и подземной части опоры. При выбранных размерах
фундамента его объем составит 1,5∙0,5∙0,3 = 0,225 м³. Длина
подземной части опоры за вычетом высоты фундамента составляет 2,1 – 0,3 = 1,8
м, ширина 0,5 м, толщина – 0,2 м. Тогда объем подземной части опоры
1,8∙0,5∙0,2 = = 0,18 м. Объем обратной засыпки равен объему
котлована за вычетом объема подземной части опоры и объема фундамента, т.е.
15,13 – 0,225 – 0,18 = 14,895 м³.
Протяженность струнной трассы составляет 41 км,
среднее расстояние между поддерживающими опорами – 35 м, тогда приблизительное
количество опор составит 41000/35 = 1170 опор. Под каждую опору предусмотрен
фундамент, для устройства которого необходим котлован объемом 15,13 м³.
Тогда суммарный объем выемки грунта для струнной трассы составит
1170∙15,13 = 17702,1 м³, а объем грунта обратной засыпки -
1170∙14,895 =
17427,15 м³.
Перед началом работы в обязательном порядке
проверяются рабочие места и проходы к ним на соответствие следующим
требованиям:
для прохода к рабочим местам, находящимся в котлованах и
траншеях, а также для перехода по участкам уложенной арматуры
необходимо установить лестницы, переходные мостики и трапы с ограждениями;
зона электропрогрева бетона должна иметь ограждение и
обозначена
предупредительными
надписями и плакатами;
на эстакадах для подачи бетонной смеси
автосамосвалами между отбойным брусом и ограждением следует оборудовать проходы
шириной не менее 0,6 м;
ограждения вращающихся частей машин и
оборудования находятся в исправности и надежно закреплены;
корпуса сварочных трансформаторов, электродвигателей и
приборов
управления заземлены;
сигнализирующие
устройства находятся в исправном состоянии и хорошо освещены рабочие места (в
темное время суток).
Перед началом работы проверить наличие необходимых
средств технологической оснастки и их исправность.
При выполнении работы должны быть
соблюдены следующие условия:
при сборке элементов опалубки в несколько
ярусов каждый последующий ярус следует устанавливать только после закрепления
нижнего;
Размещение на опалубке оборудования
и материалов, не
предусмотренных проектом производства
работ, а также пребывание людей, непосредственно не участвующих в
производстве работ по устройству опалубки, не допускается;
инвентарные ограждающие устройства при установке опалубки
должны ограждать всю захватку,
подготовленную для бетонирования;
разборку всех типов опалубки производят
после достижения
бетоном заданной прочности и
с разрешения производителя работ;
при сборке арматуры фундаментов непосредственно
у места ее установки стержни подают в котлован при помощи специальной
траверсы или опускают их по приспособленным для этой цели лоткам;
рабочие должны спускаться в котлован только по
стремянкам или
приставным
лестницам;
По окончании работы необходимо:
навести
порядок на рабочем месте. Убрать инструменты, материалы и приспособления;
сообщить
мастеру или прорабу о замеченных неисправностях механизмов, приспособлений,
средств подмащивания, состояния откосов;
отключить механизмы от сети,
пусковые устройства запереть на
замок, чтобы они не
могли быть включены посторонними лицами.
На большей протяженности струнной трассы,
поддерживающие опоры находятся на отдалении от существующих искусственных
сооружений, поэтому монтаж фундаментов не повлияет ни на какую прочую рабочую
деятельность. На городских участках трассы, где поддерживающие опоры находятся
близко к проезжей части местных улиц и дорог, для устройства котлована можно
использовать крепление котлованов, таким образом не перекрывая проезжую часть и
не мешая работе транспорта.
Транспорт является одной из крупнейших базовых
отраслей хозяйства, важнейшей составной частью производственной и социальной
инфраструктуры. Транспортные коммуникации являются необходимым условием
территориальной целостности и единства экономического пространства страны или
региона. Транспорт играет важную роль в социально-экономическом развитии
страны, обеспечивает экономический рост, повышение конкурентоспособности
национальной и региональной экономики, повышение качества жизни населения.
Качественные характеристики транспортного
обслуживания связаны со скоростью, своевременностью, ритмичностью,
безопасностью, экологичностью и стоимостью транспортной системы. Скорость
транспортного сообщения влияет на эффективность экономических связей и
подвижность населения. Рост скорости доставки пассажиров дает ощутимый
социальный и экономический эффект, заключающийся в высвобождении времени людей,
которое может быть использовано на другие цели.
Стоимость перевозок на пассажирском транспорте
ограничивает возможность поездок населения, а для части населения с невысокими
доходами, делает поездки недоступными. Удешевление пассажирского сообщения,
смягчает эти ограничения, позволяет сблизить удаленные друг от друга населенные
пункты, повысить качество жизни населения и уровень деловой активности.
В данной работе предлагается расчет экономии времени
людей, осуществляющих поездки на запроектированной струнной трассе.
Запроектированная в работе струнная трасса, проходит
от площади Победы в городе Первоуральск до перспективного района
ВИЗправобережный в городе Екатеринбург. Конечный остановочный пункт струнной
трассы проектируется с учетом 2-ой линии метрополитена, которая включена в
генеральный план развития Екатеринбурга до 2025 года.
Средневзвешенные затраты времени на передвижение
жителей Первоуральска до ближайшего остановочного пункта струнной трассы
составляют 17,4 минуты (расчет в п. 3.2), время проезда между конечными
остановочными пунктами – 25,3 минуты. Среднее время передвижение в г.
Екатеринбург принимается 30 минут с учетом работы 2-ой линии метрополитена.
Тогда общее время поездки составляет 72,7 минут или 1,212 часа. Такую же
длительность принимаем и для передвижения в обратном направлении, общее время
сообщения в обе стороны равно 2,424 часа.
Предполагаемо струнным транспортом ежедневно будут
пользоваться 4928 человек (расчет в п. 3.3). Учитывая, что каждый из них
совершает поездки до Екатеринбурга и обратно, суточные затраты времени всех
пассажиров на преодоление вышеобозначенного маршрута составят:
4928*2,424 = 11945,5 чел∙часов.
Аналогично рассчитываются затраты времени при
передвижении на других видах транспорта такого же количества пассажиров.
Междугородний автобус:
Посадка на автобус осуществляется на
автовокзале г. Первоуральск, до которой среднее время доступности составляет
приблизительно 25 минут. Автобус доезжает до остановки северного автовокзала в
г.Екатеринбург примерно за 50 минут. Средние затраты на передвижение в
Екатеринбурге – 30 минут. Затраты времени на поездку в одну сторону составляют
105 минут или 1,75 часов. А суточные затраты времени 4928 пассажиров при
поездке в обе стороны составят:
4928*2*1,75 = 17248,0 чел∙часов.
Пригородная электричка:
Среднее время доступности
железнодорожного вокзала - 30 минут. Электропоезд проходит маршрут от
Первоуральска до Екатеринбурга за 50 минут, средние затраты времени на
передвижение в Екатеринбурге – 30 минут. Итого 110 минут или 1,833 часа.
Суточные затраты времени пассажирами:
4928*2*1,833 = 18069,3 чел∙часов.
Такси:
Места стоянки автомобилей работающих
в режиме такси располагаются вблизи автовокзала города Первоуральск, каждый
автомобиль набирает максимально разрешенное для перевозки число пассажиров и отправляется
в Екатеринбург. Автомобили проходят по улицам Репина и Ленина до площади 1905
года, высаживая пассажиров либо на площади, либо по пути следования по желанию
пассажира. Время поездки от автовокзала в г. Первоуральск до площади 1905 года
составляет в среднем 40 минут. Общие затраты времени на поездку в одну сторону:
25 + 40 + 30 = 95 минут или 1,583 часа. Суточные затраты:
4928*2*1,583 = 15605,3 чел∙часов.
Попутный автотранспорт:
Некоторые владельцы личного
транспорта ищут попутчиков через объявления в интернете или прессе.
Потенциальные попутчики откликаются на те объявления, в которых указан маршрут
поездки, удобный им. Поэтому основная масса людей, совершающих поездки на
попутном транспорте, затрачивает не более 5 минут на то чтобы добраться от
места жительства до места ожидания автомобиля. Среднее время поездки между
городами составляет порядка 50 минут, а время передвижения в г. Екатеринбург –
30 минут. Общее время поездки в одну сторону – 85 минут или 1,417 часов.
Суточные затраты
всех пассажиров:
4928*2*1,417 = 13962,7 чел∙часов.
Личный автотранспорт:
Поездка на личном автомобиле не
предполагает пересадку на другие виды транспорта, а общее время поездки в одну
сторону в среднем равно 75 минут или 1,25 часов. Суточные затраты времени:
4928*2*1,25 = 12320,0 чел∙часов.
Распределение населения по всем рассмотренным типам
перевозок показано на рис. 33.
Рис. 33.
Распределение пассажиров по типам перевозок.
Для сравнения с суточными затратами времени пассажиров
струнной трассы, необходим расчет средневзвешенной суточной затраты времени для
такого же количества пассажиров, но распределенных по разным типам перевозок, в
соответствии с процентами указанными на рис. 33. Они составят:
0,197*17248,0 +
0,072*18069,3 + 0,133*15605,3 + 0,133*13962,7 +
+0,465*12320,0 = 14360,2 чел∙часов.
Таким образом,
струнная трасса позволит ежедневно экономить:
14360,2 – 11945,5 = 2414,7 чел∙часов.
За год экономия
составит 881362,5 чел∙часов.
Для определения стоимости проезда по предлагаемому
маршруту необходимо рассчитать стоимость строительства путевой структуры,
затраты на закупку подвижного состава и на эксплуатацию струнной путевой
структуры. Стоимость строительства принимается приблизительной, на основе
расчетов стоимости строительства различных типов СТЮ, выполненных компанией ООО
«Струнные Технологии Юницкого». Стоимость различных типов СТЮ по состоянию на
01.01.2007 представлена на рис. 34.
Рис. 34.
Основные стоимостные характеристики различных типов двухрельсового СТЮ.
В проекте предлагается трасса, колеей 1,5 м и максимальной
скоростью 150 км/час, в соответствии с этими данными принимается цена
строительства 1,3 млн. USD за километр (за вычетом стоимости юнибусов). С 2007
года по сегодняшний день уровень инфляции в РФ составил 78,9%, таким образом,
на сегодняшний день, стоимость строительства, предложенной проектом путевой
структуры составляет 2,2335 млн. USD или 73,11 млн. рублей за километр.
Протяженность струнной трассы Первоуральск – Екатеринбург составляет 41 километр,
тогда ее стоимость составит 2997,5 млн. рублей.
В проекте принят юнибус Ю-321ПЭ1 в количестве 42
единиц на линии, кроме того нужны запасные модули, для замены неисправных на
линии, общее количество необходимых юнибусов составляет 42/0,85 = 49 ед. Стоимость
одного юнибуса составляет 67,6 тыс. USD в ценах 2008 года, уровень инфляции с
тех пор составил 37%, таким образом на сегодня стоимость юнибуса Ю-321ПЭ1
составит 92,6 тыс. USD, а 49 юнибусов будут стоить – 4,54 млн. USD или 148,61
млн. рублей. Таким образом, суммарные затраты на строительство путевой
структуры и закупку юнибусов составят 3146,11 млн. рублей. Годовые затраты на
эксплуатацию юнибусов составляют 1,06 млн. рублей (расчет в п. 3.3.).
Срок окупаемости для вновь возводимых транспортных
коммуникаций принимается 12 лет. Тогда ежегодная прибыль от перевозок
пассажиров по струнной трассе должна составлять 3146,11/12 + 10,6 = 272,78 млн.
рублей.
Учитывая, ежедневно на струнном
транспорте будут осуществлять поездки 4928 человек в обоих направлениях,
стоимость поездки в одну сторону составит – 272780000/(365∙2∙4928)
= 75,8 рублей.
Расчет экономии времени пассажиров совершающих
поездки на проектируемой струнной трассе, производился в соответствии с
пассажиропотоками, существующими на сегодняшний день. Однако положительная
динамика роста населения города Первоуральск, скажется на увеличении
пассажиропотоков в город Екатеринбург. Кроме того, увеличится загруженность
существующих путей сообщения по пути следования в Екатеринбург, а как следствие
– возрастут затраты времени на поездку. Поэтому вырастет и общая экономия
времени для пассажиров струнного транспорта.
Сэкономленное время люди могут потратить по разному:
на образование, отдых, работу, спорт и т.д. Предположим, что 10% людей
предпочтут потратить свое время на дополнительный заработок. Средняя зарплата в
Екатеринбурге около 29 тысяч рублей в месяц или 180 рублей в час. Тогда
сэкономленное струнным транспортом время принесет суммарную экономическую
выгоду 43,5 тысячи рублей в день или 15 900 миллионов рублей в год.
В дипломном проекте разрабатывается высокоскоростная
струнная трасса, соединяющая города Первоуральск и Екатеринбург. В городе
Первоуральск, струнная трасса проходит от площади Победы, вдоль проспекта
Ильича и Московского шоссе, на междугороднем участке струнная трасса проходит
сперва, между Московским шоссе и Московским трактом, а затем южнее
Ново-Московского тракта. В черте города Екатеринбург, струнная трасса проходит
вдоль Ново-Московского тракта мимо ТРЦ «Мега» а далее делает поворот на север к
перспективной станции метрополитена Верх-Исетская.
Струнные транспортные системы представляют собой
размещенную на опорах предварительно напряженную растянутую канатно-балочную
конструкцию, по которой движутся специальные транспортные модули (далее по
тексту юнибусы), оснащенные в разных вариантах исполнения двигателем
внутреннего сгорания, либо электродвигателем.
Основу струнной путевой структуры составляют струны
из высокопрочной стальной проволоки диаметром 1-5 мм каждая, собранные в пучок
и размещенные с провисом внутри пустотелого рельса. Рельс монтируется таким
образом, чтобы после фиксации струн путем заполнения полости рельса твердеющим
заполнителем, например, на основе цемента, битума или эпоксидной смолы, головка
рельса оставалась бы идеально ровной. Рельс-струны жѐстко крепятся на
анкерных опорах, размещенных до 5км. При усилии натяжения струн 100-500 тонн,
длине пролета 25-50м и массе рельсового пути 50-150кг на погонный метр, провесы
струны будут составлять порядка 50мм. Такой провес легко спрятать, «зашить»
внутри полого рельса высотой 15-20мм.
Помимо анкерных опор в путевой структуре
присутствуют также поддерживающие опоры, установленные через 20-50м (при
необходимости пролет может быть увеличен до нескольких сотен метров при
усилении пролета вантовыми конструкциями). Промежуточные опоры призваны
воспринимать вертикальную нагрузку от веса пролетного строения и транспортных
модулей. Так например при средней длине пролета 35м и весе транспортного модуля
5т, опора будет воспринимать вертикальные нагрузки до 10 тонн.
Разрушение путевой структуры
Наибольшую угрозу для транспорта 2-ого уровня
представляет разрушение пролетного строения. В СТЮ пролетным строением является
рельс-струна, представляющая собой композитную конструкцию, разрушить целиком
которую, можно лишь сильным, направленным взрывом. Что касается струны, то она
защищена от агрессивного воздействия внешней среды водонепроницаемым корпусом
рельса, а так же заполнителем. Кроме того, линейная схема СТЮ такова, что
наличие в пролете подвижной нагрузки увеличивает напряжения растяжения в струне
всего на 0,1-0,5%. Поэтому весь период эксплуатации СТЮ струна будет находиться
в практически неизменном статическом состоянии, это увеличит срок службы струны
и ее надежность. При этом каждая проволока в струне работает независимо от
других, и даже обрыв 50% проволок, не приведет к разрушению конструкции (но
увеличится величина прогиба пролета).
Разрушение промежуточных опор так же не приведет к
обрыву рельсструн, так как каждая опора скреплена с путевой структурой через
специальный отстегивающийся механизм. Таким образом разрушение опоры приведет
лишь к увеличению пролета вдвое, и, следовательно к некоторому увеличению
деформативности пути. Более опасно для СТЮ разрушение анкерной опоры, однако,
учитывая прочность опоры (она должна выдерживать напряжения в сотни тонн), для
ее разрушения понадобится не менее 100кг тротила и тщательная подготовка
террористического акта. Поэтому Путевая структура оснащается разветвленной
системой безопасности, включающей электронные средства контроля за состоянием
всех элементов трассы, а так же визуальные средства наблюдения. Таким образом
служба безопасности сможет предотвратить умышленное разрушение элементов пути,
или дать сигнал на остановку подвижного состава на линии в случае форс-мажорных
обстоятельств. Если разрушение трассы произошло, и на участке разрушения
находился юнибус, то для защиты пассажиров, предусмотрено оснащение юнибуса
ремнями и подушками безопасности.
Воздействие шума и вибрации
Юнибус СТЮ не имеет выступающих частей, кроме узких
колѐс, выдвинутых на 10 сантиметров из корпуса. Корпус юнибуса имеет
совершенную аэродинамическую форму (коэффициент аэродинамического сопротивления
Сх=0,075—0,1), его обтекание воздухом будет симметричным, без возникновения
боковых и опрокидывающих сил, без срывов и завихрений воздушных потоков,
которые являются источником шума. Масса юнибуса, например, в сотни раз меньше
массы поезда, его длина — короче в десятки раз, масса неподрессоренной части —
меньше в десятки раз, а ровность пути движения — значительно выше. Поэтому в
сравнении с высокоскоростным поездом юнибус будет в десятки раз более слабым
источником шума и вибрации почвы. Снижению шума будет способствовать и то, что
рельсо-струнная путевая структура по всей своей длине не имеет стыков, но имеет
систему внутренних демпферов и опирается на опоры также через систему
демпферов, которые будут гасить и перехватывать как низкочастотные, так и
высокочастотные колебания пути. Для термошумоизоляции пассажирского салона
юнибуса от силового отсека применяется негорючий пенопласт ПХВ.
Электромагнитное излучение
Электрифицированные трассы СТЮ
будут низковольтными
(напряжение порядка 1000 В), поэтому
они не создадут электромагнитных загрязнений и смогут проходить на большой
высоте (10 метров и более) над сельхозугодиями, по заповедникам и заказникам.
Отсутствие традиционных скользящих электроконтактов в паре «юнибус — контактная
сеть», невысокие (в сравнении с железной дорогой в десятки раз меньшие)
электрические мощности подвижного состава исключат загрязнение окружающей среды
радиопомехами.
Освещение
В данном проекте предполагается использование
юнибусов с автоматическим управлением. Поэтому сам юнибус не оснащается фарами,
однако трасса СТЮ оснащается осветительными приборами, установленными на
поддерживающих опорах, под опорным узлом. Наружные осветительные приборы должны
обеспечивать освещенность трассы не менее 2 лк на расстоянии 500 м, внутренние
осветительные приборы юнибуса – 100 лк на уровне сидения (0,86м от пола) и 10
лк на уровне пола.
Система отопления, кондиционирования и вентиляции юнибуса
В проекте, в качестве подвижного состава выбраны
юнибусы модели Ю-321ПЭ1. Для данной модели юнибуса разработчиком произведен
расчет теплового баланса для зимнего и летнего периодов, соответственно -11,9
кВт и 5,9 кВт. Таким образом для того чтобы обеспечить температуру +15ºС в
салоне юнибуса при температуре наружного воздуха -60ºС необходимо
затратить 12 кВт тепловой мощности. Для обогрева салона предполагается
размещение 4-ех радиаторов отопления, использующих тепло системы охлаждения
двигателя и работающих в режиме рециркуляции, с максимальной суммарной
теплопроизводительностью 12 кВт.
В летний период, для обеспечения комфортной
температуры необходимо удалить из салона 5,9 кВт тепла. Для этих целей в
юнибусе установлен кондиционер, состоящий из компрессорного, конденсаторного и
испарительного агрегатов. Максимальная холодопроизводительность кондиционера
составляет 6 кВт.
Для вентиляции воздуха используется вентилятор
испарительного агрегата кондиционера с производительностью 270 м³/час.
Обеспечение безопасности при посадке/высадке пассажиров
Посадка и высадка пассажиров в штатных условиях
осуществляется через пассажирскую дверь, которая расположена с правой стороны
перед перегородкой силового отсека. Створка двери выполнена из непрозрачного
поликарбоната. Механизм открывания двери приводится в движение электрическим
двигателем. Если при закрытии двери в проеме находится препятствие (человек или
багаж), механизм автоматически производит открывание, не причинив вреда
препятствию, зажатому дверью. Закрытая дверь фиксируется механическим замком.
Во время движения механический замок двери блокируется от открывания.
Открывание двери сопровождается звуковым сигналом и световой сигнализацией. В
нештатной ситуации (в аварийной ситуации) при невозможности открывания двери в
автоматическом режиме, предусмотрена возможность разблокировки и открывания
двери вручную. Так же в юнибусе предусмотрена запасная дверь, располагающаяся с
левой стороны напротив пассажирской двери.
Высадка и посадка пассажиров осуществляется на
специально оборудованных остановочных пунктах, которые расположены на анкерных
опорах. Посадочная платформа, шириной 3 м, ограждена от путей специальным
металлическим ограждением, имеющим разрыв напротив пассажирской двери
остановившегося юнибуса. Для облегчения посадки маломобильных групп населения
пол юнибуса находится в одном уровне с посадочной платформой, а лестничные
марши, ведущие с уровня земли на уровень посадочной платформы анкерной опоры,
оснащены пандусами.
Пожарная безопасность
Салон юнибусоа оснащен системой пожаротушения,
включающей в себя датчики температуры и генераторы огнетушащего аэрозоля МАГ
(расположены в силовом отсеке юнибуса), а так же углекислым огнетушителем ОУ-2
установленным в пассажирском отсеке.
Эксплуатация в зимний период
Учитывая небольшую ширину рельс-струны (10 см) высота
снежного покрова на ней не сможет превышать нескольких сантиметров из-за того
что с рельса снег будет сдувать ветер. Даже если на рельсе образовался снежный
покров, или она обледенела, юнибус (массой 1800 кг) двигаясь по трассе, будет
раздавливать снег и лед до контакта сталь-сталь. Поэтому для струнных
транспортных систем не требуется специальной снегоуборочной техники. Тем не
менее, предлагается в начале рабочего дня, перед выходом на трассу первого
юнибуса с пассажирами, выпускать на линию пустой юнибус, который очистит при
проезде рельс-струну от снега и льда, тогда следующий за ним юнибус будет ехать
по более ровному пути, не искаженному наледью.
Каждый юнибус оснащен системой бортового
электрооборудования, состоящей из датчиков, контролирующих состояние всех
важных узлов юнибуса, модуля спутникового позиционирования (GPS или ГлоНаСС),
CAN-узлов, каждый из которых обрабатывает информацию от определенной группы
датчиков и устройства GSM-связи. Все оборудование объединено в единую сеть,
которая осуществляет непрерывную диагностику состояния оборудования, узлов
корпуса юнибуса, электроприборов, температуры и влажности воздуха в салоне. Это
позволяет своевременно выявить неисправности в работе юнибуса и дать сигнал на
их исправление либо аварийную остановку юнибуса с последующей эвакуацией
пассажиров. Путевая структура так же оснащена датчиками диагностики, и в случае
повреждения или разрушения пути, в единый диспетчерский центр поступает
сообщение о возникшей неисправности. При этом все транспортные модули,
находящиеся на подъездах к аварийному участку получают сигнал на аварийную
остановку с последующей эвакуацией пассажиров.
Эвакуация пассажиров
осуществляется тремя способами:
1.
Если отказавший юнибус не может продолжать движение
самостоятельно, то по тому же пути подгоняется впереди идущий или следующий за
ним юнибус, который берет аварийный юнибус на буксир и доставляет его до
ближайшей станции, где пассажиры выходят, а аварийный модуль снимается с пути,
либо транспортируется дальше без пассажиров, до ближайшего сервисного депо. Так
же экстренная высадка пассажиров из эвакуируемого юнибуса может быть
произведена на ближайшей анкерной опоре. Которая, как и любой остановочный
пункт, оборудована платформой (шириной 1м, предназначенной для технических
работ) и лестничным маршем для спуска на землю.
2.
Если юнибус неисправен настолько, что не может продолжать
движение даже на буксире, то по встречному пути отправляется специальный модуль
с переходными трапами, он останавливается точно напротив аварийного модуля и
между дверными проемами юнибусов прокладывается трап, по которому пассажиры
переходят на исправный юнибус и едут до ближайшей станции. Аварийный модуль
снимается с пути после эвакуации пассажиров.
3.
Если транспортная система полностью неработоспособна, и к
неисправному юнибусу по струнной путевой структуре не может подъехать
эвакуационный модуль, то на этот случай, каждый юнибус оснащен специальными
эвакуационными устройствами, типа веревочных лестниц, спасательных рукавов и
тросового эвакуатора.
На каждом сервисном депо должен находиться как
минимум один юнибус-эвакуатор, который помимо функции эвакуации обладает
устройством для спуска неисправного юнибуса на землю.
Безопасности жизнедеятельности в СТЮ уделено самое
пристальное внимание, так как кажущаяся ажурность конструкции путевой
структуры, вызывает некоторые опасения у потенциальных пассажиров. Стоит
отметить, что запас прочности и долговечность конструкций СТЮ сводит к минимуму
возможность разрушения путевой структуры, а оснащение юнибусов противосходными
устройствами и автоматизированной системой управления, позволяет говорить о
высокой надежности эксплуатации транспортных модулей. Кроме того, предусмотрены
всевозможные способы защиты жизни и здоровья пассажиров в случае аварии.
На сегодняшний день самым опасным видом транспорта
является автомобиль, так как автомобильные аварии ежегодно во всем мире уносят
жизни около 1,5 млн человек и еще около 10 млн делают инвалидами. А авиационный
транспорт, который ошибочно считают наиболее опасным, на деле является самым
безопасным, а ежегодное количество жертв исчисляется лишь сотнями человек.
Струнный же транспорт является более безопасным, чем авиационный, автомобильный
или железнодорожный. В отличие от железнодорожного транспорта, юнибус обладает
противосходным устройством, которое полностью исключает возможность схода
транспортного модуля с рельсового пути. В отличие от автомобильного транспорта
– СТЮ не имеет пересечений в одном уровне с другими транспортными линиями, а
движением управляет автоматизированная система, которая намного надежней
водителя, и исключает все ошибки, которые может совершить человек при
управлении транспортным средством. Наконец, в сравнении с авиационным
транспортом, неисправный юнибус может остановиться на путях в нескольких метрах
над землей и дождаться эвакуационного модуля.
Из существующих видов транспорта, осуществляющих
перевозки пассажиров между городами Первоуральск и Екатеринбург, только
пригородные электропоезда не загрязняют воздушный бассейн. Остальные виды
транспорта работают на бензине либо на дизельном топливе, а учитывая большой
пассажиропоток суммарный выброс вредных веществ в атмосферу довольно
существенен. Запроектированная в настоящей работе струнная трасса предполагает
перевозку юнибусами с электродвигателями, которые не загрязняют атмосферу
города. Для оценки экологического эффекта от применения струнной трассы,
предлагается расчет сокращения вредных выбросов в атмосферу.
В пункте 3.3 приведен расчет количества пассажиров,
которые предпочтут струнный транспорт, привычным им видам транспорта. Согласно
расчету струнным транспортом ежедневно будут пользоваться 4928 человек, из них
1690 человек, которые осуществляли поездки на междугородних автобусах (95% от
всех пассажиров автобусного сообщения), 618 человек – пассажиры электропоездов
(95% от всех пассажиров железнодорожного сообщения), 1140 человек предпочтут
струнный транспорт поездкам на такси (95% от всех пассажиров такси), 960
человек пересядут на юнибусы с попутного автотранспорта (80%) и 420 владельцев
личных автомобилей предпочтут поездки на струнном транспорте (10%).
Ежедневно из Первоуральска в Екатеринбург следует 105
автобусов, 80 автомобилей которые работают в режиме такси (каждый делает в
среднем 3 поездки, поэтому для расчета берется 240 автомобилей) и 4200 личных
автомобилей, которые перевозят, как владельцев, так и попутчиков. В случае
применения струнной транспортной системы, количество транспортных средств
сократится пропорционально количеству пассажиров, которые предпочтут поездки по
струнной трассе, соответственно вместо 105 автобусных рейсов в день останутся
лишь 5, а вместо 4440 легковых автомобилей – 3792. Среди легковых автомобилей,
доля продаж автомобилей с дизельным двигателем составляет примерно 7% от общего
числа.
Протяженность автобусного маршрута составляет 44
километра в одну сторону, из них 13 км проходит в черте города. Протяженность
поездки между центрами городов Первоуральск и Екатеринбург (от площади Победы
до площади 1905 года) составляет 46 километров, из них 15 километра в черте
города. Учитывая, что почти все транспортные средства совершают поездку до
Екатеринбурга и обратно, в расчете принимается протяженность городского участка
пути следования 26 километров для автобусного сообщения и 30 километров для
легковых автомобилей.
Расчет массового пробегового выброса определяется по формуле:
где, L –
протяженность участка, км;
Мi – значение массового выброса i-ого класса
автомобиля на 1 километр пути;
Ni – количество автомобилей
i-ого класса;
rv – коэффициент, учитывающий скорость движения,
в расчете принимается 0,5 в соответствии со средней скоростью движения 30
км/час (для диоксида азота 1).
Ниже проведен расчет массового выброса вредных
веществ при существующем количестве транспортных средств (105 дизельных
автобусов, 4129 легковых автомобилей на бензиновом двигателе и 311 легковых
автомобилей на дизельном двигателе).
Аналогичный расчет массового выброса проведен для
того количества транспортных средств, которые будут осуществлять перевозку
пассажиров между городами Первоуральск и Екатеринбург при наличии струнной
трассы (5 дизельных автобусов, 3527 легковых автомобилей на бензиновом
двигателе и 265 легковых автомобилей на дизельном двигателе).
Таким образом, струнная трасса, соединяющая города
Екатеринбург и Первоуральск позволит сократить выбросы вредных веществ в
городскую атмосферу:
оксида углерода на 184,39 кг в сутки или 67,3
тонны в год;
бензола на 27,59 кг в сутки или 10,1 тонны в
год;
диоксида
углерода на 55,1 кг в сутки или 20,11 тонны в год;
сернистого газа на 2,62 кг в
сутки или 0,96 тонны в год;
сажи на 0,46 кг в сутки или 0,17 тонны в год.
Запроектированная в данной работе струнная трасса,
существенно повлияет на качество жизни жителей города Первоуральск. Для людей,
совершающих ежедневные поездки в Екатеринбург, струнная трасса позволить
снизить затраты на проезд и, самое главное, сократить время поездки, ведь время
– это самый невосполнимый ресурс. Жителям, которые не совершают поездки в
Екатеринбург, или совершают, но довольно редко, струнная трасса также принесет
пользу, ведь она примет на себя часть пассажиропотока, тем самым снизив загрузку
главных улиц Первоуральска, кроме того, струнная траса будет известной
достопримечательностью города, которая может привести в город потенциальных
инвесторов.
На перспективу, в городе может быть построена своя,
внутригородская сеть струнного транспорта, которая будет совершать перевозки,
как в черте города Первоуральск, так и в город Екатеринбург. Так же
междугородный участок запроектированной трассы может стать первой очередью
высокоскоростной струнной трассы Екатеринбург – Пермь – Ижевск – Казань –
Нижний Новгород – Владимир – Москва. Такая трасса с вводами от близлежащих
городов, поможет сблизить несколько регионов страны, упрочить их экономические
связи, положить начало новым инновационным проектам.
1.
www.yunitskiy.com Сайт компании «Струнные Технологии Юницкого».
2.
www.maps.yandex.ru Интернет-ресурс «Яндекс карты».
3.
www.ekburg.ru Информационный портал Екатеринбурга.
4.
www.prvadm.ru Официальный сайт администрации городского округа
Первоуральск.
5.
Градостроительный кодекс Российской Федерации: федеральный закон
от 29.12.2004 г. № 190-ФЗ.
6.
СНиП 2.07.01-89* Градостроительство. Планировка и застройка
городских и сельских поселений / Госстрой России. М.: ГПЦПП, 1989.
7.
СНиП 2.05.02-85* Автомобильные дороги / Госстрой России. М.:
ГПЦПП, 1985.
8.
СНиП 2.05.03-84* Мосты и трубы / Госстрой России. М.: ГПЦПП, 1984
9.СНиП 23-01-99 Строительная климатология / Госстрой России. М.:
ГПЦПП, 1999.
10.
СНиП 3.01.01-85* Организация строительного производства /
Госстрой России. М.: ГПЦПП, 1985.
11.
Расчет пропускной способности магистралей и узлов: методические
указания к курсовому и дипломному проектированию / сост. Л.В. Булавина.
Екатеринбург: ГОУ ВПО УГТУ-УПИ, 2009.
12.
Проектирование и оценка транспортной сети и маршрутной системы в
городах: методические указания к курсовому и дипломному проектированию / сост.
Л.В. Булавнина. Свердловск: УПИ, 1991.
13.
Организация работы массового пассажирского транспорта:
методические указания к курсовому и дипломному проектам по курсу «Городской
транспорт и организация движения» / сост. Л.В. Булавина.
Свердловск: УПИ,
1991.
14.
Проектирование улицы, городской дороги: задания и методические
указания к курсовому и дипломному проектированию / сост. А.П. Захаров, Л.И.
Рябоконь. Екатеринбург: УГТУ, 1999.
15.
Индексация жилых территорий по транспортно-экологическим
факторам: учебно-методическое пособие / Л.В. Булавина, Г.В. Колосовская.
Екатеринбург: УГТУ-УПИ, 2005.
16.
СТП УГТУ-УПИ 5-1-2003. Текстовые и графические учебные
документы по
архитектурно-строительной тематике. Общие требования.
Екатеринбург:
УГТУ-УПИ, 2003.