Дуговая электросталеплавильная печь

  • Вид работы:
    Реферат
  • Предмет:
    Другое
  • Язык:
    Русский
    ,
    Формат файла:
    MS Word
    194,46 kb
  • Опубликовано:
    2009-01-12
Вы можете узнать стоимость помощи в написании студенческой работы.
Помощь в написании работы, которую точно примут!

Дуговая электросталеплавильная печь

Введение

Электросталеплавильному способу принадлежит ведущая роль в производстве качественной и высоколегированной стали. Благодаря ряду принципиальных особенностей этот способ приспособлен для получения разнообразного по составу высококачественного металла с низким содержанием серы, фосфора, кислорода и других вредных или нежелательных примесей и высоким содержанием легирующих элементов, придающих стали особые свойства – хрома, никеля, марганца, кремния, молибдена, вольфрама, ванадия, титана, циркония и других элементов.

Преимущества электроплавки по сравнению с другими способами сталеплавильного производства связаны с использованием для нагрева металла электрической энергии. Выделение тепла в электропечах происходит либо в нагреваемом металле, либо в непосредственной близи от его поверхности. Это позволяет в сравнительно небольшом объеме сконцентрировать значительную мощность и нагревать металл с большой скоростью до высоких температур, вводить в печь большие количества легирующих добавок; иметь в печи восстановительную атмосферу и безокислительные шлаки, что предполагает малый угар легирующих элементов; плавно и точно регулировать температуру металла; более полно, чем других печах раскислять металл, получая его с низким содержанием неметаллических включений; получать сталь с низким содержанием серы. Расход тепла и изменение температуры металла при электроплавке относительно легко поддаются контролю и регулированию, что очень важно при автоматизации производства.

Электропечь лучше других приспособлена для переработки металлического лома, причем твердой шихтой может быть занят весь объем печи, и это не затрудняет процесс расплавления. Металлизованные окатыши, заменяющие металлический лом, можно загружать в электропечь непрерывно при помощи автоматических дозирующих устройств.

В электропечах можно выплавлять сталь обширного сортамента.

1.   Устройство дуговых печей

 Общее описание дуговой электропечи

Дуговая печь состоит из рабочего пространства (собственно печи) с электродами и токоподводами и механизмов, обеспечивающих наклон печи, удержание и перемещение электродов и загрузку шихты.

Плавку стали ведут в рабочем пространстве, ограниченном сверху куполообразным сводом, снизу сферическим подом и с боков стенками. Огнеупорная кладка пода и стен заключена в металлический кожух. Съемный свод набран из огнеупорных кирпичей, опирающихся на опорное кольцо. Через три симметрично расположенных в своде отверстия в рабочее пространство введены токопроводящие электроды, которые с помощью специальных механизмов могут перемещаться вверх и вниз. Печь питается трехфазным током.

Шихтовые материалы загружают на под печи, после их расплавления в печи образуется слой металла и шлака. Плавление и нагрев осуществляется за счет тепла электрических дуг, возникающих между электродами и жидким металлом или металлической шихтой.

Выпуск готовой стали и шлака осуществляется через сталевыпускное отверстие и желоб путем наклона рабочего пространства. Рабочее окно, закрываемое заслонкой, предназначено для контроля за ходом плавки, ремонта пода и загрузки материалов.

2.   Выплавка стали в основных дуговых электропечах

 Шихтовые материалы

Основной составляющей шихты (75-100%) электроплавки является стальной лом. Лом не должен содержать цветных металлов и должен иметь минимальное количество никеля и меди; желательно, чтобы содержание фосфора в ломе не превышало 0.05%. при более высоком содержании фосфора продолжительность плавки возрастает. Лом не должен быть сильно окисленным (ржавым). С ржавчиной (гидратом окиси железа) вносится в металл много водорода. Лом должен быть тяжеловесным, чтобы обеспечивалась загрузка шихты в один прием (одной бадьей). При легковесном ломе после частичного расплавления первой порции шихты приходится вновь открывать печь и подсаживать шихту, что увеличивает продолжительность плавки.

В последнее время расширяется применение металлизованных окатышей и губчатого железа – продуктов прямого восстановления обогащенных железных руд. Они содержат 85-93% Fe, основными примесями являются окислы железа, SiO2 и Al2O3. Отличительная особенность этого сырья – наличие углерода от 0.2-0.5 до 2% и очень низкое содержание серы, фосфора, никеля, меди и других примесей, обычно имеющихся в стальном ломе. Это позволяет выплавлять сталь, отличающуюся повышенной чистотой от примесей. Переплав отходов легированных сталей позволяет экономить дорогие ферросплавы. Эти отходы сортируют по химическому составу и используют при выплавке сталей, содержащих те же легирующие элементы, что и отходы.

Для повышения содержания углерода в шихте используют чугун, кокс и электродный бой. Основное требование к чугуну – минимальное содержание фосфора, поэтому чтобы не вносить много фосфора в шихту малых (<40 т) печей не более 10% чугуна, а в большегрузных не более 25%.

В качестве шлакообразующих в основных печах применяют известь, известняк, плавиковый шпат, боксит, шамотный бой; в кислых печах – кварцевый песок, шамотный бой, известь. В качестве окислителей используют железную руду, прокатную окалину, агломерат, железные окатыши, газообразный кислород. К шлакообразующим и окислителям предъявляются те же требования, что и при других сталеплавильных процессах: известь не должна содержать более 90% CaO, менее 2% SiO2, менее 0.1% S и быть свежеобоженной, чтобы не вносить в металл водород. Железная руда должна содержать менее 8% SiO2, поскольку он понижает основность шлака, менее 0.05% S и мене 0.2% P; желательно применять руду с размером кусков 40-100 мм, поскольку такие куски легко проходят через слой шлака и непосредственно реагирует с металлом. В плавиковом шпате, применяемом для разжижения шлака содержание CaF2 должно превышать 85%.

В элекросталеплавильном производстве для легирования и раскисления применяются практически все известные ферросплавы и легирующие.

 Плавка в основной печи на углеродистой шихте

Данная технология также носит название технологии плавки на свежей шихте с окислением и применяется на печах малой и средней (£40 т) емкости при выплавке качественных легированных сталей. Плавка состоит из следующих периодов:

1. заправка печи;

2. загрузка шихты;

3. плавление;

4. окислительный период;

5. восстановительный период;

6. выпуск стали.

Заправка печи

Заправка – это исправление изношенных и поврежденных участков футеровки пода. После выпуска очередной плавки с подины удаляют остатки металла и шлака. На поврежденные подины и откосов забрасывают магнезитовый порошок или же магнезитовый порошок, смешанный с каменноугольным пеком (связующим). Длительность заправки10-15 мин.

Загрузка шихты

При выплавке стали в печах малой и средней емкости шихта на 90-100% состоит из стального лома. Для повышения содержания углерода в шихту вводят чугун (<10%), а также электродный бой или кокс. Общее количество чугуна и электродного боя или кокса должно быть таким, чтобы содержание углерода в шихте превышало нижний предел его содержания в готовой стали на 0.3% при выплавке высокоуглеродистых сталей, на 0.3-04 % при выплавке среднеуглеродистых и на 0.5% для низкоуглеродистых. Этот предел несколько снижается при росте емкости печи. Чтобы совместить удаление части фосфора с плавлением шихты в завалку рекомендуется давать 2-3% извести.

Загрузку ведут бадьями или корзинами. В корзины и бадьи шихту укладывают в следующей последовательности: на дно кладут часть мелочи, чтобы защитить подину от ударов тяжелых кусков стального лома, затем в центре укладывают крупный лом, а по периферии средний и сверху – оставшийся мелкий лом. Плотная укладка шихты улучшает ее проводимость, обеспечивая устойчивое горение дуги, ускоряя плавление. Для уменьшения угара кокс и электродный бой кладут под слой крупного лома.

Плавление

После окончания завалки электроды опускают почти до касания с шихтой и включают ток. Под действием высокой температуры дуг шита под электродами плавиться, жидкий металл стекает вниз, накапливаясь в центральной части подины. Электроды постепенно опускаются, проплавляя в шихте "колодцы" и достигая крайнего нижнего положения. По мере увеличения количества жидкого металла электроды поднимаются. Это достигается при помощи автоматических регуляторов для поддержания определенной длины дуги. Плавление ведут при максимальной мощности печного трансформатора.

Во время плавления происходит окисление составляющих шихты, формируется шлак, происходит частичное удаление в шлак фосфора и серы. Окисление примесей осуществляется за счет кислорода воздуха, окалины и ржавчины, внесенных металлической шихтой.

За время плавления полностью окисляется кремний, 40-60% марганца, частично окисляется углерод и железо. В формировании шлака наряду с продуктами окисления (SiO2, MnO, FeO) принимает участие и окись кальция, содержащаяся в извести. Шлак к концу периода плавления имеет примерно следующий состав, %: 35-40 CaO; 15-25 SiO2; 8-15 FeO; 5-10 MnO; 3-7 Al2O3; 0.5-1.2 P2O5. низкая температура и наличие основного железистого шлака благоприятствует дефосфорации. В зоне электрических дуг за время плавления испаряется от 2 до 5% металла, преимущественно железа.

Для ускорения плавления иногда применяют газо-кислородные горелки, вводимые в рабочее пространство через под или стенки печи. Для уменьшения продолжительности плавления часто применяют продувку кислородом, вводимым в жидкий металл после расплавления ¾ шихты с помощью фурм или стальных футерованных трубок. При расходе кислорода 4-6 м2/т длительность плавления сокращается на 10-20 мин.

Продолжительность периода плавки определяется мощностью трансформатора и составляет от 1.1 до 3.0 ч. Расход электроэнергии за время плавления составляет 400-480 кВт*/ч.

Окислительный период

Задача окислительного периода плавки состоит в следующем:

а) уменьшить содержание в металле фосфора до 0.01-0.015%;

б) уменьшить содержание в металле водорода и азота;

в) нагреть металл до температуры близкой к температуре выпуска (на 120-130 °С выше температуры ликвидуса).

Кроме того, за время периода окисляют углерод до нижнего предела его содержания в выплавляемой стали. За счет кипения (выделения пузырьков СО при окислении углерода) происходит дегазация металла и его перемешивание, что ускоряет процессы дефосфорации и нагрева.

Окисление примесей ведут, используя либо железную руду (окалину, агломерат), либо газообразный кислород.

Окислительный период начинается с того, что из печи сливают 65-75% шлака, образовавшегося в период плавления. Шлак сливают не выключая печь, наклонив её в сторону рабочего окна на 10-12°. Слив шлака производят для того, чтобы удалить из печи перешедший в шлак фосфор. Удалив шлак, в печь присаживают шлакообразующие: 1-1.5% извести и при необходимости 0.15-0.25% плавикового шпата, шамотного боя или боксита.

После формирования жидкоподвижного шлака в ванну в течение всего окислительного периода ведут продувку кислородом; печь для слива шлака в течение периода наклонена в сторону рабочего окна. Присадка руды вызывает интенсивное кипение ванны – окисляется углерод, реагируя с окислами железа руды с выделением большого количества пузырьков СО. Под воздействием газов шлак вспенивается, уровень его повышается и он стекает в шлаковую чашу через порог рабочего окна. Новую порцию руды присаживают, когда интенсивность кипения металла начинает ослабевать. Общий расход руды составляет 3-6.5% от массы металла. С тем, чтобы предотвратить сильное охлаждение металла, единовременная порция руды не должна быть более 05-1%.

В течение всего окислительного периода идет дефосфорация металла по реакции:

Для успешного протекания той реакции необходимы высокие основность шлака и концентрация окислов железа в нем, а также пониженная температура. Эти условия создаются при совместном введении в печь извести и руды.

Из-за высокого содержания окислов железа в шлаках окислительного периода условия для протекания реакции десульфурации являются неблагоприятными и десульфурация получает ограниченное развитие: за все время плавления и окислительного периода в шлак удаляется до 30-40% серы, содержащейся в шихте.

При кипении вместе с пузырьками СО из металла удаляются водород и азот. Этот процесс имеет большое значение для повышения качества электростали, поскольку в электропечи в зоне электрических дуг идет интенсивное насыщение металла азотом и водородом. В связи с этим электросталь обычно содержит азота больше, чем мартеновская и кислородно-конвертерная сталь.

Кипение и перемешивание обеспечивает также ускорение выравнивания температуры металла и его нагрев. За время окислительного периода необходимо окислить углерода не менее 0.2-0.3% при выплавке высокоуглеродистой стали (содержащей >6% С) и 0.3-0.4% при выплавке средне- и низкоуглеродистой стали.

Шлак в конце окислительного периода имеет примерно следующий состав, %: 35-50 CaO; 10-20 SiO2; 4-12 MnO; 6-15 MgO; 3-7 Al2O3; 6-30 FeO; 2-6 Fe2O3; 0.4-1.5 P2O5. содержание окислов железа в шлак зависит от содержания углерода в выплавляемой марке стали; верхний предел характерен для низкоуглеродистых сталей, нижний – для высокоуглеродистых.

Окислительный период заканчивается тогда, когда углерод окисляется до нижнего предела его содержания в выплавляемой марке стали, а содержание фосфора снижено до 0.010-0.015%. Период заканчивают сливом окислительного шлака. Полное скачивание окислительного шлака необходимо, чтобы содержащийся в нем фосфор не перешел обратно в металл во время восстановительного периода.

Восстановительный период

Задачами восстановительного периода являются:

а) раскисление металла;

б) удаление серы;

в) доведение химического состава стали до заданного;

г) корректировка температуры.

Все эти задачи решаются параллельно в течение всего восстановительного периода; раскисление металла производят одновременно осаждающим и диффузионным методами.

После удаления окислительного шлака в печь присаживают ферромарганец в количестве, необходимом для обеспечения содержания марганца в металле на его нижнем пределе для выплавляемой стали, а также ферросилиций из расчета введения в металл 0.10-0.15% кремния и алюминий в количестве 0.03-0.1%. Эти добавки вводят для обеспечения осаждающего раскисления металла.

Далее наводят шлак, вводя в печь известь, плавиковый шпат и шамотный бой. Через 10-15 мин. шлаковая смесь расплавляется и после образования жидкоподвижного шлака приступают к диффузионному раскислению. Вначале, в течение 15-20 мин. раскисление ведут смесью, состоящей из извести, плавикового шпата и кокса в соотношении 8:2:1, иногда присаживают один кокс. Далее начинают раскисление молотым 45 или 75%-ным ферросилицием, который вводят в состав раскислительной смеси, содержащей известь, плавиковый шпат, кокс и ферросилиций в соотношении 4:1:1:1, содержание в этой смеси уменьшают. На некоторых марках стали в конце восстановительного периода в состав раскислительной смеси вводят более сильные раскислители – молотый силикокальций и порошкообразный алюминий, а при выплавке ряда низкоуглеродистых сталей диффузионное раскисление ведут без введения кокса в состав раскислительных смесей.

Суть диффузионного раскисления, протекающего в течение всего периода, заключается в следующем. Так как раскисляющие вещества применяют в порошкообразном виде, плотность их невелика и они очень медленно опускаются через слой шлака. В шлаке протекают следующие реакции раскисления:

(FeO) + C = Fe + CO;  2*(FeO) + Si = 2*Fe + (SiO2) и т.д.,

в результате содержание FeO в шлаке уменьшается и в соответствии с законом распределения (FeO)/[FeO] = const кислород (в виде FeO) начинает путем диффузии переходить из металла в шлак (диффузионное раскисление). Преимущество диффузионного раскисления заключается в том, что поскольку реакции раскисления идут в шлаке, выплавляемая сталь не загрязняется продуктами раскисления – образующимися окислами. Это способствует получению стали с пониженным содержанием неметаллических включений.

По мере диффузионного раскисления постепенно уменьшается содержание FeO в шлаке и пробы застывшего шлака светлеют, а затем становятся почти белыми. Белый шлак конца восстановительного периода электроплавки имеет следующий состав, %: 53-60 CaO; 15-25 SiO2; 7-15 MgO; 5-8 Al2O3; 5-10 CaF2; 0.8-1.5 CaS; < 0.5 FeO; < 0.5 MnO.

Во время восстановительного периода успешно идет десульфурация, поскольку условия для её протекания более благоприятные, чем в других сталеплавильных агрегатах. Хорошая десульфурация объясняется высокой основностью шлака восстановительного периода (CaO/SiO2 = 2.7-3.3) и низким (< 0.5 %) содержанием FeO в шлаке, обеспечивающим сдвиг равновесия реакции десульфурации  [FeS] + (CaO) = (CaS) + (FeO)  вправо (в сторону более полного перехода серы в шлак). Коэффициент распределения серы между шлаком и металлом (S)/[S] в восстановительный период электроплавки составляет 20-50 и может доходить до 60. в электропечи с основной футеровкой можно удалить серу до тысячных долей процента.

Для улучшения перемешивания шлака и металла и интенсификации медленно идущих процессов перехода в шлак серы, кислорода и неметаллических включений в восстановительный период рекомендуется применять электромагнитное перемешивание, особенно на большегрузных печах, где удельная поверхность контакта металл-шлак значительно меньше, чем в печах малой емкости.

Длительность восстановительного периода составляет 40-100 мин. За 10-20 мин. до выпуска проводят корректировку содержания кремния в металле, вводя в печь кусковой ферросилиций. Для конечного раскисления за 2-3 мин. до выпуска в металл присаживают 0.4-1.0 кг алюминия на 1 т стали. Выпуск стали из печи в ковш производят совместно со шлаком. Интенсивное перемешивание металла со шлаком в ковше обеспечивает дополнительное рафинирование – из металла в белый шлак переходит сера и неметаллические включения.

Порядок легирования

При выплавке легированных сталей в дуговых печах порядок легирования зависит от сродства легирующих элементов к кислороду. Элементы, обладающие меньшим сродством к кислороду, чем железо (никель, молибден) во время плавки не окисляются и их вводят в начальные периоды плавки – никель в завалку, а молибден в конце плавления или в начале окислительного периода.

Хром и марганец обладают большим сродством к кислороду, чем железо. Поэтому металл легируют хромом и марганцем после слива окислительного шлака в начале восстановительного периода.

Вольфрам обладает большим сродством к кислороду, чем железо и он может окисляться и его обычного вводят в начале восстановительного периода. Особенность легирования вольфрамом заключается в том, что из-за высокой температуры плавления он растворяется медленно и для корректировки состава ферровольфрам можно присаживать в ванну не позднее, чем за 30 до выпуска.

Кремний, ванадий и особенно титан и алюминий обладают большим сродством к кислороду и легко окисляются. Легирование стали феррованадием производят за 15-35 мин. до выпуска, ферросилиций – за 10-20 мин. до выпуска. Ферротитан вводят в печь за 5-15 мин. до выпуска, либо в ковш. Алюминий вводят за 2-3 мин. до выпуска в ковш.

 Выплавка стали методом переплава

На металлургическом заводе отходы легированной стали разливаемой в изложницы, достигают 25-40%. По мере накопления отходов выплавляют сталь методом переплава. Плавку ведут без окисления или с не продолжительной продувкой кислородом, что позволяет сохранить значительную часть содержащихся в отходах ценных легирующих элементов.


Al

Ti

Si

V

Mn

Cr

W



100

80-90

40-60

15-25

15-25

10-15

5-15


В шихту помимо легированных отходов вводят мягкое железо – шихтовую заготовку с низким содержанием углерода и фосфора и, при необходимости, феррохром и ферровольфрам.

Загрузку и плавление шихты производят как при обычной плавке; в период плавления загружают 1-1.5% извести или известняка. После расплавления шлак, как правило, не скачивают, сразу приступая к проведению восстановительного периода. При этом раскисление, десульфурацию и легирование металла производят обычным способом. При диффузионном раскислении из шлака восстанавливается хром, вольфрам и ванадий. Если после расплавления шлак получился густым из-за высокого содержания окиси магния, его скачивают и наводят новый.

При выплавке стали методом переплава сокращается расход ферросплавов, на 10-30% возрастает производительность печи, на 10-20% сокращается расход электроэнергии и электродов.

 Особенности технологии плавки в большегрузных печах

Опыт эксплуатации большегрузных (80-300 т) печей показал, что применение традиционной технологии не обеспечивает получения в этих печах сталей высокого качества. Это объясняется рядом причин.

В большегрузных печах приходиться использовать менее качественный стальной лом, который отличается легковесностью, загрязненностью ржавчиной и другими примесями, а также непостоянством упомянутых характеристик его качества. Это приводит к нестабильности протекания периода плавления и значительным колебаниям в количестве образующегося за время плавления шлака, его основности и окисленности, а также к значительным колебаниям в содержании углерода и фосфора в металле к моменту расплавления шихты. Это не позволяет иметь стабильную технологию окислительного периода: в частности, существенно возрастает расход окислителей, а в конце периода металл и шлак более окислены, чем в малых печах.

Другим важным фактором, определяющим выбор технологии плавки в большегрузных печах это малая эффективность восстановительного периода, что вызвано рядом причин.

Так из большегрузных печей не удается полностью удалить окислительный шлак, а поскольку эти печи снабжены мощными пылегазоотсасывающими устройствами, при их работе из-за подсоса воздуха в рабочем пространстве не удается создать восстановительную атмосферу. По этим причинам во время восстановительного периода трудно получить шлак с низким содержанием FeO даже при интенсивной его обработке порошкообразными раскислителями.

Условия проведения восстановительного периода ухудшаются также в связи с тем, что в крупных печах заметно меньше поверхность контакта шлак-металл, которая должна быть достаточно большой для обеспечения медленно протекающих процессов диффузии серы и кислорода из металла в шлак. Из-за большой глубины ванны удельная поверхность контакта шлак-металл для печи емкостью 100 т составляет около 0.2 м3/т, в то время как для 10-т печи – около 6 м3/т.

Еще одной неблагоприятной особенностью работы большегрузных печей является то, что при увеличении выдержки жидкого металла в печи наблюдается усиленное растворение в шлаке футеровки; шлак в результате этого содержит повышенное количество MgO и становиться густым, малореакционноспособным. Это обстоятельство снижает эффективность рафинирования метала и заставляет снижать длительность восстановительного периода.

Все это привело к тому, что в большегрузных печах вынуждены были отказаться от традиционной технологии с проведением длительного восстановительного периода и диффузионного раскисления. К настоящему времени разработаны и применяются целый ряд разновидностей упрощенной технологии плавки стали в большегрузных электропечах. Можно выделить две разновидности технологии:

а) выплавка сталей упрощенного сортамента одношлаковым процессом;

б) выплавка высококачественных сталей по упрощенной технологии с последующим внепечным рафинированием стали.

Общим для всех разновидностей второго направления технологии является стремление использовать крупные печи в основном для расплавления шихты, нагрева металла и проведения окислительных процессов – дефосфорации и обезуглероживания; иногда в печи проводят также легирование и формирование требуемого перед выпуском состава шлака.

Для большегрузных печей характерны следующие особенности начальной плавки:

-   для обеспечения требуемого содержания углерода в металле и в связи с непостоянным его угаром в период расплавления в шихту вводят повышенное количество чугуна (до 30% от массы шихты при выплавке углеродистых сталей);

-   с тем, чтобы совместить дефосфорацию с расплавлением и целью сокращения периодов плавления и окислительного в завалку вводят железную руду или агломерат в количестве до 2% от массы шихты и известь (до 3%);

-   шихту загружают в два приема, в связи с тем, что весь легковесный лом обычно не умещается в загрузочной корзине; сначала загружают основную массу лома и после его частичного расплавления и оседания делают "подвалку" – корзиной загружают оставшуюся часть лома.

Одношлаковый процесс

Технологию выплавки стали под одним шлаком без восстановительного периода применяют для выплавки сталей упрощенного сортамента: углеродистые и низколегированные стали, легированные хромом, кремнием, марганцем, никелем.

В шихту в зависимости от требуемого содержания углерода в стали вводят до 25-30% чушкового чугуна. С тем, чтобы совместить дефосфорацию с расплавлением в завалку дают 2-3% извести и до 1.5% железной руды или агломерата.

После расплавления шихты из печи самотеком удаляют максимальное количество шлака и начинают продувку ванны кислородом, подаваемым через фурму, которую вводят в рабочее пространство печи через свод. При повышенном содержании фосфора в металле перед продувкой в печь загружают известь и плавиковый шпат.

Продувку ведут до получения заданного содержания углерода в металле. После прекращения продувки в печь загружают силикомарганец или ферромарганец и при необходимости феррохром в количеств, обеспечивающем получение заданного содержания в стали марганца и хрома. Затем сталь выпускают в ковш, куда для получения требуемого содержания кремния и для раскисления вводят ферросилиций и алюминий. С тем чтобы предотвратить переход из шлака в металл окислов железа и снизить угар кремния и марганца печь наклоняют так, чтобы металл в течение первой трети длительности выпуска шел без шлака. Никель вследствие низкого сродства к кислороду при плавке не окисляется и его можно вводить в завалку.

При выплавке легированных кремнием сталей применяют технологию плавки с частичным раскислением шлака. Сущность технологии заключается в следующем: после окончания продувки в печь вводят ферромарганец для получения заданного содержания марганца в стали и немного 65 %-ного ферросилиция (до 2 кг на 1 т стали) и дают раскислительную шлаковую смесь – известь (10 кг/т), плавиковый шпат (2 кг/т), кокс (1-2 кг/т). После непродолжительной выдержки металл выпускают в ковш, куда для окончательного раскисления и легирования дают ферросилиций и алюминий. При работе по такой технологии учитывают, что диффузионное раскисление шлака сопровождается рефосфорацией – переходом из шлака в металл фосфора.

Технология одношлакового процесса позволяет сократить длительность плавки, расход электроэнергии, огнеупоров и шлакообразующих.

Плавка с рафинированием металла в ковше печным шлаком

Технология применяется на печах емкостью 100-200 т. В завалку вводят до 25-30% чугуна; 1.5-2.0% руды и 2-3% извести. В конце периода плавления и окислительном периоде ведут продувку ванны кислородом, подаваемым через сводовую фурму. После получения требуемого для данной марки стали содержания углерода продувку заканчивают и сливают шлак окислительного периода (75-80% шлака).

Далее в печь загружают ферросилиций из расчета ввести в металл около 0.15% кремния, ферромарганец, вводя заданное количество марганца и, если необходимо, феррохром. Наводят новый шлак добавками извести, плавикового шпата и шамота (25; 5-10 и 5-10 кг/т соответственно). В середине периода на основании результатов анализа отбираемых проб металла в печь вводят корректирующие добавки ферросплавов.

За 8-10 мин до выпуска шлак разжижают добавкой плавикового шпата (~4 кг/т) так, чтобы содержание CaF2 в шлаке было 10-15%. Столь высокое содержание CaF2 необходимо для обеспечения малой вязкости и высокой рафинирующей способности шлака. Перед выпуском шлак дополнительно раскисляют порошкообразным алюминием (8.8 кг/т); необходимо, чтобы конечный шлак содержал менее 1% FeO и более 50% окиси кальция при основности 2.7-3.4.

При выпуске в ковш сначала сливают шлак, а затем металл, что обеспечивает их интенсивное перемешивание, десульфурацию и удаление неметаллических включений. Алюминий для окончательного раскисления вводят в ковш.

Плавка с рафинированием в ковше синтетическим шлаком

Технология применяется на крупнотоннажных печах емкостью 60-200 т в цехах, имеющих специальную печь для выплавки синтетического шлака.

В завалку вводят до 25% чугуна, известь (1.5-3.5%) и железную руду (2-3%). После расплавления проводят продувку ванны кислородом. Окислительный шлак сливают, в металл водят ферромарганец, рассчитывая на нижний предел содержания марганца в выплавляемой стали, и ферросилиций из расчета введения 0.15-0.20% кремния. Далее наводят небольшое количество (~ 1% от массы металла) известковистого шлака добавками извести, шамота, плавикового шпата. Восстановительный период, как таковой, отсутствует, вместо него проводиться кратковременная (~ 30 мин) доводка, в течение которой сталь доводят до заданных температуры и состава, вводя необходимые легирующие добавки. Раскисление шлак не производят.

Перед выпуском стали из печи сливают 80-90% шлака. Далее выпускают сталь в ковш с залитым туда синтетическим шлаком, который обеспечивает рафинирование металла от серы и неметаллических включений. Во время выпуска в ковш вводят ферросилиций и при необходимости ферротитан и феррованадий. После окончания выпуска в ковш вводят для окончательного раскисления. Обычно применяют синтетический известково-глиноземистый шлак (~ 55% CaO и 45% Al2O3), который заливают в ковш в количестве 4-6% с температурой 1650-1700 °С.

Технология с продувкой в ковше порошкообразными реагентами

Плавку ведут, как правило, по технологии одношлакового процесса, получая металл заданного состава и с требуемой температурой. Выпущенную в ковш слать  продувают порошкообразными смесями, в состав которых входят активные по отношению к сере и кислороду элементы: карбид кальция, силикокальций, гранулированный магний. Порошкообразные реагенты вдувают в струе аргона, подавая их с помощью пневмонагнетателя через погружаемую в металл футерованную фурму.

Продувка в течение нескольких минут обеспечивает снижение содержания серы, кислорода, неметаллических включений. Кроме того, при обработке жидкой стали кальцием и магнием повышаются свойства металла в результате модифицирующего воздействия этих элементов.

Плавка с рафинированием и доводкой металла вне печи

Плавку ведут по следующей технологии: расплавляют стальной лом с добавкой чугуна и проводят окислительный период с продувкой ванны кислородом, обеспечивая дефосфорацию, обезуглероживание и нагрев металла до требуемой температуры. Далее металл без шлака выпускают в ковш и транспортируют его на специальную установку, где путем различных видов внепечной обработки жидкого металла получают сталь требуемого состава и свойств. Эти установки позволяют продувать металл различными порошкообразными реагентами с целью десульфурации, раскисления и удаления неметаллических включений; обработку вакуумом и продувку аргоном с введением при этом в металл раскислителей и корректирующих добавок ферросплавов; вдувание науглероживателей, замер и корректировку температуры расплава.

 Плавка с использованием металлизованных окатышей

Основу окатышей (губки) составляет железо с содержанием углерода от 0.2-0.5 до 2%, они содержат также некоторое количество невосстановленных окислов железа и пустую породу (в основном SiO2 и Al2O3), количество которой должно быть не более 3-7% от массы окатышей. Отличительная особенность этого сырья – малое содержание серы, фосфора, меди, никеля, хрома и других примесей, обычно содержащихся в стальном ломе (Pb, Sn, Bi, Zn, As, Sb). Это облегчает и упрощает процесс выплавки и получение стали высокого качества, высокой степени чистоты (суммарное содержание примесей в стали получается в 3-10 раз меньше, чем при выплавке из стального лома).

Если содержание металлизованных окатышей в шихте не превышает 25-30% от её массы, то технология электроплавки существенно не отличается от обычной. Переработка шихты, основу которой составляют металлизованные окатыши требует применения специфической технологии. Особенностями этой технологии являются:

- непрерывная загрузка окатышей со скоростью, пропорциональной подводимой в печь электрической мощности, причем загрузка должна начинаться после сформирования в печи ванны жидкого металла;

- совмещение периода плавления с окислительным (обезуглероживанием);

- упрощение технологии плавки в связи с малым содержанием в шихте вредных примесей – серы и фосфора.

Степень металлизации окатышей должна находиться в определенных пределах, обеспечивающих кипение ванны в процессе их загрузки и плавления. Оптимальной содержание окатышей в шихте составляет 60-70% от её массы - при большем их содержании возрастает длительность расплавления и плавки в целом.

Плавку начинают с загрузки стального лома, который в количестве 30-40% от массы металлической шихты заваливают в печь одной порцией. Далее подают напряжение и после расплавления лома в сформировавшуюся жидкую ванну начинают непрерывную загрузку окатышей; обычно их загружают в зону электрических дуг с помощью автоматизированной системы через отверстие в своде печи. Скорость подачи окатышей согласуют с подводимой в печь электрической мощностью так, чтобы температура ванны был на 30-40 °С выше температуры плавления металла, поскольку при более низкой величине перегрева плавление затягивается.

Период загрузки и расплавления совмещают с окислительным, т.е. проводят его так, чтобы обеспечить непрерывное окисление углерода (кипение ванны). При этом благодаря перемешиванию ускоряется плавление окатышей, обеспечиваются дегазация ванны и получение в конце периоде заданного содержания углерод в металле. Для обеспечения кипения степень металлизации окатышей должна находиться в пределах 90-97%, что соответствует остаточному содержанию кислорода в окатышах от 1.2 до 0.6% (при более низком содержании остаточного кислорода не будет кипения ванны.). При недостаточной степени металлизации существенно возрастает расход электроэнергии из-за протекания эндотермической реакции восстановления окислов железа. Для обеспечения кипения ванны металлизованное сырье должно содержать определенное количество углерода, если содержание углерода недостаточно для обеспечения кипения, то в ванну вдувают карбюризаторы.

По ходу плавления в печь загружают известь для ошлакования кислой пустой породы (SiO2 иAl2O3) окатышей. Основность шлака в связи с низким содержанием в окатышах серы и фосфора может быть меньшей, чем при плавке на шихте из стального лома и составлять 1.5-2.0. В конце периода плавления необходимо получить требуемое в выплавляемой стали содержание углерода; при недостатке углерода прибегают к вдуванию в ванну карбюризаторов, избыточный углерод окисляют путем кратковременной продувки кислородом.

После окончания плавления применяют различные варианты ведения заключительной части плавки. Один их них – нагрев металла до требуемой температуры и выпуск в ковш, где производят внепечную доводку стали и рафинирование; другой – проведение в печи кратковременной доводки, в течение которой проводят нагрев, раскисление и легирование.

 Выплавка стали в кислых дуговых печах

Электрические печи с кислой футеровкой обычно используют в литейных цехах при выплавке стали для фасонного литья. Преимуществом кислых печей по сравнению с основными является более высокая стойкость футеровки; наряду с этим стоимость кислых огнеупоров примерно в 2.5 раза ниже стоимости основных. Поскольку при плаке стали для фасонного литья восстановительный период обычно отсутствует, длительность плавки в кислой печи меньше, чем в основной той же емкости; по этой причине, а также в связи с меньшей теплопроводностью кислой футеровки, более низким является и расход электроэнергии.

Основным недостатком кислых печей является то, что во время плавки из металла не удаляется сера и фосфор.

Завалка и расплавление шихты

Шихту составляют таким образом, чтобы содержание углерода после расплавления на 0.15-0.20% превышало содержание углерода в выплавляемой стали. Для повышения содержания углерода в шихту, наряду со стальным ломом, вводят кокс, электродный бой или чугун. Поскольку фосфор и сера под кислым шлаком не удаляются, используемый стальной лом должен содержать фосфора и серы примерно на 0.01% меньше, чем допускается в выплавляемой стали. Металлический лом не должен быть ржавым, так как окислы железа, растворяя кремнезем футеровки пода, разрушают её. В остальном требования к шихтовым материалам и порядку загрузки в печь такие же, как и при основном процессе.

Плавление в кислой печи длится 50-70 мин и протекает примерно так же, как и в основной печи. В период плавления происходит окисление кремния, марганца, железа, углерода. Образующиеся окислы принимают участие в формировании шлака. Поскольку количество этих окислов сравнительно невелико, в печь во время плавления забрасывают шлак от предыдущей плавки, сухой песок, формовочную землю и известняк, чтобы покрыть металл шлаком и уменьшить угар составляющих шихты.

К моменту расплавления шихты шлак имеет следующий состав, %: 40-50 SiO2; 15-30 FeO; 10-30 MnO; 2-6 Al2O3; 5-15 прочие окислы.

Окислительный период

Задачами окислительного периода при кислой плавке являются дегазация металла за счет кипения и нагрев металла. За время периода окисляется 0.10-0.20% углерода. Его окисление идет преимущественно за счет закиси железа, содержащейся в шлаке. Благодаря высокому содержанию FeO в шлаке окисление углерода и вызываемое им кипение ванны начинается без присадок окислителей, когда металл будет достаточно нагрет. Кипение можно интенсифицировать небольшими присадками извести или железной руды (порциями не более 0.2% от массы жидкого металла каждая). При этом происходит высвобождение FeO и повышение окислительной способности шлака.

(SiO2) + 2×[C] = [Si] + 2×CO

Содержание кремния в металле в конце окислительного периода может достигать 0.2-0.4%.

Раскисление стали

При выплавке стали для фасонного литья восстановительный период отсутствует и сталь раскисляют осаждающим методом. Если содержание кремния в металле ниже, чем требуется в выплавляемой стали, то за 7-10 мин до выпуска в печь присаживают ферросилиций. Ферромарганец вводят либо в печь (за 3-5 мин выпуска), либо в ковш. Алюминий для окончательного раскисления вводят в ковш.

3.   Отвод и очистка печных газов

Во время плавки из электропечи выделяется большое количество запыленных газов. Температура газов составляет 900-1400 °С, содержание пыли в период продувки ванны кислородом доходит до 100 г/м3 газа; количество газов, выделяющихся, например, из 100-т печи в период продувки кислородом достигает 9-10 тыс. м3/ч. Для создания нормальных условий работы в сталеплавильном цехе необходимы улавливание и очистка отходящих газов.

В старых цехах с печами малой емкости применяются отсасывающие зонты, установленные над сводом. Однако они громоздки и обеспечивают неполное сгорание газов. В последние годы повсеместное распространение получает отвод газов через отверстие в своде с последующей очисткой от пыли. Наибольшее распространение получила мокрая газоочистка с использованием труб Вентури.

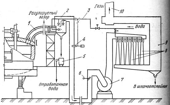
Рис. 1. Схема отвода печных газов.

Печные газы через отверстие в своде по футерованному патрубку 1 поступают в скруббер-охладитель 2; перед скруббером имеется регулируемый зазор, через который подсасывается воздух, обеспечивающий дожигание горючих компонентов аза. В скруббере 2 газ охлаждается водой, подаваемой через форсунки от водопроводной сети 3. отработанная вода собирается в баке 5. расход воды регулируют, обеспечивая охлаждение газов до температуры менее 200 °С; температуру газов измеряют термопарой 4, установленной в вертикальном газопроводе. Далее газы через регулирующую заслонку 6 дымососом 7 подаются в батарею труб Вентури 8 с водяными форсунками, где пыль поглощается каплями воды. После прохождения циклонного каплеуловителя 9 газы выбрасываются в атмосферу через выхлопную шахту 10.

Во вновь сооружаемых цехах рекомендуется устанавливать печи в герметичных камерах, снабженных дверями для въезда тележек со шлаковыми и сталеразливочными ковшами и крана для завалки шихты. Камера снабжена системой отсоса газов, что предотвращает их попадание в цех; кроме того, камера существенно снижает в цехе уровень шума, вызываемого электрическими дугами.

4.   Автоматизированное управление процессом плавки

Дуговая электросталеплавильная печь является мощным трехфазным агрегатом с соответствующим силовым электрическим оборудованием. Высокотемпературные дуги обеспечивают расплавление шихты и нагрев ванны до нужной температуры. Каждая плавка может быть подразделена на три основных периода:

1. расплавление загруженной в печь твердой шихты;

2. окисление (кипение) жидкой ванны;

3. раскисление ванны (восстановительный период).

Периоды плавки обуславливаются особенностями протекания физико-химических процессов и определяют различия задач системы автоматического контроля.

Управляющими воздействиями на процесс плавки в дуговой печи являются:

- электрическая мощность;

- напряжение питающего тока (длина дуги);

- состав шихты, количество и состав присадок;

- расход кислорода на продувку металла;

- электромагнитное перемешивание ванны.

Возмущающие воздействия, прежде всего можно подразделить на две группы: а) возмущения электрического режима и б) возмущения технологического и теплотехнического режима.

Возмущения электрического режима возникают из-за обвалов шихты в период плавления, кипения металла в периоды с жидкой ванной, обгорания электродов, подъема уровня металла по мере плавления, колебаний сопротивления дугового промежутка, вызванных изменениями температурных условий в зоне дугового разряда. Возмущения технологического и теплотехнического характера связаны с нестабильностью состава шихты, нестационарностью протекания физико-химических реакций в ванне, введением присадок, износом кладки, выбиваниями и подсосом газов в печь.

К основным задачам автоматизированного управления процессом плавки в ДСП можно отнести следующие:

1.   Централизованный контроль за ходом технологического процесса с сигнализацией и регистрацией отклонений от заданных параметров.

2.   Управление металлургическим процессом:

- расчет оптимального состава шихты, исходя из планируемых заданий и наличия исходных сырьевых материалов;

- управление загрузкой печи в соответствии с рассчитанным составом шихты;

- расчет кислорода, легирующих и шлакообразующих, обеспечивающих получение металла заданного состава и качества и экономию материалов;

- прогнозирование момента окончания технологических периодов с обеспечением заданных значений температуры и химического состава металла.

3.   Управление энергетическим режимом, обеспечивающее:

- введение электроэнергии с учетом теплового состояния печи и тепловой энергии, вводимой в печь другими источниками;

- максимальное использование мощности печи;

- минимальные удельные расходы энергоносителей;

- нормальную эксплуатацию электрического и другого печного оборудования.

4.   Управление вспомогательными операциями (отбором проб, замером температуры металла и др.).

5.   Сбор и обработку информации с выдачей необходимой документации, в том числе учет и регистрацию расходов шихтовых материалов, электроэнергии, кислорода и других энергоносителей, распечатка протоколов плавки.

6.   Контроль за работой оборудования с сигнализацией и регистрацией неисправностей и непредвиденных остановок.

Предусматриваемый на ДСП объем средств автоматического контроля и управления должен обеспечивать поддержание с требуемой точностью заданных технологией режимов и параметров процесса электроплавки, а также безопасность эксплуатации агрегата.

Рациональный объем автоматизации новых и реконструируемых печей определяется с учетом технологически требований к управлению процессом выплавки различных марок сталей, развития электросталеплавильного производства в направлении повышения удельной мощности трансформаторов, использования данных о передовом зарубежном опыте и научных разработок в области автоматизации процесса электроплавки.

ДСП необходимо оснащать современными быстродействующими регуляторами мощности, обеспечивающими высокие технико-экономические показатели и имеющими высокую надежность. Автоматический регулятор должен поддерживать заданное соотношение между силой тока и напряжением дуги в данной фазе печи при наименьших дисперсиях, обеспечить скорость перемещения электрода не менее 5-6 м/мин. Системы управления весовым дозированием компонентов металлошихты и дозированием ферросплавов и шлакообразующих материалов должны обеспечить подачу металлошихты в бадью и ферросплавов для загрузки в печь с погрешностью не долее 0.3%.

Система управления электрической мощностью должна обеспечить программное изменение мощности и ступени напряжения трансформатора в соответствии с заданным электрическим режимом плавки, поддержание заданной мощности трех фаз с погрешностью не более 2.0% и заданного температурного графика металла по ходу плавки с отклонениями, не превышающими 15 °С. Система управления химическим составом металла должна обеспечить получение заданного состава стали в соответствии с требованиями ГОСТ или ТУ.

Группа печей емкостью 50-200 т должна оснащаться АСУ ТП плавки с использованием УВМ.

Рис. 2. Рациональный объем автоматизации ДСП.

1 — устройство для измерения расхода активной энергии; 2 — устройство для измерения среднеквадратичных токов; 3 — устройства для измерения расхода, температуры и состава отходящих газов; 4 — устройство для измерения положения кислородной фурмы; 5 — устройство для определения состава стали и шлака; 6 — устройство дли измерения расхода газа и кислорода на горелки; 7 — устройство для измерения температуры футеровки; 8 — устройство для измерения температуры металла в ванне печи; 9 — устройства для измерения расхода, давления и температуры воды; 10 - устройство для измерения положения электродов; 11 — устройство для измерения расхода реактивной энергии; 12 — устройство для измерения коэффициента мощности; 13 — устройства для измерения активной и реактивной мощности; 14 — устройства для измерения расхода, давления и количества кислорода; 15 — устройство для взвешивания ферросплавов; 16 — устройство для измерения перепада температур воды на входе и выходе охлаждаемых элементов; 17 — устройство для измерения давления и расхода газа; 18 — устройство для взвешивания металлизованных окатышей; 19 — весы для взвешивания скрапа; 20 — устройство для взвешивания шлакообразующих и заправочных материалов; 21 — устройство для взвешивания жидкого металла в ковше; 22 — система автоматического управления (САУ) электрическим режимом; 23 — регулятор мощности; 24 — САУ весовым дозированием металлизованных окатышей; 25 — САУ весовым дозированном ферросплавов и шлакообразующих; 26 — САУ продувкой ванны кислородом; 27 — система регулирования давления газов под сводом печи; 28 — САУ весовым дотированием компонентов металлошихты; 29 — САУ химическим составом металла и шлака; 30 — система измерения времени плавки и технологических интервалов; 31 — система сбора и обработки информации; 32 — УВМ.

АСУ ТП выплавки стали в ДСП выполняет следующие функции:

- расчет шихты, кислорода, легирующих и шлакообразующих материалов;

- расчет параметров электрического режима;

- выдачу и коррекцию заданий локальным системам управления;

- регистрацию и сигнализацию отклонения текущих параметров от заданных значений, регистрацию неисправностей оборудования и нарушений технологического режима;

- централизованный контроль основных технико-экономических показателей работы печи;

- выдачу информации на печь;

- выдачу оперативной технологической информации оператору.

Автоматизация дуговых сталеплавильных печей в рациональном объеме должна обеспечить:

- увеличение производительности электропечей на 3-5%, сокращение расхода электроэнергии на 2-4%, повышение стойкости футеровки на 5-8% за счет оптимизации энергетического режима плавки и повышения точности поддержания заданного режима;

- снижение затрат на металлошихту, легирующие и шлакообразующие материалы на 1-2% за счет рационального их использования;

- снижение себестоимости выплавляемого металла не менее, чем на 1.5%.

В последние годы производство электростали характеризуется увеличением емкости печей, повышением мощности печных трансформаторов, совершенствованием технологии и методов управления рабочим процессом, причем для управления процессом электроплавки все шире применяют автоматизированные системы управления технологическим процессом (АСУ ТП) с применением электронно-вычислительных машин (ЭВМ). Эти системы выполняют следующие функции:

а) расчет оптимального состава шихты, исходя из планируемых заданий и наличия исходных сырьевых материалов;

б) расчет количества электроэнергии, кислорода, легирующих и шлакообразующих материалов;

в) выбор оптимального режима процесса плавки и выдача управляющих сигналов в локальные системы автоматического управления;

г) контроль запасов лома, легирующих отходов, ферросплавов и других материалов;

д) выдача оперативной технологической информации оператору печи и на печать;

е) контроль за работой оборудования, сигнализацию и регистрацию неисправностей;

ж) автоматизированный централизованный контроль основных технико-экономических показателей работы печи.

В состав АСУ ТП выплавки стали в ДСП входят локальные системы управления электрической мощностью, продувкой ванны кислородом, давлением под сводом печи, дозированием шихты и легирующих материалов, присаживаемых в печь. АСУ ТП снабжена устройствами контроля массы металлошихты, ферросплавов, жидкого металла; электрических и теплотехнических параметров (мощности, расхода электроэнергии, тока и напряжения печи, расхода и давления кислорода и др.); физико-химических параметров процесса плавки; температуры металла и футеровки печи и контроля состояния и работы оборудования.

Внедренная на Донецком металлургическом заводе АСУ ТП выплавки стали в ДСП-100 имеет двух уровневую структуру. Верхний уровень представлен специализированной УВК с дополнительными модулями устройств связи с объектом (УСО) для приема и выдачи аналоговых и дискретных сигналов. Нижний уровень представлен комплексом локальных САУ взвешиванием металлошихты 1, дозированием сыпучих и ферросплавов 2, дозированием заправочных материалов 3, подготовкой и загрузкой шихтовых материалов 4, электрическим режимом 5, продувкой ванны кислородом 6 и системами измерения положения электрода 7, передачи результатов химического анализа 8, измерения продолжительности плавки 9. Кроме того, на нижнем уровне обеспечивается формирование технологической информации устройством позиционных сигналов и приборами КИП печи. Все локальные САУ обеспечивают управление объектом в автономном и комбинированном режимах. Обмен информацией с УВК осуществляется кодированными сигналами.

Информация о виде и массе шихты поступает в ЭВМ УВК и хранится в памяти машины, которая рассчитывает основные компоненты шихты. Задание на загрузку корзины металлошихтой по видам и массе вводится в САУ взвешиванием металлической шихты мастером с пульта или от УВК. После окончания загрузки всех компонентов шихты в корзину ЭВМ УВК сообщает мастеру печи о готовности корзины с шихтой. Затем тележка подается в печное отделение для выгрузки в печь.

В ЭВМ УВК храниться программа всех марок сталей, выплавляемых в ЭСПЦ. Перед началом плавки ЭВМ находит в базе данных выбранную марку стали и выдает общую программу её выплавки.

Начинается плавление металлической шихты. Система измерения положения электродов определяет моменты начала технологических интервалов периода плавления шихты и передает эту информацию в ЭВМ, которая через САУ электрического режима ЭР изменяет ступень печного трансформатора Т устанавливает оптимальную величину тока дуги.

Если температура футеровки достигает значения, влияющего на её износ, то САУ ЭР переключает печной трансформатор на ближайшую низшую ступень напряжения. Перед началом продувки ЭВМ УВК выдает задание в САУ продувкой кислорода – режим продувки. САУ осуществляет перемещение кислородной фурмы, устанавливает её в заданную позицию, производит управление подачей кислорода и при заданном количестве введенного в печь кислорода отключает подачу кислорода и поднимает кислородную фурму.

Экспресс-лаборатория соединена с системой передачи результатов химического анализа. ЭВМ УВК дает команду на отбор пробы металла. При поступлении в экспресс-лабораторию проба отрабатывается и устанавливается в квантометр и в течение 40-60 с анализируется в соответствии с заданной программой. По результатам этого анализа ЭВМ вычисляет, какие материалы (легирующие, шлакообразующие и раскислители) и в каком количестве необходимо ввести в печь. При этом ЭВМ учитывает количество и стоимость материалов, хранящихся в бункерах, вычисляет оптимальный по себестоимости вариант наборов материалов.

САУ дозированием сыпучих и ферросплавов посылает команду на включение вибропитателей под соответствующими расходными бункерами, из которых должны отбираться требуемые материалы. После набора полной дозы материала питатель отключается. Заданная и фактическая массы каждого из дозируемых материалов инициируются на цифровых табло, установленных на пульте управления. При выгрузке материалов их масса регистрируется и передается в ЭВМ.

Для стали каждой марки в базе данных ЭВМ хранится оптимальный закон изменения температуры металла. УВК в наперед заданные интервалы плавки периодически информирует сталевара о необходимости произвести замер температуры металла. Измеренные величины температур передаются в ЭВМ УВК, которая, сопоставив фактические и заданные температуры металла, определяет их разность и вычисляет требуемое количество электроэнергии. САУ ЭР устанавливает новый электрический режим с учетом того, что следующий замер температуры должен соответствовать заданной температуре металла.

Непрерывно получая информацию о текущих значениях мощности тепловых потерь, напряжения сети, температуры подины и футеровки и других показателях, ЭВМ УВК вычисляет электрический и тепловой режимы, отвечающие условиям минимальных удельных расходов электроэнергии, длительности плавления или себестоимости 1т стали.


Не нашли материал для своей работы?
Поможем написать уникальную работу
Без плагиата!
Без нейросетей!