Инновационный проект совершенствования технологии получения резьбовых отверстий в металлоконструкциях на основе метода термического сверления
Содержание
Введение
. Теоретические аспекты инновационного проекта
.1 Понятие инновации, инновационного менеджмента и
инновационной деятельности
.2 Содержание инновационного проекта
.3 Методы оценки эффективности инновационных проектов
.4 Источники финансирования инновационных проектов
.5 Жизненный цикл инновационного проекта
. Ситуационный анализ АО «СКДМ»
.1 История предприятия АО «СКДМ»
.2 Организационная структура и структура управления
предприятием
.3 Общий анализ деятельности компаний на рынке быстровозводимых
зданий из металлоконструкций за 2015 год
.4 Анализ деятельности АО «СДКМ» на рынке быстровозводимых
зданий из металлоконструкций за 2015 год
.5 Конкуренты АО «СДКМ»
.6 Существующая технология получения резьбовых отверстий в
раме блок-контейнера
. Инновационный проект совершенствования технологии получения
резьбовых отверстий на основе метода термического сверления
.1 Технологические преимущества метода термического сверления
для получения отверстий в металлоконструкциях
.2 Термическое сверление - как альтернатива лезвийной
обработке
.3 Эксплуатационные характеристики оборудования Flowdrill
.4 Экономическое обоснование целесообразности освоения
инновационного проекта
Заключение
Список использованных источников
Приложения
Введение
В настоящее время любое предприятие осуществляет свою деятельность на
рынке в условиях риска и неопределенности. Для того чтобы поддерживать свои
конкурентные преимущества на рынке предприятиям необходимо внедрять инновации в
своё производство, а так же модернизировать его. Крупные предприятия ставят
перед собой задачу захвата и расширения рынка продаж, путём создания новых
источников конкурентных преимуществ, когда малые предприятия пытаются создать
им конкуренцию. Каждое предприятие обеспечивает решение задач разными способами,
в зависимости от сложившихся экономических, политических, социальных условий. В
основе решения лежит деятельность по проектированию и реализации конкурентных
преимуществ выпускаемой продукции или услуг.
Одной из главных целей производства является повышение
конкурентоспособности продукции, которое в инженерном бизнесе влияет на
увеличение объема реализованной продукции, следовательно, в свою очередь,
влияет на прибыль предприятия. Основой инженерного бизнеса представляет собой
непрерывная реализация инновационных проектов.
Целью ВКР (выпускной квалификационной работы) является исследование
теоретических и практических аспектов инновационного проекта, его разработка и
анализ. Инновационный проект данной ВКР (выпускной квалификационной работы)
заключается в изучении технологических возможностей метода термической сварки с
целью ее использовании для получения резьбовых отверстий в металлоконструкциях.
В данной работе предлагается получения резьбового отверстия при изготовлении
рамы КС 123021 00 10.01.000 панели основания блок-контейнера сварного системы
«Контур».
Теоретические аспекты инновационного проекта сформированы на основе
исследований в области инновационной деятельности таких учёных как: Виленского
П. Л., Голубева С. А., Спрашевского А. И., Сурина А. В., Туккеля И. Л.,
Хеншмана М. А., Шичкова А. Н.
Предметом исследования инновационного проекта является технология
получения резьбовых соединений в металлоконструкциях.
Актуальность выпускной квалификационной работы связана с необходимостью
обеспечения условий для организации управленческого учета, снижения удельных
технологических затрат и оптимизации их структуры. Результатом реализации
инновационного проекта является увеличение объема реализованной продукции за
счет улучшения потребительских свойств, не увеличивая объемы производства, и
повышения оплаты труда при повышении квалификации рабочих.
Первый раздел ВКР раскрывает теоретические аспекты инновационного и
инвестиционного проектов. В разработке данного раздела использованы труды
отечественных и иностранных ученых, труды руководителя выпускной
квалификационной работы, законодательство Российской Федерации.
Второй раздел включает анализ финансово-хозяйственной деятельности АО
«СКДМ», анализ существующей технологии и оценка ее экономической эффективности,
а так же анализ рынка продаж.
Третий раздел включает разработку инновационного проекта, сравнительный
анализ оценки эффективности его применения в условиях предприятия.
При разработке выпускной квалификационной работы было проведено
теоретическое и практическое исследование, изучение нормативно-правовой базы и
документов, анализ финансовой деятельности предприятия, использование
сравнительного анализа для оценки эффективности проекта.
1.
Теоретические аспекты инновационного проекта
.1 Понятие инновации,
инновационного менеджмента и инновационной деятельности
Из теории Н. Д. Кондратьева о больших циклах конъектуры следует, что
экономику определяют волновые законы. За каждым подъемом экономики следуют
спады. Спад экономики определяется снижением объема реализованной продукции и
дохода для предприятия. Спад объема реализованной продукции свидетельствует о
четвертой стадии жизненного цикла предприятия, а именно о деградации и смерти.
Целью инноватора является управление жизненным циклом предприятия. Под
управлением понимается, инноватор принимает такие решения, которые продлевают
во времени стадию роста и зрелости компании.
Для того что бы управлять жизненным циклом компании необходимо освоение
инновационных проектов.
Инновационный проект - это проект, в результате которого увеличивается
жизненный цикл компании или продукта, с постановкой на баланс нематериального
актива, то есть осваивается инновация.
Этапы разработки и освоения инновационного проекта смотри рисунок 1:
) формирование инвестиционной идеи;
) оценка инвестиционных возможностей;
) подготовка документации;
) подготовка проектной документации;
) строительно-монтажные работы;
) ввод в эксплуатацию объекта;
) оценка экономической эффективности.
Рисунок 1 - Этапы инновационного проекта
В результате инновационного проекта коммерциализируется интеллектуальная
деятельность участников проекта.
Элементами инновационной деятельности являются:
· рынок новшеств (новаций);
· рынок капитала (инвестиций);
· рынок чистой конкуренции.
Данные элементы образуют инфраструктуру инновационной деятельности,
представленную на рисунке 2.
Рисунок 2 - Схема инновационной деятельности
Новшества формируют рынок новшеств, инвестиции - рынок капитала,
нововведения - рынок чистой конкуренции нововведений.
Инновация - это процесс коммерциализации доходной идеи.
Выделяют три вида инноваций:
· технологическая;
· продуктовая;
· аллокационная.
Технологическая инновация - это интегрированный комплекс идей, изменяющих
технологию производства товара в результате этого изменения уменьшаются
материальные затраты и увеличиваются потребительские свойства. финансирование инновационный управление
Продуктовая инновация - это идея по изменению потребительских свойств
продукта или создание нового продукта.
Аллокационная инновация - это изменение организационной структуры
предприятия.
Основой экономики является инженерный бизнес. Эффективность управления
интегрированным комплексом инженерных бизнесов определяет состояние экономики
страны.
Инженерный бизнес - это набор активов и действий. Под активами понимается
предприятие. То есть бизнес - это интегрированный комплекс действий внутри
предприятия.
Предприятие - это совокупность производственно-технологических систем
(ПТС). Производственно-технологическая система - это комплекс материальных и
нематериальных активов необходимый для создания продукции или услуг, имеющих
стоимость на рынке.
Как было сказано выше, эффективность экономики определяется
эффективностью бизнеса. В свою очередь, эффективность бизнеса определится
математическими моделями бизнеса, на основании которых принимаются
управленческие решения. Для того что бы предприятие было эффективным в
экономической среде ему необходимы математические модели, адекватные этой
среде.
А. Н. Шичков разработал математическую модель конверсии операционного
цикла для оценки и анализа предприятия.
Теория конверсии операционного цикла определяет, что предприятие может
находиться в двух состояниях. Первое - это равновесное и обратимое, а второе не
равновесное и не обратимое. Первое состояние идеальное и оно определяет
наиболее эффективную работу предприятия.
То есть теория конверсии операционного цикла позволяет определять
эффективность предприятия, его отклонение от идеального состояния и направление
его развития к равновесному состоянию.
Для того что бы привести предприятие к равновесному состоянию необходимо
освоение инновационных проектов с постановкой на баланс нематериальных активов.
Нематериальный актив является элементом равновесия.
Резюме проекта - это общая информация о проекте, задачами которого,
является обоснование необходимости реализации проекта и потребности в
инвестиционных ресурсах.
Научно-техническая часть инновационного проекта содержит:
· назначение и применение проекта;
· состояние исследований;
· оценка по данному направлению;
· описание научно-технического результата;
· новизна проекта;
· описание инновационного проекта с основной целью;
· обоснование проведения НИОКР (научно-исследовательских и
опытно-конструкторских работ);
· наличие возможности реализации проекта на данном предприятии.
Процесс производства продукции описывается в производственном плане, а
именно в технологический маршрут. Так же в производственном плане определяются
сроки закупки оборудования и строительно-монтажных работ; программа выпуска на
период жизненного цикла проекта, с расчетами затрат на производство.
Маркетинговый план - документ, в котором определенна целевая аудитория
компании, каналы сбыта, рекламная политика, ценообразование. Данный план
определяет, кому продаем, как продаём и за сколько продаём. Маркетинговый план
должен определят направление развития компании и его перспективы.
Организационный план - это документ, в котором определена структура
управления компанией и необходимое количество работников с заданными затратами
на оплату труда и с социальным обеспечением.
Финансовый план - это документ, определяющий денежные потоки по проекту,
а именно:
· необходимый объем инвестиций;
· источники инвестиции;
· оценка объёма и структуры технологических затрат, а также
чистого дохода от освоения проекта;
· основные экономические показатели;
· срок окупаемости проекта (PP);
· налогооблагаемая база.
Оценка эффективности и рисков:
· количество рабочих мест;
· объемы реализованной продукции;
· освоенные научные идеи;
· решение поставленных задач.
В данном раздел имеется информация об рисках, в ходе реализации проекта и
методах управления ими.
Бизнес-план - документ, описывающий основные стадии при реализации
проекта и принятий решений по нему. Цели и задачи проекта определяют структуру
бизнес плана. При реализации бизнес-плана необходимы рискованные инвестиции
(венчурный капитал). Бизнес-план определяет каким образом будут использоваться
инвестиции от венчурных капиталистов. Это необходимо для того чтобы инвестор
понимал куда расходуются его инвестиции и на основании данных бизнес-плана мог
оценить экономический эффект и результаты.
Бизнес план - это интегрированный комплекс таких научных дисциплин, как:
менеджмент персонала, финансы, менеджмент интеллектуальной собственностью,
маркетинг, операционный менеджмент. Бизнес-план состоит из подпланов.
Бизнес-план необходим для разъяснения бизнес-модели, на основании которой будет
строиться бизнес, но он не даёт гарантий об осуществимости и экономической
эффективности бизнес-модели. [18]
.3 Методы
оценки эффективности инновационных проектов
Основа оценки эффективности проекта - соотношение денежного потока
инвестиций с денежными потоками от реализации продукции. Данные денежные потоки
находится в разных точках на временной ленте, то есть сравнивается затраты на
реализацию проекта с доходами этого проекта, так как денежные потоки на разных
участках временной ленты не равны между собой, необходимо дисконтирование
будущих доходов от проекта. Причинами по которой денежный поток сейчас не равен
этому же денежному потоку в будущем, являются изменения конъектуры рынка.
Методы оценки эффективности проекта подразделяются на две группы:
· основанные на дисконтированных оценках;
· основанный на учетных оценках.
Методам учётной оценки, являются:
· период окупаемости (PP);
· коэффициент эффективности инвестиций (ARR);
· коэффициент покрытия долга (DCR).
Дисконтированные методы оценки эффективности проекта, определяются:
· различными видами инфляции;
· изменениями процентной ставки;
· нормами доходности предприятия.
Эти показатели включают:
· PI (индекс рентабельности);
· NPV (чистую настоящую стоимость);
· IRR (внутреннюю норму доходности);
· DPP (дисконтированный период окупаемости).
Для расчета периода окупаемости (PP) используется кумулятивный метод,
основанный на суммировании инвестиционных затрат (I0) с текущими затратами по проекту, при этом осуществляется
калькулирование текущих доходов по проекту, до тех пор, пока сумма затрат не
станет равной сумме дохода. Время, в течение которого сумма затрат становится
равной сумме дохода, называется период окупаемости.
Коэффициент эффективности инвестиций (ARR) равняется отношению
среднегодовой чистой прибыли к половине суммы первоначальных инвестиций (I0) и остаточной стоимости инвестиционного проекта.
Коэффициент покрытия долга равняется отношению между чистым доходом и
величиной долговых обязательств. Предприятие не сможет погасить долг если данный
коэффициент будет <1.
Дисконтированные методы (DPP)
оценки эффективности проекта позволяют оценивать эффективность проекта с
корреляцией на факторы внешней среды.
Индекс рентабельности (PI) -
это отношение суммы дисконтированных денежных потоков к первоначальным
инвестициям. Индекс рентабельности больше единицы означает, что проект
эффективен (доходен), а индекс меньше единицы показывает, что проект
неэффективен.
Чистая настоящая стоимость (NPV) - это отношение первоначальных
инвестиций к сумме дисконтированных денежных потоков от проекта, в течении
жизненного цикла проекта. Чистая настоящая стоимость (NPV) показывает:
отношение между доходом от проекта и инвестициями в проект. Существуют
следующие условия для формирования NPV:
· NPV > 0, осуществление инвестиций, проект принимается;
· NPV < 0, проект отклоняется;
· NPV = 0, проект считается реализуемым, при этом инвестор
получает доход на инвестированные средства, увеличивается объем реализованной
продукции, при этом не увеличивая выпуск продукции, увеличивается объем
налогооблагаемой базы, увеличение рабочих мест.
Внутренняя норма доходности (IRR) определяет ставку дисконтирования, при
которой чистая настоящая стоимость равна нулю. Данная ставка должна быть выше
ставки доходности для собственного капитала предприятия. Высокое значение IRR, говорит о повышении доходность
проекта.
Дисконтированный период окупаемости (DPP) - это время, за которое
дисконтированный доход будет равняться суммарным дисконтированным расходам, при
учете первоначальных инвестиций.
Дисконтированный период окупаемости (DPP) равен такому периоду реализации
проекта, при котором его NPV будет равна 0. Этот показатель превышает период
окупаемости проекта, так как учитывается изменение стоимости денежных средств.
[5]
.4 Источники
финансирования инновационных проектов
Финансирование инновационных проектов может осуществляется:
· собственных денежных средств (чистый доход, реинвестируемая
часть необоротных активов);
· заемных денежных средств (кредиты банков, финансовых
учреждений, других предприятий; целевой государственный инвестиционный кредит,
лизинга);
· привлеченных средств (инвестиционные взносы в уставный
капитал; государственные средства, предоставляемые в виде грантов, субсидий,
дотаций; лизинг). [3]
Структуры финансирования проекта определяется направлением проекта, его
особенностями и задачами, а так же видом финансового договора:
· проектное финансирование используется для финансирования
относительно «обособленного» проекта, через юридическое лицо,
специализирующееся на реализации этого проекта;
· проектное финансирование используется для нового проекта, а
не для операционной деятельности;
· возврата инвестированных средств осуществляется за счёт
дохода полученного при освоении инновационного проекта;
· доля заёмных средств не должна превышать 60%, от объема
финансирования проекта;
· инвесторы не предоставляют обеспечения или гарантий при
инвестировании в проект.
Сторона, реализующая проект рассчитывает на то, что возврат тело
инвестиций и процентов будут выплачиваться за счёт дохода от реализации
продукции, а не за счёт стоимости активов:
· основными гарантиями для стороны, дающей заём являются
контракты компании, лицензии и исключительные права использования и разработки
ценных активов, или технологии и производство конкурентоспособной продукции;
· каждый проект имеет свой уникальный жизненный цикл.
1.5 Жизненный
цикл инновационного проекта
Любой проект имеет свой жизненный цикл, то есть стадии от возникновения
идеи до завершения проекта.
Жизненный цикл инновационного проекта состоит из двух этапов. Графически
они представлены на рисунке 3.
Рисунок 3 - Графическая интерпретация этапов жизненного цикла проекта
В первый этап (фаза разработки), входит:
· определение цели;
· разработка структуры проекта;
· планирование и анализ проекта;
· управленческие решения на основании анализа;
· проектная документация.
Начало этапов освоения не начинается после окончания этапа разработки
проекта, она может начинаться до того, как, например, утверждена документация.
Во второй этап (фаза реализации), входит:
· освоение планов;
· достижение поставленных целей;
· изменение плана в соответствие с внешней средой (обратная
связь).
Двухфазная модель проекта позволяет оценивать и контролировать содержание
проекта, его ограничивающие факторы и риски. [21]
Рыночная среда диктует предприятиям необходимость создания математических
моделей, на основании которых будут приниматься управленческие решения.
Управленческие решения должны управлять жизненным циклом предприятия, на
основании стоимости бизнеса. Данное управление реализуется на базе освоения
инновационных проектов. То есть инновации являются жизненно необходимым
фактором для предприятия.
Экономическая эффективность проекта определяет профессионализм менеджера
(инноватора). Предприятие, выпускающее конкурентоспособную продукцию,
отличается от предприятия выпускающего продукцию с конкурентными преимуществами
только более высоким профессионализмом всех участвующих в производстве (от
рабочих до менеджеров). На рынке приобретается продукция с конкурентными
преимуществами, следовательно, предприятиям необходимы высококвалифицированные
кадры, которые будут создавать данную продукцию.
Для того чтобы с рынка труда получить профессионалов необходимо
увеличение доли оплаты труда в структуре операционных затрат. Предприятие
должно получить конкурентные преимущества на рынке труда по сравнению с другими
предприятиями.
Управление инновационным проектом - это искусство процесса принятия и
реализации управленческих решений, связанных с определением целей и задач,
организационной структуры, планированием мероприятий и контролем за ходом их
осуществления, направленных на реализацию инновационной идеи.
Все методы оценки эффективности проекта подразделяются на две группы:
· основанные на дисконтированных оценках;
· основанные на учетных оценках.
Методы оценки эффективности проекта, основанные на дисконтированных
оценках, более точны, так как учитывают различные виды инфляции, изменения
процента ставки, нормы доходности. Это показатели: метод индекса рентабельности
(PI), чистая настоящая стоимость (NPV), внутренняя норма доходности (IRR), и
дисконтированный период окупаемости (DPP).
2.
Ситуационный анализ АО «СКДМ»
.1 История
предприятия АО «СКДМ»
АО «СКДМ» является одним из самых крупных предприятий на рынке по
производству быстровозводимых зданий и блок-контейнеров, а так же
панельно-стоечных и лёгких металлических конструкций собственного изготовления.
АО «СКДМ» был создан в 1947 году на базе авторемонтной мастерской. С 1947
год по 1953 год завод не имел государственной поддержки, и все работы по
производились по запросу Вологодской автотранспортной конторы. С 1953 года
завод был передан в ведение организации «Росавторемонт». Как авторемонтный он
просуществовал до 1970 года. За это время на заводе постоянно проводились
работы по строительству, освоению инновационных видов продукции и технологии
ремонта. В 1970 году завод был передан в структуру Министерства автомобильных
дорог РСФСР и переименован в «Завод дорожных машин», после чего основная
специализация завода сменилась, и он стал выпускать мобильные инвентарные
здания для строителей автомобильных дорог.
В 1992 году, решением Комитета по управлению имуществом Администрации
Вологодской области, Общество было приватизировано, став АО «Вологодский завод
дорожных машин». В 1992 года Постановление главы администрации города Вологды
было зарегистрировано АООТ «Вологодский завод дорожных машин». С 1991 по 1998
гг. были самыми тяжелыми, как для предприятия, так и для всей России. Это
обуславливается сменой власти в стране и кризисом. Несмотря на регрессию
экономики, которая повлияла на социальное положение общества, завод сумел
выстоять в период кризиса и продолжил развиваться, адаптировавшись к новой
экономике и новым стандартам. [1]
Руководство и стороны, заинтересованные в развитии завода, понимали, что
нельзя прекращать производство и нужно постоянно вносить инновации в
производство конструкции и технологии производства, улучшать потребительские
свойства выпускаемой продукции. В конце 90-х начале 2000 годов объём производства
увеличился, за счёт резко выросшего спроса на продукцию. После удачного периода
продаж своей продукции, завод стал приобретать новое оборудование, были введены
новые производственные площади общим объёмом 3 тыс. м2, а также
приобретена новая газовая котельная, в результате данного приобретения
повысился спрос на производимую продукцию.
С 2000 годов завод освоил выпуск сборно-разборных конструкций различного
назначения. Производство таких зданий было направленно на возможность
строительства их в труднодоступных и удаленных районах. Основными
преимуществами данной конструкции был малый срок строительства и ввода в
эксплуатацию за счет изготовлению узлов высокой заводской готовности. С 2002 г.
завод ПСК поставлялись в следующие регионы РФ и страны ближнего зарубежья:
Архангельская область, Корякский автономный округ, Краснодарский край,
Тюменская область, Ленинградская область, г. Москва, Сахалинская область,
Тверская область, Вологодская область, Ненецкий автономный округ, Республика
Казахстан.
В городе Вологда и ее области были построены:
· трехэтажные 6-квартирный жилые дома;
· 36-квартирный жилые дома;
· здание «Скорой помощи»;
· 14-квартирный жилые дома;
· офис врача общей практики;
· лечено-оздоровительный корпус на 1000 мест для сирот и детей
из малообеспеченных семей на г. Великий Устюг;
· здание автостанции в с. Тарногский городок и с. Нюксеница,
· жилые дома в г. Бабаево, г. Харовск, п. Шексна;
· здание РОВД в п. Шексна. [1]
С 2006 года АО «Дормаш» активно участвует в национальной программе «Доступное
и комфортное жилье гражданам России». 27 апреля 2007 года решением общего
собрания акционеров принято решение о смене наименования АО «Вологодский завод
дорожных машин». С 22 мая 2007 года зарегистрировано новое фирменное
наименование - Открытое акционерное общество «Вологодский завод строительных
конструкций и дорожных машин», сокращенное фирменное наименование - АО «СКДМ».
Рыночные условия вынудили завод выйти на новый уровень производства.
Структура и мощности производства позволяют быстро и качественно выполнять
индивидуальные заказы по изготовлению и монтажу зданий с различным уровнем
комфорта. Постоянное внедрение инноваций позволило производству осваивать новые
технологии и совершенствовать конструкцию изделия, потребительские свойства
продукции завода позволяют занимать достойное место на рынке производителей
мобильных и быстровозводимых зданий. На данный момент АО «СКДМ» является одним
из ведущих заводов ориентированных на выпуск блок-контейнеров и
быстровозводимых зданий. [1]
Предприятие движется в направлении постоянного повышение потребительских
свойств выпускаемой продукции и полного удовлетворения запросов заказчика, от
проектирования до монтажа зданий на месте эксплуатации. Так же предприятие
предоставляет гарантии и послепродажное обслуживание.
В основном АО «СКДМ» закупает все необходимые материалы в пределах
Вологодской области, тем самым максимально снизив затраты на транспортировку.
Именно это позволяет заводу сохранять достаточно низкие цены на производимую
продукцию.
На АО «СКДМ» действуют интегрированные системы менеджмента качества и
экологического менеджмента. На данные системы получены сертификаты, в которых
указывается, что система менеджмента качества отвечает требованиям стандарта
DIN EN ISO 9001:2000, а система экологического менеджмента - стандарту DIN EN
14001:2004.
Система менеджмента качества применительно к проектированию, разработке,
производству и монтажу мобильных быстровозводимых зданий контейнерного типа и
стационарных зданий панельно-стоечной конструкции была проанализирована
внешними аудиторами межрегиональной системы добровольной сертификации в
строительстве (система «Строительный сертификат» № РОСС RU.3161.04 СЖ00). По
результатам внешнего аудита АО «СКДМ» был выдан сертификат соответствия системы
менеджмента качества требованиям ГОСТ Р ИСО 9001-200. [1]
.2
Организационная структура и структура управления предприятием
На данный момент АО «СКДМ» является одним из крупнейших производителей
блок-контейнеров и быстровозводимых зданий в России. Высокотехнологичная компания,
занимающая устойчивое место на рынке продолжает развиваться и совершенствовать
свои технологии изготовления и сборки.
На данный момент основной вид деятельности АО «СКДМ» является
производство строительных металлоконструкций, которое включает в себя:
· производство и реализацию продукции
производственно-технического назначения на базе инвентарных зданий
контейнерного типа различного функционального назначения конструктивной системы
«МобиКон»;
· сборно-разборных зданий панельно-стоечной конструкции (ПСК);
· зданий из легких металлоконструкций (ангарного типа);
· проектирование, изготовление и монтаж быстровозводимого жилья
и различных объектов социально-бытового назначения на базе ПСК
(панельно-стоечных конструкций);
· производство товаров народного потребления и мебели. [1]
Одной из главных отличительных особенностей от других компаний является
то, что АО «СКДМ» использует в конструкции стен и перекрытий тонколистовой
оцинкованный термопрофил. Данное отличие позволяет конкурировать над другими
компаниями на рынке. Выпускаемая продукция позволяет удовлетворить запросы
клиента в любом жилье, любой площади, так как завод предлагает широкий
ассортимент продукции и (или) представить заказчику свои требования в
оформлении и изготовлении продукции. При производстве учитываются все возможные
факторы влияющие на потребительские свойства от погодных условий до
предназначения в использовании, именно по этому география поставок очень
широка, от южных районов до Сахалина, так же продукцию активно покупают и за
рубежом, основными рынками сбыта являются:
· Краснодарский край;
· Вологодская область;
· Мурманская область;
· Дальний Восток;
· Архангельская область;
· другие северные и восточные регионы РФ, имеющие большое
количество нефтяных и газовых месторождений.
Основной спрос на продукции АО «СКДМ» сосредоточен из компаний, ведущих
разработку новых природных месторождения, предприятий топливно-энергетического
комплекса, различных северные поселения, а также предприятия строительной
отрасли и лесопромышленного комплекса.
В последнее время АО «СКДМ» старается поддерживать стабильные отношения с
компаниями, у которых закупаются необходимые для производства материалы.
Основное экономическое назначение предприятий заключается в производстве
товаров и (или) оказании услуг: приобретение необходимых материалов для
производства (затраты), которые в конечном итоге коммерциализируются в
результат. Высокая эффективность функционирование предприятия получена за счет
рациональной организации производственной, коммерческой и финансовой
деятельности. Эффективность данной рационализации показана и оценивается в
зависимости от вида деятельности , в соответствующих документах.
В текущее время экономическая модель производства и управления на АО
«СКДМ» направлена на повышение спроса продукции на рынке и непрерывного
освоения инноваций.
На данный момент можно считать, что АО «СКДМ» является современным
предприятием, имеющим на балансе НМА и постоянно стремящимся совершенствовать
свою продукцию и услуги, имеющее устойчивое место на Российском рынке, а так же
открывая для себя новые рынки и повышая потребительские свойства продукции.
.3 Общий
анализ деятельности компаний на рынке быстровозводимых зданий из
металлоконструкций за 2015 год
Проанализировав рынок продаж, документы службы Федеральной статистики за
2015 год, можно увидеть, что по сравнению с 2014 годом заметен крупный спад на
спрос продукции, в виде быстровозводимых зданий из металлоконструкций. По
данным Федеральной службы государственной статистики на 10.03.2016 г., объем
продаж быстровозводимых зданий составил в 2015 году -11 598 800 тысяч рублей,
по отношению к 2014 году, где объем продаж составил - 54 627 400 тысяч рублей.
Падение рынка быстровозводимых зданий составило 78,75%. Сравнение рынка продаж
представлены в таблице 1.
Таблица 1 - Сравнение рынка продаж быстровозводимых зданий за 2015 и 2014
года
|
Технология изготовления
|
Значение за 2015 год, тыс. руб.
|
Значение за 2014 год, тыс. руб.
|
|
Мобильные (инвентарные) здания и сооружения
|
3 665 856
|
16 335 000
|
77,5
|
|
Легкие металлические конструкции (ЛМК)
|
5 705 129
|
33 375 000
|
82,9
|
|
Легкие стальные тонкостенные конструкции (ЛСТК)
|
522 503
|
3 062 400
|
82,9
|
|
Каркасно-панельные конструкции (КПС-3С)
|
1 705 309
|
1 855 000
|
8,07
|
Разница в показателях из-за того, что остальные данные за 2015 год будут
опубликованы службой статистики только в июле 2016 года. Но за такой короткий
срок вряд ли компании смогут реализовать такое количество продукции, чтобы хотя
бы приблизиться к показателям как в 2014 году.
Спад спроса на производство в основном обусловлен введением санкций
против ключевых отраслей РФ. Крупные Российские компании, являющиеся основными
заказчиками, попавшие под влияние санкций: «НК «Роснефть», «Стройтрансгаз»,
«Новаток», «Сибур» были вынуждены отложить или вовсе приостановить реализацию
своих крупных инвестиционных проектов. Основными факторами торможения
инвестиционных проектов стали, введенные ограничения на кредиты за рубежом и
высокие процентные ставки по кредитам отечественных банков.
По оценкам экспертов падение рынка быстровозводимых зданий в 2015 году
составило почти 50%.
.4 Анализ
деятельности АО «СДКМ» на рынке быстровозводимых зданий из металлоконструкций
за 2015 год
Проанализировав годовой отчёт АО «СДКМ», можно сделать выводы, что кризис
на рынке быстровозводимых зданий из металлоконструкций повлиял и на
деятельность данного предприятия. Общий объём реализации продукции за 2015 год
упал на 68,9%, по отношение к 2014 году. В 2015 году было реализовано продукции
на 701 742,64 тыс. руб., а в 2014 году на 2 255 646,75 тыс. руб.
Проанализировав данные рисунков 4 и 5 можно увидеть, что основную часть
рынка продаж занимают блок-контейнеры. По сравнению с 2014 годом продажи
блок-контейнеров упали на 10%. Так же сильно изменился спрос на ЛМК (легкие
металлические конструкции), он вырос с 2% до 14%, выросла и реализация СМР
(сварные металлические конструкции) с 2% до 17%. Снизилась прочая реализация с
20% до 8% и реализация по технологии ПСК-3С (каркасно-панельные конструкции) с
8% до 3%. Следовательно, можно сделать вывод, что рынок быстровозводимых зданий
не постоянен и спрос на продукцию меняется каждый год.
Рисунок 4 - Реализация АО «СДКМ» по виду продукции и услуг за 2015 год
Рисунок 5 - Реализация АО «СДКМ» по виду продукции и услуг за 2014 год
.5 Конкуренты
АО «СДКМ»
Рынок быстровозводимых зданий в России на данный момент представляет
собой самостоятельную промышленную отрасль с развитой инфраструктурой проектных
институтов и сформировавшейся промышленной базой.
На сегодняшний день более 200 предприятий предлагают свои услуги в быстровозводимых
зданиях на основе металлоконструкций в качестве своей основной продукции, из их
около 20 крупных и средних компаний. Наибольшее число производителей
расположены в Центральном, Северо-Западном, Уральском и Сибирском регионах
(рисунок 6).
Основная конкуренция на рынке идёт между Российскими производителями.
Суммарная доля импорта в потреблении быстровозводимых зданий не превышает 1,2%.
Так же имеются тенденции к её сокращению. Ведущие зарубежные компании
переориентируются с поставок комплектов из-за границы, на развитие собственных
производственных мощностей на территории РФ, такие как Astron, Ruukki,
Containex.
Одним из главных критериев поставщика быстровозводимых зданий является
время нахождения его на рынке. Оценка построенных компанией объектов, учитывая
их сложность и использование интересных технических решений, наличие сервиса,
предоставление монтажа, гарантии - так же играю большую роль в борьбе на рынке.
Рисунок 6 - Распределение производителей по Федеральным округам
Крупные компании, лидеры данной отрасли, сосредотачивают весь
технологический процесс в одних руках: проектирование, изготовление,
комплектация, маркетинг, поставка и строительство. Ведущих производители
быстровозводимых зданий отличает комплексных подход к делу (изготовление
объектов), системность контроля на всех уровнях. Это не только экономит деньги
и время заказчика, но и такой подход обеспечивает производителю успешное
продвижение на рынке.
На рисунке 7 представлены все конкуренты Российского рынка производства
быстровозводимых зданий. Главным конкурентом АО «СКДМ» является ООО
«Контейнекс-Монолит». Так же из данной диаграммы видно, что основную часть
рынка занимают компании, которые имеют менее 1% и 3% на рынке.
Рисунок 7 - Доля компании на рынке быстровозводимых зданий
блок-контейнерного типа, в процентах
.6 Технология
получения резьбовых отверстий в раме блок-контейнера
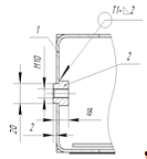
На данный момент на АО «СДКМ» при изготовлении поперечины рамы
блок-контейнера, показанной в приложении 1, применяемая технология делится на 2
ЦФО (Центра финансовой ответственности):
· изготовление поперечины изображено на рисунке 8. В поперечине
сверлится отверстие на радиально-сверлильном станке;
· изготовление втулки с резьбой изображено на рисунке 9. Из
круга заземления диаметром 25мм изготавливается втулка, затем в ней делается и
обрабатывается отверстие под резьбу, далее нарезается резьба метчиком.
После изготовления обоих элементов производится сварка поперечины с
втулки сварным швом Т1 катетом 2 мм по контуру; длина сварного шва 78,5 мм.
Конечная деталь представлена на рисунке 10.
В существующей технологии допустим брак из-за применения сварки. Во время
процесса сваривания поперечины с втулкой, при сильном нагреве, может появиться
дефект в резьбе или прожечься поперечина, имеющая толщину 2-5 мм. При обработке
и нарезании резьбы образуются отходы, которые затем нигде не используются, а
идут на утилизацию.
Рисунок 8- Поперечина рамы блок-контейнера
Рисунок 9 - Втулка заземления
Рисунок 10 - Поперечина рамы блок-контейнера с отверстием под болт
заземление
Проанализировав существующий процесс изготовления поперечины рамы
блок-контейнера можно сделать вывод, что данная технология затрудняет ведение
управленческого учёта, так как затруднено метрологическое обеспечение.
3. Инновационный
проект совершенствования технологии получения резьбовых отверстий: на основе
метода термического сверления
.1
Технологические преимущества метода термического сверления для получения
отверстий в металлоконструкциях
В каждом блок-контейнере используется такой элемент как рама панели
основания, представленная в приложении 1. Она является одним из главных
элементов основания и поэтому должна иметь высокие потребительские свойства.
Так же на поперечине рамы находится отверстие под болт заземления, что играет
важную роль в этой конструкции. Болт заземления имеет применение:
· рабочее. В промышленности заземляются точки токоведущих
частей электроустановок для создания нормальных условий работы.
Электробезопасность здесь не является целью. Рабочее заземление предназначено
для функционирования электрооборудования в аварийном режиме, когда происходит
пробой на корпус или повреждение изоляции. Так заземляют нейтраль генератора
или трансформатора;
· защитное. Заземление предназначено для защиты человека, чтобы
его не ударило электрический ток. Тело проводит электрический ток и обладает
большим сопротивлением. Удар током происходит не только в результате
прикосновения к токопроводящим элементам. При этом ещё должна образоваться
электрическая цепь. Она создаётся между землёй, в которую человек упирается
ногами, и оголённым проводником, находящимся под напряжением, с которым
происходит контакт.
При изготовлении поперечины рамы с болтом заземления необходимо учитывать
все условия эксплуатации блок-контейнера и его предназначения. В местах
отверстия заземления не должно быть сварки, так как сварные швы имеют свойство
корродировать при жёстких погодных условиях. Из-за этого потребительские
свойства рамы ухудшаются, а так же функции выполняемые болтом ухудшаются.
Именно поэтому немаловажную роль в производстве поперечины рамы с болтом
заземления играет способ её изготовления. А так же используемая на производстве
технология получения резьбового отверстия не позволяет вести управленческий
учёт, так как затруднено метрологическое обеспечение, такое как: измерение
израсходованного защитного газа, сварочной проволоки, электродов.
.2
Термическое сверление - как альтернатива лезвийной обработке
Для улучшения потребительских свойств рамы панели основания и облегчения
освоения управленческого учёта предлагается заменить технологию получения
резьбового отверстия в раме панели основания.
На рисунке 11 показана коническая часть инструмента Flowdrill из карбида вольфрама. Вращаясь с
большой скоростью и воздействуя с большой силой, направленной по оси,
инструмент проходит через листовой металл или тонкостенную трубу. Образуемое
тепло размягчает металл и позволяет сверлу продвигаться, создавая отверстие
(рисунок 12).
Рисунок 11 - Коническая часть Flowdrill
Рисунок 12 - Отверстие получение при помощи технологии Flowdrill
На рисунке 13 показано множество возможностей применения инструмента Flowdrill, увеличивается толщина стенок
резьбовых и сварных соединений. А - сверлильные отверстия, получаемые без
стружки и без сломанных свёрл. Б - плотные газовые соединения. В - Резьбовые
соединения с ободом вокруг отверстия. Г - резьбовые соединения (плоская
поверхность). Д - Подшипниковое или втулочное соединение. Е - водные
уплотнители + сварка давлением.
Рисунок 13 - Применение инструмента Flowdrill
Сверла Flowdrill могут использоваться как альтернатива пайке, запрессовке
и сварке для формирования резьбовых отверстий в тонколистовых металлах и
трубах.
3.3
Эксплуатационные характеристики оборудования Flowdrill
Данное оборудование используется для получения отверстий под резьбу в
тонколистовом металле и трубах. Его уникальным свойством является то, что его
можно установить на любой сверлильный или фрезерный станок, без покупки
дополнительного оборудования.
На рисунке 14 показано оборудование необходимое для модернизации станка:
) зажимной патрон МC3 (1);
) цанга d10 мм
для зажимного патрона MC3
(2);
) зажимная гайка (3);
) сверло Flowdrill d9,2 long/stand (4).
Рисунок 14 - Оборудование Flowdrill
. Стартовая фаза - относительно высокое осевое давление и частота
вращения требуется для получения теплоты в месте контакта сверла Flowdrill с
заготовкой. Температура Flowdrill быстро возрастает до 650-750С°, заготовки - до 600С°. Сила подачи повышается по мере
того, как наконечник входит в материал.
. Деформация материала - смещенный материал изначально стекает
против направления подачи, а при вхождении наконечника сверла материал движется
вниз в направлении подачи сверла. По мере того, как материал становится более
податливым, сила подачи понижается, а скорость подачи возрастает. Окончательный
размер и форма отверстия, сделанным сверлом Flowdrill определяются выбранным
диаметром и конической формой Flowdrill. Выдавливаемый материал принимает форму
уплотнительного кольца благодаря кромке сверла.
. Высокое осевое усилие:
· быстро вырабатывает тепло, создавая термическое напряжение
сверла;
· увеличивает силу подачи, уменьшает время сверления;
· снижает неблагоприятное воздействие на структуру материала.
Низкое осевое усилие:
· более медленное нагревание, снижение термического напряжения;
· более длительный нагрев и высокая рабочая температура сверла.
Величину диаметра сверла определяют такие значения как:
. Аксиальная сила (усиление) F ax(H) (рисунок 15).
Максимальная аксиальная сила пропорциональна диаметру сверла, как только
температура повышается, сила уменьшается, скорость подачи возрастает.
Максимальная толщина материала для резьбовых отверстий показана в приложении 2.
Рисунок 15 - Зависимость аксиальной силы от толщины металла
2. Число оборотов в минуту, смотри рисунок 16. От данной
характеристики зависит срок службы инструмента Flowdrill. Чем меньше частота оборотов, тем
дольше срок службы. Выбор скорости вращения зависит от толщины и типа
материала. Данные крутящих моментов показаны в таблице 2.
Рисунок 16 - Область оптимальной работы инструмента
Таблица 2 - Данные крутящих моментов и прочности на разрыв
|
Прочность на разрыв (кН) 1кН = 100кг Материал: сталь 3 (Fe 360) Толщина 1,0 - 5,0 мм
|
|
Толщина листа, h мм
|
Резьба М4
|
М5
|
М6
|
М8 S-short l-long
|
M10
|
M12
|
M16
|
M20
|
|
1,0
|
6s
|
10s
|
|
|
|
|
|
|
|
1,5
|
|
1.3s
|
1.6s
|
|
|
|
|
|
|
2,0
|
9s
|
15s
|
17s
|
|
|
|
|
|
|
3,0
|
|
|
15s
|
27s
|
521
|
671
|
97s
|
142s
|
|
4,0
|
|
|
|
371
|
681
|
861
|
1151
|
162s
|
|
5,0
|
|
|
|
451
|
|
1061
|
1411
|
>200s
|
3. Мощность P(кВт)
(рисунок 17).
Рисунок 17 - Оптимальная мощность
. Толщина материала (рисунок 18). Максимальная толщина материала
пропорциональна диаметру наконечника.
Рисунок 18 - Соотношение толщины материала и видов наконечников Flowdrill
Типы свёрл Flowdrill:
. Длинные (long)
сверла (рисунок 19(Д)). Длинное сверло имеет длинный параллельный стержень,
сверло такой формы создаёт цилиндрические отверстия по всей длине. Сверло
выдавливает материал и формирует уплотнительное отверстие рабочей поверхностью
кольцевого выпуска (приложение 3).
. Короткие (Short)
сверла (рисунок 19(А)). Короткое сверло имеет короткий параллельный стержень.
Это конструктивное решение создает отверстие конической формы и уплотняет его
(приложение 3).
. Короткое специальное сверло (рисунок 19(В)). Специальные размеры
необходимы для использования, когда длина проникновения сверла ограничена,
например, в трубке с маленьким диаметром.
. «Flat Flowdrill» - сверло с резцами (рисунок 19(Г)).
Сверла имеют два выступающих резца располагающиеся вместо шейки (приложение 3).
Они устраняют выступ сформированный на поверхности отверстий при проникновении
наконечника и формирует ровную поверхность.
. Наконечник с желобком «Rem Flowdrill»
(рисунок 19(Д)). Наконечник с выемкой его (приложение 3). Эта конструкция
сверла применена для материалов с покрытием: крашеные, анодированные или
оцинкованные стали, в зависимости от слоя покрытия. Так же применима для
использования в ручных дрелях, где снижена осевая сила или когда на заготовке
при обработке обычным сверлом Flowdrill образуется вмятина при твёрдых материалах.
. Плоские Rem
(рисунок 19(Е)). Сверло с комбинированным режущим желобком и фрезой (приложение
2).
Рисунок 19 - Виды сверл Flowdrill
. Сверла Flowdrill изготовлены из специального карбида. Это позволяет им сохранять
потребительские свойства при высоких температурах, но они чувствительны к
температурным перепадам. Нужно избегать местного охлаждения.
. Инструмент Flowdrill может не выдержать сильный механический удар. Их не следует бросать или
сильно ударять об заготовку.
. Следует избегать радиальной нагрузки.
. Важным параметром является устойчивость к крутящему моменту.
Слишком быстрое прикладывание крутящей нагрузки и большой скорости может
вызвать скопление усталостных напряжений. Подобное состояние может вызвать
деформацию.
. Нельзя сверлить незаконченное отверстие, возможно застревание
сверла.
. Потеря устойчивости из-за износа в шпинделе или цанговом патроне
станка может повлечь за собой брак, из-за неустойчивости сверла Flowdrill. Напряжение, вызванное из-за износа,
может повредить наконечник.
. Конечное качество сверла будет ухудшаться с износом наконечника Flowdrill.
. Регулярная смазка будет увеличивать срок полезного использования
инструмента.
. Температура сверла Flowdrill не должна превышать состояния темно-красного цвета.
. Скорость вращения и осевая нагрузка должны быть оптимальными,
следя за температурой Flowdrill.
. Потребительские свойства отверстия зависят от сопротивления
оказываемого материалом обрабатываемой детали на инструменте, так же от
покрытия заготовки.
. Своевременно устраняйте наращенный на сверло Flowdrill материал.
. Остановка сверления при проникновении в материал уменьшает срок
полезного использования инструмента Flowdrill.
. Защищайте инструмент Flowdrill и шпиндель сверлильного станка от перегрева.
3.4
Экономическое обоснование целесообразности освоения инновационного проекта
Для реализации данного инновационного проекта потребуются инвестиции в
размере 65870 руб., для покупки следующего оборудования:
· зажимной патрон МС3 (6-20мм) + 3 ключа в комплекте - 45642
руб.;
· цанга для зажимного патрона МС3 - 8816 руб.;
· сверло Flowdrill - 10512 руб. (ресурс сверла 10000 отверстий);
· смазка для метчика + кисточка в комплекте - 900 руб.
Технологические затраты на изготовления 1 отверстия по данным
«ГрондГрупп» составляют около 5 руб.
Затраты на инструмент и затраты на производство по используемой технологии:
· цена сверла диаметром 20 мм - 500 руб. (ресурс сверла 600
отверстий);
· цена сверла диаметром 9 мм - 100 руб. (ресурс сверла 600
отверстий);
· цена метчика - 600 руб. (ресурс метчика 600 отверстий).
Технологические затраты на изготовление 1 отверстия - 25 руб.
При выпуске в среднем 200 контейнеров в месяц, в каждом контейнере по 2
отверстия, годовые затраты составят 129600 рублей. При технологии Flowdrill в первый год затраты составят 90770
рублей, закупка оборудования и само изготовление отверстий. В последующие года
затраты будут составлять 36412 руб. Так как срок полезного использования
оборудования более 10 лет, кроме, наконечника, срок полезного использования
наконечника при выпуске 200 блок-контейнеров в месяц, 4800 блок-контейнеров в
год, составит 2 года. Период окупаемости проекта - 7 месяцев.
Так как инструмент Flowdrill имеет возможность получения резьбовых отверстий не только в
тонколистовых металлах, но и в трубах, профильных трубах на заготовках сложных
форм, при дальнейшем исследовании он может заменить некоторые другие технологии
получения резьбовых отверстий. Ещё одной функцией инструмента является пайка и
сварка, которая так же может применяться на производстве. Всё это может
привести к снижению материальных затрат, следовательно повышению оплаты труда,
и уменьшить срок окупаемости.
Данный проект будет реализован за счёт амортизационных фондов
предприятия. Графическая интерпретация структуры технологических затрат
изготовления рамы блок контейнера представлена на рисунке 20.
Рисунок 20 - Графическая интерпретация структуры технологических затрат
Графическая интерпретация структуры технологических затрат изготовления
рамы блок контейнера, после освоения инновации, представлена на рисунке 21.
Рисунок 21 - Графическая интерпретация структуры технологических затрат
после освоения инновации
Целью инновационного проекта было увеличения объёма реализованной
продукции на рынке, за счёт повышения потребительских свойств блок-контейнера,
а так же повышение оплаты труда, за счёт снижения материальных затрат. Из
сравнительного анализа структур технологических затрат можно сделать выводы,
что цель проекта была достигнута.
Заключение
В данной выпускной квалификационной работе был исследован теоретический
вопрос, касающийся инновационного и инвестиционного проекта, так же была
достигнута выдвинутая цель и решены все задачи.
Любой инновационный проект нацелен на решение задач предприятия,
заключающейся в повышении конкурентоспособности, увеличении объёма реализации
товаров и услуг на рынке, получение чистой прибыли. Решение задач возможно при
модернизации оборудования, использовании дополнительного оборудовании или
замене устаревшего оборудования, а так же освоении новых технологий,
позволяющих получать более конкурентоспособные товары и соответственно повышать
их рыночную стоимость.
Инновационных проект - это сложный процесс, имеющий множество аспектов.
Его основной целью является коммерциализация интеллектуальной деятельности человека.
Реализация инновационного проекта требует инвестиций, поэтому любой
инновационный проект является инвестиционным. Данный проект выпускной
квалификационной работы реализуется за счёт собственных средств.
Во второй главе раскрыта финансово-хозяйственная деятельность
предприятия, проведен ее анализ. Проведен анализ конкурентов на рынке и анализ
рынка в целом.
В третьей главе представлен сам инновационный проект. Был проведен анализ
существующей технологии, рассмотрены и обоснованы его недостатки. Для их
устранения предложено было заменить технологию изготовления поперечины рамы
блок-контейнера. Проведен сравнительный анализ финансовой эффективности.
В качестве объекта исследования выпускной квалификационной работы был
выбран АО «СКДМ», основным видом деятельности которого является производство
блок-контейнеров и строительство быстровозводимых зданий. Кроме того, АО «СКДМ»
является ведущим представителем рынка блок-контейнеров и быстро возводимых
зданий. Предметом исследования является процесс изготовления поперечины рамы
блок-контейнера. Основное противоречие заключается в том, что существующий
технологический процесс затрудняет вести управленческий учет, так как
затруднено метрологическое обеспечение. Для решения данной проблемы было
предложено заменить технологию.
Рассматриваемая инновация относится к инженерному бизнесу. Основные
инновационные параметры которого, являются прямые операционные затраты и объем
реализации продукции. Любой инновационный проект нацелен на получение дохода и
повышение потребительских свойств товаров и услуг.
Благодаря уникальности инструмента Flowdrill возможны дальнейшие исследования его
использования на данном предприятии в области получения отверстий в трубах,
профильных трубах, сложных элементах, а так же использование вместо сварки и
(или) пайки. Это позволит уменьшить срок окупаемости инструмента и использовать
все его функции.
В представленном инновационном проекте имеется секрет производства,
который в дальнейшем исследовании можно будет поставить на баланс как НМА (нематериальный
актив) в виде патента. Секрет производства заключается в изменении
технологического процесса. Исключается процесс накатывания резьбы в отверстии,
вместо этого в полученное отверстие вкручивается болт заземления, пока металл
не остыл.
Список использованных
источников
1. АО «СКДМ» [Электронный ресурс]: офиц. сайт. - Режим
доступа: #"907846.files/image022.gif">
Чертёж рамы панели основания
Чертёж рамы панели основания

Чертёж рамы
панели основания
Приложение 2
Зависимость рабочей части наконечника от толщины металла
|
Резьба
|
Диаметр рабочей части сверла Flowdril, мм
|
Максимальная толщина материала, мм
|
Диаметр хвостовой части Flowdril, мм
|
Полная длина рабочей части
|
|
|
Shot
|
Short/Flat
|
Long
|
Long/Flat
|
|
Short
|
Long
|
|
М2 М2,5 М3 М4 М4х0,5
|
1,8 2,3 2,7 3,7 3,8
|
1,6 1,6 1,7 1,8 1,8
|
1,8 1,9 2,0 2,2 2,2
|
2,2 2,3 2,4 2,6 2,6
|
3,2 3,5 3,7 4,2 4,2
|
6 6 6 6 6
|
5,8 6,1 67 8,1 8,2
|
7,8 8,1 8,7 10,3 10,5
|
|
М5 М5х0,5 М6 М6х0,75 М6х0,5
|
4,5 4,8 5,3 5,6 5,8
|
2,4 2,4 2,5 2,5 2,6
|
2,7 2,7 2,9 2,9 3,0
|
4,6 4,7 5,0 5,0 5,2
|
6 6 6 6 6
|
9,2 9,6 10,3 10,8 11,2
|
11,8 12,4 13,5 14,2 14,7
|
|
М8 М8х1 М8х0,75 М10 М10х1,25
|
7,3 7,5 7,6 9,2 9,3
|
2,2 2,3 2,3 2,6 2,6
|
2,9 2,9 2,9 3,2 3,3
|
3,3 3,4 3,4 3,7 3,7
|
5.9 6.0 6.0 6.6 6.7
|
8 8 8 10 10
|
13.5 14.0 14.1 16.8 17.0
|
18.1 18.7 18.8 22.5 22.8
|
|
М10х1 Мх12 М12х1,5 М12х1 М14
|
19,5 10,9 11,2 11,5 13,0
|
2,6 2,8 2,8 2,9 3,0
|
3,3 3,5 3,6 3,6 3,9
|
3,8 4,0 4,1 4,2 4,5
|
6,7 7,2 7,3 7,3 7,9
|
10 12 12 12 14
|
17,3 19,8 20,3 20,8 23,5
|
23,2 26,4 27,1 27,8 31,3
|
|
М14х1,5 М16 М16х1,5 М18 М 18х1
|
13,2 14,8 15,2 16,7 17,5
|
3,1 3,3 3,4 3,5 3,7
|
4,0 4,2 4,3 4,6 4,8
|
4,6 4,8 4,9 5,2 5,6
|
8,0 8,5 8,7 9,2 9,5
|
14 16 16 18 18
|
23,8 26,9 27,6 30,4 31,9
|
31,6 35,4 36,4 39,7 41,5
|
|
М20 М20х1,5 М20х1 G1/16 G1/8
|
18,7 19,2 19,5 7,3 9,2
|
3,8 3,9 3,9 2,3 2,6
|
5,0 5,1 5,2 2,9 3,2
|
5,7 5,8 5,8 3,3 3,7
|
9,9 10,0 10,0 5,9 6,6
|
18 18 18 8 10
|
34,1 35,1 35,6 13,5 16,8
|
44,3 45,5 46,2 18,1 22,5
|
|
G1/4 G3/8 G1/2 G3/4
|
12,4 15,9 19,9 25,4
|
2,9 3,4 4,0 4,8
|
3,8 4,5 5,2 6,2
|
4,3 5,0 5,9 7,0
|
7,8 8,9 10,0 10,4
|
12 16 18 20
|
22,4 28,9 36,3 46,4
|
29,8 37,9 47,0 59,6
|
|
|
|
|
|
|
|
|
|
|
Приложение 3
Виды отверстий в зависимости от наконечника Flowdrill