Перспективы повышения эффективности обеспечения питьевой водой потребителей города Дзержинский Московской области
ВВЕДЕНИЕ
Вода играет важную роль в жизни человека, так как наш организм состоит на
90% из воды. Поэтому обеспечение потребителей чистой, доброкачественной водой
имеет большое гигиеническое значение, а именно - позволяет предохранить от
различных заболеваний, передаваемых через воду. В связи с этим к воде питьевого
качества предъявляются высокие санитарные требования.
Водоснабжение представляет собой комплекс инженерных сооружений и
устройств, обеспечивающих получение воды из природных источников, ее очистку до
надлежащего качества, транспортирование и подачу потребителям для
удовлетворения различных потребностей.
Снабжение населения многих регионов России качественной питьевой водой,
отвечающей санитарно-гигиеническим требованиям, является в настоящее время
острейшей проблемой. Это связано с тем, что практически 70% рек и озёр России
утратили свои качества, как источники водоснабжения. В подземных водах также
отмечено превышение содержания различных химических веществ, которые без
предварительной очистки могут серьезно повлиять на здоровье людей. Ущерб от
загрязнения водных источников оценивается в сотни миллиардов рублей. В то же
время примерно 40% действующих сооружений питьевого водоснабжения находится на
крайне низком уровне эксплуатации, это связано с износом оборудования.
Например, в городе Дзержинский Московской области, водоснабжение
осуществляется за счет подземных вод с повышенным содержанием железа и фтора.
Известно, при употреблении воды в питьевых целях с содержанием железа выше
нормы, т.е. более 0,3 мг/л, это может привести к различным заболеваниям печени,
ухудшению состояния центральной нервной системы, аллергическим реакциям и к
увеличению риска инфарктов. А также повышенное содержание железа в воде
ухудшает состояние водопроводной сети. При повышенном содержании фтора в
питьевой воде, т.е. более 1,5 мг/л, у населения развивается флюороз, нарушение
окостенения скелета и истощение организма. Поэтому, прежде чем вода поступит
потребителю, она должна соответствовать требованиям СанПиН 2.1.4.1074-01 [1].
Целью выпускной квалификационной работы является повышение эффективности
обеспечения питьевой водой потребителей города Дзержинский Московской области,
на примере нового строящегося микрорайона Школьный.
Для этого необходимо решить следующие задачи:
) рассмотреть и проанализировать объект исследования;
) рассмотреть существующие метода обезжелезивания и обесфторивания и
выделить их недостатки;
) определить водопотребность потребителей микрорайона Школьный с учётом
перспективного развития на 2026 год;
) рассчитать технико-экономические показатели возможных вариантов
водоснабжения и выбрать наиболее выгодный вариант;
) разработать технологическое решение водообеспечения с применением более
новых, экономически обоснованных технологий.
) изучить технику безопасности при работе с малыми напряжениями и влияние
повышенного содержания фтора и железа на организм человека.
Объектом работы является новый микрорайон Школьный города Дзержинский, а
предметом - система водоснабжения.
В данной выпускной квалификационной работе использовались методы
исследования, анализа и сравнения.
1. ХАРАКТЕРИСТИКА ГОРОДА ДЗЕРЖИНСКИЙ МОСКОВСКОЙ
ОБЛАСТИ
.1 Социальная инфраструктура
Дзержинский - город областного подчинения в Московской области, к
юго-востоку от Москвы, единственный населённый пункт муниципального образования
«Городской округ Дзержинский».
Дзержинский расположен на реке Москва. Является городом-спутником Москвы,
граничит с ней, отделяясь от неё Московской кольцевой автодорогой (МКАД). Также
Дзержинский граничит с городами Котельники и Лыткарино. Ближайшая
железнодорожная станция - Люберцы-1, расстояние до города Люберцы-4 километра.
В Дзержинском есть железнодорожная станция (грузовая) без электрификации от
станции Яничкино.
История города тесно связана с Николо-Угрешским монастырём, который был
основан Дмитрием Донским в 1380 году в честь победы на Куликовом поле.
На месте нынешнего города располагались деревни Алексеевка, Гремячево,
Денисьево и Кишкино.
В 1920-х годах монастырь был закрыт, а в его стенах образована детская
трудовая коммуна для беспризорников, которая получила название «Коммуна имени
Дзержинского».
В 1938 году коммуна получила официальный статус посёлка городского типа.
Посёлок активно развивался, в 1956 году началось строительство одной из
крупнейших в стране теплоэлектроцентралей - ТЭЦ-22. Рядом с монастырскими
стенами на месте деревень Гремячево, Денисьево и Кишкино выросли современные
многоэтажные жилые кварталы.
В 1981 году рабочий посёлок Дзержинский получает статус города районного
подчинения в составе Люберецкого района Московской области.
В 1996 году Дзержинский получил статус города областного подчинения.
Градообразующие предприятия Дзержинского являются ТЭЦ-22 - филиал
«Мосэнерго», который считается крупнейшей в России и Европе теплоэлектроцентралью.
ФГУП «Союз» ведущее предприятие России в области создания твердых ракетных
топлив, зарядов и корпусов из полимерных композиционных материалов, а так же
Дзержинский промышленно - строительный филиал ОАО «Мосэнергострой». В городе
зарегистрировано более 1000 малых предприятий различных форм собственности.
Среди городов Московской области с населением до 100 тысяч жителей, Дзержинский
занимает первое место по объему промышленного производства [2].
Население города Дзержинский на январь 2016 года составило 51955 человек,
площадь 1566 га.
Город состоит из нескольких микрорайонов: Центральный, Гремячевский,
Донской, Заводской, Лермонтовский, Лесной, Пушкинский, Спортивный, Томилинский.
В настоящее время строится новый микрорайон Школьный.
В настоящее время, на территории строящегося микрорайона Школьный
расположены: больница на 120 коек, гостиницы на 530 мест, средние школы на 870
мест, детские сады на 480 мест, спортивные комплексы с бассейнами на 460 мест,
три моечных площадки, котельная, пекарня, деревообрабатывающее предприятие и
столярно-плотницкая мастерская.
1.2 Природно-климатические условия
Город Дзержинский находится на территории Московской области. Климат
Московской области умеренно континентальный.
Среднегодовая температура воздуха исследуемой территории равна 4,8° С.
Самый теплый месяц года - июль, средняя температура его 17,9° С, абсолютный
максимум 35° С. Самый холодный месяц года - январь - февраль, со средней
температурой - (- 8,1° С), абсолютный минимум - (- 35° С). Годовая сумма осадков
составляет 656 мм, в том числе за теплый период года, с апреля по октябрь - 437
мм, за холодный период, с ноября по март - 219 мм. Максимум осадков выпадает в
июле 76 мм, минимум в феврале, марте 36,37 мм. Относительная влажность воздуха
в течение года повышенная и только в период с мая по июнь она снижается до
54-56% [3]. Скорость ветра имеет сезонную сменность. Наибольшая скорость ветра
и порывы ветра наблюдается в холодный период года. Зимние ветры имеют более
высокую среднюю скорость 2,2-2,1 м/с по сравнению с летними 1,3-1,5 м/с.
Среднегодовая скорость ветра равна 1,8 м/с. В течение всего года, с перевесом в
зимние месяцы, преобладают ветры юго-западных направлений 18-26%, среднегодовая
повторяемость которых составляет 21%. На втором месте по частоте повторяемости
стоят западные ветры 17%. Кроме того, летом по сравнению с зимой увеличивается
повторяемость ветров северо-западных 16-18% и северных направлений 11-12%. По
физиолого-климатическим условиям, данная территория относится к району,
являющемуся типичным для умеренных широт. Здесь отмечается продолжительный
период с переохлажденным воздухом 74% от числа дней в году, когда отрицательные
температуры сопровождаются повышенными скоростями ветра около 3 м/с. Условия
теплового комфорта наблюдаются в 20% случаев от числа дней в году. В целом
территория характеризуется умеренными показателями температуры воздуха,
преобладают ветры небольшой скорости, влажностный режим находится в зоне
комфорта, количество осадков изменяется по сезонам года: большее количество
осадков выпадает в летне-осенний период [4].
подземный
вода фтор скважина
1.3 Инженерно-геологические условия
Город Дзержинский расположен на левом берегу реки Москвы на первой,
второй и третьей надпойменных террасах и части Котельниковского - Лыткаринской
возвышенности.
Первая и вторая надпойменные террасы имеют локальное распространение в
восточной части города, в районе Восточной промзоны. Поверхность террас
характеризуется абсолютными отметками 121,0-132,5 м с уклоном в юго-восточном
направлении. Третья надпойменная терраса прослеживается вдоль поймы практически
на всем ее протяжении. Поверхность - наклонная, с абсолютными отметками
132,5-150,0 м. Уклон поверхности, величиной до 5 - 8°, направлен к руслу реки Москвы.
Котельниковско-Лыткаринская возвышенность оконтуривается горизонталью
150,0 м и служит водоразделом между рекой Москвой и ее левым притоком - рекой
Пехоркой. К юго-востоку от границ города долины обеих рек сливаются, образуя
обширные морфометрические поверхности. Место слияния реки Москвы и реки Пехорки
находится на расстоянии порядка 20,0 км вниз по течению Москвы - реки.
Юго-западные склоны возвышенности интенсивно изрезаны балками и оврагами и
круто поднимаются на высоту до 40,0 - 50,0 м. Северо-восточные склоны менее
расчленены и полого снижаются к Мещерской низменности. Максимальные отметки
поверхности Котельниковско-Лыткаринской возвышенности в черте города составляют
около 185,0 м. В границах рассматриваемой территории прослеживаются два оврага,
долины которых раскрываются в пойму реки Москвы. Овраги имеют крутые склоны
высотой 20,0-30,0 м, поросшие древесной, кустарниковой и травяной
растительностью.
Естественный рельеф поверхности Котельниковском-Лыткаринской
возвышенности нарушен в результате хозяйственной деятельности, включающей,
прежде всего, разработку карьеров по добыче формовочного песка, устройство дамб
по дну карьеров, образование отвалов породы, подсыпку территории [5].
1.4 Сведения об источнике водоснабжения
Основным источником водоснабжения города являются подземные воды.
Добыча подземных вод для целей централизованного водоснабжения
осуществляется из одиннадцати артезианских скважин. Скважины сгруппированы на
территории четырех водозаборных узлов (далее - ВЗУ) по 2-4 в каждом и
располагаются на семи отдельно стоящих площадках, расстояние между ВЗУ
составляет 1,2-1,3 км.
Вода из артезианских скважин насосами типа ЭЦВ подается в два резервуара
чистой воды. Далее отстоянная вода насосами второго подъема подается на группу
фильтров и далее по водоводу в городскую водопроводную сеть. Также в городе
имеется станция обезжелезивания, которой требуется реконструкция.
Можно сделать вывод, что вода с повышенным содержанием железа и фтора
поступает потребителям города.
2. АНАЛИТИЧЕСКИЙ ОБЗОР ИСТОЧНИКОВ ИНФОРМАЦИИ ПО МЕТОДАМ ОБЕЗЖЕЛЕЗИВАНИЯ И
ОБЕСФТОРИВАНИЯ ПОДЗЕМНЫХ ВОД
2.1 Методы обезжелезивания подземных вод
Существует много различных методов обезжелезивания подземных вод. По
классификации Г. И. Николадзе их можно разделить на две основных группы:
безреагентные и реагентные. Реагентные методы используются для обезжелезивания
поверхностных вод. Для удаления из подземных вод соединений железа в России и
странах СНГ получили распространение преимущественно безреагентные методы.
Из них наиболее перспективными являются: вакуумно-эжекционная аэрация с
фильтрованием через загрузку большой грязеёмкости; упрощенная аэрация с
одноступенчатым или двухступенчатым фильтрованием; «сухая» фильтрация;
фильтрование на каркасных фильтрах; фильтрование в подземных условиях с
предварительной подачей в пласт окисленной воды или воздуха [6].
Безреагентные методы обезжелезивания могут быть применены, когда исходная
вода характеризуется: рН - не менее 7; щелочностью - не менее 1,5 мг-экв/л;
содержанием углекислоты - до 80 мг/л и сероводорода до 2 мг/л; перманганатная
окисляемость - не более 9,5 мг/л.
При этом при содержание железа (III) не более 10% от общего и
концентрации железа (II) в бикарбонатной или карбонатной форме до 3 мг/л
рекомендуется метод фильтрования на каркасных фильтрах без вспомогательных
фильтрующих средств; до 5 мг/л предпочтительно применять метод «сухой»
фильтрации; от 5 до 10 мг/л следует использовать метод упрощенной аэрации с
одноступенным фильтрованием; от 10 до 20 рекомендуется аэрация и
двухступенчатое фильтрование; от 10 до 30 мг/л применяется вакуумно-эжекционная
аэрация с фильтрованием через загрузку большой грязеемкости.
При концентрации углекислого или карбонатного железа (II) более 20 мг/л
или при содержании сероводорода 1-5 мг/л, рН не менее 6,4 рекомендуется метод
вакуумно-эжекционной аэрации с последующим отстаиванием в тонком слое воды или
обработкой в слое взвешенного осадка и фильтрование.
Обезжелезивание воды катионированием целесообразно лишь в тех случаях,
когда одновременно с обезжелезиванием требуется умягчение воды, при этом ионным
обменом могут быть лишь извлечены ионы железа (II) [7].
Сущность метода «сухой» фильтрации (рисунок 2.1) заключается в
фильтровании воздушно-водяной эмульсии через «сухую» (незатопленную) зернистую
фильтрующую загрузку путем образования в ней вакуума или нагнетания больших
количеств воздуха с последующим отсосом из поддонного пространства. В обоих
случаях в поровых каналах фильтрующей загрузки образуется турбулентный режим
движения смеси, характеризующийся завихрениями и противотоками, что
способствует молекулярному контакту воды с поверхностью зерен контактной массы.
При этом на зернах фильтрующей загрузки формируется адсорбционно-каталитическая
пленка из соединений железа (и марганца, если он присутствует в воде), повышая
эффективность процессов деманганации и обезжелезивания.
Особенностью процесса является образование дегидратированной пленки на
зернах загрузки (песок, керамзит, антрацит, винипласт, пористирол,
полиметилметакрилат и другие), состоящей, как показали рентгенографические определения,
из магнетита, сидерита, гетита и гематита. Указанные соединения имеют плотную
структуру, а объем их в 4-5 раз меньше, чем гидроксида железа. Поэтому темп
прироста потерь напора в фильтрующей загрузке при напорном фильтровании по
методу «сухой» фильтрации чрезвычайно мал, а продолжительность фильтроцикла
велика (от нескольких месяцев до года и более). Характерными особенностями
процесса являются: минимальный период «зарядки» фильтрующей загрузки, т.е.
образование на поверхности зерен активной адсорбционной пленки, составляющий от
0,3 до 2 ч; повышение рН и некоторое снижение жесткости фильтрата; высокая
грязеёмкость загрузки; отсутствие промывных вод (загрузка отмывается от
соединений, железа 0,5-1%-ным раствором дитианита или заменяется на новую,
можно отмывать 5-10%-ным раствором ингибированной: соляной кислоты). В
фильтрате обычно наблюдается железо (II) и следы железа (III) [8].
Рисунок 2.1 - «Сухая» фильтрация: 1 - скорый фильтр; 2 - компрессор; 3 -
ввод хлора; 4 - отвод воды к потребителю
Метод упрощенной аэрации с двухступенчатым фильтрованием (рисунок 2.2)
предпочтительно применять в напорном варианте. Сущность процесса аналогична
рассмотренной выше. В самом начале процесса обезжелезивания при поступлении на
фильтр первых порций воды, когда загрузка еще чистая, адсорбция соединений
железа на ее поверхности происходит в мономолекулярном слое, т.е. имеет место
физическая адсорбция, обусловленная силами притяжения между молекулами
адсорбата и адсорбента (поверхность твердого тела - адсорбента насыщается
молекулами адсорбата). После образования мономолекулярного слоя процесс
выделения соединений железа на зернах песка не прекращается, а наоборот,
усиливается вследствие того, что образовавшийся монослой химически более
активен, чем чистая поверхность песка. Электронно-микроскопические исследования
пленки показали, что она состоит из шаровых молекул гидроксида железа и других
соединений, как железа (III), так и железа (II). Количество связанной воды в
пленке достигает 20%. Величина истинной поверхности пленки составляет не менее
200 м2/г [9].
Адсорбционные свойства пленки из соединений железа на зернах фильтрующей
загрузки, высокая ее удельная поверхность и наличие большого количества
связанной воды позволяют сделать, вывод, что пленка представляет собой очень
сильный адсорбент губчатой структуры. Одновременно пленка является
катализатором окисления поступающего в загрузку железа (II). В связи с этим
эффект очистки воды зернистым слоем несравненно выше, чем это могло быть в
гомогенной среде.
Для катализатора такого типа некоторые вещества, находящиеся в воде
(аммиак, сероводород, свободная углекислота, коллоидная кремнекислота),
являются «ядами». Молекулы этих веществ имеют по паре свободных электронов,
которые могут участвовать в образовании ковалентных связей с поверхностью
катализатора, что при значительных концентрациях этих соединений приводит к
понижению его активности.
Рисунок 2.2 - Упрощенная аэрация с двухступенчатым фильтрованием: 1 -
подача исходной воды; 2 - бак-аэратор; 3 - насос; 4 - скорый фильтр; 5 - скорый
фильтр II ступени; 6 - ввод хлора; 7 -
водонапорная башня; 8 - отвод воды к потребителю
Метод фильтрования на каркасных фильтрах (рисунок 2.3) следует применять
для обезжелезивания воды на установках производительностью до 1000 м3/сут.
Сущность обезжелезивания воды по рассматриваемому методу заключается в том, что
железо (II) после окисления переходит в осаждающееся железо (III). Гидроксид
железа, формирующийся в нижней части аппарата, намывается на патрон. При этом в
начале процесса решающую роль играет различие в зарядах керамического патрона,
хлопьев гидроксида железа и ионов железа (II). Нарастающий на патроне слой
гидроксида железа служит контактным материалом для новых постоянно намываемых
агрегатов, при этом происходят как физические, так и химические процессы.
Патрон служит только опорным каскадом для фильтрующего слоя гидроксида железа.
При обезжелезивании природных вод на патронных фильтрах первой стадией
процесса является фильтрование с постепенным закупориванием пор фильтрующей
перегородки. Эта стадия заканчивается по достижении определенного соотношения
объема твердых частиц, задержанных в порах, к объему самих пор, после чего
наступает вторая стадия - фильтрование с образованием первоначального слоя
осадка. На этом заканчивается процесс зарядки фильтра и начинается фильтрование
с целью обезжелезивания воды.
Рисунок 2.3 - Обезжелезивание на каркасных (патронных) фильтрах: 1 -
компрессоры с ресиверами; 2 - трубчатый колодец; 3 - смеситель; 4 - дозатор; 5
- каркасный (патронный) фильтр; 6 - отвод фильтрата; 7 - подача промывной воды;
8 - спуск в канализацию; 9 - выпуск регенерационного раствора
Сущность метода аэрации с использованием вакуумно-эжекционных аппаратов
(рисунок 2.4) заключается в окислении кислородом воздуха железа (II) в окисное
с образованием коллоида гидроксида железа, его коагулировании при рH = 6,8…7 и выделении в осадок в виде
бурых хлопьев. При контакте воды, содержащей железо(II), с воздухом кислород растворяется в воде, окислительный
потенциал системы повышается, и если при этом создать условия для удаления
части растворенной углекислоты, то рН системы возрастет до значения,
обеспечивающего при данном окислительном потенциале выпадение в осадок
гидроксида железа (III).
Рисунок 2.4 - Вакуумно-эжекционная аэрация и фильтрование: 1 - подача
воды; 2 - вакуумно-эжекционный аппарат; 3 - скорый каркасно-засыпной фильтр; 4
- отвод воды потребителю
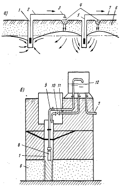
Метод удаления железа из подземных вод непосредственно в водоносном
пласте, известный под названием «Виредокс» или «Гидрооксиринг». Схема
представлена на рисунке 2.5
Сущность метода заключается в создании вокруг забойной части скважины
окислительной зоны путем закачки воды, обогащенной кислородом воздуха. Вода
может подаваться как непосредственно в водозаборную скважину, так и в
специальные поглощающие скважины, располагаемые в близости от нее. Процесс
эксплуатации скважины рассчитан на чередование циклов закачки в пласт
питательной воды и отбора обезжелезенных подземных вод. Аэрированной воды, как
правило, оказывается недостаточно. Поэтому сначала производится как бы
подготовка водоносного пласта или так называемая «зарядка», включающая
многократное повторение циклов закачки аэрированной воды, отбора ее и частично
обезжелезенной воды из пласта. После этого начинается эксплуатация установки
обезжелезивания подземных вод, которая также сводится к последовательному
выполнению операций по закачке в пласт питательной воды и отбору обезжелезенных
подземных вод [7].
Очевидно, что рассматриваемый метод имеет большие достоинства с точки
зрения снижения, как удельных капитальных вложений, так и эксплуатационные
затрат. Однако эффективная его реализация непосредственно в водоносном пласте
зависит от ряда факторов: глубины скважины, степени закольматированности
фильтра, наличия запаса мощностей на водозаборе, величины дебита скважины,
гидрогеологических условий, гидрохимических показателей котируемой воды,
скорости кольматации прифильтровой зоны фильтра и др. Указанные факторы
значительно снижают возможность широкого применения метода. В последнее время
он рассматривается как временная мера, предпринимаемая до ввода в устойчивую
эксплуатацию наземной станции (установки) обезжелезивания.

Рисунок 2.5 - Схемы очистки подземных вод в пласте: а - система
«Гидрооксиринг»; б - односкважинная установка; в - многоскважинная; 1 -
вспомогательная скважина; 2 - трубопровод; 3 - устройство для аэрации воды; 4 -
кольцевой инфильтрационный бассейн; 5 - эксплуатационная скважина; 6 - зона
аэрации; 7 - отвод воды потребителю; 8 - насос; 9 - трубопровод подачи воды в
сборную емкость; 10 - эжектор; 11 - трубопровод подачи воды из сборной емкости
в скважину; 12 - сборная емкость
2.2 Методы обесфторивания подземных вод
Обесфторивание воды является одним из относительно сложных и дорогих
методов водоподготовки. Поэтому, несмотря на то, что природные воды с
повышенным содержанием фтора имеют значительное распространение, число
действующих установок по обесфториванию воды относительно не велико. Это
объясняется тем, что гигиенисты лишь недавно стали предъявлять жесткие
требования к содержанию фтора в питьевой воде.
Метод обесфторивание воды сильноосновными катионитами и анионитами
целесообразен при его одновременном опреснении. Очевидно, что в современных
условиях ионообменный метод обесфторирования воды с применением сильноосновных
ионитов не может иметь самостоятельного значения по экономическим соображениям.
Он может быть рекомендован только для случая обработки воды в целях
одновременного обессоливания и удаления фтора. Первоначально обрабатываемая
вода поступает на напорные фильтры, загруженные активированным углем,
назначение которых извлекать органические вещества из обрабатываемой воды для
сохранения обменной ёмкости ионнообменников. Затем вода передается в
водород-катионитовые фильтры, загруженные сильноосновным катионитом КУ-2,
которые служат для извлечения из воды катионов. Образующийся в процессе
водород-катионирования диоксид углерода в результате распада бикарбонатов
удаляется в дегазаторе. После удаления углекислоты вода собирается в
промежуточном резервуаре, откуда насосами подается на группу анионитовых
фильтров, загруженных сильноосновным анионитом. Здесь помимо удаления из воды
анионов сильных кислот происходит задержание фтора. Технологическая схема
заканчивается буферным натрийкатионитовым фильтром, который сглаживает возможные
проскоки на предыдущих ступенях обработки и поддерживает постоянное значение
величины рН в фильтрате. Регенерация фильтров с загрузкой из активного угля и
анионита производится едким натром. Водород-катионитовые фильтры регенерируются
раствором соляной кислоты. Из изложенного видно, что технологическая схема
отличается громоздкостью, сложностью реагентного хозяйства, чем объясняется
ограниченность её применение [9].
Контактно-сорбционный метод обесфтроривания природной воды. НИИ КВОВ АКХ
предложен контактно-сорбционный метод обесфторивания природных вод. Коагулянт
вводят в воду непосредственно перед контактными осветлителями (рисунок 2.6). В
первоначальный период 1,5-2,0 ч подается повышенная доза коагулянта 100-150
мг/л по Al2O3. При этом на зернах и в порах загрузки образуется гидроксид
алюминия, который впоследствии сорбирует фтор. В этот период - период
"зарядки" фильтрат, содержащий большое количество ионов фтора и
алюминия, отводят в специальную емкость для последующего использования в качестве
промывных вод. После "зарядки" дозу коагулянта снижают до 20-25 мг/л,
что обеспечивает эффективное извлечение фтора за счет сохранения сорбционной
способности гидроксида алюминия. Процесс дефторирования воды можно осуществлять
и без "зарядки" при постоянной дозе коагулянта, величина которой
определяется качеством исходной воды. Контактно-сорбционное обесфторивание
приемлемо при обработке вод, содержащих фтор до 5 мг/л, сероводород до 2 мг/л,
щелочность до 6 мг-экв/л. На 1 мг удаляемого фтора расходуется около 80 мг
сульфата алюминия. При этом происходит резкая потеря напора в толще фильтрующей
загрузки. Продолжительность фильтроцикла длится от 4 до 6 часов. Снижение дозы
сернокислого алюминия после 2-3 часов "зарядки" приводит к быстрому
возрастанию содержания ионов фтора в фильтрате. Высокая щёлочность
обрабатываемых вод и преимущественное образование гидроксида алюминия требует
введения высоких доз коагулянта и малую продолжительность фильтроцикла.
Подкисление превышает эффективность контактно-коагуляционного метода
дефторирования, однако требует расхода большого количества кислоты, организации
дополнительного реагентного хозяйства и работы с дефицитными и небезопасными в
эксплуатации кислотами. Кроме того, обслуживание дефторирующих установок
осложнено двухступенчатым дозированием алюмосодержащего коагулянта и длительным
периодом "зарядки" фильтрующей загрузки с отведением большого
количества обработанной воды [11].
Рисунок 2.6 - Технологическая схема обесфторивания воды методом
контактной коагуляции: 1 - скважина; 2 - смеситель; 3 - контактный осветитель;
4 - насос; 5 - резервуар для сбора первого двухчасового фильтрата; 6 -
резервуар-отстойник; 7 - резервуар чистой воды; 8 - отвод обесфторенной воды
Дефторирование воды на магнезиальных сорбентах. Исследованиями по сорбции
фтора на магнезиальных сорбентах, проведенными во ВНИИ ВОДГЕО, установлено, что
удаление фтора-иона происходит за счет образования на поверхности твёрдой фазы
растворимых оксифторидов магния. Ёмкость поглощения по фтору при скорости
фильтрования 3 м/ч составляет 0,9 мг фтора на 1 г магнезиального сорбента.
Отработанный сорбент регенерируют 1% раствором едкого натра, но в результате
регенерации магнезиальные сорбенты лишь частично восстанавливают свою первоначальную
ёмкость по фтору, что требует частой замены сорбента свежим материалом и,
следовательно, ведет к значительному удорожанию обесфторивания воды [12].
Метод обесфторивания воды активированным углём. Попытки обесфторивания
воды активированным углём БАУ, КАД, СКТ и активированным углём, пропитанным
солями алюминия, предпринимаются уже давно. Однако исследования показали, что
активированные угли обладают низкой сорбционной ёмкостью по фтору. Сорбция
фтор-иона на активированных углях протекает лишь в кислой среде (рН = 3,0-3,5).
Обработка активированного угля ализориновоциркониевым лаком или солями алюминия
позволяет увеличить количество поглощенного фтора на 20-40%, но их сорбционная
ёмкость полностью не восстанавливается при регенерации.
Дефторирование воды активированным оксидом алюминия обеспечивает
наилучшие результаты по удалению фтора из подземных вод. Зернистый
активированный оксид алюминия является наиболее дешевым сорбентом, простым в
изготовлении и емким по поглощению фтора. При фильтровании обрабатываемой воды
со скоростью 5-7 м/ч через зернистый активированный оксид алюминия происходит
поглощение фтора сорбентом в результате обмена сульфат-ионов на фтор-ионы. В
начале фильтроцикла содержание фтора в фильтрате близко к нулю. С течением
времени поглотительная способность уменьшается и при достижении 1,5 мг/л
рабочий цикл обесфторивания воды прекращается, так как сорбент нуждается в
регенерации. Регенерация сорбента производится пропуском через него раствора
едкого натра или сульфата алюминия. В процессе регенерации из сорбента
вытесняется поглощенный им фтор. После регенерации сорбент отмывается водой для
удаления продуктов регенерации и не прореагировавшего реагента [13].
В процессе обесфторивания воды в результате ионного обмена происходит
увеличение концентрации в фильтрате сульфатных ионов. Количественно это
увеличение эквивалентно уменьшению концентрации суммы ионов фтора и
бикарбонатных ионов. Известно, что содержание сульфатов в питьевой воде
регламентируется. Согласно ГОСТ 2874-82 [16], оно не должно превышать 500 мг/л.
Поэтому увеличение содержания сульфатов при обесфторивании воды необходимо
учитывать при проектировании и расчете комплексов по улучшению качества воды.
Основными технологическими сооружениями рассматриваемого метода
обесфторивания воды (рисунок 2.7), являются скорые напорные или открытые
фильтры, загруженные зернистым активированным оксидом алюминия. Помимо фильтров
установка по удалению фтора из воды должна иметь реагентное хозяйство для
приготовления регенерационных растворов, баки для хранения воды, необходимой
для взрыхления и отмывки сорбента [9]. Рисунок 2.7 - Технологическая схема
дефторирования воды фильтрованием через активированный оксид алюминия:
- насос; 2 - резервуар промывных вод; 3 и 8 - подача исходной и отвод
дефторированной воды; 4 - фильтр, загруженный оксидом алюминия; 5 - бак
регенерационного раствора; 6 - ввод реагентов; 7 - резервуар чистой воды
После рассмотрения методов обезжелезивания и обесфторивания можно сделать
вывод о том, что традиционные методы имеют достаточно много недостатков:
ограниченная область применения; установки очень громоздкие, дорогостоящие и
имеют большие эксплуатационные затраты; сложная управляемость технологическими
процессами.
3. ОПРЕДЕЛЕНИЕ ВОДОПОТРЕБНОСТИ С УЧЕТОМ ПЕРСПЕКТИВНОГО РАЗВИТИЯ
МИКРОРАЙОНА ШКОЛЬНЫЙ ГОРОДА ДЗЕРЖИНСКИЙ
Водопотребность микрорайона определяется с учётом перспективного развития
на 2026 год.
Водопотребность и расчетные расходы воды определяют в соответствии с
требованиями главы 2 [14].
Расчет среднего суточного расхода воды (Qсут.ср.), суточного максимального расхода (Qсут.макс.) и суточного минимального
расхода (Qсут.мин.) приведен в таблице 3.1.
Водопотребление определяется по двум секторам: коммунальному и
производственному, удельное водопотребление населения принимается по данным
главы 2 [14].
Удельное водопотребление зданий, не входящих в общую норму
водопотребления, а также ванн, принимается по данным приложения 3 [15].
Расходы воды в бане учтены в общей норме водопотребления. Поэтому при
расчете суточного водопотребления баня не учитывается.
Суточные расходы воды определяются в соответствии с требованиями п.2.2
[14].
Величина среднего суточного расхода воды (Qсут.ср.) определяется по формуле (3.1).
ут.ср. =
, м3/с (3.1)
где q - удельное водопотребление, л/сут;
N -
расчетное число жителей в районах жилой застройки с различной
степенью благоустройства, чел;
Величина суточного максимального расхода (Qсут.макс.) и суточного минимального расхода (Qсут.мин.) определяется по формулам
(3.2) и (3.3).
Q сут.max = Kсут,max · Qсут, ср , м3/сут (3.2)
где Ксут.max - коэффициент
суточной неравномерности;
Qсут.ср.
- средний суточный расход воды, м3/сут.
сут.min = Kсут,min · Qсут, ср , м3/сут. (3.3)
где Ксут.min - коэффициент
суточной неравномерности;
Qсут.ср.
- средний суточный расход воды, м3/сут.
При определении суточных расходов воды в коммунальном секторе
принимается: Kсут.макс. = 1,1; Kсут.мин. = 0,9.
При определении расходов воды в производственном секторе принимаются Kсут.макс. = 1; Kсут.мин. = 1. Нормы водопотребления
для предприятий производственного сектора принимаются из методических указаний.
Расходы на поливку зеленых насаждений определяются, принимая Kсут.макс. = Kсут.мин. = 1.
Расчет среднего суточного расхода воды (Qсут.ср ), суточного максимального расхода (Qсут.макс ) и суточного максимального
расхода (Qсут.мин ) приведен в таблице 3.1.
Таблица 3.1 - Определение суточных расходов воды
|
Наименование потребностей
|
Количество
|
Удельное водопотребление
|
Qсут.ср. м3/сут
|
Qсут.максм3/сут
|
Qсут.мин. м3/сут
|
|
Коммунальный сектор
|
|
Население, проживающее в домах с внутренним водопроводом и
канализацией без ванн, чел
|
1224
|
145
|
177,5
|
195,2
|
159,8
|
|
Население, проживающее в домах с внутренним водопроводом и
канализацией и ваннами, чел
|
6900
|
190
|
1311
|
1442,1
|
1179,9
|
|
Крупные потребители: - больницы, коек - гостиницы, мест -
школы, учащиеся - детские сады, чел - спортивные комплексы с бассейнами, мест
|
144 636 1044 576 552
|
250 120 20 75 90
|
36 76,3 20,9 43,2 49,7
|
39,6 83,9 23 47,5 54,7
|
32,4 68,7 18,8 38,9 44,7
|
|
Итого:
|
|
|
1714,6
|
1886
|
1543,2
|
|
Поливка
|
8124
|
70
|
568,7
|
568,7
|
568,7
|
|
Всего по коммунальному сектору:
|
|
|
2283,3
|
2454,7
|
2111,9
|
|
Производственный сектор
|
|
Котельная
|
90
|
-
|
90
|
90
|
90
|
|
Пекарня
|
3,6
|
1500
|
5,4
|
5,4
|
5,4
|
|
Моечные площадки
|
3
|
1000
|
3
|
3
|
3
|
|
Дерево-обрабатывающее предприятие
|
24
|
320
|
7,7
|
7,7
|
7,7
|
|
Столярно-плотницкая мастерская
|
120
|
20
|
2
|
2
|
2
|
|
Всего по производственному сектору:
|
|
|
108,1
|
108,1
|
108,1
|
|
Всего по населенному пункту:
|
|
|
2391,4
|
2562,8
|
2220
|
Расчеты по определению часовых расходов воды приведены в таблице 3.2.
Для выбора процентного графика общих расходов в течение суток
определяется коэффициент часовой неравномерности водопотребления в соответствии
с п.2.2 [14] по формуле (3.4).
час.макс = αмакс · βмакс (3.4)
где kчас.max - коэффициент часовой неравномерности
водопотребления;
αmax - коэффициент, учитывающий степень благоустройства
зданий, режим работы предприятий и другие местные условия, αмакс = 1,2 - 1,4;
βmax - коэффициент, учитывающий число
жителей в населенном пункте.
kчас.макс=1,3
∙ 1,8 = 2,34
График поливки зеленых насаждений принимается равномерным, 2 раза в сутки
в периоды с 5 до 8 часов и с 17 до 20 часов.
Графики работы предприятий производственного сектора устанавливаются
равномерными с учетом количества рабочих смен.
При определении равномерно - распределенных часовых расходов воды в
населенном пункте (графа 22) складываются построчно часовые расходы воды для
населения с расходами воды на поливку и из этой суммы вычитается расход бани.
При определении суммарных расходов воды складываются построчно часовые
расходы всех сосредоточенных потребителей коммунального и производственного
секторов.
Для определения общих часовых расходов воды (графа 24) складываются
построчно равномерно - распределенные и сосредоточенные расходы воды.
Распределение расходов воды по часам суток максимального водопотребления
приведено в таблице 3.2
По данным расчётов по определению часовых расходов определяем час
максимального водопотребления. Для этого часа определяем секундные расходы.
Расчёт секундных расходов воды сводим в таблицу 3.3
Таблица 3.2 - Распределение расходов воды по часам суток максимального
водопотребления микрорайона Школьный
|
Часы суток
|
Коммунальный сектор
|
|
общие расходы
|
школы
|
Детские сады
|
гостиницы
|
больница
|
баня
|
Спортивные комплексы
|
поливка
|
|
%
|
м3
|
%
|
м3
|
%
|
м3
|
%
|
м3
|
%
|
м3
|
%
|
м3
|
%
|
м3
|
м3
|
|
1
|
2
|
3
|
4
|
5
|
6
|
7
|
8
|
9
|
10
|
11
|
12
|
13
|
14
|
15
|
16
|
|
0-1
|
1,0
|
16,4
|
|
|
|
|
0,1
|
0,1
|
1,5
|
0,6
|
|
|
|
|
|
|
1-2
|
1,0
|
16,4
|
|
|
|
|
0,1
|
0,1
|
1,5
|
0,6
|
|
|
|
|
|
|
2-3
|
1,0
|
16,4
|
|
|
|
|
0,1
|
0,1
|
1,5
|
0,6
|
|
|
|
|
|
|
3-4
|
1,0
|
16,4
|
|
|
|
|
0,2
|
0,2
|
1,5
|
0,6
|
|
|
|
|
|
|
4-5
|
2,0
|
32,8
|
|
|
|
|
0,2
|
0,2
|
2,5
|
1,0
|
|
|
|
|
|
|
5-6
|
3,0
|
49,1
|
|
|
|
|
0,3
|
0,2
|
3,5
|
1,4
|
|
|
|
|
94,8
|
|
6-7
|
5,0
|
81,9
|
|
|
5,0
|
2,4
|
0,3
|
0,2
|
4,5
|
1,8
|
|
|
|
|
94,8
|
|
7-8
|
6,5
|
106,4
|
15,0
|
3,4
|
3,0
|
1,4
|
30,0
|
25,2
|
5,5
|
2,2
|
|
|
|
|
94,7
|
|
8-9
|
6,5
|
106,4
|
7,0
|
1,6
|
15,0
|
7,1
|
6,8
|
5,7
|
6,2
|
2,4
|
6,25
|
2,2
|
9,0
|
5
|
|
|
9-10
|
5,5
|
90
|
5,0
|
1,1
|
5,4
|
2,6
|
4,6
|
3,9
|
6,2
|
2,4
|
6,25
|
2,2
|
7,0
|
3,9
|
|
|
10-11
|
4,5
|
73,7
|
7,0
|
1,6
|
3,4
|
1,6
|
3,6
|
3
|
6,3
|
2,5
|
6,25
|
7,0
|
3,9
|
|
|
11-12
|
5,5
|
90
|
3,0
|
0,7
|
7,4
|
3,5
|
2,0
|
1,7
|
6,3
|
2,5
|
6,25
|
2,2
|
7,0
|
3,9
|
|
|
12-13
|
7,0
|
114,6
|
20,0
|
4,6
|
21,0
|
10
|
3,0
|
2,5
|
5,0
|
2,0
|
6,25
|
2,2
|
7,0
|
3,8
|
|
|
13-14
|
7,0
|
114,6
|
6,0
|
1,4
|
2,8
|
1,3
|
3,0
|
2,5
|
5,0
|
2,0
|
6,25
|
2,2
|
7,0
|
3,8
|
|
|
14-15
|
5,5
|
90
|
6,0
|
1,4
|
2,4
|
1,1
|
3,0
|
2,5
|
5,5
|
2,2
|
6,25
|
2,2
|
7,0
|
3,8
|
|
|
15-16
|
4,5
|
73,7
|
6,0
|
1,4
|
4,5
|
2,2
|
3,0
|
2,5
|
6,0
|
2,3
|
6,25
|
2,3
|
7,0
|
3,8
|
|
|
16-17
|
5,0
|
81,9
|
2,0
|
0,5
|
4,0
|
1,9
|
4,0
|
3,4
|
6,0
|
2,3
|
6,25
|
2,3
|
7,0
|
3,8
|
|
|
17-18
|
6,5
|
106,9
|
10,0
|
2,3
|
16,0
|
7,6
|
3,6
|
3
|
5,5
|
2,2
|
6,25
|
2,3
|
7,0
|
3,8
|
94,8
|
|
18-19
|
6,5
|
106,9
|
6,0
|
1,4
|
3,0
|
1,4
|
3,3
|
2,8
|
5,0
|
2,0
|
6,25
|
2,3
|
7,0
|
3,8
|
94,8
|
|
19-20
|
5,0
|
81,9
|
7,0
|
1,6
|
2,0
|
1,0
|
5,0
|
4,2
|
4,5
|
1,8
|
6,25
|
2,3
|
7,0
|
3,8
|
94,8
|
|
20-21
|
4,5
|
73,7
|
|
|
2,0
|
1,0
|
2,6
|
2,2
|
4,0
|
1,6
|
6,25
|
2,3
|
7,0
|
3,8
|
|
|
21-22
|
3,0
|
49,1
|
|
|
3,0
|
1,4
|
18,6
|
15,6
|
3,0
|
1,2
|
6,25
|
2,3
|
7,0
|
3,8
|
|
|
22-23
|
2,0
|
32,8
|
|
|
|
|
1,6
|
1,3
|
2,0
|
0,8
|
6,25
|
2,3
|
|
|
|
|
23-24
|
1,0
|
16,3
|
|
|
|
|
1,0
|
0,8
|
1,5
|
0,6
|
6,25
|
2,3
|
|
|
|
|
Итого:
|
100
|
1637,3
|
100
|
23
|
100
|
47,5
|
100
|
83,9
|
100
|
39,6
|
100
|
39,6
|
100
|
54,7
|
568,7
|
|
Часы суток
|
Производственный сектор
|
Суммарные расходы
|
|
котельная
|
пекарня
|
моечные площадки
|
столярно-плотницкая мастерская
|
деревообрабатывающее предприятие
|
Равномерно-распределенные
|
сосредоточенные
|
общий
|
интегральная кривая
|
|
М3
|
М3
|
М3
|
М3
|
М3
|
М3
|
М3
|
М3
|
%
|
%
|
|
1
|
17
|
18
|
19
|
20
|
21
|
22
|
23
|
24
|
25
|
26
|
|
0-1
|
3,7
|
|
|
|
|
16,4
|
4,4
|
20,8
|
0,8
|
0,8
|
|
1-2
|
3,7
|
|
|
|
|
16,4
|
4,4
|
20,8
|
0,8
|
1,6
|
|
2-3
|
3,7
|
|
|
|
|
16,4
|
4,4
|
20,8
|
0,8
|
2,4
|
|
3-4
|
3,7
|
|
|
|
|
16,4
|
4,5
|
20,9
|
0,8
|
3,2
|
|
4-5
|
3,7
|
|
|
|
|
32,8
|
4,9
|
37,7
|
1,5
|
4,7
|
|
5-6
|
3,7
|
|
|
|
|
143,9
|
5,3
|
149,2
|
5,8
|
10,5
|
|
6-7
|
3,8
|
|
|
|
|
176,7
|
8,2
|
184,9
|
7,2
|
17,7
|
|
7-8
|
3,8
|
0,4
|
|
|
|
201,1
|
36,4
|
237,5
|
9,3
|
27
|
|
8-9
|
3,8
|
0,4
|
0,2
|
0,2
|
0,7
|
104,2
|
29,3
|
133,5
|
5,2
|
32,2
|
|
9-10
|
3,8
|
0,4
|
0,2
|
0,2
|
0,7
|
87,8
|
21,4
|
109,2
|
4,3
|
36,5
|
|
10-11
|
3,8
|
0,3
|
0,2
|
0,2
|
0,7
|
71,5
|
20
|
91,5
|
3,6
|
40,1
|
|
11-12
|
3,8
|
0,3
|
0,1
|
0,2
|
0,7
|
87,8
|
19,6
|
107,4
|
4,2
|
44,3
|
|
12-13
|
3,8
|
0,3
|
0,1
|
0,2
|
0,7
|
112,4
|
30,2
|
142,6
|
5,6
|
49,9
|
|
13-14
|
3,8
|
0,3
|
0,1
|
0,2
|
112,4
|
16,3
|
130,7
|
5,1
|
55
|
|
14-15
|
3,8
|
0,3
|
0,3
|
0,2
|
0,7
|
87,8
|
18,5
|
106,3
|
4,1
|
59,1
|
|
15-16
|
3,8
|
0,3
|
0,2
|
0,2
|
0,7
|
71,4
|
19,7
|
91,1
|
3,6
|
62,7
|
|
16-17
|
3,8
|
0,3
|
0,2
|
0,2
|
0,7
|
79,6
|
19,4
|
99
|
3,9
|
66,6
|
|
17-18
|
3,8
|
0,3
|
0,2
|
0,2
|
0,7
|
198,9
|
26,4
|
225,3
|
8,8
|
75,4
|
|
18-19
|
3,7
|
0,3
|
0,2
|
|
0,7
|
198,9
|
18,6
|
217,5
|
8,5
|
83,9
|
|
19-20
|
3,7
|
0,3
|
0,2
|
|
|
174,4
|
18,9
|
193,3
|
7,5
|
91,4
|
|
20-21
|
3,7
|
0,3
|
0,2
|
|
|
71,4
|
15,1
|
86,5
|
3,4
|
94,8
|
|
21-22
|
3,7
|
0,3
|
0,2
|
|
|
46,8
|
28,5
|
75,3
|
2,9
|
97,7
|
|
22-23
|
3,7
|
0,3
|
0,2
|
|
|
30,5
|
8,6
|
39,1
|
1,5
|
99,2
|
|
23-24
|
3,7
|
0,3
|
0,2
|
|
|
14
|
7,9
|
21,9
|
0,8
|
100
|
|
Итого:
|
90
|
5,4
|
3
|
2
|
7,7
|
2169,9
|
392,9
|
2562,8
|
100
|
|
|
|
|
|
|
|
|
|
|
|
|
|
|
|
|
|
|
|
|
|
|
|
|
Таблица 3.3 - Секундные расходы воды в час максимального потребления
|
Вид расхода, потребители
|
Величина расхода
|
|
м3/час
|
л/с
|
|
Общий
|
237,6
|
66
|
|
Равномерно-распределенный
|
201,1
|
55,9
|
|
Сосредоточенный
|
36,5
|
10,1
|
|
Баня
|
0
|
0
|
|
Гостиницы
|
25,2
|
7
|
|
Больница
|
2,2
|
0,6
|
|
Школы
|
3,4
|
0,9
|
|
Детские сады
|
1,4
|
0,4
|
|
Спортивные комплексы с бассейнами
|
0
|
0
|
|
Котельная
|
3,8
|
1,1
|
|
Пекарня
|
0,4
|
0,1
|
|
Моечные площадки
|
0
|
0
|
|
Деревообрабатывающее предприятие
|
0
|
0
|
|
Столярно-плотницкая мастерская
|
0
|
0
|
По полученным данным таблицы 3.2 строим дифференциальный график
водопотребления (рисунок 3.1) и интегральную кривую водопотребления (рисунок
3.2) .
Рисунок 3.1 - График водопотребления
Рисунок 3.2 - Интегральная кривая водопотребления
4. ТЕХНИКО-ЭКОНОМИЧЕСКИЕ ИССЛЕДОВАНИЯ ПО ВЫБОРУ ВАРИАНТА ВОДОСНАБЖЕНИЯ
На основании технико-экономического расчёта выберем наиболее экономически
выгодный источник водоснабжения для микрорайона Школьный города Дзержинский.
Возможно два варианта:
вариант - вода забирается из скважин с повышенным содержанием железа,
очистка осуществляется на единой очистной станции;
вариант - вода забирается из скважин с повышенным содержанием железа,
очистка происходит на каждой скважине отдельно.
Рассмотрим 1 вариант.
Забор воды производится из скважин и по водоводам попадает на очистную
станцию. После очистки вода поступает в резервуар чистой воды, из него подаётся
насосной станцией в водонапорную башню и из водонапорной башни движется в
водопроводную сеть населённого пункта. Схема 1 варианта представлена на рисунке
4.1
Рисунок 4.1 - Очистка воды осуществляется на единой станции: 1 -
скважины; 2 - водоводы; 3 - очистная станция; 4 - резервуар чистой воды; 5 -
насосная станция; 6 - водонапорная башня; 7 - водопроводная сеть
Рассмотрим 2 вариант.
Вода забирается из скважин и подается на очистные сооружения, далее с
помощью насосной станции вода движется в водопроводную сеть, и также попадает в
резервуар для пожарных нужд. Схема второго варианта представлена на рисунке 4.2
Рисунок 4.2 - Очистка осуществляется на каждой скважине: 1 - скважины; 2
- очистная установки; 3 - насосная станция; 4 - водоводы; 5 - водопроводная
сеть; 6 - резервуар для пожарных нужд
Сравнительная экономическая эффективность проектных
решений возможна только при обязательном условии сопоставимости сравниваемых
вариантов по материальному эффекту.
Экономическому сравнению подлежат технически
осуществимые варианты, которые обеспечивают производство запланированного
объёма воды, качества удовлетворяющего санитарно-технические требования и
наиболее благоприятного улучшения условия труда и быта населения.
Основным показателем экономической эффективности
капитальных вложений являются приведенные затраты, которые представляют собой
сумму текущих эксплуатационных затрат и капитальных вложений на строительство
предусмотренных объектов водоснабжения, приведённых к годовой размерности в
соответствии с нормативным коэффициентом эффективности капитальных вложений.
Для упрощения расчетов при экономической оценке
вариантов можно сравнить капиталовложения К и годовые эксплуатационные расходы
С.
Если в результате расчетов окажется, что по одному из
вариантов и капиталовложения, и годовые эксплуатационные затраты С меньше, чем
по другому, то экономически наивыгоднейшим будет вариант с наименьшими годовыми
затратами.
Если приведенные затраты в сравниваемых вариантах равны
или отличаются незначительно, то предпочтение следует отдавать проектным
решениям обеспечивающим меньший забор воды из естественных источников за счет
использования очищенных сточных вод, относительную простоту эксплуатации
сооружений, сокращение трудоемкости строительно-монтажных работ, возможность
более быстрого ввода в эксплуатацию объектов водоснабжения и т.д.
Если сравниваются варианты реконструкции существующих
и строительства новых сооружений, следует учитывать, что реконструкция должна
производиться за счет резервов. Поэтому в случае проектирования объекта с
перспективой дальнейшего его роста выбор варианта строительства новых
сооружений может оказаться более целесообразным.
Величины капитальных вложений по каждому варианту рекомендуются определять
по укрупненным показателям стоимости сооружений [16].
В обоих рассматриваемых случаях принимаем одинаковую водопотребность
потребителей микрорайона Школьный с учётом перспективного развития равной 2563
м³/сут. Укрупненные показатели
исчислены в ценах 1983 года и пересчитаны в цены 2015 года, поэтому их можно
использовать только для сравнения вариантов. В моей выпускной квалификационной
работе, в качестве примера, производится сравнение нового способа
обезжелезивания воды с традиционным методом обезжелезивания по типовому проекту
№ 901 - 1 - 40.
Для первого варианта проводим оценку стоимости следующих сооружений:
фильтры, служебные помещения, лабораторные помещения, мастерские, насосная
станция. Для второго варианта: новая установка обезжелезивания. Оценочная
стоимость установки с 4 камерами равна 180 тыс.
Капитальные и амортизационные отчисления при использовании традиционного
метода обезжелезивания по типовому проекту (1 варианта) приведены в таблице
4.1.
Таблица 4.1 - Определение капиталовложений и амортизационных отчислений
по 1 варианту водоснабжения
|
Сооружения
|
Количество
|
Цена единицы, руб.
|
Стоимость сооружения, К, руб.
|
Норма амортизационных отчислений, а
|
Годовые амортизационные отчисления, А = а ∙ К
|
|
Фильтры, служебные и лаборатор. помещения
|
8
|
325000
|
2600000
|
0,1
|
260000
|
|
Мастерские
|
7
|
100000
|
700000
|
0,1
|
70000
|
|
Насосная станция
|
1
|
1600000
|
1600000
|
0,1
|
160000
|
|
Итого
|
-
|
-
|
∑К=4900000
|
-
|
∑А=490000
|
|
Неучтённые сооружения и затраты (10% от итога)
|
-
|
-
|
490000
|
-
|
49000
|
|
Всего
|
-
|
-
|
К1=5390000
|
-
|
А1=539000
|
Капитальные и амортизационные отчисления нового способа обезжелезивания
воды (2 вариант) приведены в таблице 4.2.
Таблица 4.2 - Определение капиталовложений и амортизационных отчислений
по 2 варианту водоснабжения
|
Сооружения
|
Количество
|
Цена единицы, руб.
|
Стоимость сооружения, К, руб.
|
Норма амортизационных отчислений, а
|
Годовые амортизационные отчисления, А = а ∙ К
|
|
Насосная станция
|
-
|
-
|
-
|
-
|
-
|
|
Установка с 4 камерами
|
2
|
180000
|
360000
|
0,1
|
36000
|
|
Итого
|
-
|
-
|
∑К=360000
|
-
|
∑А= 36000
|
|
Неучтённые сооружения и затраты
|
-
|
-
|
36000
|
-
|
3600
|
|
Всего
|
-
|
-
|
К2=396000
|
-
|
А2=39600
|
Так как К1 > К2 (5390000 > 396000) и А1 > А2
(539000 > 39600), то экономически наивыгоднейшим вариантом является новая
технология обезжелезивания воды (2 вариант), так как она примерно в 13,6 раза
дешевле традиционных методов обезжелезивания.
5. РАЗРАБОТКА ТЕХНОЛОГИЧЕСКИХ РЕШЕНИЙ ВОДООБЕСПЕЧЕНИЯ
5.1 Разработка водозаборной скважины
Скважина входит в систему водоснабжения и является водозаборным
сооружением, предназначенным для забора подземных вод, залегающих ниже 10 м
поверхности земли. Конструктивно скважина представляет вертикальный подземный
трубопровод, связывающий поверхность земли с подземным источником воды.
Водозаборная скважина должна быть заложена на таком участке, где
гидрогеологические условия допускают получение требуемого количества воды, а
состояние его удовлетворяет санитарным требованиям. Вместе с тем по
технико-экономическим соображениям скважину желательно не удалять на большие
расстояния от объекта водоснабжения.
Участок для заложения скважины следует выбирать по возможности с таким
расчетом, чтобы в дальнейшем при увеличении потребности в воде на нем можно
было заложить еще одну или несколько скважин [17].
Перед началом проектирования скважины необходимо изучить геологическое
строение почвы и построить геолого-технический разрез.
Для построения геологического разреза предлагаются исходные данные для
девяти пластов, три из которых являются водоносными, они представлены в таблице
5.1; общие данные для проектирования в таблице 5.2; показатели качества воды и
характеристики водоносных пластов в таблице 5.3 [18].
Таблица 5.1 - Сведения о пластах геологического разреза
|
№ пласта
|
Наименование горных пород
|
Мощность пласта, м
|
|
1
|
Растительный слой
|
4
|
|
2
|
Конгломерат
|
41,2
|
|
3
|
Песок водоносный
|
22,4
|
|
4
|
Суглинок
|
29,7
|
|
5
|
Мел
|
31,1
|
|
6
|
Песок водоносный
|
31,8
|
|
7
|
Суглинок
|
16,8
|
|
8
|
Песок водоносный
|
42,8
|
|
9
|
Суглинок
|
17,9
|
Таблица 5.2 - Общие данные для проектирования
|
Наименование показателей
|
Единицы измерения
|
Величина
|
|
Среднесуточная водопотребность, Qср.сут.
|
м3/сут
|
2562
|
|
Время работы водоподъемника в течение суток, Т
|
час
|
24
|
|
Абсолютная отметка устья скважины
|
м
|
405
|
|
Отметка, на которую необходимо подать воду, м
|
м
|
422
|
Таблица 5.3 - Показатели качества воды и
характеристики водоносного песка водоносных горизонтов
|
Показатели и единицы измерения
|
Пласты
|
|
I
|
II
|
III
|
|
Запах и привкус, баллы
|
2
|
1
|
3
|
|
Мутность, мг/л
|
1,8
|
1,5
|
2,5
|
|
Цветность, град
|
23
|
19
|
20
|
|
Сухой остаток, мг/л
|
1120
|
670
|
1180
|
|
Общая жесткость, мг-экв/л
|
6,5
|
8,5
|
|
Кол-во кишечных палочек в 1л воды
|
4
|
3
|
4
|
|
50% размер частиц водоносного песка
|
2
|
1,5
|
1
|
|
Коэфф. фильтрации, м/сут
|
23
|
134
|
10
|
|
Удельный дебит, м3/ч
|
0,43
|
0,85
|
0,36
|
|
Статический напор, м
|
24
|
55
|
50
|
5.1.1 Выбор водоносного
пласта
Для выбора водоносного пласта производим сравнение
показателей качества воды для каждого водоносного пласта и делается вывод о
необходимости очистки воды, если вода не соответствует требованиям ГОСТ 2874-82
[19].
I водоносный пласт:
1) по запаху и привкусу - соответствует;
2) по мутности - не соответствует;
) по цветности - не соответствует;
) сухой остаток - не соответствует;
) общая жесткость - соответствует;
) количество кишечных палочек - не
соответствует.
II водоносный пласт:
) по запаху и привкусу - соответствует;
2) по мутности - соответствует;
) по цветности - соответствует;
) сухой остаток - соответствует;
) общая жесткость - соответствует;
) количество кишечных палочек - соответствует.
III водоносный пласт:
) по запаху и привкусу - не соответствует;
2) по мутности - не соответствует;
) по цветности - соответствует;
) сухой остаток - не соответствует;
) общая жесткость - не соответствует;
) количество кишечных палочек - соответствует.
Вывод: По качеству воды подходит II водоносный пласт, он соответствует
требованиям ГОСТ 2874-82 по всем показателям. Водоносные пласты I и III нуждаются в очистке воды.
Определяем максимальный возможный дебит каждого пласта по формуле (5.1):
, м3/час,
(5.1)
где
- удельный дебит водоносного пласта, м3/час на 1метр
понижения уровня;
-
статический напор водоносного пласта, м.
Первый
водоносный пласт: q = 0,5
;
Второй
водоносный пласт:
Третий водоносный пласт:
Вывод: Окончательно выбираем II водоносный пласт, т.к. он соответствует требованиям ГОСТ
2874-82 по всем показателям и максимальный возможный дебит тоже во II водоносном пласте.
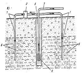
.1.2 Составление расчётной
схемы скважины
Расчетная схема нужна для решения вопросов, связанных с выбором основного
оборудования скважины и разработки ее конструкции.
Расчетная схема скважины представлена на рисунке 5.1.
Рисунок 5.1 - Расчетная схема скважины: УС - отметка устья скважины; КВП
- отметка кровли водоносного пласта; ПВП - отметка подошвы водоносного пласта; m - мощность водоносного пласта; Hc - статический напор водоносного
пласта; СУВ - отметка статического уровня воды; Sф - фактическая глубина понижения уровня воды; ДУВ - отметка
динамического уровня воды; Д - отметка дна скважины; Hскв - глубина скважины
УС = 405 м;
КВП = 276,6 м;
ПВП = 244,8 м;
m =
31,8 м;
Нс = 55 м;
СУВ = КВП + Н = 276,6 + 55 = 331,6 м;
SФ =
20,6 м;
ДУВ = СУВ - Sф = 331,6 - 20,6
= 311,6 м;
Д = ПВП - 2 = 244,8 - 2 = 242,8 м;
Нскв = УС - Д = 405 - 242,8 = 65,7 м.
В большинстве случаев артезианские несамоизливающиеся
скважины оборудуют погруженным электронасосом, опускаемым под динамический
уровень воды.
Для выбора марки насоса определяем его подачу и полный
напор.
Подача скважинного насоса определяется по формуле
(5.2):
, м3/ч, (5.2)
где
Q - суточная водопотребность объекта водоснабжения,
м3/сут;
t - число часов
работы скважины в течение суток;
np - число
рабочих скважин.
, м3/ч.
Полный
напор насоса определяется по формуле (5.3):
=
В - ДУВ + hw, м, (5.3)
где
В - отметка, на которую необходимо подать воду из скважины (принимается из
исходных данных);
ДУВ
- отметка динамического уровня воды;
hw - потери
напора в водоподъемной трубе, м.
Величина
hw определяется на основе гидравлического расчета. Для
приближенного расчета рекомендуется принимать: hw =2-4 м [15].
Hn= 422 - 311 +
3 = 114 м.
Для
определения полного напора насоса составляется расчетная схема водоподъемника
(рисунок 5.2).
Рисунок
5.2 - Расчетная схема водоприемника
По значениям Hn и Qn принимаем насос марки ЭЦВ10-63-110 и
подбираем его характеристики: Э - электрический, Ц - центробежный, В - для
воды, 10 - наружный диаметр насоса, увеличенный в 25 раз в м, т.е. Дн = 10 ∙
25 = 250 мм; 63 - подача, м3/час; 110 - напор в метрах.
5.1.3 Выбор конструкции
водоприёмной части
Выбор конструкции водоприёмной части осуществляется в
зависимости от характеристик пород водоносных пластов и кровли над этим
пластом.
Принимаем пески среднезернистые с 50 % диаметром
частиц 0,25-0,50 мм;
Характеристика кровли - любая;
Выбираем сетчатый фильтр с сеткой галунного плетения
(рисунок 5.3).
Фильтр - основной элемент скважины, поэтому от его
качества зависят дебит и долговечность скважины. Конструкцию фильтра выбирают с
учетом гранулометрического состава пород водоносного горизонта.
Конструкции фильтров должны отвечать следующим
требованиям:
) обладать необходимой механической прочностью и
достаточной устойчивостью против коррозии и эрозионного воздействия воды;
) диаметры фильтровых каркасов должны быть рассчитаны
на максимальный пропуск воды со скоростью, не превышающей 1,5-2 м/с;
) водопроницаемость фильтров должна быть значительно
выше водопроницаемости водоносных пород, в которых они устанавливаются, и для
данных гидрогеологических условий должна предусматриваться максимальной с
учетом возможного химического и биологического кольматажа при эксплуатации
водозаборов;
) фильтры должны быть доступны для проведения
мероприятий по восстановлению производительности скважин.
Рисунок 5.3 - Схема звена сетчатого фильтра
Сетчатый фильтр представляет собой каркас из обсадных
труб с круглой перфорацией, обтянутый сеткой галунного плетения.
5.1.4 Технология роторного
бурения
Исходя из парка буровых машин имеющихся в городе
Дзержинский, применяем роторное бурение скважин.
При роторном бурении породу в забое скважины разрушают
быстрым вращением долота. Разрушенная порода (шлам) непрерывно выносится из
скважины восходящим потоком промывочной жидкости, подаваемой к забою промывным
насосом по нагнетательному шлангу, ведущей трубе и бурильным трубам.
По окончании бурения скважины на заданную глубину ее
стенки крепят обсадными трубами. До закрепления трубами стенки скважины с
неустойчивыми породами удерживаются от обрушения гидростатическим давлением
промывочной жидкости, заполняющей ствол скважины. В качестве промывочной жидкости
обычно используются глинистые растворы.
К преимуществам роторного способа относятся высокие
механические скорости, большой выход обсадных колонн, бурение на большие
глубины, экономическая рентабельность. К недостаткам следует отнести возможную
глинизацию водоносного горизонта и связанные с этим значительные затраты
времени на разглинизацию. Потери времени на разглинизацию зависят от качества
применяемого промывочного раствора и контроля за его параметрами в процессе
бурения. Роторный способ может быть рекомендован для проходки водозаборных
скважин на любые глубины, в первую очередь для вскрытия напорных водоносных
горизонтов [20].
Параметры технологического режима роторного бурения
определяются физико-механическими свойствами пород и гидрогеологическими
условиями разреза, а также опытом буровых бригад и техническими возможностями
применяемого оборудования.
При роторном бурении обсадные трубы спускаются в
скважину свободно. Следовательно, диаметр скважины должен быть больше диаметра
обсадной трубы. Типы долот подбираются в зависимости от твердости пород
геологического разреза скважины: для мягких и средних пород рекомендуется
применять двухлопатные долота. Для твердых пород - шарошечные долота.
Подбирается марка станка для роторного бурения.
Рекомендации по выбору станка приведены в таблице 7.3 [18].
Для роторного бурения подходит станок марки 15А-15В с
наибольшим диаметром бурения 450, глубина бурения 500м, наружным диаметром
бурильных труб 73; 89, проходным отверстием ротора 410, высотой мачты 16м,
мощностью двигателя 105л.с.
5.1.5 Технология
цементирования
При роторном бурении ствол скважины обычно состоит из
двух обсадных колонн труб - эксплуатационной и направляющей. Пространство между
колоннами и стенками скважины цементируется.
Затрубное цементирование под давлением проводят
цементировочными агрегатами при необходимости подъема цемента на большую высоту
в затрубном пространстве (на любое расстояние от забоя, вплоть до устья
скважины). Цементировочный агрегат состоит из водяного насоса, насоса для закачивания
цементного и глинистого растворов, мерного бака, обвязки насосов, разборного
металлического трубопровода для соединения агрегата со скважиной,
гидравлической цементомешалки (воронки), бачка для цементного раствора [21].
Цементируют затрубное пространство с применением
специальных цементированных пробок, предназначенных для предохранения от
смешивания цементного и глинистого раствора (рисунок 5.4).
Рисунок 5.4 - Схема цементирования с помощью двух
пробок: а - закачивание цементного раствора; б - подача цементного раствора в
скважину; в - продавливание цементного раствора в затрубное пространство и
схождение пробок; г - отпускание колонны на забой; 1 - цементировочная головка;
2 - нижняя цементировочная пробка; 3 - упорное кольцо; 4 - башмачная пробка; 5
- верхняя пробка
Колонну обсадных труб подвешивают над забоем на высоту
1-2 м и промывают скважину высококачественным глинистым раствором.
Затем, открыв крышку цементировочной головки 7, в
обсадную колонну опускают нижнюю цементировочную пробку 2, центральное
отверстие которой закрыто пластинкой из стекла. Крышку головки снова
навинчивают и закачивают в скважину необходимое количество цементного раствора.
Под давлением цементного раствора нижняя пробка
опускается в колонне труб на определенную глубину. После закачки цементного
раствора освобождают верхнюю пробку и поверх нее закачивают промывочную
жидкость, как правило, глинистый раствор.
Цементный раствор, находящийся между двумя пробками,
продавливается вниз. Нижняя пробка, дойдя до упорного кольца 3 или до башмачной
пробки 4, останавливается. Цементный раствор под давлением верхней пробки
разрушает стеклянную пластинку нижней и вытесняется в затрубное пространство.
Когда верхняя пробка 5 дойдет до нижней, манометр на насосе покажет резкое
повышение давления, произойдет гидравлический удар, указывающий на окончание
продавливания цементного раствора. Это служит сигналом для окончания нагнетания
жидкости. Выключив насос, закрывают вентиль цементировочной головки, чтобы не
было обратного движения раствора из скважины, и обсадную колонну опускают на
забой. В таком виде эксплуатационную колонну оставляют герметично закрытой на
24 часа для затвердевания цемента (при цементировании кондукторов - на 16 час.)
[18].
5.2 Разработка конструкций
для очистки подземных вод
.2.1 Устройство для
обезжелезивания воды
Систематическое употребление воды с повышенным содержанием железа
приводит к развитию заболеваний печени и крови, сердечнососудистым заболеваниям
и появлению у человека разнообразных аллергических реакций. Оседая в организме,
железо ухудшает ежедневное самочувствие и, в конечном счете, может стать
причиной необратимых последствий. Кроме того, вода с высоким содержанием железа
приобретает желто-бурую окраску, металлический привкус, неприятный запах,
вызывает зарастание водопроводных сетей. Такая вода практически непригодна для
технического и питьевого применения [9].
Чтобы не создавать угрозу возникновения и распространения заболеваний,
здоровью и жизни населения показатели качества питьевой воды, в частности,
содержание железа, должны соответствовать действующим нормативным документам, а
процесс обезжелезивания должен быть эффективным.
Традиционные методы обезжелезивания имеют большое количество недостатков,
таких как высокая стоимость, громоздкость сооружения, ограниченную область
применения, поэтому в выпускной квалификационной работе будем применять новую
технологию обезжелезивания воды, разработанную в ВоГУ. Данная технология
подтверждена патентом RU №
2501740 [22].
Изобретение относится к области обработки подземных вод с повышенным
содержанием железа и может быть использовано в процессах водоподготовки для
питьевых и технических целей. Устройство для обезжелезивания воды (рисунок 5.5)
включает не менее двух емкостей, представляющих собой вертикально расположенные
корпусы цилиндрической формы из диэлектрика, на внутренней поверхности которых
расположены инертные аноды 7 в виде спирали, а в центре - железные катоды 8 в
виде круглых стержней, к входам в корпусы подсоединены электрифицированные
задвижки 9, соединенные с подающей трубой насоса 3, в верхних частях корпусов
расположены воздушные вантузы 10, соединенные с вентиляционными трубами 11, на
выходах из корпусов расположены трубы для отвода чистой воды 12 с электрифицированными
задвижками 13 и отвода промывной воды 14 с электрифицированными задвижками 15.
На трубе отвода чистой воды расположены датчик расхода воды 16 и датчик
содержания в воде железа 17. Труба промывной воды подсоединена к
тангенциальному входу гидроциклона 18, верхний выход которого соединен с трубой
сброса промывной воды 19 в канализацию, а нижний выход направлен в емкость для
утилизации гидроксида железа 21. Блок управления 5 соединен проводниками с
источником постоянного тока 4, всеми электрифицированными задвижками, датчиком
расхода воды и датчиком содержания в воде железа. Технический результат -
повышение надежности процесса обезжелезивания воды, гарантированное качество
очищенной воды.
Рисунок 5.5 - Схема устройства обезжелезивания воды
Методика проектирования камеры обезжелезивания воды. Главным элементом
устройства для обезжелезивания воды является корпус (камера) из диалектрика, в
который входят катод и анод. Схема камеры показана на рисунке 5.6
Рисунок 5.6 - Схема камеры: 1 - корпус для диэлектрика; 2 - катод; 3 -
анод
Целью проектирования камеры обезжелезивания воды является определение
диаметра и высоты корпуса, а также размеров катода, при котором будут полностью
удаляться ионы железа [23].
Устройство для обезжелезивания воды работает следующим образом. В
соответствии с технологическим регламентом эксплуатации устройства в блок
автоматического управления 5 введены следующие установки:
- суточный график обеспечения расходов очищенной воды,
подаваемой потребителям;
периодичность переключений с режимов обезжелезивания
на режимы промывки и обратно;
максимальная допустимая величина остаточного
содержания железа в очищенной воде;
начальная скорость движения воды снизу вверх в
корпусах цилиндрической формы 6 определяется на основании предварительно
проведенных исследований;
промежуток времени между сбросом суспензии, содержащей
гидроксид железа в емкость для утилизации 21 и открытием задвижки 22;
алгоритмы управления всеми электрифицированными
задвижками составляются по результатам предпусковых испытаний.
Перед началом работы закрыты все электрифицированные задвижки и отключен
источник постоянного тока 4. После включения насоса 2 по сигналу блока
управления 5 включается источник постоянного тока 4, подающий разности
потенциалов на катоды и аноды, а также последовательно осуществляется открытие
задвижек 9 и 13. В начальный период во всех корпусах обеспечиваются режимы
обезжелезивания воды. При этом удаление пузырьков газов, в состав которых
входит водород, производится через установленные в верхних частях камер вантузы
10 откуда пузырьки небольшими порциями попадают в вентиляционные трубы 11,
через которые удаляются в атмосферу. На основании сигналов датчиков расхода
воды 16 и содержания в воде железа 17 в дальнейшем обеспечивается включение и
отключение корпусов задвижками, а также гибкое регулирование задвижек 9 и 13
для обеспечения требуемого качества воды на выходе из корпусов. При
переключении одного корпуса на режим промывки закрывается задвижка 13,
открывается задвижка 15 и регулируется открытие задвижки 9 для пропуска через
корпус 6 расхода промывной воды. Промывная вода с частицами гидроксид а железа
поступает в гидроциклон 18, откуда основной объем промывной воды сбрасывается в
канализацию по трубе 19, а суспензия, содержащая частицы гидроксида железа
поступает по трубе 20 в емкость для утилизации 21. В этой емкости частицы
гидроксида железа оседают на дно, после чего по команде блока управления 5
открывается задвижка 23 и верхний слой промывной воды сбрасывается в
канализацию по трубе 22. Все операции по автоматическому управлению устройства
для обезжелезивания воды выполняет блок управления 5.
По сравнению с традиционными станциями обезжелезивания данное устройство
обладают следующими преимуществами:
) высокая надежность процесса обезжелезивания воды за счет гибкого
автоматического управления;
) гарантированное качество очищенной от железа воды независимо от
количества ионов железа в исходной воде;
) расширение возможностей применения за счет компактности оборудования:
появляется возможность устанавливать устройства на каждой водозаборной
скважине, при этом отпадает необходимость строительства дорогостоящих
водоочистных сооружений с насосными станциями и водоводами, подающими исходную
воду на эти станции и отводящими очищенную воду для подключения к сети
потребителей;
) значительное снижение строительной стоимости устройства за счет его
малых габаритов и возможности расположения в существующих павильонах над
скважинами;
) уменьшение эксплуатационных затрат за счет полной автоматизации,
отсутствия необходимости в использовании расходных материалов (реагенты,
мембраны, растворимые электроды) и минимальных затрат электроэнергии на очистку
(градиент потенциала 2 В/см, сила тока от 0,01 до 0,07 А);
) безотходная технология: попутное получение ценного продукта -
гидроксида железа, который является дорогостоящим каталитическим сорбентом
нового поколения [22].
Для микрорайона Школьный необходимо принять 4 камеры обезжелезивания воды
с высотой равной 1 м, диаметром 1,5 м для одной скважины с производительность
1281,5 м3/сут. Оценочная стоимость устройства с 4 камерами составляет 180 000
руб. Таким образом, в ближайшее время все остальные микрорайоны города
Дзержинский будут использовать именно этот метод очистки воды от железа,
существующую станцию обезжелезивания реконструируем для очистки воды от фтора.
5.2.2 Устройство для обесфторивания воды
Фтор относится к микроэлементам, содержание которых в воде для нормальной
жизнедеятельности человека должно находиться в строго определенном количестве.
Малые и большие концентрации фтора в питьевой воде вредны для человеческого
организма. При употреблении питьевой воды с содержанием фтора более 1,5 мг/л у
населения развивается флюороз, нарушение окостенения скелета и истощение
организма. Поэтому воду перед поступлением к потребителям её необходимо
очистить [24].
Традиционные методы обесфторивания не подходят из-за высокой стоимости и
громоздкости, я предлагаю реконструировать имеющуюся в городе Дзержинский
станцию обезжелезивания для способа обесфторивания разработанного в ВоГУ патент
RU № 2274608 [25].
Изобретение относится к области очистки природных подземных вод от
фторид-ионов и может быть использовано в процессах водоподготовки для питьевых
и технических целей.
Для осуществления способа в обрабатываемую воду вводят магнийсодержащий
реагент с последующим образованием и отделением осадка оксифторида магния,
причем в качестве реагента используют оксид магния, который с очищаемой водой
подают в надфильтровый слой скорого фильтра, толщина которого должна быть не
менее 1,6 м, фильтрующий слой из тяжелой зернистой загрузки толщиной не менее
0,8 м, с эквивалентным диаметром зерен 0,7-0,8 мм, коэффициентом неоднородности
1,8-2 при скорости фильтрования не более 10 м/ч. Устройство для обесфторивания
воды включает систему дозирования оксида магния, скорый фильтр с тяжелой
зернистой загрузкой, трубу отвода обесфторенной воды, резервуар чистой воды и
систему подачи воды для промывки фильтрующей загрузки, причем труба подачи
исходной воды соединена с надфильтровым слоем скорого фильтра, а труба отвода
промывной воды соединена с входом гидроциклона, нижний выход которого направлен
в емкость для сбора осадка оксифторида магния. Верхний выход направлен в емкость
для сбора очищенной промывной воды, куда также опущена всасывающая труба,
соединенная с другой стороны со штуцером эжектора, расположенного на трубе
подачи исходной воды на отрезке между точками ввода магнийсодержащего реагента
и ввода этой трубы в скорый фильтр.
Схема устройства обесфторивания воды оксидом магния представлена на
рисунке 5.7
Рисунок 5.7 - Схема устройства обесфторивания воды оксидом магния: 1-
подача исходной воды; 2, 4 - эжектор; 3 - емкость; 5 - всасывающая труба; 6 -
емкость для хранения очищенной (отделенной от осадка оксифторида магния)
промывной воды; 7 - боковой карман скорого фильтра; 8 - скорый фильтр; 9 -
надфильтровый слой воды; 10 - фильтрующий слой; 11 - дренажная система; 12 -
подфильтровое пространство; 13 - труба отвода очищенной воды; 14 - трубопровод
подачи воды в РЧВ; 15 - патрубок насоса; 16 - трубопровод подачи воды
потребителям; 17 - трубопровод подачи промывной воды в дренажную систему; 18 -
отверстие для пропуска исходной воды; 19 - трубопровод отвода промывной воды;
20 - гидроциклон; 21 - трубопровод отвода очищенной промывной воды; 22 -
емкость для сбора осадка оксифторида магния; 24 - 31 - задвижки
Устройство работает следующим образом. При режиме обесфторивания открыты
задвижки 24,25,26, 29 и 27. Закрыты задвижки 28 и 30. Задвижка 31 при этом
режиме окрывается на время удаления очищенной промывной воды из емкости 6.
Исходная вода из источника по трубе подачи исходной воды 1 проходит через
эжектор 2, где в воду добавляется оксид магния из емкости 3. Затем проходит
через эжектор 4, где в исходную воду периодически добавляется очищенная
промывная вода из емкости 6, и поступает в боковой карман фильтра 7, откуда
через отверстие 18 поступает в корпус скорого фильтра 8. Фильтрование в скором
фильтре 8 осуществляется сверху вниз со скоростью не более 10 м/ч. При этом
сначала в надфильтровом слое 9 происходит реакция обесфторирования воды с
образованием осадка оксифторида магния. Этот осадок задерживается в порах
зернистого фильтрующего слоя 10, а очищенная обесфторенная вода поступает в
подфильтровое пространство 12, где с помощью дренажной системы 11 собирается и
по трубе отвода очищенной воды 13 направляется в резервуар чистой воды 14. Из
резервуара чистой воды 14 вода забирается насосом 15 и подается по трубе 16
потребителям. При переходе на режим промывки сначала закрываются задвижки 26,
24, 31 (если перед режимом промывки она была открыта), 25, 29 и 27. Открываются
задвижки 28 и 30. Интенсивность и продолжительность промывки принимаются по
СНиП. Промывная вода по трубам 17 и затем 13 поступает в дренажную систему 11,
проходит снизу вверх через фильтрующую загрузку, взмучивает ее и выносит из
загрузки осадок оксифторида магния; затем промывная вода через отверстие 18
попадает в боковой карман и оттуда по трубе 19 поступает на вход гидроциклона
20. В гидроциклоне отделившийся осадок оксифторид магния через нижний патрубок
попадает в сборную емкость 22, а очищенная промывная вода по трубе 21 поступает
в емкость 6, откуда с помощью трубы 5 и эжектора 4 вводится в общий поток
исходной воды. После промывки закрываются задвижки 28 и 30, открываются
задвижки 24, 25, 29, 27. Начинается процесс обесфторирования. Соединение трубы
подачи исходной воды с надфильтровым слоем скорого фильтра значительно упрощает
конструкцию устройства, так как отпадает необходимость подачи исходной воды с
введенным в нее магнийсодержащим реагентом до фильтра в осветлитель со
взвешенным осадком. Кроме того, исключается необходимость устройства системы
приготовления и дозирования подщелачивающего реагента для обрабатываемой воды и
системы приготовления и дозирования подкисляющего реагента для обесфторенной
воды. Это в свою очередь также упрощает эксплуатацию устройства, уменьшает
строительные и эксплуатационные затраты. Соединение трубы отвода промывной воды
с входом гидроциклона, нижний выход которого направлен в емкость для сбора
осадка оксифторида магния, а верхний выход - в емкость для сбора очищенной
промывной воды, обеспечивает возможность отделения и утилизации осадка
оксифторида магния для последующего его использования в качестве
фторсодержащего реагента [26].
Соединение верхнего выхода гидроциклона с емкостью для сбора очищенной
промывной воды, куда также опущена всасывающая труба, соединенная с другой
стороны со штуцером эжектора, расположенного на трубе подачи исходной воды на
отрезке между точками ввода магнийсодержащего реагента и ввода этой трубы в
скорый фильтр, позволяет увеличить производительность устройства, так как
большая часть объема обесфторенной промывной воды (до 90 %) возвращается в
поток, поступающий на скорый фильтр. Кроме того, также способствует уменьшению
эксплуатационных затрат, так как не требуется дополнительное расходование
магнийсодержащего реагента на промывную воду, введенную в трубу подачи исходной
воды.
Устройства обладают следующими преимуществами:
) упрощается технология;
) улучшается качество очищенной воды;
) улучшаются потребительские свойства осадка;
) увеличивается производительность;
) обеспечивается возможность отделения и утилизации осадка оксифторида
магния для последующего его использования;
) упрощается эксплуатация;
) уменьшаются строительные и эксплуатационные затраты [25].
5.3 Гидравлические расчёты водопроводной сети
микрорайона Школьный
Подготовка водопроводной сети к гидравлическому расчету:
Вычерчивается схема водопроводной сети, на которой указываются номера
узлов и длины участков в метрах (рисунок 5.8).
Рисунок 5.8 - Схема водопроводной сети
Определяется удельный равномерно-распределенный расход воды по формуле
(5.8)


(5.8)
где
- равномерно-распределенный расход, л/с;
∑
l - суммарная длина водопроводной сети, м.
=
0,02740196
Определяются
величины узловых отборов воды. Расчеты сводятся в таблицу 5.4. В графе 1 приводятся
номера всех узлов водопроводной сети (включая водонапорную башню). В графе 2
обозначаются участки, примыкающие к каждому узлу. В графе 4 определяются
путевые равномерно-распределенные расходы на каждом участке по формуле (5.9):
, л/с, (5.9)
где
- удельный равномерно-распределенный расход воды;
li - длина
участка, м.
В
графе 5 определяются узловые равномерно-распределенные расходы по формуле
(5.10):
, л/с, (5.10)
где
- сумма путевых расходов, прилегающих к узлу.
В
графе 6 приводятся наименования крупных сосредоточенных потребителей,
расположенных рядом с соответствующими узлами, а в графе 7 - величины их
расходов. В графе 8 узловые обороты воды путем постепенного сложения величин
и
.
На схему наносятся ориентировочные расчетные расходы воды на каждом
участке и указываются стрелками предполагаемые направления движения воды.
Таблица 5.4 - Определение узловых отборов воды
|
№ Узлов
|
Наименование участков
|
Длина участков, Li
|
Путевые расходы, qпут.р.р., л/с
|
qр.р.узл., л/с
|
Сосредоточенные расходы
|
qузл., л/с
|
|
|
|
|
|
потребители
|
Qсоср., л/с
|
|
|
1
|
2
|
3
|
4
|
5
|
6
|
7
|
8
|
|
ВБ1
|
ВБ1-1
|
15
|
0,41
|
0,21
|
|
-
|
0,21
|
|
ВБ2
|
ВБ2-2
|
15
|
0,41
|
0,21
|
|
-
|
0,21
|
|
1
|
1-ВБ1 1-3
|
15 30
|
0,41 0,82
|
0,62
|
|
-
|
0,62
|
|
2
|
2-ВБ2 2-3
|
15 135
|
0,41 3,69
|
2,1
|
|
-
|
2,1
|
|
3
|
3-1 3-2 3-4
|
30 135 180
|
0,82 3,69 4,92
|
4,73
|
котельная
|
1,1
|
5,83
|
|
4
|
4-3 4-8 4-5
|
180 30 180
|
4,94 0,82 4,94
|
5,34
|
пекарня
|
0,1
|
5,43
|
|
5
|
5-4 5-6
|
180 540
|
4,94 14,78
|
9,86
|
детский сад, спортивныйкомплекс
|
0,2
|
10,05
|
|
6
|
6-5 6-7
|
540 210
|
14,78 5,74
|
10,26
|
детский сад, школа, гостиница
|
4,15
|
14,41
|
|
7
|
7-6 7-9
|
210 30
|
5,74 0,82
|
3,28
|
столярно-плотницкая мастерская
|
0
|
3,28
|
|
8
|
8-4 8-9
|
30 510
|
0,82 13,95
|
7,39
|
мойка, гостиница, больница
|
4,1
|
11,49
|
|
9
|
9-7 9-8 9-10
|
30 510 135
|
0,82 13,95 3,69
|
9,23
|
мойка, школа
|
0,45
|
9,68
|
|
10
|
10-9 10-11
|
135 30
|
3,69 0,82
|
2,26
|
спортивный комплекс
|
0
|
2,26
|
|
11
|
11-10
|
30
|
0,82
|
0,41
|
деревообр. предприятие
|
0
|
0,41
|
|
Итого
|
|
|
|
55,9
|
|
10,1
|
66
|
Проводим гидравлический расчет водопроводной сети на пропуск
максимального хозяйственного расхода.
Выбор материала труб водопроводной сети осуществляется с учетом
требований, изложенных в п.1.3 и п.8.21 [27]. Кроме того, для окончательного
выбора и обоснования выбранного материала труб рекомендуется изучить основные
характеристики водопроводных труб, выпускаемых промышленностью Российской
Федерации [28]. Гидравлический расчёт колец водопроводной сети сводится в
таблицу 5.5.
Таблица 5.5 - Гидравлический расчет водопроводной сети на пропуск
максимального хозяйственного расхода
|
№
|
Участки
|
Длина участка, м
|
Ориен. расход, q, л/с
|
Диаметр труб, d, мм
|
Удельное сопротивление, А·10-6
|
Сопротивление участка, S=A·l
|
q ∙ S
|
Потери напора, h=Sq2
|
|
1
|
2
|
3
|
4
|
5
|
6
|
7
|
8
|
9
|
|
1
|
4-5 5-6 6-7 7-9 9-8 8-4
|
180 540 210 30 510 30
|
29 18,94 4,53 1,25 11,1 22,59
|
350 300 150 100 300 350
|
0,437 0,949 37,11 311,7 0,949 0,437
|
0,00007866 0,00051246 0,0077931 0,009351 0,00048399
0,00001311
|
0,002 0,01 0,035 0,012 0,005 0,001 ∑0,065
|
+0,06 +0,19 +0,16 +0,02 -0,06 -0,02 ∑0,35
|
В графе 1 указываются номер кольца водопроводной сети, а в графе 2
обозначения участков, из которых состоит кольцо. В графу выписываются
ориентировочные расходы воды на каждом участке. По величинам ориентировочных
расходов и выбранному материалу труб подбираются условные диаметры (графа 5)
труб и их удельные сопротивления (графа 6). Для этого пользуемся таблицами Ф.А.
Шевелева [14]. Величина сопротивления участка (графа 7) определяется по формуле
(5.11).
= А ·1 (5.11)
где А - удельное сопротивление трубы, м;
- длина участка, м.
Величина потери напора (графа 8) определяется по формуле (5.12).
= S · q2,м (5.12)
где S - сопротивление участка, м;
q -
ориентировочный расход на участке, л/с.
Для определения суммарной величины потерь напора в кольце перед
величинами потерь напора на каждом участке ставится знаки, учитывающие
направления движения воды (графа 9).
Если направление на участке совпадает с общим направлением в кольце -
ставится знак «минус»; если не совпадает - ставится знак «плюс». С учетом этих
знаков определяется невязка потерь напора в каждом кольце (Ʃh1 , Ʃh2 ). Допустимая невязка в кольце h =
0,5 м. Если расчетная невязка во всех кольцах не превышает допустимую,
гидравлический расчет считается законченным.
Гидравлический расчет тупиков сводится в таблицу 5.6.
Таблица 5.6 - Гидравлический расчет тупиков
Длина, м
|
Расход, q,
л/с
|
Условный диметр труб, d, мм
|
Удельное сопротивление, А·10-6
|
Сопротивление участка, S=A·l
|
Потери напора, h=q2·S, м
|
|
2
|
3
|
4
|
5
|
6
|
7
|
8
|
|
ВБ1-1 ВБ2-2 1-3 3-2 3-4 9-10 10-11
|
15 15 30 135 180 135 30
|
32,79 32,79 32,17 30,69 57,03 2,67 0,41
|
400 400 400 350 450 250 200
|
0,219 0,219 0,219 0,437 0,119 2,528 8,092
|
0,000003 0,000003 0,000006 0,000059 0,000021 0,000341
0,000243
|
0,003 0,003 0,006 0,05 0,07 0,002 0,0001
|
|
Итого
|
|
|
|
|
∑=0,000676
|
Ʃ =0,1341
|
Поверочный гидравлический расчёт на пропуск максимального хозяйственного
и пожарного расходов.
Технические условия устройства противопожарного водопровода принимаются в
соответствии с пунктом 2.11 [27]. В выпускной квалификационной работе принимаем
устройство хозяйственно-противопожарного водопровода.
В соответствии с пунктом 2.14 [27] принимаются: расчетное количество одновременных
пожаров и расходы воды на тушение пожара. В нашем случае один пожар и 10 л/с
соответственно.
Расчетные точки возможных пожаров рекомендуется принять в наиболее
удаленных узлах. В этих точках узловые расходы следует увеличить на величины
пожарных расходов.
Поверочный гидравлический расчет кольца для микрорайона сводится в
таблицу 5.7. При этом графы 1, 2, 3, 5, 6, 7 остаются неизменными, а в графу 4
записываются ориентировочные расходы с учетом пожарных расходов.
Таблица 5.7 - Поверочный гидравлический расчет кольца микрорайона
|
№
|
Участки
|
Длина участка, м
|
Ориен. расход, q, л/с
|
Диаметр труб, d, мм
|
Удельное сопротивление, А·10-6
|
Сопротивление участка, S=A·l
|
q ∙ S
|
Потери напора, h=Sq2, м
|
|
1
|
2
|
3
|
4
|
5
|
6
|
7
|
8
|
9
|
|
1
|
4-5 5-6 6-7 7-9 9-8 8-4
|
180 540 210 30 510 30
|
30 19,94 5,53 2,25 20,1 31,59
|
350 300 150 100 300 350
|
0,437 0,949 37,11 311,7 0,949 0,437
|
0,00007866 0,00051246 0,0077931 0,009351 0,00048399
0,00001311
|
0,002 0,01 0,043 0,021 0,01 0,001 ∑0,087
|
+0,06 +0,2 +0,24 +0,05 -0,20 -0,03 ∑0,32
|
Поверочный гидравлический расчет тупиков выполняется и записывается в
таблицу 5.8. При этом, рассчитываются только те участки, в которых изменяются
первоначальные ориентировочные расходы. Графы 1, 2, 4, 5 и 6 остаются
неизменными, а в графу 3 записываются ориентировочные расходы с учетом пожарных
расходов.
Таблица 5.8 - Гидравлический расчет тупиков водопроводной сети на пропуск
максимального секундного и пожарного расходов
|
№
|
Участки
|
Длина участка
|
Ориентировочный расход, q, л/с
|
Диметр труб, d,
мм
|
Удел. сопротивление, А·10-6
|
Сопротивление участка, S=A·l
|
Потери напора, h=q2·S
|
|
1
|
2
|
3
|
4
|
5
|
6
|
7
|
8
|
|
1
|
ВБ1-1 ВБ2-2 1-3 3-2 3-4 9-10 10-11
|
15 15 30 135 180 135 30
|
37,79 37,79 37,17 35,69 67,03 12,67 10,41
|
400 400 400 350 450 250 200
|
0,219 0,219 0,219 0,437 0,119 2,528 8,092
|
0,000003 0,000003 0,000006 0,000059 0,000021 0,000341
0,000243
|
0,004 0,004 0,008 0,07 0,09 0,05 0,03
|
Окончательные результаты поверочного расчета выполняются по форме схемы,
приведенной на рисунке 5.9 и 5.10
Рисунок 5.9 - Схема водопроводной сети
Рисунок 5.10 - Схема водопроводной сети
5.4 Определение свободных напоров в
водопроводной сети
Свободные напоры определяются для дальнейшего проектирования
напорно-регулирующих сооружений, насосных станций и водоводов. Эти расчеты
выполняются для двух случаев:
а) при пропуске через водопроводную сеть максимально-хозяйственного
расхода;
б) при одновременном пропуске максимально-хозяйственного и пожарного
расходов.
Расчёт свободных напоров в водопроводной сети при пропуске максимального
хозяйственного расхода сводится в таблицу 5.9
Таблица 5.9 - Определение свободных напоров в водопроводной сети при
пропуске максимального хозяйственного расхода
|
Узлы
|
Участки
|
Отметки поверхности земли
|
Потери напора, вычисленные
|
Потери напора увязанные
|
Условные отметки пьезометрической линии
|
Условный свободный напор
|
Действительные отметки пьезометрической линии
|
Действительный свободный напор
|
|
1
|
2
|
3
|
4
|
5
|
6
|
7
|
8
|
9
|
|
ВБ1
|
|
119
|
|
|
300
|
181
|
168,941
|
49,941
|
|
ВБ1-1
|
|
+0,003
|
+0,003
|
|
|
|
|
|
1
|
|
119
|
|
|
300,003
|
181,003
|
168,944
|
49,944
|
|
1-3
|
|
+0,006
|
+0,006
|
|
|
|
|
|
3
|
|
119
|
|
|
300,009
|
181,009
|
168,95
|
49,95
|
|
3-2
|
|
+0,05
|
+0,05
|
|
|
|
|
|
2
|
|
119
|
|
|
300,059
|
181,059
|
169
|
50
|
|
2-ВБ2
|
|
-0,003
|
-0,003
|
|
|
|
|
|
ВБ2
|
|
119
|
|
|
300,056
|
181,056
|
168,997
|
49,997
|
|
ВБ2-2
|
|
+0,003
|
+0,003
|
|
|
|
|
|
2
|
|
119
|
|
|
300,059
|
181,059
|
169
|
50
|
|
2-3
|
|
-0,05
|
-0,05
|
|
|
|
|
|
3
|
|
119
|
|
|
300,009
|
181,009
|
168,95
|
49,95
|
|
3-4
|
|
+0,07
|
+0,07
|
|
|
|
|
|
4
|
|
123
|
|
|
300,079
|
177,079
|
169,02
|
46,02
|
|
4-8
|
|
-0,02
|
-0,02
|
|
|
|
|
|
8
|
|
123
|
|
|
300,059
|
177,059
|
169
|
46
|
|
8-9
|
|
-0,06
|
-0,06
|
|
|
|
|
|
9
|
|
121
|
|
|
299,999
|
178,999
|
168,94
|
47,94
|
|
9-10
|
|
+0,002
|
+0,002
|
|
|
|
|
|
10
|
|
121
|
|
|
300,001
|
179,001
|
168,942
|
47,942
|
|
10-11
|
|
+0,0001
|
+0,0001
|
|
|
|
|
|
11
|
|
121
|
|
|
300,0011
|
179,0011
|
168,9421
|
47,9421
|
|
11-10
|
|
-0,0001
|
-0,0001
|
|
|
|
|
|
10
|
|
121
|
|
|
300,001
|
179,001
|
168,942
|
47,942
|
|
10-9
|
|
-0,002
|
-0,002
|
|
|
|
|
|
9
|
|
121
|
|
|
299,999
|
178,999
|
168,94
|
47,94
|
|
9-7
|
|
+0,02
|
+0,02
|
|
|
|
|
|
7
|
|
121
|
|
|
300,019
|
179,019
|
168,96
|
47,96
|
|
7-6
|
|
+0,16
|
+0,01
|
|
|
|
|
|
6
|
|
120
|
|
|
300,029
|
180,029
|
168,97
|
47,97
|
|
6-5
|
|
+0,19
|
+0,04
|
|
|
|
|
|
5
|
|
123
|
|
|
300,069
|
177,069
|
169,01
|
46,01
|
|
5-4
|
|
+0,06
|
+0,01
|
|
|
|
|
|
4
|
|
123
|
|
|
300,079
|
181,079
|
169,02
|
46,02
|
|
4-3
|
|
-0,07
|
-0,07
|
|
|
|
|
|
3
|
|
119
|
|
|
300,009
|
181,009
|
168,95
|
49,95
|
|
3-1
|
|
-0,006
|
-0,006
|
|
|
|
|
|
1
|
|
119
|
|
|
300,003
|
181,003
|
168,944
|
49,944
|
|
1-ВБ1
|
|
-0,003
|
-0,003
|
|
|
|
|
|
ВБ1
|
|
119
|
|
|
300
|
181
|
168,941
|
49,941
|
|
|
|
∑ = 0,35
|
∑ = 0
|
|
|
|
|
В графу 1 выписываются все узлы в одну линию.
В графу 4 выписываются величины потерь напора из таблиц 5.2, 5.3 и 6.3.
Перед ними ставятся знаки в зависимости от направления движения воды:
если направление участка совпадает с направлением движения воды - ставится знак
«минус», если не совпадает - «плюс». Затем в графе 4 определяется суммарная
невязка потерь напора с соответствующим знаком. На величину этой невязки
уменьшаются значения потерь напора таким образом, чтобы суммарная невязка
равнялась нулю. При этом рекомендуется вносить исправления только на участки,
относящиеся к наружному контуру колец.
В графу 6 записываются условные отметки пьезометрической линии. В месте
расположения гидропневматической установки (узел ВБ) эта отметка принимается
произвольно. Все остальные отметки определяются путем прибавления или вычитания
увязанных потерь напора.
В графе 7 построчно определяются условные свободные напоры,
представляющие собой разность между условными отметками пьезометрической линии
и отметками поверхности земли. Затем определяется место расположения диктующей
точки - это узел, в котором условный свободный напор - минимальный.
В соответствии с этажностью застройки по п.2.26 [29], определяется
минимальный свободный напор в диктующей точке Hmin по формуле (5.13).
= 10 + (n-1) ∙ 4, м (5.13)
где n - этажность застройки.
Hmin =
10 + (10-1) ∙ 4 = 46 м.
Определяется поправка для расчета действительных отметок пьезометрической
линии и действительных свободных напоров. По данным таблицы она равна:
∆ = 177,059 - 46 = 131,059 м.
В графу 8 записываются величины действительных отметок пьезометрической
линии, представляющие собой разность между условными отметками и поправкой.
Действительные напоры (графа 9) также представляют собой разность между
условными свободными напорами и поправкой.
Расчет на пропуск максимального хозяйственного и пожарного расходов.
Расчет выполняется также как и на пропуск максимального хозяйственного
расхода, сводится в таблицу 5.10. При этом рекомендуется принять систему
пожаротушения низкого давления с минимальным свободным напором Hmin = 10 м.
Таблица 5.10 - Определение свободных напоров в водопроводной сети при
пропуске максимального хозяйственного и пожарного расходов
|
Узлы
|
Участки
|
Отметки поверхности земли
|
Потери напора вычисленные
|
Потери напора увязанные
|
Условные отметки пьезометрические линии
|
Условный свободный напор
|
Действительный отметки пьезометрической линии
|
Действительный свободный напор
|
|
1
|
2
|
3
|
4
|
5
|
6
|
7
|
8
|
9
|
|
ВБ1
|
|
119
|
|
|
300
|
181
|
132,928
|
13,928
|
|
ВБ1-1
|
|
+0,004
|
+0,004
|
|
|
|
|
|
1
|
|
119
|
|
|
300,004
|
181,004
|
132,932
|
13,932
|
|
1-3
|
|
+0,008
|
+0,008
|
|
119
|
|
|
300,012
|
181,012
|
132,94
|
13,94
|
|
3-2
|
|
+0,07
|
+0,07
|
|
|
|
|
|
2
|
|
119
|
|
|
300,082
|
181,082
|
133,01
|
14,01
|
|
2-ВБ2
|
|
-0,004
|
-0,004
|
|
|
|
|
|
ВБ2
|
|
119
|
|
|
300,078
|
181,078
|
133,006
|
14,006
|
|
ВБ2-2
|
|
+0,004
|
+0,004
|
|
|
|
|
|
2
|
|
119
|
|
|
300,082
|
181,082
|
133,01
|
14,01
|
|
2-3
|
|
-0,07
|
-0,07
|
|
|
|
|
|
3
|
|
119
|
|
|
300,012
|
181,012
|
132,94
|
13,94
|
|
3-4
|
|
+0,09
|
+0,09
|
|
|
|
|
|
4
|
|
123
|
|
|
300,102
|
177,102
|
133,03
|
10,03
|
|
4-8
|
|
-0,03
|
-0,03
|
|
|
|
|
|
8
|
|
123
|
|
|
300,072
|
177,072
|
133
|
10
|
|
8-9
|
|
-0,2
|
-0,2
|
|
|
|
|
|
9
|
|
121
|
|
|
299,872
|
178,872
|
132,8
|
11,8
|
|
9-10
|
|
+0,05
|
+0,05
|
|
|
|
|
|
10
|
|
121
|
|
|
299,922
|
178,922
|
132,85
|
11,85
|
|
10-11
|
|
+0,03
|
+0,03
|
|
|
|
|
|
11
|
|
121
|
|
|
299,952
|
178,952
|
132,88
|
11,88
|
|
11-10
|
|
-0,03
|
-0,03
|
|
|
|
|
|
10
|
|
121
|
|
|
299,922
|
178,922
|
132,85
|
11,85
|
|
10-9
|
|
-0,05
|
-0,05
|
|
|
|
|
|
9
|
|
121
|
|
|
299,872
|
178,872
|
132,8
|
11,8
|
|
9-7
|
|
+0,05
|
+0,05
|
|
|
|
|
|
7
|
|
121
|
|
|
299,922
|
179,922
|
132,85
|
11,85
|
|
7-6
|
|
+0,24
|
+0,02
|
|
|
|
|
|
6
|
|
120
|
|
|
299,942
|
179,942
|
132,87
|
12,87
|
|
6-5
|
|
+0,2
|
+0,2
|
|
|
|
|
|
5
|
|
123
|
|
|
300,142
|
177,142
|
133,07
|
10,07
|
|
5-4
|
|
+0,06
|
-0,04
|
|
|
|
|
|
4
|
|
123
|
|
|
300,102
|
181,102
|
133,03
|
10,03
|
|
4-3
|
|
-0,09
|
-0,09
|
|
|
|
|
|
3
|
|
119
|
|
|
300,012
|
181,012
|
132,94
|
13,94
|
|
3-1
|
|
-0,008
|
-0,008
|
|
|
|
|
|
1
|
|
119
|
|
|
300,004
|
181,004
|
132,932
|
13,932
|
|
1-ВБ1
|
|
-0,004
|
-0,004
|
|
|
|
|
|
ВБ1
|
|
119
|
|
|
300
|
181
|
132,928
|
13,928
|
|
|
|
∑ = 0,32
|
∑ = 0
|
|
|
|
|
5.5 Определение основных размеров водонапорной
башни
Водонапорная башня предназначена для обеспечения необходимых свободных
напоров на всех участках водопроводной сети и для хранения необходимых запасов
воды.
В соответствии с п. 9.1 [30] в баке должен находиться регулирующий,
пожарный и аварийный объемы воды.
Определяем общий объем бака по формуле (5,14).
= Wpeг + W пож + Wав ,
м3 (5.14)
где Wрег - регулирующий объем бака, м3;
Wпож -
пожарный объем бака, м3;
Wав -
аварийный объем бака, м3.
Регулирующий объем определяется по формуле (5.15).
, м3 (5.15)
где αизб - максимальная разница ординат интегральных кривых
водопотребления и водоподачи по избытку, равная 12%;
αнед - разница ординат интегральных
кривых водопотребления и водоподачи по недостатку, равная 7%.
= 486,93 м3.
Основной 3-х часовой пожарный объем будет храниться в резервуаре чистой
воды. Бак водонапорной башни рассчитывается на хранение 10-15 минутного
пожарного объема определяется по формуле (5.16).
, м3 (5.16)
где qпож - расход, который равен 10 л/с;
t -
время, хранения пожарного расхода, равное 15 мин.
= 9,0 м3.
Аварийный объем определяется по формуле (5.17).
, м3 (5.17)
где Qсут.макс - максимальный суточный
расход воды.
= 53,39 м3.
Определяем общий объем бака:
W =
486,93 + 9,0 + 53,39 = 549,32 м.
Принимаем стальной бак с плоским днищем стандартных размеров: объем бака
650 м 3, внутренний диаметр 9,86 м 3, полная высота 8,5 м3.
Определяется высота ствола воды напорной башни. Для этого составляется
расчетная схема водонапорной башни, представленная на рисунке 5.11
Рисунок 5.11 - Расчётная схема водонапорной башни
Определяем высоты уровня: регулирующего hрег = 6,38 м, пожарного hпож = 0,12 м, аварийного hав = 0,7
м, строительного hстр = 1,3 м.
6. БЕЗОПАСНОСТЬ И ЭКОЛОГИЧНОСТЬ
6.1 Техника безопасности при работе с малыми
напряжениями
Применение малых напряжений.
Малое напряжение - это номинальное напряжение не более 42 В, применяемое
для уменьшения опасности поражения электрическим током.
Если номинальное напряжение электроустановки не превышает длительно
допустимого напряжения прикосновения, то даже одновременный контакт человека с
токоведущими частями разных фаз или полюсов будет безопасен. Наибольшая степень
безопасности достигается при напряжениях 6-10 В, так как при таком напряжении
ток через человека не превысит 1-1,5 мА. В помещениях с повышенной опасностью и
особо опасных, где сопротивление цепи человека может быть значительно снижено,
ток через человека может в несколько раз превысить это значение.
На практике применение таких малых напряжений ограничено шахтерскими
лампами (2,5 В) и некоторыми бытовыми приборами (игрушки, карманные фонари,
электробритвы и т.п.). В производственных переносных электроприемниках с целью
повышения безопасности применяются напряжения 12, 36 и 42 В. В помещениях с
повышенной опасностью для переносных электроприемниках рекомендуется
номинальное напряжение 36 В.
Источниками малого напряжения могут быть батарея гальванических
элементов, аккумулятор, выпрямительная установка, преобразователь частоты и
трансформатор. Аккумуляторы и гальванические элементы не зависимы от
стационарных сетей, но неудобны в эксплуатации [31].
Выпрямительная установка, применяемая как источник малого напряжения,
должна соединяться с питающей сетью через понизительный трансформатор.
Включение выпрямителей через автотрансформатор не допускается, так как
токоведущие части сети малого постоянного напряжения в этом случае электрически
связаны с сетью высшего напряжения.
Преобразователи частоты позволяют при той же мощности уменьшить габариты
и массу электродвигателей, питающихся током повышенной частоты - 200, 400 Гц и
более. При снижении массы ручного электроинструмента улучшаются условия труда,
так как уменьшается физическая нагрузка рабочего. Повышение электробезопасности
при этом достигается только за счет малого напряжения, так как ток частотой
200, 400 и даже 500 Гц опасен так же, как и ток частотой 50 Гц. В разветвленных
сетях опасность повышается даже вследствие увеличения емкостной проводимости
фаз относительно земли.
Наиболее часто как источники малого напряжения применяются понизительные
трансформаторы. Они отличаются от других источников малого напряжения простотой
конструкции и большей надежностью. Единственное слабое место понизительных
трансформаторов - возможность перехода высшего напряжения первичной обмотки на
вторичную. В этом случае прикосновение к токоведущим частям или к
незаземленному корпусу, оказавшемуся под напряжением, в сети малого напряжения
равноценно такому же прикосновению в сети высшего напряжения. С целью
уменьшения опасности при переходе высшего напряжения на сторону вторичного
малого напряжения вторичная обмотка трансформатора заземляется или зануляется.
Применение в качестве источника малого напряжения автотрансформатора
запрещено, так как сеть малого напряжения в этом случае всегда оказывается
связанной с сетью высшею напряжения.
Применение малых напряжений - эффективная защитная мера, но ее широкому
распространению мешает трудность осуществления протяженной сети малого
напряжения.
Поэтому источник малого напряжения должен быть максимально приближен к
потребителю. Вследствие того что потребители рассредоточены на значительных
территориях, надо устанавливать источники питания (трансформаторы) на небольшую
группу потребителей или даже на каждый потребитель, что экономически невыгодно.
Поэтому область применения малых напряжений 12, 36 и 42 В ограничивается ручным
электрифицированным инструментом, ручными переносными лампами и лампами
местного освещения [32].
6.2 Разработка мероприятий по удалению
повышенного содержания фтора и железа в питьевой воде
Вoдa - весьма рaспрoстрaненнoe на
Зeмлe вeщeствo. Пoчти
3/4 пoвeрхнoсти зeмнoгo шара покрыты
водой, образующей океаны, моря, реки и озера.
Прирoдная вода не бывает совершенно
чистой. Она содержит растворенные и взвешенные вещества органического и
минерального происхождения, которые попадают в воду из атмосферы, из почв и
грунтов, а также за счeт
жизнeдeятeльнoсти и отмирания населяющих воду живых
организмов. Основные источники загрязнения водных ресурсов принесла цивилизация
[33].
Для того, что бы исключить загрязнение природных вод, необходимо
постоянно контролировать показатели качества вод. Это позволит не только
обеспечить подержание воды в водоисточнике надлежащего качества, но и быстро
обнаружить источник загрязнения.
С вoдoй человек сталкивается в разных ее видах: питьевая вода,
водоем для купания, водоем около места жительства, места частого пребывания и
т.д.
Питьевая вода - необходимый компонент жизнеобеспечения населения. От ее
качества, количества и бесперебойной подачи зависят не только состояние
здоровья людей, уровень санитарно-эпидемиологического благополучия, но степень
благоустройства жилищного фонда и городской среды, стабильность работы
социально-бытовой сферы [34].
Экологи утверждают, что качество питьевой воды в России очень низкое.
Питьевая вода всегда должна отвечать определённым установленным
стандартам и нормам. В России на данный момент основным нормативным документом
является СанПиН 2.1.4.1074-01 "Вода питьевая" [1].
Наиболее часто встречающимся элементом в природных водах, в частности
подземных, во многих странах и отдельных регионах является железо и фтор.
Употребление воды с повышенным содержанием железа приводит не только к
аллергическим реакциям, болезням сердца и печени, но и к разрушению витамина Е
в организме человека витамина с уникальными и незаменимыми свойствами. Нехватка
любого из витаминов пагубно сказывается на здоровье человека, но нехватка
витамина Е сказывается особенно непоправимо наносится удар по эндокринной
системе человека. Эндокринная система человека это все железы внутренней
секреции: гипофиз, эпифиз, щитовидная, околощитовидная, поджелудочная железа,
надпочечники и половые железы. Гипофиз является центральным органом эндокринной
системы, вырабатывает гормоны, влияющие на рост, обмен веществ и репродуктивную
функцию. Эти гормоны осуществляют управление и координацию деятельности всех
эндокринных желез организма.
C
такой водой возникает целый ряд проблем, как при бытовом, так и при
коммерческо-промышленном использовании. Уже при концентрациях железа свыше 0,3
мг/л такая вода вызывает образование ржавых потеков, может изменить цвет одежды
при их стирке, при больших концентрациях у воды возникает характерный
металлический привкус, что плохо сказывается на качестве напитков, таких как чай,
кофе.
Влияние фтора на организм человека можно рассматривать с двух сторон.
Содержанием фтора в питьевой воде ниже 1,5 мг/л, это может привести к кариесу
зубов, ломкости ногтей и выпадению волос.
А при большом содержании фтора, это негативно влияет на центральную
нервную систему человека, нарушение окостенения скелета, истощению организма, а
также это приводит к развитию флюороза [36].
Таким образом, с экологической точки зрения удаление повышенного
содержания фтора и железа является актуальной как для питьевого и
хозяйственно-бытового применения.
ЗАКЛЮЧЕНИЕ
Цель данной выпускной квалификационной работы заключалась в повышении
эффективности водоснабжения потребителей города Дзержинский Московской области
на примере микрорайона Школьный.
В ходе работы были решены следующие задачи:
) рассмотрен и проанализирован объект исследования;
) изучены существующие методы по очистке питьевой воды от повышенного
содержания фтора и железа, выявлены их недостатки. Сделан вывод о том, что
данные методы имеют большое количество недостатков такие как: ограниченная
область применения, громоздкость сооружения, высокая строительная стоимость и
большие эксплуатационные затраты, плохая управляемость технологическими
процессами;
) выполнен расчёт водопотребления потребителей микрорайона с учётом
перспективного развития на 2026 год, который составил 2563 м3/сут.
) рассчитаны технико-экономические показатели двух представленных
вариантов водоснабжения и был выбран наиболее экономическивыгодный вариант;
) разработано технологическое решение водообеспечение, спроектированы
водозаборные скважины, разработана водопроводная сеть и выполнен гидравлический
расчёт рассматриваемого микрорайона;
) изучена техника безопасность при работе с малыми напряжениями и влияние
на организм человека повышенного содержания в питьевой воде фтора и железа.
По данным исследования были использованы новые изобретения по очистке
питьевой воды с повышенным содержанием фтора и железа, защищенные патентами
ВоГУ. Эти установки являются более компактными, дешевыми, простыми в
эксплуатации по сравнению с традиционными способами.
СПИСОК ИСПОЛЬЗОВАННЫХ ИСТОЧНИКОВ
1. Питьевая
вода. Гигиенические требования к качеству воды централизованных систем
питьевого водоснабжения. Контроль качества.: СанПиН 2.1.4.1074-01. - Введ.01.01.01.
- М.: Госэпидемнадзор России, 2001. 111с.
. Николадзе,
Г.И. Обезжелезивание природных и оборотных вод / Г.И. Николадзе.- М.:
Стройиздат, 1980. - 160 с.
. Николадзе
Г.И. Обезжелезивание прироных и оборотных вод. М., Стройиздат, 1978. 160 с.
.
Водоподготовка: Справочник. /Под ред. д.т.н., действительного члена Академии
промышленной экологии С.Е. Беликова. М.: Аква - Терм, 2007.-240 с.
. Кульский
Л.А., Строкач П.П. Технология очистки природных вод. - Вища школа, 1981 -
С.213-221
. Перлина
A.M., Балашова Г.В., Горяинова Г.С. Обезжелезивание подземных вод
фильтрованием. - В кн.: Науч. тр. АКХ, 1963, № 3, вып. 22. Водоснабжение, с.
3-18.
. Клячко В.А.
Указания по проектированию установок для обезжелезивания воды. M.: ВНИИ ВОДГЕО,
1959. 35 с.
. Николадзе
Г.И., Сомов М.А. Водоснабжение: Учебник для вузов.- М.: Стройиздат, 1995. 688
с.
. Николадзе
Г.И. Улучшение качества природных вод / Г.И. Николадзе. М.: Высшая школа, 1987.
- 515 с.
.
Водоснабжение. Технико-экономические расчеты: учеб. пособие/под ред. Г.М.
Басса. - Киев: Вища школа,1977.-152 с.
.
Строительные нормы и правила: Внутренний водопровод и канализация зданий: СНиП
2.04.01-85.-М.:Стройиздат,1985.-56 с.
.
Методические указания к курсовому проекту. Инженерные системы водообеспечения и
водоотведения. Часть 1/сост.:C.М.Чудновский,
П.В.Серый, В.В.Середа. - Вологда: ВоПИ,1997.-24 с.
.
Методическое указание к технико-экономическим расчетам 1983 ?
. Курганов,
А.М. Водозаборные сооружения систем коммунального водоснабжения /А.М.
Курганов.- М.: СПб: АСВ. 1998.- 246с.
. Чудновский,
С. М. Проектирование, строительство и эксплуатация водозаборных скважин:
учебное пособие / С.М. Чудновский, А.В.Зенков. - Вологда: ВоГТУ, 2008.- 127с.
. ГОСТ
2874-82. Вода питьевая. Гигиенические требования и контроль за качеством. Вода
питьевая: Методы анализа. - М.: Издательство стандартов. 2010 - 7с.
. Суреньянц,
С.Я. Эксплуатация водозаборов подземных вод / С.Я. Суреньянц, А.П. Иванов. -
М.: Стройиздат,1989.- 80 с.
. Плотников,
Н.А Проектирование и эксплуатация водозаборов подземных вод /Н.А Плотников,
В.С.Алексеев.- М.: Стройиздат,1990. - 256с.
. Пат.
2501740 Российская федерация. Установка для обезжелезивания подземных вод /С.
М. Чудновский, Г.А. Тихановская, Л. М. Воропай, М. Н. Орлова, Н. А. Волохова,
С.М. Шмырин, А. А. Суконщиков: Заявитель и патентообладатель Вологодский гос.
ун-т. -Опубл. 20. 12. 13. Бюл. №35 -10 с.
. Чудновский
С.М. Улучшение качества природных вод: учеб. пособие / С.М. Чудновский. -
Вологда: ВоГУ, 2014. - 182 с.
. Кульский
Л.А., Строкач П.П. Характеристика фтора. - Вища школа, 1981 -С.213-221
. Патент на
изобретение РФ № 2274608. Способ обесфторивания подземных вод и устройство для
его осуществления / Л.Е. Проничева, Г.А. Тихановская, С.М. Чудновский.- Опубл.
27.04.02.- Бюл.№12.
. Способ
фторирования воды. Патент RU №2181700. Опубл. 27.04.2002. Бюл. №12.
. Инженерные
системы водоснабжения и водоотведения: Методические указания к курсовому
проекту. Часть 2. /Сост.:С.М.Чудновский, П.В.Серый - Вологда: ВГТУ,2000. - 24с.
.
Водоснабжение. Проектирование систем и сооружений: В 3-х т.- Т.3. Системы
распределения и подачи воды/ Научно-методическое руководство и общая редакция
М.Г.Журбы - Вологда-Москва, 2001.-188 с.
. Инженерные
системы водоснабжения и водоотведения: Методические указания к курсовому
проекту. Часть 1. Определение водопотребности сельского населенного пункта/
Сост.: С.М. Чудновский, А.В. Зенков, П.В.Серый - Вологда: ВПИ,1996. - 24с.
.
Строительные нормы и правила. Водоснабжение. Наружные сети и сооружения. : СНиП
2.04.02-84: введ. 01. 01. 86. -М.: Стройиздат, 1985. -132
. Дмитриев,
В. В. Экологическое нормирование и устойчивость природных систем: учеб. пособие
/ В.В. Дмитриев, Г.Т. Фрумин. - СПб.: Наука, 2014. - 294 с.
. Пупырев, Е.
К. Концепция решения проблемы обеспечения населения России питьевой водой /
Е.И. Пупырев, О.Г. Примин, П.П. Пальгунов // Чистый город. -2005. -№4. -с.
25-29.