|
Наименование параметра
|
Обозн.
|
Значение
|
Ед. изм.
|
|
Наружные расчетные
параметры
|
|
Высота этажа
|
Нэт
|
2,8
|
м
|
|
Температура холодной
пятидневки
|
text
|
-31
|
оС
|
|
Средняя температура
наружного воздуха за отопительный период
|
tср
|
-3,8
|
оС
|
|
Продолжительность
отопительного периода
|
z
|
231
|
сут
|
|
Внутренние расчетные
параметры
|
|
Температура внутреннего
воздуха:
|
tint
|
-
|
оС
|
|
для комнат
|
tint
|
20
|
оС
|
|
для угловых комнат
|
tint
|
20
|
оС
|
|
для кухонных комнат
|
tint
|
16
|
оС
|
|
для санитарных узлов,
коридоров и лестничной клетки
|
tint
|
16
|
оС
|
2. Определение сопротивлений теплопередачи наружных ограждающих
конструкций
.1 Теплотехнический расчет наружного ограждения стены
Необходимо рассчитать сопротивление теплопередачи для наружных стен
жилого дома, расположенного в селе Никольское Кадуйского района.
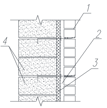
Конструкция наружной стены приведена на рисунке 1.1.
Рисунок 1.1 - Конструкция наружной стены: 1 - кирпич силикатный
СУЛ-150/25 ГОСТ 379-95: δ = 120 мм; λ=0,81 Вт/(моС); 2 - воздушный
зазор: δ = 40 мм; λ=0,2 Вт/(моС); 3 - утеплитель
ISOVER KL-34: δ = 40 мм; λ=0,043 Вт/(моС); 4 - блоки из
ячеистого бетона 588*400*188(h) Гост 31360-2007 М35: δ = 40 мм; λ=0,14
Вт/(моС).
Нормируемое значение сопротивления теплопередаче ограждающих конструкций,
соответствующее высоким теплозащитным свойствам Rreg примем по
таблице 4 [2] в зависимости от градусов суток Dd района
строительства. Dd находим по следующей формуле:
,
,(2.1)
где tint - температура внутреннего воздуха, оС;
tht, zht -
средняя температура наружного воздуха, оС, и продолжительность
отопительного периода, принимаемые по таблице 1* [1] для периода со средней
суточной температурой наружного воздуха не более 8 оС, сутки.
Вычислим по формуле (2.2) численное значение Rreg:
,
, (2.2)
где Dd - градусо - сутки отопительного
периода;
а, b - коэффициенты, значения которых
следует принимать по данным таблицы 4 [2] для жилых зданий.
Сопротивление теплопередачи определяется по формуле (2.3):
,
, (2.3)
где n - коэффициент, принимаемый в
зависимости от положения наружной поверхности ограждающей конструкции по
отношению к наружному воздуху [таблица 6, 2], n=1;
∆t - нормируемый температурный перепад
между температурой внутреннего воздуха и температурой внутренней поверхности
ограждающей конструкции, оС [таблица 5, 2], ∆t=4;
αint - коэффициент теплоотдачи внутренней
поверхности ограждающих конструкций [таблица 7, 2], αint=8,7Вт/ м2•оС;
text - расчетная температура наружного воздуха в холодный период
года, принимаемая равной средней температуре наиболее холодной пятидневке
обеспеченностью 0,92, оС.
Принимаем за приведенное сопротивление теплопередаче для наружной стены Rо большее из значений Rreg , равное 3,32 м2•оС
/Вт.
Сопротивление для однослойной или многослойной ограждающей конструкции
определяется по формуле (2.4):

, (2.4)
где r - коэффициент теплотехнической
однородности [таблица 6, 3];
Rsi - сопротивление теплоотдачи внутренней поверхности
ограждающей конструкции;к - термическое сопротивление ограждающей
конструкции, с последовательно расположенными однородными слоями;sе -
сопротивление теплоотдачи наружной поверхности стены.

, (2.5)

, (2.6)
где R1, R2, Rn, Ral - термические сопротивления
отдельных слоев ограждающей конструкции, м2•оС /Вт.

, (2.7)
где αext - коэффициент теплоотдачи наружной поверхности ограждающих
конструкций для условий холодного периода, αext=23 Вт/м2•оС.
Рассчитываем термическое сопротивление каждого из однородных слоев:

, (2.8)

,

.
Сопротивление теплопередаче для замкнутой воздушной прослойки,
расположенной вертикально определяем по таблице 7 [ 3].

.
Вычисляем значение толщины теплоизоляции ISOVER KL-34, λут.= 0,043 Вт/(моС); ρ
= 19 кг/м3.

.
Принимаем в качестве расчётного значения толщину утеплителя ISOVER KL-34
.
Вычисляем действительное значение сопротивления теплопередаче для
наружной стены:

.
Так как 5,69 м2•оС/Вт > 3,32 м2•оС/Вт,
то значения коэффициента теплопередачи определяем по формуле (2.9):
,
. (2.9)
2.2 Теплотехнический расчет чердачного перекрытия
Необходимо рассчитать сопротивление теплопередачи для перекрытия чердака.
Конструкция покрытия приведена на рисунке 2.2.
Рисунок 2.2 - Конструкция перекрытия чердака: 1 - монолитная
цем.-песчаная стяжка, δ = 40 мм; λ=0,76
Вт/(моС); 2 -
ПСБ-С-25 ГОСТ 15588-86*, δ = 250 мм; λ=0,039
Вт/(моС); 3 -
ж/б плита, δ = 220 мм; λ=1,69 Вт/(моС).
Вычислим по формуле (2.2) численное значение сопротивления теплопередаче Rreg:
Сопротивление теплопередачи определяется по формуле (2.3).
Принимаем за приведенное сопротивление теплопередаче для чердачного
перекрытия численное значение Rreg большей и равной Rо=4,37 м2•оС
/Вт.
Сопротивление для однослойной или многослойной ограждающей конструкции
определяем по формуле (2.4).
Термическое сопротивление каждого из однородных слоев рассчитываем по
формуле (2.8).
Вычисляем действительное значение сопротивления теплопередачи :
Так как условие выполняется (
), то значение коэффициента
теплопередачи определим по формуле (2.9).
,
.
2.3 Теплотехнический расчет конструкции полов над подвалом
.3.1 Расчет перекрытия между жилым помещением и техническим
подвалом
Требуется рассчитать сопротивление теплопередачи для перекрытия между
жилым помещением и техническим подвалом.
Конструкция перекрытия приведена на рисунке 2.3.
Рисунок 2.3 - Конструкция перекрытия: 1 - ленолеум на теплоизолирующей
основе δ = 5 мм; λ=0,33 Вт/(моС); 2 - стяжка из
цементно-песчаного раствора М150, δ = 30 мм; λ=0,76
Вт/(моС); 3 -
стяжка из легкого бетона М75, δ = 75 мм; λ=0,8
Вт/(моС); 4 -
утеплитель ISOVER Классик, δ = 50 мм; λ=0,041
Вт/(моС); 5 -
сборная ж/б плита, δ = 150 мм; λ=1,69
Вт/(моС).
Вычисляем по формуле (2.2) нормируемое значение сопротивления
теплопередачи Rreg.
Приведенное сопротивление теплопередачи определяем по формуле (2.3).
Принимаем для покрытия численное значение Rreg большей и равной Rо=4,37 м2•оС /Вт.
Вычисляем значение толщины теплоизоляции ISOVER Классик, λут.= 0,041 Вт/(моС).

.
.
Принимаем в качестве расчётного значения толщину утеплителя ISOVER KL-34
.
Вычисляем действительное значение сопротивления теплопередаче:

.
Так как 5,31 м2•оС/Вт > 4,37 м2•оС/Вт,
то значения коэффициента теплопередачи определяем по формуле:
2.3.2 Расчет перекрытия между тамбуром и техническим подвалом
Рассчитаем сопротивление теплопередачи для перекрытия между тамбуром и
техническим подвалом.
Конструкция перекрытия приведена на рисунке 2.4.
Рисунок 2.4 - Конструкция перекрытия над подвалом: 1 - керамическая
плитка δ = 11 мм; λ=1,5 Вт/(моС); 2 - стяжка из
цементно-песчаного раствора М200, δ = 19 мм; λ=0,76
Вт/(моС); 3 -
сборная ж/б плита, δ = 150 мм; λ=1,69
Вт/(моС).
Вычисляем действительное значение сопротивления теплопередаче:

.
Значение коэффициента теплопередачи определяем по формуле:
.4 Теплотехнический расчет светового проема здания
Определяем с учетом таблицы 4 [2] для световых проемов требуемое
термическое сопротивление теплопередаче по формуле (2.10):
(2.10)
По значению
выбираем конструкцию окна с приведенным сопротивлением
теплопередаче
по приложению Л [3], при условии
.
В доме установлены окна с тройным остеклением из обычного стекла в
деревянных, раздельно-спаренных переплетах. Таким образом, приведенное
сопротивление теплопередаче принимаем равным
Коэффициент теплопередачи определяется по формуле (2.9) :
2.5 Теплотехнический расчет наружной двери здания
Фактическое общее сопротивление теплопередаче наружных дверей должно быть
не менее значения
для стен зданий и сооружений [4]. Тогда
можно найти по формуле (2.11):
(2.11)
Вычисляем коэффициент теплопередачи наружных дверей:
3. Расчет тепловых потерь через ограждающие конструкции здания
.1 Общие положения
Для проектирования системы отопления жилого дома в первую очередь следует
определить мощность системы отопления, необходимой для восполнения тепловых
потерь через ограждающие конструкции.
Поэтому первоначально необходимо произвести расчет тепловых потерь
ограждающих конструкций здания.
По приложению 9 [5], определяем тепловые потери здания, как сумму потерь
теплоты через отдельные ограждающие конструкции или их части. Основные и
добавочные потери теплоты следует определять, суммируя потери теплоты через
отдельные ограждающие конструкции с округлением до 10 Вт для помещений по
формуле:
, (3.1)
где k - коэффициент теплопроводности
наружного ограждения, Вт/(м2*оС);
А - расчетная площадь ограждающей конструкции, м2;
tр - расчетная температура воздуха в
помещении с учетом повышения ее в зависимости от высоты для помещений высотой
более 4 м, оС;
β - добавочные потери теплоты в долях от
основных потерь, определяемые в соответствии с приложением 9 [5];
n -
коэффициент, принимаемый в зависимости от положения наружной поверхности
ограждающих конструкций по отношению к наружному воздуху по таблице 6 [2].
Площади А ограждающих конструкций здания при расчете теплопотерь
помещений вычисляют с точностью до 0,1 м2, следуя правилам обмера
ограждений по планам и разрезам здания. Правила обмера ограждений учитывают
сложность теплопередачи на границах ограждений и предусматривают условные
увеличения или уменьшения площадей для соответствия расчетным теплопотерям.
3.2 Расчёт расходов теплоты на нагревание инфильтрующегося
наружного воздуха через ограждающие конструкции помещений
Инфильтрация - это неорганизованное поступление в помещение холодного
наружного воздуха через неплотности в ограждающих конструкциях стен, дверей,
окон за счет разности давлений воздуха снаружи и внутри здания.
Детальный расчет тепловых потерь на нагрев инфильтрующегося воздуха
ведется в соответствии с приложением 10 [5]. Расход теплоты на нагревание
инфильтрующегося воздуха следует определять по формуле:
, Вт, (3.2)
где Gi - расход инфильтрующегося воздуха,
кг/ч, через ограждающие конструкции помещения;
с - удельная теплоемкость воздуха, равная 1 кДж/(кг×оС);
tp, ti - расчетные температуры воздуха, оС,
соответственно в помещении и наружного воздуха в холодный период года;
k -
коэффициент учета влияния встречного теплового потока в конструкциях.
Расход теплоты на нагревание инфильтрующегося воздуха в помещениях жилых
при естественной вытяжной вентиляции, не компенсируемого подогретым приточным
воздухом, следует принимать равным большей из величин, полученных по расчету по
формулам (3.2) и (3.3):
Qi = 0,28 Ln·ρ·c· (tp - ti)k,
(3.3)
где Ln - расход удаляемого воздуха, м3/ч,
не компенсируемый подогретым приточным воздухом; для жилых зданий - удельный
нормативный расход 3 м3/ч на 1 м2 жилых помещений;
ρ - плотность воздуха в помещении,
кг/м3.
Инфильтрация воздуха через наружные стены, как показала практика, очень
незначительна, поэтому в виде добавочных потерь теплоты будем учитывать только
теплопотери на нагрев воздуха, инфильтрующегося через световые проемы.
Следовательно, расход инфильтрующегося воздуха в помещении Gi через неплотности наружных
ограждений следует определять по формуле (3.4):
, кг/ч, (3.4)
где A1 - площадь световых проемов,м2;
Dpi - расчетная разность между давлениями, Па, на наружной и
внутренней поверхностях ограждающих конструкций соответственно на расчетном
этаже при Dp1 = 10 Па;
Ru - сопротивление воздухопроницанию, м2·ч·Па/кг;
Расчетная разность между давлениями на наружной и внутренней поверхностях
каждой ограждающей конструкции Dpi принимается после определения условно-постоянного давления
воздуха в здании pint (отождествляется
с давлениями на внутренних поверхностях наружных ограждающих конструкций), на
основе равенства расхода воздуха, поступающего в здание S Gi и удаляемого из него S Gext за счет теплового и ветрового
давлений и дисбаланса расходов между подаваемым и удаляемым воздухом системами
вентиляции с искусственным побуждением и расходуемого на технологические нужды.
Расчетная разность давлений Dpi определяется по формуле:
Dpi = (H - hi) (gi - gp) + 0,5 ρi 2 (ce,n - ce,p) kl - pint
; (3.5)
где H - высота здания, м, от уровня
средней планировочной отметки земли до верха карниза;
hi - расчетная высота, м, от уровня земли до верха окон;
gi, gp - удельный вес, Н/м3, соответственно
наружного воздуха и воздуха в помещении, определяемый по формуле:
g =
; (3.6)
ρi - плотность наружного воздуха, кг/м3;
ϑ - максимальная из средних скоростей ветра по румбам за январь,
м/с;
ce,n,
ce,p - аэродинамические коэффициенты соответственно для
наветренной и подветренной поверхностей ограждений здания, принимаемые по
приложению Д [6];
kl - коэффициент учета изменения скоростного давления ветра в зависимости
от высоты здания, принимаемый по таблице 24 [4];
pint - условно-постоянное давление воздуха в здании, Па, в нашем
проекте принимаем, что существует баланс по притоку и вытяжке в помещениях
здания.
3.3 Тепловые потери помещений
При расчете потерь теплоты через ограждающие конструкции площадь
отдельных ограждений должна вычисляться с соблюдением правил обмера наружных
ограждений. Эти правила учитывают сложность процесса теплопередачи через
элементы ограждения и предусматривают условные увеличения и уменьшения
площадей, когда фактические теплопотери могут быть соответственно больше или
меньше тепловых потерь, полученных по вышеуказанным формулам. Расчетные
тепловые потери отдельного помещения определяются в соответствии с выражением
(3.7).
(3.7)
Вспомогательные помещения (коридоры, ванные комнаты и тому подобное), как
правило, расположены внутри квартиры и не имеют наружных стен - поэтому их
тепловые потери вычисляют только для пола первого этажа этих помещений и
потолка верхнего этажа и делят эти теплопотери между помещениями, которые
сообщаются с данными вспомогательными помещениями.
Наружная стена лестничных клеток обычно принимается той же конструкции,
что и в квартирах. Потолок лестничной клетки является конструктивно
продолжением чердачного перекрытия. Добавочными являются теплопотери на
открывание дверей.
Предварительно производится расчет сопротивления теплопередачи слоистых
ограждающих конструкций, определение температур на внутренней поверхности стен и
в углах. В качестве исходных данных задаются общие данные по объекту и данные
по каждому ограждению помещений.
С помощью расчета определяются следующие параметры: основные потери тепла
и потери на инфильтрацию через ограждающие конструкции; потери тепла по
помещениям; теплопоступления от бытовых приборов для жилых помещений; потери
тепла зданием; нагрузки на приборы системы отопления; сопротивления
теплопередачи слоистых ограждающих конструкций
Все расчеты выполнены в соответствии СНиП 23-02-2003 "Тепловая
защита зданий" и свод правил к нему, СНиП 23-01-99 "Строительная
климатология". Расчёт тепловых потерь произведён в программе Microsoft Office Excel 2010. Теплопотери для помещений вычисляют с точностью
до 10 Вт.
Ниже в таблице 3.1 приведён фрагмент расчёта тепловых потерь. Остальной
расчет представлен в приложении 1.
теплоноситель напор ограждающий автоматизация
Таблица 3.1 - Расчёт тепловых потерь помещений здания (фрагмент)
|
Номер помещения и его
назначение
|
Температура внутреннего
воздуха tв, 0С
|
Характеристика ограждения
|
Расчетная температура
наружного воздуха tн, 0С
|
Расчетная разность
температур tв-tн, 0С
|
Коэффициент n
|
Коффициент теплоотдачи
ограждения k, Вт/(м2*0С)
|
Основные теплопотери, Вт
Q0=k*A*(tв-tн)*n
|
Дополнительные теплопотери
|
Суммарные ТОполнительные
теплопотери, Вт ∑QД=Qд.ор+Qд.дс+Qд.нд+Qд.нп
|
Теплопотери с учетом
ТОбавок, Вт Qоб=Q0+Qд
|
Расход теплоты на
нагревание инфильтрующегося воздуха, Вт, ∑Qн
|
Бытовые тепловыделения, Вт,
Qд.бт=21*Ап
|
Полные теплопотери, Вт, ∑Qт.п.
|
|
|
Наименование
|
Ориентация
|
Размеры a*b, м2
|
Площадь А, м2
|
|
|
|
|
|
C учетом ориентации
Qд.ор=Q0*βор
|
При наличии двух и более
стен Qд.дс=Q0*βдс
|
На открывание дверей
Qднд=Q0*βнд
|
На неотапливаемые полы
Qднп=Q0*βнп
|
|
|
|
|
|
|
1 этаж
|
|
Помещение 101 Угловое
|
20
|
НС
|
СЗ
|
5,76*2,8
|
16,13
|
-31
|
51
|
1
|
0,18
|
144,57
|
7,23
|
7,23
|
-
|
-
|
14,46
|
159,03
|
2466,14
|
828,6
|
2434,87
|
|
20
|
НС
|
СВ
|
6,85*2,8
|
16,81
|
-31
|
51
|
1
|
0,18
|
150,70
|
7,53
|
7,53
|
-
|
-
|
15,07
|
165,77
|
|
|
|
|
20
|
ТО
|
СВ
|
1,68*1,41
|
2,37
|
-31
|
51
|
1
|
1,82
|
219,65
|
10,98
|
10,98
|
-
|
-
|
21,97
|
241,62
|
|
|
|
|
20
|
ПЛ
|
-
|
5,76*6,85
|
39,46
|
-31
|
51
|
0,6
|
0,19
|
230,88
|
-
|
-
|
-
|
-
|
0,00
|
230,88
|
|
|
|
|
Помещение 102
|
20
|
НС
|
СВ
|
5,14*2,8
|
12,02
|
-31
|
51
|
1
|
0,18
|
107,78
|
10,78
|
-
|
-
|
10,78
|
118,56
|
2200,69
|
739,4
|
2027,50
|
|
20
|
ТО
|
СВ
|
1,68*1,41
|
2,37
|
-31
|
51
|
1
|
1,82
|
219,65
|
21,97
|
-
|
-
|
-
|
21,97
|
241,62
|
|
|
|
|
20
|
ПЛ
|
-
|
5,14*6,85
|
35,21
|
-31
|
51
|
0,6
|
0,19
|
206,03
|
-
|
-
|
-
|
-
|
0,00
|
206,03
|
|
|
|
|
Помещение 103
|
20
|
НС
|
СВ
|
6,5*2,8
|
15,83
|
-31
|
51
|
1
|
0,18
|
141,91
|
14,19
|
-
|
-
|
-
|
14,19
|
156,11
|
2267,13
|
761,7
|
2115,39
|
|
20
|
ТО
|
СВ
|
1,68*1,41
|
2,37
|
-31
|
51
|
1
|
1,82
|
219,65
|
21,97
|
-
|
-
|
-
|
21,97
|
241,62
|
|
|
|
|
20
|
ПЛ
|
-
|
(6,5*6,85)- (3,15*2,62)
|
36,27
|
-31
|
51
|
0,6
|
0,19
|
212,25
|
-
|
-
|
-
|
-
|
0,00
|
212,25
|
|
|
|
|
Помещение 104
|
20
|
НС
|
СВ
|
3,75*2,8
|
7,83
|
-31
|
51
|
1
|
0,18
|
70,20
|
7,02
|
-
|
-
|
-
|
7,02
|
77,23
|
1605,56
|
539,44
|
1415,19
|
|
20
|
ТО
|
СВ
|
0,845*1,41
|
1,19
|
-31
|
51
|
1
|
1,82
|
110,48
|
11,05
|
-
|
-
|
-
|
11,05
|
121,53
|
|
|
|
|
20
|
ПЛ
|
-
|
3,75*6,85
|
25,69
|
-31
|
51
|
0,6
|
0,19
|
150,31
|
-
|
-
|
-
|
-
|
0,00
|
150,31
|
|
|
|
|
Помещение 105
|
18
|
НС
|
СВ
|
2,67*2,8
|
4,81
|
-31
|
49
|
1
|
0,18
|
41,41
|
4,14
|
-
|
-
|
-
|
4,14
|
45,55
|
1446,83
|
486,1
|
1253,18
|
|
18
|
ТО
|
СВ
|
0,845*1,41
|
1,19
|
-31
|
49
|
1
|
1,82
|
106,15
|
10,61
|
-
|
-
|
-
|
10,61
|
116,76
|
|
|
|
|
18
|
ПЛ
|
-
|
(2,67*6,85)+ (2,37*2,05)
|
23,15
|
-31
|
49
|
0,6
|
0,19
|
130,14
|
-
|
-
|
-
|
-
|
0,00
|
130,14
|
|
|
|
|
Помещение 106
|
20
|
НС
|
СВ
|
3,78*2,8
|
8,64
|
-31
|
51
|
1
|
0,18
|
77,43
|
7,74
|
-
|
-
|
-
|
7,74
|
85,18
|
1058,46
|
355,6
|
1084,01
|
|
|
20
|
ТО
|
СВ
|
1,38*1,41
|
1,95
|
-31
|
51
|
1
|
1,82
|
180,43
|
18,04
|
-
|
-
|
-
|
18,04
|
198,47
|
|
|
|
|
|
20
|
ПЛ
|
-
|
3,78*4,48
|
16,93
|
-31
|
51
|
0,6
|
0,19
|
97,52
|
-
|
-
|
-
|
-
|
0,00
|
97,52
|
|
|
|
|
|
Помещение 107
|
20
|
НС
|
СВ
|
3,65*2,8
|
7,55
|
-31
|
51
|
1
|
0,18
|
67,69
|
6,77
|
-
|
-
|
-
|
6,77
|
74,46
|
1819,02
|
611,2
|
1571,45
|
|
|
20
|
ТО
|
СВ
|
0,845*1,41
|
1,19
|
-31
|
51
|
1
|
1,82
|
110,48
|
11,05
|
-
|
-
|
-
|
11,05
|
121,53
|
|
|
|
|
|
20
|
ПЛ
|
-
|
(3,65*6,85)+(1,73*2,37)
|
29,10
|
-31
|
51
|
0,6
|
0,19
|
167,60
|
-
|
-
|
-
|
-
|
0,00
|
167,60
|
|
|
|
|
|
Помещение 108
|
20
|
НС
|
СВ
|
3,75*2,8
|
7,83
|
-31
|
51
|
1
|
0,18
|
70,20
|
7,02
|
-
|
-
|
-
|
7,02
|
77,23
|
1605,56
|
539,4
|
1415,19
|
|
|
20
|
ТО
|
СВ
|
0,845*1,41
|
1,19
|
-31
|
51
|
1
|
1,82
|
110,48
|
11,05
|
-
|
-
|
-
|
11,05
|
121,53
|
|
|
|
|
|
20
|
ПЛ
|
-
|
3,75*6,85
|
25,69
|
-31
|
51
|
0,6
|
0,19
|
150,31
|
-
|
-
|
-
|
-
|
0,00
|
|
|
|
|
|
Помещение 109
|
20
|
НС
|
СВ
|
6,5*2,8
|
15,83
|
-31
|
51
|
1
|
0,18
|
141,91
|
14,19
|
-
|
-
|
-
|
14,19
|
156,11
|
2267,13
|
761,7
|
2115,39
|
|
|
20
|
ТО
|
СВ
|
1,68*1,41
|
2,37
|
-31
|
51
|
1
|
1,82
|
219,65
|
21,97
|
-
|
-
|
-
|
21,97
|
241,62
|
|
|
|
|
|
20
|
ПЛ
|
-
|
(6,5*6,85)-(3,15*26,2)
|
36,27
|
-31
|
51
|
0,6
|
0,19
|
212,25
|
-
|
-
|
-
|
-
|
0,00
|
212,25
|
|
|
|
|
|
Помещение 110
|
20
|
НС
|
СВ
|
5,14*2,8
|
12,02
|
-31
|
51
|
1
|
0,18
|
107,78
|
10,78
|
-
|
-
|
-
|
10,78
|
118,56
|
2200,69
|
739,4
|
2027,50
|
|
|
20
|
ТО
|
СВ
|
1,68*1,41
|
2,37
|
-31
|
51
|
1
|
1,82
|
219,65
|
21,97
|
-
|
-
|
-
|
21,97
|
241,62
|
|
|
|
|
|
20
|
ПЛ
|
-
|
5,14*6,85
|
35,21
|
-31
|
51
|
0,6
|
0,19
|
206,03
|
-
|
-
|
-
|
-
|
0,00
|
206,03
|
|
|
|
|
|
Помещение 111 Угловое
|
20
|
НС
|
СВ
|
5,76*2,8
|
16,13
|
-31
|
51
|
1
|
0,18
|
144,57
|
7,23
|
-
|
-
|
-
|
7,23
|
151,80
|
2466,14
|
828,6
|
2416,65
|
|
|
20
|
НС
|
ЮВ
|
6,85*2,8
|
16,81
|
-31
|
51
|
1
|
0,18
|
150,70
|
15,07
|
-
|
-
|
-
|
15,07
|
165,77
|
|
|
|
|
|
20
|
ТО
|
СВ
|
1,68*1,41
|
2,37
|
-31
|
51
|
1
|
1,82
|
219,65
|
10,98
|
-
|
-
|
-
|
10,98
|
230,63
|
|
|
|
|
|
20
|
ПЛ
|
-
|
5,76*6,85
|
39,46
|
-31
|
51
|
0,6
|
0,19
|
230,88
|
-
|
-
|
-
|
-
|
0,00
|
230,88
|
|
|
|
|
|
Помещение 112
|
16
|
НС
|
ЮВ
|
2,8*2,12
|
4,41
|
-31
|
47
|
1
|
0,18
|
36,46
|
1,82
|
-
|
-
|
-
|
1,82
|
38,28
|
2476,02
|
831,9
|
2032,67
|
|
|
16
|
ТО
|
ЮВ
|
1,08*1,41
|
1,52
|
-31
|
47
|
1
|
1,82
|
130,13
|
6,51
|
-
|
-
|
-
|
6,51
|
136,64
|
|
|
|
|
|
16
|
ПЛ
|
-
|
(2,12*10,9)+(3,15*5,24)
|
39,61
|
-31
|
47
|
0,6
|
0,19
|
213,63
|
-
|
-
|
-
|
-
|
0,00
|
213,63
|
|
|
|
|
|
Помещение 113 Угловое
|
20
|
НС
|
ЮВ
|
4,73*2,8
|
13,24
|
-31
|
51
|
1
|
0,18
|
118,72
|
11,87
|
11,87
|
-
|
-
|
23,74
|
142,47
|
2394,70
|
804,6
|
2549,41
|
|
|
20
|
НС
|
ЮЗ
|
8,1*2,8
|
19,21
|
-31
|
51
|
1
|
0,18
|
172,21
|
17,22
|
17,22
|
-
|
-
|
34,44
|
206,66
|
|
|
|
|
|
20
|
ТО
|
ЮЗ
|
1,38*1,41
|
1,95
|
-31
|
51
|
1
|
1,82
|
180,43
|
18,04
|
18,04
|
-
|
-
|
36,09
|
216,51
|
|
|
|
|
|
20
|
ТО
|
ЮЗ
|
1,08*1,41
|
1,52
|
-31
|
51
|
1
|
1,82
|
141,21
|
14,12
|
14,12
|
-
|
-
|
28,24
|
169,45
|
|
|
|
|
|
20
|
ПЛ
|
-
|
8,1*4,73
|
38,31
|
-31
|
51
|
0,6
|
0,19
|
224,19
|
-
|
-
|
-
|
-
|
0,00
|
224,19
|
|
|
|
|
|
|
|
|
|
|
|
|
|
|
|
|
|
|
|
|
|
|
|
|
|
|
|
|
|
. Расчёт системы отопления
.1 Выбор типа системы отопления и расчетных параметров теплоносителя
В соответствии с техническим заданием в жилом доме проектируется
однотрубная вертикальная система отопления с нижней разводкой.
Выбор данной системы аргументирован следующими факторами.
Однотрубная система отопления, по сравнению с двухтрубной, не имеет
стояков обратной подачи или приема воды как отработанного теплоносителя. Кроме
того, вертикальная однотрубная система отопления значительно проще в монтаже,
а, следовательно, на ее устройство уходит меньше трудозатрат. Это является
положительным экономическим эффектом. Однако считается, что при использовании
однотрубной системы в самый дальний от теплового узла радиатор будет поступать
уже порядком остывший теплоноситель, и в зимний период в доме появиться хоть
одна «самая холодная комната». Но в наше время есть множество технологических
решений, которые избавляют от проблем, существовавших с такими системами
буквально десяток лет назад. На современные однотрубные системы отопления
устанавливают термостатические клапаны, радиаторные регуляторы, специальные
воздухоотводчики, балансировочные клапана, удобные шаровые краны, благодаря которым
можно с лёгкостью преодолеть все температурные провалы.
Однотрубные системы напрямую экономят тепло. В случае, когда помещение
перегрето, термостат прекращает или уменьшает доступ теплоносителя в прибор.
Так теплоноситель попадает в прибор соседнего помещения, и, если это помещение
также перегреется, то прикроется и его термостат. Таким образом, из циркуляции
исключается излишний теплоноситель. Расход теплоносителя в системе - величина
переменная. В режиме «минимум» в однотрубную систему поступает теплоноситель,
циркулирующий только по нерегулируемым стоякам (на лестничных клетках, в
лифтовых холлах, межквартирных коридорах).
В однотрубных системах каждый радиатор является отдельной единицей,
которую можно изолировать с помощью запорных клапанов. Правильно выполненный
монтаж систем отопления с установкой всех запорных клапанов позволяет
ремонтировать и заменять отдельные приборы, не отключая полностью всю
отопительную систему. Правильное подключение дает возможность перенаправить
поток теплоносителя по стояку, минуя заменяемый или ремонтируемый элемент
Существенным недостатком однотрубной системы отопления дома является то,
что она требует более высокого давления теплоносителя в процессе эксплуатации.
Повышается мощность насосов в котельных - повышаются эксплуатационные расходы,
появляется больше протечек, система чаще требует пополнения воды.
Таким образом, если сравнивать однотрубные и двухтрубные системы
отопления, преимущества первых становятся очевидными, перечислим основные из
них:
- экономичность и малые затраты материалов и средств, так как
требуется установка только одной магистрали для теплоносителя;
- легкость проектирования и монтажа;
- повышенное давление воды обеспечит нормальную естественную
циркуляцию;
- реализована возможность регулировать работу отдельных
отопительных приборов, подключенных на одну трубу.
К недостаткам однотрубной системы отопления можно отнести:
- необходимость качественной регулировки по стоякам и
отопительным приборам, чтобы компенсировать теплопотерю теплоносителя;
- постепенную потерю рабочего давления в системе;
- ограниченность количества обогревательных устройств на одном
стояке.
Таким образом, взвесив все преимущества и недостатки, мною была выбрана
однотрубная вертикальная система отопления.
4.2 Конструирование системы отопления
Конструирование системы начинается с расстановки стояков и нагревательных
приборов на плане типового этажа. В большинстве случаев применяют открытую
прокладку отопительных труб и их теплоотдачу учитывают при тепловом расчете
отопительных приборов. На трубах, в местах пересечения перекрытий и внутренних
стен, следует предусматривать гильзы из несгораемых материалов.
В качестве отопительных приборов приняты чугунные секционные радиаторы MC-140М. Преимущественным является
размещение радиаторов под окнами, но не по центру окна, а привязывают к стоякам
в соответствии с длиной подводок. Радиаторы устанавливают открыто у наружных
стен. Их следует размещать по возможности ниже, и они должны быть невысокими.
На лестничных клетках отопительные приборы размещены под лестницей и на
расстоянии 2,2 м от промежуточной площадки.
Прокладка магистралей применяется главным образом открытая, чтобы был
свободный доступ к ним для осмотра, ремонта из замены. Все разводящие
магистрали должны иметь уклон (рекомендованный - 0,003, минимальный - 0,002)
теплового удлинения труб. Присоединение нагревательных приборов к стоякам и
трубопроводам может быть одностороннее и разностороннее. В первую очередь на
практике применяют одностороннее присоединение. Движение теплоносителя воды в
приборах возможно сверху вниз и снизу вверх.
На магистралях, стояках и подводках устанавливается запорно-регулирующая
арматура для отключения или регулирования системы или ее частей. Арматура на
стояках предназначена для полного отключения отдельных стояков, если требуется
проводить ремонты и другие работы во время отопительного сезона. В
проектируемой системе на стояках устанавливаются шаровые краны для обеспечения
отключения стояков. Воздух из систем отопления удаляется через воздухоотводчики,
установленные на отопительных приборах и в верхних точках трубопроводов.
Дренирование теплоносителя из систем отопления предусматривается через шаровые
краны, устанавливаемые в нижних точках трубопроводов по ходу движения
теплоносителя на подающем трубопроводе после, на обратном трубопроводе до
запорной арматуры. Арматура в тепловом пункте здания предназначена для
регулирования и отключения отдельных систем отопления, а также отопительного
оборудования. Шаровые краны размещают на главных подающих и обратных
магистралях, до и после теплового пункта.
В проектируемой системе отопления используются электросварные прямошовные
трубы (ГОСТ 10704-91). Дренажные и воздуховыпускные трубопроводы
запроектированы из оцинкованных труб.
5. Гидравлический расчет системы отопления
.1 Общие положения
Система водяного отопления представляет собой разветвленную
закольцованную сеть труб и отопительных приборов, заполненных теплоносителем.
По трубам нагретая вода (теплоноситель) распределяется по отопительным
приборам, охлажденный в приборах теплоноситель по магистрали обратного
трубопровода возвращается в тепловой узел, где с помощью насосного смешения,
смешивается в подающем трубопроводе с теплоносителем из тепловой сети и снова
поступает в систему отопления
Трубопроводы предназначены для доставки и передачи в каждое помещение
обогреваемого здания требуемого количества тепловой энергии. Так как
теплопередача происходит при охлаждении определенного количества теплоносителя,
то требуется выполнить гидравлический расчет системы. Задача гидравлического
расчета состоит в выборе экономичных диаметров труб с учетом принятых перепадов
давления и расходов теплоносителя. При этом должна быть гарантирована подача
его во все части системы отопления для обеспечения расчетных тепловых нагрузок
нагревательных приборов.
Существующие методы гидравлического расчета трубопроводов систем
отопления очень трудоемки, а точность увязки расходуемых давлений невелика
из-за ограниченного сортамента труб. Для проведения гидравлического расчета
необходимо составить расчетную аксонометрическую схему системы отопления, на
которой указываются тепловые нагрузки отопительных приборов, тепловые нагрузки
и номера стояков, тепловые нагрузки, длина и номера участков магистралей. Под
участком понимается часть трубопровода, в пределах которой расход теплоносителя
и диаметр трубы остаются неизменными. Последовательно соединенные участки,
образующие замкнутый циркуляционный контур теплоносителя через тепловой
генератор, составляют циркуляционное кольцо системы.
В выпускной квалификационной работе гидравлический расчет выполнен по
методу удельных потерь на трение, с помощью компьютерной программы Microsoft Office Excel 2010, и представлен в табличной форме. При выполнении
гидравлического расчёта были использованы методика и справочные материаламы,
приведённые в справочнике проектировщика "Внутренние санитарно-технические
устройства" часть 1 "Отопление" под редакцией Староверова и
Шиллера [7]
5.2 Расчетные параметры теплоносителя
В отопительной технике применяется высокотемпературная вода, которая под
воздействием избыточного давления не вскипает в трубопроводах. Горячая вода,
циркулируя в нагревательных приборах, охлаждается, а затем возвращается в
теплоисточник для последующего подогрева. Параметры теплоносителя, циркулирующего
в системе, характеризует температурный перепад между горячей и охлажденной
водой (δtс= tг - tо).
Выбор вида и параметров теплоносителя надо обосновывать предельно
допустимыми температурами поверхности нагревательных приборов.
В дипломном проекте принята δtс =95 - 70 = 25оС.
В водяных системах отопления жилых зданий при отопительном графике 95-70 оС
средняя температура воды в нагревательных приборах равна 83 оС.
Указанная средняя температура горячей воды, которая циркулирует через
нагревательные приборы, является максимальной и поддерживается лишь при
расчетной температуре наружного воздуха.
5.3 Расчет тепловой нагрузки системы отопления
Расчетная тепловая нагрузка прибора в помещении определяется по тепловым
потерям помещения Qпом, но должна быть несколько выше, так
как приборы устанавливаются у наружных стен или под окнами и, нагревая
ограждения, увеличивают действительные значения Qпом. Поэтому действительное значение нагрузки прибора
определяется следующим выражением:
,
, (5.1)
где β1
- коэффициент, учитывающий дополнительное увеличение теплового потока
радиаторов, равный 1,02 для радиаторов МС-140М-500 [таблица 9.4, 7].
β2 - коэффициент учета дополнительных потерь теплоты,
равный 1,02 для радиаторов чугунных секционных типа МС-140М при размещении у
наружной стены (в том числе под оконным проемом) и 1,02 у световых проемов
[таблица 9.5, 7].
Расчетная тепловая нагрузка стояка определяется по формуле (5.2):
,
, (5.2)
где
- сумма расчетных нагрузок нагревательных приборов,
присоединенных к данному стояку, Вт.
Расчетные тепловые мощности приборов и расчетные тепловые нагрузки
стояков проставляются на аксонометрической схеме ветвей системы отопления. По
ним находится расход воды в отдельных стояках, Gст, и в системе, Gсист. Расход теплоносителя определяется
по выражению (5.3), исходя из уравнения теплового баланса.
,
, (5.3)
с - удельная массовая теплоемкость воды, равная 4,19 кДж/(кг·оС).
Расчет тепловых потерь помещения приведен в таблице 3.1.
5.4 Гидравлический расчет системы отопления
Гидравлический расчет системы отопления для многоквартирного жилого дома
произведен методом удельных потерь давления на трение и представлен в таблице 1
приложения 2.
.5 Расчёт циркуляционного напора в системе водяного отопления
Как правило, расчет любой системы отопления начинается с расчета наиболее
протяженной и нагруженной ветви, а в ней выбирают основное циркуляционное
кольцо (ОЦК). Для тупиковых систем ОЦК проходит через наиболее удаленный стояк расчетной
ветви, а при равных длинах, через наиболее нагруженный. Количество колец в
однотрубных вертикальных системах равно количеству стояков [8].
Выбираем в качестве расчетной ветви четвертую ветвь, а в качестве ОЦК -
кольцо, проходящее через стояк №26. В нашем случае ОЦК будет представлять собой
замкнутый контур:
0-1-16-17-18-19-20-21-22-23-24-25-26-27-28-29-29’-28’-27’-26’-25’-24’-23’-22’-21’-20’-19’-18’-17’-16’-1’-0’
(смотри графическую часть лист №4).
Для ОЦК вычисляем расчетный циркуляционный напор по выражению (5.4):
(5.4)
где
- искусственный напор, создаваемый насосом, Па;
- естественный или гравитационный напор, возникающий в
кольце системы вследствие охлаждения воды в нагревательных приборах и открытых
(неизолированных) трубопроводах, Па;
Искусственный напор, создаваемый насосом, определяем по формуле(5.6):
(5.6)
где
- длина основного циркуляционного кольца, м;
- это самая большая часть напора.
Величина
для однотрубных систем отопления (вертикальных) с нижней
разводкой (тупиковых и с попутным движением воды) может быть вычислена по
приближенной формуле:
(5.7)
где
- ускорение свободного падения,
м/с2;
- среднее приращение плотности воды при ее охлаждении на 10С,
;
- сумма произведений мощностей нагревательных приборов
стояка
на вертикальное расстояние
от условного центра охлаждения
приборов до центра нагревания воды в системе (рисунок 5.1).
Рисунок 5.1 - Схема стояка
Таким образом, по формуле (5.5) получаем расчетное циркуляционное
давление для основного циркуляционного кольца:
Расчетный циркуляционный напор ОЦК и системы в целом - это движущий напор
для системы, является основной характеристикой системы.
5.6 Расчет ОЦК по методу удельных потерь давления на трение
Расчет состоит из двух этапов:
а) предварительный расчет;
б) окончательный расчет.
Предварительный расчет заключается в подборе ориентировочных диаметров
участков ОЦК. Для этого необходимо знать расход воды на каждом участке и
значения средних удельных потерь давления на трение в магистральных участках
ОЦК и в удаленном стояке.
Находим расходы воды на всех участках ОЦК системы путем последовательного
суммирования расходов воды в стояках №20-26.
Для предварительного выбора диаметров труб ОЦК определяется
вспомогательная величина - среднее значение удельной потери давления от трения
, Па, на один метр трубы:
(5.8)
гдеb - коэффициент, учитывающий
ориентировочно долю потерь давления на трение от общих гидравлических потерь,
для насосных систем принимают b=0,65
по таблице II.21 [7];
lмаг - общая длина ОЦК, м.
По величине
, расходу теплоносителя на участке и по предельно допустимым
скоростям движения теплоносителя [таблица 10.5, 7] подбираем диаметры труб dy, мм, фактические удельные потери
давления R, Па/м, а также фактическую скорость
теплоносителя υ, м/с по таблице II.1
[7].
Для расчета ОЦК по методу удельных потерь давления на трение необходимо
знать сумму коэффициентов местных сопротивлений (к.м.с.). Для этого составляем
таблицу к.м.с. (таблица 5.1).
Гидравлическое сопротивление отдельного участка системы по методу
удельных потерь давления на трение вычисляется по формуле Дарси-Вейсбаха:
, (5.9)
где Δpl - потери давления на трение на участке длиной l, Па;
ΔpM - потери давления в местных
сопротивлениях участка, Па;
R -
удельные потери давления на трение, Па/м;
l -
длина участка, м;
d -
внутренний диаметр трубопровода, м;
λ - коэффициент трения;
ρ - плотность воды, кг/м3;
w -
скорость воды, м/с;
- сумма коэффициентов местных сопротивлений (к.м.с.) на
участке.
Таблица 5.1 - Сумма коэффициентов местных сопротивлений для ОЦК
|
№ участка
|
dу, мм
|
Название местного
сопротивления
|
Кол-во на участке, шт
|
Значение к.м.с
|
Сумма к.м.с. на участке
|
|
|
0-1
|
80
|
Отвод на 90°
|
4
|
2
|
3
|
|
|
|
Шаровый кран
|
1
|
1
|
|
|
|
|
Балансировочный клапан
|
1
|
0
|
|
|
|
1-16
|
50
|
Тройник на разделение
|
1
|
3
|
3,5
|
|
|
|
Внезапное сужение
|
1
|
0,5
|
|
|
|
16-23
|
50
|
Тройник на ответвление
|
1
|
1,5
|
6
|
|
|
|
Шаровый кран
|
1
|
1
|
|
|
|
|
Отвод на 90°
|
3
|
3
|
|
|
|
|
Балансировочный клапан
|
1
|
0
|
|
|
|
|
Внезапное сужение
|
1
|
0,5
|
|
|
|
23-24
|
40
|
Тройник на проход
|
1
|
1
|
2
|
|
|
Отвод на 90°
|
1
|
1
|
|
|
24-25
|
40
|
Тройник на проход
|
1
|
1
|
1,5
|
|
|
Внезапное сужение
|
1
|
0,5
|
|
|
25-26
|
32
|
Тройник на проход
|
1
|
1
|
1
|
|
26-27
|
25
|
Тройник на проход
|
1
|
1
|
1,5
|
|
|
Внезапное сужение
|
1
|
0,5
|
|
|
27-28
|
25
|
Тройник на проход
|
1
|
1
|
1
|
|
28-29
|
20
|
Тройник на проход
|
1
|
1
|
3
|
|
|
Внезапное сужение
|
1
|
0,5
|
|
|
|
Отвод на 90°
|
1
|
1,5
|
|
|
29-29'
|
15
|
Отвод на 90°
|
1
|
1,5
|
28,5
|
|
|
Отвод на 90°
|
7
|
10,5
|
|
|
|
Шаровый кран
|
1
|
1
|
|
|
|
Тройник с пробкой
|
3
|
4,5
|
|
|
|
Радиатор
|
3
|
6
|
|
|
|
Балансировочный клапан
|
1
|
2
|
|
|
|
Тройник на проход
|
3
|
3
|
|
|
29'-28'
|
20
|
Отвод на 90°
|
1
|
1,5
|
1,5
|
|
28'-27'
|
25
|
Тройник на проход
|
1
|
1
|
3,5
|
|
|
Внезапное расширение
|
1
|
1
|
|
|
|
Отвод на 90°
|
1
|
1,5
|
|
|
27'-26'
|
25
|
Тройник на проход
|
1
|
1
|
2
|
|
|
Внезапное расширение
|
1
|
1
|
|
|
26'-25'
|
32
|
Тройник на проход
|
1
|
1
|
1
|
|
25'-24'
|
40
|
Тройник на проход
|
1
|
1
|
2
|
|
|
Внезапное расширение
|
1
|
1
|
|
|
24'-23'
|
40
|
Тройник на проход
|
1
|
1
|
2
|
|
|
Отвод на 90°
|
1
|
1
|
|
|
23'-16'
|
50
|
Тройник на проход
|
1
|
1
|
6
|
|
|
Отвод на 90°
|
3
|
3
|
|
|
|
Балансировочный клапан
|
1
|
0
|
|
|
|
Шаровый кран
|
1
|
1
|
|
|
|
Внезапное расширение
|
1
|
1
|
|
|
16'-1'
|
50
|
Тройник на слияние
|
1
|
1,5
|
2,5
|
|
|
Внезапное расширение
|
1
|
1
|
|
|
1'-0'
|
80
|
Отвод на 90°
|
4
|
2
|
4,5
|
|
|
Шаровый кран
|
1
|
1
|
|
|
|
Тройник на слияние
|
1
|
1,5
|
|
Расчет гидравлического сопротивления ОЦК системы по методу удельных потерь
давления на трение приведен в таблице 5.2
Таблица 5.2 - Расчет гидравлического сопротивления ОЦК
|
Номер участка
|
Тепловая нагрузка на
участке Q, Вт
|
Температурный перепад, ∆t1-t0,⁰C
|
Расход воды на участке G,
кг/ч
|
Длина участка l, м
|
Диаметр участка d, мм
|
Удельное сопротивление на
трение R, Па
|
Скорость теплоносителя ν, м/с
|
Сумма коэффициентов местных
сопротивлений на участке ∑ξ, Па
|
Потери давления на трение
на участке Rl, Па
|
Потери давления на местные
сопротивления на участке Z, Па
|
Общие потери давления на участке
Rl+Z, Па
|
Суммарные потери давления в
главном циркуляционном кольце ∑(Rl+Z), Па
|
|
0-1
|
124895,3
|
25
|
4577,2
|
21,2
|
80
|
8,97
|
0,23
|
3,0
|
190,08
|
79,35
|
269,43
|
14273,47
|
|
1-16
|
66166
|
25
|
2454,2
|
0,9
|
50
|
29,58
|
0,32
|
3,5
|
28,10
|
170,22
|
198,32
|
|
|
16-23
|
36365,6
|
25
|
1300,3
|
11,3
|
50
|
8,42
|
0,16
|
6,0
|
95,21
|
77,54
|
172,74
|
|
|
23-24
|
32266,9
|
25
|
1153,7
|
4,2
|
40
|
25,07
|
0,23
|
2,0
|
105,73
|
53,28
|
159,01
|
|
|
24-25
|
23773,1
|
25
|
850
|
7,3
|
40
|
14,06
|
0,18
|
1,5
|
102,66
|
24,20
|
126,86
|
|
|
25-26
|
17633,
|
25
|
630,5
|
6,8
|
32
|
22,59
|
0,20
|
1,0
|
153,55
|
20,02
|
173,57
|
|
|
26-27
|
13534,3
|
483,9
|
2,3
|
25
|
12,66
|
0,15
|
1,5
|
29,14
|
16,51
|
45,65
|
|
|
27-28
|
11031,1
|
25
|
394,4
|
3,3
|
25
|
23,05
|
0,18
|
1,0
|
76,06
|
15,92
|
91,98
|
|
|
28-29
|
6024,8
|
25
|
215,4
|
4,6
|
20
|
31,86
|
0,18
|
3,0
|
144,81
|
44,85
|
189,66
|
|
|
29-29' СТ-26
|
6024,8
|
25
|
215,4
|
18,4
|
15
|
258,71
|
0,40
|
28,5
|
4747,35
|
2177,50
|
11565,5
|
|
|
29'-28'
|
6024,8
|
25
|
215,4
|
4,1
|
20
|
31,86
|
0,18
|
1,5
|
131,34
|
22,42
|
153,76
|
|
|
28'-27'
|
11031,1
|
25
|
394,4
|
4,8
|
25
|
23,05
|
0,18
|
3,5
|
111,25
|
55,73
|
166,98
|
|
|
27'-26'
|
13534,3
|
25
|
483,9
|
2,1
|
25
|
12,66
|
0,15
|
2,0
|
25,97
|
22,01
|
47,99
|
|
|
26'-25'
|
17633
|
25
|
630,5
|
6,1
|
32
|
22,59
|
0,20
|
1,0
|
138,25
|
20,02
|
158,27
|
|
|
25'-24'
|
23773,1
|
25
|
850
|
6,3
|
40
|
14,06
|
0,18
|
2,0
|
87,90
|
32,26
|
120,16
|
|
|
24'-23'
|
32266,9
|
25
|
1153,7
|
5,8
|
40
|
25,07
|
0,23
|
2,0
|
144,11
|
53,28
|
197,40
|
|
|
23'-16'
|
36365,6
|
25
|
1300,3
|
10,7
|
50
|
8,42
|
0,16
|
6,0
|
90,21
|
77,54
|
167,75
|
|
|
16'-1'
|
66166
|
25
|
2454,2
|
1,2
|
50
|
29,58
|
0,32
|
2,5
|
35,49
|
121,58
|
157,08
|
|
|
1'-0'
|
127367,7
|
25
|
4577,2
|
21,5
|
80
|
8,97
|
0,23
|
4,5
|
192,33
|
119,02
|
311,35
|
|
Вычисляем гидравлическое сопротивление циркуляционного кольца, сложив
ΔР всех участков
кольца:
.
Для окончательного расчета ОЦК требуется выполнение двух условий:
) условие общего гидравлического баланса ОЦК:
) условие гидравлической устойчивости для однотрубных систем:
В данном случае эти условия выполняются.
5.7 Расчет и гидравлическая увязка стояков с ОЦК
После расчета основного кольца переходим к расчету наиболее
благоприятного (для тупиковых систем - наименее протяженного) кольца той же
ветви. Участки, которые являются общими для обоих колец, повторно не
рассчитываются (расходы в них одинаковы и диаметры подобраны при расчете ОЦК).
Увязка гидравлических сопротивлений параллельных колец производится за счет
изменения сопротивления не общих участков колец (стояков - в вертикальных
системах и ветвей - в горизонтальных).
После увязки колец первой ветви подобно рассчитывается каждая следующая
ветвь, и производится увязка между всеми параллельными ветвями системы.
Допускается невязка по параллельным ветвям и кольцам в однотрубных
системах (горизонтальных я вертикальных, насосных и гравитационных),
рассчитанный с постоянным перепадом температур: в тупиковых -15% от величины
гидравлического сопротивления основного кольца
.
Невязка до 15% должна устраняться при наладочной регулировке стояков
системы отопления посредством закрытия кранов или вентилей, установленных на
стояках. Если невязка больше 15% и диаметр стояка больше минимального, то
следует сконструировать составной стояк. Если при минимальном диаметре стояка
величина невязки превышает 15%, то на выходе из стояка устанавливают
дроссельную диафрагму. Диаметр отверстия диафрагмы вычисляют в соответствии с
выражением:
В нашем случае все стояки первой ветви увязываются путем их составления
из труб разных диаметров.
Гидравлический расчет остальных ветвей, а также ведомость коэффициентов
местных сопротивлений представлен в приложении 2
6. Расчет нагревательных приборов
.1 Общие положения
Отопительные приборы - один из главных элементов системы отопления,
который служит для передачи теплоты от теплоносителя в обогреваемые помещения.
К отопительным приборам предъявляются высокие теплотехнические,
технико-экономические и санитарно-гигиенические требования. Нагревательные
приборы, применяемые в системах отопления, подразделяются: по материалу - на
металлические (чугунные и стальные), комбинированные и неметаллические; по
внешней поверхности - на гладкие (радиаторы, трубы) и ребристые (конвекторы,
ребристые трубы). Наиболее популярны чугунные радиаторы. Их отливают в виде
отдельных секций. Секции могут компоноваться в приборы различной площади путем
соединения на ребровых ниппелях с прокладками. Несколько секций в сборе
называют чугунными секционными радиаторами.
Тип нагревательных приборов надо выбирать в соответствии с характером и
назначением здания. При этом нужно также учитывать тип системы отопления, вид и
параметры теплоносителя, технико-экономические соображения.
Для нашего проекта выбираем радиаторы чугунные секционные типа
МС-140-108.
После выбора типа нагревательных приборов, определения мест их установки
и способа присоединения к трубопроводам системы отопления выполняется тепловой
расчет отопительных приборов.
Для поддержания необходимой температуры в отапливаемом помещении надо,
чтобы количество тепла, которое отдается нагревательными приборами, равнялось
тепловым потерям помещения [9].
6.2 Расчет площади отопительных приборов
Требуемая поверхность нагревательных приборов, Fпр может быть определена по формуле (6.1):
(6.1)
где
- требуемая теплоотдача отопительного прибора помещения, Вт;
- коэффициент теплопередачи отопительного прибора, Вт/м2°С;
- температурный напор отопительного прибора, определяемый по
формуле:
где
- температура воды на входе в отопительный прибор и на
выходе из него, °С;
- температура внутреннего воздуха в помещении, °С.
В однотрубных системах водяного отопления вода проходит последовательно
через все отопительные приборы, частично охладившись в одном приборе вода
поступает в следующий отопительный прибор, в результате остывания температура
воды на входе в прибор
, и на выходе из них является неодинаковыми для различных
приборов и вычисляется по формуле (6.3), (6.4).
,
, (6.3)
,
, (6.4)
где
- суммарная теплоотдача отопительных приборов, расположенных
до расчётной точки стояка до ходу движения воды ;
- температура горячей воды, °С ;
- расчётный расход воды, кг/ч ;
- удельная теплоёмкость воды.
,
, (6.5)
где
- расчетная нагрузка прибора в
помещении, Вт;
- поправочный коэффициент, учитывающий долю теплоотдачи
теплопроводов, полезную для поддержания заданной температуры воздуха в
помещении, при открытой прокладке труб
= 0,9 ;
- суммарная теплоотдача проложенных в пределах помещения
нагретых труб стояка и подводок, к которым непосредственно присоединен прибор,
а также транзитного трубопровода, если он имеется в помещении, Вт.
Теплоотдачу теплопроводов можно определить по формуле
,
, (6.6)
Где qlгор, qlверт - линейные плотности теплового потока
открыто проложенных горизонтальных и вертикальных трубопроводов, кДж/(ч·м);
lгор, lверт - длины открытых участков горизонтальных и вертикальных труб
в помещении, м.
Удельный тепловой поток нагревательного прибора для теплоносителя воды
определяется по формуле (6.7):
,Вт/м2, (6.7)
где
- номинальная плотность теплового потока. Для
чугунного секционного радиатора типа МС-140-108 qном=758 Вт/м2;
- поправочные коэффициенты.
,(6.8)
где
- расход воды через прибор, кг/ч.
При трехходовых кранах расход воды через прибор будет равен расходу стояка.
,(6.9)
где
- разность средней температуры воды в приборе и температуры
окружающего воздуха в помещении, определяется по формуле (6.2);
- коэффициент для учёта атмосферного давления в данной местности,
который принимается по таблице 9.1 [7],
;
- экспериментальные числовые показатели, учитывающие
направление движения теплоносителя, которые приведены в таблице 9.2 [7];
- коэффициент для учёта направления движения теплоносителя в
приборе, при схеме движения воды снизу - вверх определяется по формуле:
(6.10)
где а - коэффициент, который для чугунных секционных радиаторов
принимается равным
[7].
В остальных случаях коэффициент
.
6.3 Расчет размера отопительных приборов
По вычисленной поверхности нагрева приборов, вычисляем число элементов
приборов. Для секционных чугунных радиаторов расчетное число секций
определяется по формуле (6.11).
, (6.11)
гдеb4 - поправочный коэффициент,
учитывающий способ установки радиатора в помещении, при открытой установке
= 1 [7];
a1 - площадь
одной секции, м2; для радиаторов типа МС-140М-108
= 0,244 м2;
b3 -
поправочный коэффициент, учитывающий число секций в одном радиаторе, для
радиатора типа МС-140М-108 определяется по выражению:
, (6.12)
По расчетному числу секций определяется установочное число путем
округления Nр в большую сторону.
Расчет отопительных приборов для стояков приведен в приложении 2.
7. Автоматизация индивидуального теплового пункта. Расчет и подбор
оборудования
.1 Общие данные
Автоматизация подразумевает применение комплекса средств, позволяющих
осуществлять производственные процессы без непосредственного участия человека,
но под его контролем. Совокупность технических средств автоматизации (ТСА),
выполняющих определенную целевую задачу без участия человека, представляет
автоматическую систему [10].
В выпускной квалификационной работе разработана схема автоматизации и
контроля индивидуального теплового пункта: подобраны измерительные и
регистрирующие приборы (температуры и давления) и автоматические регуляторы с
исполнительными механизмами и регулирующими клапанами. Целью автоматизации
является изменение и поддержание комфортной температуры в здании, обеспечение
оптимальных тепловых и гидравлических режимов работы системы теплоснабжения,
поддержание требуемой температуры горячей воды в системе горячего
водоснабжения, защита технологического оборудования и возможность контроля и
управления с диспетчерского пункта.
Наблюдения за параметрами систем осуществляются с помощью измерительных
приборов. Совокупность устройств, с помощью которых выполняются операции
автоматического контроля, называется системой автоматического контроля (погода
- зависимая автоматика). Система автоматического контроля позволяет осуществить
наиболее полное соответствие между производством и потреблением теплоты за счет
строгого соблюдения расчетных параметров теплоносителя. Для контроля
параметров, учет которых необходим для анализа работы оборудования или расчетов
предусматриваются регистрирующие приборы. Общим положением при выборе средств
автоматизации является удобство обслуживания теплового пункта, небольшие
капитальные и эксплуатационные затраты.
7.2 Узел учёта тепловой энергии
Проект узла учета тепловой энергии выполнен в соответствии с требованиями
“Правил учета тепловой энергии и теплоносителя”, СП 41.101.95 “Проектирование
тепловых пунктов” и “Правила технической эксплуатации тепловых
энергоустановок”.
Узел учета тепловой энергии предназначен для измерения количества
потребленной тепловой энергии у потребителя и для коммерческих расчетов с
энергоснабжающей организацией.
Узел учета тепловой энергии устанавливается на границе эксплуатационной
ответственности.
В состав теплосчетчика входят следующие средства измерений:
вычислитель количества теплоты СПТ 943.1;
ультразвуковые расходомеры SONO
1500 CT Ду=40 - 2шт.;
термометры сопротивления Pt 500
- 2шт..
Тепловычислитель СПТ 943.1 предназначен для измерения и учета тепловой
энергии и количества теплоносителя в закрытых и открытых системах
теплоснабжения.
Расход теплоносителя на здание определяется по формуле (7.1):

,(7.1)
Где Qот и Qгв - максимальная тепловая нагрузка на отопление и горячее
водоснабжение, кДж/ч; рассчитываем Qгв в
соответствии с приложением 2 [11], Qгв = 409 160
кДж/ч;
tп, tо - расчетная температура тепловой сети соответственно в
подающем и обратном трубопроводах, 0С.
τ2, τ1 - температура сетевой воды соответственно в подающем
и обратном трубопроводах в точке излома, 0С.
Под наименьшим расходом Qmin понимается расход, на котором счетчик имеет относительную
погрешность +5% и ниже которого относительная погрешность не нормируется.
Под переходным расходом понимается расход, на котором счетчик имеет
относительную погрешность +2%.
Под номинальным расходом Qnom принимается расход, при котором счетчик может работать
непрерывно в течение длительного времени.
Под наибольшим расходом Qmax понимается расход, при котором счетчик может работать не
более 1-го часа в сутки.
Расходомер SONO 1500 CT Ду=40: Gсет=6 м3/ч.
Расход: Gнаименьш.=0,8 м3/ч; Gмакс.=20 м3/ч;
m =
6,6 кг;
l =
300 мм.;
∆Pmax = 9,5 кПа;
∆P = ∆Pmax*(Gсет/Gmax)2
= 9/5*(6/20)2 = 0,85 кПа = 0,09 м.
7.3 Автоматизированный тепловой узел
Автоматическому регулированию подлежат те элементы технологического
процесса, правильное ведение которых способствует повышению экономичной работы
оборудования. Необходимость комплексной автоматизации энергосистем
подтверждается прежде всего тем, что она позволяет на 15-20% снизить расходы
энергии.
Автоматизация технологических процессов в общем случае выполняет
следующие функции:
а) регулирование (в частности стабилизация) параметров;
б) контроль и измерение параметров;
в) управление работой оборудования и агрегатов;
г) учет расхода производимых и потребляемых ресурсов.
Цель автоматизации систем теплоснабжения состоит в наиболее эффективном
решении задач отдельными ее звеньями без непосредственного вмешательства
человека.
В дипломном проекте разработана схема автоматизации теплового пункта, в
соответствии с разделом «Автоматизация» подобраны измерительные и
регистрирующие приборы (температуры и давления) и автоматические регуляторы с
исполнительными механизмами и регулирующими клапанами. В последующих
подразделах приводятся проектные решения, позволяющие решить задачи
автоматизации на современном уровне развития.
Тепловой пункт, расположенный в подвале, предназначен для теплоснабжения
жилого дома.
В тепловом пункте предусмотрено размещение теплового узла и
водоподогревательной установки для системы горячего водоснабжения.
Система отопления подключена по независимой схеме.
Водоподогреватель горячего водоснабжения подключен по одноступенчатой
параллельной схеме.
В таблице 7.2 представлены исходные данные для подбора оборудования
теплового пункта.
Таблица 7.2 - Исходные данные для подбора оборудования теплового пункта
|
Наименование
|
Обозн.
|
Формула/ обоснование
|
Величина
|
Ед. изм.
|
|
Давление в подающей
магистрали (не более)
|
Р1
|
Тех.условия
|
45
|
м
|
|
Давление в обратной
магистрали (не более)
|
Р2
|
Тех.условия
|
30
|
м
|
|
Распологаемый перепад
давления на вводе тепловой сети
|
ΔРр
|
Тех.условия
|
15
|
м
|
|
Расчетные потери давления в
тепловой сети и узле учета
|
ΔР
|
расчет
|
2,5
|
м
|
|
Распологаемый перепад
давления на вводе в тепловом узле
|
ΔРр
|
расчет
|
1,45
|
м
|
|
Температура теплоносителя в
подающем трубопроводе
|
Т1
|
Тех.условия
|
110
|
°С
|
|
Температура теплоносителя в
обратном трубопроводе
|
Т2
|
Тех.условия
|
70
|
°С
|
|
Температура теплоносителя в
подающем трубопроводе СО
|
Т1’
|
СП41-102-98
|
95
|
°С
|
|
Температура теплоносителя в
обратном трубопроводе СО
|
Т2’
|
СП41-102-98
|
70
|
°С
|
|
Максимальная часовая
нагрузка отопления
|
Qо
|
Тех.условия
|
127417
|
Вт
|
|
Максимальная часовая
нагрузка ГВС
|
Qгв
|
Тех.условия
|
113655
|
Вт
|
7.3.1 Контроллер ECL «Comfort
210»
Контроллер - это электронный регулятор с погодной коррекцией и
регулировкой температуры теплоносителя, который поступает в систему горячего
водоснабжения и водяного отопления по зависимой схеме.
В качестве контроллера используется универсальный цифровой регулятор
температуры ECL «Comfort 210», который управляет седельными регулирующими
клапанами типа VB2 с
электроприводом AMV25. С помощью
электронного ключа А266b
фирмы «Danfoss» можно осуществлять настройку
регулятора.
В состав ECL Comfort 210 входят:
погодный регулятор ECL Comfort 210 - 1
шт.;
электронный ключ А266b - 1
шт.;
датчики температуры теплоносителя ESMU (погружные) - 2 шт.;
датчики температуры наружного воздуха ESM-10 - 1 шт.;
седельный регулирующий клапан VB2 с редукционным электроприводом AMV25 (для отопления) - 1 шт.;
Технические характеристики:
- рабочая температура окружающей среды: 0 - 55 оС;
тип датчика температуры - Рt1000
(1000 Ом при 0 град; рабочий диапазон от -60 до 150 оС);
цифровой вход - 12 В;
аналоговый вход - 0 - 10 В, разрешение 9 бит;
частота входного сигнала - макс. 200 Гц;
масса - 0,46 кг;
класс защиты - IP 41;
напряжение питания - 230 В;
потребляемая мощность - 5ВА.
7.3.2 Подбор регулирующего клапана для системы отопления
Требуемое значение пропускной способности клапана Кvs
определяется по формуле (7.2):
(7.2)
где
- максимальный расход теплоносителя через клапан, м3/ч;
- потеря
давления в системе отопления, бар.
Расход
определяется по формуле (7.3):
(7.3)
- расчетная температура воды соответственно в подающем и
обратном трубопроводах, °С.
В таб. 7.3 представлен расчёт и подбор регулирующего клапана СО.
Таблица 7.3 - Расчёт и подбор регулирующего клапана СО
|
Исходные данные:
|
Обозначение
|
Значение
|
Ед. изм.
|
|
Максимальная тепловая
нагрузка на отопление
|
Q о
|
127417
|
Вт
|
|
Температурный график
|
τ1, τо
|
110,70
|
°С
|
|
Потеря давления в системе
отопления
|
∆Р
|
1,45
|
м.
|
|
РАСЧЁТ:
|
|
|
|
|
Максимальный расход теплоносителя
через клапан
|
|
2,74
|
т/ч
|
|
Требуемая пропускная
способность клапана
|
Кvs.
|
7,2
|
м3/ч
|
По графику выбираем размер клапана VB2 Ду25 с Кvs = 10 м3/ч, ∆P = 0,9 м.
Технические характеристики регулирующего клапана:
- условное давление Ру - 25 бар;
температура регулируемой среды - 2 - 150 град;
динамический диапазон регулирования - 50 : 1;
коэффициент начала кавитации Z - ≥ 0,5;
характеристика регулирования - двойная линейная;
протечка через закрытый клапан - не более 0,05 % от Кvs;
регулируемая среда - вода, 30 % водный раствор гликоля;
стандарт фланцев - ISO
7005-2.
7.3.3 Подбор регулирующего клапана для системы горячего
водоснабжения
Расход определяется на летний период года:
(7.4)
где
- максимальная тепловая нагрузка на горячее
водоснабжение, ккал/ч;
-
температура горячей и холодной воды в переходный период, °С.
Пропускная
способность клапана Кvs определяется по формуле (7.5).
(7.5)
где
- максимальный расход теплоносителя через клапан,
т/ч;
∆Р
- потеря давления в системе горячего водоснабжения, бар;
В
таблице 7.4 представлен расчёт и подбор регулирующего клапана ГВС.
Таблица
7.4 - Расчет и подбор регулирующего клапана ГВС
|
Исходные данные:
|
Обозначение
|
Значение
|
Ед. изм.
|
|
Максимальная тепловая
нагрузка на ГВ
|
Q гв
|
113655
|
Вт
|
|
Температурный график
|
τ1, τ2
|
70,40
|
°С
|
|
Потеря давления в системе
ГВ
|
∆Р
|
0,2
|
бар
|
|
РАСЧЁТ:
|
|
|
|
|
Максимальный расход
теплоносителя через клапан
|
|
3,26
|
т/ч
|
|
Требуемая пропускная
способность клапана
|
Кvs.
|
26
|
м3/ч
|
По графику выбираем размер клапана VB2 Ду40, Кvs=25м3/ч, ∆Р = 1,6м.
7.3.4 Подбор насоса для системы отопления
При выборе смесительного насоса для системы отопления, который
устанавливается на перемычке между подающим и обратным трубопроводами, следует
принимать напор в зависимости от давления в тепловой сети и требующегося
давления в системе отопления с запасом в 2-3 м. Требуемый напор в системе
отопления по расчету составляет 1,45 м.
(7.6)
гдеu - расчетный коэффициент смешения,
определяется по формуле (7.7);
Go - расчетный максимальный расход воды на отопление из тепловой сети, м3/ч,
определяется по формуле (7.8).
(7.7)
(7.8)
где
- соответственно, температуры
теплоносителя, подаваемого из теплосети, подаваемого в систему потребления,
обратного из системы потребления, °С;
- соответственно, температуры теплоносителя в подающей и
обратной магистрали тепловой сети, °С;
Qo - максимальная тепловая нагрузка на систему отопления, Вт.
Напор насоса на 2-3 м более потерь в контуре отопления и составляет 3м.
К установке принимаем насос Manga3 32-120 (один рабочий, второй - резервный на складе) фирмы GRUNDFOS, G = 1,82 т/ч, H =
3,02 м, N = 34 Вт, 1х230 Вт.
7.3.5 Подбор насоса для системы горячего водоснабжения
При выборе циркуляционного насоса следует принимать:
производительность должна быть достаточной для компенсации тепловых
потерь в системе ГВС и составляет примерно 25-30% от максимального часового
расхода в системе ГВС;
напор должен быть не менее гидравлического сопротивления контура ГВС в
циркуляционном режиме.
К установке принимаем насос циркуляционный ALPHA2 25-60 180 фирмы GRUNDFOS.
7.3.6 Подбор балансировочного клапана
Ручные балансировочные клапаны MSV-F2 предназначены для монтажной наладки
трубопроводных систем тепло- и холодоснабжения зданий и сооружений с целью
обеспечения в них расчетного потокораспределения.
Клапаны позволяют менять и фиксировать их пропускную способность, имеют
удобный индикатор настройки.
Балансировочные клапаны MSV-F2 оснащены герметичным затвором и
игольчатыми измерительными ниппелями и могут одновременно использоваться в
качестве запорной арматуры.
Настройка клапанов производится с помощью измерительного прибора Danfoss PFM 3000/4000, после чего ограничитель подъема штока
может быть заблокирован для защиты от несанкционированных изменений настройки.
Технические характеристики:
- условное давление: 16 и 25 бар;
температура регулируемой среды - 2 - 150 0С;
диапазон рабочих температур: -10 - 130 град (Ру16) и 10 - 150 0С
(Ру25);
клапаны устанавливаются на подающем и(или) обратном трубопроводе системы.
Пропускная способность клапана Кvs определяется по формуле
(7.9).
(7.9)
где
- максимальный расход теплоносителя через клапан, т/ч;
∆Р - расчётный перепад давления на клапане, м.
Требуемая пропускная способность клапана учитывается с запасом 20%.
В таблице 7.5 представлен расчёт балансировочного клапана на СО.
Таблица 7.5 - Расчет балансировочного клапана на систему отопления
|
Наименование
|
Обозначение
|
Значение
|
Ед. изм.
|
|
Максимальный расход
теплоносителя через клапан
|
|
4,58
|
т/ч
|
|
Расчетный перепад давления
на клапане
|
∆Р
|
1,45
|
м
|
|
Требуемая пропускная
способность клапана
|
Кv.тр.
|
12,03
|
м3/ч
|
Технические характеристики балансировочного клапана на систему отопления
представлены в таблице 7.6.
Таблица 7.6 - Технические характеристики балансировочного клапана системы
отопления
|
Наименование
|
Обозначение
|
Значение
|
Ед. изм.
|
|
Пропускная способность
клапана
|
Кvs
|
15,5
|
м3/ч
|
|
Условный диаметр клапана
|
Dу
|
32
|
мм
|
|
Тип присоединения
|
MSV-F2
|
фланец
|
-
|
|
Перепад давления на клапане
|
|
1,5
|
бар
|
Расчётный перепад давления на клапане обратного трубопровода
рассчитывается по формуле (7.10).
(7.10)
где
- располагаемый перепад давления на вводе, м;
- потеря давления в тепловом узле, м;
- потеря давления на теплосчётчиках, м;
- перепад давления в системе отопления, м;
- перепад давления на регулирующем клапане, м;
- перепад давления на балансировочном клапане системы
отопления, м.
В таблице 7.7 представлен расчёт балансировочного клапана на обратном
трубопроводе, его технические характеристики занесены в таб. 7.8.
Таблица 7.7 - Расчёт балансировочного клапана на обратном трубопроводе
|
Наименование
|
Обозначение
|
Значение
|
Ед. изм.
|
|
Максимальный расход
теплоносителя через клапан
|
|
6
|
т/ч
|
|
Расчетный перепад давления
на клапане
|
∆P
|
0,565
|
бар
|
|
Требуемая пропускная
способность клапана
|
Кv.тр.
|
7,98
|
м3/ч
|
Таблица 7.8 - Технические характеристики балансировочного клапана на
обратном трубопроводе
|
Наименование
|
Обозначение
|
Значение
|
Ед. изм.
|
|
Пропускная способность
клапана
|
Кv
|
9
|
м3/ч
|
|
Условный диаметр клапана
|
Dу
|
25
|
мм
|
|
Тип присоединения
|
MSV-F2
|
фланец
|
-
|
|
Перепад давления на клапане
|
|
15
|
м
|
.3.7 Подбор водосчетчика холодной воды
Для организации учета расхода холодной воды выбран счетчик МТК Ду20.
Счетчики холодной воды крыльчатые MТК (далее счетчики) предназначены для
измерения объема холодной воды с температурой от 5 ºС до 30 ºС при максимальном давлении не более
1,6 Мпа.
Технические характеристики:
- диапазон измеряемых расходов: номинальный расход - 2,5 м3/ч;
максимальный расход - 5 м3/ч.; минимальный расход - 0,025 м3/ч;
переходный расход - 0,375 м3/ч;
- порог чувствительности - не более 0,0125 м3/ч;
емкость счетного механизма - 99999 м3;
наименьшая цена деления счетчика - 0,00005м3;
присоединение к трубопроводу - резьбовое;
габаритные размеры счетчиков: монтажная длина - 190 мм, высота - 146 мм,
масса - не более 2 кг.
7.3.8 Контрольно-измерительные приборы
Для контроля параметров, наблюдение за которыми необходимо при
эксплуатации теплового пункта, предусматриваются показывающие и суммирующие
приборы.
Показывающими приборами контролируются параметры, наблюдение за которыми
необходимо для правильного ведения технологического процесса. Местные приборы,
установленные непосредственно на объекте, должны служить для эксплуатационной
оценки приборов, а также использоваться при наладке приборов косвенного
преобразования.
В соответствии с правилами эксплуатации на обратных и подающем
трубопроводах систем отопления, теплоснабжения установлены штуцеры для
манометров и гильзы для термометров. Манометры производят измерение избыточного
давления и перепада давлений. Используются показывающие манометры Wika типа 232.50.100. Термометры
производят измерения температуры теплоносителя в подающем и обратном
трубопроводах. Установлены биметаллические термометры типа А5001.
В таблице 7.9 представлена метрологическая карта оборудования теплового
пункта. В таблице 7.10 представлена спецификация схемы автоматизации теплового
пункта.
Таблица 7.9 - Метрологическая карта средств автоматизации ИТП
|
№ п/п
|
Наименование оборудования
|
Пределы измерений
|
Диапазон показания шкалы
прибора
|
Длина шкалы
|
Цена деления прибора
|
Чувствительность прибора
|
Класс точности
|
Погрешность измерения
|
|
1
|
Манометр показывающий тип
232.50.100 WIKA
|
0 до 10 кгс/см2
|
0 до 10 кгс/см2
|
10
|
0,2
|
-
|
1,0
|
±0,4/10К
|
|
2
|
Термометр WIKA ТА5001
|
0 до 120 ºС
|
0 до 120 ºС
|
120
|
2
|
-
|
-
|
-
|
|
3
|
Термопреобразователь
сопротивления КТПТР-01-1-100
|
0 до 180 ºС
|
|
100
|
|
-
|
|
|
|
4
|
Теплосчетчик СПТ 943.1
|
0 до 175 ºС
|
|
|
|
-
|
I
|
±0,01
|
|
5
|
Датчики температуры Рt1000
|
-60 до 150 ºС
|
|
|
|
|
I
|
|
|
6
|
клапана VB2
Ду25
|
Кvs=10м3/ч
|
0 до 10м3/ч
|
7мм
|
0,1мм
|
|
I
|
|
|
7
|
Балансировочные клапана MSV-F2
Ду 32; Ду25
|
Кvs = 9; 15,5 м3/ч
|
|
|
|
|
I
|
|
Таблица 7.10 - Спецификация контурной схемы автоматизации ИТП
|
Позиция
|
Наименование и техническая
характеристика
|
Тип, марка оборудования
|
Кол-во, шт
|
|
1б
|
Манометр
|
Wika 232.50.100
|
1
|
|
2б
|
Манометр
|
Wika 232.50.100
|
1
|
|
3б
|
Биметаллический термометр
шкала 0...120̊С, ц.д.2С
|
Wika A5001
|
1
|
|
4б
|
Биметаллический термометр
шкала 0...120̊С, ц.д.2С
|
Wika A5001
|
1
|
|
5б
|
Манометр
|
Wika 232.50.100
|
1
|
|
6б, 7б
|
Термопреобразователи
платиновые, L=100мм, с резьбой М20*1,5
|
КТПТР-01-1-100
|
2
|
|
8б, 9б
|
Расходомер Ду=40 (в
комплекте с фланцами)
|
SONO 1500 СТ
|
2
|
|
10б
|
Манометр
|
Wika 232.50.100
|
1
|
|
11б
|
Биметаллический термометр
шкала 0...120̊С, ц.д.2С
|
Wika A5001
|
1
|
|
12б
|
Манометр
|
Wika 232.50.100
|
1
|
|
13б
|
Манометр
|
Wika 232.50.100
|
1
|
|
14б
|
Манометр
|
Wika 232.50.100
|
1
|
|
15б
|
Манометр
|
Wika 232.50.100
|
1
|
|
16б
|
Манометр
|
Wika 232.50.100
|
1
|
|
17б
|
Манометр
|
Wika 232.50.100
|
1
|
|
18б
|
Манометр
|
Wika 232.50.100
|
1
|
|
19б
|
Манометр
|
Wika 232.50.100
|
1
|
|
20б, 23б
|
Погружной датчик
температуры теплоносителя, L=100мм, нержавеющая сталь
|
ESMU-100
|
2
|
|
21б
|
Биметаллический термометр
шкала 0...120̊С, ц.д.2С
|
Wika A5001
|
1
|
|
22б
|
Манометр
|
Wika 232.50.100
|
1
|
|
24б
|
Манометр
|
Wika 232.50.100
|
|
25б
|
Биметаллический термометр
шкала 0...120̊С, ц.д.2С
|
Wika A5001
|
1
|
|
26б
|
Тепловычислитель
|
СПТ 943.1
|
1
|
|
27б
|
Погодный компенсатор (с
ключом А266b)
|
"Danfoss" ECL Comfort 210
|
1
|
|
-
|
Седельный регулирующий
клапан, Ду=25мм, Кvs=10м3/ч, с редукторным приводом AMV30
|
VB2
|
1
|
|
-
|
Датчик температуры наружного
воздуха
|
ESMT
|
1
|
8. Сметный расчет системы отопления
Сметная стоимость строительства - сумма денежных средств, необходимых для
реализации строительства, реконструкции, капремонта, определяемая в
соответствии со справочными материалами. Она является предварительной оценкой
стоимости строительства объекта.
После проектирования системы отопления, составляется локальная смета,
которая показывает, какие денежные средства необходимы для монтажа системы
отопления, а также для приобретения необходимого оборудования и на оплату труда
рабочим.
Локальная смета - первичный сметный документ, который составляется на
отдельные виды работ и затрат по зданиям или сооружениям, или общеплощадочным
работам.
В дипломном проекте был произведен локальный расчет с помощью программы
…(таблица 8.1)
Сметная стоимость строительных работ для системы отопления
многоквартирного жилого трехэтажного дома в селе Никольское Кадуйского района
составит
9. Безопасность жизнедеятельности при монтаже систем отопления
При выполнении монтажных работ системы отопления работник должен строго
соблюдать правила техники безопасности. Знание безопасных приемов работ и их
выполнение необходимы каждому работнику. Только благодаря этим условиям можно
избежать несчастных случаев.
Пренебрежение работниками правил техники безопасности при проведении
монтажных работ систем отопления могут стать причинами травматизма на рабочем
месте.
Производственный травматизм происходит в результате ряда причин:
неправильно организованная работа, а также допуск на объект работников,
не прошедших предварительный инструктаж по ее выполнению;
отсутствие или неисправность ограждений и предохранительных устройств;
неисправное состояние инструмента и приспособлений;
неправильное обслуживание оборудования и механизмов.
При использовании грузоподъемных механизмов требуется строгое соблюдение
следующих правил:
запрещено применять грузоподъемные механизмы, которые рассчитаны на вес,
меньший, чем вес поднимаемого груза;
грузоподъемные механизмы должны иметь исправно действующие тормоза, в
зубчатых и червячных передачах не должно быть никаких повреждений;
эксплуатация грузоподъемных механизмов без аттестации или с истекшим
сроком очередной аттестации запрещена;
запрещается находиться под грузом, а также в местах, где может оказаться
груз в случае обрыва троса при перемещении тяжестей.
При использовании слесарного инструмента необходимо соблюдать следующие
правила техники безопасности:
применение неисправных или не соответствующих выполняемой работе
инструментов запрещено;
молотки и кувалды должны быть прочно нанизаны на рукоятки и укреплены на
них клиньями, а их бойки должны обладать гладкой, слегка выпуклой поверхностью;
зубила и шлямбуры запрещено использовать со сбитыми затылками;
не разрешается применение напильников, ножовок и отверток с ручками,
которые плохо закреплены или расколоты, или вовсе без ручек;
не допускается применение металлических подкладок под губки ключей, а
также надевать отрезки трубы на ручки ключей при работе трубными и гаечными
ключами.
При пользовании электроинструментом требуется соблюдение следующих правил
техники электробезопасности:
непозволительно работать около токоведущих частей, которые не защищены
ограждениями или кожухами;
в случае повреждения изоляции, оказывающиеся под напряжением металлические
кожухи, электродвигатели, электродрели, металлические части пусковых приборов,
станков и других устройств, должны быть заземлены;
для переносных электрических светильников следует применять напряжение не
выше 36 В;
провода, которые проводят электроток к сварочному аппарату и от него к
месту сварки, необходимо изолировать от действия высоких температур и
механических повреждений.
При проведении сварочных работ необходимо:
использовать специальную маску, закрывающую лицо, для того чтобы защитить
глаза от вредного действия светового и невидимого ультрафиолетового и
инфракрасного излучения;
для устранения причин, которые способствуют возникновению пожаров при
проведении сварочных работ, требуется тщательно защищать деревянные и прочие
легко воспламеняющиеся части и конструкции зданий от воспламенения листовым
асбестом;
после того, как сварочные работы будут закончены, следует тщательно
осмотреть помещение и зону проведения сварочных работ и не оставлять открытого
пламени и тлеющих предметов;
при гидравлическом испытании отопительной системы работники, проводящие
его, должны находиться на безопасном расстоянии.
Заключение
В данном дипломном проекте сконструирована и рассчитана система отопления
трехэтажного многоквартирного жилого дома в cеле Никольское Кадуйского района в соответствии с
требованиями новых нормативно-технических документов. Во всех блок - секциях
запроектирована однотрубная система отопления с нижней разводкой. В качестве
отопительных приборов применены радиаторы чугунные секционные типа МС-140М-108.
В проекте выполнен теплотехнический расчет ограждающих конструкций, а так
же посчитаны тепловые потери через ограждающие конструкции помещений. Расчет
тепловых потерь произведен в табличной форме.
Гидравлический расчет однотрубной системы с нижней разводкой выполнен в
табличной форме по методу удельных потерь на трение. Произведен расчет
отопительных приборов.
В проекте выполнен подбор оборудования индивидуального теплового пункта.
Так же разработан раздел автоматизации индивидуального теплового пункта.
Выполнен сметный расчет системы отопления для трехэтажного многоквартирного
жилого дома. А так же разработан раздел по технике безопасности.
Список использованных источников
1. СП 131.13330.2012. Свод правил. Строительная
климатология: утв. Госстрой России. - Актуализированная редакция СНиП
23-01-99*; введ. 01.01.2013. - Москва: Минстрой России, 2015. - 70с.
2. СНиП 23-02-2003. Строительные нормы и правила.
Тепловая защита зданий: утв. Госстроем России 26.06.2003 г. № 113 - Взамен СНиП
II-3-79*; введ. 01.10.2003. - Москва: ГУП ЦПП, 2003. - 46с.
. СП 23-101-2004. Свод правил по проектированию и
строительству. Проектирование тепловой защиты зданий: утв. Госстрой России. -
Взамен СП 23-101-2000; введ. 1.06.2004. - Москва: ФГУП ЦНС, 2004. - 141 с.
4. Еремкин А.И. Отопление и вентиляция жилого здания:
учеб. пособие /А.И. Еремкин, Т.И. Королева, Н.А. Орлова. - Москва: Издательство
АСВ, 2003.-129с.
5. СНиП 41-01-2003. Строительные нормы и правила:
Отопление, вентиляция и кондиционирование: утв. Госстрой России. - Взамен СНиП
2.04.05-91; введ. 01.01.2004. - Москва: ФГУП ЦНС, 2010. - 144 с.
. СП 20.13330.2011 Свод правил. Санитарные правила.
Нагрузки и воздействия: утв. Министерством регионального развития Российской
Федерации 27.12.2010 г. - Актуализированная редакция СНиП 2.01.07-85*; введ.
25.05.2011. - Москва: Минрегион России, 2011- 80 с.
7. Справочник проектировщика. Внутренние санитарно -
технические устройства. В 3 ч. Ч. 1. Отопление / под ред. И.Г. Староверова и
Ю.И. Шиллера. - 4-е изд., перераб. и доп.- Москва: Стройиздат,1990.-344 с.
8. Методические указания по выполнению курсовых и
дипломных проектов «Гидравлический расчет систем водяного отопления» /сост.:
С.И. Корюкин. - Вологда: ВоГТУ, 2013. - 64 с.
9. Методические указания к выполнению курсовых и
дипломных проектов по отоплению «Системы и оборудования для обеспечения
микроклимата в помещениях»/ сост.: Н.А. Загребина.- Вологда: ВПИ, 1999. - 32 с.
. Мухин О.А. Автоматизация систем теплогазоснабжения и
вентиляции / О.А. Мухин. - Минск: Вышэйшая школа, 1986. - 304 с.
11. СП 41-101-95. Свод правил. Проектирование тепловых
пунктов: утв. Минстрой России; введ. 01.07.1997. - Москва: Минстрой России, ГУП
ЦПП, 1996 - 78с.
12. Расчет систем центрального отопления / Р.В.
Щекин,Р.В. Титов, В.А. Березовский, В.А. Потапов - Киев.: Вища школа, 1975.-
216 с.
. Белоусов, В. Б. Основы проектирования систем
центрального отопления / В. Б. Белоусов, Ф. С. Михайлов - М.: Госстрйиздат,
1962.-404 с.
. ГОСТ 12. 1. 005-88. Общие санитарно-гигиенические
требования к воздуху рабочей зоны:Межгос. стандарт.- Введ. 01.01.89.-
М.:1989.-47 с.
. ГОСТ Р 51649-2000. Теплосчетчики для водяных систем
теплоснабжения. Общие технические условия: Межгос. стандарт.- Введ.
01.07.2001.- М.:2001.-13 с.
16. Автоматика и автоматизация систем теплогазоснабжения и
вентиляции: Учеб. для вузов / А.А. Калмаков, Ю.Я. Кувшинов, С.С. Романова, С.А.
Щелкунов; Под ред. В. Н. Богословского.-М.: Стройиздат, 1986.- 479 с.7
. П. Верщинский «Руководство пользователя по программе
Данфосс С.О.» автом 7
18. Строительные нормы и правила: Безопасность труда в
строительстве: СНиП 12-03-2001: введ. 01.09.2001. - М: ГУП ЦПП, 2001.-38 с.
. Строительные нормы и правила: Техника безопасности в
строительстве: СНиП III-4-80*: введ.
01.01.1981. - М: ГУП ЦПП,1981.-27 с.
. Строительные нормы и правила: Пожарная безопасность
зданий и сооружений: СНиП 21-01-97: введ. 01.01.1990. - М: ГУП ЦПП, 2002.-16 с.
. Сметанин, В.И. Защита окружающей среды от отходов
производства и потребления/ В.И. Сметанин.- М.: КолосС, 2003.-230с.
Приложение 1
Таблица расчёта тепловых потерь помещений здания
Таблица П1.1 - Расчет тепловых потерь здания
|
Номер помещения и его
назначение
|
Температура внутреннего
воздуха tв, 0С
|
Характеристика ограждения
|
Расчетная температура
наружного воздуха tн, 0С
|
Расчетная разность
температур tв-tн, 0С
|
Коэффициент n
|
Коффициент теплоотдачи
ограждения k, Вт/(м2*0С)
|
Основные теплопотери, Вт
Q0=k*A*(tв-tн)*n
|
Дополнительные теплопотери
|
Суммарные ТОполнительные
теплопотери, Вт ∑QД=Qд.ор+Qд.дс+Qд.нд+Qд.нп
|
Теплопотери с учетом
ТОбавок, Вт Qоб=Q0+Qд
|
Расход теплоты на
нагревание инфильтрующегося воздуха, Вт, ∑Qн
|
Бытовые тепловыделения, Вт,
Qд.бт=21*Ап
|
Полные теплопотери, Вт, ∑Qт.п.
|
|
|
Наименование
|
Ориентация
|
Размеры a*b, м2
|
Площадь А, м2
|
|
|
|
|
|
C учетом ориентации Qд.ор=Q0*βор
|
При наличии двух и более
стен Qд.дс=Q0*βдс
|
На открывание дверей
Qднд=Q0*βнд
|
На неотапливаемые полы
Qднп=Q0*βнп
|
|
|
|
|
|
|
Помещение 115
|
20
|
НС
|
ЮЗ
|
6,5*2,8
|
15,83
|
-31
|
51
|
1
|
0,18
|
141,91
|
-
|
-
|
-
|
-
|
0,00
|
141,91
|
2267,13
|
761,71
|
2079,23
|
|
20
|
ТО
|
ЮЗ
|
1,68*1,41
|
2,37
|
-31
|
51
|
1
|
1,82
|
219,65
|
-
|
-
|
-
|
-
|
0,00
|
219,65
|
|
|
|
|
20
|
ПЛ
|
-
|
(6,5*6,85)-(2,62-3,15)
|
36,27
|
-31
|
51
|
0,6
|
0,19
|
212,25
|
-
|
-
|
-
|
-
|
0,00
|
212,25
|
|
|
|
|
Помещение 116
|
20
|
НС
|
ЮЗ
|
7,4*2,8
|
17,25
|
-31
|
51
|
1
|
0,18
|
154,65
|
-
|
-
|
-
|
-
|
0,00
|
154,65
|
3168,31
|
1064,5
|
2876,71
|
|
20
|
ТО
|
ЮЗ
|
1,38*1,41
|
1,95
|
-31
|
51
|
1
|
1,82
|
180,43
|
-
|
-
|
-
|
-
|
0,00
|
180,43
|
|
|
|
|
20
|
ТО
|
ЮЗ
|
1,08*1,41
|
1,52
|
-31
|
51
|
1
|
1,82
|
141,21
|
-
|
-
|
-
|
-
|
0,00
|
141,21
|
|
|
|
|
20
|
ПЛ
|
-
|
7,4*6,85
|
50,69
|
-31
|
51
|
0,6
|
0,19
|
296,62
|
-
|
-
|
-
|
-
|
0,00
|
296,62
|
|
|
|
|
Помещение 118
|
20
|
НС
|
ЮЗ
|
7,4*2,8
|
17,25
|
-31
|
51
|
1
|
0,18
|
154,65
|
-
|
-
|
-
|
-
|
0,00
|
154,65
|
3168,31
|
1064,5
|
2876,71
|
|
20
|
ТО
|
ЮЗ
|
1,38*1,41
|
1,95
|
-31
|
51
|
1
|
1,82
|
180,43
|
-
|
-
|
-
|
-
|
0,00
|
180,43
|
|
|
|
|
20
|
ТО
|
ЮЗ
|
1,08*1,41
|
1,52
|
-31
|
51
|
1
|
1,82
|
141,21
|
-
|
-
|
-
|
-
|
0,00
|
141,21
|
|
|
|
|
20
|
ПЛ
|
-
|
7,4*6,85
|
50,69
|
-31
|
51
|
0,6
|
0,19
|
296,62
|
-
|
-
|
-
|
-
|
0,00
|
296,62
|
|
|
|
|
Помещение 119
|
20
|
НС
|
ЮЗ
|
(6,5*6,85)-(2,62-3,15)
|
15,83
|
-31
|
51
|
1
|
0,18
|
141,91
|
-
|
-
|
-
|
-
|
0,00
|
141,91
|
2267,13
|
761,71
|
2079,23
|
|
20
|
ТО
|
ЮЗ
|
1,68*1,41
|
2,37
|
-31
|
51
|
1
|
1,82
|
219,65
|
-
|
-
|
-
|
-
|
0,00
|
219,65
|
|
|
|
|
20
|
ПЛ
|
-
|
6,5*6,85
|
36,27
|
-31
|
51
|
0,6
|
0,19
|
212,25
|
-
|
-
|
-
|
-
|
0,00
|
212,25
|
|
|
|
|
Помещение 121 Угловое
|
20
|
НС
|
4,73*2,8
|
13,24
|
-31
|
51
|
1
|
0,18
|
118,72
|
5,94
|
5,94
|
-
|
-
|
11,87
|
130,59
|
2394,70
|
804,57
|
2537,53
|
|
20
|
НС
|
ЮЗ
|
8,1*2,8
|
19,21
|
-31
|
51
|
1
|
0,18
|
172,21
|
17,22
|
17,22
|
-
|
-
|
34,44
|
206,66
|
|
|
|
|
20
|
ТО
|
ЮЗ
|
1,38*1,41
|
1,95
|
-31
|
51
|
1
|
1,82
|
180,43
|
18,04
|
18,04
|
-
|
-
|
36,09
|
216,51
|
|
|
|
|
20
|
ТО
|
ЮЗ
|
1,08*1,41
|
1,52
|
-31
|
51
|
1
|
1,82
|
141,21
|
14,12
|
14,12
|
-
|
-
|
28,24
|
169,45
|
|
|
|
|
20
|
ПЛ
|
-
|
8,1*4,73
|
38,31
|
-31
|
51
|
0,6
|
0,19
|
224,19
|
-
|
-
|
-
|
-
|
0,00
|
224,19
|
|
|
|
|
Помещение 122
|
16
|
НС
|
СЗ
|
2,8*2,12
|
4,41
|
-31
|
47
|
1
|
0,18
|
36,46
|
3,65
|
-
|
-
|
-
|
3,65
|
40,10
|
2476,02
|
831,89
|
2041,00
|
|
16
|
ТО
|
СЗ
|
1,08*1,41
|
1,52
|
-31
|
47
|
1
|
1,82
|
130,13
|
13,01
|
-
|
-
|
-
|
13,01
|
143,14
|
|
|
|
|
16
|
ПЛ
|
-
|
(2,12*10,9)+(3,15*5,24)
|
39,61
|
-31
|
47
|
0,6
|
0,19
|
213,63
|
-
|
-
|
-
|
-
|
0,00
|
213,63
|
|
|
|
|
2 этаж
|
|
Помещение 201 Угловое
|
20
|
НС
|
СЗ
|
5,76*2,8
|
16,13
|
-31
|
51
|
1
|
0,18
|
144,57
|
7,23
|
7,23
|
-
|
-
|
14,46
|
159,03
|
2466,14
|
828,58
|
2203,98
|
|
20
|
НС
|
СВ
|
6,85*2,8
|
16,81
|
-31
|
51
|
1
|
0,18
|
150,70
|
7,53
|
7,53
|
-
|
-
|
15,07
|
165,77
|
|
|
|
|
20
|
ТО
|
СВ
|
1,68*1,41
|
2,37
|
-31
|
51
|
1
|
1,82
|
219,65
|
10,98
|
10,98
|
-
|
-
|
21,97
|
241,62
|
|
|
|
|
Помещение 202
|
20
|
НС
|
СВ
|
5,14*2,8
|
12,02
|
-31
|
51
|
1
|
0,18
|
107,78
|
10,78
|
-
|
-
|
-
|
10,78
|
118,56
|
2200,69
|
739,39
|
1821,47
|
|
20
|
ТО
|
СВ
|
1,68*1,41
|
2,37
|
-31
|
51
|
1
|
1,82
|
219,65
|
21,97
|
-
|
-
|
-
|
21,97
|
241,62
|
|
|
|
|
Помещение 203
|
20
|
НС
|
СВ
|
6,5*2,8
|
15,83
|
-31
|
51
|
1
|
0,18
|
141,91
|
14,19
|
-
|
-
|
-
|
14,19
|
156,11
|
2267,13
|
761,71
|
1903,
|
|
20
|
ТО
|
СВ
|
1,68*1,41
|
2,37
|
-31
|
51
|
1
|
1,82
|
219,65
|
21,97
|
-
|
-
|
-
|
21,97
|
241,62
|
|
|
|
|
Помещение 204
|
20
|
НС
|
СВ
|
3,75*2,8
|
7,83
|
-31
|
51
|
1
|
0,18
|
70,20
|
7,02
|
-
|
-
|
-
|
7,02
|
77,23
|
1605,56
|
539,44
|
1264,88
|
|
20
|
ТО
|
СВ
|
0,845*1,41
|
1,19
|
-31
|
51
|
1
|
1,82
|
110,48
|
11,05
|
-
|
-
|
-
|
11,05
|
121,53
|
|
|
|
|
Помещение 205
|
18
|
НС
|
СВ
|
2,67*2,8
|
4,81
|
-31
|
49
|
1
|
0,18
|
41,41
|
4,14
|
-
|
-
|
-
|
4,14
|
45,55
|
1446,83
|
486,11
|
1123,03
|
|
18
|
ТО
|
СВ
|
0,845*1,41
|
1,19
|
-31
|
49
|
1
|
1,82
|
106,15
|
10,61
|
-
|
-
|
-
|
10,61
|
116,76
|
|
|
|
|
Помещение 206
|
20
|
НС
|
СВ
|
3,78*2,8
|
8,64
|
-31
|
51
|
1
|
0,18
|
77,43
|
7,74
|
-
|
-
|
-
|
7,74
|
85,18
|
1058,46
|
355,62
|
986,49
|
|
20
|
СВ
|
1,38*1,41
|
1,95
|
-31
|
51
|
1
|
1,82
|
180,43
|
18,04
|
-
|
-
|
-
|
18,04
|
198,47
|
|
|
|
|
Помещение 207
|
20
|
НС
|
СВ
|
3,65*2,8
|
7,55
|
-31
|
51
|
1
|
0,18
|
67,69
|
6,77
|
-
|
-
|
-
|
6,77
|
74,46
|
1819,02
|
611,15
|
1403,85
|
|
20
|
ТО
|
СВ
|
0,845*1,41
|
1,19
|
-31
|
51
|
1
|
1,82
|
110,48
|
11,05
|
-
|
-
|
-
|
11,05
|
121,53
|
|
|
|
|
Помещение 208
|
20
|
НС
|
СВ
|
3,75*2,8
|
7,83
|
-31
|
51
|
1
|
0,18
|
70,20
|
7,02
|
-
|
-
|
-
|
7,02
|
77,23
|
1605,56
|
539,44
|
1264,88
|
|
20
|
ТО
|
СВ
|
0,845*1,41
|
1,19
|
-31
|
51
|
1
|
1,82
|
110,48
|
11,05
|
-
|
-
|
-
|
11,05
|
121,53
|
|
|
|
|
Помещение 209
|
20
|
НС
|
СВ
|
6,5*2,8
|
15,83
|
-31
|
51
|
1
|
0,18
|
141,91
|
14,19
|
-
|
-
|
-
|
14,19
|
156,11
|
2267,13
|
761,71
|
1903,14
|
|
20
|
ТО
|
СВ
|
1,68*1,41
|
2,37
|
-31
|
51
|
1
|
1,82
|
219,65
|
21,97
|
-
|
-
|
-
|
21,97
|
241,62
|
|
|
|
|
Помещение 210
|
20
|
НС
|
СВ
|
5,14*2,8
|
12,02
|
-31
|
51
|
1
|
0,18
|
107,78
|
10,78
|
-
|
-
|
-
|
10,78
|
118,56
|
2200,69
|
739,39
|
1821,47
|
|
20
|
ТО
|
СВ
|
1,68*1,41
|
2,37
|
-31
|
51
|
1
|
1,82
|
219,65
|
21,97
|
-
|
-
|
-
|
21,97
|
241,62
|
|
|
|
|
Помещение 211 Угловое
|
20
|
НС
|
СВ
|
5,76*2,8
|
16,13
|
-31
|
51
|
1
|
0,18
|
144,57
|
7,23
|
7,23
|
-
|
-
|
14,46
|
159,03
|
2466,14
|
828,58
|
2219,05
|
|
20
|
НС
|
ЮВ
|
6,85*2,8
|
16,81
|
-31
|
51
|
1
|
0,18
|
150,70
|
15,07
|
15,07
|
-
|
-
|
30,14
|
180,84
|
|
|
|
|
20
|
ТО
|
СВ
|
1,68*1,41
|
2,37
|
-31
|
51
|
1
|
1,82
|
219,65
|
10,98
|
10,98
|
-
|
-
|
21,97
|
241,62
|
|
|
|
|
Помещение 212
|
16
|
НС
|
ЮВ
|
2,8*2,12
|
4,41
|
-31
|
47
|
1
|
0,18
|
36,46
|
1,82
|
-
|
-
|
-
|
1,82
|
38,28
|
2476,02
|
831,89
|
1819
|
|
16
|
ТО
|
ЮВ
|
1,08*1,41
|
1,52
|
-31
|
47
|
1
|
1,82
|
130,13
|
6,51
|
-
|
-
|
-
|
6,51
|
136,64
|
|
|
|
|
Помещение 213 Угловое
|
20
|
НС
|
ЮВ
|
4,73*2,8
|
13,24
|
-31
|
51
|
1
|
0,18
|
118,72
|
11,87
|
11,87
|
-
|
-
|
23,74
|
142,47
|
2394,70
|
804,57
|
2325,21
|
|
20
|
НС
|
ЮЗ
|
8,1*2,8
|
19,21
|
-31
|
51
|
1
|
0,18
|
172,21
|
17,22
|
17,22
|
-
|
-
|
34,44
|
206,66
|
|
|
|
|
20
|
ТО
|
ЮЗ
|
1,38*1,41
|
1,95
|
-31
|
51
|
1
|
1,82
|
180,43
|
18,04
|
18,04
|
-
|
-
|
36,09
|
216,51
|
|
|
|
|
20
|
ТО
|
ЮЗ
|
1,08*1,41
|
1,52
|
-31
|
51
|
1
|
1,82
|
141,21
|
14,12
|
14,12
|
-
|
-
|
28,24
|
169,45
|
|
|
|
|
Помещение 215
|
20
|
НС
|
ЮЗ
|
6,5*2,8
|
15,83
|
-31
|
51
|
1
|
0,18
|
141,91
|
-
|
-
|
-
|
-
|
0,00
|
141,91
|
2267,13
|
761,71
|
1866,98
|
|
20
|
ТО
|
ЮЗ
|
1,68*1,41
|
2,37
|
-31
|
51
|
1
|
1,82
|
219,65
|
-
|
-
|
-
|
-
|
0,00
|
219,65
|
20
|
НС
|
ЮЗ
|
7,4*2,8
|
17,25
|
-31
|
51
|
1
|
0,18
|
154,65
|
-
|
-
|
-
|
-
|
0,00
|
154,65
|
3168,31
|
1064,5
|
2580,09
|
|
20
|
ТО
|
ЮЗ
|
1,38*1,41
|
1,95
|
-31
|
51
|
1
|
1,82
|
180,43
|
-
|
-
|
-
|
-
|
0,00
|
180,43
|
|
|
|
|
20
|
ТО
|
ЮЗ
|
1,08*1,41
|
1,52
|
-31
|
51
|
1
|
1,82
|
141,21
|
-
|
-
|
-
|
-
|
0,00
|
141,21
|
|
|
|
|
Помещение 218
|
20
|
НС
|
ЮЗ
|
7,4*2,8
|
17,25
|
-31
|
51
|
1
|
0,18
|
154,65
|
-
|
-
|
-
|
-
|
0,00
|
154,65
|
3168,31
|
1064,5
|
2580,09
|
|
20
|
ТО
|
ЮЗ
|
1,38*1,41
|
1,95
|
-31
|
51
|
1
|
1,82
|
180,43
|
-
|
-
|
-
|
-
|
0,00
|
180,43
|
|
|
|
|
20
|
ТО
|
ЮЗ
|
1,08*1,41
|
1,52
|
-31
|
51
|
1
|
1,82
|
141,21
|
-
|
-
|
-
|
-
|
0,00
|
141,21
|
|
|
|
|
Помещение 219
|
20
|
НС
|
ЮЗ
|
(6,5*6,85)-(2,62-3,15)
|
15,83
|
-31
|
51
|
1
|
0,18
|
141,91
|
-
|
-
|
-
|
-
|
0,00
|
141,91
|
2267,13
|
761,71
|
1866,98
|
|
20
|
ТО
|
ЮЗ
|
1,68*1,41
|
2,37
|
-31
|
51
|
1
|
1,82
|
219,65
|
-
|
-
|
-
|
-
|
0,00
|
219,65
|
|
|
|
|
Помещение 221 Угловое
|
20
|
НС
|
СЗ
|
4,73*2,8
|
13,24
|
-31
|
51
|
1
|
0,18
|
118,72
|
5,94
|
5,94
|
-
|
-
|
11,87
|
130,59
|
2394,70
|
804,57
|
2313,34
|
|
20
|
НС
|
ЮЗ
|
8,1*2,8
|
19,21
|
-31
|
51
|
1
|
0,18
|
172,21
|
17,22
|
17,22
|
-
|
-
|
34,44
|
206,66
|
|
|
|
|
20
|
ТО
|
ЮЗ
|
1,38*1,41
|
1,95
|
-31
|
51
|
1
|
1,82
|
180,43
|
18,04
|
18,04
|
-
|
-
|
36,09
|
216,51
|
|
|
|
|
20
|
ТО
|
ЮЗ
|
1,08*1,41
|
1,52
|
-31
|
51
|
1
|
1,82
|
141,21
|
14,12
|
14,12
|
-
|
-
|
28,24
|
169,45
|
|
|
|
|
Помещение 222
|
16
|
НС
|
СЗ
|
2,8*2,12
|
4,41
|
-31
|
47
|
1
|
0,18
|
36,46
|
3,65
|
-
|
-
|
-
|
3,65
|
40,10
|
2476,02
|
831,89
|
1827,37
|
|
16
|
ТО
|
СЗ
|
1,08*1,41
|
1,52
|
-31
|
47
|
1
|
1,82
|
130,13
|
13,01
|
-
|
-
|
-
|
13,01
|
143,14
|
|
|
|
|
3 этаж
|
|
Помещение 301 Угловое
|
20
|
НС
|
СЗ
|
5,76*2,8
|
16,13
|
-31
|
51
|
1
|
0,18
|
144,57
|
7,23
|
7,23
|
-
|
-
|
14,46
|
159,03
|
2466,14
|
828,58
|
2500,28
|
|
20
|
НС
|
СВ
|
6,85*2,8
|
16,81
|
-31
|
51
|
1
|
0,18
|
150,70
|
7,53
|
7,53
|
-
|
-
|
15,07
|
165,77
|
|
|
|
|
20
|
ТО
|
СВ
|
1,68*1,41
|
2,37
|
-31
|
51
|
1
|
1,82
|
219,65
|
10,98
|
10,98
|
-
|
-
|
21,97
|
241,62
|
|
|
|
|
20
|
ПТ
|
-
|
5,76*6,85
|
39,46
|
-31
|
51
|
1
|
0,15
|
296,30
|
-
|
-
|
-
|
-
|
0,00
|
296,30
|
|
|
|
|
Помещение 302
|
20
|
НС
|
СВ
|
5,14*2,8
|
12,02
|
-31
|
51
|
1
|
0,18
|
107,78
|
10,78
|
-
|
-
|
-
|
10,78
|
118,56
|
2200,69
|
739,39
|
2137,09
|
|
20
|
ТО
|
СВ
|
1,68*1,41
|
2,37
|
-31
|
51
|
1
|
1,82
|
219,65
|
21,97
|
-
|
-
|
-
|
21,97
|
241,62
|
|
|
|
|
20
|
ПТ
|
5,14*6,85
|
35,21
|
-31
|
51
|
1
|
0,18
|
315,62
|
-
|
-
|
-
|
-
|
0,00
|
315,62
|
|
|
|
|
Помещение 303
|
20
|
НС
|
СВ
|
6,5*2,8
|
15,83
|
-31
|
51
|
1
|
0,18
|
141,91
|
14,19
|
-
|
-
|
-
|
14,19
|
156,11
|
2267,13
|
761,71
|
2228,29
|
|
20
|
ТО
|
СВ
|
1,68*1,41
|
2,37
|
-31
|
51
|
1
|
1,82
|
219,65
|
21,97
|
-
|
-
|
-
|
21,97
|
241,62
|
|
|
|
|
20
|
ПТ
|
-
|
(6,5*6,85)-(3,15*2,62)
|
36,27
|
-31
|
51
|
1
|
0,18
|
325,15
|
-
|
-
|
-
|
-
|
0,00
|
325,15
|
|
|
|
|
Помещение 304
|
20
|
НС
|
СВ
|
3,75*2,8
|
7,83
|
-31
|
51
|
1
|
0,18
|
70,20
|
7,02
|
-
|
-
|
-
|
7,02
|
77,23
|
1605,56
|
539,44
|
1495,14
|
|
20
|
ТО
|
СВ
|
0,845*1,41
|
1,19
|
-31
|
51
|
1
|
1,82
|
110,48
|
11,05
|
-
|
-
|
-
|
11,05
|
121,53
|
|
|
|
|
20
|
ПТ
|
-
|
3,75*6,85
|
25,69
|
-31
|
51
|
1
|
0,18
|
230,27
|
-
|
-
|
-
|
-
|
0,00
|
230,27
|
|
|
|
|
Помещение 305
|
18
|
НС
|
СВ
|
2,67*2,8
|
4,81
|
-31
|
49
|
1
|
0,18
|
41,41
|
4,14
|
-
|
-
|
-
|
4,14
|
45,55
|
1446,83
|
486,11
|
1322,40
|
|
18
|
ТО
|
СВ
|
0,845*1,41
|
1,19
|
-31
|
49
|
1
|
1,82
|
106,15
|
10,61
|
-
|
-
|
-
|
10,61
|
116,76
|
|
|
|
|
18
|
ПТ
|
-
|
(2,67*6,85)+(2,37*2,05)
|
23,15
|
-31
|
49
|
1
|
0,18
|
199,37
|
-
|
-
|
-
|
-
|
0,00
|
199,37
|
|
|
|
|
Помещение 306
|
20
|
НС
|
СВ
|
3,78*2,8
|
8,64
|
-31
|
51
|
1
|
0,18
|
77,43
|
7,74
|
-
|
-
|
-
|
7,74
|
85,18
|
1058,46
|
355,62
|
1138,29
|
|
20
|
ТО
|
СВ
|
1,38*1,41
|
1,95
|
-31
|
51
|
1
|
1,82
|
180,43
|
18,04
|
-
|
-
|
-
|
18,04
|
198,47
|
|
|
|
|
20
|
ПТ
|
-
|
3,78*4,48
|
16,93
|
-31
|
51
|
1
|
0,18
|
151,80
|
-
|
-
|
-
|
-
|
0,00
|
151,80
|
|
|
|
|
Помещение 307
|
20
|
НС
|
СВ
|
3,65*2,8
|
7,55
|
-31
|
51
|
1
|
0,18
|
67,69
|
6,77
|
-
|
-
|
-
|
6,77
|
74,46
|
1819,02
|
611,15
|
1664,74
|
|
20
|
ТО
|
СВ
|
0,845*1,41
|
1,19
|
-31
|
51
|
1
|
1,82
|
110,48
|
11,05
|
-
|
-
|
-
|
11,05
|
121,53
|
|
|
|
|
20
|
ПТ
|
-
|
(3,65*6,85)+(1,73*2,37)
|
29,10
|
-31
|
51
|
1
|
0,18
|
260,88
|
-
|
-
|
-
|
-
|
0,00
|
260,88
|
|
|
|
|
Помещение 308
|
20
|
НС
|
СВ
|
3,75*2,8
|
7,83
|
-31
|
51
|
1
|
0,18
|
70,20
|
7,02
|
-
|
-
|
-
|
7,02
|
77,23
|
1605,56
|
539,44
|
1495,14
|
|
20
|
ТО
|
СВ
|
0,845*1,41
|
1,19
|
-31
|
51
|
1
|
1,82
|
110,48
|
11,05
|
-
|
-
|
-
|
11,05
|
121,53
|
|
|
|
|
20
|
ПТ
|
-
|
3,75*6,85
|
25,69
|
-31
|
51
|
1
|
0,18
|
230,27
|
-
|
-
|
-
|
-
|
0,00
|
230,27
|
|
|
|
|
Помещение 309
|
20
|
НС
|
СВ
|
6,5*2,8
|
15,83
|
-31
|
51
|
1
|
0,18
|
141,91
|
14,19
|
-
|
-
|
-
|
14,19
|
156,11
|
2267,13
|
761,71
|
2228
|
|
20
|
ТО
|
СВ
|
1,68*1,41
|
2,37
|
51
|
1
|
1,82
|
219,65
|
21,97
|
-
|
-
|
-
|
21,97
|
241,62
|
|
|
|
|
20
|
ПТ
|
-
|
(6,5*6,85)-(3,15*26,2)
|
36,27
|
-31
|
51
|
1
|
0,18
|
325,15
|
-
|
-
|
-
|
-
|
0,00
|
325,15
|
|
|
|
|
Помещение 310
|
20
|
НС
|
СВ
|
5,14*2,8
|
12,02
|
-31
|
51
|
1
|
0,18
|
107,78
|
10,78
|
-
|
-
|
-
|
10,78
|
118,56
|
2200,69
|
739,39
|
2137,09
|
|
20
|
ТО
|
СВ
|
1,68*1,41
|
2,37
|
-31
|
51
|
1
|
1,82
|
219,65
|
21,97
|
-
|
-
|
-
|
21,97
|
241,62
|
|
|
|
|
20
|
ПТ
|
-
|
5,14*6,85
|
35,21
|
-31
|
51
|
1
|
0,18
|
315,62
|
-
|
-
|
-
|
-
|
0,00
|
315,62
|
|
|
|
|
Помещение 311 Угловое
|
20
|
НС
|
СВ
|
5,76*2,8
|
16,13
|
-31
|
51
|
1
|
0,18
|
144,57
|
7,23
|
7,23
|
-
|
-
|
14,46
|
159,03
|
2466,14
|
828,58
|
2572,74
|
|
20
|
НС
|
ЮВ
|
6,85*2,8
|
16,81
|
-31
|
51
|
1
|
0,18
|
150,70
|
15,07
|
15,07
|
-
|
-
|
30,14
|
180,84
|
|
|
|
|
20
|
ТО
|
СВ
|
1,68*1,41
|
2,37
|
-31
|
51
|
1
|
1,82
|
219,65
|
10,98
|
10,98
|
-
|
-
|
21,97
|
241,62
|
|
|
|
|
20
|
ПТ
|
-
|
5,76*6,85
|
39,46
|
-31
|
51
|
1
|
0,18
|
353,69
|
-
|
-
|
-
|
-
|
0,00
|
353,69
|
|
|
|
|
Помещение 312
|
16
|
НС
|
ЮВ
|
2,8*2,12
|
4,41
|
-31
|
47
|
1
|
0,18
|
36,46
|
1,82
|
-
|
-
|
-
|
1,82
|
38,28
|
2476,02
|
831,89
|
2146,30
|
|
16
|
ТО
|
ЮВ
|
1,08*1,41
|
1,52
|
-31
|
47
|
1
|
1,82
|
130,13
|
6,51
|
-
|
-
|
-
|
6,51
|
136,64
|
|
|
|
|
16
|
ПТ
|
-
|
(2,12*10,9)+(3,15*5,24)
|
39,61
|
-31
|
47
|
1
|
0,18
|
327,26
|
-
|
-
|
-
|
-
|
0,00
|
327,26
|
|
|
|
|
Помещение 313 Угловое
|
20
|
НС
|
ЮВ
|
4,73*2,8
|
13,24
|
-31
|
51
|
1
|
0,18
|
118,72
|
11,87
|
11,87
|
-
|
-
|
23,74
|
142,47
|
2394,70
|
804,57
|
2668,66
|
|
20
|
НС
|
ЮЗ
|
8,1*2,8
|
19,21
|
-31
|
51
|
1
|
0,18
|
172,21
|
17,22
|
17,22
|
-
|
-
|
34,44
|
206,66
|
|
|
|
|
20
|
ТО
|
ЮЗ
|
1,38*1,41
|
1,95
|
-31
|
51
|
1
|
1,82
|
180,43
|
18,04
|
18,04
|
-
|
-
|
36,09
|
216,51
|
|
|
|
|
20
|
ТО
|
ЮЗ
|
1,08*1,41
|
1,52
|
-31
|
51
|
1
|
1,82
|
141,21
|
14,12
|
14,12
|
-
|
-
|
28,24
|
169,45
|
|
|
|
|
20
|
ПТ
|
-
|
8,1*4,73
|
38,31
|
-31
|
51
|
1
|
0,18
|
343,45
|
-
|
-
|
-
|
-
|
0,00
|
343,45
|
|
|
|
|
Помещение 315
|
20
|
НС
|
ЮЗ
|
6,5*2,8
|
15,83
|
-31
|
51
|
1
|
0,18
|
141,91
|
-
|
-
|
-
|
-
|
0,00
|
141,91
|
2267,13
|
761,71
|
2192,13
|
|
20
|
ТО
|
ЮЗ
|
1,68*1,41
|
2,37
|
-31
|
51
|
1
|
1,82
|
219,65
|
-
|
-
|
-
|
-
|
0,00
|
219,65
|
|
|
|
|
20
|
ПТ
|
-
|
(6,5*6,85)-(2,62-3,15)
|
36,27
|
-31
|
51
|
1
|
0,18
|
325,15
|
-
|
-
|
-
|
-
|
0,00
|
325,15
|
|
|
|
|
Помещение 316
|
20
|
НС
|
ЮЗ
|
7,4*2,8
|
17,25
|
-31
|
51
|
1
|
0,18
|
154,65
|
-
|
-
|
-
|
-
|
0,00
|
3168,31
|
1064,5
|
3034,49
|
|
20
|
ТО
|
ЮЗ
|
1,38*1,41
|
1,95
|
-31
|
51
|
1
|
1,82
|
180,43
|
-
|
-
|
-
|
-
|
0,00
|
180,43
|
|
|
|
|
20
|
ТО
|
ЮЗ
|
1,08*1,41
|
1,52
|
-31
|
51
|
1
|
1,82
|
141,21
|
-
|
-
|
-
|
-
|
0,00
|
141,21
|
|
|
|
|
20
|
ПТ
|
-
|
7,4*6,85
|
50,69
|
-31
|
51
|
1
|
0,18
|
454,40
|
-
|
-
|
-
|
-
|
0,00
|
454,40
|
|
|
|
|
Помещение 318
|
20
|
НС
|
ЮЗ
|
7,4*2,8
|
17,25
|
-31
|
51
|
1
|
0,18
|
154,65
|
-
|
-
|
-
|
-
|
0,00
|
154,65
|
3168,31
|
1064,5
|
3034,49
|
|
20
|
ТО
|
ЮЗ
|
1,38*1,41
|
1,95
|
-31
|
51
|
1
|
1,82
|
180,43
|
-
|
-
|
-
|
-
|
0,00
|
180,43
|
|
|
|
|
20
|
ТО
|
ЮЗ
|
1,08*1,41
|
1,52
|
-31
|
51
|
1
|
1,82
|
141,21
|
-
|
-
|
-
|
-
|
0,00
|
141,21
|
|
|
|
|
20
|
ПТ
|
-
|
7,4*6,85
|
50,69
|
-31
|
51
|
1
|
0,18
|
454,40
|
-
|
-
|
-
|
-
|
0,00
|
454,40
|
|
|
|
|
Помещение 319
|
20
|
НС
|
ЮЗ
|
(6,5*6,85)-(2,62-3,15)
|
15,83
|
-31
|
51
|
1
|
0,18
|
141,91
|
-
|
-
|
-
|
-
|
0,00
|
141,91
|
2267,13
|
761,71
|
2270,87
|
|
20
|
ТО
|
ЮЗ
|
1,68*1,41
|
2,37
|
-31
|
51
|
1
|
1,82
|
219,65
|
-
|
-
|
-
|
-
|
0,00
|
219,65
|
|
|
|
|
20
|
ПТ
|
-
|
6,5*6,85
|
45,06
|
-31
|
51
|
1
|
0,18
|
403,88
|
-
|
-
|
-
|
-
|
0,00
|
403,88
|
|
|
|
|
Помещение 321 Угловое
|
20
|
НС
|
СЗ
|
4,73*2,8
|
13,24
|
-31
|
51
|
1
|
0,18
|
118,72
|
5,94
|
5,94
|
-
|
-
|
11,87
|
130,59
|
2394,70
|
804,57
|
2656,78
|
|
20
|
НС
|
ЮЗ
|
8,1*2,8
|
19,21
|
-31
|
51
|
1
|
0,18
|
172,21
|
17,22
|
17,22
|
-
|
-
|
34,44
|
206,66
|
|
|
|
|
20
|
ТО
|
ЮЗ
|
1,38*1,41
|
1,95
|
-31
|
51
|
1
|
1,82
|
180,43
|
18,04
|
18,04
|
-
|
-
|
36,09
|
216,51
|
|
|
|
|
20
|
ТО
|
ЮЗ
|
1,08*1,41
|
1,52
|
-31
|
51
|
1
|
1,82
|
141,21
|
14,12
|
14,12
|
-
|
-
|
28,24
|
169,45
|
|
|
|
|
20
|
ПТ
|
-
|
8,1*4,73
|
38,31
|
-31
|
51
|
1
|
0,18
|
343,45
|
-
|
-
|
-
|
-
|
0,00
|
343,45
|
|
|
|
|
Помещение 322
|
16
|
НС
|
СЗ
|
2,8*2,12
|
4,41
|
-31
|
47
|
1
|
0,18
|
36,46
|
3,65
|
-
|
-
|
-
|
3,65
|
40,10
|
2476,02
|
831,89
|
2154,63
|
|
16
|
ТО
|
СЗ
|
1,08*1,41
|
1,52
|
-31
|
47
|
1
|
1,82
|
130,13
|
13,01
|
-
|
-
|
-
|
13,01
|
143,14
|
|
|
|
|
16
|
ПТ
|
-
|
(2,12*10,9)+(3,15*5,24)
|
39,61
|
-31
|
47
|
1
|
0,18
|
327,26
|
-
|
-
|
-
|
-
|
0,00
|
327,26
|
|
|
|
|
Лестничная клетка
|
|
Помещение 114 ЛК
|
16
|
НС
|
ЮЗ
|
9,415*2,8
|
23,30
|
-31
|
47
|
1
|
0,18
|
192,47
|
-
|
-
|
-
|
-
|
0,00
|
192,47
|
827,80
|
-
|
4098,72
|
|
16
|
ТО
|
ЮЗ
|
1,38*0,81
|
1,12
|
-31
|
47
|
1
|
1,82
|
95,52
|
-
|
-
|
-
|
-
|
0,00
|
95,52
|
|
|
|
|
16
|
ТО
|
ЮЗ
|
1,38*1,41
|
1,95
|
-31
|
1
|
1,82
|
166,28
|
-
|
-
|
-
|
-
|
0,00
|
166,28
|
|
|
|
|
16
|
ДН
|
ЮЗ
|
1,38*1,99
|
2,75
|
-31
|
47
|
1
|
1,14
|
146,79
|
-
|
-
|
646
|
-
|
646,3
|
793,09
|
|
|
|
|
16
|
ПТ
|
-
|
2,8*4,72
|
13,24
|
-31
|
47
|
0,6
|
0,18
|
65,65
|
-
|
-
|
-
|
-
|
0,00
|
65,65
|
|
|
|
|
16
|
ПЛ
|
-
|
2,8*4,73
|
13,24
|
-31
|
47
|
0,6
|
3,58
|
1957,92
|
-
|
-
|
-
|
-
|
0,00
|
1957,9
|
|
|
|
|
Помещение 117 ЛК
|
16
|
НС
|
ЮЗ
|
9,415*2,8
|
23,30
|
-31
|
47
|
1
|
0,18
|
192,47
|
-
|
-
|
-
|
-
|
0,00
|
192,47
|
827,80
|
-
|
4098,72
|
|
16
|
ТО
|
ЮЗ
|
1,38*0,81
|
1,12
|
-31
|
47
|
1
|
1,82
|
95,52
|
-
|
-
|
-
|
-
|
0,00
|
95,52
|
|
|
|
|
16
|
ТО
|
ЮЗ
|
1,38*1,41
|
1,95
|
-31
|
47
|
1
|
1,82
|
166,28
|
-
|
-
|
-
|
-
|
0,00
|
166,28
|
|
|
|
|
16
|
ДН
|
ЮЗ
|
1,38*1,99
|
2,75
|
-31
|
47
|
1
|
1,14
|
146,79
|
-
|
-
|
646
|
-
|
646,3
|
793,09
|
|
|
|
|
16
|
ПТ
|
-
|
2,8*4,72
|
13,24
|
-31
|
47
|
0,6
|
0,18
|
65,65
|
-
|
-
|
-
|
-
|
0,00
|
65,65
|
|
|
|
|
16
|
ПЛ
|
-
|
2,8*4,73
|
13,24
|
-31
|
47
|
0,6
|
3,58
|
1957,92
|
-
|
-
|
-
|
-
|
0,00
|
1957,9
|
|
|
|
|
Помещение 120 ЛК
|
16
|
НС
|
ЮЗ
|
9,415*2,8
|
23,30
|
-31
|
47
|
1
|
0,18
|
192,47
|
-
|
-
|
-
|
-
|
0,00
|
192,47
|
827,80
|
-
|
4098,72
|
|
16
|
ТО
|
ЮЗ
|
1,38*0,81
|
1,12
|
-31
|
47
|
1
|
1,82
|
95,52
|
-
|
-
|
-
|
-
|
0,00
|
95,52
|
|
|
|
|
16
|
ТО
|
ЮЗ
|
1,38*1,41
|
1,95
|
-31
|
47
|
1
|
1,82
|
166,28
|
-
|
-
|
-
|
-
|
0,00
|
166,28
|
|
|
|
|
16
|
ДН
|
ЮЗ
|
1,38*1,99
|
2,75
|
-31
|
47
|
1
|
1,14
|
146,79
|
-
|
-
|
646
|
-
|
646,3
|
793,09
|
|
|
|
|
16
|
ПТ
|
-
|
2,8*4,72
|
13,24
|
-31
|
47
|
0,6
|
0,18
|
65,65
|
-
|
-
|
-
|
-
|
0,00
|
65,65
|
|
|
|
|
16
|
ПЛ
|
-
|
2,8*4,73
|
13,24
|
-31
|
47
|
0,6
|
3,58
|
1957,92
|
-
|
-
|
-
|
-
|
0,00
|
1957,9
|
|
|
|
|
|
|
|
|
|
|
|
|
|
|
|
|
|
|
|
|
|
|
|
|
|
|
|
|
|
|
|
|
|
|
|
|
|
|
Приложение 2
Таблица гидравлического расчёта системы отопления жилого дома
Таблица П2.1 - Гидравлический расчёт системы отопления
|
Исходные данные
|
Расчетные данные
|
|
Номер участка
|
Тепловая нагрузка на
участке Q, Вт
|
Температурный перепад, ∆t1-t0,⁰C
|
Расход воды на участке G,
кг/ч
|
Длина участка l, м
|
Диаметр участка d, мм
|
Удельное сопротивление на
трение R, Па
|
Скорость теплоносителя ν, м/с
|
Сумма коэффициентов местных
сопротивлений на участке ∑ξ, Па
|
Потери давления на трение
на участке Rl, Па
|
Потери давления на местные
сопротивления на участке Z, Па
|
Общие потери давления на
участке Rl+Z, Па
|
Суммарные потери давления в
главном циркуляционном кольце ∑(Rl+Z), Па
|
|
Ветка №1
|
|
0-1
|
124895,38
|
25
|
4577,22
|
21,2
|
80
|
8,97
|
0,234
|
3
|
190,08391
|
79,3
|
269,4
|
14204,819
|
|
1-2
|
58729,41
|
25
|
2123,0
|
8,678
|
50
|
23,77
|
0,283
|
5
|
206,28
|
193,5
|
399,8
|
|
|
2-3
|
30463,92
|
25
|
1112,3
|
3,09
|
40
|
23,39
|
0,238
|
4,5
|
72,26
|
123,6
|
195,8
|
|
|
3-4
|
27253,47
|
25
|
974,5
|
3,547
|
40
|
18,19
|
0,209
|
1,5
|
64,52
|
31,8
|
96,3
|
|
|
4-5
|
23533,78
|
25
|
842,2
|
1,713
|
32
|
35,85
|
0,262
|
1
|
61,42
|
33,4
|
94,8
|
|
|
5-6
|
19377,5
|
25
|
692,9
|
5,75
|
32
|
27,31
|
0,215
|
1
|
157,02
|
22,5
|
179,5
|
|
|
6-7
|
25
|
469,4
|
6,8
|
25
|
31,93
|
0,216
|
1,5
|
217,12
|
33,9
|
251,0
|
|
|
7-8
|
7141,08
|
25
|
255,3
|
4,363
|
25
|
10,26
|
0,118
|
1,5
|
44,75
|
10,1
|
54,8
|
|
|
8-9
|
2380,39
|
25
|
85,1
|
7,61
|
20
|
5,80
|
0,069
|
4,5
|
44,13
|
10,5
|
54,6
|
|
|
9-9'СТ-1
|
2380,39
|
25
|
85,1
|
18,35
|
15
|
44,61
|
0,156
|
22,6
|
818,63
|
267,8
|
11023,4
|
|
|
9'-8'
|
2380,39
|
25
|
85,1
|
5,162
|
20
|
5,80
|
0,069
|
2,5
|
29,93
|
5,8
|
35,8
|
|
|
8'-7'
|
13128,9
|
25
|
255,3
|
6,798
|
25
|
10,26
|
0,118
|
2
|
69,72
|
13,4
|
83,1
|
|
|
7'-6'
|
13128,9
|
25
|
469,4
|
6,07
|
25
|
31,93
|
0,216
|
2
|
193,81
|
45,2
|
239,0
|
|
|
6'-5'
|
19377,5
|
25
|
692,9
|
5,98
|
32
|
27,31
|
0,215
|
1
|
163,30
|
22,5
|
185,8
|
|
|
5'-4'
|
23533,78
|
25
|
842,2
|
2,213
|
32
|
35,85
|
0,262
|
1
|
79,35
|
33,4
|
112,7
|
|
|
4'-3'
|
27253,47
|
25
|
974,5
|
3,547
|
40
|
18,19
|
0,209
|
2
|
64,52
|
42,4
|
106,9
|
|
|
3'-2'
|
30463,92
|
25
|
1112,3
|
2,59
|
40
|
23,39
|
0,238
|
3
|
60,57
|
82,4
|
142,9
|
|
|
2'-1'
|
58729,41
|
25
|
2123,0
|
8,953
|
50
|
23,77
|
0,283
|
4
|
212,82
|
154,8
|
367,7
|
|
|
1'-0'
|
124895,38
|
25
|
4577,2
|
21,45
|
80
|
8,97
|
0,234
|
4,5
|
192,32547
|
119,0
|
311,3
|
|
|
|
|
∑l=143,86
|
|
|
|
|
|
|
|
|
|
Ветка №2
|
|
|
0-1
|
124895,38
|
25
|
4577,22
|
21,2
|
80
|
8,97
|
0,234
|
3
|
190,08
|
79,35
|
269,43
|
14259,88
|
|
1-2
|
58729,41
|
25
|
2123,00
|
8,678
|
50
|
23,77
|
0,283
|
5
|
206,28
|
193,54
|
399,83
|
|
|
2-10
|
28265,49
|
25
|
1010,66
|
2,34
|
40
|
19,47
|
0,216
|
4,5
|
45,56
|
102,15
|
147,71
|
|
|
10-11
|
23622,6
|
25
|
844,65
|
2,01
|
32
|
36,05
|
0,263
|
1,5
|
72,46
|
50,40
|
122,86
|
|
|
11-12
|
19446,13
|
25
|
695,32
|
5,75
|
32
|
27,83
|
0,216
|
1
|
160,00
|
22,64
|
182,64
|
|
|
12-13
|
13197,57
|
25
|
471,89
|
6,8
|
25
|
32,24
|
0,217
|
1,5
|
219,21
|
34,20
|
253,41
|
|
|
13-14
|
7209,78
|
25
|
257,79
|
4,54
|
25
|
10,45
|
0,119
|
1
|
47,42
|
6,83
|
54,25
|
|
|
14-15
|
2403,26
|
25
|
85,93
|
7,61
|
20
|
5,90
|
0,158
|
3
|
44,87
|
36,21
|
81,08
|
|
|
15-15' СТ-13
|
2403,26
|
25
|
85,93
|
18,35
|
15
|
45,42
|
0,158
|
22,6
|
833,49
|
272,80
|
11235,40
|
|
|
15'-14'
|
2403,26
|
25
|
85,93
|
5,162
|
20
|
5,90
|
0,158
|
2,5
|
30,44
|
30,18
|
60,61
|
|
|
14'-13'
|
7209,78
|
25
|
257,79
|
6,385
|
25
|
10,45
|
0,119
|
2
|
66,69
|
13,66
|
80,35
|
|
|
13'-12'
|
13197,57
|
25
|
471,89
|
6,07
|
25
|
32,24
|
0,217
|
2
|
195,67
|
45,60
|
241,28
|
|
|
12'-11'
|
19446,13
|
25
|
695,32
|
5,98
|
32
|
27,83
|
0,216
|
1
|
166,40
|
22,64
|
189,04
|
|
|
11'-10'
|
23622,6
|
25
|
844,65
|
2,01
|
32
|
36,05
|
0,263
|
2
|
72,46
|
67,20
|
139,66
|
|
|
10'-2'
|
28265,49
|
25
|
1010,66
|
2,836
|
40
|
19,47
|
0,216
|
3
|
55,21
|
68,10
|
123,31
|
|
|
2'-1'
|
58729,41
|
25
|
2123,00
|
8,953
|
50
|
23,77
|
0,283
|
4
|
212,82
|
154,84
|
367,66
|
|
|
1'-0'
|
25
|
4577,22
|
21,45
|
80
|
8,966
|
0,234
|
4,5
|
192,32547
|
119,02244
|
311,34791
|
|
|
|
|
∑l=136,124
|
|
|
|
|
|
|
|
|
|
Ветка №3
|
|
|
0-1
|
124895,38
|
25
|
4577,22
|
21,2
|
80
|
8,97
|
0,234
|
3
|
190,08
|
79,35
|
269,43
|
13298,37
|
|
1-16
|
66165,97
|
25
|
2454,23
|
0,95
|
50
|
29,58
|
0,317
|
3,5
|
28,10
|
170,22
|
198,32
|
|
|
16-17
|
29800,35
|
25
|
1153,94
|
11,173
|
50
|
7,51
|
0,153
|
6
|
83,93
|
68,24
|
152,17
|
|
|
17-18
|
21306,58
|
25
|
850,23
|
7,3
|
40
|
14,07
|
0,182
|
1,5
|
102,71
|
24,21
|
126,92
|
|
|
18-19
|
15166,46
|
25
|
630,69
|
2,777
|
40
|
7,98
|
0,135
|
1
|
22,17
|
8,85
|
31,03
|
|
|
19-20
|
12650,39
|
25
|
484,13
|
6,32
|
32
|
12,67
|
0,151
|
1,5
|
80,09
|
16,52
|
96,62
|
|
|
20-21
|
11024,89
|
25
|
394,21
|
3,8
|
25
|
23,02
|
0,181
|
4
|
87,49
|
63,62
|
151,11
|
|
|
21-22
|
5994,79
|
25
|
214,35
|
4,924
|
25
|
7,46
|
0,395
|
3
|
36,73
|
226,88
|
263,61
|
|
|
22-22' СТ-14
|
5994,79
|
25
|
214,35
|
16,25
|
15
|
256,33
|
0,395
|
25,5
|
4165,42
|
1928,50
|
10688,49
|
|
|
22'-21'
|
5994,79
|
25
|
214,35
|
4,477
|
25
|
7,46
|
0,395
|
2,5
|
33,40
|
189,07
|
222,46
|
|
|
21'-20'
|
11024,89
|
25
|
394,21
|
4,877
|
25
|
23,02
|
0,181
|
6,5
|
112,28
|
103,39
|
215,67
|
|
|
20'-19'
|
12650,39
|
25
|
484,13
|
6,072
|
32
|
12,67
|
0,151
|
2
|
76,95
|
22,03
|
98,98
|
|
|
19'-18'
|
15166,46
|
25
|
630,69
|
2,1
|
40
|
7,98
|
0,135
|
1
|
16,77
|
8,85
|
25,62
|
|
|
18'-17'
|
21306,58
|
25
|
850,23
|
6,25
|
40
|
14,07
|
0,182
|
2
|
87,94
|
32,28
|
120,21
|
|
|
17'-16'
|
29800,35
|
25
|
1153,94
|
13,454
|
50
|
7,51
|
0,153
|
6
|
101,06
|
68,24
|
169,30
|
|
|
16'-1'
|
66165,97
|
25
|
2454,23
|
1,2
|
50
|
29,58
|
0,317
|
2,5
|
35,49
|
121,58
|
157,08
|
|
|
1'-0'
|
127367,69
|
25
|
4577,22
|
21,45
|
80
|
8,97
|
0,234
|
4,5
|
192,32547
|
119,02244
|
311,34791
|
|
|
|
|
∑l=134,574
|
|
|
|
|
|
|
|
|
|
|
|
|
|
|
|
|
|
|
|
|
|
|
Таблица П2.2 - Ведомость коэффициентов местных сопротивлений
|
№ участка
|
dу, мм
|
Название местного
сопротивления
|
Кол-во на участке, шт
|
Значение к.м.с
|
Сумма к.м.с. на участке
|
|
|
Ветка №1
|
|
|
0-1
|
80
|
Отвод на 90°
|
4
|
2
|
3
|
|
|
|
Шаровый кран
|
1
|
1
|
|
|
|
|
Балансировочный клапан
|
1
|
0
|
|
|
|
1-2
|
50
|
Балансировочный клапан
|
1
|
0
|
5
|
|
|
|
Шаровый кран
|
1
|
1
|
|
|
|
|
Внезапное сужение
|
1
|
0,5
|
|
|
|
|
Отвод на 90°
|
1
|
0,5
|
|
|
|
|
Тройник на разделение
|
1
|
3
|
|
|
|
2-3
|
40
|
Балансировочный кран
|
1
|
0
|
4,5
|
|
|
|
Шаровый кран
|
1
|
1
|
|
|
|
|
Внезапное сужение
|
1
|
0,5
|
|
|
|
|
Тройник на разделение
|
1
|
3
|
|
|
|
3-4
|
40
|
Тройник на проход
|
1
|
1
|
1,5
|
|
|
|
Внезапное сужение
|
1
|
0,5
|
|
|
|
4-5
|
32
|
Тройник на проход
|
1
|
1
|
1
|
|
|
5-6
|
32
|
Тройник на проход
|
1
|
1
|
1
|
|
|
6-7
|
25
|
Тройник на проход
|
1
|
1
|
1,5
|
|
|
|
Внезапное сужение
|
1
|
0,5
|
|
|
|
7-8
|
25
|
Тройник на проход
|
1
|
1,5
|
1,5
|
|
|
8-9
|
20
|
Тройник на проход
|
1
|
1
|
4,5
|
|
|
|
Внезапное сужение
|
1
|
0,5
|
|
|
|
|
Отвод на 90°
|
2
|
3
|
|
|
|
9-9'
|
15
|
Отвод на 90°
|
1
|
1,5
|
22,6
|
|
|
|
Балансировочный клапан
|
1
|
0
|
|
|
|
|
Отвод на 90°
|
5
|
7,5
|
|
|
|
|
Тройник с пробкой
|
3
|
3,6
|
|
|
|
|
Радиатор чугунный
|
3
|
6
|
|
|
|
|
Шаровый кран
|
1
|
1
|
|
|
|
|
Тройник на проход
|
3
|
3
|
|
|
|
9'-8'
|
20
|
Внезапное расширение
|
1
|
1
|
2,5
|
|
|
|
Отвод на 90°
|
1,5
|
|
|
|
8'-7'
|
25
|
Отвод на 90°
|
1
|
1
|
2
|
|
|
|
Тройник на проход
|
1
|
1
|
|
|
|
7'-6'
|
25
|
Тройник на проход
|
1
|
1
|
2
|
|
|
|
Внезапное расширение
|
1
|
1
|
|
|
|
6'-5'
|
32
|
Тройник на проход
|
1
|
1
|
1
|
|
|
5'-4'
|
32
|
Тройник на проход
|
1
|
1
|
1
|
|
|
4'-3'
|
40
|
Внезапное расширение
|
1
|
1
|
2
|
|
|
|
Тройник на проход
|
1
|
1
|
|
|
|
3'-2'
|
40
|
Шаровый кран
|
1
|
1
|
3
|
|
|
|
Тройник на проход
|
1
|
1
|
|
|
|
|
Внезапное расширение
|
1
|
1
|
|
|
|
2'-1'
|
50
|
Внезапное расширение
|
1
|
1
|
4
|
|
|
|
Шаровый кран
|
1
|
1
|
|
|
|
|
Отвод на 90°
|
1
|
0,5
|
|
|
|
|
Тройник на слияние
|
1
|
1,5
|
|
|
|
1'-0'
|
80
|
Отвод на 90°
|
4
|
2
|
4,5
|
|
|
|
Шаровый кран
|
1
|
1
|
|
|
|
|
Тройник на слияние
|
1
|
1,5
|
|
|
|
Ветка №2
|
|
|
0-1
|
80
|
Отвод на 90°
|
4
|
2
|
3
|
|
|
|
Шаровый кран
|
1
|
1
|
|
|
|
|
Балансировочный клапан
|
1
|
0
|
|
|
|
1-2
|
50
|
Балансировочный клапан
|
1
|
0
|
5
|
|
|
|
Шаровый кран
|
1
|
1
|
|
|
|
|
Внезапное сужение
|
1
|
0,5
|
|
|
|
|
Отвод на 90°
|
1
|
0,5
|
|
|
|
|
Тройник на разделение
|
1
|
3
|
|
|
|
2-10
|
40
|
Балансировочный клапан
|
1
|
0
|
4,5
|
|
|
|
Шаровый кран
|
1
|
1
|
|
|
|
|
Внезапное сужение
|
1
|
0,5
|
|
|
|
|
Тройник на разделение
|
1
|
3
|
|
|
|
10-11
|
32
|
Тройник на проход
|
1
|
1
|
1,5
|
|
|
|
Внезапное сужение
|
1
|
0,5
|
|
|
|
11-12
|
32
|
Тройник на проход
|
1
|
1
|
1
|
|
|
12-13
|
25
|
Внезапное сужение
|
1
|
0,5
|
1,5
|
|
|
|
Тройник на проход
|
1
|
1
|
|
|
|
13-14
|
25
|
Тройник на проход
|
1
|
1
|
1
|
|
|
14-15
|
20
|
Тройник на проход
|
1
|
1
|
3
|
|
|
|
Внезапное сужение
|
1
|
0,5
|
|
|
|
|
Отвод на 90°
|
1
|
1,5
|
|
|
|
15-15'
|
15
|
Отвод на 90°
|
1
|
1,5
|
22,6
|
|
|
|
Балансировочный клапан
|
1
|
0
|
|
|
|
|
Отвод на 90°
|
5
|
7,5
|
|
|
|
|
Тройник с пробкой
|
3
|
3,6
|
|
|
|
|
Радиатор чугунный
|
3
|
6
|
|
|
|
|
Шаровый кран
|
1
|
1
|
|
|
|
|
Тройник на проход
|
3
|
3
|
|
|
|
15'-14'
|
20
|
Внезапное расширение
|
1
|
1
|
2,5
|
|
|
|
Отвод на 90°
|
1
|
1,5
|
|
|
|
14'-13'
|
25
|
Отвод на 90°
|
1
|
1
|
2
|
|
|
|
Тройник на проход
|
1
|
1
|
|
|
|
13'-12'
|
25
|
Тройник на проход
|
1
|
1
|
2
|
|
|
|
Внезапное расширение
|
1
|
1
|
|
|
|
12'-11'
|
32
|
Тройник на проход
|
1
|
1
|
1
|
|
|
11'-10'
|
32
|
Внезапное расширение
|
1
|
1
|
2
|
|
|
|
Тройник на проход
|
1
|
1
|
|
|
|
10'-2'
|
40
|
Шаровый кран
|
1
|
1
|
3
|
|
|
|
Тройник на проход
|
1
|
1
|
|
|
|
|
Внезапное расширение
|
1
|
1
|
|
|
|
2'-1'
|
50
|
Внезапное расширение
|
1
|
1
|
4
|
|
|
|
Шаровый кран
|
1
|
1
|
|
|
|
|
Отвод на 90°
|
1
|
0,5
|
|
|
|
|
Тройник на слияние
|
1
|
1,5
|
|
|
|
1'-0'
|
80
|
Отвод на 90°
|
4
|
2
|
4,5
|
|
|
|
Шаровый кран
|
1
|
1
|
|
|
|
|
Тройник на слияние
|
1
|
1,5
|
|
|
|
Ветка №3
|
|
|
0-1
|
80
|
Отвод на 90°
|
4
|
2
|
3
|
|
|
|
Шаровый кран
|
1
|
1
|
|
|
|
|
Балансировочный клапан
|
1
|
0
|
|
|
|
1-16
|
50
|
Тройник на разделение
|
1
|
3
|
3,5
|
|
|
|
Внезапное сужение
|
1
|
0,5
|
|
|
|
16-17
|
50
|
Тройник на ответвление
|
1
|
1,5
|
6
|
|
|
|
Шаровый кран
|
1
|
1
|
|
|
|
|
Отвод на 90°
|
3
|
3
|
|
|
|
|
Внезапное сужение
|
1
|
0,5
|
|
|
|
17-18
|
40
|
Тройник на проход
|
1
|
1
|
1,5
|
|
|
|
Внезапное сужение
|
1
|
0,5
|
|
|
|
18-19
|
40
|
Тройник на проход
|
1
|
1
|
1
|
|
|
19-20
|
32
|
Тройник на проход
|
1
|
1
|
1,5
|
|
|
|
Внезапное сужение
|
1
|
0,5
|
|
|
|
20-21
|
25
|
Тройник на проход
|
1
|
1
|
4
|
|
|
|
Отвод на 90°
|
2
|
3
|
|
|
|
21-22
|
25
|
Тройник на проход
|
1
|
1
|
3
|
|
|
|
Внезапное сужение
|
1
|
|
|
|
|
Отвод на 90°
|
1
|
1,5
|
|
|
|
|
Балансировочный клапан
|
1
|
0
|
|
|
|
22-22'
|
15
|
Отвод на 90°
|
1
|
1,5
|
25,5
|
|
|
|
Отвод на 90°
|
7
|
10,5
|
|
|
|
|
Тройник с пробкой
|
3
|
4,5
|
|
|
|
|
Радиатор
|
3
|
6
|
|
|
|
|
Тройник на проход
|
3
|
3
|
|
|
|
22'-21'
|
25
|
Шаровый кран
|
1
|
1
|
2,5
|
|
|
|
Отвод на 90°
|
1
|
1,5
|
|
|
|
21'-20'
|
25
|
Тройник на проход
|
1
|
1
|
6,5
|
|
|
|
Внезапное расширение
|
1
|
1
|
|
|
|
|
Отвод на 90°
|
3
|
4,5
|
|
|
|
20'-19'
|
32
|
Тройник на проход
|
1
|
1
|
2
|
|
|
|
Внезапное расширение
|
1
|
1
|
|
|
|
19'-18'
|
40
|
Внезапное расширение
|
1
|
1
|
1
|
|
|
18'-17'
|
40
|
Тройник на проход
|
1
|
1
|
2
|
|
|
Внезапное расширение
|
1
|
1
|
|
|
17'-16'
|
50
|
Тройник на проход
|
1
|
1
|
6
|
|
|
Отвод на 90°
|
3
|
3
|
|
|
|
Балансировочный клапан
|
1
|
0
|
|
|
|
Шаровый кран
|
1
|
1
|
|
|
|
Внезапное расширение
|
1
|
1
|
|
|
16'-1'
|
50
|
Тройник на слияние
|
1
|
1,5
|
2,5
|
|
|
Внезапное расширение
|
1
|
1
|
|
|
1'-0'
|
80
|
Отвод на 90°
|
4
|
2
|
4,5
|
|
|
Шаровый кран
|
1
|
1
|
|
|
|
Тройник на слияние
|
1
|
1,5
|
|
|
|
|
|
|
|
|
|
|
Приложение 3
Таблица П3.1 - Расчёт отопительных приборов
|
№ прибора
|
Температура воды на входе в
прибор tвх
|
Расчетная нагрузка
этаже-узла Qэу
|
Температура воды на выходе
из прибора tвых
|
tвх - tвых
|
Средне-арифметическая
температура tср
|
Средний температурный напор
Δt
|
Расход воды через прибор G
|
n
|
p
|
b
|
c
|
ψ
|
φ∆t
|
φGпр
|
Номинальная плотность
теплового потока qном
|
удельный тепловой поток
прибора qпр
|
βтр
|
длины открытых участков
вертикальных труб lв
|
длины открытых участков
горизонтальных труб lг
|
Линейная плотность
теплового потока вертикальных трубопроводов qв
|
Линейная плотность теплового
потока горизонтальных трубопроводов qг
|
Теплоотдача теплопроводов Qтр
|
Расчетная тепловая нагрузка
прибора Qпр
|
Требуемая поверхность
нагревательного прибора Fр
|
β3
|
Расчетное число секций Nр
|
Количество секций
|
|
|
-
|
oС
|
Вт
|
oС
|
oС
|
oС
|
oС
|
кг/ч
|
-
|
-
|
-
|
-
|
-
|
|
-
|
Вт/м
|
Вт/м
|
-
|
м
|
м
|
Вт/м
|
Вт/м
|
Вт
|
Вт
|
м2
|
-
|
-
|
-
|
|
|
Ст-1
|
|
|
3
|
95
|
833,4
|
86,2
|
8,8
|
90,6
|
70,6
|
85,1
|
0,3
|
0
|
1
|
1
|
0,95
|
1,01
|
1,00
|
758,0
|
726,5
|
0,9
|
5,6
|
0,6
|
65
|
84
|
414,4
|
460,5
|
0,634
|
1,17
|
2,22
|
3
|
|
2
|
86,2
|
734,7
|
78,5
|
7,7
|
82,4
|
62,4
|
|
0,3
|
0
|
1
|
1
|
0,95
|
0,86
|
1,00
|
758,0
|
622,4
|
|
5,6
|
0,6
|
55
|
73
|
351,8
|
418,0
|
0,672
|
1,16
|
2,38
|
3
|
|
1
|
78,5
|
812,3
|
70
|
8,5
|
74,3
|
54,3
|
|
0,3
|
0
|
1
|
1
|
0,95
|
0,72
|
1,00
|
758,0
|
516,5
|
|
1,1
|
0,85
|
46
|
61
|
102,5
|
720,1
|
1,394
|
1,03
|
5,52
|
6
|
|
Ст-2
|
|
|
1
|
95
|
812,3
|
90,7
|
4,3
|
92,9
|
72,9
|
170,2
|
0,25
|
0,04
|
1
|
0,97
|
0,97
|
1,05
|
0,97
|
651,9
|
628,7
|
0,9
|
2,8
|
0,6
|
65
|
84
|
232,4
|
603,1
|
0,959
|
1,09
|
3,62
|
4
|
|
2
|
90,7
|
734,7
|
86,9
|
3,9
|
88,8
|
68,8
|
|
0,25
|
0,04
|
1
|
0,97
|
0,98
|
0,98
|
0,97
|
651,9
|
586,7
|
|
2,8
|
0,6
|
59
|
77
|
211,4
|
544,4
|
0,928
|
1,09
|
3,48
|
4
|
|
3
|
86,9
|
833,4
|
82,5
|
4,4
|
84,7
|
64,7
|
|
0,25
|
0,04
|
1
|
0,97
|
0,97
|
0,91
|
0,97
|
651,9
|
541,4
|
|
0,55
|
2,65
|
55
|
73
|
224,1
|
631,8
|
1,167
|
1,06
|
4,52
|
5
|
|
4
|
82,5
|
833,4
|
78,1
|
4,4
|
80,3
|
60,3
|
|
0,3
|
0
|
1
|
1
|
0,97
|
0,82
|
1,00
|
758,0
|
608,1
|
|
0,55
|
0,6
|
53
|
67
|
69,4
|
771,0
|
1,268
|
4,97
|
5
|
|
5
|
78,1
|
734,7
|
74,3
|
3,9
|
76,2
|
56,2
|
|
0,3
|
0
|
1
|
1
|
0,98
|
0,75
|
1,00
|
758,0
|
556,5
|
|
2,8
|
0,6
|
45
|
60
|
162,0
|
588,9
|
1,058
|
1,07
|
4,05
|
4
|
|
6
|
74,3
|
812,3
|
70,0
|
4,3
|
72,1
|
52,1
|
|
0,3
|
0
|
1
|
1
|
0,97
|
0,68
|
1,00
|
758,0
|
503,5
|
|
2,8
|
0,6
|
41
|
56
|
148,4
|
678,7
|
1,348
|
1,04
|
5,32
|
6
|
|
Ст-3
|
|
|
1
|
95
|
2029,2
|
86,5
|
8,5
|
90,8
|
70,8
|
214,1
|
0,25
|
0,04
|
1
|
0,97
|
0,95
|
1,01
|
0,98
|
651,9
|
595,9
|
0,9
|
5,6
|
0,6
|
65
|
84
|
414,4
|
1656,3
|
2,780
|
0,98
|
11,65
|
12
|
|
3
|
86,5
|
2137,1
|
77,6
|
8,9
|
82,1
|
62,1
|
|
0,3
|
0
|
1
|
1
|
0,95
|
0,86
|
1,00
|
758,0
|
613,6
|
|
5,6
|
0,6
|
55
|
73
|
351,8
|
1820,5
|
2,967
|
0,97
|
12,49
|
13
|
|
2
|
77,6
|
1821,5
|
70
|
7,6
|
73,8
|
53,8
|
|
0,3
|
0
|
1
|
1
|
0,95
|
0,71
|
1,00
|
758,0
|
513,8
|
|
1,1
|
0,85
|
46
|
61
|
102,5
|
1729,3
|
3,366
|
0,97
|
14,26
|
15
|
|
Ст-4
|
|
|
1
|
95
|
1058,6
|
90,8
|
4,2
|
92,9
|
72,9
|
223,4
|
0,25
|
0,04
|
1
|
0,97
|
0,97
|
1,05
|
0,98
|
651,9
|
635,9
|
0,9
|
2,8
|
0,6
|
65
|
84
|
232,4
|
849,4
|
1,336
|
1,04
|
5,27
|
6
|
|
2
|
90,8
|
951,6
|
87,0
|
3,8
|
88,9
|
68,9
|
|
0,25
|
0,04
|
1
|
0,97
|
0,98
|
0,98
|
0,98
|
651,9
|
593,9
|
|
2,8
|
0,6
|
59
|
77
|
211,4
|
761,3
|
1,282
|
1,04
|
5,03
|
5
|
|
3
|
87,0
|
1114,2
|
82,5
|
4,5
|
84,7
|
64,7
|
|
0,25
|
0,04
|
1
|
0,97
|
0,97
|
0,91
|
0,98
|
651,9
|
547,5
|
|
0,55
|
1,04
|
55
|
73
|
106,2
|
1018,6
|
1,860
|
1,01
|
7,58
|
8
|
|
4
|
82,5
|
1114,2
|
78,0
|
4,5
|
80,3
|
60,3
|
|
0,3
|
0
|
1
|
1
|
0,97
|
0,82
|
1,00
|
758,0
|
607,3
|
|
0,55
|
1,04
|
53
|
67
|
98,8
|
1025,2
|
1,688
|
1,01
|
6,82
|
7
|
|
5
|
78,0
|
951,6
|
74,2
|
3,8
|
76,1
|
56,1
|
|
0,3
|
0
|
1
|
1
|
0,98
|
0,75
|
1,00
|
758,0
|
556,0
|
|
2,8
|
0,6
|
45
|
60
|
162,0
|
805,8
|
1,449
|
1,03
|
5,76
|
6
|
|
6
|
74,2
|
1058,6
|
70,0
|
4,2
|
72,1
|
52,1
|
|
0,3
|
0
|
1
|
1
|
0,97
|
0,68
|
1,00
|
758,0
|
503,4
|
|
2,8
|
0,6
|
41
|
56
|
148,4
|
925,0
|
1,837
|
1,01
|
7,48
|
8
|
|
Ст-5
|
|
|
1
|
95
|
1416,3
|
86,5
|
8,5
|
90,8
|
70,8
|
149,3
|
0,25
|
0,04
|
1
|
0,97
|
0,95
|
1,01
|
0,97
|
651,9
|
587,3
|
0,9
|
5,6
|
0,6
|
65
|
84
|
414,4
|
1043,3
|
1,776
|
1,01
|
7,21
|
8
|
|
3
|
86,5
|
1495,1
|
77,6
|
9,0
|
82,0
|
62,0
|
|
0,3
|
0
|
1
|
1
|
0,95
|
0,85
|
1,00
|
758,0
|
613,2
|
|
5,6
|
0,6
|
55
|
73
|
351,8
|
1178,5
|
1,922
|
1,00
|
7,85
|
8
|
|
2
|
1264,9
|
70
|
7,6
|
73,8
|
53,8
|
|
0,3
|
0
|
1
|
1
|
0,95
|
0,71
|
1,00
|
758,0
|
513,7
|
|
1,1
|
0,85
|
46
|
61
|
102,5
|
1172,7
|
2,283
|
0,99
|
9,45
|
10
|
|
Ст-6
|
|
|
1
|
95
|
1254,3
|
86,5
|
8,5
|
90,8
|
70,8
|
132,3
|
0,25
|
0,04
|
1
|
0,97
|
0,95
|
1,01
|
0,961
|
651,9
|
584,5
|
0,9
|
5,6
|
0,6
|
65
|
84
|
414,4
|
881,3
|
1,508
|
1,03
|
6,02
|
6
|
|
3
|
86,5
|
1322,4
|
77,6
|
8,9
|
82,1
|
62,1
|
|
0,3
|
0
|
1
|
1
|
0,95
|
0,86
|
1,000
|
758,0
|
613,4
|
|
5,6
|
0,6
|
55
|
73
|
351,8
|
1005,8
|
1,640
|
1,02
|
6,60
|
7
|
|
2
|
77,6
|
1123,0
|
70
|
7,6
|
73,8
|
53,8
|
|
0,3
|
0
|
1
|
1
|
0,95
|
0,71
|
1,000
|
758,0
|
513,8
|
|
1,1
|
0,85
|
46
|
61
|
102,5
|
1030,8
|
2,006
|
1,00
|
8,23
|
9
|
|
Ст-7
|
|
|
1
|
95
|
1085,7
|
88,0
|
7,0
|
91,5
|
71,5
|
137,9
|
0,25
|
0,04
|
1
|
0,97
|
0,96
|
1,03
|
0,962
|
651,9
|
598,3
|
0,9
|
5,6
|
0,6
|
65
|
84
|
414,4
|
712,7
|
1,191
|
1,05
|
4,63
|
5
|
|
3
|
88,0
|
1138,3
|
80,6
|
7,4
|
84,3
|
64,3
|
|
0,3
|
0
|
1
|
1
|
0,96
|
0,89
|
1,000
|
758,0
|
648,3
|
|
5,6
|
0,6
|
55
|
73
|
351,8
|
821,7
|
1,267
|
1,05
|
4,96
|
5
|
|
2
|
80,6
|
986,5
|
74,1
|
6,4
|
77,4
|
57,4
|
|
0,3
|
0
|
1
|
1
|
0,96
|
0,77
|
1,000
|
758,0
|
562,9
|
|
1,1
|
0,85
|
46
|
61
|
102,5
|
894,3
|
1,589
|
1,02
|
6,38
|
7
|
|
Cт-8
|
|
|
1
|
95
|
787,2
|
90,8
|
4,2
|
92,9
|
72,9
|
166,0
|
0,25
|
0,04
|
1
|
0,97
|
0,97
|
1,05
|
0,970
|
651,9
|
628,3
|
0,9
|
5,6
|
0,6
|
65
|
84
|
414,4
|
414,2
|
0,659
|
1,16
|
2,32
|
3
|
|
2
|
90,8
|
1403,9
|
83,2
|
7,6
|
87,0
|
67,0
|
|
0,25
|
0,04
|
1
|
0,97
|
0,95
|
0,95
|
0,970
|
651,9
|
553,9
|
|
5,6
|
0,6
|
59
|
77
|
376,6
|
1064,9
|
1,923
|
1,00
|
7,85
|
8
|
|
3
|
83,2
|
1664,7
|
74,2
|
9,0
|
78,7
|
58,7
|
|
0,25
|
0,04
|
1
|
0,97
|
0,95
|
0,80
|
0,970
|
651,9
|
465,7
|
|
1,1
|
0,85
|
55
|
73
|
122,6
|
1554,4
|
3,338
|
0,97
|
14,13
|
15
|
|
4
|
74,2
|
787,2
|
70,0
|
4,2
|
72,1
|
52,1
|
|
0,3
|
0
|
1
|
1
|
0,97
|
0,68
|
1,000
|
758,0
|
503,4
|
|
2,8
|
0,6
|
46
|
61
|
165,4
|
638,3
|
1,268
|
1,05
|
4,97
|
5
|
|
Ст-9
|
|
|
1
|
95
|
1416,5
|
86,5
|
8,5
|
90,8
|
70,8
|
149,3
|
0,25
|
0,04
|
1
|
0,97
|
0,95
|
1,01
|
0,965
|
651,9
|
587,3
|
0,9
|
5,6
|
0,6
|
65
|
84
|
414,4
|
1043,5
|
1,777
|
1,01
|
7,21
|
8
|
|
3
|
86,5
|
1495,1
|
77,6
|
8,9
|
82,0
|
62,0
|
|
0,3
|
0
|
1
|
1
|
0,95
|
0,85
|
1,000
|
758,0
|
613,2
|
|
5,6
|
0,6
|
55
|
73
|
351,8
|
1178,5
|
1,922
|
1,00
|
7,85
|
8
|
|
2
|
77,6
|
70
|
7,6
|
73,8
|
53,8
|
|
0,3
|
0
|
1
|
1
|
0,95
|
0,71
|
1,000
|
758,0
|
513,7
|
|
1,1
|
0,85
|
46
|
61
|
102,5
|
1172,7
|
2,283
|
0,99
|
9,45
|
10
|
|
Ст-10
|
|
|
1
|
95
|
1058,6
|
90,8
|
4,2
|
92,9
|
72,9
|
223,4
|
0,25
|
0,04
|
1
|
0,97
|
0,97
|
1,05
|
0,981
|
651,9
|
635,9
|
0,9
|
2,8
|
0,6
|
65
|
84
|
232,4
|
849,4
|
1,336
|
1,04
|
5,27
|
6
|
|
2
|
90,8
|
951,6
|
87,0
|
3,8
|
88,9
|
68,9
|
|
0,25
|
0,04
|
1
|
0,97
|
0,98
|
0,98
|
0,981
|
651,9
|
593,9
|
|
2,8
|
0,6
|
59
|
77
|
211,4
|
761,3
|
1,282
|
1,04
|
5,03
|
5
|
|
3
|
87,0
|
1114,2
|
82,5
|
4,5
|
84,7
|
64,7
|
|
0,25
|
0,04
|
1
|
0,97
|
0,97
|
0,91
|
0,981
|
651,9
|
547,5
|
|
0,55
|
1,04
|
55
|
73
|
106,2
|
1018,6
|
1,860
|
1,01
|
7,58
|
8
|
|
4
|
82,5
|
1114,2
|
78,0
|
4,5
|
80,3
|
60,3
|
|
0,3
|
0
|
1
|
1
|
0,97
|
0,82
|
1,000
|
758,0
|
607,3
|
|
0,55
|
1,04
|
53
|
67
|
98,8
|
1025,2
|
1,688
|
1,01
|
6,82
|
7
|
|
5
|
78,0
|
951,6
|
74,2
|
3,8
|
76,1
|
56,1
|
|
0,3
|
0
|
1
|
1
|
0,98
|
0,75
|
1,000
|
758,0
|
556,0
|
|
2,8
|
0,6
|
45
|
60
|
162,0
|
805,8
|
1,449
|
1,03
|
5,76
|
6
|
|
6
|
74,2
|
1058,6
|
70,0
|
4,2
|
72,1
|
52,1
|
|
0,3
|
0
|
1
|
1
|
0,97
|
0,68
|
1,000
|
758,0
|
503,4
|
|
2,8
|
0,6
|
41
|
56
|
148,4
|
925,0
|
1,837
|
1,01
|
7,48
|
8
|
|
Ст-11
|
|
|
1
|
95
|
2029,2
|
86,5
|
8,5
|
90,8
|
70,8
|
214,1
|
0,25
|
0,04
|
1
|
0,97
|
0,95
|
1,01
|
0,979
|
651,9
|
595,9
|
0,9
|
5,6
|
0,6
|
65
|
84
|
414,4
|
1656,3
|
2,780
|
0,98
|
11,65
|
12
|
|
3
|
86,5
|
2137,1
|
77,6
|
8,9
|
82,1
|
62,1
|
|
0,3
|
0
|
1
|
1
|
0,95
|
0,86
|
1,000
|
758,0
|
613,6
|
|
5,6
|
0,6
|
55
|
73
|
351,8
|
1820,5
|
2,967
|
0,97
|
12,49
|
13
|
|
2
|
77,6
|
1821,5
|
70
|
7,6
|
73,8
|
53,8
|
|
0,3
|
0
|
1
|
1
|
0,95
|
0,71
|
1,000
|
758,0
|
513,8
|
|
1,1
|
0,85
|
46
|
61
|
102,5
|
1729,3
|
3,366
|
0,97
|
14,26
|
15
|
|
Ст-12
|
|
|
1
|
95
|
806,0
|
90,8
|
4,2
|
92,9
|
72,9
|
171,9
|
0,25
|
0,04
|
1
|
0,97
|
0,97
|
1,05
|
0,971
|
651,9
|
629,5
|
0,9
|
2,8
|
0,6
|
65
|
84
|
232,4
|
596,8
|
0,948
|
1,09
|
3,57
|
4
|
|
2
|
90,8
|
739,7
|
87,0
|
3,8
|
88,8
|
68,8
|
|
0,25
|
0,04
|
1
|
0,97
|
0,98
|
0,98
|
0,971
|
651,9
|
587,5
|
|
2,8
|
0,6
|
59
|
77
|
211,4
|
549,4
|
0,935
|
1,09
|
3,51
|
4
|
|
3
|
87,0
|
857,6
|
82,5
|
4,5
|
84,7
|
64,7
|
|
0,25
|
0,04
|
1
|
0,97
|
0,97
|
0,91
|
0,971
|
651,9
|
541,8
|
|
0,55
|
2,65
|
55
|
73
|
224,1
|
655,9
|
1,211
|
1,05
|
4,72
|
5
|
|
4
|
82,5
|
857,6
|
78,0
|
4,5
|
80,3
|
|
0,3
|
0
|
1
|
1
|
0,97
|
0,82
|
1,000
|
758,0
|
607,3
|
|
0,55
|
0,6
|
53
|
67
|
69,4
|
795,2
|
1,309
|
1,04
|
5,15
|
6
|
|
5
|
78,0
|
739,7
|
74,2
|
3,8
|
76,1
|
56,1
|
|
0,3
|
0
|
1
|
1
|
0,98
|
0,75
|
1,000
|
758,0
|
555,5
|
|
2,8
|
0,6
|
45
|
60
|
162,0
|
593,9
|
1,069
|
1,07
|
4,10
|
4
|
|
6
|
74,2
|
806,0
|
70,0
|
4,2
|
72,1
|
52,1
|
|
0,3
|
0
|
1
|
1
|
0,97
|
0,68
|
1,000
|
758,0
|
503,3
|
|
2,8
|
0,6
|
41
|
56
|
148,4
|
672,4
|
1,336
|
1,04
|
5,27
|
6
|
|
Ст-13
|
|
|
3
|
95
|
857,6
|
86,0
|
9,0
|
90,5
|
70,5
|
85,9
|
0,3
|
0
|
1
|
1
|
0,95
|
1,01
|
1,000
|
758,0
|
724,2
|
0,9
|
5,6
|
0,6
|
65
|
84
|
414,4
|
484,6
|
0,669
|
1,16
|
2,37
|
3
|
|
2
|
86,0
|
739,7
|
78,2
|
7,8
|
82,1
|
62,1
|
|
0,3
|
0
|
1
|
1
|
0,95
|
0,86
|
1,000
|
758,0
|
619,1
|
|
5,6
|
0,6
|
55
|
73
|
351,8
|
423,1
|
0,683
|
1,15
|
2,43
|
3
|
|
1
|
78,2
|
806,0
|
70
|
8,2
|
74,0
|
54,0
|
|
0,3
|
0
|
1
|
1
|
0,95
|
0,71
|
1,000
|
758,0
|
514,7
|
|
1,1
|
0,85
|
46
|
61
|
102,5
|
713,8
|
1,387
|
1,04
|
5,49
|
6
|
|
Ст-14
|
|
|
1
|
95
|
2034,5
|
86,5
|
8,5
|
90,8
|
70,8
|
214,3
|
0,25
|
0,04
|
1
|
0,97
|
0,95
|
1,01
|
0,979
|
651,9
|
595,8
|
0,9
|
5,6
|
0,6
|
65
|
84
|
414,4
|
1661,5
|
2,789
|
0,98
|
11,69
|
12
|
|
3
|
86,5
|
2146,3
|
77,6
|
9,0
|
82,0
|
62,0
|
|
0,3
|
0
|
1
|
1
|
0,95
|
0,85
|
1,000
|
758,0
|
613,1
|
|
5,6
|
0,6
|
55
|
73
|
351,8
|
1829,7
|
2,984
|
0,97
|
12,56
|
13
|
|
2
|
77,6
|
1814,0
|
70
|
7,6
|
73,8
|
53,8
|
|
0,3
|
0
|
1
|
1
|
0,95
|
0,71
|
1,000
|
758,0
|
513,7
|
|
1,1
|
0,85
|
46
|
61
|
102,5
|
1721,8
|
3,352
|
0,97
|
14,20
|
15
|
|
Cт-15
|
|
|
1
|
95
|
850,4
|
90,8
|
4,2
|
92,9
|
72,9
|
179,9
|
0,25
|
0,04
|
1
|
0,97
|
0,97
|
1,05
|
0,973
|
651,9
|
630,5
|
0,9
|
2,8
|
0,6
|
65
|
84
|
232,4
|
641,3
|
1,017
|
1,08
|
3,87
|
4
|
|
2
|
90,8
|
775,1
|
86,9
|
3,9
|
88,8
|
68,8
|
|
0,25
|
0,04
|
1
|
0,97
|
0,98
|
0,98
|
0,973
|
651,9
|
588,5
|
|
2,8
|
0,6
|
59
|
77
|
211,4
|
584,8
|
0,994
|
1,08
|
3,77
|
4
|
|
3
|
86,9
|
889,6
|
82,5
|
4,4
|
84,7
|
64,7
|
|
0,25
|
0,04
|
1
|
0,97
|
0,97
|
0,91
|
0,973
|
651,9
|
542,7
|
|
0,55
|
1,13
|
55
|
73
|
112,7
|
788,1
|
1,452
|
1,03
|
5,78
|
6
|
|
4
|
82,5
|
889,6
|
78,1
|
4,4
|
80,3
|
60,3
|
|
0,3
|
0
|
1
|
1
|
0,97
|
0,82
|
1,000
|
758,0
|
607,7
|
|
0,55
|
0,6
|
53
|
67
|
69,4
|
827,1
|
1,361
|
1,04
|
5,38
|
6
|
|
5
|
78,1
|
775,1
|
74,2
|
3,9
|
76,2
|
56,2
|
|
0,3
|
0
|
1
|
0,98
|
0,75
|
1,000
|
758,0
|
556,0
|
|
2,8
|
0,6
|
45
|
60
|
162,0
|
629,3
|
1,132
|
1,06
|
4,37
|
5
|
|
6
|
74,2
|
850,4
|
70,0
|
4,2
|
72,1
|
52,1
|
|
0,3
|
0
|
1
|
1
|
0,97
|
0,68
|
1,000
|
758,0
|
503,4
|
|
2,8
|
0,6
|
41
|
56
|
148,4
|
716,9
|
1,424
|
1,03
|
5,65
|
6
|
|
Ст-16
|
|
|
1
|
95
|
850,4
|
86,5
|
8,5
|
90,8
|
70,8
|
89,9
|
0,25
|
0,04
|
1
|
0,97
|
0,95
|
1,01
|
0,946
|
651,9
|
575,7
|
0,9
|
5,6
|
0,6
|
65
|
84
|
414,4
|
477,5
|
0,829
|
1,11
|
3,05
|
4
|
|
3
|
86,5
|
889,6
|
77,7
|
8,8
|
82,1
|
62,1
|
|
0,3
|
0
|
1
|
1
|
0,95
|
0,86
|
1,000
|
758,0
|
614,6
|
|
5,6
|
0,6
|
55
|
73
|
351,8
|
572,9
|
0,932
|
1,09
|
3,50
|
4
|
|
2
|
77,7
|
775,1
|
70
|
7,7
|
73,9
|
53,9
|
|
0,3
|
0
|
1
|
1
|
0,95
|
0,71
|
1,000
|
758,0
|
514,1
|
|
1,1
|
0,85
|
46
|
61
|
102,5
|
682,9
|
1,328
|
1,04
|
5,23
|
6
|
|
Ст-17
|
|
|
1
|
95
|
2049,4
|
82,5
|
12,5
|
88,8
|
68,8
|
146,6
|
0,3
|
0
|
1
|
1
|
0,93
|
0,98
|
1,000
|
758,0
|
684,9
|
0,9
|
1,5
|
0,65
|
65
|
84
|
152,5
|
1912,1
|
2,792
|
0,98
|
11,71
|
12
|
|
2
|
82,5
|
2049,4
|
70,0
|
12,5
|
76,3
|
56,3
|
|
0,3
|
0
|
1
|
1
|
0,93
|
0,75
|
1,000
|
758,0
|
527,6
|
|
1
|
0,3
|
53
|
67
|
73,1
|
1983,6
|
3,759
|
0,96
|
16,01
|
16
|
|
Ст-18
|
|
|
1
|
95
|
1040,5
|
90,8
|
4,2
|
92,9
|
72,9
|
219,5
|
0,25
|
0,04
|
1
|
0,97
|
0,97
|
1,05
|
0,980
|
651,9
|
635,4
|
0,9
|
2,8
|
0,6
|
65
|
84
|
232,4
|
831,3
|
1,308
|
1,04
|
5,14
|
6
|
|
2
|
90,8
|
933,5
|
87,0
|
3,8
|
88,9
|
68,9
|
|
0,25
|
0,04
|
1
|
0,97
|
0,98
|
0,98
|
0,980
|
651,9
|
593,5
|
|
2,8
|
0,6
|
59
|
77
|
211,4
|
743,2
|
1,252
|
1,05
|
4,90
|
5
|
|
3
|
87,0
|
1096,1
|
82,5
|
4,5
|
84,7
|
64,7
|
|
0,25
|
0,04
|
1
|
0,97
|
0,97
|
0,91
|
0,980
|
651,9
|
547,1
|
|
0,55
|
0,94
|
55
|
73
|
98,9
|
1007,1
|
1,841
|
1,01
|
7,49
|
8
|
|
4
|
82,5
|
1096,1
|
78,0
|
4,5
|
80,3
|
60,3
|
|
0,3
|
0
|
1
|
1
|
0,97
|
0,82
|
1,000
|
758,0
|
607,3
|
|
0,55
|
0,94
|
53
|
67
|
92,1
|
1013,1
|
1,668
|
1,02
|
6,73
|
7
|
|
5
|
78,0
|
933,5
|
74,2
|
3,8
|
76,1
|
56,1
|
|
0,3
|
0
|
1
|
1
|
0,98
|
0,75
|
1,000
|
758,0
|
556,0
|
|
2,8
|
0,6
|
45
|
60
|
162,0
|
787,7
|
1,417
|
1,03
|
5,62
|
6
|
|
6
|
74,2
|
1040,5
|
70,0
|
4,2
|
72,1
|
52,1
|
|
0,3
|
0
|
1
|
1
|
0,97
|
0,68
|
1,000
|
758,0
|
503,4
|
|
2,8
|
0,6
|
41
|
56
|
148,4
|
906,9
|
1,802
|
1,01
|
7,32
|
8
|
|
Ст-19
|
|
|
1
|
95
|
1439,6
|
90,8
|
4,2
|
92,9
|
72,9
|
303,7
|
0,25
|
0,04
|
1
|
0,97
|
0,97
|
0,993
|
651,9
|
643,7
|
0,9
|
2,8
|
0,6
|
65
|
84
|
232,4
|
1230,4
|
1,911
|
1,00
|
7,80
|
8
|
|
2
|
90,8
|
1290,0
|
87,0
|
3,8
|
88,9
|
68,9
|
|
0,25
|
0,04
|
1
|
0,97
|
0,98
|
0,98
|
0,993
|
651,9
|
601,3
|
|
2,8
|
0,6
|
59
|
77
|
211,4
|
1099,8
|
1,829
|
1,01
|
7,44
|
8
|
|
3
|
87,0
|
1517,2
|
82,5
|
4,5
|
84,7
|
64,7
|
|
0,25
|
0,04
|
1
|
0,97
|
0,97
|
0,91
|
0,993
|
651,9
|
554,3
|
|
0,55
|
1,52
|
55
|
73
|
141,2
|
1390,2
|
2,508
|
0,98
|
10,45
|
11
|
|
4
|
82,5
|
1517,2
|
78,0
|
4,5
|
80,3
|
60,3
|
|
0,3
|
0
|
1
|
1
|
0,97
|
0,82
|
1,000
|
758,0
|
607,2
|
|
0,55
|
0,85
|
53
|
67
|
86,1
|
1439,8
|
2,371
|
0,99
|
9,84
|
10
|
|
5
|
78,0
|
1290,0
|
74,2
|
3,8
|
76,1
|
56,1
|
|
0,3
|
0
|
1
|
1
|
0,98
|
0,75
|
1,000
|
758,0
|
556,0
|
|
2,8
|
0,6
|
45
|
60
|
162,0
|
1144,2
|
2,058
|
1,00
|
8,45
|
9
|
|
6
|
74,2
|
1439,6
|
70,0
|
4,2
|
72,1
|
52,1
|
|
0,3
|
0
|
1
|
1
|
0,97
|
0,68
|
1,000
|
758,0
|
503,4
|
|
2,8
|
0,6
|
41
|
56
|
148,4
|
1306,0
|
2,594
|
0,98
|
10,83
|
11
|
|
Ст-20
|
|
|
1
|
95
|
2049,4
|
82,5
|
12,5
|
88,8
|
68,8
|
146,6
|
0,3
|
0
|
1
|
1
|
0,93
|
0,98
|
1,000
|
758,0
|
684,9
|
0,9
|
1,5
|
0,65
|
65
|
84
|
152,5
|
1912,1
|
2,792
|
0,98
|
11,71
|
12
|
|
2
|
82,5
|
2049,4
|
70,0
|
12,5
|
76,3
|
56,3
|
|
0,3
|
0
|
1
|
1
|
0,93
|
0,75
|
1,000
|
758,0
|
527,6
|
|
1
|
0,3
|
53
|
67
|
73,1
|
1983,6
|
3,759
|
0,96
|
16,01
|
16
|
|
Ст-21
|
|
|
1
|
95
|
1439,6
|
90,8
|
4,2
|
92,9
|
72,9
|
303,7
|
0,25
|
0,04
|
1
|
0,97
|
0,97
|
1,05
|
0,993
|
651,9
|
643,7
|
0,9
|
2,8
|
0,6
|
65
|
84
|
232,4
|
1230,4
|
1,911
|
1,00
|
7,80
|
8
|
|
2
|
90,8
|
1290,0
|
87,0
|
3,8
|
88,9
|
68,9
|
|
0,25
|
0,04
|
1
|
0,97
|
0,98
|
0,98
|
0,993
|
651,9
|
601,3
|
|
2,8
|
0,6
|
59
|
77
|
211,4
|
1099,8
|
1,829
|
1,01
|
7,44
|
8
|
|
3
|
87,0
|
1517,2
|
82,5
|
4,5
|
84,7
|
64,7
|
|
0,25
|
0,04
|
1
|
0,97
|
0,97
|
0,91
|
0,993
|
651,9
|
554,3
|
|
0,55
|
0,94
|
55
|
73
|
98,9
|
1428,3
|
2,577
|
0,98
|
10,75
|
11
|
|
4
|
82,5
|
1517,2
|
78,0
|
4,5
|
80,3
|
60,3
|
|
0,3
|
0
|
1
|
1
|
0,97
|
0,82
|
1,000
|
758,0
|
607,2
|
|
0,55
|
0,94
|
53
|
67
|
92,1
|
1434,3
|
2,362
|
0,99
|
9,80
|
10
|
|
5
|
78,0
|
1290,0
|
74,2
|
3,8
|
76,1
|
56,1
|
|
0,3
|
0
|
1
|
1
|
0,98
|
0,75
|
1,000
|
758,0
|
556,0
|
|
2,8
|
0,6
|
45
|
60
|
162,0
|
1144,2
|
2,058
|
1,00
|
8,45
|
9
|
|
6
|
74,2
|
1439,6
|
70,0
|
4,2
|
72,1
|
52,1
|
|
0,3
|
0
|
1
|
1
|
0,97
|
0,68
|
1,000
|
758,0
|
503,4
|
|
2,8
|
0,6
|
56
|
148,4
|
1306,0
|
2,594
|
0,98
|
10,83
|
11
|
|
Ст-22
|
|
|
1
|
95
|
1040
|
90,8
|
4,2
|
92,9
|
72,9
|
219,5
|
0,25
|
0,04
|
1
|
0,97
|
0,97
|
1,05
|
0,980
|
651,9
|
635,4
|
0,9
|
2,8
|
0,6
|
65
|
84
|
232,4
|
831,3
|
1,308
|
1,04
|
5,14
|
6
|
|
2
|
90,8
|
933,5
|
87,0
|
3,8
|
88,9
|
68,9
|
|
0,25
|
0,04
|
1
|
0,97
|
0,98
|
0,98
|
0,980
|
651,9
|
593,5
|
|
2,8
|
0,6
|
59
|
77
|
211,4
|
743,2
|
1,252
|
1,05
|
4,90
|
5
|
|
3
|
87,0
|
1096
|
82,5
|
4,5
|
84,7
|
64,7
|
|
0,25
|
0,04
|
1
|
0,97
|
0,97
|
0,91
|
0,980
|
651,9
|
547,1
|
|
0,55
|
1,52
|
55
|
73
|
141,2
|
969,0
|
1,771
|
1,01
|
7,18
|
8
|
|
4
|
82,5
|
1096,1
|
78,0
|
4,5
|
80,3
|
60,3
|
|
0,3
|
0
|
1
|
1
|
0,97
|
0,82
|
1,000
|
758,0
|
607,3
|
|
0,55
|
0,85
|
53
|
67
|
86,1
|
1018,6
|
1,677
|
1,02
|
6,77
|
7
|
|
5
|
78,0
|
933,5
|
74,2
|
3,8
|
76,1
|
56,1
|
|
0,3
|
0
|
1
|
1
|
0,98
|
0,75
|
1,000
|
758,0
|
556,0
|
|
2,8
|
0,6
|
45
|
60
|
162,0
|
787,7
|
1,417
|
1,03
|
5,62
|
6
|
|
6
|
74,2
|
1040,5
|
70,0
|
4,2
|
72,1
|
52,1
|
|
0,3
|
0
|
1
|
1
|
0,97
|
0,68
|
1,000
|
758,0
|
503,4
|
|
2,8
|
0,6
|
41
|
56
|
148,4
|
906,9
|
1,802
|
1,01
|
7,32
|
8
|
|
Ст-23
|
|
|
1
|
95
|
2049,4
|
82,5
|
12,5
|
88,8
|
68,8
|
146,6
|
0,3
|
0
|
1
|
1
|
0,93
|
0,98
|
1,000
|
758,0
|
684,9
|
0,9
|
1,5
|
0,65
|
65
|
84
|
152,5
|
1912,1
|
2,792
|
0,98
|
11,71
|
12
|
|
2
|
82,5
|
2049,4
|
70,0
|
12,5
|
76,3
|
56,3
|
|
0,3
|
0
|
1
|
1
|
0,93
|
0,75
|
1,000
|
758,0
|
527,6
|
|
1
|
0,3
|
53
|
67
|
73,1
|
1983,6
|
3,759
|
0,96
|
16,01
|
16
|
|
Ст-24
|
|
|
1
|
95
|
846,5
|
86,5
|
8,5
|
90,8
|
70,8
|
89,5
|
0,25
|
0,04
|
1
|
0,97
|
0,95
|
1,01
|
0,946
|
651,9
|
575,6
|
0,9
|
5,6
|
0,6
|
65
|
84
|
414,4
|
473,5
|
0,823
|
1,11
|
3,03
|
3
|
|
3
|
86,5
|
885,6
|
77,7
|
8,8
|
82,1
|
62,1
|
|
0,3
|
0
|
1
|
1
|
0,95
|
0,86
|
1,000
|
758,0
|
614,6
|
|
5,6
|
0,6
|
55
|
73
|
351,8
|
569,0
|
0,926
|
1,09
|
3,47
|
4
|
|
2
|
77,7
|
771,1
|
70
|
7,7
|
73,9
|
53,9
|
|
0,3
|
0
|
1
|
1
|
0,95
|
0,71
|
1,000
|
758,0
|
514,1
|
|
1,1
|
0,85
|
46
|
61
|
102,5
|
678,9
|
1,321
|
1,04
|
5,20
|
6
|
|
Cт-25
|
|
|
1
|
95
|
846,5
|
90,8
|
4,2
|
92,9
|
72,9
|
179,0
|
0,25
|
0,04
|
1
|
0,97
|
0,97
|
1,05
|
0,972
|
651,9
|
630,4
|
0,9
|
2,8
|
0,6
|
65
|
84
|
232,4
|
637,3
|
1,011
|
1,08
|
3,84
|
4
|
|
2
|
90,8
|
771,1
|
86,9
|
3,9
|
88,8
|
68,8
|
|
0,25
|
0,04
|
1
|
0,97
|
0,98
|
0,98
|
0,972
|
651,9
|
588,4
|
|
2,8
|
0,6
|
59
|
211,4
|
580,9
|
0,987
|
1,08
|
3,74
|
4
|
|
3
|
86,9
|
885,6
|
82,5
|
4,4
|
84,7
|
64,7
|
|
0,25
|
0,04
|
1
|
0,97
|
0,97
|
0,91
|
0,972
|
651,9
|
542,6
|
|
0,55
|
1,27
|
55
|
73
|
123,2
|
774,7
|
1,428
|
1,03
|
5,67
|
6
|
|
4
|
82,5
|
885,6
|
78,1
|
4,4
|
80,3
|
60,3
|
|
0,3
|
0
|
1
|
1
|
0,97
|
0,82
|
1,000
|
758,0
|
607,7
|
|
0,55
|
0,6
|
53
|
67
|
69,4
|
823,2
|
1,355
|
1,04
|
5,35
|
6
|
|
5
|
78,1
|
771,1
|
74,2
|
3,9
|
76,2
|
56,2
|
|
0,3
|
0
|
1
|
1
|
0,98
|
0,75
|
1,000
|
758,0
|
556,0
|
|
2,8
|
0,6
|
45
|
60
|
162,0
|
625,3
|
1,125
|
1,06
|
4,34
|
5
|
|
6
|
74,2
|
846,5
|
70,0
|
4,2
|
72,1
|
52,1
|
|
0,3
|
0
|
1
|
1
|
0,97
|
0,68
|
1,000
|
758,0
|
503,4
|
|
2,8
|
0,6
|
41
|
56
|
148,4
|
712,9
|
1,416
|
1,03
|
5,62
|
6
|
|
Ст-26
|
|
|
1
|
95
|
2042
|
86,5
|
8,5
|
90,8
|
70,8
|
215,4
|
0,25
|
0,04
|
1
|
0,97
|
0,95
|
1,01
|
0,980
|
651,9
|
596,0
|
0,9
|
5,6
|
0,6
|
65
|
84
|
414,4
|
1669,8
|
2,802
|
0,98
|
11,75
|
12
|
|
3
|
86,5
|
2154
|
77,6
|
8,9
|
82,1
|
62,1
|
|
0,3
|
0
|
1
|
1
|
0,95
|
0,85
|
1,000
|
758,0
|
613,3
|
|
5,6
|
0,6
|
55
|
73
|
351,8
|
1838,0
|
2,997
|
0,97
|
12,62
|
13
|
|
2
|
77,6
|
1827
|
70
|
7,6
|
73,8
|
53,8
|
|
0,3
|
0
|
1
|
1
|
0,95
|
0,71
|
1,000
|
758,0
|
513,7
|
|
1,1
|
0,85
|
46
|
61
|
102,5
|
1735,2
|
3,377
|
0,97
|
14,31
|
15
|
|
|
|
|
|
|
|
|
|
|
|
|
|
|
|
|
|
|
|
|
|
|
|
|
|
|
|
|
|
|
|
|
|
|
|
|
|
|
|
|
|
|
|
|
|
|
|
|
|
|
|
|