Типовые организационные структуры предприятий

  • Вид работы:
    Реферат
  • Предмет:
    Менеджмент
  • Язык:
    Русский
    ,
    Формат файла:
    MS Word
    215,60 kb
  • Опубликовано:
    2009-01-12
Вы можете узнать стоимость помощи в написании студенческой работы.
Помощь в написании работы, которую точно примут!

Типовые организационные структуры предприятий

Типовые организационные структуры предприятий

"Офис достигает совершенства как раз к тому времени, когда фирма приходит в упадок".

12-й закон Паркинсона

Под философией управления мы будем понимать самые общие принципы, на основе которых строится структура управления организацией и осуществляются процессы управления. Конечно, философия качества и философия управления взаимосвязаны - философия качества задает цель и направление деятельности организации, философия управления определяет организационные средства для достижения этой цели. Основы философии управления, так же как и философии качества, были заложены Ф. У. Тейлором.

И программа менеджмента качества Деминга, и принципы Тотальный Менеджмент Качества фактически направлены на изменение структуры системы управления предприятием. Рассмотрим основные типы структур управления предприятием с точки зрения их соответствия идеям современного менеджмента качества.

Термин "организационная структура" сразу же вызывает в нашем воображении двумерную древовидную схему, состоящую из прямоугольников и соединяющих их линий. Эти прямоугольники показывают выполняемую работу и круг обязанностей и, таким образом отображают разделение труда в организации. Относительное положение прямоугольников и соединяющие их линии показывают степень подчинения. Рассмотренные соотношения ограничены двумя измерениями : вверх - вниз и поперек, так как мы оперируем с ограниченным допущением, согласно которому организационная структура должна быть представлена на двумерной схеме, вычерчиваемой на плоской поверхности.

В самой же организационной структуре не содержится ничего такого, что ограничивало бы нас в этом отношении. Кроме того, эти ограничения на структуру организации часто вызывают серьезные и дорогостоящие последствия. Вот только четыре из них. Во-первых, между отдельными частями организаций такого рода возникает не сотрудничество, а конкуренция. Внутри организаций существует более сильная конкуренция, чем между организациями, и эта внутренняя конкуренция приобретает значительно менее этичные формы. Во-вторых, обычный способ представления структуры организаций серьезно затрудняет определение задач отдельных подразделений и измерение соответствующих показателей качества работы вследствие большой взаимозависимости подразделений, объединенных подобным образом. В-третьих, это способствует созданию организаций, сопротивляющихся изменениям, особенно изменениям их структуры; поэтому они перерождаются в бюрократические структуры, не поддающиеся адаптации. Большинство таких организаций обучается крайне медленно, если обучается вообще. В-четвертых, представление организационной структуры в виде двумерного дерева ограничивает число и характер возможных вариантов решения возникающих проблем. При наличии такого ограничения невозможны решения, обеспечивающие развитие организации с учетом технических и социальных изменений, темпы которых все больше и больше растут. Существующая обстановка требует, чтобы организации были не только готовы к любым изменениям, но и способны им подвергаться. Другими словами, необходимо динамическое равновесие. Очевидно, что для достижения такого равновесия организация должна иметь достаточно гибкую структуру. (Хотя гибкость не гарантирует приспособляемости, тем не менее она необходима для достижения последней).

Построение гибкой или обладающей какими-либо иными достоинствами организационной структуры является одной из задач так называемого "структурного зодчества". Используя терминологию, принятую в архитектуре, можно сказать, что в данном реферате излагаются основные идеи, на основе которых могут быть разработаны различные варианты решения проблемы организационной структуры без ограничений, связанных с ее графическим представлением.

Выше перечисленные недостатки можно и нужно преодолеть путем построения многомерной организационной структуры. Многомерная структура подразумевает демократический принцип управления.

Иерархический тип структур управления

Структуры управления на многих современных предприятиях были построены в соответствии с принципами управления, сформулированными еще в начале ХХ века. Наиболее полную формулировку этих принципов дал немецкий социолог Макс Вебер (концепция рациональной бюрократии):

принцип иерархичности уровней управления, при котором каждый нижестоящий уровень контролируется вышестоящим и подчиняется ему;

вытекающий из него принцип соответствия полномочий и ответственности работников управления месту в иерархии;

принцип разделения труда на отдельные функции и специализации работников по выполняемым функциям; принцип формализации и стандартизации деятельности, обеспечивающий однородность выполнения работниками своих обязанностей и скоординированность различных задач;

вытекающий из него принцип обезличенности выполнения работниками своих функций;

принцип квалификационного отбора, в соотвествии с которым найм и увольнение с работы производится в строгом соответствии с квалификационными требованиями.

Организационная структура, построенная в соответствии с этими принципами, получила название иерархической или бюрократической структуры. Наиболее распространенным типом такой структуры является линейно - функциональная (линейная структура).

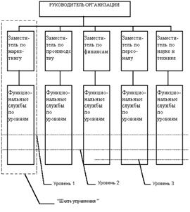
Линейная организационная структура

Основы линейных структур составляет так называемый "шахтный" принцип построения и специализация управленческого процесса по функциональным подсистемам организации (маркетинг, производство, исследования и разработки, финансы, персонал и т. д. ). По каждой подсистеме формируется иерархия служб ("шахта"), пронизывающая всю организацию сверху донизу (см. Рис. 1). Результаты работы каждой службы оцениваются показателями, характеризующими выполнение ими своих целей и задач. Соответственно строится и система мотивации и поощрения работников. При этом конечный результат (эффективность и качество работы организации в целом) становится как бы второстепенным, так как считается, что все службы в той или иной мере работают на его получение.

Рис.1. Линейная структура управления

Преимущества линейной структуры:

четкая система взаимных связей функций и подразделений;

четкая система единоначалия - один руководитель сосредотачивает в своих руках руководство всей совокупностью процессов, имеющих общую цель;

ясно выраженная ответственность;

быстрая реакция исполнительных подразделений на прямые указания вышестоящих.

Недостатки линейной структуры:

отсутствие звеньев, занимающихся вопросами стратегического планирования; в работе руководителей практически всех уровней оперативные проблемы ("текучка") доминирует над стратегическими;

тенденция к волоките и перекладыванию ответственности при решении проблем, требующих участия нескольких подразделений;

малая гибкость и приспособляемость к изменению ситуации;

критерии эффективности и качества работы подразделений и организации в целом - разные;

тенденция к формализации оценки эффективности и качества работы подразделений приводит обычно к возникновению атмосферы страха и разобщенности;

большое число "этажей управления" между работниками, выпускающими продукцию, и лицом, принимающим решение;

перегрузка управленцев верхнего уровня;

повышенная зависимость результатов работы организации от квалификации, личных и деловых качеств высших управленцев.

Вывод: в современных условиях недостатки структуры перевешивают ее достоинства. Такая структура плохо совместима с современной философией качества.

Линейно - штабная организационная структура

Такой вид организационной структуры является развитием линейной и призван ликвидировать ее важнейший недостаток, связанный с отсутствием звеньев стратегического планирования. Линейно - штабная структура включает в себя специализированные подразделения (штабы), которые не обладают правами принятия решений и руководства какими - либо нижестоящими подразделениями, а лишь помогают соответствующему руководителю в выполнении отдельных функций, прежде всего, функций стратегического планирования и анализа. В остальном эта структура соответствует линейной (Рис.2 ).

Рис.2. Линейно - штабная структура управления

Достоинства линейно - штабной структуры:

более глубокая, чем в линейной, проработка стратегических вопросов;

некоторая разгрузка высших руководителей;

возможность привлечения внешних консультантов и экспертов;

при наделении штабных подразделений правами функционального руководства такая структура - хороший первый шаг к более эффективным органическим структурам управления.

Недостатки линейно - штабной структуры:

недостаточно четкое распределение ответственности, т. к. лица, готовящие решение, не участвуют в его выполнении;

тенденции к чрезмерной централизации управления;

аналогичные линейной структуре, частично - в ослабленном виде.

Вывод: линейно - штабная структура может являться хорошей промежуточной ступенью при переходе от линейной структуры к более эффективным. Структура позволяет, правда в ограниченных пределах, воплощать идеи современной философии качества.

Дивизионная структура управления

Уже к концу 20-х годов стала ясна необходимость новых подходов к организации управления, связанная с резким увеличением размеров предприятий, диверсификацией их деятельности (многопрофильностью ), усложнением технологических процессов в условиях динамически меняющегося окружения. В связи с этим стали возникать дивизионные структуры управления, прежде всего в крупных корпорациях, которые стали предоставлять определенную самостоятельность своим производственным подразделениям, оставляя за руководством корпорации стратегию развития, научно - исследовательские разработки, финансовую и инвестиционную политику и т. п. В этом типе структур сделана попытка сочетать централизованную координацию и контроль деятельности с децентрализованным управлением. Пик внедрения дивизионных структур управления пришелся на 60 - 70-е годы (Рис.3 ).

Рис.3. Дивизионная структура управления

Ключевыми фигурами в управлении организациями с дивизионной структурой являются уже не руководители функциональных подразделений, а менеджеры, возглавляющие производственные отделения (дивизионы). Структуризация по дивизионам, как правило, производится по одному из критериев: по выпускаемой продукции (изделиям или услугам) - продуктовая специализация; по ориентации на определенные группы потребителей - потребительская специализация; по обслуживаемым территориям - региональная специализация. В нашей стране аналогичные структуры управления широко внедрялись, начиная с 60-х годов в форме создания производственных объединений.

Преимущества дивизионной структуры:

она обеспечивает управление многопрофильными предприятиями с общей численностью сотрудников порядка сотен тысяч и территориально удаленными подразделениями;

обеспечивает большую гибкость и более быструю реакцию на изменения в окружении предприятия по сравнению с линейной и линейно - штабной;

при расширении границ самостоятельности отделений они становятся "центрами получения прибыли", активно работая по повышении эффективности и качества производства;

более тесная связь производства с потребителями.

Недостатки дивизионной структуры:

большое количество "этажей" управленческой вертикали; между рабочими и управляющим производством подразделения - 3 и более уровня управления, между рабочими и руководством компании - 5 и более;

разобщенность штабных структур отделений от штабов компании;

основные связи - вертикальные, поэтому остаются общие для иерархических структур недостатки - волокита, перегруженность управленцев, плохое взаимодействие при решении вопросов, смежных для подразделений и т. д. ;

дублирование функций на разных "этажах" и как следствие - очень высокие затраты на содержание управленческой структуры;

в отделениях, как правило, сохраняется линейная или линейно - штабная структура со всеми их недостатками.

Вывод: достоинства дивизионных структур перевешивают их недостатки только в периоды достаточно стабильного существования, при нестабильном окружении они рискуют повторить судьбу динозавров. При данной структуре возможно воплотить большую часть идей современной философии качества.

Органический тип структур управления

Органические или адаптивные структуры управления стали развиваться примерно с конца 70-х годов, когда, с одной стороны, создание международного рынка товаров и услуг резко обострило конкуренцию среди предприятий и жизнь потребовала от предприятий высокой эффективности и качества работы и быстрой реакции на изменения рынка, и с другой стороны, стала очевидной неспособность структур иерархического типа этим условиям соответствовать. Главным свойством управленческих структур органического типа является их способность изменять свою форму, приспосабливаясь к изменяющимся условиям. Разновидностями структур этого типа являются проектные, матричные (программно-целевые), бригадные формы структур. При внедрении этих структур необходимо одновременно изменять и взаимоотношения между подразделениями предприятия. Если же сохранять систему планирования, контроля, распределения ресурсов, стиль руководства, методы мотивации персонала, не поддерживать стремление работников к саморазвитию, результаты внедрения таких структур могут быть отрицательными.

Бригадная (кросс - функциональная) структура управления

автономная работа рабочих групп (бригад);

самостоятельное принятие решений рабочими группами и координация деятельности по горизонтали;

замена жестких управленческих связей бюрократического типа гибкими связями;

привлечение для разработки и решения задач сотрудников разных подразделений.

Эти принципы разрушает свойственное иерархическим структурам жесткое распределение сотрудников по производственным, инженерно-техническим, экономическим и управленческим службам, которые образуют изолированные системы со своими целевыми установками и интересами.

В организации, построенной по этим принципам, могут как сохраняться функциональные подразделения ( Рис.4 ), так отсутствовать (Рис.4 ). В первом случае работники находятся под двойным подчинением - административным (руководителю функционального подразделения, в котором они работают) и функциональным (руководителю рабочей группы или бригады, в которую они входят). Такая форма организации называется кросс-функциональной, во многом она близка к матричной. Во втором случае функциональные подразделения как таковые отсутствуют, ее мы будем назвать собственно бригадной. Такая форма достаточно широко применяется в организации управления по проектам.

Рис.4. Кросс - функциональная организационная структура

Рис.5. Структура организации, состоящей из рабочих групп (бригадная)

Преимущества бригадной (кросс-функциональной) структуры:

сокращение управленческого аппарата, повышение эффективности управления;

гибкое использование кадров, их знаний и компетентности;

работа в группах создает условия для самосовершенствования;

возможность применения эффективных методов планирования и управления;

сокращается потребность в специалистах широкого профиля.

Недостатки бригадной (кросс-функциональной) структуры:

усложнение взаимодействия (в особенности для кросс-функциональной структуры);

сложность в координации работ отдельных бригад;

высокая квалификация и ответственность персонала;

высокие требования к коммуникациям.

Вывод: данная форма организационной структуры наиболее эффективна в организациях с высоким уровнем квалификации специалистов при их хорошем техническом оснащении, в особенности в сочетании с управлением по проектам. Это - один из типов организационных структур, в которых наиболее эффективно воплощаются идеи современной философии качества.

Проектная структура управления

Основным принципом построения проектной структуры является концепция проекта, под которым понимается любое целенаправленное изменение в системе, например, освоение и производство нового изделия, внедрение новых технологий, строительство объектов и т. д. Деятельность предприятия рассматривается как совокупность выполняемых проектов, каждый из которых имеет фиксированное начало и окончание. Под каждый проект выделяются трудовые, финансовые, промышленные и т. д. ресурсы, которыми распоряжается руководитель проекта. Каждый проект имеет свою структуру, и управление проектом включает определение его целей, формирование структуры, планирование и организацию работ, координацию действий исполнителей. После выполнения проекта структура проекта распадается, ее компоненты, включая сотрудников, переходят в новый проект или увольняются (если они работали на контрактной основе). По форме структура управления по проектам может соответствовать как бригадной (кросс-функциональной) структуре, так и дивизионной структуре, в которой определенный дивизион (отделение) существует не постоянно, а на срок выполнения проекта.

Преимущества структуры управления по проектам:

высокая гибкость;

сокращение численности управленческого персонала по сравнению с иерархическими структурами.

Недостатки структуры управления по проектам:

очень высокие требования квалификации, личным и деловым качествам руководителя проекта, который должен не только управлять всеми стадиями жизненного цикла проекта, но и учитывать место проекта в сети проектов компании;

дробление ресурсов между проектами;

сложность взаимодействия большого числа проектов в компании;

усложнение процесса развития организации как единого целого.

Вывод: преимущества перевешивают недостатки на предприятиях с небольшим числом одновременно выполняемых проектов. Возможности воплощения принципов современной философии качества определяются формой управления проектами.

Матричная (программно - целевая) структура управления

Такая структура представляет собой сетевую структуру, построенную на принципе двойного подчинения исполнителей: с одной стороны - непосредственному руководителю функциональной службы, которая предоставляет персонал и техническую помощь руководителю проекта, с другой - руководителю проекта или целевой программы, который наделен необходимыми полномочиями для осуществления процесса управления. При такой организации руководитель проекта взаимодействует с 2-мя группами подчиненных: с постоянными членами проектной группы и с другими работниками функциональных отделов, которые подчиняются ему временно и по ограниченному кругу вопросов. При этом сохраняется их подчинение непосредственным руководителям подразделений, отделов, служб. Для деятельности, которая имеет четко выраженное начало и окончание, формируют проекты, для постоянной деятельности - целевые программы. В организации и проекты, и целевые программы могут сосуществовать. Пример матричной программно - целевой структуры управления (фирма "Тойота") приведен на Рис. 6. Эта структура была предложена Каори Ишикава в 70-х годах и с небольшими изменениями функционирует по сей день не только на фирме "Тойота", но и на многих других фирмах по всему миру.

Управление по целевым программам осуществляется на "Тойоте" через функциональные комитеты. Например, при создании функционального комитета в области обеспечения качества председателем комитета назначается уполномоченный руководства по качеству. Из практики фирмы "Тойота", количество членов комитета не должно превышать пяти. В состав комитета входят как сотрудники отдела обеспечения качества, так и 1-2 сотрудника других отделов. Каждый комитет имеет секретариат и назначает секретаря для ведения дел. Основные вопросы рассматриваются комитетом на ежемесячных заседаниях. Комитет также может создавать группы, работающие над отдельными проектами. Комитет по качеству определяет права и обязанности всех отделов, связанных с вопросами качества и устанавливает систему их взаимоотношений. Ежемесячно комитет по качеству анализирует показатели обеспечения качества и разбирается в причинах рекламаций, если таковые имеются. В то же время комитет не несет ответственности за обеспечение качества. Эта задача решается непосредственно каждым отделом в рамках вертикальной структуры. Обязанностью комитета является соединение вертикальной и горизонтальной структуры для улучшения деятельности всей организации.

Рис.6. Матричная структура управления на фирме "Тойота"

Преимущества матричной структуры:

лучшая ориентация на проектные (или программные) цели и спрос;

более эффективное текущее управление, возможность снижения расходов и повышения эффективности использования ресурсов;

более гибкое и эффективное использование персонала организации, специальных знаний и компетентности сотрудников;

относительная автономность проектных групп или программных комитетов способствует развитию у работников навыков принятия решений, управленческой культуры, профессиональных навыков;

улучшение контроля за отдельными задачами проекта или целевой программы;

любая работа организационно оформляется, назначается одно лицо - "хозяин" процесса, служащее центром сосредоточения всех вопросов, касающихся проекта или целевой программы;

сокращается время реакции на нужды проекта или программы, т. к. созданы горизонтальные коммуникации и единый центр принятия решений.

Недостатки матричных структур:

трудность установления четкой ответственности за работу по заданию подразделения и по заданию проекта или программы (следствие двойного подчинения);

необходимость постоянного контроля за соотношением ресурсов, выделяемых подразделениям и программам или проектам;

высокие требования к квалификации, личным и деловым качествам работников, работающих в группах, необходимость их обучения;

частые конфликтные ситуации между руководителями подразделений и проектов или программ;

возможность нарушения правил и стандартов, принятых в функциональных подразделениях, из-за оторванности сотрудников, участвующих в проекте или программе, от своих подразделений.

Вывод: внедрение матричной структуры дает хороший эффект в организациях с достаточно высоким уровнем корпоративной культуры и квалификации сотрудников, в противном случае возможна дезорганизация управления (на фирме "Тойота" внедрение матричной структуры заняло около 10 лет). Эффективность воплощения в жизнь идей современной философии качества в такой структуре доказана практикой фирмы "Тойота".

Многомерная организационная структура

Любая организация представляет собой целеустремленную систему. В такой системе существует функциональное разделение труда между ее индивидами (или элементами) целеустремленность которых связана с выбором целей, или желательных исходов, и средств ( линий поведения ). Та или иная линия поведения предусматривает использование определенных ресурсов ( входных величин ) для производства товаров и предоставления услуг ( выходные величины ), которые для потребителя должны иметь большую ценность, чем используемые ресурсы. Потребляемые ресурсы включают рабочую силу, материалы, энергию, производственные мощности и денежные средства. Это в равной мере относится к государственным и частным организациям.

Традиционно организационная структура охватывает два вида взаимоотношений:

ответственность ( кто за что отвечает ) и подчинение ( кто перед кем отчитывается). Организация с такой структурой может быть представлена в виде дерева, при этом обязанности изображаются прямоугольниками , относительное расположение которых показывает уровень полномочий, а линии, соединяющие эти прямоугольники, - распределение полномочий. Однако такое представление организационной структуры не содержит никакой информации относительно того, ценой каких затрат и с помощью средств организации удалось добиться тех или иных результатов. Вместе с тем более информативное описание организационной структуры, которое может явиться основой для более гибких способов структурирования организации, может быть получено на основе матриц типа затраты - выпуск или типа средства - цели. Проиллюстрируем это на примере типичной частной корпорации, производящей некоторую продукцию.

Сведения о выпускаемой продукции могут быть использованы для определения целей организации. Для этого, например, можно провести классификацию продукции по ее видам или качественным характеристикам. Элементами структуры, ответственные за обеспечение производства продукции или предоставления услуг потребителем вне данной организации, называют программами и обозначают P1, P2,. . . , Pr. Средства, используемые программами ( или видами деятельности ), обычно можно подразделить на операции и услуги.

Операция - это вид деятельности, непосредственно влияющие на характер выпускаемой продукции или на ее наличие. Типичными операциями ( O1, O2,. . . , Om ) является закупка сырья, транспортировка, производство, распределение и сбыт продукции.

Услуги -это виды деятельности, необходимые для обеспечения программ или выполнения операции. Типичными услугами ( S1, S2,. . . , Sn ) являются работы, выполняемые такими подразделениями, как бухгалтерия, отдел обработки данных, отдел технического обслуживания, отдел урегулирования трудовых конфликтов, финансовый отдел, отдел кадров, юридические службы.

Виды деятельности, осуществляемые в рамках программы и в рамках действий по ее выполнению, могут быть представлены как на рис. 7 и 8. Результаты каждого отдельного вида деятельности могут быть использованы непосредственно этим же видом деятельности, программами и другими видами деятельности, а также исполнительным органом и внешним потребителем.

Общие программы могут быть подразделены на частные, например, по типу потребителя ( промышленный или индивидуальный ), снабжаемого или обслуживаемого географического района, по видам продукции и т. д. Частные программы в свою очередь также могут быть подвергнуты дальнейшему разделению.

Программы / Виды деятельности

Р1

Р2

. . .

Рк

Операция Q1

 

 

 

Операция Q2

 

 

 

 

. . . .

 

 

 

 

Операция Qm

 

 

 

 

Услуга S1

 

 

 

 

Услуга S2

 

 

 

 

. . . .

 

 

 

 

Услуга Sm

 

 

 

 

Рис.7. Схема взаимодействия видов деятельности и программ

Подразделения-потребители / подразделения-потребители

Операция

Q1

Операция

Q2

. . . .

Операция

Qm

Услуга

S1

S2

. . . .

Sn

Операция Q1

 

 

 

 

 

 

 

 

Операция Q2

 

 

 

 

 

 

 

 

Операция Qm

 

 

 

 

 

 

 

Услуга S1

 

 

 

 

 

 

 

 

Услуга S2

 

 

 

 

 

 

 

 

. . . .

 

 

 

 

 

 

 

 

Услуга Sn

 

 

 

 

 

 

 

 

Рис. 8. Схема взаимодействия видов деятельности

Аналогичным образом можно провести детализацию видов деятельности видов деятельности. Например, операции по изготовлению изделия могут включать производство деталей, узлов и сборку, причем каждая из этих операций может быть разбита на более мелкие операции.

Если число программ, а также основных и вспомогательных видов деятельности (операций и услуг) настолько велико, что руководитель не в состоянии эффективно осуществлять координацию, то может возникнуть необходимость в координаторах в рамках конкретных управленческих функций ( рис. 9 ). Для каждого направления деятельности может потребоваться более одного координатора или координационного подразделения. В тех случаях, когда число координаторов оказывается слишком большим, не исключено использование вышестоящих координаторов или координационных подразделений ( в данном контексте " координация " означает именно координацию, а не руководство ). Для осуществления координации вполне достаточно группы, состоящей из начальников координирующих подразделений и руководителей.

Рис.9. Структура координации в крупных организациях

К программам как и к функциональным подразделениям предъявляются определенные требования. Программы и функциональные подразделения могут быть сгруппированы по видам продукции, типам потребителей, географическим районам и т. д. Если потребителей продукции программы оказывается слишком много и они сильно рассредоточены, то возможно нетрадиционное использование характеристик географического положения в качестве дополнительного измерения объемной схемы организационной структуры ( рис. 10 ). В этом случае возникает необходимость в региональных представителях, обязанностью которых является защита интересов тех, кто потребляет продукцию или испытывает влияние деятельности организации в целом. Региональные представители играют роль внешних посредников, которые могут дать оценку программам и различным направлениям деятельности организации в каждом конкретном регионе с точки зрения тех, чьи интересы они представляют. В дальнейшем этой информацией могут воспользоваться руководящий орган, координаторы и руководители подразделений. Получая подобную информацию одновременно от всех региональных представителей, руководитель может составить полное представление об эффективности своей программы на всей обслуживаемой территории и в каждом регионе. Это позволяет ему более рационально распределить имеющиеся ресурсы по регионам.

Однако географическое положение не единственный критерий организации деятельности внешних посредников; могут быть использованы и другие критерии. Например, организации, снабжающая различные отрасли промышленности смазочными материала- ми, целесообразно иметь представителей не по регионам, а по отраслям (это могут быть автомобильная, авиационно-космическая, станкостроительная и другие отрасли промышленности). Организация коммунального обслуживания может определять обязанности своих представителей на основе характеристик социально-экономического положения пользователей.

Рис.10. Трехмерная организационная структура

Разделение ответственности. Рассмотренная " многомерная " организация имеет нечто общее с так называемыми " матричными организациями ". Однако последние обычно являются двумерными и не обладают многими важными чертами рассмотренных организационных структур, особенно в вопросах финансирования. Кроме того, всем им присущ один общий недостаток : сотрудники функциональных подразделений находятся в двойном подчинении, что, как правило, приводит к нежелательным результатам. Именно этот наиболее часто отмечаемый недостаток матричных организаций является причиной так называемой " профессиональной шизофрении ".

Многомерная организационная структура не порождает трудностей, свойственных матричной организации. В многомерной организации персонал функционального подразделения, результаты деятельности которого покупает руководитель программ, относится к нему как к внешнему клиенту и подотчетен только руководителю функционального подразделения. Однако, при оценке деятельности своих подчиненных руководитель функционального подразделения, естественно, должен использовать оценки качества их работы, данные руководителем программы. Положение лица, возглавлявшего группу функционального подразделения, которая выполняет работу в интересах программы, во многом напоминает положение руководителя проекта в строительной и консультативной фирме; у него нет неопределенности относительно того, кто является хозяином, но ему приходится иметь с ним дело, как с клиентом.

Многомерная организационная структура и финансирование программ.Обычно практикуемое (или традиционное) финансирование программ является лишь способом подготовки сметы расходов функционал подразделений и программ. Оно не связано с предоставлением ресурсов и обеспечением возможности выбора для подразделений, работающих по программам, или с требованием к функциональным подразделением к функциональным подразделениям самостоятельно завоевывать рынки сбыта внутри организации и за ее пределами. Короче говоря, финансирование программ, как правило, не учитывает особенностей организационной структуры и не влияет на ее гибкость. Подобный способ распределения средств между функциональными подразделениями гарантирует только выполнение программ, обеспечивая при этом более эффективное, чем обычно, определение стоимости их реализации. Многомерная организационная структура позволяет сохранить все преимущества традиционного способа финансирования и, кроме того, обладает рядом других.

Преимущества многомерной организационной структуры

Многомерная организационная структура позволяет повысить гибкость организации и ее способность реагировать на изменение внутренних и внешних условий. Это достигается путем разбиения организации на подразделения, жизнеспособность которых за- висит от их умения производить по конкурентоспособным ценам товары, пользующиеся спросом, и предоставлять услуги, в которых нуждаются потребителя. Такая структура порождает рынок внутри организации независимо от того является ли она частной или государственной, коммерческой или некоммерческой (бесприбыльной), и повышает ее способность реагировать на потребности как внутренних, так и внешних потребителей. Поскольку структурные подразделения " многомерной " относительно независимы друг от друга, их можно расширять, сокращать, ликвидировать или изменять каким-либо способом. Показателем эффективности работы каждого подразделения не зависит от аналогичных показателей любого другого подразделения, что облегчает исполнительному органу оценку и контроль за деятельностью подразделений. Даже работа исполнительного органа может быть оценена автономно во всех аспектах его деятельности.

Многомерная структура препятствует развитию бюрократии благодаря тому, что функциональные подразделения или программы не могут стать жертвой обслуживающих подразделений, процедуры которых порой превращаются в самоцель и становятся препятствием к достижению целей, намеченных организацией. Потребители внутри и вне организации контролируют внутренних поставщиков продукции и услуг; поставщики же никогда не контролируют потребителей. Такая организация ориентирована на цели, а не на средства, в то время как для бюрократии характерно подчинение целей средствам.

Недостатки многомерной организационной структуры

Однако многомерная организационная структура хотя и лишена некоторых существенных недостатков, присущих организациям обычного типа, тем не менее не может уст ранить все недостатки полностью. Сама по себе такая структурная организация не гарантирует содержательной и интересной работы на нижних уровнях, но она облегчает применение новых идей, способствующих ее совершенствованию.

Введение на предприятии многомерной организационной структуры не является единственным способом повышения гибкости организации и ее чувствительности к изменениям условий, однако серьезное изучение такой позволяет " повысить гибкость " представлений людей о возможностях организаций. Именно это обстоятельство должно способствовать появлению новых, еще более совершенных организационных структур.

Список литературы

Для подготовки данной работы были использованы материалы с сайта http://www.cfin.ru/

Похожие работы на - Типовые организационные структуры предприятий

 

Не нашли материал для своей работы?
Поможем написать уникальную работу
Без плагиата!
Без нейросетей!