Реконструкция участка контактной сети с заменой опор и оценкой риска их отказа
Федеральное агентство
железнодорожного транспорта
Федеральное государственное бюджетное
образовательное учреждение высшего образования
Уральский
государственный университет путей сообщения (УрГУПС)
ДИПЛОМНЫЙ ПРОЕКТ
Тема:
Реконструкция участка контактной сети
с заменой опор и оценкой риска их отказа
СОДЕРЖАНИЕ
Введение
. Разработка
проекта реконструкции участка контактной сети
.1 Исходные
данные проекта
.2 Расчет
нагрузок на провода контактной сети
.3 Расчет
натяжения проводов
.4
Определение допустимых длин пролетов
1.5Механический
расчет анкерного участка полукомпенсированной контактной подвески станции
1.6 Подбор
стоек опор контактной сети
. Оценка
риска отказа участка контактной сети
.1 Исходные
данные для расчета
.2 Расчет
оценки риска отказа участка контактной сети
Заключение по
разделу
. Определение
стоимости жизненного цикла опоры контактной сети
.1 Исходные
данные
.2 Расчет
стоимости жизненного цикла
.3 Заключение
по разделу
.
Безопасность жизнедеятельности
.1
Безопасность производства работ при замене опор
4.2
Экспертиза дипломного проекта на соответствиетребований безопасности и
экологичности
Заключение
Список
использованных источников
ВВЕДЕНИЕ
На сегодняшний день, страны, занимающие лидирующее положение на мировом
рынке обязаны своему успеху постоянно нарастающему темпу научно-технического
прогресса, за счет его внедрения во все отрасли народного хозяйства своей
страны, в том числе железнодорожного транспорта.
Большая конкуренция на этом рынке требует постоянного развития,
модернизации и применения наукоемких технологий, для увеличения
производительности труда, рентабельности и как следствие сокращение
себестоимости производимой продукции, что является важнейшим показателем роста
компании и ее развития.
Вышеуказанное учитывают и применяют на практике страны-лидеры, однако, в
настоящее время, Российская Федерация отстает в своем развитии приблизительно
на 30 лет. И для того, чтобы сократить этот разрыв необходимо решить множество
задач, одна из которых - это снабжение сырьем и материалами всех самых
удаленных точек страны, тое есть решение задачи совершенствования транспортной
системы и соответственно увеличение качества производимой продукции
(перевозки).
А так как 70% грузооборота страны обеспечивает железнодорожный транспорт,
то решение поставленной задачи касается самой компании ОАО «РЖД».
Качество продукции (перевозки), в первую очередь, заключается в ее
надежности, а именно, в соблюдении сроков поставки грузов, следование графику
движения поездов и, как следствие всего этого, в бесперебойной работе всех
устройств в совокупности. А в связи с переходом на электрическую тягу, который
сопровождается полным переустройством пути, станции, депо, устройств связи,
сигнализации, централизации и блокировки, в том числе и устройств
электроснабжения, качество также зависит и от самой электрической энергии,
являющаяся ведущим фактором развития мирового общества и двигателем прогресса
всего человечества. Это объясняется, в первую очередь, большим преимуществом ее
перед другими видами энергии: транспортабельностью на большие расстояния,
дробимостью и легкому превращению в другие виды энергии, что позволяет
применять ее для самых различных нужд общественного производства и потребностей
населения.
Таким образом, на качество продукции (перевозки) прямо пропорционально
оказывает влияние качество электрической энергии и надежность устройств
электроснабжения, обеспечивающих распределение, преобразование и доставку
электрической энергии до потребителей.
На сегодняшний день состояние устройств электроснабжения ОАО «РЖД»
плачевное, потому что многие из них уже выработали свой ресурс, устарели не
только физически, но и морально. Этого можно избежать путем замены устаревшего
оборудование на наиболее новое, при этом меняется технология, организация и
управление перевозочным процессом, что позволяет обеспечить высокую
эффективность работы электроснабжения железных дорог. Устранение этих огромных
пробелов также достигается и путем реконструкции существующих устройств
электроснабжения.
Все эти мероприятия приводят к увеличению скорости движения и массы
поездов, к повышению объема перевозок, соблюдению графика движения поездов,
сроков поставки грузов и соответственно увеличению качества производимой
продукции компанией ОАО «РЖД».
В этой связи в данном дипломном проекте необходимо решить следующие
задачи:
. Разработка проекта реконструкции участка контактной сети;
. Оценка риска отказа участка контактной сети
. Определение стоимости жизненного цикла опоры контактной сети
. Безопасность жизнедеятельности
Рассмотреть организационные и технические мероприятия, обеспечивающие
безопасность работ по замене опор.
1. Разработка проекта реконструкции участка контактной сети
Контактная сеть - сложное техническое сооружение электрифицированных
железных дорог.
Устройства контактной сети и воздушных линий требуют постоянного внимания
и грамотной технической эксплуатации, своевременного выполнения всех видов
ремонтных работ для обеспечения безопасности движения поездов и обслуживающего
персонала.
В соответствии с Правилами технической эксплуатации железных дорог
Российской Федерации, конструкции контактных подвесок должны соответствовать
требованиям, обеспечивающим пропуск пассажирских поездов со скоростью движения
и учитывать возможность перспективного повышения скоростей движения на отдельных
направлениях.
В последние годы реализуется программа обновления устройств
электроснабжения, в том числе контактной сети. Предусматривается внедрение
современных технических средств, гарантирующих дальнейшее повышение надежности
работы устройств электроснабжения и их экономической эффективности.
При проведении обновления контактной сети широкое применение на сети
железных дорог находят контактная подвеска постоянного и переменного тока,
новые типы опор, изоляторов, арматуры и другие изделия повышенной надежности.
Модернизация контактной сети производится для обновления основных фондов,
восстановления ресурса постоянных элементов и повышения технических показателей
контактной подвески.
Основные цели проведения модернизации:
повышение ресурса основных элементов и их сближение для создания
предпосылок при последующей эксплуатации проведения комплексных видов
капитального ремонта;
повышение надежности и устойчивости работы за счет применения изделий и
узлов с улучшенными свойствами;
снижение расходов на обслуживание за счет исключения или увеличения
периодичности работ по диагностике, осмотрам, ремонту;
увеличение срока службы контактного провода за счет повышения показателей
качества токосъема;
на основе анализа работы контактной сети устранение причин нарушений в
работе контактной сети вследствие не учета при проектировании местных
особенностей климатических условий, состояния земляного полотна,
инженерно-геологических условий и обеспечение устойчивости опор контактной
сети;
учет изменений в процессе эксплуатации состояния и положения пути,
устранение нетиповых узлов, доведение основных параметров контактной подвески
до установленных нормативными документами.
Контактная подвеска состоит из постоянных и переменных элементов. К
постоянным элементам относятся опоры и анкеры, жесткие и гибкие поперечины,
несущие и рессорные тросы, усиливающие и питающие провода, поддерживающие
конструкции, компенсирующие устройства, изоляция, арматура и оборудование.
Замена постоянных элементов производится после повреждений или при
капитальном ремонте вследствие накопления недопустимых дефектов, а также при
модернизации из-за выработки ресурса. К переменным элементам относятся
контактные провода, струны, замена которых производится в зависимости от
степени износа. Модернизацию производят, если на участке постоянные элементы
контактной сети выработали более 75% нормального срока службы (ресурса) и
понизили более чем на 25% несущую способность или допустимые нагрузки.
При модернизации производится полное обновление всех постоянных элементов
контактной подвески по типовым проектам контактной подвески для скоростей
движения.
По показателям качества токосъема контактная подвеска должна обеспечивать
скорости движения. Замена контактных проводов производится в зависимости от
степени их износа.
Решение по оставлению в работе или замене опор, установленных при
капитальном ремонте, принимается при проектировании в зависимости от
возможности их использования в подвеске и от разбивки места установки опор.
1.1
Исходные данные проекта
Исходные данные для проведения основных расчетов приведены в таблице
1.1.1.
Таблица 1.1.1
Основные исходные данные
|
Род тока
|
Постоянный
|
|
Тип подвески на перегоне
|
М120+2МФ100
|
|
Климатический район
|
1 (tmin
= -50°C, tmax = +40°C).
|
|
Гололёдный район
|
2(bн = 0,01 м).
|
|
Ветровой район
|
2 (Vн = 25 м/с)
|
|
Подвеска на всех боковых
путях станции
|
М120+МФ100
|
1.2 Расчет
нагрузок на провода контактной сети
1.2.1Нагрузка
от собственного веса одного метра контактной подвески
(1.2.1)
гдеgH - нагрузка от собственного веса НТ
(Н/м);
gK - то же от КП (Н/м);
gC - тоже от струн и зажимов (Н/м);
n-
число контактных проводов.
(1.2.2)
На
главном пути:
На
боковом пути:
1.2.2
Гололедные нагрузки
(1.2.3)
гдеbГ - расчетная толщина гололедного слоя
(м);
d -
диаметр провода (м).
Расчетное значение толщины слоя гололеда:
(1.2.4)
Гдеb - толщина гололедного слоя (м);
kГ
- коэффициент
учитывающий диаметр и высоту подвешивания провода: на станции kГ = 0,75; на перегоне kГ = 1; на насыпиkГ = 1,25.
Для расчета веса гололеда на КП определяют с учетом удаления его
эксплуатационным персоналом, а так же токоприемниками и уменьшает на половину.
Вес гололеда на струнах можно не учитывать.
Расчетный диаметр КП:
(1.2.5)
Где Н и А - это высота и ширина сечения контактного провода
соответственно (м).
Определим суммарный вес метра контактной подвески с учетом гололеда:
(1.2.6)
Гдеg - вес контактной подвески, Н/м;
gГH - вес гололеда на НТ, Н/м;
gГK - вес гололеда на КП, Н/м.
По формулам 1.2.3- 1.2.6 определим нагрузки на провода КС на перегоне:
По
формулам 2.3-2.6 определим нагрузки на провода КС насыпи:
1.2.3
Ветровые нагрузки
Ветровая нагрузка на провод без гололеда:
(1.2.7)
Где Vp- расчетная скорость ветра, м/с;
сх- аэродинамический коэффициент;
d-
диаметр провода, м.
Ветровая нагрузка при наличии гололеда:
(1.2.8)
гдеvг - расчетная скорость ветра при
гололеде, м/с;
kв - коэффициент учитывающий высоту
подвешивания провода на станции kв = 0,9; на перегоне kв = 1; на насыпи kв = 1,25.
По формулам 1.7 и 1.8 приведем расчет нагрузок на провода КС на перегоне:
По
формулам 1.7 и 1.8 приведем расчет нагрузок на провода КС на насыпи:
1.2.4
Результирующая нагрузка
Определение результирующей нагрузки на несущий трос следует определять
без учета ветровой нагрузки на контактный провод, так как воспринимается
фиксаторами ее основная часть. При ветре:
(1.2.9)
При
ветре и гололеде:
(1.2.10)
По
формулам 1.2.9 и 1.2.10 проведем расчет нагрузок на провода КС на главном пути:
Таблица 1.2.1
Таблица рассчитанных нагрузок на провода контактной сети, Н/м
|
Нагрузки
|
Перегон
|
Насыпь
|
|
gн
|
12,44
|
12,44
|
|
gк
|
8,73
|
8,73
|
|
g
|
31,90
|
31,90
|
|
gгн
|
6,64
|
15,26
|
|
gгк
|
2,39
|
5,10
|
|
gг
|
43,34
|
57,36
|
|
Pн
|
6,72
|
10,50
|
|
Pк
|
7,32
|
11,45
|
|
Pгн
|
5,88
|
10,54
|
|
Pгк
|
6,81
|
8,31
|
|
qк
|
32,73
|
35,76
|
|
qн
|
32,60
|
34,21
|
|
qгк
|
43,86
|
57,96
|
|
qгн
|
43,74
|
58,32
|
1.3 Расчет натяжения проводов
Натяжение проводов контактной сети на данном этапе выполнения проекта
принимается предварительно и будет уточняться при предвари- тельном расчете.
При отсутствии провеса контактного провода натяжение несущего троса (То)
предварительно принимается:
(1.3.1)
На
главном пути:
На
боковых путях:
При
ветре максимальной интенсивности натяжение несущего троса Tв выбирается
предварительно:
1.4
Определение допустимых длин пролетов
1.4.1
Расчет допустимой длины пролета для прямого участка
Максимальная допустимая длина пролета на прямом участке пути определяется
по формуле:


(1.4.1)
Где К - натяжение контактного провода, при двух контактных проводах
двойное натяжение, Н;
Pк - ветровая нагрузка на контактный провод, Н/м ;
Рэ - эквивалентная нагрузка на контактный провод от несущего
троса, Н/м.
(1.4.2)
гдеbкдп - допустимое отклонение контактного провода от оси
пути, напрямом участке, bкдп = 0,5 м, на кривом - 0,45 м;
а - зигзаги контактного провода на смежных опорах, на прямом участке
пути, как правило, |а1| = |а2| = 0,3 м , на кривом - 0,45 м;
γк - прогиб опоры привоздействии ветра на уровне
контактного провода, зависит от расчетной скорости ветра, м.
На кривом участке пути максимально допустимую длину пролета
можноопределить из выражения:
(1.4.3)
гдеR - радиус кривой, м.
(1.4.4)
Эквивалентная
нагрузка Pэ определяется по формуле:
(1.4.5)
Где L - длина пролета, м;
hi - длина изоляционного узла (гирлянды изоляторов): на
участках постоянного тока hi = 0,56 м (два изолятора);
γн - прогиб опоры от ветра на уровне несущего троса, м;ср
- средняя длина струны в средней части пролета, равной 0,5 L, при заданной
конструктивной высоте цепной подвески h0:
(1.4.6)
Конструктивная
высота подвески при двух контактных проводах принимается 2 м, при одном - 1,8
м.
Расчет
для прямого участка главного пути (γк = 0,01м,
γн =
0,015м):
Найдем
эквивалентную нагрузку:
Так
как Lmax-L’max< 2 м, то примем
допустимую длину пролета по ветровой устойчивости равной L’max
= 100,875 м. Но так же есть ограничение, принятое на железной дороге, по
которому длина пролета по условиям качественного токосъема должна быть не более
70 м. Следовательно, допустимая длина на данном участке - 70 м.
Расчет
максимальной допустимой длины пролета осуществляется для всех участков
контактной сети.
1.4.2
Длины пролетов для всех участков
Результаты расчетов для остальных случаев сведены в таблицу 1.4.
Таблица 1.4.1
Длины пролетов
|
Объект
|
Участок пути
|
Зигзаг, м
|
Пролет, м
|
|
Перегон
|
Равнина
|
0,3
|
70
|
|
Кривой, R = 350 м
|
0,45
|
63,68
|
|
Перегон
|
Насыпь
|
0,3
|
70
|
|
Кривой, R =
600 м
|
0,45
|
54,236
|
1.5
Механический расчет анкерного участка полукомпенсированной контактной подвески
станции
Расчет длины эквивалентного пролета:
(1.5.1)
гдеLi - длина i-го пролета, м.
Длина критического пролета:
(1.5.2)
Где Zmax - максимальное приведённое натяжение, Н;
Wг и Wtmin - приведённые линейные нагрузки на
подвеску при гололёде с ветром и при минимальной температуре соответственно,
Н/м;
αн - температурный коэффициент линейного расширения
материала несущего троса, 1/°С.
Приведенные величины Zx и Wx для режима X и
эквивалентного пролета вычисляется по формулам:
(1.5.3)
(1.5.4)
Где gx и qx- соответственно, вертикальная и
результирующая нагрузка на несущий трос в режиме X, Н/м;
К - натяжение контактного провода, Н;
Т0 - натяжение Н.Т. при беспровесном положении контактного
провода;
jх -
конструктивный коэффициент цепной подвески, определяемый по формуле:
(1.5.5)
(1.5.6)
Где С = 8 м - расстояние от оси опоры до первой струны, в эквивалентном
пролете.
Температура беспровесного состояния контактного провода:
(1.5.7)
Где tср - среднегодовая температура района,
°С;
t¢ - коррекция на отжатие контактного провода токоприемником в середине
пролета, при двух КП t¢ = 20-25°C.
Натяжение несущего троса при беспровесном положении контактного провода
определяется при условии, когда j = 0:
(1.5.8)
(1.5.9)
(1.5.10)
Величины
с индексом 1 относятся к режиму максимального натяжения несущего троса.
Рассчитаем по формулам (1.5.1-1.5.8):
Так как в результате расчетов критический пролет получился больше
эквивалентного пролета, для дальнейших расчетов принимается режим минимальных
температур.
Определим значение натяжения несущего троса при беспровесном положении
контактного провода
Натяжение
несущего троса в зависимости от температуры приведено в таблице 1.5.1.Стрелы
провеса проводов в зависимости от температуры приведены в таблицах 1.5.2.
-1.5.3.
Таблица 1.5.1
Зависимость натяжения несущего троса от температуры
|
tx, °С
|
-50
|
-40
|
-30
|
-20
|
-10
|
0
|
10
|
20
|
30
|
40
|
|
Tx, Н
|
19600
|
18610
|
17680
|
16790
|
15960
|
15200
|
14480
|
13810
|
13200
|
12670
|
Рисунок 1.5.1 -Зависимость натяжения несущего троса от температуры
Таблица 1.5.2
Зависимость стрел провеса несущего троса от температуры
|
tx, °С
|
Fx1,(L1
= 50м)
|
Fx2,(L2
= 60м)
|
Fx4,(L3
= 67м)
|
|
-50
|
0,52
|
0,75
|
0,95
|
|
-42
|
0,54
|
0,78
|
0,98
|
|
-34
|
0,56
|
0,82
|
1,02
|
|
-26
|
0,59
|
0,85
|
1,06
|
|
-18
|
0,61
|
0,88
|
1,10
|
|
-10
|
0,63
|
0,91
|
1,14
|
|
-2
|
0,66
|
0,95
|
1,18
|
|
6
|
0,98
|
1,22
|
|
14
|
0,71
|
1,01
|
1,25
|
|
22
|
0,73
|
1,04
|
1,29
|
|
30
|
0,76
|
1,08
|
1,33
|
|
38
|
0,78
|
1,11
|
1,37
|
|
40
|
0,81
|
1,15
|
1,41
|
Рисунок 1.5.2 - Зависимость стрел провеса несущего троса от температуры
Таблица 1.5.3
Зависимость стрел провеса контактного провода от температуры
|
tx, °С
|
fx1, (L1
= 50м)
|
fx2, (L2
= 60м)
|
fx3, (L3
= 67м)
|
|
-50
|
-0,01
|
-0,02
|
-0,03
|
|
-42
|
-0,01
|
-0,01
|
-0,02
|
|
-34
|
-0,00
|
-0,00
|
-0,01
|
|
-26
|
0,00
|
0,00
|
0,00
|
|
-18
|
0,00
|
0,01
|
0,01
|
|
-10
|
0,01
|
0,02
|
0,02
|
|
-2
|
0,01
|
0,03
|
0,04
|
|
6
|
0,02
|
0,03
|
0,05
|
|
14
|
0,02
|
0,04
|
0,06
|
|
22
|
0,03
|
0,05
|
0,07
|
|
30
|
0,03
|
0,06
|
0,08
|
|
38
|
0,04
|
0,07
|
0,09
|
|
40
|
0,04
|
0,07
|
0,10
|
Рисунок 1.5.3 - Стрелы провеса контактного провода в зависимости от
температуры
1.6 Подбор
стоек опор контактной сети
Рисунок 1.6.1 - Расчетная схема для подбора опор
Вертикальная нагрузка от веса контактной подвески для расчетного режима
определяется по формуле:
(1.6.1)
Где gj- линейная нагрузка от веса подвески
в j-м режиме, Н/м;
L-
расчетная длина пролета, равная полусумме длин пролетов, смежных с расчетной
опорой, м;
Gи -
нагрузка от веса изоляторов, принимаемая при расчетах на постоянном токе -150
Н;
Gф' -
нагрузка от веса половины фиксаторного узла, Gф = 200 Н.
Аналогично определяется вертикальная нагрузка от веса усиливающего
провода для расчетного режима - j.
(1.6.2)
При 3-фазных ВЛ или ДПР нагрузки от проводов целесообразно суммировать и
выбирать центры их тяжести. Подобные действия проводятся и с кронштейнами.
Вертикальные нагрузки от веса консоли кронштейна (Gкн, Gкр) принимаются по их типовым чертежам с увеличением этой
нагрузки при гололедном режиме.
Горизонтальная нагрузка на опору под действием ветра на провода
контактной сети определяется из выражения
(1.6.3)
Где pii - линейнаяветровая нагрузка на i-й провод контактной сети приi-м режиме, Н/м;
I -
провод контактной сети (вместо iуказывается
«н» - для несущего троса, «к» для контактного провода, «пр» для усиливающего
провода).
Усилие на опору от изменения направления провода на кривой определяется
по формуле:
(1.6.4)
Где Hij- натяжение i-го провода в j-м
режиме, Н; R - радиус кривой, м.
Нагрузка на опору от изменения направления проводов при отводе его на
анкеровку определяется из выражения:
(1.6.5)
Где Z = Г + 0,5D- расстояние от оси пути до места крепления анкеровки
провода, равное сумме габарита (Г) и половине диаметра (D) опоры.
Усилие от изменения направления контактных проводов при зигзагах на
прямых участках пути, если они имеют на соседних опорах равные по величине и
противоположные по направлению значения, определяют по формуле
(1.6.6)
Где а - величина зигзага на прямом участке пути, м.
Нагрузка от давления ветра на опору определяется из выражения:
(1.6.7)
Где Сx - аэродинамический коэффициент, для
ж/б опор, Сx = 0,7;
Vp -
расчетная скорость ветра, м/с;
Sоп -
площадь поверхности, на которую действует ветер (площадь диаметрального сечения
опоры):
(1.6.7)
Где d, D - диаметры опоры, соответственно верхний и нижний, м;
hоп - высота опоры, м.
Произведем расчет нагрузок на промежуточную опору на прямом участке
перегона для самого тяжелого режима (гололеда с ветром):
Нагрузка от контактной подвески:
Нагрузка
от консоли:
Горизонтальная
нагрузка на опору под действием ветра на провода КС:
Площадь
поверхности, на которую действует ветер:
Нагрузка
от давления ветра на опору:
Таблица 6.1.1
Результаты расчета опор, Н∙м
|
Наименование
|
Режим гололеда с ветром
|
|
Мо
|
Моп
|
|
Промежуточная опора
|
31363,392
|
14469,029
|
По этому моменту выбираем опору при условии, что он должен быть меньше
нормативного момента. Выбираем опору СС 136,6-1 с нормативным моментом = 44000
Н∙м.
1.7 Выбор
оборудования
При реконструкции участка контактной сети были применены опоры типа
СC136,6-1. Опоры типа СC136,6-1 были установлены в фундаменты ТСC 4,5-4
трехлучевые фундаменты со скосом предназначены для анкерной установки раздельных
железобетонных и металлических опор контактной сети.
Для анкеровки проводов применялись анкера типа ТАС-5,0. Дополнительно
применялись опорные плиты ОПФ фундаментные и ОП-1 типа 1.
Контактная подвеска крепилась на консоли изолированные трубчатые типа
КИС-1 и фиксаторы прямые и обратные (ФИП и ФИО), кронштейны проводов МГ-III.
Все оборудование выбиралось согласно типовых проектов КС 160-4.1; 6291,
КС-160.12, разработанными ЗАО «Универсал-контактные сети».
Примечание: Маркировка фундамента ТСС 4,5-4 расшифровывается следующим
образом: Т - трехлучевой, С - стаканного типа, С - со скосом, 4,5 - размер в
метрах, 4 - группа несущей способности, 79 кНм.
Маркировка анкера ТАС - 5,0 расшифровывается: Т - трёхлучевой, А- анкер,
С - со скосом, 5,0 - длина в метрах. Маркировка консоли КИС: К - консоль, И -
изолированная, С - стальная. Маркировка фиксаторов ФИП: Ф - фиксатор
сочлененный, П - прямой, О - обратный, 1 - обозначение типоразмера стержня
фиксатора.
План контактной сети приведен в Приложении А.
2. Оценка
риска отказа участка контактной сети
Железнодорожный транспорт по показателям грузоперевозок занимает одно из
лидирующих положений в России. Состояние защищенности процесса движения
железнодорожного подвижного состава и самого железнодорожного подвижного
состава, при котором отсутствует недопустимый риск возникновения транспортных
происшествий и их последствий, влекущих за собой причинение вреда жизни или
здоровью граждан, вреда окружающей среде, имуществу физических или юридических
лиц − это безопасность движения и эксплуатации железнодорожного
транспорта [24].
Основная задача управления рисками на железнодорожном транспорте −
достижение и поддержание допустимого уровня риска при обеспечении
функциональной безопасности объектов инфраструктуры и подвижного состава [25].
Следовательно, необходимо непрерывно повышать надежность и функциональную
безопасность технических средств, входящих в состав объектов инфраструктуры и
подвижного состава.
Допустимый уровень риска для конкретного опасного события определяют с
целью формулировки разумных критериев частоты (или вероятности) опасного
события и его последствий, которые в дальнейшем могут быть использованы при
оценивании риска [26].
Контактная сеть как важнейший элемент инфраструктуры электрифицированных
железных дорог должна обладать высокими показателями надежности. Техническое
состояние элементов и устройств контактной сети оказывает прямое влияние на
безопасность движения поездов. Для обеспечения достаточного уровня надежности
контактной сети и выявления недопустимых рисков отказов могут применяться
различные методики [27].
В основе методики оценки рисков контактной сети лежит матрица рисков
отказов. Матрица рисков − инструмент, позволяющий ранжировать и отражать
риски путем определения уровней частот и тяжести последствий [25]. Матрица
рисков дает информацию в наглядной форме об уровнях рисков для конкретного
события.
Оценка рисков позволяет получить достоверную информацию для анализа с
целью принятия обоснованных решений при определении уровня риска и дальнейшем
выборе оптимальных способов обработки риска [29].
Оценка рисков включает в себя различные этапы: идентификация риска.
Идентификация риска − процесс нахождения, составления перечня и описания
элементов риска [25]; анализ риска, включающий анализ частот и анализ
последствий, а также определение (оценивание) уровня риска (построение матрицы
рисков на основе результатов анализа риска). Матрица рисков помогает правильно
расставить приоритеты в определении мер, направленных на обработку и управление
риском.
Проведение оценки рисков необходимо для описания риска и его возможного
воздействия на объект железнодорожного транспорта; предоставления необходимой
информации лицам, принимающим решения; получения информации, позволяющей
оценить допустимость риска после сравнения с предварительно установленными
критериями; выбора оптимальных способов обработки риска.
Принятию верных решений в процессе управления рисками способствует учет
неопределенности условий и возможности наступления определенных событий или
обстоятельств в будущем (запланированных или нет), а также их влияние на
достижение поставленных целей ОАО «РЖД» [29].
Опоры контактной сети является одним из главных элементов, от срока
службы которой зависит надежность всей магистрали [22,23]. При определении СЖЦ,
например, опоры контактной сети (КС) железнодорожного транспорта, исходя из
сметы на строительно-монтажные работы, становятся известны размеры годовых
эксплуатационных расходов, сопутствующих единовременных затрат, ликвидационная
стоимость объекта, период жизненного цикла, но расчет лимитной цены и
коэффициента дисконтирования выполняется пошагово.
Помимо непосредственного определения стоимости жизненного цикла,
необходимо находить оптимальные решения по ее уменьшению. Число неизвестных в
задаче оптимизации параметров всегда больше числа уравнений. Оптимальное
решение может быть получено для заданного типа подвижного состава, скорости
движения, конкретного месторасположения анкерного участка, так как в процессе
взаимодействия анкерный участок ведет себя как единое целое. Учитывая конечную
скорость распространения колебаний вдоль подвески и ее соизмеримость со
скоростью движения, можно с полной уверенностью охарактеризовать систему
«анкерный участок-токоприемники» как объект с памятью. Последнее означает, что
мгновенное значение силы нажатия на любом токоприемнике зависит не только от
приложенных в текущий момент сил, но и от состояния системы в предыдущие
моменты времени и величин сил в эти моменты времени. Одним из сильных
возмущающих факторов является вход токоприемников в переходной пролет анкерного
участка.
Параметры этого входа зависят от многих местных особенностей. Поэтому
оптимальная регулировка различных анкерных участков, расположенных друг за
другом по одному и тому же пути, будет различной (даже для одного и того же
типа). То, что оптимально в одном случае, не станет таковым в другом.
Необходимо учитывать вероятностную природу событий: параметры
токоприемников и скорости движения ЭПС, случайный характер внешних нагрузок и
разрегулировок. Можно добиться «стохастической» оптимальности, когда
оптимальный режим работы (максимальный ресурс, лучшие показатели качества
токосъема) будет обеспечиваться для системы в целом с учетом законов
распределений случайных величин и функций, описывающих поведение отдельных
элементов. Но для каждой отдельной реализации оптимальность может быть никогда
не достигнута. Достижение оптимальности можно будет оценить по некоторым
интегральным показателям, таким, например, как накопленный износ контактного
провода.
2.1
Исходные данные для расчета
Таблица 2.1.1
Исходные данные
|
Интервал наблюдения
|
3 года
|
|
Тип проекта анкерных
участков
|
КС-120
|
|
Количество перегонных
анкерных участков
|
2
|
|
Количество отказов
контактной сети на участке
|
3 первой категории и 2
третьей категории
|
|
Продолжительность
устранения отказов до возобновления движения
|
2,35 час
|
|
Ущерб, соответствующий
рассматриваемую риску
|
задержка поездов, час
|
|
Допустимый уровень риска
|
задержка поездов на
перегоне
|
2.2 Расчет
оценки риска отказа участка контактной сети
Найдем интенсивность отказов первой категории для заданного участка:
(2.1.1)
Где λ - интенсивность отказов,- количество отказов 1 категории,
Tнаб - интервал наблюдения, год.
Определим интенсивность отказов для заданного события по выражению:
(2.1.2)
Найдем
эталонную интенсивность отказов (на 1 эталонный объект) для заданного события
по формуле:
(2.1.3)
Где kк - переводный коэффициент для эталонных объектов
контактной сети, зависимый от вида контактной сети = 2,5;
Kc - переводный коэффициент для эталонных объектов контактной
сети зависимый от срока эксплуатации = 1,4;A - количество эталонных
анкерных участков.
Найдем величину ущерба на один отказ по формуле:
(2.1.4)
Где r - количество отказов 1-й категории;
С∑ - продолжительность устранения отказов до
возобновления движения.
Определим уровень риска на один эталонный объект по формуле:
(2.1.5)
Данный
риск означает, что на рассматриваемом участке один эталонный объект может
привести к задержке поездов на время 0,3 часов в год. Определим уровень риска
для участка в целом:
(2.1.6)
Выполним
оценивание риска. Так как допустимый риск задан, проведем сравнение
рассчитанного значения с допустимым.
Исходя
из полученных значений:уч = 0,171, а Rдоп = 1 и Rуч˃
Rдоп,
Следовательно,
риск является недопустимым.
Построение
матрицы рисков
Построим
матрицу рисков для заданного события и рассматриваемого участка. Для этого
зададим ось частот. Поскольку у нас отсутствует необходимое количество
статистических данных, выберем шаг шкалы частот, равный 2,5, и примем, что
частота рассматриваемого события находится в середине области «вероятное» шкалы
частот (при этом нижняя (верхняя) граница области «вероятное» будет меньше
(больше) интенсивности на половину шага, или в 2,5 раз, а границы областей
будут отличаться на один шаг, то есть в 2,5 раза.
В
результате получим следующие значения, соответствующие шести уровням шкалы
частот:
Зададим
шкалу последствий. Выберем коэффициент шкалы последствий равным 4 и примем, что
ущерб, равный 1 часу задержки поезда соответствует границе уровней тяжести
последствий «критический» и «катастрофический». Получаем следующие значения,
соответствующие четырем уровням шкалы последствий:
катастрофический:
1 час <C ≤ 4 час;
критический:
0,25 час <C ≤ 1 час;
несущественный:
0,063 час <C ≤ 0,25 час;
незначительный:
0,016 час <C ≤ 0,063 час.
Перемножив
шаги шкал частот и последствий, получим коэффициент уровней рисков, равный 10.
Определим границы, соответствующие 4-м категориям риска:
Выполним
ранжирование ячеек матрицы. Перемножим верхние значения частоты и тяжести
последствий, соответствующие каждой ячейке, в зависимости от результата
назначим ей требуемую категорию.
Заключение
по разделу
Поскольку полученная матрица содержит ячейки со всеми четырьмя возможными
уровнями риска, то она удовлетворяет условию совместности. Если полученная
матрица не удовлетворяет данному условию, то тогда проводят корректировку шкал
частот и последствий и повторяют ранжирование ячеек.
Далее определим ячейку матрицы, в которую попадает рассчитанный выше
риск. Имеем частоту 0,22 год и тяжесть последствий 0,78 час. Отложим на
соответствующих осях эти числовые значения, их пересечение находится в
выделенной ячейке приложение 1. Поскольку полученный уровень риска больше
допустимого уровня, то риск является недопустимым и соответственно требуется
принятие решения по исключению риска и необходимости его обработки.
Реальный риск идентифицирован как недопустимый, а, следовательно,
необходимо принять меры для его устранения и произвести перерасчет контактной
подвески. После выявления риска должны приниматься меры для снижения его уровня
до допустимого.
контактный сеть нагрузка опора
3. Определение стоимости жизненного цикла опоры контактной
сети
В современных рыночных условиях перед производителем стоит задача
разработать надежную в эксплуатации, конкурентоспособную в техническом и
ценовом плане продукцию и при этом оптимизировать затраты на ее содержание.
Решение о приобретении принимается не только с учетом первоначальных
инвестиций, но и с учетом ожидаемых затрат на весь цикл эксплуатации, включая
утилизацию. В идеальном случае процесс оптимизации затрат должен начинаться при
приобретении продукции и развиваться далее таким образом, чтобы включать в себя
все затраты, возникающие в течение всего срока службы. Все решения, принимаемые
на стадии разработки проекта и в процессе изготовления продукции должны учитывать
такие моменты, как производительность, надежность, функциональность продукции,
легкость в ремонте и его необходимость и т.д. Именно это и определяет в
конечном счете цену продукции, а также затраты на ее обслуживание и утилизацию
[19, 20, 21].
Все работы по обслуживанию инфраструктуры строятся сегодня на основе
нормативного срока службы технического средства, без учета его текущего
состояния. В стандарте освещается смысл и задачи определения стоимости
жизненного цикла и в целом представлены общие действия, связанные с этим
процессом, а также определены типичные факторы, влияющие на стоимость
жизненного цикла. Главными задачами определения стоимости жизненного цикла
являются [20]:
- оценка и сравнительный анализ альтернативных проектов, а также концепций
и технологий по утилизации;
- оценка рентабельности продукции/проектов;
- идентификация факторов, определяющих увеличение издержек, и улучшений,
требующих затрат;
- оценка и сравнительный анализ альтернативных стратегий использования,
эксплуатации, контроля, инспектирования, ремонта продукции и т.д.;
- оценка и сравнительный анализ различных способов замены,
санации/продления срока службы или утилизации выработавших срок службы
приборов;
- распределение доступных средств по конкурирующим между собой приоритетам
в разработке/улучшении продукции;
- оценка и сравнительные изыскания критериев безопасности продукции
методом проверки;
- долгосрочное финансовое планирование.
Составляющие СЖЦ в течение жизненного цикла объекта с точки зрения
поставщика и потребителя представлены на рисунке.
При расчете СЖЦ для принятия экономически эффективных решений в области
инвестиций, реновации, технического обслуживания и утилизации объекта
существует проблема сбора объективных исходных данных по текущим затратам.
Например, в ОАО «РЖД» учет затрат ведется на уровне линейных предприятий, а не
пообъектно, что не позволяет достаточно точно рассчитать текущие затраты в
привязке к конкретным километрам железнодорожного пути. Существует также
проблема соотнесения данных между управленческой и бухгалтерской отчетностью
предприятия. Все вышеперечисленные проблемы достаточно серьезно осложняют
использование технологии оценки СЖЦ в текущей производственной деятельности
предприятий.
Следует понимать связь между стоимостью жизненного цикла и надежностью
продукции. Высокие затраты на начальном уровне могут обеспечить лучшую
функциональность и/или ремонтопригодность и как следствие лучшую готовность с
последующим снижением эксплуатационных затрат [19]. Вместе с тем, взаимосвязь
между параметрами надежности и стоимостью жизненного цикла в стандарте
рассмотрена лишь концептуально на уровне общих статей затрат на техническое
обслуживание и ремонт. При этом не учитывается то обстоятельство, что повышение
эффективности управления техническим содержанием инфраструктуры лежит в области
перехода от нормативного подхода к управлению по текущему состоянию. В этом
случае необходимо опираться на текущие значения показателей надежности и
функциональной безопасности объектов инфраструктуры.
Важное значение в оптимизации методологии управления стоимостью
жизненного цикла принадлежит вопросам оценки рисков, вызванных нерациональным
распределением ресурсов на техническое содержание. В целом, задача управления
стоимостью жизненного цикла носит комплексный характер во взаимосвязи с
надежностью, безопасностью и связанными с ними рисками.
3.1
Исходные данные
Исходные данные для определения стоимости жизненного цикла опоры
контактной сети предоставлены в таблице 3.1.1.
Таблица 3.1.1
Исходные данные
|
Железобетонная опора
|
|
Срок службы
|
50 лет
|
|
Ставка дисконтирования
|
5%
|
|
Стоимость оборудования
|
77 тыс. руб.
|
|
Стоимость доставки
|
40тыс. руб.
|
|
Затраты на установку
|
70тыс. руб.
|
|
Затраты на утилизацию
|
50тыс. руб.
|
|
Доходы от утилизации
|
9тыс. руб.
|
|
Затраты на текущий ремонт
заданного тех. средства
|
18тыс. руб.
|
|
Затраты на капитальный
ремонт
|
9,2 тыс. руб.
|
|
Затраты на текущий ремонт
|
8,8тыс. руб.
|
|
Затраты на отказ
|
25тыс. руб.
|
|
Затраты на оценку состояния
|
7,9 тыс. руб.
|
|
Затраты на документальное
оформление
|
1,65 тыс. руб.
|
3.2 Расчет стоимости жизненного цикла
Определим коэффициент дисконтирования по формуле:
(3.1.1)
Где Е - ставка дисконтирования;
t - время.
Таблица 3.1.1
Результаты расчетов коэффициента дисконтирования
|
αП1
|
αП2
|
αП3
|
αП4
|
αП5
|
αП6
|
αП7
|
αП8
|
αП9
|
αП10
|
|
0,952
|
0,907
|
0,864
|
0,823
|
0,784
|
0,746
|
0,711
|
0,677
|
0,654
|
0,614
|
|
αП11
|
αП12
|
αП13
|
αП14
|
αП15
|
αП16
|
αП17
|
αП18
|
αП19
|
αП20
|
|
0,585
|
0,557
|
0,53
|
0,505
|
0,481
|
0,458
|
0,436
|
0,416
|
0,396
|
0,377
|
|
αП21
|
αП22
|
αП23
|
αП24
|
αП25
|
αП26
|
αП27
|
αП28
|
αП29
|
αП30
|
|
0,359
|
0,342
|
0,326
|
0,31
|
0,259
|
0,281
|
0,268
|
0,255
|
0,243
|
0,231
|
|
αП31αП32αП33αП34αП35αП36αП37αП38αП39αП40
|
|
|
|
|
|
|
|
|
|
|
0,22
|
0,21
|
0,2
|
0,19
|
0,181
|
0,173
|
0,164
|
0,149
|
0,142
|
|
αП41
|
αП42
|
αП43
|
αП44
|
αП45
|
αП46
|
αП47
|
αП48
|
αП49
|
αП50
|
|
0,135
|
0,129
|
0,123
|
0,117
|
0,111
|
0,106
|
0,101
|
0,096
|
0,092
|
0,087
|
Затраты на приобретение объекта:
(3.1.2)
Где Соб - стоимость оборудования;
Суст - стоимость установки;
Сдат - стоимость доставки.
Затраты,
связанные с утилизацией в конце срока службы:
(3.1.3)
Утилизация
объекта:
,(3.1.4)
Где Сдем - стоимость демонтажа, равная стоимость установки
деленная на 2;
Свыв - стоимость вывоза, равная стоимость установки деленная
на 2;
Сут - стоимость утилизации;
Дут - доходы от утилизации.
Затраты на технологическое обслуживание:
(3.1.5)
Где Смм - затраты на материалы и механизмы;
СМиО - затраты на машины и оборудование;
Ст - затраты на топливо;
,03 - вероятность дополнительных затрат на тех. обслуживание в случае
замены.
Приведенные затраты на техническое обслуживание:
(3.1.6)
Таблица 3.1.2
Результаты расчетов затрат на техническое обслуживание, тыс. руб.
|
Спто1
|
Спто2
|
Спто3
|
Спто4
|
Спто5
|
Спто6
|
Спто7
|
Спто8
|
Спто9
|
Спто10
|
|
18,187
|
17,321
|
16,496
|
15,71
|
14,962
|
14,25
|
13,571
|
12,925
|
12,31
|
11,732
|
|
Спто11Спто12Спто13Спто14Спто15Спто16Спто17Спто18Спто19Спто20
|
|
|
|
|
|
|
|
|
|
|
11,165
|
10,633
|
10,127
|
9,645
|
9,186
|
8,748
|
8,332
|
7,935
|
7,557
|
7,197
|
|
Спто21
|
Спто22
|
Спто23
|
Спто24
|
Спто25
|
Спто26
|
Спто27
|
Спто28
|
Спто29
|
Спто30
|
|
6,854
|
6,528
|
6,217
|
5,921
|
5,639
|
5,371
|
5,115
|
4,871
|
4,639
|
4,418
|
|
Спто31
|
Спто32
|
Спто33
|
Спто34
|
Спто35
|
Спто36
|
Спто37
|
Спто38
|
Спто39
|
Спто40
|
|
4,208
|
4,008
|
3,817
|
3,635
|
3,462
|
3,297
|
3,14
|
2,991
|
2,848
|
2,713
|
|
Спто41Спто42Спто43Спто44Спто45Спто46Спто47Спто48Спто49Спто50
|
|
|
|
|
|
|
|
|
|
|
2,583
|
2,46
|
2,343
|
2,232
|
2,125
|
2,024
|
1,928
|
1,836
|
1,749
|
1,665
|
Сумма Спто = 348,619тыс. руб.
Затраты на плановые виды ремонта:
(3.1.7)
Где Стр - затраты на текущий ремонт;
Скр - затраты на капитальный ремонт.
Приведенные
затраты на плановые виды ремонта:
(3.8)
Таблица 3.1.3
Результаты расчетов затрат плановые виды ремонта, тыс. руб.
|
Сппл1Сппл2Сппл3Сппл4Сппл5Сппл6Сппл7Сппл8Сппл9Сппл10
|
|
|
|
|
|
|
|
|
|
|
18,187
|
17,321
|
16,496
|
15,71
|
14,962
|
14,25
|
13,571
|
12,925
|
12,31
|
11,723
|
|
Сппл11
|
Сппл12
|
Сппл13
|
Сппл14
|
Сппл15
|
Сппл16
|
Сппл17
|
Сппл18
|
Сппл19
|
Сппл20
|
|
11,165
|
10,633
|
10,127
|
9,645
|
9,186
|
8,748
|
8,332
|
7,935
|
7,557
|
7,197
|
|
Сппл21
|
Сппл22
|
Сппл23
|
Сппл24
|
Сппл25
|
Сппл26
|
Сппл27
|
Сппл28
|
Сппл29
|
Сппл30
|
|
6,854
|
6,528
|
6,217
|
5,921
|
5,639
|
5,371
|
5,115
|
4,871
|
4,639
|
4,418
|
|
Сппл31
|
Сппл32
|
Сппл33
|
Сппл34
|
Сппл35
|
Сппл36
|
Сппл37
|
Сппл38
|
Сппл39
|
Сппл40
|
|
4,208
|
4,008
|
3,817
|
3,635
|
3,462
|
3,297
|
3,14
|
2,991
|
2,848
|
2,713
|
|
Сппл41Сппл42Сппл43Сппл44Сппл45Сппл46Сппл47Сппл48Сппл49Сппл50
|
|
|
|
|
|
|
|
|
|
|
2,583
|
2,46
|
2,343
|
2,232
|
2,125
|
2,024
|
1,928
|
1,836
|
1,749
|
1,665
|
Сумма Сппл = 348,619тыс. руб.
Затраты в связи с отказом объекта:
(3.1.9)
Где С1ч - стоимость одного часа простоя;
tot - время простоя.
(3.1.10)
Где Кп - коэффициент простоя;
ФРВ - фонд рабочего времени;
Сро - затраты на ремонт после отказа.
(3.1.11)
Где (ѳ) - затраты на отказ.
Приведенные
затраты ремонта после отказа:
(3.1.12)
Таблица 3.1.4
Значения приведенных затрат, связанных с отказом объекта, в зависимости
от αп
|
αп
|
0,952
|
0,907
|
0,864
|
0,823
|
0,784
|
0,746
|
0,711
|
0,677
|
0,654
|
0,614
|
|
Спо
|
0,253
|
0,241
|
0,229
|
0,218
|
0,208
|
0,198
|
0,188
|
0,18
|
0,171
|
0,163
|
|
αп0,5850,5570,530,5050,4810,4580,4360,4160,3960,377
|
|
|
|
|
|
|
|
|
|
|
|
Спо
|
0,155
|
0,148
|
0,141
|
0,134
|
0,128
|
0,122
|
0,116
|
0,11
|
0,105
|
0,1
|
|
αп0,3590,3420,3260,310,2590,2810,2680,2550,2430,231
|
|
|
|
|
|
|
|
|
|
|
|
Спо
|
0,095
|
0,091
|
0,086
|
0,082
|
0,078
|
0,075
|
0,071
|
0,068
|
0,064
|
0,061
|
|
αп0,220,210,20,190,1810,1730,1640,1570,1490,142
|
|
|
|
|
|
|
|
|
|
|
|
Спо
|
0,058
|
0,056
|
0,053
|
0,05
|
0,048
|
0,046
|
0,044
|
0,042
|
0,04
|
0,038
|
|
αп0,1350,1290,1230,1170,1110,1060,1010,0960,0920,087
|
|
|
|
|
|
|
|
|
|
|
|
Спо
|
0,036
|
0,034
|
0,033
|
0,031
|
0,03
|
0,028
|
0,027
|
0,025
|
0,024
|
0,023
|
Сумма Спо = 4,842тыс. руб.
Стоимость жизненного цикла (tоб = 50лет)
(3.1.13)
Заключение
по разделу
В данном разделе рассмотрены: затраты на приобретение объекта (187 тыс.
руб.), затраты связанные с утилизацией в конце срока службы (9,657тыс. руб.),
затраты на технологическое обслуживание (18,54 тыс. руб.), затраты на плановые
виды ремонта (348,619тыс. руб.), затратынаремонтпосле отказа (4,842тыс. руб.),
затраты в связи с отказом объекта (0,258 тыс. руб.), стоимость жизненного
циклаоборудованиядля 50 лет(898,737 тыс. руб.).
4.
Безопасность жизнедеятельности
4.1
Безопасность производства работ при замене опор
4.1.1
Основные причины замены опор и возможные опасности при работе
Основной причиной замены опор контактной сети является ее непригодность.
В ненадлежащее состояние опоры приходят в большем числе случаев в результате
коррозии. Под действием самопроизвольно возникающих токов микро- или макропар
анодные участки металла разрушаются в соответствии с первым законом Фарадея. По
тому же закону происходят и крайне опасные - электро-коррозионные разрушения.
Они возникают в тех случаях, когда между металлом и внешней электролитической
средой приложен внешний источник - плюсовым выводом к металлу. Вся
металлическая поверхность при электро-коррозии становится анодом, а катодом
служит тот заземлитель, который соединяет минусовый вывод источника с
электролитом. В результате опора с течением времени разрушается, и может
предоставлять угрозу. В связи с этим следует производить своевременную замену
опор.
Основной опасностью при работе на путях является наезд подвижного
состава. За 9 лет травмировано 339 человек, 122 из них при содержании и ремонте
пути. Так же во время установки опоры возможно падение или смещение опоры,
попадание искр на изоляторы, провода, при выполнении сварочных работ.
4.1.2
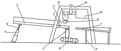
Переработка и утилизация железобетонных опор
После замены опор старые следует утилизировать. Этот процесс происходит
при использовании специального оборудования. Устройство предназначено для
утилизации бывших в употреблении и отслуживших свой срок железобетонных шпал, а
также бракованных железобетонных шпал. Установка содержит питатель, щековую
дробилку, разгрузочный ленточный конвейер, железоотделитель, при этом щековая
дробилка установлена на раме так, что подвижная дробящая плита расположена со
стороны загрузки дробилки и образует с плоскостью ленты разгрузочного конвейера
тупой угол.
Рисунок 4.1 - Агрегат для переработки железобетонных конструкций
- Загрузочная платформа, 2 - корпус, 3 - силовая плита, 5 - упругая
опора, 6 - стойка, 7 - железоотделитель, 8 - транспортер, 9 - упругая опора, 10
- верхняя балка, 11 - механизм в виде молота, 12 - силовая плита
Агрегат предназначен для переработки железобетонных конструкций в
промышленности строительных материалов. Загрузочная платформа агрегата с
силовой плитой установлена под наклоном на упругих опорах. Над силовой плитой
расположен ударный механизм в виде молота вибрационно-резонансного действия. За
силовой плитой с интервалом расположена направляющая. Транспортер установлен в
интервале ниже уровня силовой плиты. Изобретение упрощает конструкцию и
позволяет повысить скорость обработки и улучшить качество полученного
вторсырья.
Разгрузочным конвейером материал и арматура транспортируются к
разгрузочной части установки. Над разгрузочным барабаном, параллельно движению
ленты конвейера, установлен саморазгружающийся железоотделитель с помощью
которого происходит выделение металлической арматуры и закладных металлических
деталей из потока дробимого материала.
Таким образом, полезная модель позволяет утилизировать железобетонные
шпалы путем дробления, с выделением металлической арматуры и закладных деталей
и получение дробленного бетонного щебня.
4.1.3
Организационные и технические мероприятия, обеспечивающие безопасность работ
при замене опор
Перед началом проведения работ необходимо провести следующие
организационно-технические мероприятия [5]:
накануне работ, передать заявку энергодиспетчеру на выполнение работ со
снятием напряжения в зоне работ; с применением изолирующей съемной вышки и предоставление
«окна» в движении поездов, с указанием времени, места и характера работ.
получить наряд на производство работ и инструктаж от лица, выдавшего
наряд.
До начала работ на месте уточнить длину анкерного участка, особенности
его расположения (наличие кривых, искусственных сооружений, разъединителей и
др.).
получить приказ энергодиспетчера с указанием о снятии напряжения в зоне
работы и закрытии пути для движения поездов, времени начала и окончания работ
(«окна»). При работе на станционных путях согласовать ее выполнение с дежурным
по станции, оформив запись в «Журнале осмотра путей, стрелочных переводов,
устройств СЦБ, связи и контактной сети».
по прибытии на место работы провести текущий инструктаж по технике
безопасности всем членам бригады с росписью каждого в наряде. Четко
распределить обязанности между исполнителями.
заземлить провода и оборудование, с которых снято напряжение, переносными
заземляющими штангами с обеих сторон места работы в соответствии с нарядом.
осуществить допуск бригады к производству работ
4.2
Экспертиза дипломного проекта на соответствие требований безопасности и
экологичности
4.2.1
Промышленная санитария (гигиена труда)
Основными опасными и вредными производственными факторами, из
рассматриваемых нами, по природе действия являются физические и
психофизиологические. Воздействие этих факторов может вызвать как
профессиональные заболевания, так и производственный травматизм [10]. Вредными
факторами при производстве работ на контактной сети являются [9]: - постоянная
работа на открытом воздухе;
шум, рабочая поза;
эмоциональное напряжение;
воздействие электромагнитного поля
перемещения пешком, обусловленные технологией работ (10-17 км по норме),
большая физическая нагрузка.
Выполнение работ на устройствах контактной сети, линиях автоблокировки и
продольного электроснабжения производится на открытом воздухе, независимо от
времени года и температуры окружающей среды. При этом работники могут
подвергаться воздействию различных неблагоприятных природно-климатических
факторов (холод, жара, ветер, гроза, дождь, туман, снегопад). Воздействие
неблагоприятных погодных факторов увеличивается необходимостью работать на
высоте, где скорость ветра выше, а это приводит к более сильному охлаждению
организма.
При работе на открытом воздухе необходима защита работающих от
неблагоприятных климатических факторов. Это осуществляется обеспечением
персонала комплектами теплой одежды (теплозащитным костюмом «Энергетик»,
валенками, зимней шапкой со звукопроводными вставками, меховыми рукавицами).
Также устанавливают ограничения в работе при ветре со скоростью 12 м/с, дожде,
тумане. При отрицательной температуре предусмотрены технологические перерывы
через определенные промежутки времени в зависимости от погодных условий. Работа
на контактной сети и воздушных линиях 6-10 кВ требует особого внимания и
бдительности. Электромонтер контактной сети находится в постоянном
эмоциональном напряжении: − опасность падения с высоты; − опасность
поражения электрическим током высокого напряжения; − опасность наезда
подвижного состава. В течение почти всего рабочего дня труд электромонтеров
связан с риском для собственной жизни и жизни других членов бригады. В связи с
этим от персонала требуется напряжение функции внимания, слухового и
зрительного анализаторов. При этом высокие требования предъявляются к
сосредоточению, переключению и распределению внимания. Персонал вынужден
постоянно осуществлять контроль над положением собственного 90 тела в
пространстве и за согласованностью своих действий с другими членами бригады. Физическая
тяжесть труда по большинству видов проводимых работ относится, в соответствии с
СанПиН 2.2.4.3359-16, к категории средней тяжести с уровнем энергозатрат 150 −
250 кКал/ч (II категории). Наряду с этим, имеется значительная часть работ,
которая относится к физически тяжелым − III категории тяжести при уровне
энергозатрат 250 − 300 кКал/ч и более (подъем и перенос лейтера весом
100-150 кг до 10 раз в час, работа с блоками, вырезка несущего троса,
затаскивание на лейтер изоляторов, натяжение вручную контактного провода и
другое). Хронометражные исследования показали, что при работе на высоте 58%
операций выполняется со значительными физическими усилиями и до 40% времени
электромонтеры находятся в неудобной позе (согнувшись или сидя на несущем тросе
с поднятыми над головой руками). Во время проведения технологических «окон»
физическая нагрузка и эмоциональное напряжение увеличиваются из-за
необходимости выполнения технологических операций за ограниченное количество
времени (работа в «окно»).
Для облегчения работы электромонтера в конструкцию пояса нельзя
закладывать твердые жесткие вставки, сдавливающие и нарушающие кровоснабжение
поясницы. Пояс должен иметь легкую удобную регулировку размера [14]. Во время
работы у контактного провода без снятия напряжения персонал находится в зоне
электромагнитного поля, величина которого значительно изменяется в зависимости
от расстояния рабочего места от контактного провода и применяемой позы. На
рабочих местах электромонтеров, находящихся у контактного провода переменного
тока 27,5 кВ, напряженность электромагнитного поля колеблется от 4,5 до 19,5
кВ/м. С увеличением расстояния от провода напряженность электромагнитного поля
быстро падает, в среднем составляя 4,5 кВ/м (СанПиН 2.2.4.3359-16, при
восьмичасовом воздействии допускается 5 кВ/м). Контактный провод на участках
постоянного тока создает электромагнитное поле, уровень которого на рабочем
месте ниже 91 уровня электромагнитного поля при переменном токе и по расчетным
данным не превышает действующий предельно допустимый уровень (ПДУ). В течение
всей смены трудовой процесс осуществляется на фоне шума от проходящих поездов,
эквивалентный уровень звука от них достигает 78 дБА при ПДУ − 80дБА
(СанПиН 2.2.4.3359-16).
Таким образом, условия труда электромонтеров контактной сети по
нервно-эмоциональной напряженности трудового процесса и показателям физической
тяжести, в соответствии с гигиеническими критериями оценки условий труда по
показателям вредности и опасности факторов производственной среды, тяжести и
напряженности трудового процесса, относятся ко второй степени вредности
третьего класса (вредные). По показателям микроклимата (температуре и скорости
движения воздуха) открытых территорий, условий труда в холодный период года, в
зависимости от климатической зоны условия труда могут относиться как ко второму
классу (допустимые), так и к третьему классу (вредные) и при этом колебаться от
первой степени вредности до третьей, более высокой, степени. По уровню шума
условия труда относятся ко второму классу (допустимые), по уровню
напряженности, как правило, ко второму классу (допустимые), а иногда − к
первой степени вредности третьего класса.
Для создания нормальных условий труда и отдыха персонала в составе
специальных санитарно-бытовых помещений должны предусматриваться: душевая,
гардеробная с раздельными шкафами для хранения чистой и рабочей одежды, шкаф
для сушки спецодежды, помещение для обогрева и кратковременного отдыха. Там же
должна иметься в наличии аптечка с набором медикаментов. Рекомендуется
обеспечивать бригады, работающие на линии, термосами повышенной прочности. В
дрезине и автолетучке следует предусмотреть шкафы для хранения продуктов
питания и термосов, стол для приема пищи и устройство для ее подогрева. В целях
предупреждения и раннего обнаружения изменения состояния здоровья все
электромонтеры должны проходить периодические медицинские 92 осмотры в
соответствии с действующими приказами, также электромонтеры должны ежемесячно
получать надбавки к заработной плате и дополнительные дни к ежегодному отпуску.
4.2.2 Безопасность
труда
Опасными факторами при производстве работ на контактной сети являются
[9]:
работа с повышенной опасностью, высоким напряжением в контактной сети, ВЛ
автоблокировки и продольного электроснабжения;
работа в условиях движения подвижного состава на путях;
работа на высоте;
работа с грузоподъемными механизмами.
При работе необходимо использовать приспособления, которые по
показателям, характеристикам и нормам испытания подходят для данной работы.
Иначе при нагрузке приспособления (полиспасты, зажимы, муфты) может произойти
их обрыв или излом, что может привести к механической или электрической 93
травме. Все токоведущие части имеют изоляцию от несущих конструкций.
Разъединители контактной сети имеют блокировки от случайного включения.
Безопасность движения ЭПС обеспечивается еще на стадии проектирования,
когда выбираются длины пролетов по условиям ветроустойчивости и качеству
токосъема, габариты опор в зависимости от места их установки, размер и
направление зигзагов, габариты контактной сети в искусственных сооружениях.
Также в процессе проектирования и монтажа контактной сети предусматриваются
мероприятия, предупреждающие падение опоры на путь. Для этого анкерные
железобетонные опоры укрепляют оттяжками, проводят антикоррозийные мероприятия.
Уменьшение электрокоррозии опор на участках постоянного тока достигается
использованием групповых заземлений с диодными заземлителями.
Для защиты от пробоя изоляции на опорах контактной сети предусмотрены
заземляющие спуски, прикрепленные к тяговому рельсу. Для предупреждения
поражения людей и защиты производственного оборудования от обрыва контактного
провода, предусмотрены быстродействующие защиты, которые отключают
быстродействующие автоматы на тяговых подстанциях, постах секционирования и
пунктах параллельного соединения за очень короткое время. Все работы на
контактной сети производятся с обязательным ограждением места работ.
Персоналу, производящему работы на контактной сети выдаются сигнальные
жилеты для обеспечения безопасности работы. На путепроводах и пешеходных
мостах, расположенных над электрифицированными путями, устанавливаются
предохранительные щиты для ограждения частей контактной сети и воздушных линий,
находящихся под напряжением. Безопасность производственных процессов
достигается путем совершенствования технологии работ, применением машин и
механизмов и выполнением организационно-технических мероприятий, а также
применением электрозащитных средств.
Вновь поступившие работники обучаются охране труда с последующей
проверкой знаний и стажировкой. При прохождении стажировки работники
закрепляются за опытными электромонтерами, имеющими стаж работы не менее трех
лет и пятую группу по технике безопасности. Наряду с теоретической подготовкой
необходимо проводить с электромонтерами практические занятия на полигонах по
выработке прочных навыков безопасного выполнения работ, отработке реакций.
Рекомендуется проводить конкурсы мастерства бригад и обмена опытом. При разборе
несчастных случаев необходимо устанавливать не только виновных, но и мотивы, причины
и побуждения, приведшие к нарушению инструкции и к травмам.
4.2.3
Безопасность при чрезвычайных ситуациях
К чрезвычайным ситуациям на контактной сети относят происшествия [7]:
аварийная поломка устройств контактной сети;
пожар вблизи контактной сети;
террористический акт.
Обрыв контактного провода или поломку устройств контактной сети
необходимо устранить в короткие сроки по технологическим картам на данный вид
работ с минимальной задержкой движения пассажирских и грузовых поездов.
Непосредственно устройства и провода контактной сети пожаробезопасны, но
необходимо соблюдать меры электробезопасности при тушении пожара вблизи
контактной сети. При возникновении пожара вблизи контактной сети, воздушных
линий (ВЛ) и связанных с ними устройств, необходимо немедленно сообщить об этом
поездному диспетчеру, энергодиспетчеру или работникам района контактной сети и
в пожарную охрану. До снятия напряжения с контактной сети или ВЛ, тушение
горящих предметов, крыши, стенок локомотива, автомотрисы, вагонов и груза, находящихся
на расстоянии, менее 2 м от контактной сети и проводов ВЛ, разрешается
производить только углекислотно-бромэтиловыми, углекислотными, аэрозольными и
порошковыми огнетушителями, не приближаясь к проводам контактной сети и ВЛ
ближе 2 м. Тушение указанных горящих предметов водой, химическими, пенными или
воздушно-пенными огнетушителями можно производить только при снятом с
контактной сети напряжении с последующим ее заземлением.
При пожаре на однопутном или двухпутном перегонах напряжение должно быть
снято с контактных подвесок всех путей, проложенных по опорам контактной сети.
На трехпутных и многопутных перегонах, а также на станциях напряжение должно
быть снято с тех воздушных линий и контактных подвесок, которые расположены на
расстоянии менее 7 м от горящих предметов. При организации тушения пожара на
электрифицированных участках запрещается до снятия напряжения приближаться к
проводам и другим частям контактной сети и воздушных линий на расстояние менее
2 м, а к оборванным проводам контактной сети и ВЛ на расстояние менее 8 м до их
заземления.
Локомотивные бригады, проводники, машинисты и помощники машинистов
автомотрис должны быть обучены правилам пользования средствами пожаротушения и
способам тушения пожара вблизи проводов контактной сети и воздушных линий в
соответствии с действующими нормами пожарной безопасности. В каждом районе
контактной сети должно назначаться лицо, ответственное за пожарную безопасность
цеха.
Территория районов контактной сети должна систематически очищаться от
производственных и бытовых отходов, опавших листьев, травы, тополиного пуха.
Для предотвращения террористической угрозы выполняется ряд мероприятий:
организация охраны общественного порядка;
поддержание постоянной бдительности без элементов психоза, паники,
патологической подозрительности с привлечением общественности;
организация контроля над передвижением автотранспорта и его парковкой на
территории;
создание системы контроля над всеми помещениями на территории посредством
опечатывания с определением персональной ответственности.
При обнаружении подозрительного предмета - сумки или свертка, лежащего в
не предназначенном месте, необходимо сообщить в правоохранительные органы.
Отличительными признаками взрывного устройства могут являться торчащие провода,
антенна, изолента, наличие источника питания, шум внутри. При обнаружении
предмета с данными признаками, необходимо его осмотреть, не нарушая его
состояния, исключить использование радиопереговорных устройств и немедленно
сообщить о находке в органы внутренних дел, управление ГО и ЧС, либо ФСБ. При
анонимном звонке с угрозой совершения теракта, нужно получить как можно больше
информации от звонящего: о месте положения взрывного устройства, его типе,
времени взрыва, требованиях звонящего. Так же, запомнить время звонка, по
возможности - место, откуда произведен звонок, возраст звонящего, манеру его
общения, акцент и другую информацию. После звонка, поставить в известность об
угрозе правоохранительные органы и местное управление по ГО и ЧС [14].
Выводы по разделу
В данном разделе были рассмотрены технические мероприятия, безопасность
работ при установке опор, так же выявлены и отражены опасные воздействия на
рабочий персонал, во время работы на контактной сети. Были изучены методы
установки опор, а так же организационно-технические мероприятия при данном виде
работ. Был проведен анализ проекта на соответствие инструкции безопасности, а
так же характеристика вредных и опасных производственных факторов. Изучены
меры, принимаемые для обеспечения безопасности производственных процессов и
оборудования. Проведена экспертиза на соответствие требованиям экологичности.
В результате работ, выявлено, что дипломный проект соответствует
требованиям охраны труда и техники безопасности.
ЗАКЛЮЧЕНИЕ
В ходе выполнения дипломного проекта был модернизирован план данного
участка контактной сети. Было предложено заменить железобетонные опоры на
металлические. Металлические опоры более предпочтительные в силу многих своих
преимуществ перед железобетонными.
Рассчитана вероятность риска отказа опоры, составлена матрица рисков.
Поскольку полученная матрица содержит ячейки со всеми четырьмя возможными
уровнями риска, то она удовлетворяет условию совместности. Если полученная
матрица не удовлетворяет данному условию, то тогда проводят корректировку шкал
частот и последствий и повторяют ранжирование ячеек.
Далее определим ячейку матрицы, в которую попадает рассчитанный выше
риск. Имеем частоту 0,22 год и тяжесть последствий 0,78 час. Отложим на
соответствующих осях эти числовые значения, их пересечение находится в
выделенной ячейке на рисунке 3.1. Поскольку полученный уровень риска больше
допустимого уровня, то риск является недопустимым и соответственно требуется
принятие решения по исключению риска и необходимости его обработки.
Реальный риск идентифицирован как недопустимый, а, следовательно,
необходимо принять меры для его устранения и произвести перерасчет контактной
подвески. После выявления риска должны приниматься меры для снижения его уровня
до допустимого.
Определена стоимость жизненного цикла опоры, затраты на приобретение
объекта (187 тыс. руб.), затраты связанные с утилизацией в конце срока службы
(9,657тыс. руб.), затраты на технологическое обслуживание (18,54 тыс. руб.),
затраты на плановые виды ремонта (348,619 тыс. руб.), затраты на ремонт после
отказа (4,842 тыс. руб.), затраты в связи с отказом объекта (0,258 тыс. руб.),
стоимость жизненного цикла оборудования для 50 лет (898,737 тыс. руб.).
Рассмотрены технические мероприятия, безопасность работ при установке
опор, так же выявлены и отражены опасные воздействия на рабочий персонал,
вовремя работы на контактной сети. Были изучены методы установки опор, а так же
организационно-технические мероприятия при данном виде работ. Был проведен
анализ проекта на соответствие инструкции безопасности, а так же характеристика
вредных и опасных производственных факторов. Изучены меры, принимаемые для
обеспечения безопасности производственных процессов и оборудования. Проведена
экспертиза на соответствие требованиям экологичности. В результате работ, выявлено,
что дипломный проект соответствует требованиям охраны труда и техники
безопасности.
СПИСОК
ИСПОЛЬЗОВАННЫХ ИСТОЧНИКОВ
1. Марквардт
К.Г., Власов И.И. Контактная сеть. - М.: Транспорт, 1994.- 335 с.
2. Ефимов
А.В., Галкин А.Г., Полыгалова Е.А., Ковалев А.А. Контакные сети и ЛЭП:
Учебно-методическое пособие. Руководство к проектированию контактной сети.
Екатеринбург: УрГУПС, 2009. - 88 с.
. Фрайфельд
А.В., Брод Г.Н. Проектирование контактной сети. 3-е изд., перераб. и доп. - М.:
Транспорт, 1991. - 335 с.
. Правила
устройств и технической эксплуатации контактной сети электрифицированных
железных дорог. ЦЭ 868. -М.:Трансиздат, 2002. 184 с.
. Технологические
карты на работы по содержанию и ремонту устройств контактной сети и воздушных
линий электропередачи электрифицированных железных дорог. Книга I. Капитальный
ремонт. ЦЭ N197- 5/3. - М.: Трансиздат, 2012. - 572 с.
. Белинский
С.О., Кузнецов К.Б. Безопасность и экологичность при проектировании и
эксплуатации электроустановок: методическое пособие. - Екатеринбург: УрГУПС,
2006. - 35 с.
. Инструкция
по безопасности для электромонтеров контактной сети ЦЭ 761. - М.: Изд-во НЦ
ЭНАС, 2003. - 116 с.
. Борц
Ю.А., Чекулаев В.Е. Контактная сеть: Иллюстрированное пособие. - 2-е изд.,
перераб. и доп. - М.: Транспорт, 1981. 223 с.
. Правила
безопасности при эксплуатации контактной сети и устройств электроснабжения
автоблокировки железных дорог ЦЭ-750. - М.: Изд-во НЦ ЭНАС, 2003. - 48 с.
. Государственный
стандарт Союза ССР ГОСТ 12.0.003-74 "Система стандартов безопасности
труда. Опасные и вредные производственные факторы. Классификация" (утв.
постановлением Госстандарта СССР от 13 ноября 1974 г. N2551).
. Алексеева
Л.М. Экономическая эффективность мероприятий, направленных на повышение
скорости движения поездов: Методические указания. - Екатерин-бург: УрГУПС,
2010. - 22 с.
. Экономика
железнодорожного транспорта: Под редакцией Терешиной Н. П., Лапидуса Б.М.,
Трихункова. - М.; Транспорт, 2011.
. Методические
рекомендации по расчету экономической эффективности новой техники и технологии,
объектов интеллектуальной собственности и рационализаторских предложений (В
ред. Распоряжения ОАО "РЖД" от 10.11.2009 N2288р)
. Положение
о контроле по охране труда [Электронный ресурс]
. Каталог
арматуры контактной сети электрифицированных железных дорог. Департамент
электрификации и электроснабжения Министерства путей сообщения Российской
Федерации. - М., «ТРАНСИЗДАСТ», 2000 г. - 128.
. Галкин
А.Г., Ковалев А.А. Системы автоматизированного проектирования. Курс лекций. -
Екатеринбург: УрГУПС, 2009. - 92 с
. Санитарно-эпидемиологические
правила и нормативы СанПиН 2.2.4.3359-16 - Федеральная служба по надзору в
сфере защиты прав потребителей и благополучия человека - Москва. 2016
. Кузнецов
Б.Н., Васин В.К., Купаев В.И., Чернов Е.Д.. Безопасность жизнедеятельности.
Учебник для Вузов ж.д. транспорта- Москва, Маршрут, 2005 - 576 с.
19. Life
Cycle Cost And Good Practices. H. Paul Barringer, P.E.Barringer &
Associates, Inc. Humble, TX NPRA MAINTENANCE CONFERENCE May 19-22. - 1998. -
San Antonio Convention Center San Antonio. -Texas.
20. Технический
отчет ISO/IEC TR 19760. Первое издание 2003-11-15 Проектирование систем -
Руководство по применению ISO/IEC 15288 (Процессы жизненного цикла системы).
. Национальный
стандарт Российской Федерации ГОСТ Р 54504-2011. Безопасность функциональная.
Политика, программа обеспечения безопасности. Доказательство безопасности
объектов железнодорожного транспорта. - М.: Стандартинформ, 2012. - 38 с
. Галкин
А.Г. Применение контракта жизненного цикла для инфраструктурного комплекса
системы токосъема / А.Г. Галкин, А.А. Ковалев, А.В. Микава // Транспорт Урала.
- 2012. - № 3 (34). - С. 85-90.
. Галкин
А.Г., Ковалев А.А. Обслуживание опор контактной сети // Транспорт Урала. -
Екатеринбург, 2008. - № 1 (16). - С. 60-64
. СТО
РЖД 1.02.033-2010. Управление ресурсами на этапах жизненного цикла, рисками и
анализом надежности (УРРАН). Порядок идентификации опасностей и рисков. - М.,
2010.
. ГОСТ
Р 54505-2011. Безопасность функциональная. Управление рисками на
железнодорожном транспорте.
. СТО
РЖД 1.02.035-2010. Управление ресурсами на этапах жизненного цикла, рисками и
анализом надежности (УРРАН). Порядок определения допустимого риска. - М., 2010.
. Концепция
комплексного управления надежностью, рисками, стоимостью жизненного цикла на
железнодорожном транспорте. - М.: ОАО «РЖД», 2010.
. Ковалев
А.А. Безопасность технологических процессов и технических средств на
железнодорожном транспорте: курс лекций / А.А. Ковалев, А.В. Окунев, Н.А.
Аксенов. - Екатеринбург: УрГУПС, 2016. - 135 с.
. ГОСТ
Р 51901.1-2002. Менеджмент риска. Анализ риска технологических систем.
. СТО
РЖД 1.02.034-2010. Управление ресурсами на этапах жизненного цикла, рисками и
анализом надежности (УРРАН). Общие правила оценки рисков и управления рисками.
- М. 2010.- 48 с.