Принцип работы, история открытия и создания двигателей постоянного тока

  • Вид работы:
    Отчет по практике
  • Предмет:
    Физика
  • Язык:
    Русский
    ,
    Формат файла:
    MS Word
    3,6 Мб
  • Опубликовано:
    2016-11-21
Вы можете узнать стоимость помощи в написании студенческой работы.
Помощь в написании работы, которую точно примут!

Принцип работы, история открытия и создания двигателей постоянного тока

МИНИСТЕРСТВО ОБРАЗОВАНИЯ И НАУКИ РОССИЙСКОЙ ФЕДЕРАЦИИ

Федеральное государственное автономное

образовательное учреждение высшего образования

«НАЦИОНАЛЬНЫЙ ИССЛЕДОВАТЕЛЬСКИЙ

ТОМСКИЙ ПОЛИТЕХНИЧЕСКИЙ УНИВЕРСИТЕТ»

Институт электронного обучения

Направление 140400 «Электроэнергетика и электротехника»

профиль «Релейная защита и автоматизация электроэнергетических систем»

ОТЧЕТ

ПО УЧЕБНО-ИССЛЕДОВАТЕЛЬСКОЙ РАБОТЕ

НА ТЕМУ «Принцип работы, история открытия и создания двигателей постоянного тока»

Вариант №5


Студент

группы Д-5А41

Д. Л. Плаксиенко

Руководитель

доцент, к. т. н.

Н. М. Космынина

Томск 2016

ВВЕДЕНИЕ

Двигатели постоянного тока относятся к классу электрических машин, действие которых основано на использовании явления электромагнитной индукции и предназначен для преобразования электрической энергии в механическую.

Актуальность данного исследования заключается в том, что на примере развития и совершенствования электрических двигателей постоянного тока можно проследить, как, благодаря ученым и изобретателям, такое явление как электричество прочно входило в арсенал технических средств человечества, что позволит при анализе тенденций исторического развития данной области электротехники выявить возможные направления дальнейшего совершенствования электродвигателя постоянного тока либо его узлов и агрегатов.

Изучая путь, который прошел электродвигатель постоянного тока от забавной игрушки и демонстрационного лабораторного прибора, до незаменимого источника преобразования электрической энергии в механическую, становится ясно, каким образом развивалась конструкторская мысль, как постепенно, методом проб и ошибок, совершенствовались устройства изобретателей, совершались открытия законов физики и появлялись на свет новые материалы.

История развития техники на данном конкретном примере развития машин постоянного тока наглядно доказывает, что ни одно открытие либо изобретение не появляется из ниоткуда, а прочно связано с исследованиями и разработками ученых, конструкторов, изобретателей, основываясь на прочном фундаменте человеческого научного знания. Становится видно, как одно открытие приводит к другому, как постепенно знания из разных областей науки и техники благодаря трудам ученых соединяются вместе и порождают нечто новое, ранее не существовавшее.

Основной целью данной работы является исторический обзор путей развития электрического двигателя постоянного тока, выявление основных направлений и идей, которые привели к созданию современной конструкции двигателя постоянного тока, а также выявление тенденций дальнейшего развития машин постоянного тока.

При проведении исследовательской работы использовались такие методы исследования, как анализ, обобщение и сравнение.

1. ПРИНЦИП РАБОТЫ ДВИГАТЕЛЯ ПОСТОЯННОГО ТОКА

Принцип работы двигателя постоянного тока основан на явлении электромагнитной индукции,а именно свойстве проводящего контура, помещенного в однородное магнитное поле, при прохождении через контур постоянного тока располагаться таким образом, чтобы воздействие внешнего магнитного поля на проводящий контур было равным нулю. Данное свойство обусловлено возникновением кругового магнитного поля у проводящего контура при прохождении через него электрического тока, вследствие чего при взаимодействии внешнего постоянного магнитного поля и собственного кругового поля проводника проводящий контур располагается таким образом, чтобы нормаль к контуру стала параллельна силовым линиям внешнего магнитного поля. Схема, иллюстрирующая принцип работы двигателя постоянного тока, приведена на рис 1.[1]

Рисунок 1. Принцип работы двигателя постоянного тока.

2. ИСТОРИЯ РАЗВИТИЯ ДВИГАТЕЛЕЙ ПОСТОЯННОГО ТОКА   

.1 Первый этап развития

двигатель постоянный ток

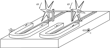
Открытие явления электромагнитной индукции М. Фарадеем в 1831 году можно по праву считать точкой отсчета нового этапа в развитии электротехники, в том числе и в истории появления двигателей постоянного тока. Следствием этого открытия стало не только появление принципиально новых источников электрического тока, но и научное объяснение ранее обнаруженного «явления Араго» или, иначе, «магнетизма вращения», данное Фарадеем на основе своих исследований и опытов. Явление «магнетизма вращения», обнаруженное Д. Ф. Араго в 1824 году, заключалось в том, что при вращении диска из меди, расположенного над либо под магнитной стрелкой, стрелка также начинала двигаться. Фарадей сумел объяснить данное явление с помощью электромагнитной индукции, показав, что в медном диске при вращении в магнитном поле возникают токи, которые и взаимодействуют с магнитом. Этот момент стал отправным в конструировании новых источников электричества, таких как униполярный генератор Фарадея, откуда оставался один шаг до создания двигателей постоянного тока, хотя сама принципиальная возможность превращения электрической энергии в механическую, была показана Фарадеем еще в 1821 году с помощью устройства, показанного на рис. 2.[2]

Рисунок 2. Схема установки Фарадея для демонстрации электромагнитного вращения.

С помощью данного устройства Фарадей наглядно продемонстрировал, что ток, проходящий по проводнику, заставляет проводник вращаться вокруг магнита, либо магнит вращаться вокруг проводника.

Помимо Фарадея, возможность преобразования электрической энергии в механическую исследовали многие другие ученые. Например, П. Барлоу, который в своей книге «Исследование магнитных притяжений» описывал устройство, по принципу действия являющееся униполярной электрической машиной, работающей в режиме двигателя. Изображение этого устройства, получившего название «колесо Барлоу», приведено на рис. 3.[3]

Рисунок 3. Колесо Барлоу.

Колесо Барлоу представляло собой пару зубчатых колес из меди, расположенных на одной оси, соприкасавшихся со ртутью в желобах, и находящихся между полюсами постоянных магнитов.При прохождении тока через зубчатые колеса в результате взаимодействия магнитного поля постоянных магнитов и магнитного поля проводника оба колеса начинали синхронно вращаться вокруг своей оси. Экспериментируя с данной установкой, Барлоу установил, что при изменении полярности контактов или расположении полюсов магнита направление вращения колес немедленно изменялось. Хотя практического применения колесо Барлоу не нашло, оно до сих пор выполняет роль демонстрационного лабораторного прибора и подтолкнуло развитие исследований и проведение новых экспериментов, тем самым приблизив возможность построения практически пригодного электродвигателя.[3]

В качестве примера альтернативной конструкции электродвигателя можно привести прибор, разработанный английским ученым У. Риччи, показанным на рис. 4. [2], [3]

Рисунок 4. Электродвигатель Риччи.

В этом двигателе магнитное поле создавалось неподвижно закрепленным постоянным магнитом подковообразной формы, между полюсов которого находился электромагнит, закрепленный на вертикальной оси. Направление тока в электромагните периодически изменялось посредством своеобразно коммутатора, представлявшего собой желоб со ртутью, которой касались концы обмотки электромагнита. Этот коммутатор стал прообразом такой важнейшей детали современных двигателей постоянного тока, как коллектор.

Как и колесо Барлоу, устройство У. Риччи не нашло практического применения вследствие малой мощности и примитивности конструкции.

Наиболее характерным примером, отражающим преобладающие направления в конструкции двигателей постоянного тока в самом начале развития этого направления, можно считать устройство Дж. Генри, американского физика. В 1831 г. вышла в свет его статья «О качательном движении, производимым магнитным притяжением и отталкиванием», в которой описан сконструированный им электродвигатель. Несмотря на то, что устройство практического применения не получило, сама конструкция интересна тем, что в ней предпринята попытка получить непрерывное качательное движение якоря за счет использования притяжения разноименных и отталкивания одноименных магнитных полюсов, а само изменение полярности электромагнита осуществлялось за счет перемены направления тока в обмотке электромагнита. Схематическое изображение устройства Генри приведено на рис. 5. [2]

Рисунок 5. Конструктивная схема двигателя Генри

В модели устройства электромагнит совершал 75 качений в минуту, мощность по-прежнему была небольшой: один из двигателей, построенный по этому принципу выдавал мощность порядка 0.044 Вт. [2]

Наиболее характерной особенностью подавляющего большинства предложенных конструкций двигателя на первом этапе развития было использование качательного движения якоря. И лишь с предложением использовать вращательное движение произошел переход ко второму этапу развития электродвигателей постоянного тока. Однако попытки использования качательного движения предпринимались и позднее.

2.2 Второй этап развития

На втором этапе развития электродвигателей наиболее заметный вклад в усовершенствование конструкции внес Б. С. Якоби. Именно он предложил использовать вращательное движение якоря, отметив, что конструкции с возвратно-поступательным и качательным движением малоэффективны и неприменимы в промышленном масштабе: «В мае 1834 года я построил свой первый магнитный аппарат, дающий постоянное круговое движение…, но я не мог сначала отрешиться от идеи получить возвратно-поступательное движение, производимое последовательным притягивающим и отталкивающим действием магнитных стержней, а затем уже превратить это возвратно-поступательное движение в постоянное круговое известным в технике способом. Мне казалось, что такой прибор будет не больше, чем забавной игрушкой для обогащения физических кабинетов… Все эти соображения… заставили меня окончательно отказаться от попытки построить аппарат, получающий возвратно-поступательное движение…»[3]

В 1834 году Якоби сконструировал свою модель электродвигателя, действующую на принципе притяжения и отталкивания между электромагнитами, отказавшись от использования постоянных в виду их малой мощности. Устроен двигатель Якоби был следующим образом: одна группа из четырех П-образных электромагнитов располагалась на неподвижной раме, другая аналогичная группа - на вращающемся диске в торце рамы. Источником питания служила батарея гальванических элементов, а для перемены полярности подвижных электромагнитов Якоби применил коммутатор собственной конструкции. Изображение двигателя Якоби приведено на рис. 6.

Рисунок 6. Электродвигатель Якоби

Наиболее важным элементом конструкции был тщательно продуманный коммутатор, который, в отличии от примитивных конструкций с желобками ртути представлял собой довольно сложную систему из четырех металлических колец, изолированных от вала, на котором они устанавливались. Каждое из колец имело по четыре выреза размером в одну восьмую длины окружности, заполненные изолирующими вкладками, и каждое из колец было смещено на 45 градусов по отношению к предыдущему. По поверхности колец скользил рычаг-щетка, второй конец соединялся с гальванической батареей посредством сосуда с ртутью. При работе двигателя в следствии такой конструкции коммутатора, при каждом обороте кольца четырежды прерывалась электрическая цепь. Электромагниты вращающегося диска соединялись проводником с кольцами, их обмотки соединялись последовательно, а направление тока в них менялось восемь раз за один оборот вала, в отличии от электромагнитов на неподвижной раме, через которые ток проходил, не меняя направление, в следствие чего электромагниты попеременно то притягивались к электромагнитам неподвижной рамы, то отталкивались от них, обеспечивая непрерывное вращение вала. Схема коммутатораи принцип его действия показаны на рис 7. [3]

Рисунок 7. коммутатор двигателя Якоби и схема коммутации

В сообщении с описанием двигателя, направленным в Парижскую Академию наук, Б. С. Якоби писал: «Полезная работа этого аппарата, измеренная прибором, аналогичным тормозу Прони, эквивалентна работе поднятия груза в 10-12 фунтов на высоту один фут в секунду…». Видно, что его конструкция уже не просто демонстрирует преобразование электрической энергии в механическую, а на практике доказывает возможность применения двигателей постоянного тока именно в качестве полноценного двигателя. Сам Якоби, воодушевленный работой своей машины, проводил сравнение с паровой машиной: «Механизм мотора очень несложен по сравнению с паровой машиной: нет ни цилиндра, ни поршня, ни клапанов и т. д., изготовление которых требует очень большой работы и стоит больших средств; нет также трения, благодаря которому теряется больше половины всей производимой работы; в этой машине потерю составляет только трение в подшипниках. Далее, машина эта дает непосредственное круговое движение… кроме того, нет опасности взрыва». [3]

Попытки увеличить мощность машины привели Якоби к созданию конструкции сдвоенного типа. Новый двигатель имел 24 неподвижных и 12 подвижных электромагнитов, но работал по тому же принципу, что и предыдущий. Однако, не смотря на некоторые изменения конструкции, устройство, приобретя в габаритах, не дало значительного увеличения мощности и было ясно, что следует искать новые конструктивные решения.

В 1837 году Т. Девенпорт построил электродвигатель с вращательным движением якоря, в котором неподвижные постоянные магниты взаимодействовали с подвижными электромагнитами. Конструкция двигателя приведена на рис. 8. [2]

Рисунок 8. Электродвигатель Т. Девенпорта

Этот электродвигатель по принципу действия не отличался от двигателя Якоби, а использование постоянных магнитов, имеющих множество недостатков по сравнению с электромагнитами, было даже шагом назад, но двигатель Девенпорта имел одно конструктивное преимущество - он был весьма компактным за счет расположения подвижных и неподвижных частей в одной плоскости. Это конструктивное решение Якоби использовал при разработке своего двигателя нового типа.

В 1838 году Якоби построил двигатель, представляющий собой комбинацию из 40 элементарных двигателей, объединенные группами по 20 штук на двух вертикальных валах, установленных в деревянной станине. Изображение элементарного двигателя приведено на рис. 9 [3]

Рисунок 9. Модель элементарного электродвигателя Якоби второго типа

Испытания нового двигателя проводились на небольшом судне и, в целом, прошли успешно, однако выяснилось, что питания двигателя от гальванических элементов экономически невыгодно - одна лошадиная сила обходилась примерно в 12 раз дороже, чем при использовании парового двигателя. К тому же малая емкость гальванических элементов требовала их большого количества, что было для транспорта неприемлимым.

Кроме того, принципиальным недостатком всех вышеописанных двигателей был пульсирующий режим работы, вследствие чего вращательный момент двигателей был непостоянным, а попеременное выключение и выключение электромагнитов расходовало значительное количество энергии на создание магнитного поля.

Электродвигатель Бурбуза действовал на принципе втягивания сердечника в соленоид, а возвратно-поступательное движение сердечника преобразовывалось затем во вращательное движение посредством шатунно-кривошипного механизма. Модель электродвигателя Бурбуза приведена на рис.10. [2]

Рисунок 10. Электродвигатель Бурбуза

Построенный П. Г. Форманом электродвигатель, показанный на рис. 11, использовал притяжение пластин из стали, расположенных на двух колесах, укрепленных на вращающейся оси, к неподвижным электромагнитам.

Рисунок 11. Общий вид электродвигателя Формана

В этом двигателе электрический ток посредством зубчатого коммутатора поочередно подводился к противоположно размещенным электромагнитам, притягивающим соответствующие стальные пластины. Так как притяжение всегда происходило в одном направлении и только в случае нахождения пластины в непосредственной близости от сердечника электромагнита, вал с колесами приводился во вращение. Электродвигатель Формана был представлен на Всемирной выставке в Париже 1867 года и имел следующие технические характеристики: мощность - 1 л. с., масса - 769 кг, КПД - 22%. [2]

Данный тип двигателя нашел практическое применение и использовался в качестве привода печатного станка в типографии.

.3 Третий этап развития

Третий этап в развитии электродвигателей связан с применением непрерывной обмотки якоря, что позволило избежать недостатков предыдущих конструкций, связанных с постоянным включением/выключением катушек электромагнитов и расхода энергии на непрерывное создание магнитного поля.

Первым, кто предложил принципиально иную конструкцию якоря, был студент Пизанского университета А. Пачинотти. В электродвигателе Пачинотти впервые использован якорь кольцеобразной формы, который вращался в магнитном поле электромагнитов. Изображение машины Пачинотти приведено на рис. 12.

Рисунок 12. Электродвигатель Пачинотти

Якорь, выполненный в виде стального зубчатого кольца, что облегчало крепление обмотки и уменьшало магнитное сопротивление якоря, крепился на вертикальном валу. Между зубцами наматывались катушки, концы которых соединялись с пластинами коллектора, находящегося в нижней части вала. Ток к пластинам коллектора подводился роликами, а обмотка электромагнитов с полюсными наконечниками включалась последовательно с обмоткой якоря.

Благодаря удачной конструкции, вращающий момент электродвигателя был практически постоянным, а габариты электродвигателя по сравнению с прочими конструкциями равной мощности, невелики.

Сам изобретатель так оценивал достоинства своей конструкции: «В принятом расположении ток не перестает циркулировать в обмотках, и машина двигается не толчками, которые следуют друг за другом более или менее часто, но парой сил, которые действуют непрерывно… Кольцеобразная конструкция якоря способствует… наименьшей затрате живой силы на толчки и трение… Выступающие наконечники неподвижного электромагнита, продолжая действовать на зубцы магнитного колеса и охватывая очень большое их число, не останавливают своего действия пока в них остается магнетизм… Искры увеличиваются в числе, но очень уменьшаются в интенсивности, так как отсутствуют сильные экстра-токи при открытой цепи, которая может быть всегда закрытой, и только когда машина действует, индуктивный ток продолжается в направлении, противоположном направлению тока батареи». (Вес, Шей)

Пачинотти совершил важнейший шаг на пути к конструкции электродвигателя постоянного тока современного типа, применив неявнополюсный якорь вместо явнополюсного, разработав удобную схему возбуждения обмотки и коллектор, по своей сути, близкий к современному типу. Кроме того, он первым сделал вывод об обратимости электрических машин и возможности взаимного превращения электродвигателя и генератора.

Однако интерес к электродвигателю Пачинотти был невелик и изобретение на некоторое время было забыто, так как по-прежнему отсутствовал экономичный источник электроэнергии, без которого практическое применение электродвигателя в широких масштабах было неоправданным экономически.

Очередной всплеск интереса к электрическим двигатель возник после 1870 годов, когда бурно развивались исследования в области электрогенераторов и пути развития электродвигателей и электрогенераторов окончательно объединились.В 1873 году была разработана новая конструкция якоря барабанного типа, сменившего кольцевой якорь, который в следствие своей конструктивной особенности неэффективно использовал обмотку. Идея конструкции барабанного якоря принадлежит члену Берлинской Академии наук Фридриху Гефнер-Альтенеку. Изображение одной из первых электрических машин с барабанным якорем приведено на рис. 13. [2]

Рисунок 13. Одна из первых электрических машин с барабанным якорем

В дальнейшем усовершенствования в конструкцию якоря внесли такие ученые и изобретатели, как Хайрем Максим, который вновь ввел в использование зубчатый якорь и предложивший сделать внутренние каналы для вентиляции якоря; Т. А. Эдисон, изобретший шихтованный якорь. В патенте на изобретение указывалось: «…Во вращающихся якорях, изготовленных из цельного металла…токи индуктируются в самой массе металла… Эти токи вызывают вредное влияние. Чтобы устранить это, - я изготовляю якорь из большого числа тонких дисков или колец, закрепленных на валу и отделенных друг от друга легкой изоляцией. Я получил очень хорошие результаты, применяя диски…от 1/32 до 1/64 дюйма толщиною, разделенными между собой листами тонкой бумаги… Благодаря этому полезная мощность машины значительно увеличивается». Подобное решение используется до сих пор, только бумажные листы со временем заменили лакировкой металла.

В дальнейшем началось применение шаблонной обмотки, позволившее удешевить стоимость машин и улучшить качество самой обмотки, в 1884 году появилась компенсационная обмотка, а в 1885 году были предложены дополнительные полюса для компенсации реакции якоря и улучшения коммутации. В 1891 году вышла в свет научная работа, посвященная теории обмоток электрических машин и особенностям конструкции.

Помимо эволюции конструкции якоря, серьезные изменение претерпела конфигурация магнитной системы электрических машин. Поскольку ранее были неизвестны основные соотношения между геометрическими размерами, индукциями и магнитодвижущими силами, конструкции сердечников специально не рассчитывались, вследствие чего были либо слишком громоздкими, либо, напротив, имели слишком малое сечение при большой длине. Магнитные системы имели технологические зазоры и часто были несимметричны, что приводило к ухудшению характеристик. Дальнейшее развитие магнитных систем связано с открытием 1840 году Дж. Джоулем явления магнитного насыщения и исследованиями физика А. Г. Столетова магнитных свойств «мягкого железа», проведенные в 1871 году. Столетов продемонстрировал, что магнитная восприимчивость железа с ростом напряженности магнитного поля сперва возрастает, а затем, проходя через максимум, начинает убывать. Отсюда следовал вывод, что для конструирования эффективной электрической машины следует учитывать сорт железа и тщательно выбирать режим намагничивания.

После открытия физиками А. Риги и Э. Варбургом в 1880 году явления гистерезиса начались исследования потерь при перемагничивании, а в 1873 году английские электротехники Дж. Гопкинсон и Г. Роуланд сформулировали и исследовали закон магнитной цепи. Следствием всех этих открытий стала возможность перевести проектирование электротехнических устройств и их компонентов на строгую научную основу в отличии от ранних этапов развития электродвигателей, когда параметры устройства зачастую подбирались эмпирически. Электрические машины приобретали все более компактную и симметричную форму, увеличивался КПД. В 1880 годах появились первые многополюсные электрические машины, в частности, предложенная М. О. Доливо-Добровольским четырехполюснаямашина постоянного тока, схема которой приведена на рис. 14. [2], [3], [4]

Рисунок 14. Конструктивная схема четырехполюсной машины постоянного тока

Помимо конструктивных изменений электрических машин, немаловажную роль сыграли новые изоляционные материалы на основе слюды, разработанные в 1890 годах: миканит, микалента, микафолий; а также разнообразные покрытия и пропиточные составы.

На третьем этапе развития электродвигатель приобрел все основные черты современной конструкции и, благодаря изобретенным более дешевым, чем гальванические элементы, источникам тока - электромагнитного генератора постоянного тока, нашел применение в промышленности и транспорте.

Дальнейшее развитие электродвигателей постоянного тока шло по пути усовершенствования отдельных узлов конструкции - статора, якоря и коллектора, но принцип работы оставался неизменным.


3. СОВРЕМЕННЫЕ ДВИГАТЕЛИ ПОСТОЯННОГО ТОКА

Среди современных существующих конструкций электродвигателей постоянного тока можно выделить две основные группы: коллекторные и бесколлекторные (вентильные) двигатели.

Коллекторные двигатели в свою очередь разделяют на двигатели с самовозбуждением (параллельным, последовательным и смешанным) и двигатели с независимым возбуждением).

Общая конструктивна схема коллекторной машины постоянного тока приведена на рис. 15.[5]

Рисунок 15. Устройство машины постоянного тока

Статор машины постоянного тока служит для крепления полюсов и подшипниковых щитов, а также является частью магнитопровода, вследствие чего его обычно изготовляют из стали с достаточной механической прочностью и большой магнитной проницаемостью. Главный полюс состоит из сердечника и полюсной катушки и его назначение - создание в машине магнитного поля возбуждения. Сердечники главных полюсов собирают из листовой конструкционной либо электротехнической стали.

Якорь машины постоянного тока состоит из сердечника с обмоткой и коллектора, укрепленных на валу. Сердечник собирается из покрытых изоляционным лаком тонких листов электротехнической стали, которые собираются в пакет, запекаются и затем напрессовываются на вал. Поверхность сердечника имеет продольные пазы для обмотки якоря. Обмотка выполняется медным проводом, а заполненные обмоткой пазы закрывают клиньями либо накладывают на поверхность якоря бандаж.

Коллектор - самый сложный и самый ненадежный узел конструкции электродвигателя постоянного тока. Основными его элементами являются пластины меди трапецеидального сечения, собранные вместе таким образом, чтобы коллектор приобрел цилиндрическую форму. Существует два основных вида коллектора в зависимости от способа крепления коллекторных пластин. Электрический контакт с коллектором обеспечивается щетками, закрепленными в щеткодержателе. Щеткодержатели одной полярности соединены между собой и подключены к выводам машины. От надежности и плотности контакта зависит бесперебойная работа машины. Давление на щетку должно быть тщательно отрегулировано, так как недостаточный нажим приводит к искрению на коллекторе, а чрезмерный - может вызвать перегрев коллектора и привести к преждевременному износу щетки.[1], [5]

В бесколлекторных (вентильных) двигателях переключение направления тока статора производится посредством инвертора, представляющего собой сложное и дорогое электронное устройство, но имеющего большое преимущество перед коллектором - отсутствуют трущиеся части и искрение при коммутации. По принципу работы данные двигатели аналогичны синхронным двигателям.


4. ТЕНДЕНЦИИ РАЗВИТИЯ ДВИГАТЕЛЕЙ ПОСТОЯННОГО ТОКА

Электродвигатели постоянного тока обладают хорошими регулировочными свойствами и применяются в качестве основного двигателя в электротранспорте, а также как привод вспомогательного оборудования в прочих видах транспорта, в качестве приводов заводского оборудования.

Однако, к настоящему моменту приводы с коллекторными двигателями постоянного тока постепенно уступают место приводам с электродвигателями переменного тока, что связано с конструктивным недостатком, присущим коллекторному двигателю - невысокой надежностью самого коллекторного узла, связанной с наличием скользящего контакта между щетками и коллектором, а также более высокой стоимостью.

Также альтернативой коллекторным электродвигателям в некоторых областях, таких как робототехника и станкостроение, являются вентильные электродвигатели, которые с развитием микроэлектроники и систем управления становятся более дешевыми и надежными.

Наиболее перспективным большинство специалистов считают приводы на основе вентильно-индукторного двигателя, которые являются технологичными и дешевыми, но их высокие потребительские свойства в полной мере могут быть раскрыты при использовании развитой системы управления. В настоящее время большинство разработчиков прилагают свои усилия именно в области совершенствования двигателей такого типа.[6]


ЗАКЛЮЧЕНИЕ

Краткий исторический обзор развития электрических двигателей постоянного тока, проведенный в данной работе, позволяет выявить три главных этапа на пути совершенствования электрических машин постоянного тока. Каждый переход с этапа на этап связан с принципиально новыми конструкторско-техническими решениями, предложенными изобретателями, а также открытиями и практическими исследованиями новых физических законов, позволяющими перейти от эмпирически подбираемых параметров конструкций и материалов, к строго рассчитываемым параметрам, что приводило к повышению эффективности электродвигателей постоянного тока, уменьшению габаритов и делало практическое использование электрических машин постоянного тока экономически оправданным.

На первом этапе развития характерной особенностью можно считать создание прототипов и простейших конструкций двигателей постоянного тока лишь в качестве лабораторно-демонстрационных устройств, позволяющих наглядно продемонстрировать явление электромагнитной индукции, и зачастую подобные механизмы считались самими изобретателями не более, чем игрушками. На данном этапе пробовались самые разнообразные конструкции и принципы действия, но поскольку на тот момент не существовало развитых методов расчета параметров магнитных материалов и практически ничего не было известно о законах, описывающих электромагнитные явления, то мощность первых прототипов электродвигателей была ничтожна и о практическом применении не было и речи.

Важнейшей особенностью второго этапа является переход от преобразования электрической энергии в возвратно-поступательное либо качательное механическое движение, преобладавшие на первом этапе, к вращательному движению. Огромная заслуга в этом принципиальном переходе принадлежит Б. С. Якоби, первому отметившему преимущество использования вращательного механического движения. Кроме, того, существенно усложняется конструкция электрического двигателя постоянного тока, появляются такие узлы, как коллектор и якорь, начинают применяться электромагниты. Начинаются первые, пока единичные, случаи применения электродвигателей в практической деятельности. Однако наращивание мощности электродвигателей на втором этапе сводилось к увеличению рабочих узлов в конструкции, чтоне приводило к значительным результатам. Кроме того, применение машин постоянного тока ограничивало отсутствие дешевых источников электроэнергии.

Третий этап развития начинается с предложенной Пачинотти принципиально иной конструкции якоря и коллектора, что открыло путь к разработкам конструкций электрических двигателей постоянного тока, близких к современным. На этом этапе совершенствовались отдельные узлы конструкции, но принцип работы не изменялся. К тому же бурному развитию электродвигателей на третьем этапе способствовало создание электрогенераторов, заметно более выгодных, чем гальванические элементы. Новейшие открытия в области физики магнитных материалов позволили разработать наиболее удачные конструкции и новые материалы, после чего электродвигатели приобретают современный вид и массово используются в промышленности и транспорте.

Тенденции дальнейшего развития электродвигателей постоянного тока становятся ясными при рассмотрении недостатков, присущих современным конструкциям. Поскольку самым слабым звеном в коллекторном двигателе постоянно тока является сам коллектор, а путь усовершенствования конструкции коллектора является конечным, и, скорее всего, все возможности усовершенствования исчерпаны, то самым логичным будет переход к принципиально иным конструкциям. Такими на данный момент являются бесколлекторные двигатели постоянного тока, иначе называемые вентильными. Они лишены недостатков предыдущей конструкции, и, хотя вентильные двигатели дороже и много сложнее, имеют большой запас для дальнейшего усовершенствования. К тому же вентильные двигатели высокотехнологичны и вместе с бурным развитием электроники и микроэлектроники, и систем автоматического управлениядвигатели данного типа неизбежно будут развиваться, постепенно вытесняя электродвигатели коллекторного типа.

Поставленная в данном исследовании задача решена в полном объеме, достигнута цель исследования и сделаны необходимые выводы.

Результаты данной работы могут быть применены при выборе направления разработки новых конструктивных решений в области машин постоянного тока.

Теоретическая и практическая значимость данной работы заключается в результатах анализа тенденций развития машин постоянного тока, которые наглядно показывают необходимость перехода от коллекторных конструкций двигателя постоянного тока к принципиально иным конструкциям.


СПИСОК ИСПОЛЬЗУЕМОЙ ЛИТЕРАТУРЫ

1. Китаев В. Е., Корхов Ю. М., Свирин В. К. Электрические машины. Ч. 1. Машины постоянного тока. Трансформаторы: Учебное пособие для техникумов/ Под ред. В. Е. Китаева. - М.: Высш. школа, 1978. - 184 с.

. Белькинд Л. Д., Веселовский О. Н., Конфедератов И. Я., Шнейберг Я. А. История энергетической техники. - Изд. 2-е, перераб. и доп. - М. -Л.: Госэнергоиздат, 1960. - 664 с.

. Веселовский О. Н., Шнейберг Я. А. Очерки по истории электротехники. - М.: Издательство МЭИ, 1993. - 252 с.

. Соловьев А. С., Козярук А. Е. История развития электроэнергетики и электромеханики в России: Учебное пособие. - Санкт - Петербургский горный ин-т. СПб, 2000. - 104 с.

. Кацман М. М. Электрические машины: Учеб. для учащихся электротех. спец. техникумов. - Изд. 2-е, перераб. и доп. - М.:Высш. шк., 1990. - 463 с.

. Тенденции развития автоматизированного электропривода[Электронный ресурс]. - Режим доступа: http://izd.pskgu.ru/projects/pgu/storage/wt/wt113/wt113_14.pdf, вход свободный.

Похожие работы на - Принцип работы, история открытия и создания двигателей постоянного тока

 

Не нашли материал для своей работы?
Поможем написать уникальную работу
Без плагиата!
Без нейросетей!