Изыскание рационального варианта холодильного оборудования установки провизионных камер с использованием отечественного оборудования
Введение
холодильный теплоход провизионный
Техника искусственного охлаждения на речном транспорте широко
применяется для создания оптимальных режимов перевозки скоропортящихся грузов,
хранения продуктов питания пассажиров и экипажей судов и обеспечения комфортного
микроклимата судовых помещений в летний период навигации.
В последнее время экономика России переживает тяжелые
времена, что не может не отражаться на работе речного транспорта. Суда,
построенные для нашей страны за границей, нуждаются в запасных частях и
агрегатах, которые по нынешним временам стоят довольно таки дорого. Отсюда
возникает необходимость переоборудования флота, замена импортного оборудования
отечественным, более надежным и дешевым.
В данном дипломном проекте предлагается рассмотреть вариант
оснащения холодильных камер теплохода Александр Пушкин. Построен в 1974 году
судоверфью «Корнойбург» в Австрии. Класс «О» Российского Речного Регистра.
Судно пассажировместимостью 198 человек спроектировано для района плавания
канал им. Москвы - река Волга, с прилегающими реками и водохранилищами.
Рассчитано на эксплуатацию при температуре наружного воздуха от
до
и температуре забортной воды от
до
В настоящее время постоянно повышаются требования
международных и отечественных организаций к охране природы, экологии планеты и
другим важнейшим вопросам требуют от судовладельцев дополнительных затрат на
решение этих проблем. С этой целью в дипломном проекте предлагается внедрить
ряд предложений.
Применяемый на судах в качестве теплоизоляционного материала
пенополистирол JKH 110, зашитый алюминиевой фольгой, и плита из минеральной ваты
Р110 не отвечает всем санитарным нормам, дороги и имеет худшие
теплоизоляционные показатели, а так же трудоемки при монтаже.
Поэтому применение нового теплоизоляционного материала марки
«РИПОР», не изменяя толщины изоляции камер, позволяет уменьшить теплопритоки в
камеры, что в свою очередь создает возможность заменить импортные холодильные
машины на отечественные с меньшей холодопроизводительностью. А значит, отсюда
мы имеем меньший расход электроэнергии и меньшую стоимость холодильного
оборудования.
В дипломном проекте предлагается применить более экологически
безопасный хладагент R502 вместо хладона R22.
Хладагент R502. Азеотропная смесь (т.е.
такая, в которой при кипении и конденсации массовая доля компонентов
практически не изменяется). Массовая доля R22 составляет 48.8%, а R115 достигает 51.2%.
Хладагент невзрывоопасен, малотоксичен и химически инертен к металлам.
Растворимость R502
в маслах, коэффициент теплоотдачи при кипении и конденсации близки к
соответствующим значениям для R22. Характерная особенность: R502 малорастворим в воде.
Предельно допустимая концентрация R502 в воздухе составляет
. Объемная холодопроизводительность его выше, а температура
нагнетания ниже примерно на
, чем у R22, что
положительно сказывается на температуре обмотки электродвигателя при
эксплуатации герметичного холодильного компрессора. Хладагент R502 применяют в низкотемпературных компрессионных
холодильных установках.
Целью дипломного проекта является изыскание рационального варианта
холодильного оборудования установки провизионных камер с использованием
отечественного оборудования.
Замена оборудования обусловлена тем, что судно построено в 1973,
требует ремонта всех установок, в том числе и холодильного оборудования. Это
очень дорогостоящее мероприятие, но его необходимо провести для дальнейшей
успешной работы судна.
1.
Основные характеристики судна
Размеры судна габаритные, м
Длина 110.1
Ширина 14.5
Высота от ОЛ до верхней кромки несъемных частей 15.1
Проектная осадка 2.2
Максимальная допускаемая осадка 2.5
Мощность главных двигателей, кВт 2х662
Автономность плавания, (сут.) по запасам:
Топлива 5-6
Масла 16
Продовольствия 5
По вместимости цистерн фекальных, сточных и
подсланевых вод 2-4
Скорость хода при осадке 2.2 м,
22
Водоизмещение при осадке 2.2 м, т 2200
Главные двигатели 6ЧРН36/45 (Г60)
Количество 2
Мощность, кВт 662
Частота вращения,
375
Пуск: сжатым воздухом из МП или рулевой рубки
Топливо дизельное
2.
Холодильная установка провизионных камер теплохода типа «Александр Пушкин»
Для обеспечения судового экипажа и пассажиров продуктами питания
во время рейса на судне предусмотрено 8 охлаждаемых провизионных камер и одна
камера для сухой провизии. Охлаждение камер на судне осуществляется холодильной
установкой, состоящей из 3-х компрессорно-конденсаторных агрегатов. Один из них
работает на камеры с отрицательными температурами хранениями с температурой
испарения
и обслуживает:
· камеру №6 рыба (
)
· камеру №7 мясо малая (
)
· камеру №8 мясо большая (
)
Другой агрегат работает на камеры с положительными температурами хранения
с температурой испарения
и обслуживает:
· камеру №1 овощи и фрукты (
)
· камеру №2 напитки (
)
· камеру №3 картофель (
)
· камеру №4 хлеб (
)
· камеру №5 молоко (
)
Третий агрегат - резервный. Подключение резервного агрегата к
одному из 2-х возможно только при выходе из строя одного из основных агрегатов.
2.1
Состав установки и технические данные
Холодильный компрессор BAJ5710HW
Количество 3 (в том числе 1 резервный)
Производительность, ккал/ч 7400
Хладагент R22
Электродвигатель AAJ 5511, 5501
Мощность, кВт 3.5
Частота вращения, об/мин 1450
Насос, обслуживающий
провизионную холодильную установку самовсасывающий ЭСН2/1-11
Количество 2 (в том числе 1 резервный)
Подача,
5
Напор, м 30
Электродвигатель АОМ32-2
Мощность, кВт 2.2
Частота вращения, об/мин 2850
2.2
Вместительность холодильных камер
Холодильная камера молочных продуктов,
13.2
Камера для фруктов и соков,
12.0
Картофельная холодильная камера,
8.8
Камера для напитков,
26.4
Мясная камера (для пассажиров),
16
Мясная камера (для экипажа),
10
Хлебная камера,
13.2
Рыбная камера,
11.6
2.3
Описание рабочего процесса
Компрессор отсасывает из испарителя хладагент, имеющий низкую
температуру и давление, и нагнетает его под высоким давлением в конденсатор. В
этом трубчатом теплообменнике теплота, отобранная из холодильных помещений,
передается охлаждающей воде, а парообразный хладагент переходит в жидкое
состояние. Жидкий хладагент под давлением от конденсатора через эластичное
соединение, запорный вентиль поступает на фильтр - осушитель и контрольное
стекло и далее по медным трубкам в холодильные камеры к терморегулирующим
вентилям. После терморегулирующего вентиля резко снижается давление хладагента,
в таком состоянии попадает в испаритель, отбирает тепло, необходимое для
кипения из охлаждаемого помещения, и превращается снова в пар. Парообразный хладагент
снова всасывается компрессором через соответствующие медные трубки. Таким
образом, получается полный замкнутый цикл работы.
Потребность в холодопроизводительности (мощности) каждого
компрессора может резко снизиться, и для соответствующей компенсации
предусмотрено устройство для регулирования подачи компрессора.
Его действие происходит следующим образом.
Температура в каждом помещении регулируется термостатом
помещения, который при достижении заданной температуры закрывает
электромагнитный вентиль, через который поступает жидкий хладагент в эту
камеру.
При одновременном выключении нескольких камер резко снижается
давление и соответственно температура испарения. Чтобы этого не происходило,
открывается специальный вентиль - регулятор перепуска горячего пара,
отрегулированный соответственно на открытие при снижении давления, то есть
температуры испарения ниже нормальной. При этом он перепускает часть горячего
пара после компрессора на всасывающую линию того же компрессора, не допуская
тем самым снижение температуры испарения в камерах, снижая подачу компрессора и
поддерживая ее автоматически на требуемом уровне. В этом случае возникает
опасность повышения температуры всасываемого в компрессор хладагента, что может
привести к его перегреву и аварии.
С целью избежание этого явления выполнен еще один обводной
трубопровод с электромагнитным вентилем и терморегулирующим вентилем. Этот
вентиль имеет датчик температуры на всасывающей линии компрессора, и в случае
повышения температуры, перепускает соответствующее количество жидкого
хладагента на всасывающую линию, снижая этим самым температуру хладагента на
входе в компрессор. Электромагнитный вентиль открыт все время, пока работает
компрессор.
3.
Расчет теплоизоляции
Тепловая изоляция занимает видное место в общем комплексе
судостроения, создает благоприятные бытовые условия для судового экипажа
пассажиров и поддерживает совместно с системой отопления и вентиляции,
надлежащие температуры в помещениях специального назначения (рефрижераторных
трюмов и провизионных камерах).
Тепловая изоляция - специальное покрытие конструкций,
разделяющих помещения с различными температурами. Она применяется для
уменьшения проникновения тепла или холода через поверхности, ограничивающие
упомянутые помещения, и представляют собой покров, состоящий из одного или
нескольких слоев изоляционного материала.
Теплоизоляция должна отвечать следующим основным требованиям:
•обеспечивать проектные значения температур на поверхности
изоляции и предотвращать отпотевание ее при нормальном режиме отопления или
охлаждения и вентиляции;
•обеспечивать заданный коэффициент теплопередачи через
ограждающие поверхности;
•быть непрерывной, т.е. все металлические детали, соединяемые
с изолируемой поверхностью, должны быть, по возможности, покрыты сплошным слоем
изоляционного материала;
•обладать достаточной механической прочностью и стабильностью
в процессе эксплуатации судна;
• обладать минимальной массой;
• содержать минимальное количество горючих материалов;
• не выделять при эксплуатации вредных для здоровья личного
состава газов и пыли в пределах, превышающих допустимые нормы;
• быть влагостойкой, не поддаваться увлажнению и гниению;
• быть удобной для монтажа;
• отвечать специфическим требованиям заказчика.
На теплоходе Александр Пушкин для изоляции провизионных камер
применены: пенополистирол JKH 110, зашитый алюминиевой фольгой, и плита из
минеральной ваты.
В данном дипломном проекте для изоляции провизионных камер
предлагается применить: изоляционный материал «РИПОР», мастику и бетон.
Для гидроизоляции применены: рубероид и зашивка из
алюминиевых листов.
Применение нового теплоизоляционного материала марки «РИПОР»,
не изменяя толщины изоляции камер, позволяет уменьшить теплопритоки в камеры,
что в свою очередь создает возможность заменить импортные холодильные машины на
отечественные с меньшей холодопроизводительностью. А значит, отсюда мы имеем
меньший расход электроэнергии и меньшую стоимость холодильного оборудования.
3.1
Характеристики материалов
· мастика
;
· бетон
;
· РИПОР
,
где
плотность материала;
коэффициент теплопроводности.
3.2
Поверочный расчет узлов изоляции
Для данного судна проводим поверочный расчет изоляции.
Точный расчет конструкции судовой изоляции очень сложен.
Различные методы расчета, основанные на разных принципах, имеют много общих
допущений заключающихся в том, что при расчете пренебрегают:
· сопротивлением теплопереходу от наружной среды к
поверхности конструкции изоляции и от внутренней обшивки к воздуху охлаждаемого
помещения, так как оно мало в сравнении с общим термическим сопротивлением;
· влиянием мелких крепежных деталей (болтов,
гвоздей, шнуров и т.д.) и материала, склеивающего или скрепляющего плиты
изоляции.
Конструкция
изоляции мясной камеры
Конструкция мясной камеры пассажиров показана на рисунке 1.
Рисунок 1
-зашивка (алюминий)
-рубероид
-теплоизоляция
Определяем коэффициент теплопередачи по следующей формуле[13]
, (1)
где
- коэффициент теплоотдачи от наружного
воздуха обшивке,
- коэффициент теплоотдачи от внутренней обшивки воздуху
охлаждаемого помещения,
- толщина слоев изоляции, м
- коэффициент теплопроводности слоев изоляции,
;
Величинами
пренебрегаем в виду допущений, сделанных
выше.
Тогда
;
Полученный коэффициент теплопередачи увеличиваем на 20% для учета
влияния мелких крепежных деталей:
.
Конструкция
изоляции рыбной камеры
Конструкция изоляции рыбной камеры приведена на рисунке 2.
Рисунок 2
-обрешетка (дерево)
-теплоизоляция (РИПОР)
-алюминий
-рубероид
Определяем коэффициент теплопередачи зональным методом с
учетом перекрестности набора по формуле:
, (2)
где
- толщина одного слоя гидроизоляции
соответственно алюминия и рубероида, м
- коэффициент теплопроводности соответственно алюминия и рубероида,
;
- коэффициент теплопроводности деревянного бруска,
;
- толщина слоя изоляции, м
;
.
Среднее значение коэффициента теплопередачи всей изоляции находим
по формуле:
, (3)
где
- площади каждой зоны,
;
Полученный коэффициент теплопередачи увеличиваем на 20% для учета
влияния мелких крепежных деталей:
.
Конструкция
изоляции переборки камеры молока и молочных продуктов
Конструкция изоляции переборки приведена на рисунке 3.
Рисунок 3
-обрешетка (дерево)
-теплоизоляция (РИПОР)
Расчет проводим по формулам (2) и (3)
;
;
.
Полученный коэффициент теплопередачи увеличиваем на 20% для учета
влияния мелких крепежных деталей:
.
Конструкция
изоляции переборки камеры хлеба
Конструкция изоляции переборки камеры хлеба приведена на
рисунке 4
Рисунок 4
-теплоизоляция (РИПОР)
-рубероид
-алюминий
Определяем коэффициент теплопередачи по формуле (1)
;
Полученный коэффициент теплопередачи увеличиваем на 20% для учета
влияния мелких крепежных деталей:
.
Конструкция
изоляции переборки камеры картофеля
Конструкция изоляции приведена на рисунке 5.
Рисунок 5
теплоизоляция (РИПОР)
Расчет проводим по формулам (2) и (3)
;
;
;
Полученный коэффициент теплопередачи увеличиваем на 20% для учета
влияния мелких крепежных деталей:
Конструкция
изоляции переборки камеры фруктов и овощей
Рисунок 6
-теплоизоляция (РИПОР)
-рубероид
-алюминий
Расчет проводим по формулам (2) и (3)
;
;
;
Полученный коэффициент теплопередачи увеличиваем на 20% для учета
влияния мелких крепежных деталей:
Конструкция
изоляции выгородки мясной камеры пассажиров
Схема изоляции представлена на рисунке 7
Рисунок 7
-теплоизоляция (РИПОР)
-алюминий
-рубероид
Определяем коэффициент теплопередачи по формуле (1)
Полученный коэффициент теплопередачи увеличиваем на 20% для учета
влияния мелких крепежных деталей:
.
Конструкция
изоляции выгородки мясной камеры экипажа
Конструкция показана на рисунке 8
Рисунок 8
-теплоизоляция (РИПОР)
-рубероид
-алюминий
Определяем коэффициент теплопередачи по формуле (1)
Полученный коэффициент теплопередачи увеличиваем на 20% для учета
влияния мелких крепежных деталей:
Конструкция
изоляции палубы фруктов и овощей
Конструкция изоляции показана на рисунке 9
Рисунок 9
-теплоизоляция (РИПОР)
-плитка керамическая
-бетон
-рубероид
Определяем коэффициент теплопередачи по формуле (1)
;
Полученный коэффициент теплопередачи увеличиваем на 20% для учета
влияния мелких крепежных деталей:
.
Конструкция
изоляции палубы молока и молочных продуктов
Конструкция изоляции изображена на рисунке 10
Рисунок 10
-теплоизоляция (РИПОР)
-мастика
-бетон
Определяем коэффициент теплопередачи по формуле (1)
;
Полученный коэффициент теплопередачи увеличиваем на 20% для учета
влияния мелких крепежных деталей:
.
Конструкция
изоляции палубы камеры рыбы
Конструкция изоляции показана на рисунке 11
Рисунок 11
-бетон
-мастика
-рубероид
-теплоизоляция (РИПОР)
-алюминий
Коэффициент теплопередачи находим по формуле (1)
;
Полученный коэффициент теплопередачи увеличиваем на 20% для учета
влияния мелких крепежных деталей:
.
Конструкция
изоляции палубы камеры картофеля
Конструкция изоляции показана на рисунке 12
Рисунок 12
-дерево
-теплоизоляция (РИПОР)
-алюминий
Расчет проводим по формулам (2) и (3)
;
;
Полученный коэффициент теплопередачи увеличиваем на 20% для учета
влияния мелких крепежных деталей:
/
Конструкция
изоляции борта мясной камеры пассажиров
Конструкция изоляции показана на рисунке 13
Рисунок 13
-5-направление тепловых потоков по зонам
Набор судна смешанный. Вдоль по борту идет такого же профиля
стрингер. Расчет узла ведем по методу К.Я. Жилинский [5]
, (4)
где
- ширина полки набора, м
i- толщина бруска обрешетника, м
-теплопроводность слоя изоляции,
;
(5)
где
- ширина полки набора, м
- ширина изоляционного шпангоута, м
Определяем линейный коэффициент теплопередачи данного профиля по
формуле:
, (8)
где
(9)
-линейный коэффициент теплопередачи основной изоляции
- коэффициент теплопередачи основной изоляции
Находим средний коэффициент теплопередачи вдоль по борту по
формуле[13]
, (10)
где
-соответственно длины 1-й и 2-й зоны, м
S-суммарная длина двух зон, м
;
Определяем средний коэффициент теплопередачи поперек по борту по
формуле (10)
;
Средний коэффициент теплопередачи для всего данного узла находим
по формулам[13]
, (11)
где
-коэффициент теплопередачи изоляции,
учитывающий влияние поперечного набора,
;
; (12)
;
;
Полученный коэффициент теплопередачи увеличиваем на 20% для учета
влияния мелких крепежных деталей:
.
Конструкция
изоляции борта камеры хлеба
Конструкция изоляции показана на рисунке 14
Рисунок 14
Определяем коэффициент теплопередачи для всего данного узла
по формулам (4) - (12)
;
Полученный коэффициент теплопередачи увеличиваем на 20% для учета
влияния мелких крепежных деталей:
.
Конструкция
изоляции подволока
Конструкция изоляции подволока приведена на рисунке 15
Рисунок 15
Для определения коэффициента теплопередачи данного узла
применяем метод Ниточкина[13].
Тепловой поток первой зоны:
,
где
- приведенная толщина изоляции под полкой
профиля набора, м
(14)
Тепловой баланс второй зоны:
(15)
Тепловой поток третьей зоны:
, (16)
где S - расстояние между двумя профилями
набора, м
Определяем средний коэффициент теплопередачи по формуле:
(17)
Находим значение коэффициента теплопередачи в перпендикулярном
направлении, а рассматриваемому набору по формулам (13) - (17)
Так как набор в этом направлении состоит из уголков и тавров, то
нужно учесть их влияние друг на друга. Это влияние учитывается формулой из
источника[16]:
(18)
По формулам (11) и (12) определяем средний коэффициент
теплопередачи для всей конструкции, определив предварительно по формуле(1)
коэффициент теплопередачи для основной изоляции.
Полученный коэффициент теплопередачи увеличиваем на 20% для учета
влияния мелких крепежных деталей:
.
4.
Определение потребной холодопроизводительности холодильной установки провизионных
камер
.1
Исходные данные для расчета
Сохранение высоких качеств продуктов питания может быть
обеспечено только при стабильном температурном режиме, который поддерживается в
провизионных камерах. Для создания наиболее благоприятных режимов хранения продуктов
необходимо правильно выбрать оборудование камер и самой холодильной установки.
Холодильное оборудование подбирают на основе расчета,
учитывающего все виды теплопритоков, которые могут повлиять на изменение
температурного режима в камерах.
Теплопритоки, которые должна компенсировать холодильная
машина, называемые также статьями расхода холода, зависят от назначения судна и
холодильной установки, района плавания, рода охлаждаемого груза и т.д. расчет
теплопритоков ведется для самого напряженного периода эксплуатации судна с
наиболее высокими внешними средними температурами воздуха и воды.
Только после определения потребной холодопроизводительности
можно правильно подобрать компрессоры и аппараты холодильной установки.
В нашем случае рассчитываем следующие статьи расхода холода,
определяющие тепловую нагрузку
холодильной машины:
· теплоприток в камеры через ограждения внешней среды-
· теплоприток при обслуживании камеры-
· теплоприток, вызванный дополнительным охлаждением груза, который
был отеплен при погрузке-
· теплоприток от вентиляции при открывании дверей, учет влияния
пиллерсов и т.д.-
· тепловыделение фруктов и овощей для соответствующей провизионной
камеры-
Судно эксплуатируется в Центральном бассейне:
· температура воздуха
· температура воды
· относительная влажность 50%
4.2
Теплопритоки при существующей установке
Существующая на судне холодильная установка провизионных
камер рассчитана на следующие теплопритоки:
· теплоприток через ограждения-
· теплоприток, вызываемый открытием дверей при обслуживании и т.д.-
;
· теплоприток на дополнительное охлаждение отепленного груза:
камера для мяса большая (
);
камера для мяса малая (
);
камера для рыбы (
);
камера для молока (
);
камера для хлеба (
);
камера для напитков (
);
камера для фруктов и овощей (
)
· теплоприток от дыхания фруктов и овощей для
соответствующей провизионной камеры.
Провизионные камеры №6, №7, и №8 собраны в холодильный цикл с
отрицательными температурами хранения. Общая холодопотребность всех этих помещений
составляет 12535 Вт.
Провизионные камеры №1 - №5 собраны в холодильный цикл с
положительными температурами хранения. Общая холодопотребность всех этих
помещений составляет 34235 Вт.
По рассчитанным ранее коэффициентам теплопередачи конструкции
делаем расчет теплопритоков для каждой провизионной камеры в отдельности.
4.3
Расчет теплопритоков провизионных камер
Мясная
камера для пассажиров
1. Теплоприток через ограждения определяем по формуле
из источника[13]
, (19)
где К-коэффициент теплопередачи,
;
F-площадь ограждения,
;
-разница между температурой окружающей среды и температурой
хранения,
Теплоприток через палубу:
Теплоприток через подволок:
Теплоприток через переборки и борт:
;
;
;
;
Суммарный теплоприток через ограждения
2. Теплоприток при обслуживании камер определяется по
формуле:
, (20)
где 232
- тепловыделение одного работающего
человека при физической работе средней трудности;
m-количество работающих людей;
z-число часов работы в камере;
w - мощность электролампы освещения, Вт;
N-мощность механизмов в камере, кВт.
3. Теплоприток на дополнительное охлаждение отепленного
груза находим по формуле:
, (21)
где
- масса отепленного груза, кг;
- соответственно теплосодержание отепленного груза и груза при
температуре хранения,
;
z - время термической обработки груза, сут
;
Суммарный теплоприток этих трех статей:
4. Теплоприток, вызываемый открыванием дверей и т.д.,
он берестя ориентировочно в размере 10% от суммарного теплопритока трех
предыдущих статей.
;
Общий теплоприток для мясной камеры пассажиров составляет
.
Мясная
камера для экипажа
Теплоприток через ограждения определяется по формуле(19)
1. Теплоприток через палубу:
Теплоприток через подволок:
Теплоприток через переборки и борт:
;
;
;
;
;
Суммарный теплоприток через ограждения:
2. Теплоприток при обслуживании камер находим по
формуле (20)
3. Теплоприток на дополнительное охлаждение отепленного
груза определяем по формуле (21)
Суммарный теплоприток этих трех статей:
4. Теплоприток вызванный открытием дверей и т.д.:
Общий теплоприток для этой камеры составит:
Камера
для молока и молочных продуктов
1. Теплоприток через ограждения определяется по формуле
(19)
Теплоприток через палубу:
Теплоприток через подволок:
Теплоприток через переборки и борт:
;
;
;
;
Суммарный теплоприток через ограждения:
2. Теплоприток при обслуживании камер находим по
формуле (20)
3. Теплоприток на дополнительное охлаждение отепленного
груза определяем по формуле (21)
Суммарный теплоприток этих трех статей:
. Теплоприток вызванный открытием дверей и т.д.:
Общий теплоприток для этой камеры составит:
Рыбная
камера
1. Теплоприток через ограждения определяется по формуле (19)
Теплоприток через палубу:
Теплоприток через подволок:
Теплоприток через переборки и борт:
;
;
;
;
;
Суммарный теплоприток через ограждения:
. Теплоприток при обслуживании камер находим по формуле (20)
. Теплоприток на дополнительное охлаждение отепленного груза
определяем по формуле (21)
Суммарный теплоприток этих трех статей:
4. Теплоприток вызванный открытием дверей и т.д.:
Общий теплоприток для этой камеры составит:
Камера
хлеба
1. Теплоприток через ограждения определяется по формуле (19)
Теплоприток через палубу:
Теплоприток через подволок:
Теплоприток через переборки и борт:
;
;
;
;
Суммарный теплоприток через ограждения:
;
2. Теплоприток при обслуживании камер находим по формуле (20)
3. Теплоприток на дополнительное охлаждение отепленного груза
определяем по формуле из источника [16]:
,
где С - теплоемкость одного кг. продукта,
;
;
Суммарный теплоприток этих трех статей:
;
4. Теплоприток вызванный открытием дверей и т.д.:
;
Общий теплоприток для этой камеры составит:
Камера
для картофеля
1. Теплоприток через ограждения определяется по формуле (19)
Теплоприток через палубу:
Теплоприток через подволок:
Теплоприток через переборки и борт:
;
;
;
;
Суммарный теплоприток через ограждения:
;
2. Теплоприток при обслуживании камер находим по формуле (20)
3. Теплоприток на дополнительное охлаждение отепленного груза
определяем по формуле (21)
;
Суммарный теплоприток этих трех статей:
;
4. Теплоприток вызванный открытием дверей и т.д.:
;
Общий теплоприток для этой камеры составит:
Камера
для напитков
1. Теплоприток через ограждения определяется по формуле (19)
Теплоприток через палубу:
Теплоприток через подволок:
Теплоприток через переборки и борт:
;
;
;
;
;
Суммарный теплоприток через ограждения:
2. Теплоприток при обслуживании камер находим по формуле (20)
3. Теплоприток на дополнительное охлаждение отепленного груза
определяем по формуле (22)
;
Суммарный теплоприток этих трех статей:
;
4. Теплоприток вызванный открытием дверей и т.д.:
;
Общий теплоприток для этой камеры составит:
.
Камера
для фруктов и овощей
1. Теплоприток через ограждения определяется по формуле (19)
Теплоприток через палубу:
Теплоприток через подволок:
Теплоприток через переборки и борт:
;
;
;
;
;
Суммарный теплоприток через ограждения:
;
2. Теплоприток при обслуживании камер находим по формуле (20)
3. Теплоприток на дополнительное охлаждение отепленного груза
определяем по формуле (21)
;
Фрукты и овощи, кроме прочих, имеют еще одну статью расхода
холода. Это так называемое «тепло дыхания», которое определяется по формуле Дезента:
,
где
-масса груза, т
;
Суммарный теплоприток этих четырех статей:
;
4. Теплоприток вызванный открытием дверей и т.д.:
;
Общий теплоприток для этой камеры составит:
В данном разделе рассчитаны нагрузки на воздухоохладители камер.
Далее определим нужную холодопроизводительность компрессора.
5. Расчет и подбор оборудования
.1
Расчет и подбор компрессорно-конденсаторного агрегата
Холодильная установка провизионных камер состоит из
компрессорно-конденсаторных агрегатов, воздухоохладителей, водяных насосов для
охлаждения конденсаторов и вспомогательной аппаратуры.
Расчет и подбор оборудования проводим на основе определенных
ранее теплопритоков каждой провизионной камеры. Холодильное оборудование
выбирается из выпускаемых отечественной промышленностью агрегатов и
теплообменников.
Для подбора компрессорно-конденсаторного агрегата прежде
всего определяют рабочую холодопроизводительность компрессора по формуле:
,
где
- нагрузка на компрессор равна суммарному
теплопритоку в несколько камер, охлаждаемых холодильным агрегатом, кВт.
Провизионные камеры №6, №7, №8 на нашем судне обслуживаются общим
компрессорно-конденсаторным агрегатом. Суммарный теплоприток в эти камеры
равен:
Q = 2741.211 + 4680.192 + 2221.175 = 9642.578 Вт.
Провизионные камеры №1 - №5 на судне обслуживает другой
компрессорно-конденсаторный агрегат. Суммарный теплоприток в эти камеры равен:
Q = 6113.382 + 7368.598 + 6186.224 + 4470.202 + 2196.931 =
26335.337Вт.
Холодильные компрессоры выбираются по рабочему объему Vp. Он определяется по формуле:
,
где Vo - объемная подача компрессора, известная из
теоретического цикла холодильной установки;
- коэффициент подачи компрессора в рабочем температурном режиме.
Для определения Vo и
строим и рассчитываем теоретический цикл
холодильной установки.
Перед построением теоретического цикла надо рассчитать значения
определяющих его температур: кипения
, конденсации, переохлаждения жидкости
перед дроссельным клапаном и всасываемых
паров
перед компрессором.
Значение
зависит от температуры хранения
и типа системы охлаждения помещений:
=
-
,
где
-температурный напор между кипящим
хладагентом и испарителеи воздухом трюма.
=8
-для воздушной системы охлаждения с
непосредственными воздухоохладителями.
На нашем судне конденсаторы охлаждаются забортной водой. В этом
случае температура
=
+(6
8)
.
Температура
паров хладагента во всасывающем патрубке
компрессора определяется как:
,
где
- перегрев паров, всасываемых
компрессором.
При наличии регенеративного теплообменника общий перегрев паров,
всасываемых компрессором, составляет
=(15
30)
.
Температура переохлаждения
определяется по формуле:
=
+(4
5)
Расчет
теоретического цикла холодильной установки для камер №6, №7 и №8
После определения определяющих температур, строим теоретический
цикл СХУ на диаграмме хладагента R502/
Далее определяем холодильный коэффициент:
,
где
- энтальпии соответствующих точек цикла
Далее определяем объемную подачу компрессора
,
где
-определятся с диаграммы хладагента R502,
;
М - массовый расход хладагента в контуре
,
где
- тепловая нагрузка на компрессор
,
где
- коэффициент запаса
холодопроизводительности,
;
-суммарный теплоприток от камеры;
- время работы холодильных компрессоров в течение суток
Коэффициент подачи компрессора в температурном режиме
определяется:
,
где
- коэффициенты учитывающие потери
соответственно: объемные, при дросселировании, при подогреве, при неплотностях.
Поскольку расширение идет достаточно круто в начале процесса
(1-2), то без большой погрешности объем в точке
принимается равным объему в точке 1; т.е.
из уравнения политропы (для точек
)
,
,
где n - показатель политропы расширения.
Следовательно, объемный коэффициент
,
где С - относительный объем вредного пространства, С=0.015
Для хладоновых компрессоров
(обычно n=1)
Коэффициент учитывающий потери при дросселировании обычно
принимается
Всасываемый компрессором холодный пар подогревается, соприкасаясь
со стенками компрессора, нагретыми теплотой сжатия. В результате подогрева пара
его удельный объем увеличивается (полностью сжимается), а массовая подача и
холодопроизводительность компрессора уменьшаются. Потери возникающие из-за
теплообмена при всасывании, учитываются коэффициентом подогрева, определяемым
по эмпирической формуле:
,
где
- абсолютные температуры кипения и конденсации,
К
Объем перекачиваемого компрессором пара снижает также его протечки
через неплотности клапанов, поршней, сальника компрессора и т.д.
Объемные потери, вызываемые протечками через неплотности,
учитываются коэффициентом плотности
;
;
;
Аналогично рассчитываем теортический цикл холодильной установки
для камер №1 - №5.
Расчет
теоретического цикла холодильной установки для камер №1 - №5
;
;
;
;
;
;
;
;
По рассчитанным рабочим объемам подбираем оптимальный
компрессорный агрегат.
Характеристики
компрессорного агрегата
Марка ПБ-14
Число цилиндров 2
Диаметр цилиндра, м 0.067
Объём, описываемый поршнем,
0.011
Холодопроизводительность, кВт
при
14
Мощность электродвигателя, кВт 9
Подбор конденсатора осуществляется по наибольшей площади
теплообменной поверхности, которая определяется по формуле:
,
где
-площадь теплообменной поверхности
соответствующего аппарата,
;
- тепловой поток в аппарате (его тепловая нагрузка), кВт;
- плотность теплового потока в аппарате (тепловая нагрузка 1
наибольшей площади теплообменной
поверхности),
;
- коэффициент запаса теплообменной поверхности на заглушение части
теплообменных трубок из-за их повреждения:
- для конденсаторов.
,
где
- суммарная холодопроизводительность
компрессора, работающего на рассчитываемый конденсатор, кВт
-электрическая мощность для компрессора с встроенным приводом, кВт
Электрическая мощность компрессора рассчитывается по формуле:
,
где
-теоретическая мощность, кВт;
- индикаторный КПД, учмтывающий отклонение между действительными
процессами компрессора и теоретическими;
- 0.84 - механический КПД, учитывающий потери на трение;
=0.8 - КПД электродвигателя
;
где
- опытный коэффициент, для хладонов
- температура кипения с соответствующим знаком,
По рассчитанным наибольшей теплообменной поверхности подбираем
конденсатор КТР-12
Характеристики
конденсатора
Наибольшая площадь теплообменная поверхность,
12.8
Максимальная нагрузка, кВт 43.3
5.2
Расчет и выбор циркуляционного насоса
Для охлаждения конденсатора необходим циркуляционный насос,
подающий забортную воду. Необходимая подача насоса рассчитывается по формуле:
,
где
- холодопроизводительность установки, кВт;
- разность температур на входе и выходе,
(принимается 4
);
- теплоемкость воды,
;
- плотность воды,
;
;
;
Тогда
По величине подачи V и напору из
каталога [1] выбираем три консольных центробежных насоса марки К 20/18.
Характеристика
насоса
Марка К 20/18
Подача,
20
Напор, м 18
Частота вращения,
2900
Мощность, кВт 1.45
КПД 0.67
5.3
Расчет и подбор регенеративного теплообменника
Расчет теплообменника сводится к определению требующейся
поверхности нагрева [13]:
,
где
-тепловая нагрузка на теплообменник, кВт;
- коэффициент теплопередачи по наружной поверхности,
;
принимаем
;
-коэффициент запаса поверхности, учитывающий в основном наличие
масла в теплообменнике,
;
,
где
- количество циркулирующего хладагента,
;
- изменение энтальпии жидкости или пара в теплообменнике,

Расчет регенеративного теплообменника выполнен за один цикл,
обслуживающий камеры с отрицательными температурами.
Выбираем регенеративный теплообменник
-32.
5.4
Подбор ребристого воздухоохладителя непосредственного охлаждения
На теплоходе данного проекта применена воздушная система
охлаждения провизионных камер с воздухоохладителями непосредственного
охлаждения.
Подбор воздухоохладителя осуществляем по уже известной
формуле наибольшей площади теплообменной поверхности.
Выбираем воздухоохладители марок ВОП 50 - без оттайки, и ВОП
50Э - с оттайкой.
Характеристика
воздухоохладителя
Наибольшая площадь теплообменной поверхности,
50
Мощность, кВт
· при частоте вращения 1000
0.4
· при частоте вращения 1500
0.6
Расход воздуха,
· при частоте вращения 1000
2400
· при частоте вращения 1500
3400
Мощность электронагревателя, кВт 8.68
Масса, кг 340
Для обеспечения нормального воздухообмена в охлаждаемых
камерах необходимо подобрать вентилятор, в соответствии с расходом воздуха
подобранного нами воздухоохладителя подбираем из каталога [3] вентилятор марки
К-95 тип ABE 042-4.
Техническая
характеристика вентилятора
Подача,
0.333
Мощность, кВт 0.11
6.
Автоматизация холодильной установки провизионных камер
.1
Требования, предъявляемые к приборам автоматики холодильной машины
Автоматизация холодильной установки увеличивает
производительность труда обслуживающего персонала, сокращает эксплуатационные
расходы, вследствие уменьшения непроизводственного расхода электроэнергии, т.к.
автоматизированная установка всегда работает в оптимальном режиме.
- приборы автоматического контроля, при помощи которых
осуществляются измерения температуры и давления;
приборы автоматической защиты, прекращающие работу всей
холодильной установки или отдельных ее элементов при опасных режимах
контролируемой величины (давление, температуры, режима работы
электродвигателей, компрессоров);
приборы автоматического управления, обеспечивающие включение
(отключение) всей установки или ее элементов;
приборы автоматического регулирования, обеспечивающие
поддержания заданного значения контролируемой величины или ее изменения по
отдельной программе. Эти приборы часто выполняют фукнцию автоматического
управления.
Назначение холодильной установки на судне заключается в
поддержании с незначительными отклонениями постоянной температуры в
провизионных камерах.
Автоматическое устройство обеспечивает значительные улучшения
работы холодильной установки. Они способствуют более точному поддержанию
температуры охлаждаемых объектов, сокращению эксплуатационных расходов,
увеличению сроков службы холодильной установки, надежную защиту ее от аварий.
6.2
Автоматизация холодильной установки с бессальниковым компрессором
Данная установка имеет автоматизацию, которая позволяет
непрерывное обслуживание и контроль ее в процессе эксплуатации, при этом
снижается трудоемкость обслуживания установки.
Система автоматизации данной установки обеспечивает
управление, защиту, измерение основных величин и выдачу аварийного сигнала на
пульт управления.
Основная задача установки - поддержание различных температур
хранения в провизионных камерах. Каждая провизионная камера оборудована
испарителем - воздухоохладителем, двигатель вентилятора которого управляется
соответствующим магнитным пускателем, и вспомогательной аппаратурой управления.
В установку также входит бессальниковый компрессор ПБ-14, водяной кожухотрубный
конденсатор, водяной насос для охлаждения конденсатора и регенеративный
теплообменник вместе с фильтром - осушителем.
В провизионных камерах различные температуры хранения
продуктов. Поддержание заданной температуры в камерах производится включением и
отключением соответствующего воздухоохладителя R1.
Включение и отключение воздухоохладителя может производиться
прекращением подачи хладагента с одновременной остановкой вентилятора, либо с
непрерывной его работой.
Автоматическое регулирование осуществляет реле температуры,
чувствительные элементы которого размещены в камерах. Питание воздухоохладителя
жидким хладагентом осуществляется терморегулирующими вентилями через
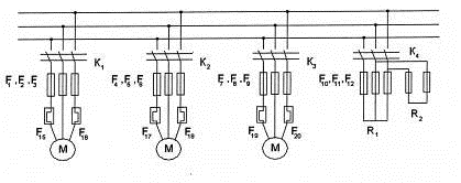
соленоидные вентили К10, К14, К17 (см. рисунки 17, 18)
Термобаллон терморегулирующего вентиля расположен на
всасывающем трубопроводе, с тем, чтобы улучшить регулирование подачи хладагента
в испаритель воздухоохладителя.
Комплект защитных устройств включает блочное реле давление
всасывания и нагнетания, реле контроля смазки и тепловые реле
.
Автоматическая работа компрессора осуществляется по командам регулирующих
камерных реле: компрессор пускается при замыкании контакта любого из этих реле
и останавливается после размыкания контактов всех реле.
Воздействия от камерных реле температуры передаются к пускателю
компрессора через комплект устройств автоматического управления. С помощью
многополюсного переключателя компрессора может быть включен на автоматическую
работу, пущен вручную, либо остановлен.
Компрессор имеет регулятор холодопроизводительности, он
осуществляет регулирование на 100% и на 50%. Это выполняется следующим образом.
Реле низкого давления при значительном снижении давления всасывания размыкает
контакты соответствующего промежуточного реле, которое размыкает контакты
соленоидного вентиля регулятора холодопроизводительности. Соленоидный вентиль
выключает из работы один из двух цилиндров посредством соединения всасывающего
и нагнетательного трубопроводов.
Включение установки на режим оттаивания производится термостатом
оттайки, отключение производит реле времени Е7.
Рисунок 16
Рисунок 17
7.
Технология монтажа компрессорно-конденсаторных агрегатов
.1
Общие сведения
В результате проведенных выше расчетов получим, что на судне
необходимо установить три компрессорно-конденсаторных агрегата марки
(компрессор ПБ14, конденсатор КТР12) и два консольных насоса К20/18 для
обслуживания провизионных камер теплохода
Рассмотрим процесс монтажа компрессорно-конденсаторного
агрегата:
1. Последовательность монтажа:
.1. Отрезать уголок неравнобокий по ГОСТу 8510-86 длиной 2 м,
номер профиля 16/10.
.2. Ручной сваркой, электродами с тонкой обмазкой прихватить
уголки.
.3. Проверить плоскость уголков, на которую устанавливается
компрессор, на параллельность.
.4. Приварить уголки по всей длине в соответствии с ГОСТом
5264-80-т1
.5. Проверить отверстия под крепежные болты, предварительно
разметить их.
.6. Закрепить компрессор тросами за проушины судовой талью.
.7. Установить компрессор на станину и закрепить.
.8. Соединить муфтой коленчатый вал компрессора с валом
электродвигателя.
.9. Подсоединить все трубопроводы, шланги, автоматику и т.д.
. Меры безопасности при монтаже:
.1. Нельзя допускать к выполнению монтажных работ лиц, не
сдавших техникума по эксплуатации и не прошедших инструктажа по технике
безопасности.
.2. При монтаже компрессоров пользоваться только исправными
тросами, обеспечивающими равномерное распределение нагрузки на проушины.
.3. При выполнении монтажных работ выполнить меры
безопасности, изложенные в правилах по технике безопасности и производственной
санитарии, а также типовых инструкций по технике безопасности по профессиям.
.4. При выполнении электросварочных работ электросварщик
обязан надеть брезентовый костюм с огнестойкой пропиткой, ботинки с глухим
верхом и головной убор и привести в порядок необходимые для работы средства
индивидуальной защиты.
Прежде чем зажечь дугу электросварщик обязан предупредить об
этом окружающих и привести в рабочее положение щиток или шлем.
Места для сварочных работ в радиусе 5 м должны быть очищены
от стружек, палок, и других воспламеняющихся материалов.
Включать в электросеть и отключать от нее электросварочные
установки, а также производить ремонт имеют право только электромонтеры.
7.2
Подбор и проверочный расчет амортизаторов
По статической нагрузке, приходящейся на амортизатор,
подбираем амортизатор типа АКСС - амортизатор корабельный, сварной со
страховкой по резине. Масса установленного агрегата 258 кг. Потребное
количество амортизаторов 4.
Статическую нагрузку на каждый амортизатор находим по формуле
кг.
Исходя из этого принимаем амортизатор АКСС-65И с номинальной
статической нагрузкой 65 кг.
Амортизатор типа АКСС состоит из скобы, несущей втулки и
нижней полки, скрепленных между собой привуанизированным к ним резиновым
массивом. Разрушение массива не повлечет за собой разрушения металлических
деталей амортизатора и срыва агрегата с фундамента. Резина в амортизаторах
должна выдерживать без разрушения и отслоения пятнадцатикратные нагрузки.
Исходя из этого условия производится проверочный расчет амортизаторов.
Во время эксплуатации на амортизаторы действуют различные
нагрузки: масса, силы инерции, вызванные бортовой качкой, торможением,
столкновением и т.д.
Определим равнодействующую силы эксплуатационных нагрузок,
сдвигающих агрегат в плоскости крепления.
,
где
кН - статическая нагрузка;
- упорное и тяговое усилие, при установке в горизонтальной
плоскости
;
- инерционное усилие, возникающее при качке или деференте,
действующих в плоскости крепления, кН.
кН,
где Т=25 с - период качки;
х=3,2 м - расстояние от центра тяжести судна до центра тяжести
агрегата.
кН.
Определим равнодействующую силу эксплуатационных нагрузок на
один амортизатор
кН.
Предельно допустимая нагрузка на амортизатор определяется по
формуле:
кН.
Условие прочности
выполняется.
7.3
Расчет режимов резания сверлильной операции
Для удобства монтажа и надежности крепления агрегатов, их
устанавливаем на раму, изготовленную из ст. 3 ГОСТ 380-88. Глубина сверления
принимается равной толщине листа S=20 мм.
Число отверстий, необходимых для крепления 4 амортизаторов i=8. Диаметр отверстии D=20.25 мм, так как
крепление осуществляется болтами М20х60 ГОСТ 7798-80.
Допустимая скорость резания Vр,
,
где
- коэффициент, характеризующий материал
заготовки;
D - диаметр сверла;
Т=5,0 - стойкость сверла;
S=0,1 мм/об - подача при среднем усилии человека 300 Н;
m=0,2 - показатель относительной стойкости сверла;
zv=0,4 - показатель степени;
yv=0,7 - показатель степени;
Кv - поправочный коэффициент,
характеризующий изменение условий резания, Кv=0,7.
м/мин.
Расчет частоты вращения сверла
мин-1;
Действительная скорость резания
м/мин.
Мощность, необходимая для резания
,
где М - момент от сил сопротивления резания, Н∙м.
,
где Сm=34,5 -
коэффициент характеризующий материал;
zv=2 - показатель степени;
yv=0,8 - показатель степени;
Кm=1,2 - поправочный коэффициент, характеризующий
изменение условий резания.
Н∙м;
кВт;
Выбираем сверлильный переносной станок СПС-32 с частотой
вращения шпинделя nшп=1270 мин-1 и мощностью на шпинделе N=1,47 кВт.
Мощность резания меньше, чем номинальная мощность сверлильной
машины.
Расчет
момента затяжки болтов:
К - коэффициент трения гайка-болт (принимаем 0.24)
внутренний диаметр болта
7.4
Расчет штучно-калькуляционного времени
Расчет производим по укрупненным нормативам по следующей
формуле
,
где Т0 - основное время, мин;
Тв - вспомогательное время, мин;
Тп.з. - подготовительно-заключительное время, мин;
К0=7 - коэффициент, учитывающий.
Значения Т0, Тв, Тп.з. выбираем
из источника [14].
мин.
7.5 Последовательность технологического процесс
монтажа 2-х агрегатов, выбор средств технологического оснащения
Технологический процесс монтажа включает в себя следующие
операции:
1. Заготовительную
Изготавливаем планки, при помощи отрезного станка 8В66.
Применяем инструмент: пила круглая ГОСТ 4047-82.
. Разметочную
Устанавливаем шаблон на раму, ориентируем его по осевым
рискам рамы и чертим по разметке.
Применяем инструменты: чертилку, кернер, молоток, линейку.
. Сверлильную
Сверлим по разметке 2 отверстия.
Применяем: вертикальный сверлильный станок 2Н125К, сверло Ø20.25 мм
. Сборочная
При помощи сварочного трансформатора ТС -15 и электродов
УОНИИ 13/45 ГОСТ 9466-85 привариваем планки к фундаментной раме.
. Контрольная
Наружный осмотр, проверить поверхность на отсутствие наружных
повреждений - визуальный контроль, проверить поверхность на параллельность
(линейка металлическая ГОСТ 7286-88), проверить качество сварных швов -
визуально.
. Монтажная
Крепить амортизатор на раме, совместить отверстия в лапах
агрегата с головками амортизаторов, привести агрегаты в горизонтальное
положение.
Применяем: Ключ гаечный 7811-0023 НС1х32 ГОСТ 2839-80 е,
уровень микрометрический ГОСТ 11196-74, болты М20х60.
7. Крепежная
Крепим агрегаты к амортизаторам, с учетом момента затяжки
болтов. Применяем: Ключ гаечный 7811-0023 НС1х32 ГОСТ 2839-80 е, шайбы
регулировочные.
7.6
Контроль качества монтажа
Качество монтажа определяется правильным расположением
оборудования на судне, соответствием его креплениям требованиям чертежа и
отсутствием деформаций в статистическом состояние. Большие трудности возникают
при монтаже недостаточно жестких центруемых крупногабаритных механизмов,
незначительные деформации которых нарушают их стендовую сборку. Методы контроля
должны быть технологичными в исполнение и исключать разборку механизмов на
судне.
8.
Технико-экономическое обоснование
Проводя технико-экономическое обоснование проекта, необходимо
рассмотреть несколько вариантов холодильного оборудования установки
провизионных камер пассажирского судна проекта Q040 и выбрать из них тот,
который наиболее надежен в работе, у которого меньше вероятность отказов и
который обеспечивает наибольший экономический эффект.
Настоящий раздел проекта включает в себя расчет
технико-экономических показателей холодильного оборудования.
На судне установлено импортное оборудование, и за базовый
вариант принимаем вариант отечественного, который по своим параметрам близок к
иностранному.
Производственно-технические данные для расчета,
технико-экономических показателей, берутся из технической части проекта, в
которой сделан расчет и выбор холодильного оборудования установки провизионных
камер.
Производственно-технические
данные
|
№ п./п.
|
Наименование
изделия
|
Характеристика
|
Кол.
|
Вес ед., кг
|
Цена за ед.,
руб.
|
|
1
|
а) Компрессор
б) Конденсатор
|
тип: ПБ 14
производит. 14кВт мощность эл. дв. 9кВт тип: КТР12 производ. 43.3кВт
|
3 3
|
108 40
|
22446
|
2 Насос Центробежный тип: К20/18 подача 20
напор 18 м
|
мощность
1.45.кВт9645568
|
|
|
|
|
|
3
|
Компрессорно-конденсаторный
Агрегат
|
тип: АК1-4
производ. 4.6кВт мощность эл. дв. 2.1кВт
|
4
|
252
|
21924
|
|
4
|
Компрессорно-конденсаторный
Агрегат
|
тип:
МАКБ4-221/2 производ. 8.7кВт мощность эл. дв. 3.5кВт
|
3
|
335
|
29145
|
Так как камерное оборудование остается неизменным, то
рассмотренные варианты состоят из следующего оборудования:
Вариант 1:
• 3-компрессорно-конденсаторных агрегата (компрессор ПБ14,
конденсатор КТР12);
• 3-консольных центробежных насоса К20/18 для охлаждения
конденсаторов;
Вариант 2:
• 4-компрессорно-конденсаторных агрегата АК1-4;
• 4-консольных центробежных насоса К20/18 для охлаждения
конденсаторов;
Вариант 3:
• 3-компрессорно-конденсаторных агрегата МАКБ4-221/2;
• 2-консольных центробежных насоса К20/18 для охлаждения
конденсаторов; Расчет сравниваемых вариантов состоит из следующих разделов:
. Расчет строительной стоимости оборудования холодильной
установки.
. Расчет эксплуатационных расходов.
. Расчет технико-экономических показателей. В данном расчете
за базовый принимаем вариант 1.
8.1
Расчет строительной стоимости холодильного оборудования
Расчет проводится на основании данных источника [11].
а) Весовых показателей оборудования;
б) Прейскурантов оптовых цен на холодильное оборудование;
в) Нормативов и методических материалов по расчету
строительной стоимости.
Статья 1.
Стоимость холодильного оборудования.
Для определения общей стоимости оборудования составляется
«Ведомость поставок», которая приведена в таблице 2.
Вариант
холодильного оборудования
|
№ п./п.
|
Наименование
поставок
|
тип
|
Кол.
|
Общий вес, кг
|
Стоимость, руб.
|
|
1
|
Вариант 1
Компрессорно-конденсаторный агрегат, Насос
|
ПБ14, КТР12
К20/18
|
3
|
966
|
84042
|
|
2
|
Вариант 2
Компрессорно-конденсаторный агрегат, Насос
|
АК1-4 К20/18
|
4 4
|
1264
|
109968
|
|
3
|
Вариант 3
Компрессорно-конденсаторный агрегат, Насос
|
МАКБ4221-2
К20/18
|
3 2
|
1133
|
98571
|
Компрессорно-конденсаторные агрегаты поставляются в готовом
виде, поэтому в данном разделе рассчитывается только монтаж их на судно.
Статья 2.
Расчет трудоемкости на монтаж оборудования.
Трудоемкость определяется по формуле:
где m-масса устанавливаемого оборудования, кг
-норма выработки, кг/ч
Расчет варианта 1:
Статья 3
Итого материальных затрат 84042 руб.
Статья 4
Прямая заработная плата производственных рабочих.
,
где
- коэффициент, учитывающий изменение норм
вырабтки.
С - среднеотраслевая часовая ставка, руб.
-коэффициент, учитывающий доплаты, включаемые в основную
заработную плату.
Статья 5
Дополнительная заработная плата. Она определяется по формуле:
,
где
- норматив дополнительной заработной
платы.
Статья 6
Отчисление на социальные нужды.
Они определяются в размере 26% от суммы основной и дополнительной
заработной платы.
Статья 7
Расходы на подготовку и освоение производства. Определяется в
размере 5% от суммы прямой и дополнительной заработных плат.
,
где
- сумма прямой и дополнительной
заработных плат.
=5027.32 руб.;
Статья 8
Расходы на содержание и эксплуатацию оборудования, которые
определяются в размере 356% от суммы прямой и дополнителной заработных плат.
Статья 9
Общецеховые расходы. Определяются в размере 259% от суммы прямой и
дополнительной заработных плат.
Статья 10
Общезаводские расходы. Определяются в размере 260% от суммы прямой
и дополнительной заработных плат.
Статья 11
Сумма статей 1-10.
Статья 12
Прочие производственные расходы. Определяются в размере 35% от
статьи 11.
Статья 13
Сумма статей 1-12.
Статья 14
Неучтенные расходы определяются в размере 3% от статьи 13.
Статья 15
Производственная себестоимость. Сумма статей 1-14.
Статья 16
Внепроизводственные расходы - не рассчитываются.
Статья 17
Прибыль. Принимается в размере 30% от статьи 15.
Статья 18
Цена отпускная.
Вариант 2
Статья 2
Статья 3
Итого материальных затрат 109968 руб.
Статья 4
Статья 5
Статья 6
Статья 7
Статья 8
Статья 9
Статья 10
Статья 11
Сумма статей 1-10.
Статья 12
Прочие производственные расходы. Определяются в размере 35% от
статьи 11.
Статья 13
Сумма статей 1-12.
Статья 14
Неучтенные расходы определяются в размере 3% от статьи 13.
Статья 15
Производственная себестоимость. Сумма статей 1-14.
Статья 16
Внепроизводственные расходы - не рассчитываются.
Статья 17
Прибыль. Принимается в размере 30% от статьи 15.
Статья 18
Цена отпускная.
Вариант 3
Статья 2
Статья 3
Итого материальных затрат 98571 руб.
Статья 4
Статья 5
Статья 6
Статья 7
Статья 8
Статья 9
Статья 10
Статья 11
Сумма статей 1-10.
Статья 12
Прочие производственные расходы. Определяются в размере 35% от
статьи 11.
Статья 13
Сумма статей 1-12.
Статья 14
Неучтенные расходы определяются в размере 3% от статьи 13.
Статья 15
Производственная себестоимость. Сумма статей 1-14.
Статья 16
Внепроизводственные расходы - не рассчитываются.
Статья 17
Прибыль. Принимается в размере 30% от статьи 15.
Статья 18
Цена отпускная.
Расчет
строительной стоимости холодильного оборудования
|
№ П./П.
|
Наименование
статей
|
|
|
Вариант 1
|
Вариант 2
|
Вариант 3
|
|
1. 2. 3. 4. 5.
6. 7. 8. 9. 10. 11. 12. 13. 14. 15. 16. 17. 18.
|
Стоимость
оборудования Трудоемкость работ Итог по статьям 1,2 Прямая заработная плата
Дополнительная заработная плата Отчисления на социальные нужды Расходы на его
освоение и подготовку Расходы на содержание и эксплуатацию оборудования
Общецеховые расходы Общезаводские расходы Сумма статей 1-10 Прочие
производственные расходы Сумма статей 1-12 Неучтенные расходы
Производственная себестоимость Внепроизводственные расходы Прибыль Цена
отпускная
|
84042 193.2
84042 3515.11 1511.71 1286.99 251.366 17897.26 13020.76 13071.032 134596.72
47108.85 181705.58 5451.17 187156.75 - 56147.02 243303.77
|
109968 252.8
109968 4600.13 1978.05 1684.01 328.9 23418.34 17037.5 17103.28 176118.216
61641.38 237829.59 7134.88 244964.45 - 73489.34 318453.79
|
98571 226.6
98571 4123.37 1773.05 1509.48 294.82 20991.25 15271.72 15330.69 157865.38
55252.88 213118.26 6393.54 219511.8 - 65853.54 285365.3
|
8.2
Расчет эксплуатационных расходов
Вариант 1
Статья 1
Заработная плата обслуживающего персонала.
Обслуживающий персонал состоит из одного человека - рефмеханика.
Он обслуживает и холодильную установку кондиционирования воздуха. Поэтому на
содержание холодильной установки относим 20% его заработной платы.
Фонд заработной платы рефмеханика определяем по формуле:
,
где ОК=3400 руб.-месячный оклад рефмеханика;
=0.1-коэффициент доплат к должностному окладу;
- 160 сут. - длительность навигационного периода;
.5 - среднее число дней в месяце.
Статья 2
Отчисление на социальные нужды.
;
- отчисление на социальные нужды.
Статья 3
Расход на рацион бесплатного питания.
,
где
=60 - норматив стоимости бесплатного
питания на 1 человека в сутки.
Статья 4
Расход на амортизацию.
,
где
=4% - норма амортизационных отчислений;
- строительная стоимость холодильной установки.
Статья 5
Расход по текущему ремонту.
,
где
- норматив отчислений на текущий ремонт;
Статья 6
Расход по навигационному ремонту.
,
где
- норматив расходов по навигационному
ремонту.
Статья 7
Расход на материалы и износ малоценного и быстроизнашивающегося
инвентаря.
,
где
- отчисления от строительной стоимости
холодильной установки.
Статья 8
Расходы на электроэнергию за навигационный период.
,
где 2.5-стоимость 1 кВт/ч;
- мощность электродвигателя, кВт;
- количество работы холодильной установки в сутки;
Статья 9
Прочие прямые расходы. Определяются в размере 1% от суммы
предыдущих расходов.
Статья 10
Общие эксплуатационные расходы по холодильной установки
провизионных камер составляют:
Вариант 2
Статья 1
Статья 2
Статья 3
Статья 4
Статья 5
Статья 6
Статья 7
Статья 8
Статья 9
Статья 10
Вариант 3
Статья 1
Статья 2
Статья 3
Статья 4
Статья 5
Статья 6
Статья 7
Статья 8
Статья 9
Статья 10
Эксплуатационные расходы холодильного оборудования
|
№ П./П.
|
Наименование
статей
|
Расходы, руб.
|
|
|
Вариант 1
|
Вариант 2
|
Вариант 3
|
|
1. 2. 3. 4.
5. 6. 7. 8. 9. 10.
|
Заработная
плата обслуживающего персонала Отчисление на социальные нужды Расходы на
рацион бесплатного питания Расходы на амортизацию Расходы по текущему ремонту
Расходы по навигационному ремонту Расход на материалы и износ малоценного и
быстроизнашивающегося инвентаря Расходы на электроэнергию за навигационный
период Прочие прямые расходы Сумма эксплуатационных расходов
|
3923.93
1004.53 9600 9732.15 12165.19 851.56 486.61 21080 588.44 58902.81
|
3923.93
1004.53 9600 12738.15 15922.69 1114.59 636.91 28560 735.01 74235.81
|
3923.93
1004.53 9600 11414.61 14268.26 998.78 570.73 23800 655.81 66236.65
|
8.3
Сводные экономические показатели холодильного оборудования, сравниваемых
вариантов
Для оценки экономической эффективности выбранного варианта
холодильного оборудования провизионных камер в сравнении с другими вариантами
на основе определенных ранее строительной стоимости и эксплуатационных расходов
рассчитываем сводные экономическме показатели.
Себестоимость обработки холодом 1
объема провизионных камер
,
где V=122.5
- общий объем провизионных камер.
;
;
;
Удельные
капиталовложения
;
;
;
Показатели
приведенных затрат
,
где
нормативный коэффициент сравнительной
эффективности капиталовложений.
Годовой
экономический эффект
Сводные
технико-экономические показатели 3-х вариантов холодильного оборудования
|
№ П./П.
|
Показатели
|
Величина
показателя
|
|
|
Вариант 1
|
Вариант 2
|
Вариант 3
|
1. 2. 3. 4. 5. 6. 7. 8. Масса установки, кг Объем
камер,
Строительная стоимость, тыс. руб.
Эксплуатационные расходы, тыс. руб.
Себестоимость обработки холодом 1
Удельные капиталовложения,
Приведенные затраты,
|
Годовой
экономический эффект, тыс. руб. · (1-2) · (1-3)966
122.5 24.33 58.90 480.84 1986.15 1473.91 52.9 28.361264 122.5 31.84
74.23 606.01 2599.62 1905.82 - -1197 122.5 28.36 66.36 540.70 2329.51
1705.45 - -
|
|
|
|
Вывод
по технико-экономическому расчету
Проводимый технико-экономический расчет и анализ показал, что
из трех сравниваемых вариантов холодильного оборудования наиболее
предпочтительнее первый, два других сравнимы между собой по показателям. Учитывая,
что приведенные затраты, годовой экономический и удельные капиталовложения
первого из рассматриваемых вариантов предпочтительнее двух других,
целесообразно установить холодильную установку состоящую из трех
компрессорно-конденсаторных агрегатов типа (компрессор ПБ14, Конденсатор КТР12)
и трех консольных центробежных насосов К20/18.
Заключение
В связи с длительной эксплуатацией судна возникла
необходимость замены оборудования. Новое оборудование рассчитывалось на
рекомендуемую в литературе температуру, которая в отличие от проектной
несколько выше, что сказывается на конечном результате по выбору оборудования.
Оно несколько меньше по холодопроизводительности, а холодильное оборудование
полностью автоматизировано, что отвечает современным требованиям, предъявляемым
к холодильным установкам.
Расположение холодильной установки, включающей в себя 3
компрессорно-конденсаторных агрегата и 3 насоса в машинном отделении 2-х
ярусное, что сказывается на занимаемой площади.
Также представлена новая конструкция воздухоохладителя,
которая более компактна по сравнению с установленной на судне.
Библиографический список
1.
Методичка по холодильным установкам Нестеров С.Х. Моргунец В.И
.
Волков В.Ф., Чигенов А.И. Судовые холодильные машины и установки: Учебник для
вузов./ В.Ф. Волков, А.И. Чигенов - Л.: Судпром, 1961. - 345 с.
.
Галимазнов Ф.Г. Ветиляторы - Атлас конструкций / Ф.Г. Галимазнов. - М.: Магниз,
1963. - 268 с.
.
Дудко Н.В., Абрамчук В.В. Справочник механика по судовым рефрижераторным
установкам. / Н.В. Дудко, В.В. Абрамчук. - Транспорт, 1979 378 с.
.
Жилинский К.Я. Теплоизоляция судовых рефрижераторных помещений: учебник для
вузов / К.Я. Жилинский. - Л.: Судостроение, 1966. -318 с. ил.
.
Зеликовский X.X., Каплан Л.Т. Справочник
по малым холодильным машинам и установкам. / X.X. Зеликовский., Л.Т.
Каплан. - М.:Агропромиздат 1989. 336 с.
.
Маргулец В.И. Холодильные установки речных судов: учебник для вузов / В.И.
Маргулец. - М.:Транспорт, 1986. - 180 с.
.
Маргулец В.И., Борисов Н.Н. Проектирование холодильной установки речного
рефрижераторного судна. / В.И. Маргулец, Н.Н. Борисов. - Г.: ВГАВТ 1999.
.
Маргулец В.И. Основы теории naj.0 компрессорных холодильных установок: учебник
для вузов. / В.И. Маргулец. - .Г.: ВГАВТ, 1995. - 259 с.
.
Марков Э.Н. Материалы для тепловой судоизоляции помещений / Э.Н. Марков. -
Г.:ВГАВТ, 1986. - 205 с.
.
Лебедев Ю.А. Расчет производственно-экономических показателей по флот у / Ю.А.
Лебедев - Н.: ВГАВТ, 1994. - 48 с.
.
Свердлов Г.З. Янвель Б.К. Курсовое и дипломное проектирование
холодильных
установок и установок кондиционирования воздуха: Учебник для вузов./. Г.З.
Свердлов, Б.К. Янвель. - .М.:Пищевая промышленность, 1972.
.
Судовые холодильные установки: Учеб. для вузов./. Захаров Ю.В. и др. / Под ред.
Ю.В. Захарова. - М.: Транспорт, 1985 - 560 с.
.
Грканский В.С. Автоматизация холодильных машин и установок / - В.С. Грканский.
- М: Легкая и пищевая промышленность, 1982. - 303 с.
.
Зотова Г.М. Методика экономического обоснования дипломных проектов по
холодильным установкам: Методич. пособие / Г.М. Зотова. - ГИИВТ - Горький: 1988
- 57 с.
.
Нестеров Ю.Ф. Судовые холодильные установки и системы кондиционирования
воздуха: Учеб. для вузов / Ю.Ф. Нестеров. - М.: Транспорт, 1991.
.
Пузырев В.В., Савинов В.И. Безопасность жизнедеятельности: Методич. пособие /
В.В. Пузырев, В.И. Савинов - Н. Новгород: ВГАВТ, 1999 - 15 с.
.
Основные требования к оформлению дипломных и курсовых проектов (работ) /. Н.Н.
Борисов, В.А. Пискунов, Н.А. Пономарев, М.Х. Садеков - Н.: Новгород: ВГАВТ,
2005 - 68 с.
.
ГОСТ 2.303-68. Единая система конструкторской документац