Проектирование стенда для разборки и сборки турбокомпрессора
Аннотация
Данный дипломный проект состоит из 90 листов пояснительной записки,
которая включает 5 разделов, и 11 листов графического материала на формате А1
чертежной бумаги.
В первом разделе пояснительной записки дан анализ
организационно-экономической деятельности предприятия.
Во втором разделе описано устройство и работа турбокомпрессора, дефекты и
требования к сборке турбокомпрессора, расчёт основных показателей
производственного процесса ремонта турбокомпрессора.
В третьем разделе дано описание устройства и работы стенда, прочностные
расчеты.
В четвертом разделе рассмотрены вопросы безопасности и жизнедеятельности
проекта.
В пятом разделе дана технико-экономическая характеристика и оценка
проекта.
Пояснительная записка заканчивается выводами по дипломному проекту и
предложениями, списком литературы, необходимыми приложениями.
Введение
В наше время автомобильный транспорт имеет очень большое значение, по
объему перевозок грузов и пассажиров транспорт занимает первое место.
Автомобильный парк нашей страны с каждым днем непрерывно растет.
Перед автомобильной отраслью правительство поставило ряд задач:
Увеличение грузо- и пассажирооборота на автомобильном транспорте;
Совершенствование организации и технологии ТО и ремонта автомобилей,
повышение качества приводимых работ;
Сокращение простоев в ремонте, материальных и трудовых затрат;
Максимальное оснащение каждого рабочего места необходимым технологическим
оборудованием, инструментом и приспособлениями.
Большое внимание уделяется вопросам организации перевозок пассажиров в
городах и населенных пунктах. Принимаются меры по увеличению парка
пассажирского и грузового транспорта, по улучшению качества обслуживания
населения. Внедряются передовые методы управления то и ремонта на автомобильном
транспорте.
С увеличением объема производства автомобилей улучшаются их конструкции и
эксплуатационные свойства. На работу автомобиля большое влияние оказывают узлы
и агрегаты трансмиссии, ремонт агрегатов и узлов является трудоемким и
дорогостоящим. Одним из основных показателей агрегатов и узлов является их
долговечность, определяемая износом в эксплуатации до отказа или износа
отдельных деталей или полностью агрегата. Стоимость агрегатов и узлов
составляет около 20-25 % от общей стоимости автомобиля. Поэтому вопрос продления
службы агрегатов и узлов весьма значителен. Увеличение срока службы агрегатов и
узлов способствует снижению капитальных затрат на автомобильном транспорте,
экономии дефицитных и дорогостоящих материалов.
Важнейшее направление в развитии автомобильной отрасли - это
интенсификация производства на основе технического перевооружения, что
непосредственно связано с производством новых машин, увеличением
автоматизированных средств механизации и совершенствованием инженерной службы.
Эффективное использование техники возможно только при четкой организации
работ по ее техническому обслуживанию и ремонту.
Автомобильный транспорт играет существенную роль в транспортной системе
страны. Более 80% народнохозяйственных грузов и более 90% пассажиров
перевозятся автомобильным транспортом.
Одной из важнейших проблем, стоящих перед автомобильным транспортом,
является повышение эксплуатационной надежности автомобилей и снижение затрат на
их содержание. Решение этой проблемы, одной стороны, обеспечивается
автомобильной промышленностью за счет выпуска автомобилей с большой надежностью
и технологичностью (ремонтопригодностью), с другой стороны - совершенствованием
методов технической эксплуатации автомобилей, снижение трудоемкости работ по
техническому обслуживанию и ремонту автомобилей, увеличением их межремонтных
пробегов.
Постоянное увеличение числа эксплуатируемых автомобилей ведет к
загрязнению окружающей среды вредными для здоровья человека компонентами
отработанных газов.
При этом неисправности системы питания или зажигания автомобиля вызывают
увеличение содержания вредных компонентов в 2 ... 7 раз. К тому же неисправные
или старые автомобили превышают уровень допустимого шума на 15 .... 20%.
Автомобильный транспорт является крупнейшим потребителем
топливно-энергетических ресурсов, экономное использование которых зависит от
исправной работы систем питания, электрооборудования, ходовой части и других
механизмов и агрегатов автомобилей, а также квалификации ремонтного персонала.
В последнее время парк автомобилей сопровождается старением, что вызывает
дополнительные затраты на поддержание в исправном состоянии автомобилей,
имеющих большой пробег с начала эксплуатации. Именно реализация потенциальных
свойств автомобиля, заложенных при его создании, снижение затрат на содержание
и ремонт, уменьшение соответствующих простоев, обеспечивающие повышение
производительности перевозок, при одновременном снижении их себестоимости -
основные задачи технического обслуживания подвижного состава автомобильного
транспорта.
Основой технической политики в сфере технического обслуживания и текущего
ремонта подвижного состава автомобильного транспорта является
планово-предупредительная система технического обслуживания и агрегатный метод
текущего ремонта.
Техническое обслуживание предназначено для поддержания автомобилей в
работоспособном состоянии и надлежащем внешнем виде, уменьшения интенсивности
изнашивания деталей, предупреждения отказов и неисправностей, а также выявление
их с целью своевременного устранения. Техническое обслуживание является профилактическим
мероприятием, проводимым принудительно в плановом порядке через определенные
пробеги или время работы автомобилей.
корпус
турбокомпрессор подшипник ремонтный
1.
Организационно-экономическая характеристика предприятия
1.1 Краткая
характеристика предприятия ЗАО «Красноярская ПМК-9»
ЗАО «Красноярская ПМК-9» расположено в г. Красноярск
Красноярского края.
Красноярская ПМК-9» была создана в 1971 году за счет
средств федерального и областного бюджетов. В 1992 году Постановлением
Правительства РФ «О порядке приватизации и реорганизации предприятий и
организаций агропромышленного комплекса» от 4 сентября 1992г. №708 было
учреждено ЗАО «Красноярская ПМК-9». Оно является юридическим лицом и действует
на основании Устава и законодательства РФ.
Основными видами деятельности Общества являются:
·
выполнение работ
в области мелиорации земель и сельскохозяйственного водоснабжения по видам
работ;
·
проведение единой
технической политики в мелиоративном строительстве, определение перспектив по
важнейшим направлениям НТП в сельскохозяйственном строительстве;
·
строительство
территориальных автодорог и сооружений;
·
разработка и
участие в реализации целевых комплексных программ в этих отраслях;
·
формирование
Госзаказа и целевых инвестиционных программ, исполнение функций Заказчика и
Генподрядчика по ним;
·
производство
строительных конструкций и материалов;
· строительство зданий и сооружений;
· оказание транспортных услуг;
·
рекламная как в
РФ, так и за ее пределами, в том числе в иностранных государствах, на всех
видах рекламоносителей;
·
разработка
карьера для производства известняковой муки и другое.
Деятельность Общества не ограничивается оговоренной в
Уставе.
Отдельными видами деятельности, перечень которых
определяется федеральными законами, Общество может заниматься только на
основании специального разрешения (лицензии).
ЗАО «Красноярская ПМК-9» в установленном
законодательством РФ порядке осуществляет свою производственно-хозяйственную
деятельность, а также социальное развитие коллектива работников, самостоятельно
в соответствии с действующим законодательством РФ устанавливает цены на
производимую продукцию и оказываемые услуги, определяет формы и размеры оплаты
труда работников.
Органами управления Общества
являются:
· общее собрание акционеров;
· совет директоров;
·
генеральный
директор (единоличный исполнительный орган общества);
·
дирекция
(коллегиальный исполнительный орган общества);
· ликвидационная комиссия.
Деятельность отделов и служб организации
регламентируется положениями о структурных подразделениях и должностными
инструкциями работников. Для рабочих и служащих применяется пятидневная рабочая
неделя с двумя выходными днями. Продолжительность ежедневной работы
определяется правилами внутреннего трудового распорядка.
Организационная структура организации может быть
представлена в виде рисунка (Рисунок 1).
|
|
Генеральный
директор
|
|
|
|
|
|
|
|
|
|
|
|
|
|
|
|
|
|
|
Отдел кадров
|
|
|
|
|
|
|
Места хранения (склад)
|
|
Бухгалтерская служба
|
|
|
|
|
|
Служба механиков
|
|
|
|
|
|
|
|
|
|
|
|
|
|
|
|
|
|
|
|
|
|
|
|
Производственно-
технический отдел
|
|
Мастерские
|
|
|
|
|
|
|
|
|
|
|
|
|
|
|
|
|
|
|
|
Рисунок 1- Организационная структура ЗАО «Красноярская
ПМК-9»
На данный момент МТП ЗАО «Красноярская ПМК-9»
составляет 10 единиц грузовых автомобилей (три КАМАЗа, один МАЗ, четыре УРАЛа,
два Краза); 4 единицы тракторов (три Т-150 и один К-701); 7 единиц бульдозеров
(четыре ДТ-75 и три Т-130); 7 единиц экскаваторов (три ЭО-3323, две ЭО-3322А и
две ЭО-4225); два трала, семь автомобилей УАЗ, два автокрана.
1.2 Анализ
финансовой деятельности предприятия
Таблица 1.1-Экономическая характеристика деятельности
организации
|
Показатели
|
2007 г.
|
2008 г.
|
2009 г.
|
Изменение в % в %
|
|
2007 г.
|
2008 г.
|
2009 г.
|
2009г к 2008 г.
|
2008г к 2007г.
|
|
Среднегодовая численность
работников, чел.
|
99
|
96
|
94
|
97,92
|
96,97
|
|
Среднегодовая стоимость
основных средств, тыс.руб.
|
2424
|
3997,5
|
6653,5
|
ув.в 1.66р
|
ув.в 1,65р.
|
|
Среднегодовая стоимость
оборотных средств, тыс.руб.
|
5820,5
|
9751
|
10535
|
108,04
|
ув.в 1,68р.j
|
|
Выручка от реализации
продукции (работ, услуг), тыс.руб.
|
15047
|
29907
|
48348
|
ув.в 1,62 Р
|
ув.в 1,99р.
|
|
Стоимость валовой
продукции, тыс.руб.
|
14691
|
27798
|
47066
|
ув.в 1,69р
|
ув.в 1,9 р.
|
|
Полная
себестоимость, тыс.руб.
|
14691
|
27798
|
47066
|
ув.в1,69рр
|
ув.в 1,9 р.
|
|
Производительность
труда, руб./чел.
|
151,99
|
311,53
|
514,34
|
ув.в 1,65 р.
|
ув.в 2.04р.
|
|
Фондоотдача,
руб. (на 1 руб.)
|
6,208
|
7,481
|
7,267
|
97,14
|
120,51 j
|
|
Материалоотдача,
руб. (на 1 руб.)
|
2,585
|
3,067
|
4,589
|
149,63
|
l1l8,65
|
|
Прибыль от реализации
продукции (работ, услуг), тыс.руб.
|
356
|
2109
|
1282
|
60,79
|
ув.в 5,9р.
|
|
Рентабельность
производства продукции, %
|
2,423
|
7,587
|
2,724
|
-4,863 п.п.
|
+5,164 п.п.
|
|
Рентабельность
продаж, %
|
2,366
|
7,052
|
2,652
|
-4,4п.
п.
|
+4,686п.гг/ь
|
|
Экономическая
рентабельность, %
|
2,407
|
10,827
|
4,759
|
-6,068
п.п.
|
+8,42 п.п
|
Из анализа таблицы 1.2 видно, что среднегодовая
численность работников в 2009 г. составила 9 человек и по сравнению с 2008 г.
уменьшилась на 2,1%. Уменьшение численности работников произошло в результате
сокращения кадрового потенциала организации.
Среднегодовая стоимость основных средств в 2009 г.
составила 6653,5 тыс. руб., что превысило среднегодовую стоимость основных
средств в 2008 г. в 1,66 раза. Изменение среднегодовой стоимости основных
средств в 2009 г. может свидетельствовать об обновлении, модернизации
оборудования и (или) об увеличении восстановительной стоимости основных
средств.
Повышение производительности труда в 2009 г. по
сравнению с 2008 г. в 1,65 раза указывает как на увеличение себестоимости
реализованной продукции, так и на повышение эффективности использования
уменьшившихся трудовых ресурсов. Однако темп роста показателя в 2008 г. выше на
39 п.п.
Увеличение значения фондоотдачи в 2008 г. на 21%
определяется за счет роста выручки от реализации продукции почти в 2 раза и
увеличения среднегодовой стоимости основных средств в 1,6 раза, что определяет
повышение эффективности их использования. Ухудшение показателя в 2009 г. на
2,86 % говорит о тенденции снижения эффективности использования основных
средств в основной деятельности организации, а также о снижении темпа роста
выручки на 37 п.п.
Показатели материалоотдачи за 2007-2009 гг. в
динамике, а также
повышающиеся значения темпов роста характеризуют эффективное
использование и управление оборотными средствами организации за
анализируемый период.
Таким образом, анализ таблицы показывает, что за 2009
г. в ЗАО
«Красноярская ПМК-9» улучшились показатели эффективного использования трудовых
ресурсов и оборотных средств, вследствие рационального управления
производственными затратами, что положительно сказалось на финансовых
результатах организации. С экономической точки зрения организация в целом
является рентабельной, хотя и наблюдается понижение показателей рентабельности
производства, рентабельности продаж и рентабельности
производственно-хозяйственной деятельности за текущий период.
1.3 Основные
результаты производственной деятельности предприятия
Таблица 1.2-Основные результаты производственной
деятельности предприятия
|
Номенклатура изделия
|
2007 г.
|
2008 г.
|
2009 г.
|
|
Число, штук
|
Стоимость, руб.
|
Число, штук
|
Стоимость, руб.
|
Число, штук
|
Стоимость, руб.
|
|
1.Ремонт КПП тракторов
МТЗ-80/82
|
3
|
14256
|
1
|
5780
|
2
|
17100
|
|
2.Ремонт двигателей Д-240
|
2
|
62580
|
1
|
31280
|
2
|
64140
|
|
3.Ремонт двигателя
КАМАЗ-740
|
2
|
70400
|
1
|
72560
|
2
|
156320
|
|
4.Ремонт турбокомпрессора
ТКР-11Н
|
2
|
7250
|
1
|
3700
|
2
|
8300
|
|
5.Ремонт турбокомпрессора
ТКР-122
|
2
|
6200
|
1
|
3800
|
1
|
3800
|
|
6.Ремонт двигателя ЯМЗ-238
|
1
|
84100
|
1
|
88630
|
|
|
|
7.Ремонт автомобилей
УАЗ-3160/469/452, в т.ч. капитальный ремонт УАЗ-3160/469/452
|
3 3
|
|
2 1
|
|
1 4
|
|
|
8.Ремонт двигателей Д-160
|
1
|
35700
|
1
|
38400
|
|
|
Себестоимость производимой продукции, т.е. ремонта
отдельных узлов и агрегатов, на предприятии зависит от трудоемкости ремонта и
стоимости закупленных запчастей.
Таблица 1.3-Себестоимость производимой продукции, тыс.
руб.
|
Виды работ
|
2007 г.
|
2008 г.
|
2009 г.
|
|
1.Ремонт КПП тракторов
МТЗ-80/82
|
36,0
|
40,0
|
57,0
|
|
2.Ремонт двигателей Д-240
|
170,0
|
190,0
|
237,0
|
|
3.Ремонт двигателя
КАМАЗ-740
|
220,0
|
250,0
|
270,0
|
|
4.Ремонт турбокомпрессора
ТКР-11Н
|
20,0
|
28,0
|
37,0
|
|
5.Ремонт турбокомпрессора
ТКР-122
|
18,0
|
22,0
|
32,0
|
|
6.Ремонт двигателя ЯМЗ-238
|
230,0
|
255,0
|
275,0
|
|
7.Ремонт двигателей Д-160
|
190,0
|
210,0
|
230,0
|
В таблице 1.3 представлена себестоимость на основные
виды производимой продукции. Как видно из таблицы, себестоимость ремонта узлов
и агрегатов увеличивается. В среднем себестоимость с 2007г. по 2009г.
увеличилась в 1,6 раза. Если учесть постоянную инфляцию, то можно сказать, что
себестоимость осталась на прежнем уровне.
Рассмотрим структуру себестоимости продукции и услуг в
ЗАО «Красноярская ПМК-9». Эти показатели представлены в таблице 1.4.
Таблица 1.4-Структура себестоимости продукции и услуг
|
Виды затрат, тыс. руб.
|
2007г.
|
2008г.
|
2009г.
|
|
1.Заработная плата
|
594300
|
1498790
|
1439100
|
|
2.Отчисления на социальное
страхование
|
1600000
|
4031700
|
3871000
|
|
3.Горюче смазочные
материалы
|
754440
|
872120
|
893250
|
|
4.Запасные части
|
624470
|
679860
|
770620
|
|
5.Амортизационные
отчисления
|
187100
|
198320
|
240600
|
|
6.Общепроизводственные
расходы
|
29630
|
315800
|
351800
|
|
7.Общехозяйственные расходы
|
39610
|
41430
|
47700
|
Как видно из таблицы 1.4, в 2009 г. уменьшилась
годовая заработная плата работников предприятия, а следовательно и отчисления
на социальное страхование. Это произошло из-за уменьшения выпуска продукции и
из-за уменьшения численности работников предприятия. Увеличились затраты на
ГСМ, что связано с тем, что предприятие стремится использовать свой транспорт
при доставке запасных частей, а не пользоваться услугами по перевозке.
Значительно увеличились затраты на запасные части, узлы и детали. Это
объясняется тем, что были увеличены отпускные цены на запасные части с заводов-изготовителей.
Так же значительно увеличились общепроизводственные и общехозяйственные
расходы, которые связаны с доставкой запчастей собственными силами, сокращением
рабочего персонала.
1.4 Основные
расчётные показатели
1.5
Обоснование выбора темы
Для эффективного и качественного сельскохозяйственного
производства сельскохозяйственные машины должны быть полностью подготовлены к
работе. Беспрепятственная работа машино-тракторного парка невозможна без
надежного систематического ремонта. Поэтому большое внимание в сегодняшних
условиях нужно уделять развитию ремонтной базы. В настоящее время покупка новых
сельскохозяйственных машин практически невозможна из-за их высокой стоимости,
поэтому вопрос развития ремонтной базы еще более актуален. В ремонтных
мастерских хозяйств ремонт осуществляется в основном силами самих
механизаторов. Оснащение мастерской оборудованием не очень хорошее, поэтому
необходимо проводить ремонт сельскохозяйственной техники в условиях специализированных
ремонтных мастерских предприятий.
В условиях ремонтной мастерской сельскохозяйственного
предприятия в основном не производится точный ремонт. Такой как восстановление
размерных цепей, конструктивных посадок, ремонт базовых поверхностей,
балансировка и проверка узлов и деталей, модернизация отдельных узлов,
регулировка и обкатка механизмов. Для этого требуется применение специального
оборудования.
При ремонте необходимо в максимальной степени
восстановить первоначальные технические характеристики узлов и агрегатов машины
с те, чтобы гарантировать срок их службы в течении определенного межремонтного
периода, приближенного к периоду работы новой техники или агрегата до ее
ремонта. Это может быть достигнуто высоким качеством ремонта, которое можно
достичь при применении усовершенствованных технологий, методов контроля и
достижением определенного уровня механизации новых операций и организации
производственного процесса, базирующегося на индустриальной основе и
прогрессивном поточно-узловом методе ремонта.
При ремонте техники также необходимо учитывать
стоимость ремонта. В настоящее время у сельскохозяйственных производителей
наблюдается недостаток денежных средств. Поэтому они идут к тем ремонтникам, у
которых меньше стоимость ремонта. Необходимо учитывать это в ремонтном
производстве и стремиться производить ремонт с наименьшими затратами. При этом
нужно помнить. Что стоимость отремонтированных деталей и агрегатов должна быть
ниже стоимости новых, для этого необходимо, чтобы технология ремонта
приближалась к технологии, применяемой при заводском изготовлении однотипных
узлов и агрегатов.
В данном дипломном проекте предлагается конструкция
стенда для разборки и сборки турбокомпрессора двигателей ЯМЗ, с целью
дальнейшего ремонта турбокомпрессора данного двигателя. Так как автомобили с
данным двигателем в Калужской области получили широкое распространение, но
большинство из них уже выработало свой рабочий ресурс. Так как замена их новыми
не представляется возможной, то для продления их срока службы необходимо производить
их ремонт. Учитывая это, и то, что трудоёмкость разборочно-сборочных работ
старых узлов высока, внедрение на ЗАО «Хвастовичское ПМК-9» технологии
восстановления и ремонта турбокомпрессоров двигателей ЯМЗ является
своевременным.
А в следствии того, что данный вид работы на предприятиях Хвастовичского
района Калужской области не организован, то неисправные турбокомпрессоры могли
бы доставляться со всего района области.
2.
Технологическая часть
2.1 Краткое
описание устройства и работы турбокомпрессора
Турбокомпрессор и турбонаддув один из самых недорогих способов, которые
позволяет поднять мощность двигателя. В отличии от нагнетателя,
турбокомпрессоры, в свою очередь, при работе используют энергию отработанных
газов.
Принцип турбокомпрессора состоит в следующем: отработавшие газы,
вытесняемые из цилиндров поршнями, через выпускной коллектор попадают с большой
скоростью и под давлением в корпус турбинного колеса («горячая улитка»), где
приводят во вращение турбинное колесо. На вал турбинного колеса жестко
установлено компрессорное колесо. Компрессорное колесо прокачивает воздух через
систему очистки и направляет его через корпус компрессорного колеса, где воздух
сжимается, во впускной коллектор двигателя. Количество сжатого воздуха, а так
же его давление определяются конструкцией конкретного турбокомпрессора и
режимом работы двигателя.
В дизельных и бензиновых двигателях генерируемая мощность зависит от
количества сгоревшей в цилиндрах оптимальной по своему составу (соотношению
воздух-топливо) топливовоздушной смеси. Так как турбокомпрессор увеличивает
подачу воздуха в цилиндры двигателя по сравнению с атмосферным аналогом того же
рабочего объёма, то можно добавить соответственно и большее количество топлива
в цилиндры, что приведет к росту мощности на коленчатом валу двигателя.
Серийные двигатели, комплектующиеся турбокомпрессорами, имеют
конструктивные изменения топливной системы и других узлов, которые необходимы
для нормальной работы двигателя с турбокомпрессором. При установке
турбокомпрессора на атмосферный двигатель необходимо учитывать рост мощности
двигателя (при необходимости некоторые узлы усиливают) и перенастраивать
топливную систему на подачу большего количества топлива.
1 -всасываемый воздух; 2 - ротор компрессора; 3 - сжатый воздух; 4 -вход
отработавших газы; 5- ротор турбины; 6 - выход отработавших газов
Рисунок 2.1-Напрвление воздуха и отработавших газов
2.2 Основные
направления развития ремонтного производства
Неотъемлемой частью развития ремонтного производства являются принципы
организации производственного процесса и их соблюдение. К основным принципам
относятся: специализация, прямоточность, пропорциональность, параллельность,
непрерывность, ритмичность, синхронность, механизация и автоматизация.
Важнейшим условием развития ремонтного производства является комплексная
механизация и автоматизация, - частичная или полная механизация или
автоматизация двух или более первичных составных частей технологического
процесса, включая (исключая) управление.
Разработана методика поэтапного внедрения средств комплексной механизации
и автоматизации, в том числе средств малой механизации; ручных и автоматических
манипуляторов, включая автооператоры и транспортные модули; роботов и
робототехнических комплексов (РТК); станков с числовым программным управлением
(ЧПУ); гибких производственных систем (ГПС).
Одним из направлений развития является снижение себестоимости ремонтной
продукции. Ее снижение возможно за счет снижения: затрат на запасные части за
счет всемерного расширения их восстановления; затрат на энергоресурсы;
административно-управленческого персонала; увеличения выпуска продукции.
Необходимо совершенствовать технологии и организации производства,
повышать производительность т руда рабочих в результате внедрения новых
технологических процессов, модернизации и замены оборудования и оснастки,
повышения уровня специализации и кооперирования производства и других
мероприятий.
Необходимо повышать надежность техники при ремонте. К основным
направлениям повышения надежности отремонтированных машин относятся следующие:
- проведение предремонтного диагностирования в мастерских хозяйств для
определения необходимых ремонтных воздействий и разборки соответствующих
агрегатов машин;
- обеспечение сохраняемости ремонтного фонда за счет
организации складов, площадок, использованием антикоррозионных смазочных
материалов и других средств;
- выполнение разборочных работ без повреждения деталей и
разукомплектовки соответствующих пар;
- выполнение на ремонтных предприятиях качественной очистки машин,
агрегатов и деталей от различных загрязнений;
- контроль и дефектация деталей;
- введение на ремонтных предприятиях входного контроля запасных
частей, так как встречаются случаи несоответствия их размеров, геометрической
формы, твердости и других параметров чертежам и техническим требованиям;
- динамическая балансировка коленчатых и карданных валов,
сцепления, колес автомобилей и других деталей и сборочных единиц;
- обеспечение регламентированных зазоров и натягов в
соединениях, усилий затяжки резьбовых соединений и других требований при сборке
агрегатов и машин;
- обеспечение хорошей герметизации и консервации агрегатов и
сборочных единиц;
- внедрение стендовой обкатки и испытаний агрегатов и машин;
- повышение качества окраски ремонтируемых машин за счет лучшей
подготовки поверхности, применения эффективных грунтов и эмалей, внедрения
прогрессивных методов окраски гидродинамическим распылением, в электрическом
поле.
Введение и соблюдение вышеизложенных требований на ремонтных предприятиях
позволяет снизить себестоимость ремонтируемой продукции, затраты труда,
увеличить надежность машин и повысить эффективность работы предприятия.
2.3 Правила
эксплуатации и факторы, влияющие на срок службы турбокомпрессора
Турбокомпрессор работает в тяжёлых условиях: высокая температура
отработавших газов (до1050°С) и большая частота вращения вала (до 280 000 об/мин). Масло, подаваемое в турбокомпрессор для смазки и
охлаждения, забирается из масляной системы двигателя. Необходимо, чтобы оно
было всегда чистым и соответствовало бы требованиям, предъявляемым
изготовителем двигателя.
После запуска, необходимо дать поработать двигателю в режиме холостых
оборотов примерно одну минуту. Это необходимо для того, чтобы давление масла в
системе смазки поднялось до рабочего, и масло попало в подшипники
турбокомпрессора. Перед выключением двигателя, так же следует дать ему
поработать несколько минут (1-3 минуты) в режиме холостых оборотов для того,
чтобы дать возможность деталям турбокомпрессора остыть.
Анализ повреждений турбокомпрессоров показывает, что около 40%
повреждений являются следствием попадания посторонних предметов на лопатки
компрессорного или турбинного колеса; ещё 40% повреждений вызваны
неисправностью системы смазки, оставшиеся 20% повреждений вызваны другими
причинами.
К посторонним предметам, которые часто попадают на лопатки турбинного
колеса, относятся: отломившиеся части клапанов и камеры сгорания; неправильно
установленная прокладка (части прокладки могут оторваться и попасть в выпускной
коллектор); болты, гайки и шайбы, которые при замене турбокомпрессора падают в
выпускной коллектор; отломившиеся части поршней ДВС. Все эти предметы, даже при
незначительном своём размере, приводят к серьёзному повреждению турбинного
колеса.
Повреждение компрессорного колеса от попадания посторонних предметов
случается реже, чем турбинного колеса. К посторонним предметам, попадающим на
компрессорное колесо, относятся: элементы воздушного фильтра; кусочки резины
или армирующей проволоки, оторвавшиеся от впускных патрубков; болты, гайки и
шайбы, попавшие во впускной патрубок при замене турбокомпрессора.
Неисправностями системы смазки, вызывающими повреждения турбокомпрессора,
может быть несколько. Наиболее часто встречаются отложения в трубопроводах, по
которым подаётся и отводится масло в турбокомпрессор. Эти отложения значительно
уменьшают площадь проходного сечения трубопровода, а иногда и полностью
забивают трубопроводы. Для нормальной работы турбокомпрессора очень важно,
чтобы при тяжёлых условиях работы подавалось определённое производителем
количество масла в подшипники турбокомпрессора. Масло перед подачей в
подшипники обязательно должно пройти через фильтр. При постоянной подаче
чистого масла в необходимых количествах подшипники турбокомпрессора могут
проработать тысячи часов без заметного износа.
На увеличение температуры отработавших газов значительное влияние
оказывают: позднее зажигание, бедная смесь и поздний момент впрыска.
Повышенное сопротивление на впуске, причинами которого могут быть
воздушный фильтр, повреждённые соединения или патрубки недостаточного диаметра,
ведёт к уменьшению количества воздуха, поступающего в цилиндры, и повышению
температуры отработавших газов. Повышенное сопротивление на впуске и работа на
больших высотах над уровнем моря могут привести к поломке корпуса турбинного
колеса и даже к поломке самого турбинного колеса под действием высоких
температур.
Если не менять воздушный фильтр в соответствии с требованиями
производителя, то существует высокая вероятность отложения грязи в корпусе
компрессорного колеса, что приведёт к уменьшению поступления воздуха в цилиндры
и далее к перегреву. Так же неплотно прилегающие прокладки во впускном и
выпускном коллекторе приводят к уменьшению подачи воздуха.
Иногда соединения турбокомпрессора с впускным и выпускными коллекторами
сделаны так, что расширение выпускного коллектора и других частей, соединённых
с турбокомпрессором, вызывает действие больших нагрузок на элементы
турбокомпрессора. Эти нагрузки могут привести к изменению размеров корпусов турбинного
и компрессорного колёс так, что колёса начнут тереться по корпусам.
Недостаточно жёсткое крепление турбокомпрессора к двигателю, которое не может
предотвратить чрезмерную вибрацию турбокомпрессора, может вызвать так же
искажение формы элементов турбокомпрессора и привести к поломкам.
Поломку турбокомпрессора можно практически исключить, если не допускать
попадания посторонних предметов на лопатки турбинного и компрессорного колёс,
превышения допустимых температур работы турбокомпрессора и если обеспечить
подачу качественного масла в турбокомпрессор в требуемом количестве.
2.4 Дефекты
турбокомпрессоров
2.4.1 Корпус подшипников турбокомпрессора
Корпус подшипников изготовлен из серого чугуна СЧ 21 ГОСТ 1412-85.
В процессе эксплуатации турбокомпрессоров возможны следующие
неисправности корпусов подшипников: трещины или обломы различного размера и
расположения, износ отверстий под втулки или уплотнительные кольца, износ и
повреждение резьбы шпилек и в отверстиях корпуса.
Корпус подшипников бракуют при наличии трещин, нарушающих его
герметичность. Трещины на поверхностях корпуса обнаруживают осмотром и
испытанием внутренней полости на герметичность, водой под давлением 4 кгс/см²
в течении 2 мин. Трещины
или обломы на фланцах, захватывающие не более одного отверстия, заваривают или
наплавляют обломанную часть фланца.
Перед заваркой трещину засверливают на концах сверлом диаметром 3 мм и
разделывают под углом 60-70° на глубину ¾ толщины стенки. Заварку производят
электродом ЦЧ-4, после чего шов зачищают с помощью шлифовальной машины ШПТ,
шлифовальным кругом ПП 63×20×20 ЧК80Т (ГОСТ 2424-75) заподлицо с
основным металлом.
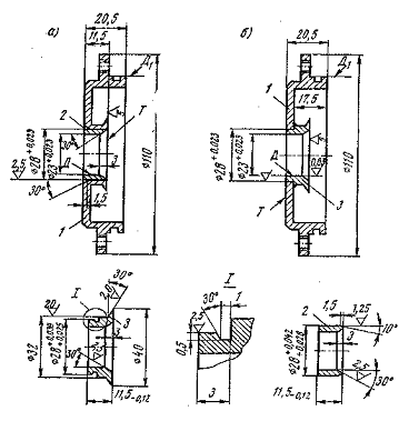
При износе внутренних поверхностей отверстий корпуса подшипников под
втулки и уплотнительные кольца вала колеса турбины до диаметра более 23,013 мм
восстановление производят методом постановки ремонтных втулок согласно рисунку
2.2 в следующем технологическом порядке: корпус подшипников устанавливают в
приспособление на станок 1К62 и растачивают три отверстия под ремонтные втулки:
два отверстия со стороны крепления корпуса компрессора до диаметра 28+0,023 мм
на глубину 22,6+0,14 и 19,6+0,014 мм и одно со стороны крепления корпуса
турбины до диаметра 32+0,027 мм - на проход.
- корпус; 2,3,4 - ремонтные втулки
Рисунок 2.2 - Корпус подшипников
После расточки, корпус подшипников нагревают до температуры 220-250°С и
запрессовывают в него три ремонтные втулки, при этом выступание втулок над
поверхностями, в которые они запрессованы, не допускается. Отверстия в запрессованных
ремонтных втулках растачивают в линию предварительно до диаметра 22+0,14 мм,
снимают фаску диаметром 29 мм на глубину 8 мм и протачивают две канавки шириной
1,3+0,12 мм под упорные кольца. Затем эти отверстия во втулках корпуса
растачивают окончательно до диаметра 22,95+0,023 мм под притирку, а так же
протачивают четыре канавки под упорные кольца, при этом неперпендикулярность
расточенных поверхностей относительно торца не должна превышать 0,03 мм.
Для обеспечения этого условия допускается подрезка торца до размера
20,7-0,084 мм.
После расточки три отверстия во втулках притирают до диаметра 23+0,019 мм
на вертикально-хонинговальном станке ОФ-26А в приспособлении, показанном на
рисунке 2.3. Притирку отверстий производят с помощью чугунного притира, который
посажен на специальную оправку 2. В качестве притирочного материала используют
абразивную пасту М14, в состав которой входят: абразивный порошок М28-52%,
олеиновая кислота - 28-30% и стерин - 14-20%. Настройка прибора для
окончательного контроля обработанных отверстий в корпусе подшипников
производится с помощью установочного эталонного кольца диаметром 23 мм (ГОСТ
14865-69). После обработки корпус подшипников промывают для удаления следов
притирочной пасты.
1-патрон; 2-оправка с притиром; 3-каретка подвижная; 4-корпус
подшипников; 5- каретка неподвижная; 6-механизм для регулировки притира
Рисунок 2.3 - Приспособление для притира отверстий в корпусе подшипников
2.4.2 Трещины на корпусе турбины
Трещины на корпусе появляются через определенное время эксплуатации почти
у всех турбин турбокомпрессоров, независимо от их марки и области применения.
Особенно быстро эти трещины появляются на двигателях, которые подвергаются
значительным нагрузкам, т.е. на большинстве автомобилей. И почти всегда эти
трещины остаются незамеченными, потому что они не влияют на работу,
эффективность и долговечность турбокомпрессора.
В других случаях (при неисправности двигателя) возникающие повреждения и
щели, образующиеся в корпусе турбины, очень опасны и ухудшают работу
турбокомпрессора.
На рисунках показано, а ниже описано, какие трещины допускаются, а какие
- нет, что позволяет использовать их при ремонте или предъявлении гарантийных
рекламаций.
Рисунок 2.4 - Трещины на корпусе турбины
2.4.3 Трещины на фланце корпуса турбины и средней перегородке
При условии, что уплотняющая поверхность в порядке, следующие трещины не
представляют опасности:
а) Трещины с максимальной длиной до 15 мм при условии, что максимальная
длина по углам не превышает 6 мм.
в) Трещины на средней перегородке, даже если они проходят насквозь, при
условии, что их длина не превышает 35 мм, а расстояние между двумя соседними
трещинами составляет не менее 12 мм.
с) Две трещины, идущие навстречу, разделяющиеся минимум на 6 мм, длина
каждой из которых не превышает 15 мм.
d)
Трещины любой длины в средней перегородке, даже если они проходят насквозь. Две
трещины, идущие вдоль, разделяющиеся по всей длине на минимум 12 мм. Средняя
перегородка не должна быть деформирована или покороблена.

Рисунок 2.5 - Трещины на фланце корпуса турбины и средней перегородке
2.4.4 Трещины на внешней поверхности корпуса турбины
е) Трещины, которые пересекают поверхность вдоль обратной стороны корпуса
турбины, недопустимы.
Рисунок 2.6 - Трещины на внешней поверхности корпуса турбины
2.4.5 Трещины в седле клапана
f)
Трещины в седле клапана длиной до 10 мм. Проверить, не проходит ли трещина
поперек рабочей поверхности. Недопустимы также признаки утечки.
g)
Трещины длиной до 10 мм в корпусе турбины возле отверстия для ротора при
условии, что уплотняющая поверхность в порядке.
h) Все
края соединений и все поверхности не должны быть деформированы и иметь утечки.
Рисунок 2.7 - Трещины в седле клапана
2.5 Колесо
турбины с валом в сборе
Колесо турбины с валом соединены сваркой. Колесо турбины изготовлено из
жаропрочного сплава АНВ-300 (АМТУ-372-56), вал ротора из стали 45 (ГОСТ
1050-88).
Шейки вала под подшипниковые втулки и уплотнительные кольца закалены с
нагревом ТВЧ соответственно до твёрдости HRC 56-63 и HRC 37-44.
В процессе эксплуатации турбокомпрессора в колесе турбины с валом
возможно появление трещин или обломов на лопатках колеса или диске, кольцевых
рисок на торцовой поверхности диска колеса, увеличение биения шеек вала,
наличие износа (следов контакта о сопловой венец) радиусной части колеса
турбины, износа шеек вала под втулки или маслоотражатель, а также канавок под
уплотнительные кольца. Возможен также срыв или повреждение резьбы под гайку
крепления колеса компрессора и повреждение поверхностей центровых отверстий.
Колесо турбины с валом в сборе бракуют при наличии трещин и обломов лопаток и
диска колеса любого размера и расположения, а так же при износе радиусной части
колеса турбины.
Восстановление изношенных поверхностей вала под втулки, маслоотражатель,
уплотнительные кольца, а также при срыве резьбы под гайку крепления колеса
компрессора производят путем отрезки дефектного вала от колеса турбины с
последующей приваркой нового вала и дальнейшей его механической обработки до
номинальных размеров. Номинальный диаметр шеек вала D под втулки равен
17-0,008
мм, предельно допустимый - 16,99 мм. Ширина канавок под уплотнительные кольца
составляет 1,81+0,04 мм, износ допускается до размера 1,93 мм. Номинальный
диаметр 
шеек
вала ротора под маслоотражатель и упорную втулку равен 13-0,012 мм, предельно
допустимый - 12,98 мм.
Восстановление
колеса турбины с валом производят согласно рисунку 130 в следующем
технологическом порядке: сначала притирают центровое отверстие со стороны
колеса турбины на доводочном станке 3922 с помощью притира № 9397-И-045. После
притирки отрезают вал ротора на расстоянии 7 мм от торца колеса турбины и
приваривают заготовку вала ротора к колесу турбины на сварочной установке типа
МСТ-41-3М.
Установка
МСТ-41-ЗМ предназначена для сварки встык трением деталей круглого сечения из
малоуглеродистых сталей диаметром от 22 до 40 мм. Длина заготовки, закрепленной
во вращающемся зажиме, от 90 до 980 мм; длина другой заготовки - не менее 75
мм. Питание установки осуществляется от трехфазной сети переменного тока напряжением
380 В и сжатым воздухом с давлением не менее 4,5 кгс/см2. Процесс сварки,
автоматизирован. Вручную производится лишь установка заготовок и снятие
сваренных деталей. Рабочее усилие при нагреве - от 2000 до 10 000 кгс;
дополнительное усилие при проковке - от 0 до 10 000 кгс.
Режимы
при сварке колеса турбины с валом: давление при нагреве по воздушному манометру
- 2,5-3,0 кгс/см2, по гидроманометру - 8-10 кгс/см2. Давление при проковке по
воздушному манометру - 5 кгс/см2, по гидроманометру - 20-30 кгс/см2. Время
нагрева - 35-40с. Величина оплавления для стали 45 составляет 23-25 мм; для
сплава АНВ-300 она равна 1,0-2,0 мм. Частота вращения шпинделя - 750 об/мин.
Выступание заготовки из осадочной матрицы № 9992-801 допускается до 25-27 мм.
Предварительный
контроль качества сварного соединения производят люминесцентным методом после
механической обработки и закалки вала с нагревом ТВЧ. Детали с наличием видимых
трещин сварного соединения или непроваров длиной более 10 мм бракуются.
Окончательный контроль качества сварки производят после шлифования повторным
люминесцентным просвечиванием сварного шва. Детали с наличием яркосветящихся
непроваров по сварному шву бракуют. Допускается наличие неглубоких непроваров
(светится тонкая полоска) длиной менее 8 мм. После приварки заготовки фрезеруют
торец вала, выдерживая размер 187 мм до торца диска колеса турбины, и, центруют
вал колеса турбины по размерам. Центровать рекомендуется на
вертикально-сверлильном станке в приспособлении № 9671Р-0007. Затем следует
предварительная обточка шеек D2 вала под уплотнительные кольца до диаметра 23-0,24
мм на длину 21,2 мм, под втулки до диаметра 18-0,12 мм с подрезкой торцов до
размеров 41 и 106,3±0,1 мм, под упорную втулку, маслоотражатель и колесо
компрессора до диаметра 13,5-0,12 мм, под резьбу до диаметра 11,9-0,1 мм и
окончательная обточка промежуточной шейки вала до диаметра 16,8-0,24 мм.
При
обточке вала биение шеек относительно центровых отверстий не должно превышать
0,1 мм. Шейки вала диаметров Д и Е (рис. 130) закаливают с нагревом ТВЧ, при
этом сначала производят закалку шейки Е на глубину 3 мм, затем шейки D на
глубину 2±1 мм. Твердость шейки Е должна быть не менее HRC 37-44, а
шейки Д - не менее HRC 56-63.
Закалку
шеек вала проводят на специальном станке, имеющем высокочастотный генератор
типа ПВВ-100/8000 с частотой 8000 Гц, мощностью 100 кВ-А.
При
установке детали в индуктор типа 9873-662 или 9873-663 обеспечивают равномерный
зазор между индуктором и деталью, без касания индуктора о деталь. При нагреве
деталь в индукторе придерживают специальной лопаткой из изоляционного
материала.
Отпуск
вала колеса турбины после закалки проводят в шахтной электропечи ПН-32 в
течение 30 мин с окончательным охлаждением на воздухе. Температура отпуска шеек
диаметром 23 мм должна быть 400±10°C, диаметром 18 мм - 180+10°С.
После
закалки и отпуска вал колеса турбины проверяют наружным осмотром. Трещины,
оплавления и другие дефекты не допускаются. Твердость шейки D2
диаметром 23 мм должна быть HRC 37-44, шейки D диаметром 18
мм - HRC 56-63.
Центровые
отверстия притирают на доводочном станке 3922, используя притир 9397-И-045.
Шейки D2 вала под уплотнительные кольца шлифуют
предварительно до диаметра 
мм,
опорные шейки D под втулки - до диаметра 17,4-0,12 мм, а также
окончательно шлифуют переходные шейки диаметром 10,95-0,035 мм. Для устранения
повышенного биения наружного диаметра колеса турбины и торца Т относительно
шеек вала допускается шлифовка наружного диаметра D3 колеса до
размера 109 мм, а торца Т до размера а, равного 1,2+0,35 мм.
Протачивают
две канавки под уплотнительные кольца и канавку под углом 45° по размерам. Для
проточки канавок используют канавочный резец № 9315-414. Проверку размеров
канавок производят калибром с размером 1,87+0,04 мм № 05550-01.
На
конце вала ротора нарезают резьбу М12×1,25 кл. 2 на длину 16 мм. Шейки вала шлифуют окончательно
до диаметров 22,2-0,014, 17-0,008 и 13-0,012 мм. При шлифовке шейки D1
диаметром 13-0.012 мм выдерживают линейный размер 106±0,03 мм. При
использовании ремонтной упорной втулки линейный размер 106±0,03 мм выдерживают
в пределах 106,2±0,03 мм, при этом на лыске колеса турбины выбивают букву Р.
Биение поверхностей Д и Д1 относительно центровых отверстий вала не должно превышать
0,03 мм; овальность, конусность и огранка поверхности Д должны быть не более
0,002 мм.
Поверхности
опорных шеек Д диаметра 17-0,008 мм обрабатывают алмазным выглаживанием на
токарном станке с использованием оправки 9476-062 и алмаза 9871-057. Алмаз в
оправке устанавливают под углом 45° к продольной оси обрабатываемой детали.
Нагрузка на алмаз не должна превышать 30 кгс.
Наносят
риски глубиной 0,1 мм на поверхности диаметра 13-0,012 мм и торце резьбового
конца вала глубиной 0,3 мм, совместив их в одной плоскости.
-вал
колеса турбины; 2-колесо турбины
Рисунок
2.8 - Восстановление колеса турбины с валом в сборе
После
обработки деталь промывают, протирают и обдувают сжатым воздухом.
2.6 Крышка
корпуса подшипников
Крышка корпуса подшипников изготовлена из серого чугуна СЧ 21-40 (ГОСТ
1412-70).
В процессе эксплуатации турбокомпрессора в крышке корпуса подшипников
возможно возникновение трещин, обломов и износа внутренней поверхности
отверстия под уплотнительные кольца.
Крышку подшипников бракуют при наличии трещин и обломов любого размера и
расположения.
При износе внутреннего отверстия по уплотнительное кольцо до диаметра
более 23,023 мм крышку корпуса подшипников рекомендуется восстанавливать одним
из двух способов. Первый способ предусматривает постановку ремонтной втулки в
отверстие ступицы крышки и последующую механическую обработку до номинального
размера, согласно рисунок 2.9, а. Второй способ рекомендует отрезку ступицы и
приварку новой ступицы с номинальными размерами отверстия под уплотнительные
кольца, согласно рисунку 2.9 б.
Рекомендуется следующая схема технологического процесса восстановления
крышки по первому способу: дефектное отверстие растачивают под ремонтную втулку
до диаметра 28+0,023 мм, после чего запрессовывают ремонтную втулку,
предварительно нагрев крышку корпуса подшипников до температуры 100- 150°С, при
этом втулка не должна выступать над плоскостью Т.
После запрессовки отверстие во втулке растачивают до диаметра 23+0,023 мм
и снимают фаску под углом 30° на глубину 3 мм. Затем деталь промывают и
обдувают сжатым воздухом.
Технологический процесс восстановления крышки корпуса подшипников по
второму способу следующий: ступицу крышки корпуса подшипников отрезают
заподлицо с внутренней плоскостью крышки, растачивают отверстие под новую
ступицу до диаметра 28+0,023 мм, запрессовывают новую ступицу 3 и приваривают
ее латунной проволокой марки Л62 диаметром 3-5 мм.
а-первый способ; б-второй способ; 1-крышка; 2-ремонтная втулка;
3-ремонтная ступица
Рисунок 2.9 - Восстановление крышки корпуса подшипников
Сварочный шов должен быть сплошным и герметичным. После приварки
растачивают отверстие в ступице под уплотнительные кольца маслоотражателя до
диаметра 23+0,023 мм и снимают фаску под углом 30° на глубину 3 мм; ступицу
промывают и обдувают сжатым воздухом. Все операции механической обработки
крышки корпуса подшипников рекомендуется выполнять на токарно-винторезном
станке 1К62.
Настройку прибора для внутренних измерений в крышке осуществляют с
помощью эталонного установочного кольца диаметром 23 мм (ГОСТ 14865-69).
2.7
Маслоотражатель
Маслоотражатель изготовлен из стали 40Х (ГОСТ 4543-71) и термически
обработан до твердости HRC
37-44.
Маслоотражатель бракуют при наличии трещин, износе отверстия под вал
ротора и износе торцовой поверхности. Восстановление маслоотражателя при износе
канавок под уплотнительные кольца производят постановкой ремонтной втулки с
последующей проточкой на ней канавок под уплотнительные кольца.
Износ канавок маслоотражателя допускается до ширины 1,93 мм, увеличение
внутреннего диаметра под вал ротора - до 13,020 мм и уменьшение толщины - до
16,45 мм.
Восстановление
маслоотражателя постановкой ремонтной втулки производится в следующем порядке
(рисунок 2.10): обтачивают в центрах токарного станка наружную поверхность с
канавками до диаметра 17,4-0,12 мм на длину 12+0,12 мм и шлифуют наружную
поверхность, под втулку до диаметра 
мм. Ремонтную
втулку 2 изготавливают из стальной трубы 40Х (ГОСТ 4543-71).
Рисунок 2.10 - Восстановление маслоотражателя
Втулку
обтачивают предварительно до наружного диаметра 
мм;
внутреннюю поверхность растачивают окончательно до диаметра 17+0,019 мм. Перед
напрессовкой на маслоотражатель 1 втулку 2 нагревают до 100-120°С. Окончательно
наружный диаметр втулки обрабатывают до 22,2-0,14 мм и протачивают две кнавки
шириной 1,87+0,04 мм до диаметра 
мм.
Биение поверхностей Д1 и Д2 относительно внутренней поверхности не должно
превышать 0,05 мм, а биение торцов Т2 двух канавок должно быть не более 0,02
мм.
Выполнение
всех перечисленных выше операций производят с применением специальной оправки
9678-1342.
При
выступании ремонтной втулки над торцом
Т1 ее
шлифуют до размера 
мм.
Непараллельность торцов Т и Т1 не должна быть более 0,01 мм. После обработки
острые кромки притупляют, деталь промывают и обдувают сжатым воздухом.
2.8 Колесо
компрессора
Колесо компрессора изготовлено из алюминиевого сплава АЛ-4 по ГОСТ
2685-75 и термически обработано до твёрдости НВ не менее 70.
При наличии трещин, обломов, погнутости на лопатках и других рабочих
поверхностях, а так же при наличии износа в виде следов контакта о корпус в
радиусной части, колесо компрессора восстановлению не подлежит и его бракуют.
Внутренний
посадочный диаметр под вал ротора у нового колеса равен 
мм; этот
размер допускается без ремонта до 13,015 мм; при большем диаметре колесо
компрессора восстановлению не подлежит и его бракуют.
2.9 Втулка
ротора
Втулки ротора компрессора изготавливаются из бронзы БрОС 10-10 (ТУ
397-67) и обрабатываются с высокой точностью.
Внешнее состояние втулки проверяют осмотром с использованием лупы 10*.
При наличии трещин, сколов и глубоких рисок на рабочих поверхностях втулку
бракуют, так же бракуют и при износе торцов до исчезновения пазов (глубина
пазов на новой втулки 0,25 мм).
Величину износа наружного и внутреннего диаметров втулки проверяют
мерительным инструментом. Наружный диаметр 22,9±0,007 мм проверяют микрометром
25-50 мм (ГОСТ 4381-68) или калибром НЕ 22,893 мм, а внутренний диаметр
17,05+0,011 мм - индикаторным нутромером 18-35 мм (ГОСТ 868-63) или калибром НЕ
17,061 мм. Оба эти диаметра должны быть в пределах чертёжного допуска, в
противном случае втулка бракуется.
2.10 Основные
требования к сборке турбокомпрессора
Детали, поступающие на сборку, должны быть очищены от грязи, лаковых
отложений и нагара, обезжирены, промыты и высушены. В кронштейне
турбокомпрессора канал подвода масла должен быть промыт под давлением и продут
сжатым воздухом. Все детали должны быть приняты ОТК, и иметь соответствующее
клеймо.
Каждая операция сборки должна выполняться инструментом и приспособлениями,
предусмотренными технологическим процессом. При сборке турбокомпрессора
используют только новые прокладки, уплотнительные кольца и пружинные шайбы. Не
допускаются к сборке болты, шпильки и винты, имеющие повреждения более двух
ниток резьбы.
Важным мероприятием, обеспечивающим высокое качество сборки
турбокомпрессоров, является четкая организация пооперационного контроля. После
выполнения наиболее ответственных операций сборки узлов (сборка корпуса
подшипников с валом турбины) и общей сборки, контрольный мастер должен
проверить соблюдение требований технических условий и сделать соответствующую
отметку о годности узла и турбокомпрессора в целом. Сборку турбокомпрессора
производят в следующем технологическом порядке: сначала собирают корпус компрессора,
для чего ввертывают недостающие шпильки в корпус компрессора, устанавливают
диффузор, совместив два отверстия диффузора с соответствующими двумя
отверстиями на выточке корпуса компрессора, привертывают диффузор к корпусу
компрессора двумя винтами и раскернивают эти винты в двух точках по шлицам под
отвертку. Затем собирают корпус турбины, в который ввертывают недостающие
шпильки и пробку, причем выступание шпилек в полость турбины не допускается.
Высота выступающей части шпилек 27±1,0 мм со стороны отверстия под сопловой
венец (обеспечивается длиной нарезки шпильки).
Ввертывают шпильки в корпус подшипников, если они были вывернуты при
ремонте.
После сборки корпусов разбирают отбалансированный ротор, для чего
отвертывают гайку 14 крепления колеса компрессора, снимают съемником колесо 13
компрессора, маслоотражатель 17 и упорную втулку 21. Проверяют наличие меток на
деталях ротора, чтобы при последующей сборке не нарушить взаимное расположение
совместно отбалансированных деталей. Детали отбалансированного ротора не
взаимозаменяемы, поэтому раскомплектовка их недопустима.
Разобранный ротор устанавливают в корпус подшипников, для чего вставляют
в канавку корпуса упорное пружинное кольцо 22, затем вставляют втулку 23
ротора, устанавливают упорную шайбу 24 и вставляют второе упорное пружинное
кольцо. Аналогично устанавливают с другой стороны корпуса подшипников упорные
пружинные кольца, упорную шайбу и втулку ротора. Перед установкой все детали
тщательно протирают и смазывают дизельным маслом. После установки проверяют
посадку втулок: втулки должны свободно, без заеданий, проворачиваться в
отверстиях корпуса. Затем устанавливают в корпус подшипников проставку 6, а в
канавки ротора - уплотнительные кольца 5 и развертывают замки колец в
противоположные стороны. Вал 3 ротора с надетыми на него кольцами вставляют в
отверстие корпуса подшипников со стороны проставки. Для предохранения деталей
от повреждения вал ротора перед установкой смазывают дизельным маслом, а на
конец вала навертывают технологический колпачок, который снимают после
установки вала. Затем на вал ротора устанавливают упорную втулку 21, совместив
метку на втулке с риской вала, и упорный фланец 19, который прикрепляют тремя
винтами к корпусу подшипников; каждый винт раскернивают в двух местах по шлицам
под отвертку. После этого проверяют вращение ротора, которое должно быть
свободным, без заеданий. В канавки маслоотражателя устанавливают уплотнительные
кольца 16, развертывают замки колец в противоположные стороны, а сам
маслоотражатель 17 с кольцами вставляют в крышку корпуса подшипников.
В канавку крышки корпуса подшипников устанавливают уплотнительное кольцо
12, после чего крышку 18 корпуса подшипников с маслоотражателем в сборе
устанавливают на корпус подшипников, совместив метку на маслоотражателе с риской
вала; крышку корпуса подшипников закрепляют двумя болтами с пружинными шайбами.
Колесо 13 компрессора нагревают до температуры 80-100°С, надевают его на
вал ротора и закрепляют гайкой 14. При затяжке гайки необходимо обеспечить
совпадение меток на гайке с метками на колесе компрессора и валу турбины. После
этого проверяют вращение ротора турбины в корпусе подшипников, которое должно
быть плавным, без заеданий и касаний за неподвижные детали. Осевое перемещение
ротора должно быть 0,135-0,190 мм. В канавку корпуса подшипников надевают
уплотнительное кольцо 9, в корпус турбины устанавливают сопловой венец 2,
закрепляют его двумя диаметрально расположенными гайками, а сам корпус
подшипников в сборе с ротором устанавливают на шпильки корпуса турбины и закрепляют
гайками с пружинными шайбами.
В кронштейн 7 турбокомпрессора ввертывают пробки, устанавливают кронштейн
на шпильки корпуса подшипников, подложив под него прокладку, и закрепляют
гайками с пружинными шайбами.
Корпус компрессора в сборе с впускным патрубком устанавливают на корпус
подшипников и закрепляют гайками с пружинными шайбами. Затяжку гаек крепления
корпуса турбины и корпуса компрессора производят диаметрально противоположными
парами в два приема: предварительно и затем окончательно. После сборки
проверяют вращение ротора, задевание ротора за неподвижные детали не
допускается.
2.11 Система
«Турбосмазка»
Одной из главных причин поломки турбокомпрессоров является прекращение
циркуляции масла в момент остановки двигателя. Особенно часто это случается,
когда заглушается двигатель, работавший с полной нагрузкой (при этом ротор
турбокомпрессора вращается со скоростью более 100.000 об/мин), и ротор
продолжает вращаться еще долгое время. Подшипники при этом работают всухую, а
тепло не отводится.
Чтобы защитить турбокомпрессор от повреждения, можно установить систему
дополнительной смазки. Эта система очень проста и эффективна.
С этой целью разрывают подающий маслопровод турбокомпрессора и
устанавливают в этом месте Т-образный разветвитель с обратным клапаном. К нему
подсоединяют небольшую емкость с маслом. Эта емкость должна быть всегда
установлена выше уровня турбокомпрессора. Сразу после запуска двигателя,
емкость заполняется моторным маслом. После остановки двигателя давление масла
падает, и оно из емкости стекает к турбокомпрессору, проходя через клапан,
благодаря чему турбокомпрессор смазывается и после остановки двигателя.
2.12 Основные
показатели производственного процесса ремонта турбокомпрессора
2.12.1 Общая трудоёмкость
Основой для проектирования служит производственная программа. Исходя из
этой программы, в которой указаны наименование и количество объектов,
подлежащих ремонту в течение года, рассчитывают общую трудоемкость всех работ.
Общую трудоемкость определяют несколькими методами: по технологическим
процессам; сравнением или по материалам ранее выполненных проектов; по
технико-экономическим показателям и по типовым нормам.
Общая годовая трудоемкость будет определяться по формуле:
ТГ = W × ТУД × КПР × КПК (2.1)
где W - производственная программа, шт.;
ТУД - удельная трудоемкость ремонта турбокомпрессора, чел.×ч., ТУД=20 чел.×ч. [1, с. 70, таблица 19];
КПР - коэффициент приведения трудоемкости к полнокомплектному ремонту,
КПР=0,25; [15,
с. 109, таблица 18].
КПК - поправочный коэффициент трудоёмкости, КПК=1,06[1, с. 68, таблица 18].
ТГ = 250 × 20 × 0,25 × 1,06 = 1325 чел×ч
2.12.2 Режим работы и фонды времени
Режим работы предприятия включает: число рабочих дней в году и рабочих
смен в сутки, длительность каждой смены в часах.
Число рабочих дней в году будет равно числу календарных дней года без
общих выходных и праздничных дней.
Число рабочих смен ремонтных предприятий проектируют обычно в одну смену.
Продолжительность рабочей смены зависит от условий и графика работы
предприятия. Общая продолжительность недели равна 40 ч, число рабочих дней - 5.
Годовые фонды рабочего времени рабочих и оборудования рассчитывают,
исходя из продолжительности смены. Различают номинальный и действительный
годовые фонды времени рабочих и оборудования.
Номинальный годовой фонд времени работы рабочих и оборудования - это
количество рабочих часов в соответствии с режимом работы, без учета возможных
потерь времени. Его определяют по формуле:
ФН = (КРtСМ - КПtС)n (2.2)
где КР - число рабочих дней в году, принимаем КР = 250 дней;
tСМ -
продолжительность смены, ч;
КП - число предвыходных и предпраздничных дней, в которые сокращается
рабочая смена, КП = 11 дней;
tС -
время, на которое сокращается смена в предпраздничные и предвыходные дни, ч;
n -
число рабочих смен
ФН = (250 × 8 - 11 × 1) × 1 = 1989 ч
Действительный (расчетный) годовой фонд времени работы выражает
фактически отработанное время рабочим или оборудованием с учетом потерь.
Действительный годовой фонд времени работы рабочего ФД определяют
вычитанием из номинального фонда времени всех потерь времени:
ФД = (ФН - КОtСМ)hР (2.3)
где КО - общее число рабочих дней отпуска в году;
tСМ -
продолжительность рабочей смены, ч;
hР - коэффициент потерь рабочего времени.
ФД = (1989 - 24 × 8) × 0,97 = 1743 ч
Действительный годовой фонд времени работы оборудования рассчитывают по
формуле:
ФД.О = ФН × hО (2.4)
где ФН - номинальный годовой фонд времени работы оборудования с учетом
числа смен, ч;
hО - коэффициент использования оборудования с учетом числа
смен.
ФД.О = 1989 × 0,98 = 1949 ч
Действительный годовой фонд времени работы рабочего места без
механизированного оборудования равен номинальному фонду времени.
2.12.3 Число производственных рабочих
Производственные рабочие - люди, непосредственно выполняющие
технологические операции ремонта объектов или изготовления новых изделий,
выпускаемых предприятием.
Вспомогательные рабочие - это люди, занятые обслуживанием основного
производства ремонтного предприятия.
Определение числа производственных рабочих и распределение их по
профессиям ведется расчетным путем в зависимости от объема и вида предстоящих
работ:
(2.5)
где
ТГ - годовая трудоемкость какого-либо вида работ, ч;
Ф
- годовой фонд времени работы рабочего данной профессии, ч.
При
расчете числа рабочих какого-либо производственного подразделения различают
списочный и явочный составы.
Списочный
состав производственных рабочих РСП используют для расчета общего состава
работающих на предприятии, его рассчитывают по действительному фонду времени:
(2.6)
Принимаем
1 рабочего.
Явочный
состав производственных рабочих РЯВ определяют по номинальному фонду времени:
(2.7)
Принимаем
1 рабочего.
По
явочному составу производственных рабочих часто подсчитывают число рабочих мест
на участке.
Для
ремонтных предприятий число вспомогательных рабочих принимают в среднем 14 ...
17% от количества производственных рабочих. В нашем случае для ремонта
турбокомпрессора примем количество вспомогательных рабочих - 1 человек.
2.12.4 Производственная площадь
Вся площадь ремонтного предприятия делится на производственную и
вспомогательную.
К производственной площади предприятия относится площадь, занятая
технологическим оборудованием (станками, верстаками, стеллажами, стендами),
транспортным оборудованием (конвейерами, рольгангами), объектами ремонта,
находящимися на рабочих местах и возле них, а также проходами между
оборудованием и рабочими местами.
В стадии разработки проектного здания целесообразно применять методы
расчета по укрупненным показателям, но обеспечивающим достаточную точность,
чтобы имелась возможность значительно сократить сроки проектирования и иметь
объективные технико-экономические показатели для оценки проекта. Затем на
стадии рабочих чертежей площади уточняются.
В зависимости от типа предприятия, размера программы и стадии
проектирования применяют несколько способов расчета производственных площадей:
по удельным площадям технологического оборудования, по числу рабочих и удельной
площади на одного рабочего, по числу рабочих мест, по площади пола, занятой
оборудованием, и по переходным коэффициентам, по удельной площади на единицу
ремонта.
Учитывая количество оборудования, число рабочих, ширину проходов,
принимаем F = 40 м2.
2.12.5 Оборудование, применяемое при ремонте турбокомпрессора
Учитывая технологический процесс ремонта турбокомпрессора, будет
использоваться следующее оборудование:
- монтажный стол ОРГ-1468-01-090А;
- станок радиально-сверлильный 2К52;
- станок вертикально-расточной 1У61;
- верстак слесарный ОРГ-1468-01-060А;
- шкаф сушильный электрический СНОЛ-3,5×3,5×3,5/3;
- станок токарно-винторезный 16К20;
- настольные весы ВНЦ-2;
- станок шлифовальный с гибким валом или пневматическая шлифовальная машина
ЗА-382;
- сварочный выпрямитель и
трансформатор;
- набор инструментов и приспособлений.
Одновременно с ремонтом турбокомпрессора на данном оборудовании может
производиться и ремонт других деталей и сборочных единиц, с целью снижения
простоев оборудования, срока окупаемости и других причин.
2.12.6 Применение полимеров при ремонте корпуса подшипников
турбокомпрессора
При ремонте турбокомпрессора могут применяться полимерные материалы для
заделки трещин в корпусе и постановки втулок на изношенных посадочных местах
под подшипники.
Применение полимеров при ремонте сельскохозяйственной техники по
сравнению с другими способами позволяет снизить трудоемкость восстановления
деталей на 20 ... 30%, себестоимость ремонта на 15 ... 20 и расход материалов
на 40 ... 50%.
Широко используют эпоксидную смолу ЭД-16 - прозрачную вязкую массу
светло-коричневого цвета. В герметически закрытом сосуде она может храниться
продолжительное время.
С помощью наполнителей улучшаются физико-механические, фрикционные и
антифрикционные свойства, повышаются теплостойкость и теплопроводность и
снижается стоимость.
Эпоксидную композицию готовят следующим образом. Разогревают тару с
эпоксидной смолой ЭД-16 в термошкафу или емкости с горячей водой до температуры
60 ... 80 ºС и наполняют ванночку необходимым количеством смолы. В
последнюю добавляют небольшими порциями пластификатор (дибутилфталат),
тщательно помешивая смесь в течение 5 ... 8 мин. Далее также вводят наполнитель
и перемешивают 8 ... 10 мин. Приготовленный состав можно хранить длительное
время. Непосредственно перед использованием в него вливают отвердитель и
перемешивают в течение 5 мин., после чего эпоксидная композиция должна быть
использована в течение 20 ... 25 мин.
Таблица 2.1 - Состав композиции в частях по массе
|
Компонент
|
Часть
|
|
Смола ЭД-16
|
100
|
|
Дибутилфталат
|
15
|
|
Полиэтиленполиамин
|
10
|
|
Железный порошок
|
160
|
Трещины длиной до 20 мм заделывают следующим образом. С помощью лупы
определяют границы трещины, и на ее концах сверлит отверстия диаметром 2,5 ...
3,0 мм. Затем по всей длине снимают фаску под углом 60 ... 70º
на глубину 1,0 ... 3,0
мм.
Зачищают поверхность на расстоянии 40 ... 50 мм от трещины до металлического
блеска. Обезжиривают поверхности трещины и зачищенного участка ацетоном. После
просушивания в течение 8 ... 10 мин. поверхность детали вновь обезжиривают и
вторично просушивают.
Деталь устанавливают так, чтобы поверхность с трещиной длиной до 20 мм
находилась в горизонтальном положении, и наносят шпателем эпоксидный состав на
поверхности трещины и зачищенного участка.
Трещину длиной 20 ... 150 мм заделывают так же, но после нанесения
эпоксидного состава на нее дополнительно укладывают накладку из стеклоткани.
Последняя перекрывает трещину со всех сторон на 20 ... 25 мм. Затем накладку
прикатывают роликом. На ее поверхность наносят слой состава и накладывают
вторую накладку с перекрытием первой на 10 ... 15 мм. Далее прикатывают роликом
и наносят окончательный слой эпоксидного состава.
Эпоксидные композиции, содержащие полиэтиленполиамин, оставляют до
отверждения при температуре 18 ... 20 ºС в течение 72 ч или при той же
температуре - 12 ч, а затем при нагревании в термошкафу по одному из
следующих режимов: при температуре 40 ºСМ в течение 48 ч, при 60 - 24, 80 -
5 и 100 ºС - 3 ч.
После этого зачищают подтекания и наплыв эпоксидной композиции и
проверяют качество ремонта.
При восстановлении посадочных мест под подшипники их предварительно
растачивают. Затем в расточенное отверстие наносят эпоксидную композицию и
устанавливают втулку.
При применении полимерных материалов следует соблюдать меры безопасности.
Приготавливать составы необходимо в вытяжном шкафу. Нельзя загрязнять ими
верстаки, поверхности деталей, инструмент, посуду.
Перед работой руки покрывают специальной пастой. Работают в защитной
одежде. При обработке затвержденных полимерных материалов пользуются
респиратором. Полимерные материалы хранят в металлических ящиках вдали от
отопительных приборов, сушильных шкафов, электродвигателей.
3.
Конструкторская часть
3.1 Описание
устройства и работы стенда для разборки и сборки турбокомпрессора
Существует множество различных способов ремонта и восстановления деталей
турбокомпрессора. Неизменными составляющими любого способа ремонта являются
предварительная разборка на узлы и детали, механическая обработка и сборка.
В связи с этим и было разработано специальное приспособление для работы
при вышеуказанных стадиях ремонта.
Применение данного приспособления значительно сокращает время разборки,
сборки и механической обработки. Наряду с этим его применение облегчает труд
рабочего, позволяет быстро и качественно осуществить подготовительные операции.
Применять его можно в любой ремонтной мастерской, что позволяет
значительно повысить технико-экономические показатели участка по ремонту
турбокомпрессора и предприятия в целом.
Приспособление для разборки и сборки турбокомпрессора состоит из
основания, корпуса, поворотной планшайбы, опорного валика, уплотнений и
крепежных болтов.
При разборке и сборке приспособление устанавливается на пол и крепится
четырьмя болтами.
Турбокомпрессор крепится на приспособлении горизонтально болтами М10 в
одном из двух положений. Производится частичная разборка насоса. Для окончательной
же разборки он поворачивается в обратное положение. Для облегчения труда
рабочего корпус приспособления вращающийся. Фиксация его осуществляется двумя -
четырьмя болтами.
3.2
Прочностной расчёт опорного валика
Принимаемая вертикальная нагрузка - 600 Н. Материал валика - сталь 45,
твердость НВ 270 ... 300 [13,
с. 291, таблица 12.13].
Находим диаметр сплошной цилиндрической пяты по формуле:
(3.1)
где
[q] - допускаемое
давление из условия не выдавливания смазки из-под цапфы, Н/мм2. Выбираем [q] = 3 Н/мм2 по таблице 12.11 [13, с. 289];
Fа -
вертикальная нагрузка, Н.
Принимаем
диаметр 16 мм.
3.3
Прочностной расчёт резьбового соединения
В приспособлении используются три болта, установленные через 120º
друг от друга. Выбираем
болты М10 [13, с. 52,
таблица 4.2] d = 10 мм, r = 1,5, d2 = 9,026 мм, d1 =
8,376, d3 = 8,160 мм.
Рассчитываем величину окружной движущей силы для треугольной резьбы по
формуле:
FТ = Ftg (j + r¢) (3.2)
где F - осевая сила на винте, Н;
j - угол подъема резьбы, град;
r - угол трения, град; r = arctg f;
где f - коэффициент трения, равный 0,15;
r¢- приведенный угол трения, приближенно равный
r/cos a/2,
где a - угол наклона
резьбы.
FТ =
300tg (60 + arctg 0,15/соs 30º) = 824,2 Н
Момент завинчивания винта определяется по формуле:
ТЗАВ = ТР + ТТ (3.3)
где ТР - момент сил трения в резьбе при завинчивании, Н×мм;
ТТ - момент сил трения на торце винта, Н×мм
(3.4)
(3.5)
где
dm - средний диаметр опорной поверхности винта, мм
ТЗАВ
= 3719,6 + 337,5 = 4057,1 Н = 4,06 кН×мм
Расчетная
сила, действующая на каждый винт, определяется по формуле:
(3.6)
где
Т - нагружающий момент сил, Н×мм;
z - число
болтов;
D - диаметр
окружности установки болтов, мм
Сила
затяжки винтов для простого кольцевого стыка:
(3.7)
где
f - коэффициент трения, равный 0,15
Болты
поставлены в отверстия без зазора, значит, рассчитываем их на срез по формуле:
(3.9)
где
FВ - внешняя нагрузка, Н;
dС - диаметр
стержня болта; dС = 10 мм;
I - число стыков
в соединении; I = 3;
[tСР] - предел прочности на срез, принимаем [tСР] = 104 Н/мм2 [13, с. 65, таблица 4.4]
исходя
из условия прочности на срез, болты срезаться не будут.
Проверим
винтовое соединение на смятие по формуле:
(3.10)
где
F - внешняя нагрузка, Н;
А
- площадь смятия, мм2; А = 52,3 мм2;
[sСМ] - предел прочности на смятие, выбираем [sСМ] = 200 Н/мм2 [13, с. 65, таблица 4.4].
Следовательно,
винтовое соединение сминаться не будет. Болты диаметром 10 мм удовлетворяют
требованиям. Для крепления турбокомпрессора в приспособлении используются болты
того же диаметра, что повышает удобство разборки и сборки, соответственно,
сокращает затраты времени на подготовительные операции.
3.4
Прочностной расчёт параметров пружины
Изготовление пружины предусматриваем из пружинной стальной проволоки 1-го
класса по ГОСТ 9889-88. Полагая, что диаметр проволоки пружины равен 2 мм,
примем допускаемое напряжение для проволоки [t] = 250 МПа, что соответствует рекомендации ГОСТ 13764-68.
Предположим, что сила пружины при max деформации определяется по формуле [18, с. 103]:
F3 =
1,3F2 (3.11)
где F2 - сила пружины при рабочей
деформации;
F1 = S × r1 =
0,64 × 2 = 1,28 кг/см2 = 12,54 Н (3.12)
F2 = S × r2 =
0,64 × 12 = 7,68 кг/см2 = 75,26 Н (3.13)
где F1 - сила при предварительной
деформации;
r1 и r2 - удельные
давления роликов, кг/см2.
Тогда:
F3 =
1,3 × 75,26 = 97,83 Н
Примем индекс пружины С = 4, коэффициент влияния кривизны витков К = 1,29
.
Диаметр проволоки пружины определяется по формуле:
(3.14)
В
соответствии с ГОСТ 9389-88 окончательно принимаем d = 2,25 мм.
Следовательно, предварительно принятые значение [t] и значения
с и k приняты правильно.
Средний
диаметр пружины определяется по формуле:
D = c ∙ d = 4 × 2,25 = 9 мм (3.15)
Наружный диаметр пружины определим по формуле:
DН = D + d = 9 + 2,25 = 11,25 мм (3.16)
Подберем
пружину по ГОСТ 13766-68. Ближе всего подходит пружина 1-го класса разряда №
358. Для этой пружины F3 = 83,9 Н; d = 2,25 мм; DН =
11,25 мм; жесткость одного витка С1 = 54 Н/мм; наибольший прогиб одного витка
= 0,6мм.
Уточним средний диаметр пружины [18, с. 103]:
D = DH -d = 11,25 - 2,25 = 9 мм (3.17)
Проверим выбранную пружину по жесткости одного витка и наибольшему
прогибу витка [18, с. 102]:
(3.18)
Что приемлемо.
Жесткость пружины определяется по формуле:
(3.19)
где h - рабочий ход пружины, мм; h = 8 мм;
Определим
число рабочих витков [18, с. 103]:
(3.20)
Максимальная деформация пружины рассчитывается по формуле [18, с. 103]:
(3.21)
Подставив в формулу 3,11 вместо силы F силы F1, F2, F3, получим деформации: l1 - предварительную, l2 - рабочую и l3 - максимальную. Максимальная деформация одного витка
пружины:
(3.22)
Что
почти совпадает с табличным значением
по
ГОСТу.
Полное
число витков определяется по формуле:
n1 = n + n2 (3.23)
где n2 - число опорных витков; n2 = 1,5 … 2.
n1 =
4,5 + 2 = 6,5
Шаг пружины рассчитаем по формуле [18, с. 104]:
t =
+ d =2,75 + 2,25 = 5,0 мм (3.24)
Высота пружины при max
деформации определяется по формуле:
L3 = (n1 + 1 - n3) ×d (3.25)
где n3 - число зашлифованных витков; n3 = 2.
L3 =
(6,5 + 1 - 2) ×2,25 = 12,4 мм
Высота пружины в свободном состоянии определяется по формуле:
L0 = L3 + l3 (3.26)
L0 =
12,4 + 2,75 = 15,15 мм
Длину развернутой пружины определим по формуле [18, с. 104]:
L »
3,2 × D × n1 (3.27)
L »
3,2 × 9 × 6,5 »
187 мм
3.5
Технико-экономическая оценка внедряемости стенда
За основу расчета примем тот факт, что при внедрении стенда для разборки
и сборки турбокомпрессора уменьшилась общая трудоемкость ремонта
турбокомпрессоров на 3 чел×ч для каждой единицы. Значит, до внедрения она составляла 23
чел×ч. Следовательно, годовая
трудоемкость ремонта 250 турбокомпрессоров будет равна 1969 чел×ч.
Полная себестоимость ремонта будет равна:
СП = СЗ/П + СЗ/Ч + СМ + СНПР (3.28)
Где СЗ/П - затраты на заработную плату, руб.;
СЗ/Ч - затраты на запасные части, руб.;
СМ - затраты на материалы, руб.;
СНПР - общепроизводственные расходы, руб.
Расходы на заработную плату рабочих находятся по формуле:
СЗ/П = СПР + СДОП + ЕСН (3.29)
где СПР - основная заработная плата производственных рабочих, руб.;
СДОП - дополнительная заработная плата, руб.;
ЕСН - единый социальный налог, руб.
СПР = СТ × ТГОД × КТ (3.30)
где СТ - средняя годовая тарифная ставка; СТ = 45 руб/ч;
ТГОД - годовая трудоемкость работ, чел×ч;
КТ - коэффициент, учитывающий доплаты; КТ = 1,10 ... 1,12.
СПР = 45 × 1969 × 1,10 =
97465 руб.
СДОП = (0,10 ... 0,12)СПР = 0,10 × 97465 = 9746,5 руб (3.31)
ЕСН = 0,262(СПР + СДОП) = 0,262(97465+9746,5)=28089 руб. (3.32)
СЗ/П = 97465 + 9746,5 + 28089 = 135300 руб.
СЗ/Ч = (3,3 ... 3,5)СЗ/П = 3,3 × 135300= 446490 руб. (3.33)
СМ = (0,28 ... 0,38)СЗ/П = 0,3 × 135300= 40590 руб. (3.34)
СНПР = 1,85 × СЗ/П = 1,85 × 135300 = 250305 руб. (3.35)
Полная себестоимость будет равна:
СП = 135300 + 446490 + 40590 + 250305 = 872685 руб.
Себестоимость одного ремонта равна:
(3.36)
Так как после внедрения стенда себестоимость одного ремонта снизилась до
1800 руб., то прибыль с одного турбокомпрессора составит:
П = 3490 - 1800 = 1690 руб.
Срок окупаемости стенда при его первоначальной стоимости 23500 руб.
составит:
(3.37)
4.
Безопасность жизнедеятельности проекта
4.1 Анализ
условий труда на производстве
Целью безопасности труда является сохранение здоровья рабочих.
Благоприятные условия труда не только сохраняют здоровье рабочих, но и
обеспечивают высокую производительность труда, предотвращают производственный
травматизм.
В ремонтной мастерской за охрану труда отвечает руководитель, для
проведения практической работы по охране труда на предприятии имеется должность
инженера по охране труда.
Мастерская состоит из 10 производственных участков, которые различаются
по классификации пожароопасности. В наиболее пожароопасных местах на участках
имеются средства пожаротушения. В мастерской имеется достаточное количество
огнетушителей.
В мастерской соблюдаются правила электробезопасности, имеется
заземлительный контур, состоящий из 30 стержней. Всё электрооборудование
заземлено. Проводятся работы по проверке состояния изоляции и исправности
электрооборудования.
В мастерской имеется приточно-вытяжная вентиляция. Она находится в
рабочем состоянии и обеспечивает необходимый воздухообмен.
Отопление в мастерской находится в рабочем состоянии и поддерживает
оптимальную температуру в холодное время года.
В мастерской помимо естественного освещения предусмотрено искусственное
освещение. Освещённость рабочих мест в мастерской удовлетворительное.
На каждом участке есть средства оказания первой медицинской помощи.
Наличие этих средств необходимо, так как во время ремонтных работ,
особенно на разборочно-сборочных операциях, ввиду несоблюдения техники
безопасности и пользования неисправными средствами труда происходит
травмирование рабочих.
Для утилизации стружки, ветоши и других отходов в мастерской
предусмотрены специальные контейнеры, которые установлены в специально
отведенных местах.
Для утилизации горюче-смазочных материалов имеется специальный бак, куда
сливают смазку.
Подъёмно-транспортное оборудование мастерской было освидетельствовано
органами Гостехнадзора и допущено к эксплуатации.
Для создания более безопасных условий работы, некоторые
металлообрабатывающие станки необходимо снабдить защитными экранами и
блокировочными устройствами.
В целом условия охраны труда в мастерской находятся в хорошем состоянии.
4.2 Анализ
вредных и опасных факторов
Производственная деятельность по ремонту машин и сельскохозяйственной
техники связана с наличием многих вредных и опасных факторов, таких как
вращающиеся механизмы, работа с электрическими приборами и использование
вредных моющих средств.
Проведём анализ наличия вредных и опасных факторов на производстве. Все
имеющиеся вредные факторы сведём в таблицу 4.1. Рассмотрим также таблицу 4.2, в
которой представлены опасные производственные факторы.
Условные обозначения:
«+»- данный фактор присутствует;
«-»- данный фактор отсутствует;
Таблица 4.1- Наличие вредных факторов
|
Вредные факторы
|
|
Шум
|
Пыль
|
МС
|
УФИ и ИКИ
|
Повышенная t
|
|
Моечные
|
+
|
-
|
-
|
+
|
-
|
+
|
|
Разборочные
|
+
|
-
|
-
|
-
|
-
|
-
|
|
Холодная обработка металлов
|
+
|
-
|
+
|
-
|
-
|
-
|
|
Газосварочные
|
+
|
+
|
+
|
-
|
+
|
+
|
|
Регулировочные
|
+
|
+
|
-
|
-
|
-
|
+
|
|
Покрасочные
|
+
|
+
|
-
|
-
|
-
|
-
|
Таблица 4.2 - Наличие опасных факторов
|
Виды работ
|
Опасные факторы
|
|
Электрический ток
|
Вращающиеся части
|
Открытый огонь
|
Взрывоопасные работы
|
|
Моечные
|
+
|
+
|
-
|
-
|
|
Разборочно-сборочные
|
+
|
+
|
-
|
-
|
|
Холодная обработка металлов
|
+
|
-
|
+
|
+
|
|
Газоэлектросварочные
|
+
|
+
|
-
|
-
|
|
Ремонт электрооборудования
|
+
|
+
|
-
|
_
|
|
Покрасочные
|
-
|
+
|
-
|
+
|
На основании данных таблиц 4.1 и 4.2 можно разработать необходимые
требования по технике безопасности и охране труда. При работе во вредных и
опасных условиях, а также провести анализ нарушения тех или иных правил
проведения различных видов работ с наличием вредных факторов. Так как в
мастерской нередко при работе на станках не используются средства защиты, при
приготовлении моющих растворов не пользуются резиновыми фартуками и перчатками,
возникают и другие нарушения, то все эти нарушения необходимо исключить.
4.3
Классификация и присвоение категорий предприятию и проектируемому участку
Принцип классификации состоит в делении объектов на классы, категории по
признакам, связанным с опасностями. Классификация объектов осуществляется на
основании нормативных документов и расчета возможности образования
взрывоопасной, газо-, паро-, или пыливоздушной смеси, при этом рассматриваются:
категория производства по взрывной, взрывопожарной и пожарной опасности
(А, Б, В, Г, Д, Е);
-класс пожароопасности помещений для выбора электрооборудования ( для
взрывоопасных В-1, В-1а, В-1б, В-2, В-3; для пожароопасных П-1, П-2, П-2а,
П-3);
-степень огнестойкости здания (1, 2, 3, 4, 5);
классификация помещения по электроопасности (без повышенной опасности, с
повышенной опасностью, особо опасные);
-категория объекта по степени опасности поражения молнией в зависимости
от классов взрывоопасности (1, 2, 3);
-класс санитарно-защитной зоны (1, 2, 3, 4, 5).
Цель классификации - оценить организацию безопасности производственного
процесса, правильно выбрать технологическое оборудование, подобрать
санитарно-бытовые помещения и санитарно-техническое оборудование.
Производственные участки мастерской можно классифицировать по
пожароопасности:
участок по ремонту топливной аппаратуры, а также участок заправки и пуска
тракторов относятся к категории А, как наиболее пожароопасные участки;
покрасочный участок относится к категории Б;
сварочно-наплавочный участок относится к категории Г;
разборочно-сборочный участок, моечный участок относятся к категории Д.
Производственные участки мастерской также можно классифицировать по
электроопасности:
большинство помещений в мастерской относятся к помещениям повышенной
опасности, характеризующимися наличием в них одного из условий: токопроводящих
полов (металлические, землянные, бетонные); сырости (относительная влажность
воздуха превышает 75%) или токопроводной пыли; повышенной температуры воздуха
(более +30 С); возможностью одновременного прикосновения рабочих к
металлическим корпусам электрооборудования и металлоконструкциям здания или
оборудования, соединенному с землёй.
По молниезащите мастерская относится ко второй категории, в которой при
нормальной работе взрывоопасные смеси паров, газов или пыли с воздухом или
другими окислителями не образуются, а образуются они только в результате аварий
или неисправностей.
В целом здание мастерской можно отнести ко второй степени огнестойкости.
Здание полностью соответствует требованиям взрывопо-жароопасности.
Участок по ремонту турбокомпрессоров по степени взрывоопасности относится
к категории Б.
По степени огнестойкости участок относится ко второй степени
огнестойкости.
По степени опасности поражения электрическим током участок относится к
помещениям с повышенной опасностью.
4.4
Разработка комплексных решений, обеспечивающих безопасность
Для уменьшения воздействия вредных и опасных факторов на производстве
необходимо провести следующие мероприятия:- обеспечить всех рабочих
спецодеждой, средствами индивидуальной защиты;
проверить состояние вытяжной вентиляции;
проверить наличие и проконтролировать работоспособность защитных
устройств, блокировочных и тормозных механизмов, приборов безопасности;
в соответствии с требованиями цветовой сигнализации провести окрашивание
устройств и оборудования в соответствующие цвета;
провести паспортизацию подъемно - транспортного оборудования;
проверить работоспособность и эффективность заземления электрического
оборудования;
проверить обучение рабочих правилам работы во вредных и опасных условиях.
На участке по ремонту турбокомпрессоров, кроме вышеперечисленных,
необходимо провести дополнительные мероприятия:
требуется предусмотреть искусственное освещение;
дополнительно к общеобменной вентиляции установить вытяжной зонт;
на полу у пульта управления для электробезопасности предусмотреть
резиновый коврик.
4.5
Безопасность конструкторской разработки
В данном дипломном проекте проектируется стенд для разборки и сборки
турбокомпрессоров. Рабочими органами установки являются вращающиеся механизмы:
привод детали, педаль поворота, деталь. Управление рабочим процессом стенда
производится вручную. Оператор находится в непосредственной близости к стенду,
так как необходимо следить за техническим процессом и управлять стендом. На
рисунке 4.1 стрелками показаны наиболее опасные зоны на стенде для разборки и
сборки турбокомпрессоров. В связи с тем, что данный стенд ранее не применялся в
мастерской, необходимо разработать инструкцию по охране труда.
4.6
Инструкция по охране труда при работе на стенде для разборки и сборки
турбокомпрессоров
Общие требования безопасности:
.1 Не допускаются к работе на стенде лица, не прошедшие обучение и не
аттестованные по профессии, а также лица моложе 18 лет;
.2 Рабочие должны соблюдать правила внутреннего распорядка.
Рисунок 4.1 - Стенд для сборки и разборки турбокомпрессоров
1.3 Запрещается работать на стенде в алкогольном опьянении;
.4 Необходимо соблюдать правила пожарной безопасности и производственной
санитарии;
.5 Пользоваться средствами индивидуальной защиты.
Требования безопасности перед началом работы:
.1 Осмотреть стенд и проверить техническое состояние узлов и деталей и
убедиться в их исправности;
.2 Надеть спецодежду и использовать средства индивидуальной защиты;
.3 Убедиться, что использование стенда не сопровождается опасностью.
Требования безопасности во время работы:
.1 Постоянно содержать рабочее место в порядке и чистоте;
.2 При заедании вращающихся частей, появления посторонних шумов, трудном
вращении рукоятки привода, прервать работу и проверить техническое состояние
стенда:
.3 Во время работы на стенде запрещается:
находиться в непосредственной близости от зоны вращения турбокомпрессора
и других вращающихся частей стенда;
отклоняться от выполнения прямых обязанностей.
Требования безопасности по окончании работы:
.1 Обесточить все электрооборудование;
.2 Провести техническое обслуживание стенда, при необходимости;
.3 Поместить оборудование и инструменты для сборки и разборки
турбокомпрессора в специально предназначенные для этих целей места;
.4 Провести уборку на рабочем месте;
4.5 Сделать необходимые записи в журнале после окончания смены.
Требования безопасности в аварийных ситуациях:
.1 При возникновении аварийной ситуации применять все меры, чтобы
исключить возможность травмирования людей и поломок оборудования;
.2 Предпринять меры для уменьшения тяжести последствий аварии;
.3 При несчастных случаях оказать первую медицинскую помощь пострадавшим;
.4 Сообщить о случившейся аварии в администрацию
4.7 Расчет
искусственного освещения
Искусственное освещение должно отвечать следующим требованиям:
обеспечивать необходимую освещенность рабочего места, деталей и
инструмента;
не допускать резких теней отдельных участков рабочего стола. Расчет
общего равномерного освещения проведем по методу светового потока.
Для данного участка выбираем светильник «Универсаль» с мощностью лампы до
500 Вт.
1 Расстояние между светильниками определяем по формуле:
LСВ = kL ∙ HСВ (4.1)
где Н - высота подвеса светильника, м;
kL -
коэффициент, учитывающий отношение высоты подвеса светильника к расстоянию
между светильниками kL= 1,8.
Высоту подвеса светильника определяем по формуле:
HСВ =
Н - (h1 + h2) (4.2)
где Н - высота помещения, м. Н = 4 м;
h1 -
расстояние от пола до освещаемой поверхности, м. h1 = 1 м;
h2 -
расстояние от потолка до светильника, м. h2 = 0,25 м.
НСВ = 4 - (1 + 0,25) = 2,75 м
LСВ =
1,8 ∙ 2,75 = 4,95 м
2 Количество рядов светильников определяем по формуле:
mР =
(4.3)
где b - ширина помещения, м. b = 6 м;
а - величина, учитывающая расстояние крайних от стен светильников, м;
b -
ширина рядов светильников, м.
Ширину рядов светильников определяем по формуле:
bСИ = kв ∙ hСВ (4.4)
где kВ - коэффициент, учитывающий
отношение максимальной ширины между светильниками к высоте подвеса. KВ = 1,2.
bВ =
1,2 ∙ 2,75 = 3,3 м
Определяем величину а по формуле:
а = kОБ ∙ LСВ (4.5)
а = 0,3 ∙ 4,95 = 1,49 м
mР =
= 1,37
Принимаем
два ряда светильников.
3 Определяем суммарное количество светильников:
nСВ =
(4.6)
где L - длина помещения, м. L = 8 м.
nСВ=
= 1,3
Из
технических соображений принимаем 4 светильника.
Определяем
показатель помещения по формуле:
φ =
(4.7)
где S - площадь помещения, м2, S = 48 м2.
φ =
=1,25
Определяем
световой поток лампы по формуле:
FЛ =
(4.8)
где Emin - минимальная освещенность, лк. Emin, = 200 лк;
Z -
коэффициент неравномерности, Z =
0,865;
ήСВ - коэффициент использования
светового потока, ήСВ = 0,44.
KЗ -
коэффициент запаса, kЗ = 1,5.
FЛ =
= 7077 лк
По
результатам расчетов для освещения участка по ремонту коленчатых валов выбираем
лампы типа НГ-220-500, световой поток которых равен 8100лк.
4.8 Расчет
вентиляции
Естественная вентиляция зданий осуществляется посредствам удаления
загрязнённого воздуха с помощью вытяжных труб (шахт) и поступление чистого
наружного воздуха через приточные каналы или неплотности в строительных
конструкциях.
Разность давлений, Па, на концах вытяжной трубы:
(4.9)
где g - ускорение свободного падения,
(9,81 м/с2 );
h -
длина вытяжной трубы, м;
-
плотность соответственно наружного и внутреннего воздуха, кг/м3.
Теоретическая
скорость воздуха в вытяжной трубе, м/с,
(4.10)
Действительная
скорость движения воздуха в трубе меньше теоретической, так как на своём пути
он преодолевает сопротивление, зависящее от формы поперечного сечения трубы и
качества поверхности ее стенок. Эту скорость рассчитывают по формуле:
(4.11)
где
=0,32…0,65 - коэффициент учитывающий сопротивление
движению воздуха в вытяжной трубе; в расчётах принимают
=0,5.
По
найденному значению
вычисляют суммарную площадь сечения вытяжных труб,
м2,
(4.12)
где L - требуемый воздухообмен, м3/ч.
Число
вытяжных шахт определяют, исходя из конструктивных размеров шахты:
(4.13)
где S - площадь поперечного сечения шахты,
м2.
4.9
Разработка решений по экологической безопасности
В настоящее время вопросы экологической безопасности имеют все более
актуальное значение. На УП «Добрушская ПМС» этой проблеме не уделяется должное
внимание.
Однако, некоторые меры по улучшению экологической обстановки в недавнем
прошлом приняты. По периметру территории предприятия создана санитарная зона,
которая содержится в соответствующем состоянии. На территории предприятия
расположены плановые насаждения. При ремонте техники отработавшие масла сливают
в емкости, затем подвергаются переработке. После мойки техники, вода проходит
сначала очистные сооружения, а потом попадают в канализацию.
Основными источниками загрязнения окружающей среды являются:
электрогазосварочные работы, обработка металлов, моечные работы,
покрасочные работы. Поэтому необходимо на участках, где производятся данные
работы, установить соответствующее оборудование по защите окружающей среды. При
проведении моечных работ в цехе необходимо предусмотреть замкнутое
использование моющего агента. При работах, связанных с обработкой металлов,
применяют емкости для складирования лома. Сварочные посты необходимо
оборудовать искусственной вентиляцией и фильтрами для предотвращения выбросов
вредных веществ в окружающую среду.
5.
Технико-экономическая оценка проекта
Основные производственные фонды включают стоимости зданий, сооружений,
производственного и вспомогательного оборудования, инструмента, приспособлений
и инвентаря:
(5.1)
где
С¢ЗД - удельная стоимость 1 м2 здания, руб/м2;
С¢ОБ - удельная стоимость1 м2 оборудования, руб/м2;
С¢ИН - удельная стоимость инвентаря и приспособлений,
руб/м2.
Принимаем
СО
= 40 × 6250 = 250000 руб.
Стоимость
ремонта рассчитывается по формуле:
СП
= СЗ/П + СЗ/Ч + СМ + СНПР (5.2)
где
СП - полная себестоимость, руб.;
СЗ/П
- расходы на заработную плату, руб.;
СЗ/Ч
- расходы на запасные части, руб.;
СМ
- затраты на материалы, руб.;
СНПР
- общепроизводственные расходы, руб.
Расходы
на заработную плату рабочих находятся по формуле:
СЗ/П
= СПР + СДОП + ЕСН (5.3)
где
СПР - основная заработная плата производственных рабочих, руб.;
СДОП
- дополнительная заработная плата рабочих, руб.;
ЕСН
- единый социальный налог, руб.
СПР
= СТ × ТГОД × КТ (5.4)
где
СТ - средняя годовая тарифная ставка; СТ = 45 руб/ч;
ТГОД
- годовая трудоемкость работ по ремонту турбокомпрессоров, чел×ч;
КТ
- коэффициент, учитывающий доплаты;
КТ
= 1,10 ... 1,12
СПР
= 45 × 1325 × 1,1 = 65587 руб.
СДОП
= (0,10...0,12)СПР = 0,10 × 65587 = 6558,7 руб. (5.5)
ЕСН
= 0,262 (СПР + СДОП) = 0,262 × (65587 + 6558,7) = 18902
руб. (5.6)
СЗ/П
= 65587 + 6558,7 + 18902 = 91047 руб.
СЗ/Ч
= (3,3...3,5)СЗ/П = 3,3 × 91047 = 300455 руб. (5.7)
СМ
= (0,28...0,38)СЗ/П = 0,3 × 91047 = 27314 руб. (5.8)
СИПР
= 1,85 × СЗ/П = 1,85 × 91047 =
168437 руб. (5.9)
Полная
себестоимость будет равна:
СП
= 91047 + 300455 + 27314 + 168437 = 587253 руб.
Себестоимость
одного ремонта равна:
(5.10)
где
W - программа ремонта; W = 250 шт.
К
производственным показателям также относят: фондовооруженность,
фондообеспеченность, фондоемкость и энергоемкость, уровень рентабельности и
срок окупаемости.
Фондовооруженность
равна:
(5.11)
где
РПР - число производственных рабочих, чел.
Фондоемкость
равна:
(5.12)
Фондообеспеченность
равна:
(5.13)
Рассчитываем
срок окупаемости:
(5.14)
где
ПУ - условная прибыль, руб.
Условная
прибыль определяется как:
ПУ
= Ц × W - СП (5.15)
где
Ц - предельная цена турбокомпрессора после ремонта, руб.
Предельная
цена после ремонта - это наивысшая цена, по которой предприятие собирается
продать вновь отремонтированный турбокомпрессор.
Ц
= 4000 руб.
ПУ
= 4000 × 250 - 587253 = 412747 руб.
Рентабельность
предприятия находим по формуле:
(5.16)
где
Р - рентабельность предприятия, %
Основные
технико-экономические показатели проекта сводим в таблицу, представленную в
графической части дипломного проекта.
В
результате внедрения конструкторской разработки было выявлено снижение
трудоемкости одного ремонта с 23 чел.-ч. до 20 чел.-ч., годовой трудоемкости с
1969 чел.-ч. до 1325 чел.-ч.
До
внедрения стенда и приспособления полная себестоимость была равна 23500 руб.,
себестоимость одного ремонта 3490 руб.
В
результате расчета, приведенного в пятом подразделе третьего раздела дипломного
проекта, было выявлено, что прибыль с одного ремонта составит:
П
= 3490 - 2349 = 1141 руб.
Срок
окупаемости стенда и приспособления при их первоначальной стоимости 23500 руб.
составит:
Результаты
расчетов сводим в итоговую таблицу 5.1.
Таблица
5.1 - Технико-экономическая оценка проекта
|
Показатели
|
Значения
|
|
1
|
2
|
|
Годовая программа, рем.
|
250
|
|
Капитальные вложения, руб.
|
250000
|
|
Прибыль, руб.
|
412747
|
|
Себестоимость одного
ремонта, руб.: - до внедрения приспособления и стенда - после внедрения
|
3490 2349
|
|
Срок окупаемости
приспособления и стенда, лет
|
0,1
|
|
Рентабельность ремонта, %
|
16,5
|
|
Срок окупаемости
капитальных вложений, лет
|
0,6
|
Выводы
и предложения
Выполнение дипломного проекта на вышеуказанную тему позволяет сделать
следующие выводы.
1 Расчет основных параметров организации ремонта
турбокомпрессора позволяет при соблюдении основных принципов ремонта:
параллельности, пропорциональности, ритмичности и непрерывности добиться
улучшения организации труда, увеличения производительности рабочих.
2 Внедрение стенда для разборки и сборки турбокомпрессора
позволило снизить трудоемкость ремонта и себестоимость одного ремонта, повысить
эффективность производства.
Проведение мероприятий, предложенных в разделе «Безопасность
жизнедеятельности проекта», позволит улучшить состояние охраны труда и
экологичность безопасности производства.
При расчете экономического эффекта от конструкторской разработки
и от внедрения капитальных вложений на организационно-технические мероприятия
можно выявить снижение себестоимости ремонта, появление годовой экономии от
снижения себестоимости ремонта, увеличение рентабельности производства.
Список
литературы
1 Надежность
и ремонт машин. Под редакцией Курчаткина В.В. - М.: Колос, 2014.
2 Гуревич
А.М., Сорокин Е.М. Тракторы и автомобили. - М.: Колос, 1978.
Бабусенко
С.М. Ремонт тракторов и автомобилей. - М.: Колос, 1980.
Усков
В.П. Справочник по ремонту базовых деталей двигателей. - Брянск: 1998.
Серый
Н.С. Взаимозаменяемость, стандартизация и технические измерения. - М.: Колос,
1981.
Дунаев
П.Ф., Лёликов О.П. Конструирование узлов и деталей машин. - М.: Высшая школа,
2000.
Левицкий
Н.С. Организация ремонта и проектирования сельскохозяйственных ремонтных
предприятий. - М.: Колос, 1977.
Справочник.
Охрана труда на ремонтных предприятиях. - М.: Колос, 1981.
Гуревич
Д.Ф., Цырин А.А. Ремонтные мастерские совхозов и колхозов. Л.: Агропромиздат,
1988.
Копылов
Ю.М. и др. Текущий ремонт колесных тракторов - М.: Росагропромиздат, 1988.
Аршинов
В.Д. и др. Ремонт двигателей - М.: Транспорт, 1978.
Боровских
Ю.И. и др. Техническое обслуживание и ремонт автомобилей. - М.: Высшая школа,
1979.
Детали
машин в примерах и задачах. Под редакцией Ничипорчика С.Н. Мн.: Высшая школа,
1981.
Воронов
Е.П., Грибков В.М. Справочник по оборудованию для технического обслуживания и
ремонта тракторов и автомобилей. - М.: Колос, 1978.
Бабусенко
С.М. Проектирование ремонтно-обслуживающих предприятий. - М.: Агропромиздат,
1990.
Шкрабак
В.С. и др. Безопасность жизнедеятельности в сельскохозяйственном производстве.
- М.: Колос, 2004.