Штукатурка. Окраска по деревянным поверхностям

  • Вид работы:
    Курсовая работа (т)
  • Предмет:
    Строительство
  • Язык:
    Русский
    ,
    Формат файла:
    MS Word
    2,78 Мб
  • Опубликовано:
    2017-04-12
Вы можете узнать стоимость помощи в написании студенческой работы.
Помощь в написании работы, которую точно примут!

Штукатурка. Окраска по деревянным поверхностям

ЦЕЛЬ РАБОТЫ: Изучить новые строительные технологии; повторить технологический процесс выполнения высококачественной штукатурки, а так же виды растворов; инструменты требуемые для нанесения раствора и последовательность штукатурных слоев, а так же требования к качеству высококачественной штукатурки. При этом мы рассмотрим окраску по деревянным поверхностям; виды окрасочных составов; подготовку и обработку поверхности перед нанесение окрасочного состава, а так же технологию окраски; повторим технику безопасности при работе на высоте.

К тому же нам предстоит произвести расчёт расхода материалов при высококачественной штукатурке.

Введение. Новые строительные технологии в отделке помещений

На современном рынке строительных материалов появилось большое разнообразие новых технологий и материалов. Но не всегда можно доверится неизвестному - необходимы некоторые затраты времени, труда и средств, чтобы в конечном счёте выбрать и остановиться на самом качественном.

Первыми отделочными материалами можно считать шкуры животных на каменных стенах пещер. Этот атрибут, безусловно, соответствует всем функциям современной отделки: практической, эстетической, религиозной. Пусть мы и живем в светском государстве, тем не менее личные верования и убеждения обитателей оказывают значительное влияние на подбор художественных сюжетов для оформления, например, стен. Натуральные материалы, такие как камень, дерево или глина, использовались как для строительства, так и для декорирования домов с незапамятных времен, чуть позже появился прототип современных обоев, а остатки штукатурки археологи находят еще на развалинах дворцов древних царств. Современного покупателя простым ламелем, «вагонкой» и даже клинкерным камнем не удивишь, настоящие оригиналы и творчески настроенные личности охотятся за ультрасовременными разработками, о которых человечество не смело мечтать еще буквально пятнадцать-двадцать лет назад.

Начнем с чего-то простого. Помните, как в самодельных треугольных газетных шапочках вы всей семьей клеили обои? Как в четыре руки пытались состыковать рисунок на двух отрезах, и все равно, кого-то предательски подводил глазомер, полотно «съезжало», при всех стараниях шов никогда не получался безупречным? Ну, так можете об этом забыть - сегодня весь мир пользуется бесшовными обоями - декоративными лентами, ширина которых соответствует высоте помещения. Бесшовные обои клеят не вертикально, а горизонтально, в результате комната приобретает аккуратный и завершенный вид.

Текстиль, бумага и винил - это все знакомо и старо, а как насчет пробковых обоев, изготовленных из прессованной крошки коры пробкового дерева?

Главное достоинство пробковых обоев - их абсолютная эко-логичность. Материалу даже не требуются клеящие добавки - при термической обработке из пробки выделяется натуральный сок, надежно скрепляющий массу, для водостойкости в материал может быть добавлен пчелиный воск.

Жидкие обои, по сути, являются разновидностью декоративной штукатурки - они наносятся на стену обычным шпателем, как краска или лак, и затем разглаживаются в ровный слой. В отличие от традиционных рулонных обоев, такое покрытие не требует предварительной подготовки поверхности и даже маскирует неровности или микротрещины в стенах.

Если в семье есть маленький ребенок, очень скоро все горизонтальные поверхности в доме оказываются, изрисованы несмывающимися фломастерами. Как говорится, если безобразие нельзя предотвратить - его надо возглавить! Покройте стены специальными маркерными красками и через неделю, когда покрытие застынет, на нем можно будет рисовать как на обычной доске.

Грифельная краска превращает помещение в огромный школьный класс - на такой поверхности очень удобно писать мелками.

Наконец, магнитная краска содержит частицы металла, на окрашенную ей стену можно лепить всевозможные магнитики, как на холодильник - только очень, очень большой.

Антибактериальная краска - состав, очищающий и дезинфицирующий воздух, может эффективно использоваться не только в специализированных лечебных учреждениях, но и в детских комнатах. В основе действия состава лежит принцип фото-катализа, запускающийся под воздействием света. Вы зажигаете лампу, и воздух начинает стремительно очищаться.

Объемная керамическая плитка создает удивительные визуальные эффекты, за счет чередования выпуклых и вогнутых сторон достигаются сложные оптические иллюзии, а сами элементы выпускаются в шестиугольной или даже круглой форме.

Гибкий камень - тоже вид обоев. Как явствует из названия, это покрытие действительно полностью имитирует не только эстетические, но и практические свойства натурального камня: этот материал прочен, износоустойчив, не выгорает на солнце и не боится механических повреждений. При этом стены выглядят так, будто они действительно вытесаны из натурального мрамора или гранита.

В эту же категорию можно отнести венецианскую штукатурку - жидкое покрытие, которое при высыхании застывает ровным глянцевым слоем, неотличимым от природного мрамора.

Галечная плитка - настоящие морские камешки, приклеенные на капроновую сетку.

Это напольное покрытие особенно аутентично смотрится в ванной комнате или во дворике с бассейном, а некрупная галька массирует босые ноги, обеспечивая качественный акупунктурный массаж.

«Живую» жидкую плитку можно применять на любой горизонтальной поверхности, но эффектнее всего она будет смотреться на полу: покрытие чутко реагирует на малейшее прикосновение, моментально меняя рисунок.

Для стен лучше подойдут тепловые обои: тот же эффект достигается за счет изменения температурного режима. Чтобы не экспериментировать с феном и утюгом вручную, лучше сразу расположить такое покрытие в месте, доступном для перепада температур: например, напротив окна или возле радиатора. Вам останется только любоваться внезапно проявляющимся и скрывающимся рисунком.

1. Высококачественная штукатурка

.1 Виды растворов

Прочность сцепления штукатурных покрытий с основанием, зависит от технологии производства работ, а в том числе подготовки оснований и консистенции (пластичности) раствора, которая должна позволять удобно наносить его и разравнивать, без повышенного количества воды.

Для устройства обычных штукатурок применяют известковые, сложные - известково-гипсовые и цементно-известковые (известково-цементные), а также цементные, гипсовые и глиняные растворы. Они состоят из вяжущего, но названию которого растворы называются, и заполнителя. Количество заполнителя зависит от вида вяжущего, рабочей марки и области применения - для обрызга (нижнего слоя), грунта или накрывочного (верхнего) слоя.

Наиболее удобными для производства работ являются-растворы из сухих смесей. Различные виды добавок позволяют экономить вяжущее и одновременно повышать прочность штукатурного покрытия. Сухие смеси выпускает Бирюлевский завод (Москва), широко распространены также импортные смеси «Кнауф»* «Глимс», «Гипсотрейд», «Юнис», «Боларс»,• «Бетонит».

Готовые растворы, приготовленные централизованно, следует поставлять на объект жесткими с осадкой по стандартному конусу от 3 до 5 см с введением дополнительного количества воды (до рабочей консистенции) непосредственно перед нанесением. Растворы для обрызга и грунта обычной штукатурки процеживают, через сито с ячейками размером 3 х 3 мм, а для накрывочного слоя - 1,5x1,5 мм.

Для внутренней штукатурки, не подверженной систематическому увлажнению, в помещениях с относительной влажностью до 60 % применяют растворы более низких марок и с большим количеством песка, чем для наружной штукатурки. В помещениях с влажностью более 60 % требования к составам такие же как для наружной штукатурки.

Известковыми растворами из смеси извести и песка, затворенной водой, оштукатуривают каменные, деревянные, бетонные и гипсовые поверхности при влажности воздуха до 60 %; их допускается применять для наружных стен (из этих материалов), не подверженных систематическому увлажнению. Известковыерастворы пластичны, легко наносятся тонким слоем, при твердении белеют, но твердеют медленно. При приготовлении сначала известь затворяют водой, получая известковое тесто, затем в него постепенно вводят песок и перемешивают до однородной массы. Воду добавляют в зависимости от подвижности раствора, который после> приготовления может использоваться в течение 24 ч. В это время загустевший раствор разбавляют водой. Но как и у всех растворов, его пластичность со временем снижается, что отражается на его качестве. Поэтому рекомендуется применять свежеприготовленные растворы. Когда они начинают схватываться, омолаживать их (водой, иногда - с добавлением извести) нельзя, так как из-за происходящей при этом потери прочности качество штукатурного покрытия становится низким, покрытие покрывается трещинами. Такие растворы приходится выбрасывать.

Деревянные и гипсовые поверхности медленно впитывают воду, происходит замедленное твердение нанесенных известковых растворов. Кирпичные основания, наоборот, быстро впитывают воду из раствора, обезвоживая его. Поэтому эти основания предварительно тщательно увлажняют.

Для ускорения твердения в известковые растворы вводят гипс, получая известково-гипсовые растворы. При введении цемента образуются известково-цементные (или цементно-известковые) составы, повышающие прочность растворов. Обычно применяют растворы прочностью не менее 4 МПа. Для ускорения твердения в известковые растворы иногда вводят тонкомолотые доменные шлаки, частично заменяя ими песок. Прочность таких растворов проверяют в лаборатории, где определяют количество вводимого шлака.

Растворы на молотой негашеной извести-кипелке, экономичнее растворов на гашеной извести, быстрее набирают прочность и медленнее схватываются. Приготовленный раствор выдерживают в течение 40 мин для предотвращения появления дутиков (пузырей) в штукатурке. Нанесение выдержанного раствора упрощает разравнивание поверхности и ее затирку.

Известково-гипсовые растворы применяют для устройства внутренней штукатурки каменных, деревянных, бетонных и гипсовых поверхностей, когда относительная влажность воздуха в помещении не превышает 60 %. Их готовят в растворном ящике небольшими порциями (до 5 л), сначала вводят воду, затем тонким слоем гипс, перемешивая до образования сметанообразной массы, песок и, в последнюю очередь, заранее приготовленное известковое тесто. Раствор регулярно перемешивают до однородного состава. Без замедлителей твердения его применяют в течение 2...3 мин во избежание схватывания раствора (тогда он становится непригодным).

Цементно-известковые растворы применяют для оштукатуривания любых внутренних и наружных, сухих и влажных оснований. Их пластичность уступает пластичности известковых растворов. Эти растворы расслаиваются медленнее, чем цементные.

При приготовлении цементно-известковых растворов воду отдельно добавляют в известь и цемент, соответственно получая известковое и цементное молоко. При регулярном перемешивании сначала в известковое молоко вводят песок, затем в однородную массу вводят цементное молоко. Полученный раствор процеживают. Он может применяться в течение 2 ч после приготовления, после чего начинает схватываться и становится непригодным.

Во внутренних (с относительной влажностью не более 60 %) и наружных помещениях, не подверженных систематическому увлажнению, в цементно-известковых растворах допускается известь частично или полностью заменять глиняным тестом (подвижностью до 13...14 см). При этом соотношения объема вводимого глиняного теста к объему цемента не должно превышать 1:1,5.

Цементные растворы применяют для оштукатуривания тех же поверхностей, что и при использовании цементно-известковых растворов. Но для помещений с влажностью воздуха до 60 % их не применяют, за исключением работ по перетирке бетонных поверхностей. Эти растворы самые жесткие (жесткость увеличивается при введении песка), но они значительно прочнее других штукатурных растворов, особенно известковых, однако медленно твердеют.

Цементные растворы готовят на объекте, регулярно перемешивая их до однородной массы. Сначала в цемент вводят песок, затем затворяют его водой (перед нанесением). Количество воды зависит от подвижности раствора.

Составы штукатурных растворов в зависимости от вида основания (по объему) приведены в табл. 1.1 (по данным СП 82-101-98 «Приготовление и применение растворов строительных»).ГДЕ ТАБЛИЦА 1.1?

Как видно из табл. 1.1, состав раствора зависит от вида оснований при устройстве грунта и обрызга штукатурки; для накрывочного слоя, только от вида грунта (нижележащего слоя). ;

При производстве штукатурных работ из приведенных составов приходится подбирать определенные марки растворов (табл. 1.2,1.3).ГДЕ?Соотношение компонентов в основном зависит от марки вяжущих: чем она выше, тем большее количество заполнителя может вводиться. Повышенное количество заполнителя приводит к снижению прочности покрытия, пониженное - к перерасходу вяжущих. Воду вводят до требуемой подвижности раствора.

Составы являются ориентировочными, так как возможно их изменение в зависимости от вида песка и сорта извести

.2 Инструменты

Рис. 1. Инструменты для нанесения и разравнивания раствора: а - штукатурная лопатка, б - отрезовка, в - ковш, г - совок с качающейся ручкой, д - совок-лопатка и сокол-ковш, е - прямоугольный сокол, ж - тарельчатый сокол, з - полутерки

Инструменты для нанесения и разравнивания раствора (рис.1, а-з). Штукатурная лопатка (ГОСТ 9533-81) состоит из стального полотна толщиной до 1,5 мм, черенка с коленом высотой 50 мм и деревянной ручки, насаженной на черенок. Лопатки изготовляют с полотном длиной 180 и 200 мм. Черенок крепят к полотну сваркой, реже приклепывают. Ручки изготовляют одного стандартного размера. В местах крепления черенка на полотне скопляется раствор, его нужно систематически очищать. Более удобны лопатки с цельнотянутым полотном и черенком, так как с них легко удаляется раствор. Чем легче лопатка, тем меньше утомляется рабочий.

Штукатурными лопатками насыпают и приближенно дозируют различные материалы, перемешивают сухие смеси и растворы, набрасывают, намазывают, разравнивают, заглаживают, срезают растворы, очищают инструменты, инвентарь и приспособления от раствора.

Отрезовки представляют собой небольшие лопаточки с тонкими стальными полотнами длиной 100, 125 и 140 мм, шириной 25, 35 и 56 мм. Для некоторых работ полотно укорачивают по длине до 50 мм, по ширине до 10-15 мм. Применяют отрезовки для очистки инструмента, разрезки трещин в штукатурке, подмазки, разрезки и подправки раствора при разделке углов в тягах, железнения штукатурки.

Ковш для отделочных работ (ГОСТ 7945-73) состоит из чашки (ковша), черенка, деревянной ручки и крючка, с помощью которого ковш вешают на борт ящика. Полная вместимость ковша 1,1 л, рабочая 0,8 л. Ковши изготовляют из разных металлов, наиболее удобны стальные. Чашки из алюминия и разных сплавов малопригодны, так как к ним сильно прилипает раствор, что снижает его скольжение при набрасывании. Ковши применяют для нанесения раствора на разные поверхности и дозирования материалов.

Сокол - это щит из дерева или дюралюминия с ручкой в середине. С сокола раствор наносят на поверхность лопаткой либо непосредственно соколом намазывают и разравнивают по поверхности.

Деревянный щит изготовляют из трех-четырех 10-15-миллиметровых досок. Доски между собой крепят на шпонках с пазом "ласточкин хвост" или гвоздями. Шпонка должна выступать над плоскостью щита на 15-25 мм. Она препятствует короблению щита и служит упором для конца лопатки при намазывании или разравнивании раствора. Двойные шипы ручки должны быть на 1-2 мм ниже плоскости щита. Это необходимо для того, чтобы лопатка не цеплялась за шип ручки. Щит можно изготовить и из 8-10-миллиметровой фанеры на водостойких клеях, но к нему также надо прибить шпонки. Щит сокола пропитывают олифой и сушат. Деревянные соколы должны иметь ровный, гладкий щит. Они удобны тем, что к ним не прилипает и с них легко очищается раствор.

Дюралевые соколы легки, но к ним прилипает раствор, а это задерживает скольжение лопатки по полотну. К тому же он не имеет шпонок, которые служили бы упором для конца лопатки при намазывании и разравнивании раствора соколом. Конец лопатки может соскользнуть с полотна и ранить руку. Прижимать же сокол рукой или ручкой штукатурной лопатки не всегда удобно. Некоторые штукатуры надевают на ручку лопатки резиновый колпачок и ручка меньше скользит по металлу. Однако упор концом лопатки более удобен, так как лопатку не приходится перевертывать. Лучше всего к щиту сокола приклепать шпонки.

Для удерживания большой порции декоративных или жидких обычных растворов изготовляют тарельчатые соколы, квадратные или круглые с ручкой в середине или сбоку.

Полутерки состоят из полотна и ручки. Их изготовляют из несучковатой древесины. В зависимости от назначения они бывают с полотном длиной 150-2000 мм, шириной 20- 150 мм, толщиной 5-30 мм. Полотно ровно выстрогано, а лучше всего фуговано. Полутерки служат для разравнивания, намазывания раствора, натирки архитектурных элементов.

Инструменты для отделки штукатурки (рис. 2, а-о). Терки применяют для затирки штукатурного слоя. Они состоят из полотна и ручки. Полотно и

ручку изготовляют из несучковатой и без засмолов древесины сосны или ели или полотно - из дюралюминия или оцинкованной стали, а ручку - из дерева. К полотну из дюралюминия крепят фетр или рейки. Ручку делают такой высоты, чтобы в нее свободно проходили пальцы руки, но не доходили при этом до полотна на 3-5 мм, т. е. на величину крупного песка. Средние размеры полотна терки 130 х 190 мм. Ручку крепят к полотну гвоздями или деревянными нагелями. По мере истирания полотна терки концы гвоздей или нагелей утапливают в полотно.

При намокании и высыхании полотно терки коробится и начинает затирать какой-то частью, что снижает производительность труда. Если к полотну прибить плотный войлок или фетр, такая терка затирает чище, но не срезает мелких бугорков. Поэтому сначала затирают поверхность теркой с деревянным полотном, а затем - с обитым войлоком.

Рис. 2. Инструменты для отделки штукатурки: а - деревянная терка, б - универсальная металлическая терка для крепления войлока, в - универсальная металлическая терка для крепления деревянного полотна, г - гладилки, д - кисть (окамелок), е - бучарда, ж - зубило, з - троянка и зубчатка, и - фасонные полутерки, к - стальная щетка, л - цикля, м - гвоздевая щетка, н - штукатурная линейка, о - рустовка

Гладилки (ГОСТ 10403-80) применяют также для заглаживания штукатурки. Гладилки бывают стальные или деревянные. Деревянные гладилки - это полутерки, полотно которых обтянуто (обито) резиной. Длина и ширина полотен гладилок бывают разные.

Кисть предназначается для смачивания водой поверхностей и подсохшей штукатурки, мытья инструмента и других целей. Кисти бывают разных размеров и формы, из волоса, морской травы, мочала. В штукатурных работах часто используют кисти, бывшие в употреблении у маляров и не пригодные для окраски, - окамелки.

Бучарда - металлический молоток массой до 1,5 кг. На торцовых сторонах бучард насечены от 16 до 36 зубчиков пирамидальной формы. Вместо зубчиков может быть нарезка в виде прямых лезвий. При обработке бучардами поверхностей на последних остаются от зубчиков ямки, от лезвий - полоски (штрихи).Бучарды применяют для наковки декоративной штукатурки на цементном вяжущем веществе (каменных и терразитовых) и для подготовки каменных, кирпичных, бетонных и подобных поверхностей.

Зубила служат для выборки швов в каменной кладке, насечки декоративной штукатурки, подготовки поверхностей.

Троянка и зубчатка применяются для той же цели, что и зубила. У троянки на лезвии три зубчика, у зубчатки - несколько. Изготовляют зубила, троянки и зубчатки из стали.

Фасонные полутерки - металлические длиной 804 мм и деревянные длиной до 2000 мм используют для натирки лузгов, усенков и фасок.

У деревянных полутерков полотно сбивают из двух строганых досок под прямым углом. Ручки к таким полутеркам крепят, как и к обычным, гвоздями. Недостаток деревянныхполутерков в том, что, намокая и высыхая, они коробятся.

Стальные щетки (деревянные ручки, в которые вставлена стальная проволока) предназначаются для очистки различных поверхностей, прочистки некоторых видов декоративной штукатурки.

Цикли (ГОСТ 12378-81) -стальные пластинки длиной до 200 мм с зубчиками разной высоты и ширины. Этот инструмент служит для циклевания декоративных штукатурок, особенно терразитовых.

Гвоздевая щетка - кусок доски или терка с набитыми в полотно гвоздями, концы которых выступают из-за плоскости доски на 3-10 мм, что зависит от того, какой крупности фактуру необходимо получить. Гвозди набивают на расстоянии от 5 до 10 мм рядами или в шахматном порядке. Щетки применяют для обработки терразитовых штукатурок.

Штукатурная линейка служит для разделки углов, раскреповок, т. е. срезания раствора, нанесенного выше уровня тяги. Линейки изготовляют из дерева. Длина, толщина и ширина их бывают различные. Длинная линейка удобнее для работы, так как обеспечивает более точную срезку раствора. Один или два конца линейки срезают под углом 45° и прибивают стальной резец на одном уровне с рабочей плоскостью линейки. Кромка линейки может быть плоской - для разделки прямоугольных архитектурных обломов или закругленной - для разделки криволинейных обломов.

Рустовки - деревянные или металлические полутерки длиной 300- 400 мм с вырезом на конце и прикрепленной стальной полоской в виде полуокружности, которая является резцом и служит для разрезки раствора между плитами перекрытия.

Инструменты для подготовки и проверки поверхностей (рис.3,а-и). Штукатурный молоток на одном конце имеет обушок размером 25 x 25 мм, на другом - изогнутые рожки с прорезями для вытаскивания гвоздей. Молоток насаживается на ручку длиной 300 мм. Масса молотка (450-475 г) и ручки рассчитаны на то, чтобы можно было за два удара забивать штукатурные гвозди.

Рис. 3. Инструменты для подготовки и проверки поверхностей: а - штукатурный молоток, б - кулачок, в - штукатурный нож, г - ножницы для резки металла, д - отвес, е - уровень, ж - ватерпас, з - водяной уровень, и - угольник с передвижной планкой

Кулачок - молоток с широким обушком массой от 1 до 1,5 кг. Его применяют для нанесения ударов по зубилу, троянке, зубчатке.

Нож для отделочных работ (ГОСТ 18975-73) служит для изготовления ручек инструмента, раскалывания драни, обрезки кромок рогожи, резки сухой штукатурки, вырезания профильной доски. Лезвие ножа имеет длину до 150 мм и узкий конец. Ручка не должна быть круглой, иначе она будет вращаться в руках. Нож хранят в деревянных ножнах-футляре.

Ножницы для резки металла используют для вырезания стальных профилей к шаблонам, резки сетки. Более удобны и безопасны в работе ножницы с изогнутыми ручками. При работе такими ножницами руки всегда находятся выше отрезаемых краев сетки, что уменьшает опасность травмирования.

Строительный отвес применяют для провешивания поверхностей и проверки их горизонтальности. Он состоит из груза и шнура. Груз-отвес в виде цилиндра с заостренным концом массой не менее 200 г. Диаметр груза 10-20 мм, что дает возможность провешивать поверхности под штукатурку толщиной от 5 мм и больше. Длина шнура 20 м.

Уровни применяют для проверки вертикальных и горизонтальных поверхностей, они бывают разной длины, деревянные и металлические, с одним или двумя визирами. Уровни следует предохранять от падений, так как они могут расколоться или сместятся их визиры.

Периодически уровни проверяют. Для этого строганую доску устанавливают по уровню, обводят уровень по всем сторонам карандашом, затем повертывают его на 180° и вновь устанавливают по обведенной карандашом фигуре. Если визир показывает точную установку, значит, уровень можно применять, если нет, то его заменяют. Точно так же проверяют уровень на вертикальность.

Рейка-отвес - простейший деревянный уровень из двух реек, поставленных под прямым углом друг к другу. Короткие рейки-отвесы имеют длину 600-750 мм, средняя длина 1000-1500 мм. Рейки-отвесы бывают простые - только для проверки вертикальных поверхностей и комбинированные - для проверки вертикальных и горизонтальных поверхностей. Простая рейка-отвес - фугованная доска, по середине которой проведена риска или забиты шпильки и укреплен отвес. Комбинированные рейки-отвесы состоят из двух реек: длинной и короткой, которая крепится к длинной под углом 90° с помощью шипа и подкосов. По середине реек проводят риски, в местах пересечения которых вбивают гвоздь и крепят отвес. Обычно по концам реек по рискам вбивают шпильки, по которым проверяют положение шнура. Для хранения отвеса в углу между рейками устраивают коробочку.

Гибкий уровень применяют для провешивания горизонтальных поверхностей или пробивки горизонтальных линий на стенах. Этот уровень состоит из резиновой трубки толщиной 10- 15 мм необходимой длины. В концы резиновой трубки вставлены стеклянные трубки длиной от 200 до 300 мм с делениями. Если уровень наполнить водой и приблизить трубки друг к другу на одном уровне, то налитая вода должна стоять на одних и тех же делениях.

Угольники бывают деревянные и металлические, лучше с передвижной планкой, с помощью которой легче отмерять углы рассвета откосов. Размеры их бывают разные. Угольники необходимы для разметки, проверки раскреповок, углов, изготовления профильных досок.

Кроме рассмотренных инструментов при штукатурных работах применяют также пилу, топор, метр, кусачки, клещи, напильник, бруски и др.

Насадка инструмента и уход за ним. Все инструменты должны быть прочно насажены на ручки так, чтобы они не могли соскочить во время работы. Особенно это относится к ударным инструментам: молоткам, кулачкам, бучардам.

Молотки и кулачки (рис. 4) сначала насаживают на ручку так, чтобы они перестали передвигаться по ней. После этого ссаживают молоток или кулачок, отрезают конец ручки, на расстоянии 50-100 мм от этого конца просверливают отверстие диаметров 5-7 мм, прорезают от него с двух противоположных сторон желобки по толщине применяемой проволоки. Затем вставляют в отверстие кусок проволоки, загибают ее так, чтобы она плотно легла в желобки, и отрезают концы с таким расчетом, чтобы они выступали из-за ручки на 10-15 мм. Молоток или кулачок надевают на ручку, насаживают, загибают выпущенные концы и расклинивают. Концы проволоки прочно удерживают инструмент

.

Рис. 4. Насадка ударных инструментов: а - молотка и кулачка, б-бучарды

Бучарды лучше крепить с помощью клиньев и гвозди забивать в ручку, но поперек отверстия. В этом случае конец ручки должен выступать из-за бучарды на 20-30 мм.

Ручки всех инструментов рекомендуется хорошо зачищать и покрывать за один-два раза олифой. Они меньше намокают и легко очищаются от раствора.

После работы инструмент осматривают, очищают от раствора и, если надо, промывают. Заусенцы скалывают или стачивают. Если этого не делать, то, отламываясь и отлетая, они могут нанести повреждения.

Во время работы ударными инструментами от обрабатываемой поверхности отлетают кусочки материала, поэтому штукатур должен быть в защитных очках и рукавицах.

.3 Штукатурные слои

Штукатурные слои. Простая штукатурка состоит из двух слоев - обрызга и грунта, улучшенная и высококачественная - из трех: обрызга, грунта и накрывки. отделка штукатурка раствор окрасочный

Обрызг - первый слой штукатурного намета. Толщина его при нанесении вручную - 3-5 мм, растворонасосами на деревянные поверхности - не более 9 мм, на каменные, бетонные и кирпичные - не более 5 мм. Для обрызга используют жидкий раствор. Густота наносимого ручным способом раствора должна соответствовать погружению стандартного конуса на 8-12 см. До нанесения обрызга каменные и бетонные поверхности в теплое время смачивают водой.

Раствор слоя обрызга, затекая во все поры и шероховатости поверхности, крепко сцепляется с ней и удерживает последующие слои - грунт и на-крывку. Чем правильнее приготовлен и нанесен раствор обрызга, тем лучше он заполнит все шероховатости, тем крепче сцепится с поверхностью и тем прочнее будет держаться штукатурка.

Грунт - второй слой штукатурного намета. Раствор для грунта приготовляют несколько гуще, чем для обрызга. Подвижность процеженных штукатурных растворов в момент их нанесения должна соответствовать погружению стандартного конуса: для грунта без гипса - 7-9, с гипсом - 8-10 см.

Грунт - основной (по объему) слой штукатурного намета. Он образует необходимую толщину штукатурки и выравнивает поверхность.

Если толщина штукатурки большая, то грунт наносят в несколько слоев. Толщина каждого из них не должна превышать 7 мм при известковых и известково-гипсовых растворах и 5 мм при цементных растворах. Грунт очень хорошо выравнивают.

Накрывка - третий слой штукатурки. Его толщина 2 мм. Раствор для накрывки приготовляют на мелком песке, просеивая его через сито с отверстиями ячеек 1,5x1,5 мм. Густота раствора для накрывки должна соответствовать погружению стандартного конуса 10-12 см.

Раствор накрывки наносят на поверхности вручную и машинами по окрепшему (схватившемуся) грунту, тщательно разравнивая. Накрывка образует тонкую мягкую пленку, которая легко затирается или заглаживается.

.4 Технология выполнения высококачественной штукатурки, требования к качеству.

Общие сведения. Высококачественная штукатурка на стенах должна быть строго вертикальна, на потолках - горизонтальна. Разница в ширине откосов допускается не более 2 мм.

Рассмотрим последовательность оштукатуривания помещения с вытягиванием карниза.

Поверхности подготовляют обычно. После подготовки приступают к провешиванию потолка, затем стен, набивают гвозди, устраивают марки и маяки. Провешивание выполняют с помощью отвеса или уровня с правилом, в углах устраивают по два маяка для образования лузгов.

Оштукатуривание выполняют в такой последовательности. Сначала оштукатуривают потолок: наносят обрызг и грунт, разравнивают раствор. Затем оштукатуривают верхние части стен. После этого навешивают правила, вытягивают карнизы, разделывают углы. Наконец, приготовляют накрывочный раствор, выполняют накрывку потолка и верха стен, выполняя заглаживание или затирку.

Грунт и накрывку проверяют и исправляют. После этого оштукатуривают верхний откос и заглушину. Подмости разбирают и оштукатуривают нижние части стен.

Рис. 5. Оштукатуривание стен звеном из четырех человек

При нанесении раствора машинами его разравнивают по маякам (рис. 45, а, б) правилом, малками или правилами, укрепленными на ручках (рис. 45, в, г), которые дают возможность разравнивать раствор вверху стен и на потолках, стоя на полу.

Провешивание поверхностей. Ровную строго вертикальную или горизонтальную поверхность штукатурки можно получить только по маякам. Маяки устраивают на всех видах поверхностей: стенах, пилястрах, колоннах, потолках, балках.

Для устройства маяков поверхности провешивают. До начала провешивания поверхности осматривают и предварительно выравнивают - срубают выпуклости. Можно проверить поверхности и после набивки гвоздей по крайним маякам.

Стены провешивают в такой последовательности (рис. 6). В верхнем углу на расстоянии 30-40 см от потолка и лузга забивают гвоздь 1 так, чтобы его шляпка отстояла от поверхности стены на толщину штукатурки. К шляпке этого гвоздя приставляют шнур, опускают отвес и забивают на таком же расстоянии от пола гвоздь 2, но так, чтобы его шляпка была точно под шнуром, слегка его касалась или не доходила до него на 0,5-1 мм. Если стены имеют высоту до 2,5-3 м, то можно обойтись двумя гвоздями. Если высота стены больше, то забивают три гвоздя. Третий гвоздь устанавливают по шнуру, натянутому на первый и второй гвозди. Таким образом набивают гвозди под первый маяк. Затем приступают к набивке гвоздей под второй маяк. Для этого в противоположном углу стены точно в таком же порядке и на таком же расстоянии от угла и стены на толщину штукатурки забивают гвоздь 4, опускают с его шляпки шнур, забивают внизу стены гвоздь 5, а затем промежуточный гвоздь 6. Набив гвозди под крайние маяки, проверяют точность стены. Для этого по набитым гвоздям по горизонтали натягивают шнур, т. е. с гвоздя 1 на гвоздь 4, с гвоздя 3 на гвоздь 6, с гвоздя 2 на гвоздь 5, затем по диагонали с гвоздя 1 на гвоздь 5 и с гвоздя 2 на гвоздь 4. Если под шнуром окажется выпуклость стены, т. е. шнур будет касаться стены, то на одной стороне стены необходимо вытянуть гвозди на такую длину, чтобы между выпуклой стороной стены и шнуром было пространство, равное толщине штукатурки. Вытянутые гвозди устанавливают по отвесу.

Рис. 6. Провешивание стен отвесом (1-12 - гвозди)

Средним расстоянием между маяками считают 2 м, но оно может быть меньше или больше. Многие мастера ставят маяки на расстоянии 3 м. Таким образом, при большой длине стен приходится устраивать несколько маяков, набивая под них гвозди. Для этого по ранее вбитым гвоздям натягивают шнур и по нему промежуточные гвозди. По шнуру, натянутому на гвозди 1 и 4, забивают гвозди 7 и 8. Затем шнур натягивают на гвозди 3 и 6 и забивают промежуточные гвозди 9 и 10, а по шнуру, натянутому на гвозди 2 и 5, забивают промежуточные гвозди 11 и 12. Промежуточные гвозди следует забивать так, чтобы они были на одной прямой, т. е. друг под другом.

Уровнем с правилом стены провешивают в той же последовательности, как и отвесом. Для работы уровень укрепляют проволокой или шпагатом на правиле, длина которого должна быть на 50-100 мм меньше высоты помещения.

При провешивании с помощью уровня (рис. 7) вверху стены вбивают гвоздь 1 на толщину штукатурки. Второй гвоздь у низа стены вбивают произвольно. К вбитым гвоздям прикладывают правило 2 с уровнем 3. Если визир уровня стоит неправильно, то воздушный пузырек его окажется сдвинутым в сторону от центральной риски. В этом случае нижний гвоздь надо забить или вытащить на такую величину, чтобы воздушный пузырек визира установился точно между рисками деления. Затем между этими гвоздями вбивают третий, шляпка которого должна находиться в одной плоскости с ранее вбитыми гвоздями, т. е. правило должно лежать точно на трех гвоздях. В следующем углу стены по уровню набивают второй ряд гвоздей 1. По ним натягивают шнур, проверяют поверхности и забивают промежуточные гвозди.

Рис. 7. Провешивание стен уровнем с правилом: 1 - гвозди, 2 - правило, 3 - уровень

Потолки провешивают уровнем с правилом длиной до 3 м, ватерпасом или водяным уровнем. До провешивания проверяют точность плоскости потолка. Для этого по углам потолка вбивают четыре гвоздя, шляпки которых должны отстоять от плоскости потолка на расстоянии, равном толщине штукатурки. По шляпкам гвоздей натягивают шнур. Если в какой-либо точке на потолке обнаружится выпуклость, ее срубают. Если этого сделать невозможно, гвозди вытаскивают на такую величину, чтобы в самом выпуклом месте расстояние от шнура до выпуклости было равно минимально допустимой толщине штукатурки. Провешивание следует начинать с самого выпуклого места. До начала провешивания на потолке лучше всего отбить линию расположения маяков, по которой затем набивают гвозди.

При провешивании потолков уровнем на расстоянии 2-3 м от вбитого на выпуклом месте гвоздя (в зависимости от длины правила) вбивают второй гвоздь и на шляпке гвоздей устанавливают правило с уровнем. Если визир уровня находится точно в центре, то гвозди оставляют, если визир показывает отклонение, то второй вбитый гвоздь забивают или вытаскивают на величину, необходимую для того, чтобы визир уровня установился в точном положении без отклонений. Затем на таком же расстоянии от второго гвоздя вбивают третий, правило с уровнем кладут на второй и третий гвозди; точность установки уровня регулируют только третьим гвоздем. За третьим гвоздем забивают четвертый и т. д. Таким же образом провешивают потолки и с помощью ватерпаса.

Гибким уровнем потолки провешивают так. Сначала по углам потолка вбивают гвозди на предполагаемую толщину штукатурки. Затем по диагоналям натягивают шнур, проверяя горизонтальность потолка. Если где-либо шнур касается потолка, значит, в этом месте имеется выпуклость и там надо забить первый постоянный гвоздь на толщину штукатурки и от него вести провешивание. После этого с помощью шнура пробивают по потолку линии, намечая места для маяков, и по этим линиям набивают гвозди на нужном расстоянии один от другого. Затем приступают к провешиванию. Один конец уровня или его стеклянную трубку прижимают к постоянному гвоздю, а другой конец приставляют к забиваемым под марки гвоздям. Если вода в трубках будет находиться на одном уровне или одних и тех же делениях, то гвоздь забит точно. Когда уровень показывает отклонения, то гвоздь вытаскивают или забивают. Так как гвозди набивают заранее, то конец уровня всегда держится на нужной высоте и вода из него не выливается. Гвоздь приходится забивать или вытаскивать, работая только одной рукой (рис. 8).

Рис. 8. Провешивание потолков водяным уровнем

Если потолки не гвоздимые, можно заготовить из керамических плиток или дерева небольшие кусочки, найти постоянную точку, поставить там на гипсе одну марку и от нее располагать другие. Марки утапливают в нанесенный гипсовый раствор, приставляя для проверки стеклянную трубку. В этом случае приходится работать втроем. Двое работают уровнем, а один ставит марки.

Устройство маяков. Маяки устраивают из раствора, которым выполняют оштукатуривание, или из гипса. Деревянные и металлические маяки устанавливают главным образом на деревянных, кирпичных и других гвоздимых поверхностях. Эти маяки крепят гвоздями или зажимами. При использовании деревянных маяков под них предварительно устанавливают по отвесу металлические (стальные) марки. Металлические или деревянные маяки рекомендуется применять при механизированном нанесении раствора. Гипсовые маяки прочнее растворных, они менее подвержены истиранию во время разравнивания раствора правилом. Однако эти маяки приходится полностью вырубать. Растворные маяки слабее, но их можно не вырубать полностью, а только срезать слой толщиной 5-10 мм или просто насекать.

Установить правило на шляпки вбитых гвоздей практически невозможно и приходится устраивать растворные или гипсовые площадки вокруг гвоздей, называемые марками. Тогда правило 1 будет устойчиво держаться на марках 3 и 4 (рис. 9). Марки вокруг гвоздей делают так. Наносят бугорки раствора или гипса диаметром 50-70 мм выше уровня шляпок на 3-5 мм. Как только раствор схватится, верх его срезают до уровня шляпок так, чтобы плоскость марки была параллельна плоскости стены. Боковые стороны раствора срезают с четырех сторон, получая квадраты размером 30 x 30 или 40 х 40 мм. Часто боковые стороны марок срезают слегка на конус. Лицевые стороны марок должны быть срезаны как можно точнее, так как от их точности зависит точность и маяков, и штукатурки.

Рис. 9. Устройство растворных марок и маяков на стенах: 1 - правило, 2 - пространство между правилом и стеной, 3,4 - марки, 5 - маяки

Выполнив марки, приступают к устройству маяков 5. Для этого берут правило 1, которое на 10-15 см короче высоты помещения, прикладывают к маркам 5, крепят к ним гвоздями, зажимами или примораживают раствором, гипсом. Правило можно не крепить, в этом случае его придерживает руками один из штукатуров.

После установки правила приготовляют тестообразный раствор или гипсовое тесто и наносят его под правило, заполняя пространство 2 между правилом и стеной. Раствор или гипсовое тесто наносят бросками, а затем оправляют его, вжимая лопаткой под правило, и срезают излишки с боковых сторон правила. После схватывания раствора по правилу простукивают молотком и, подвигая правило немного вверх, снимают его скользящими движениями. Пустоты в маяках замазывают и притирают полутерком. Гвозди, вбиваемые в поверхности для крепления правил, вынимают, распрямляют и снова употребляют в дело.

Рис. 10. Крепление правила зажимами: а - простыми, б - сложными; 1 - штыри, 2 - лапки, 3 - правило, 4 - балка, 5 - угловой деревянный маяк, 6 - хомут-скоба, 7 - винт, 8 - штукатурный намет, 9 - марки

Очень удобно крепить правила зажимами (рис. 10, а, б). При этом под правила подкладывают кусок кирпича, доски или бруска, чтобы после устройства маяка эти подкладки можно было вынуть и на их месте забить клин. По клину ударяют молотком и поднимают тем самым правило, не срывая нанесенного под ним раствора.

Маяки можно выполнять, не только забрасывая раствор под правило, но и натирая его по маркам. Между марками набрасывают раствор такой толщины, чтобы он был немного выше их; приставляют к маркам правило, нажимают на него и двигают вверх и вниз, притирая раствор на уровне марок. При этом следят, чтобы раствор не попал на марки, что снижает точность маяков. В этом случае приходится срезать раствор, добавлять свежий и выполнять повторную натирку, что снижает производительность.

Рис. 11. Крепление специального правила для устройства растворных маяков: 1 - болт, 2 - костыль, 3 - клин

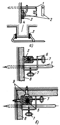
Значительно легче и быстрее устраивать маяки с помощью специального правила (рис. 11). Изготовляют правило из сухой доски нужной длины толщиной 35-40 мм, шириной 100 мм или больше. Чтобы правило не коробилось, его пропитывают горячей олифой или окрашивают за два раза масляной или другой водостойкой краской. В правило вставляют два болта 1 длиной по 175 мм или больше с резьбой на конце длиной не менее 70 мм. Головка болта может быть любая. Лучше, если она изогнута под прямым углом (в виде крючка). Это дает возможность без ключа вращать болт. Диаметр болта может быть от 7 до 15 мм. Гайку под болты лучше всего применять квадратной формы, потому что она прочнее будет держаться в древесине. Болты крепят на расстоянии 500-700 мм от концов правила, просверливая для этого отверстия немного большего диаметра, чем болты, чтобы они свободно вращались. Гайки врезают с лицевой стороны на всю их толщину и хорошо закрепляют. Правило крепят к поверхности двумя зажимами или костылями 2 из стали. Если правило крепят костылями, между крючком костыля и правилом устанавливают деревянные клинья 3.

Правило прикладывают к поверхности, вбивают костыли, вставляют клинья и устанавливают правило по отвесу или уровню. Точности установки правила добиваются, регулируя болты 1. Во время регулировки болтов клинья приходится несколько вынимать или забивать. Окончательно установленное правило закрепляют этими же клиньями 3.

После установки по углам двух правил приготовляют раствор, который наносят между правилом и поверхностью стены, устраивая таким образом маяки. Как только раствор схватится, правила снимают, по верху и низу устроенных маяков натягивают шнуры. По шнурам в нужных местах устанавливают правила для устройства промежуточных маяков.

Чтобы сделать правило универсальным, к нему прикрепляют на расстоянии одного метра две одинаковые скобочки. К верхней скобочке привязывают отвес, но так, чтобы он не доходил своим концом до нижней скобочки на 10-15 мм. Если во время установки правила острый конец отвеса будет находиться точно против скобочки, значит правило установлено правильно.

Рис. 12. Установка деревянных маяков: а - под простую малку, б - под раздвижную малку

Деревянные маяки устанавливаются быстрее, чем растворные, однако, намокая и высыхая, они коробятся. Деревянные маяки имеют большое сечение, для разравнивания по ним раствора и получения штукатурки нужной толщины требуются малки.

Деревянные маяки устанавливают так (рис. 12,а,б). В поверхность на толщину штукатурки вбивают стальные марки или делают растворные марки такой же толщины. К маркам прикладывают маяки и крепят гвоздями, зажимами, костылями или примораживают гипсом. Между маяками наносят раствор, прикладывают к маякам малку и снимают ею излишки раствора на уровне марок. На стенах малку ведут снизу вверх. Раздвижную малку (см. рис. 12, б) делают длиной 120 см с двумя выдвижными концами, что дает возможность разравнивать раствор между маяками, установленными на расстоянии от 1,2 до 2 м.

Инвентарные металлические маяки (рис. 13) просты по конструкции, быстро и легко устанавливаются. Раствор по ним разравнивают правилом или полутерком.

Маяки устанавливают так. Прежде всего ставят крайние маяки около углов, вбивая в стены штыри. При необходимости положение маяка регулируют вращением гайки.Вращая гайку вокруг штыря, с помощью ключа маяк прижимают к стене и проверяют его установку на вертикальность. На потолках маяки проверяют на горизонтальность. Если между маяком и поверхностью есть пространство, чтобы маяк в таких местах не прогибался, под него подкладывают клинья или наносят раствор.

Рис. 13. Инвентарный металлический маяк

Установив крайние маяки, между ними крепят промежуточные, прижимают их вплотную к поверхности, например к стене, натягивают по крайним маякам вверху и внизу два шнура и по ним устанавливают промежуточные маяки. Если гайки не вращаются, а надвигаются, их надвигают и закрепляют винтами. Перед установкой маяков срубают выпуклости на предназначенной под оштукатуренные поверхности.

На бетонных поверхностях устраивают растворные маяки, применяя правило с уровнем или отвесом (рис. 14). Провешивание выполняют так. Сначала вверху стены делают растворную марку 1, высота которой равна толщине штукатурки. К марке прикладывают правило 2 с уровнем 3 и под его нижний конец наносят раствор 4, на который нажимают концом, правила. По концу правила наносят легкие удары молотком, вдавливая правило в раствор на такую глубину, которая потребуется для того, чтобы поставить уровень строго вертикально. Вместо раствора можно применять клинья и ими регулировать установку уровня. После установки правил строго по уровню их примораживают к поверхности раствором.

Рис. 14. Устройство маяков из раствора на бетонных поверхностях: 1 - марка, 2 - правило, 3 - уровень, 4 - раствор для устройства марки

После того как правило установлено на марках или клиньях, под него наносят раствор и таким образом устраивают первый маяк. Точно так же устраивают маяк во втором углу стены. Вверху и внизу натягивают шнур, по которому точно устанавливают правило для устройства промежуточных маяков.

Маяки любых видов (растворные, деревянные, металлические) можно располагать не только вертикально по высоте стен, но и горизонтально по длине стен. Для этого нужны два маяка: один вверху - около потолка, другой внизу - около пола. Принцип установки горизонтальных маяков такой же, как и вертикальных.

Оштукатуривание по маякам производят после того, как устроены маяки на всех отделываемых поверхностях.

При нанесении раствора он часто попадает и на сами маяки, которые приходится очищать. С деревянных и металлических маяков раствор снимается легко. На растворных или гипсовых маяках наносимый раствор быстро схватывается, твердеет, и его не всегда удается снять. Если его не снимать, то он прикатывается правилом, увеличивается высота маяка и нарушается точность оштукатуриваемой поверхности. Снять раствор с маяков при легком нажиме на них правила не всегда удается, при сильном нажиме часто срезается раствор или гипс самих маяков и тем самым нарушается их точность.

Правило рекомендуется передвигать по растворным и гипсовым маякам "на лоск", т. е. немного подняв идущее вперед ребро правила. Раствор снимается или приглаживается вторым ребром. Можно положить правило на маяки плоскостью и с небольшим нажимом вести его. При этом раствор с маяков хорошо счищается. Не следует вести правило вперед "на сдир", т. е. острым ребром. В этом случае часто срезается раствор с самих маяков.Можно также до разравнивания раствора маяки очистить небольшим полутерком или отрезовкой.

Раствор наносят обычным способом: сначала один слой обрызга, затем грунт в несколько слоев. Каждый слой грунта разравнивают. Если применяют тонкослойную штукатурку и при обрызге поверхности остаются сгустки, которые выше уровня маяков, то их разравнивают соколом, полутерком, правилом или малкой. Чем ровнее раствор грунта, меньше на нем дефектов, тем тоньше можно наложить накрывочного раствора.

При нанесении раствора машинами его разравнивают по маякам (рис. 15, а, б) правилом, малками или правилами, укрепленными на ручках (рис. 15, в, г), которые дают возможность разравнивать раствор вверху стен и на потолках, стоя на полу.

После нанесения и разравнивания грунта деревянные и металлические маяки снимают, места под ними замазывают раствором, разравнивают и притирают его, проверяют поверхность нанесенного раствора правилом, прикладывая его в разных направлениях, и исправляют все неточности, срезая или намазывая раствор.

Рис. 15. Разравнивание раствора а, б, в - на стенах по вертикальным маякам соответственно малкой, правилом, правилом на ручке, г - на потолке малкой; 1 - малка, 2 - маяки, 3 - веревка, 4 - ручка

Затем наносят накрывочный раствор, разравнивают его и затирают. Если грунт хорошо выровнен, то на него можно нанести самый тонкий слой накрывки.

Гипсовые маяки вырубают полностью, растворные - полностью или наполовину. Оставшиеся места после вырубки маяков также замазывают раствором, проверяют поверхность грунта, исправляют неточности, накрывают и затирают.

Для устройства лузгов используют ранее установленные маяки (рис. 16). Для этого концы ранее устроенных маяков доводят до потолка (набрасывают раствор и натирают полутерком). К маякам у самого потолка приставляют правила 1и укрепляют его. Затем приготовляют не очень густой раствор и наносят его под правило. Как только раствор схватится, правило снимают, а на поверхности стены и потолка остается ровный горизонтальный маяк 2. На потолке из сборных железобетонных плит лузг получается сразу.

Рис. 16. Устройство лузгов по маякам: 1, 4 - правила, 2 - горизонтальный маяк, 3 - маяк или марка

Чтобы получить вертикальные маяки - лузги, к устроенным маякам внизу приставляют правило и под него наносят раствор, получая как бы широкую марку 3. Если в угол, т. е. к этой марке 3, приставить правило 4 и нанести под него раствор, то после его схватывания и снятия правила на одной стене в самом углу останется полоса раствора или маяк. Если теперь с другой стороны угла точно также поставить правило и нанести под него раствор, то после снятия правила между двумя маяками образуется точный ровный лузг. Неровности и раковины на лузгах исправляют, подмазывают раствором и натирают полутерком.

Когда оштукатуривают потолок и Стены, на потолке также устраивают маяки у самых стен, чтобы затем устроить маяки и на стенах, а следовательно, получить горизонтальные лузги.

Лузговые маяки лучше всего устраивать из, того же раствора, которым оштукатуривают поверхности. После устройства лузговых маяков приступают к оштукатуриванию, стараясь не намазывать раствор на эти маяки.


2. Окраска по деревянным поверхностям

.1 Виды окрасочных составов

К малярным работам относятся технологические приемы устройства покрытий из лакокрасочных (малярных) составов, которые в результате отвердения и процессов полимеризации (поли-конденсации, карбонации и др.) в связующем превращаются в декоративно-защитную пленку.

По назначению малярные составы подразделяют на составы для внутренних и наружных работ, декоративно-живописные и специальные.

Основное назначение составов для внутренних работ - создание декоративных покрытий, которые удовлетворяют требованиям эстетики; составы для наружных работ должны дополнительно защищать основания от атмосферных воздействий; декоративно-живописные составы предназначены для усиления декоративности и живописности малярных покрытий; специальные составы должны защищать поверхности оснований от химических и других воздействий (металлических - от коррозии, деревянных - от гниения и т.д.).

Лакокрасочные покрытия подразделяют на блестящие и матовые, гладкие и шероховатые (в основном, декоративные), прозрачные и непрозрачные. Прозрачные лакокрасочные покрытия полностью сохраняют текстуру поверхности основания, непрозрачные - полностью ее закрывают.

По роду связующих малярные составы подразделяют на водные, эмульсионные и неводные. Для водных составов связующими являются мел, известь, портландцемент, калиевое жидкое стекло, клеи; для эмульсионных составов - эмульсия или дисперсия полимеров (поливинилацетатная дисперсия, эмульсии винилацетата, акриловых синтетических смол и т.д.); для неводных составов связующим служат олифы, лаки и полимеры (смолы, в основном синтетические, глифгалиевые, пентафталиевые).

По отношению к действию воды малярные составы подразделяют на водостойкие и неводостойкие. Неводостойкие - это водные составы, за исключением водно-эмульсионных эмульсий на синтетической основе. У образуемых ими покрытий подвоздействием воды значительно снижается прочность и ухудшаются свойства. На свойства водостойких покрытий действие воды не влияет, так как связующие не растворяются в воде.

Малярные покрытия являются многослойными. Они состоят из грунтовки, шпатлевки и непосредственно окрасочного покрытия.

Грунтовки (огрунтовочные составы) предназначены для усиления сцепления малярного покрытия с основанием, глубоко проникают в поры основания, прочно соединяясь с ним и после-дующими слоями шпатлевки или краски. Грунтовки также предотвращают отсос связующего основанием.

Шпатлевки - это составы для выравнивания поверхностей с неровностями до 2 мм. Они позволяют получать гладкую ровную поверхность. Шпатлевки также применяют для заполнения трещин и отдельных выбоин глубиной до 5 мм. Их составы обычно приготавливают более густыми.

Лакокрасочные составы применяют для лицевой окончательной отделки поверхностей. От их видов зависит технология производства малярных работ.

Малярные составы (краски, шпатлевки, грунтовки) называют-ся по связующему (клеевые, известковые, силикатные - на основе калиевого жидкого стекла; масляные - на основе олифы; акриловые - на основе акрилового полимера; глифталиевые - на основе алкидной глифталевой олифы и т.д.).

В малярные составы для их окраски вводят пигменты и наполнители. Пигменты - это тонкоизмельченные цветные неорганические или органические твердые вещества, не растворимые в воде и связующих, но способные создавать с ними пленочное декоративно-защитное покрытие. Чем тоньше помол пигмента, тем выше красящая способность и его укрывистость и лучше окраска поверхности. Укрывистость - это свойство лакокрасочного материала при равномерном нанесении скрывать цвет основания.

Пигменты бывают природными (неорганическими), синтетическими (неорганическими и органическими) и металлическими. Природными пигментами являются известь, каолин, охра, сурик железный и др.; синтетическими неорганическими пигментами являются белила, киноварь, лазурь железная и др.; синтетическими органическими пигментами являются окрасочные лаки, анилиновые красители и др.; металлическими пигментами являются алюминиевая и цинковая пудра, тонко измельченные порошки меди, бронзы и т.д.

Наполнители - это дисперсные неорганические природные или синтетические вещества, не растворимые в воде, растворителях и связующих. Природные наполнители получают измельчением, обогащением и термической обработкой минералов; синтетические - в результате химических реакций. Они придают малярным покрытиям прочность, блеск или матовость, атмосферную и химическую стойкость, ускоряют процесс высыхания пленки, повышают адгезию (сцепление) пигментов с основанием. При этом снижается расход пигментов.

Эмульсия - это дисперсная система, состоящая из двух не растворяющихся, распределенных одна (дисперсная фаза) в другой (дисперсионной среде). Составы, в которые вводят эмульсии, называются эмульсионными. Эмульсионные составы приготавливают в основном на заводе. Это позволяет получать высококачественные эмульсии, которые длительное время не расслаиваются.

Водоэмульсионные составы для внутренней окраски выпускают на основе синтетических полимеров. По сравнению с водными, они быстрее высыхают и легче наносятся на поверхность. К ним относятся акриловые составы на основе акрилов, краски Э-ВА- 27, Э-ВА-27А, Э-ВА-27 ПГ - на основе поливинилацетатной дисперсии; Э-КЧ-26, Э-КЧ-26А - на основе стиролбутадиенового латекса; Э-ХВ-28 - на основе смеси стиролбутадиенового латекса с сополимером хлористого винила (винилиденхлоридом). Для наружной окраски выпускают краски Э-КЧ-112 - на основе стиролбутадиенового латекса и феноло-формальдегидной смолы, Э-ВА-17 - на основе поливинилацетатной дисперсии с добавлением феноло-формальдегидной смолы, а также акриловые водо-эмульсионные краски. Перед нанесением эти водоэмульсионные составы тщательно перемешивают до удаления осадка. Загустевшие краски разбавляют водой.

Эмульсионные краски готовят на объекте в приобъектных колерных мастерских, непосредственно в акустических установках для приготовления эмульсий, менее качественные - в насосах- эмульгаторах типа 0-50 и диспергаторах СО-128.

В акустических установках в резервуар при закрытых вентелях загружают составляющие эмульсии и включают электродвигатель насоса. Состав через излучатель насоса пропускают не менее четырех раз. При этом компоненты эмульсии подвергаются интенсивному дроблению и мельчайшие раздробленные частицы перемешиваются между собой в результате акустических колебаний, создаваемых вибрирующими пластинами. В диспергаторах и насосах- эмульгаторах размельчение компонентов происходит не под действием акустических колебаний, а механическим способом, обвалакиваясь эмульгаторами. Производительность диспергатора СО- 128 составляет до 5 кг/ч; вместимость - 100 л; мощность электро-двигателя - 4 кВт; масса - 80 кг.

Состав масляных эмульсионных составов (% по массе). Олифа-оксоль…………………………………………………..10,25

%-й животный клей……………………………………………25,65

Известковое молоко 20%-й концентрации……………………..30,75

Растворитель………………………………………………………...7,7

Густотертая масляная краска.....................................................25,65.         Олифа-оксоль…………………………………………………….20

Отстоявшийся раствор извести...…………………………………...30

Густотертая масляная краска……………………………………….50.   Для огрунтовки поверхностей:

Олифа-оксоль……………………………………………………....19,5

Отстоявшийся раствор извести……………………………………..59

Растворитель……………………………………………………….19,5

Густотертая масляная краска………………………………………...2.   Для шпатлевки поверхностей:

Олифа-оксоль………………………………………………………65,8

Сиккатив……………………………………………………………6,58

Скипидар………………………………………………………….13,16

%-й животный клей……………………………………………13,16

%-е,хозяйственное мыло………………………………………...1,3

Мел молотый…………………………….До рабочей вязкости состава.         Для шпатлевки поверхностей:

Олифа-оксоль………………………………………………………21,7

Скипидар…………………………………………………………...17,4

%-й животный клей……………………………………………..54,4

Известковое молоко 35%-й концентрации………………………..6,5

Мел молотый……………………………До рабочей вязкости состава

Эти эмульсии готовят непосредственно перед их нанесением. При расслаивании их перемешивают в смесителе до получения однородного состава. Загустевшие водные краски разводят водой, неводные - растворителями, строго определенными для каждого вида красок.Краски изготавливают на заводах густотертыми, готовыми к применению или из двух компонентов, перемешиваемых перед нанесением. Некоторые масляные и алкидные краски при необходимости могут приготавливаться на объекте, водные краски готовят на строительном объекте. На заводе выпускают сухие концентраты, которые на объекте растворяют в воде. Перемешивают компоненты окрасочных составов в смесителях.

Для огрунтовки поверхностей в основном применяют разбавленные растворителями разжиженные краски. Но под водные краски грунтовки, как правило, готовят в условиях строительного объекта.Шпатлевки (синтетические) в настоящее время применяют готовыми, но иногда приходится готовить шпатлевки и в колерныхприобъектных мастерских.

Малярные составы заводского изготовления на объекте хранят в герметичной таре. Рассмотрим компоненты для приобъектных малярных составов и способы их приготовления в смесителях.

Рассмотрим клеевые малярные составы.

Состав Грунтовки квасцовой (купоросной)

Заранее замоченный в воде клей растворяют в горячей воде до получения 10%-го раствора. Нагревая и перемешивая раствор, в него вводят мыло и олифу. Квасны или купорос вводят в немного остывший раствор. Затем его при перемешивании разводят водой до получения 10 л состава; для первой огрунтовки снижают количество мела до 1 ...2 кг.

Состав грунтовки глиноземной

Сернокислый технический глинозем, кг………………………….0,25

%-е хозяйственное       мыло, кг……………………………………….0,25

Животный плиточный клей, кг……………………………………….0,2

Олифа, кг……………………………………………………………...0,03

Молотый мел, кг……………………………………………………..1....3

Вода, л……………………………………………………………….До 10

Ее готовят так же, как грунтовку квасцовую, только раствор глинозема и клея остужают перед перемешиванием с клеем для предупреждения появления хлопьев и осадка.

Состав грунтовки эмульсионной

Животный плиточный клей, кг………………………………………….1

Бура или техническая сода, кг………………………………..0,15...0,20

Олифа, кг………………………………………………………………….1

Вода, л……………………………………………………………….До 10

Приготовленный 10%-й раствор клея заливают в эмульгатор, в нем растворяют буру или воду и, продолжая перемешивать, постепенно добавляют олифу.

Состав шпатлевки на грунтовке с клеем, кг

Животный плиточный клей…………………………………………….1,5

Грунтовка Квасцовая (купоросная) или глиноземная……………….8,5

В грунтовку заливают заранее приготовленный 10%-й раствор клея, после растворения - мел, просеянный через сито с числом отверстий 200 на 1 см2, до рабочей вязкости.

Состав шпатлевки клеевой, кг

Животный плиточный клей………………………………………….0,125

Олифа-океоль…………………………………………………………..0,06

%-е хозяйственное мыло       …………………………………………….0,06

Молотый мел……………………………………………………….6,5...7,0

Вода…………………………………………………………………2,5...3,0

В 10%-й раствор клея при перемешивании последовательно вводят мыло, растворенное в воде, и олифу до получения однородного состава.

Состав шпатлевки эмульсионной синтетической, кг

%-я поливинилацетатная дисперсия…………………………0,6...0,8

%-й раствор клея карбоксиметил-целлюлозы……………………….2

%-й раствор хозяйственного мыла………………………………….1

Молотый мел……………………………………………………..6,2...6,4

При постоянном перемешивании в смеситель или эмульгатор частями заливают растворы клея и мыла, затем дисперсию и в полученный раствор мел.

Состав шпатлевочной пасты (подмазочиой), кг

Сухой ГИПС…………………………………………………………….1

Молотый мел……………………………………………………………2

%-й животный клей     ……………………………..До рабочей вязкости

Сначала смешивают мел и гипс, затем смесь затворяют раствором клея; являющимся замедлителем гипса.

Рассмотрим окрасочные составы на основе животного клея, его заменителя и извести.

Окрасочный состав на животном клее, кг

Молотый мел…………………………………………………………6

Животный плиточный клей (20%-й раствор)…………………..0,24

Пигменты……………………………………………………...0,6…0,8

Вода……………………………………………..До рабочей вязкости

Предварительно замоченные в воде мел и пигмент перемешиваютв смесителе и перетирают в краскотерке до однородной пасты; 20%-й клеевой раствор, перемешивая в смесителе, приготавливают перед нанесением. Тогда же разводят состав до рабочей вязкости (вводят примерно 4 л воды).

Окрасочный состав на основе натриевой соли и

Карбоксиметил-целлюлозы (КМЦ), кг

Клей КМЦ…………………………………………………………...2

Мел с пигментами…………………………………………...4,5...4,7

Вода………………………………………………………………...50

Клей КМЦ сначала; разводят пятикратным, а через 10... 12 ч - остальным количеством воды. Этот клей с мелом и пигментами перетирают на краскотерке и при необходимости доводят до рабочей консистенции. Готовят состав в эмалированной или деревянной таре.

Водно-меловой окрасочный состав, кг

Меловая паста………………………………………………………....100

%-й животный клей……………………………………………0,5...0,6

Вода…………………………………………...До рабочей консистенции

Предварительно приготовленный до 10%-го раствора клей перемешивают в диспергаторе и разводят водой до рабочей вязкости.

Рассмотрим известковые составы. Грунтовки обычно представляют собой разжиженный известковый раствор.

Состав шпатлевок известково-цементных, кг

%-е известковое тесто           :         1,5...2,0

Портландцемент марки М400         :                           0,5... 1,0

Наполнитель (мраморная мука,; мелкий песок)..........,......,. 4...5 .

В смеситель последовательно вводят портландцемент и наполнитель и перемешивают до получения однородного состава.

Окрасочный состав на известковом тесте, кг

Соль поваренная……………………………………………………..0,1

%-е известковое тесто………………………………………..2,5...3,0

Щелочестойкие пигменты………………………………………..До 0,3

Вода………………………………………………………………...До 10

В известковое тесто заливают раствор соли в 1 л воды, затем вводят пигменты, предварительно перетертые на воде до однородного состава. Разводят водой до общего количества 20 кг (л).

Окрасочный состав на негашеной извести, кг

Известь негашеная……………………………………………1,2... 1,5

Соль поваренная……………………………………………………0,1

Состав готовят также, как окрасочный состав на известковом тесте, только предварительно гасят тройным количеством воды негашеную известь: в медленногасящуюся известь после смачивания постепенно льют воду до полного прекращения ее кипения; среднегасящуюся известь заливают водой наполовину, перемешивая ее, постепенно вводят воду до прекращения кипения извести; быстрогасящуюся известь полностью покрывают водой, перемешивают ее и доливают воду до прекращения кипения извести. При этом негашеную известь допускается гасить таким способом только в указанном небольшом объеме, иначе помещенная в тару известь при гашении может взорваться.

Окрасочный Состав на негашеной извести и олифе, кг

Известь негашеная…………………………………………………1,2... 1,5

Олифа (лучше натуральная)…………………………………....0,06...0,12

Щелочестойкие пигменты……………………………………………До 0,3

Известь гасят аналогично, но во время наибольшего ее кипения вводят олифу и в последнюю очередь пигменты при перемешивании.

Окрасочный состав повышенной прочности с нашатырем для наружных работ, кг

%-е известковое тесто…………………………………………...1,2... 1,5

Нашатырь (хлористый аммоний)……………………………………….0,2

Щелочестойкие пигменты……………………………………………До 0,3

В известковое тесто в смесителе вводят пигменты и до 10 л заливают водным 3%-м раствором нашатыря; Состав перемешивают до получения однородного состояния.

Окрасочный состав повышенной прочности   .

с алюминиево-калиевыми квасцами, кг

%-е известковое тесто Алюминиево-калиевые квасцы Щелочестойкие пигменты          

Состав готовят так же, как окрасочный состав повышенной прочности с нашатырем для наружных работ.  

.2 Подготовка и обработка поверхности

При окраске масляными составами по старой клеевой окраске старые набелы следует удалить. Если дефекты штукатурки значительны, то ее необходимо отремонтировать.

При подготовке поверхностей, ранее окрашенных масляными составами, если краска не имеет значительных повреждений, красочная пленка хорошо держится, то ограничиваемся промывкой поверхности 2-5 %-ным раствором кальцинированной соды, чтобы смыть отложения различных испарений, которые ослабляют сцепление нового красочного слоя с основанием.

Если старая масляная краска недостаточно прочная, покрыта морщинами и трещинами, ее удаляют (соскабливают), выжигают или смывают химическими веществами.

Выжигают старую масляную краску паяльной лампой - направляя на окрашенную поверхность пламя вспучивает старый слой. После этого краску немедленно счищают шпателем, т.к. остывшую краску труднее соскоблить. Этот способ применяется при небольших объемах работ.

Химические вещества для удаления старой краски используют при больших объемах ремонтных работ. Старую краску удаляют едкими щелочами, разрушающими пленку.

Из-за неодинаковой усушки древесины вдоль и поперек волокон сучки деревянные гвозди после усыхания древесины обычно выступают из общей плоскости изделия, разрывая пленку краски. Для предохранения окраски от повреждения верхние части сучков и нагелей вырубают при помощи полукруглой стамески на глубину 2-3 мм. Места вырубки и все мелкие дефекты (заусенцы, раковины) после проолифки изделий подмазывают шпатлевкой. Более крупные дефекты столярных изделий следует устранить до окраски.

Полы перед окраску очищают, но не моют, т.к. их влажность значительно задержит выполнение последующих процессов.

При обработке дверных и оконных устройств и деревянных перегородок выполняют те же процессы, что и при обработке оштукатуренных поверхностей. Следует только учитывать, что при отделке столярных изделий применяют исключительно масляные или лаковые шпатлевки.

Шпаклевку наносят следующим образом: 10-12 л шпаклевочного состава выкладывают на проолифленный пол в противоположном от входной двери углу; затем шпателем шпаклевку перемешивают вдоль волокон досок в сторону входной двери, заполняя все неровности. Когда просохнет первый слой шпаклевки, его шлифуют силикатным кирпичом и сметают пыль щетиной щетки. Вторую шпаклевку выполняют теми же приемами, но песок в ее состав не вводят. Шлифуют вторую шпаклевку пемзой или шкуркой. Грунтуют полы при помощи шаровых кистей или пистолетом-распылителем.

При высококачественной отделке поверхность полов затягивают редким полотном или мешковиной. Полотно или мешковину укладывают на свежую, только что нанесенную первую шпаклевку и тщательно приглаживают шпателем до появления шпатлевки в порах полотна. По натянутому полотну шпаклюют не менее двух раз, не считая выправки.

.3 Технология окраски

Покраска поверхностей различных конструкций, сооружений, предметов проводиться с целью их предохранения от преждевременного разрушения и придания им опрятного вида. По чистоте выполнения, покраска может быть простого, улучшенного и высокого качества. Чистота окрашенных поверхностей определяется количеством выполненных операций, а также последовательностью выполнения самих работ.

Подготовка поверхности к покраске.

Процесс подготовки поверхности к покраске зачастую требует гораздо больше времени, нежели сама покраска. Подготавливаемую поверхность очищают от всевозможных загрязнений, отслаивающихся участков старой краски, брызг раствора, масляных пятен, потеков, ржавчины и т.п. Для очистки поверхности применяют скребки, шпатели, стальные щетки, ветошь, а также пылесосы. Если на поверхности имеются масляные пятна, то их убирают путем промывки поверхности 5-ти процентным раствором 3натрий-фосфата или кальцинированной содой. Операцию выполняют с помощью щетки, кисти или куска ветоши. Спустя примерно час после обработки, поверхность нейтрализуют 5-ти процентным раствором соляной кислоты.

Для удаления пятен от растительных и минеральных жиров также применяют различные специальные пасты, которые сначала наносят на жирную поверхность стены слоем 3-5мм, а после высыхания производят очистку шпателем, промывают чистой водой и подсушивают. Подсушку поверхности можно проводить с помощью воздушной струи, направленной от вентилятора или компрессора. Удаление старых лакокрасочных покрытий с подготавливаемой поверхности производят при помощи шпателей и специальных смывок предназначенных для удаления лакокрасочных материалов или путем применения термофенов. Металлические поверхности очищают от ржавчины и грязи металлическими щетками. Бетонные (гипсовые) поверхности стен после очистки шпатлюют до получения ровной поверхности без трещин и раковин. Большие трещины необходимо сначала расшить ножом, расчистить, а потом уже производить их подмазку. Все шпатлеванные места после высыхания подлежат шлифовке и подгрунтовке.

При длительном хранении без периодического перемешивания, краска несколько изменяет свою структуру, в связи с чем пигменты с наполнителями оседают вниз, а связующие вещество всплывает к верху. Поэтому, тщательное перемешивание краски перед ее применением является неотъемлемой процедурой.

Если Вы только приобретаете краску, которая длительное время хранилась на складе магазина, то при покупке по Вашей просьбе продавец может произвести перемешивание краски, поставив банку с краской в специальное смешивающее устройство. Для перемешивания краски в домашних условиях можно воспользоваться электродрелью, по аналогии с миксером, прикрепив к ней специальную насадку в виде металлической лопасти или выточенной деревянной лопатки. Металлическую лопасть можно при желании и возможности изготовить самостоятельно из твердой проволоки.

Перемешивать краски на основе легковоспламеняющегося растворителя при помощи электродрели нельзя, поскольку пары растворителя способны легко воспламениться от искр которые могут образовываться при работе электродрели. В этом случае перемешивание краски придется осуществлять вручную.

До начала проведения покрасочных работ краски проверяют на высыхаемость. Для этих целей проводят пробное окрашивание небольшого участка поверхности, растушевывая по ней краску тонким слоем. Нанесенный слой краски должен полностью высохнуть за двое суток. Если высыхание краски займет более продолжительный период времени, то к составу краски необходимо добавить вещество, ускоряющее процесс высыхания. Для масляных красок обычно применяют сиккатив (из расчета 20-30 грамм на 1кг краски). Иногда бывает, что купленная краска одного и того же цвета в разных банках может иметь немного отличные оттенки. В этом случае необходимо слить содержимое всех этих банок в одну большую емкость и тщательно перемешать. Если краска хранилась в холодном помещении, то перед нанесением на окрашиваемую поверхность, ей дают прогреться до необходимой температуры. С особым вниманием необходимо отнестись к созданию требуемых микроклиматических условий в помещении, в котором будут проводиться покрасочные работы <http://www.nachaliremont.ru/index.shtml>. В холодное время года в помещении необходимо обеспечивать температуру не менее 8-10 °C и относительную влажность воздуха не более 70%. Во избежании неравномерной сушки, необходимо обеспечить надежную работу систем отопления и вентиляции, не допустить возникновения сквозняков.

Окрашивают поверхности при помощи кистей, валиков или распылителей краски. Наносится краска тонкими слоями за два-три раза. Нанесение последующего слоя краски производят только после того, как полностью высохнет предыдущий слой. Краска, положенная толстым слоем, после высыхания может потрескаться, и на ее поверхности могут появиться морщины. Кроме того, во время ее нанесения возможно образование подтеков, которые после высыхания образуют на поверхности неровности и бугры. Небольшие по площади поверхности можно окрашивать маховыми кистями, изделия из дерева - двери, окна, наличники - кистями-ручниками.

Во время работы кисть окунают в краску на половину длины ее волоса, отжимая излишки краски о край банки. Краска наносится на поверхность широкими зигзагообразными полосами, отстоящими друг от друга небольшом расстоянии. Нанесенные полосы растушевывают в поперечном направлении, а затем в другом направлении под 90 градусов. Применение такого приема нанесения краски позволяет избежать пропусков и наслоений. Последнюю тушевку краски на стенах производят в направлении перпендикулярному полу, а на потолках - по направлению к окну.

При работе кисть следует держать в руке перпендикулярно или под небольшим углом к окрашиваемой поверхности, краску наносить легкими мазками, не нажимая сильно на кисть. Для тог, чтобы кисть при работе изнашивалась равномерно, ее необходимо периодически поворачивать из стороны в сторону, в противном случае щетина износится с одной стороны и кисть станет не ровной.

Валики (резиновые, поролоновые, меховые и пр.) обеспечивают более высокую производительность работы, чем кисти. Красить валиком гораздо быстрее и легче, нежели кистью, однако, по сравнению с кистью, качество поверхности, получаемое при покраске валиком, несколько ниже, чем при покраске кистью. Поверхность, покрашенную валиком нельзя назвать гладкой, поэтому его лучше использовать только для грубой работы.

В связи с тем, что некоторые участки поверхности могут быть недоступны для окрашивания валиком (стены в углах, у плинтусов, наличников и т.п.), предварительно проводят покраску всех этих участков при помощи кисти (ширина окрашенных участков должна быть не менее 7-8мм). При этом слой краски тщательно растушевывается, чтобы не было брызг или потеков.

Во время работы, смоченный в краске валик, приставляют к окрашиваемой поверхности и с небольшим нажимом несколько раз прокатывают по одному и тому же месту. Для экономного расходования краски, валик после окунания два-три раза прокатывают по сетке над емкостью, отжимая излишки краски. При покраске стены, валик обычно катают в вертикальном направлении. Полосы краски, нанесенные валиком, должны накладываться одна на другую с перекрытием в 30-40мм.

Нанеся, таким образом, краску на часть поверхности, ее растушевывают при помощи того же валика равномерными вертикальными движениями.

При наличии большого франта работы покраску лучше всего проводить механизированным способом, используя распылитель краски (краскопульт). Распылитель наносит краску на поверхность равномерным слоем, который вряд ли можно получить при использовании кисти. Перед тем как приступить к работе, необходимо экспериментальным путем определить оптимальное расстояние от головки распылителя до окрашиваемой поверхности, при котором краска будет ложиться на поверхность мельчайшими брызгами, не создавая сплошного глянцевого слоя. При слишком большом расстоянии, часть брызг краски будет падать на пол, не долетая до поверхности, что также нежелательно. В общем случае, в зависимости от вязкости распыляемой краски, при плоском факеле расстояние от головки до поверхности должно составлять 250-350мм, а при круглом факеле, расстояние может быть увеличено до 400-450мм. Для того, получить поток хорошо распыленной краски, перед началом работы необходимо произвести регулировку распылительной головки. При правильном соотношении между количеством краски и поступающим воздухом, получаемым распыленным составом наносят на окрашиваемую поверхность отпечатки, не имеющие резких границ и сходящиеся по краям на “нет”. Нанесенные полосы краски при таком распылении совмещаются без потеков и изменения толщины красочной пленки. Во время окрашивания, необходимо следить за тем, чтобы поверхность насыщалась краской равномерно. Появление глянца на окрашиваемой поверхности является главным признаком того, что произошло ее перенасыщение краской. Лучше всего наносить краску тонкими слоями за два или три раза.

Перемещать распылитель относительно окрашиваемой поверхности следует движением корпуса тела и руки, но не движением кисти. Направление факела должно быть перпендикулярным поверхности. Окрашивание поверхности производится путем нанесения полос краски в горизонтальном или вертикальном направлении. Перед тем, как переместить распылитель на другой участок поверхности для нанесения следующей полосы, подачу воздуха и краски прекращают путем отпускания нажимного курка. При окрашивании участков, в которых соединяются колеры разных цветов, (например, между панелью и верхней частью стены) для предотвращения попадания краски на ранее окрашенный в другой цвет участок поверхности, необходимо использовать отводную линейку. В ходе работы линейку периодически очищают от осевшей на нее краски.

Покраска потолка.Если Вам необходимо покрасить и потолок и стены, то в первую очередь покраску необходимо начинать именно с потолка. Прежде чем приступить к покраске потолка, рекомендуется снять с него все, что может мешать производительной работе (люстры, бра, карнизы для штор и т.п.). Будет справедливым отметить, что потолки являются самым трудным для отделочных работ элементом помещения, так как при их отделке (в данном случае покраске) человек испытывает довольно большое физическое напряжение. Обычно покраску потолков осуществляют вводно-дисперсионными, клеевыми, известковыми красками или побелкой.

Покраску потолка начинают с того, что по всему его периметру наносят кайму (краской которой будет краситься потолок) шириной 5-7см. При этом необходимо соблюдать осторожность, чтобы брызги краски не попали на смежные стены. При нанесении каймы под кисть подставляйте щиток (полоску из пластика или тонкого металла) который поможет защитить стены от случайного попадания брызг краски. При нанесении краски на потолок, следует помнить, что последний слой краски (при многослойной покраске) или побелки должен наноситься кистью по направлению к свету (к окну). В противном случае, как бы тщательно Вы ни выполнили покраску, на штрихах оставшихся от кисти, будут образовываться тени в виде нитей, и следы от кисти будут заметны на потолке, что будет выглядеть не очень красиво. Для получения ровной поверхности, последний слой краски лучше всего наносить при помощи краскораспылителя. Если в помещении имеются потолочные карнизы, то в этом случае сначала красят плоскость потолка, а затем приступают к покраске карнизов.

Покраска стен.Покраску стен начинают только после того, как будут завершены все работы по покраске потолков. Покраска может быть выполнена с применением любой из перечисленных выше технологий, как с применением кисти и валика, так и с применением распылителя краски.

Начинают покраску с нанесения полос шириной 5-7 см по углам комнаты, а также вокруг окон и дверей. Затем, начиная с угла комнаты, закрашивают участок стены (от пола до потолка) в виде ровной вертикальной полосы шириной до 1 метра. Затем, с некоторым перекрытием закрашивают следующий аналогичный участок стены и т.д. пока не покрасят всю стену.

В процессе работы, краску необходимо периодически взбалтывать или время от времени перемешивать кистью, для того чтобы избежать ее загустевания и образования осадка. Для покраски стен лучше всего использовать распылители краски. Это не только значительно ускорит сам процесс покраски, но и даст возможность получить окрашенную поверхность лучшего качества, чем, например, при покраске кистью.


3.Техника безопасности

.1 Техника безопасности при работе на высоте

.1. Настоящая инструкция содержит основные общие требования по охране труда для работников, выполняющих работы на высоте, и направлена на обеспечение их безопасности, сохранение здоровья и работоспособности в процессе труда.

.2. К работам на высоте относятся работы, когда:

      существуют риски, связанные с возможным падением работника с высоты 1,8 м и более;

      работник осуществляет подъем, превышающий по высоте 5 м или спуск, превышающий по высоте 5 м, по вертикальной лестнице, угол наклона которой к горизонтальной поверхности более 75°;

      работы производятся на площадках на расстоянии ближе 2 м от неогражденных перепадов по высоте более 1,8 м, а также если высота ограждения этих площадок менее 1,1 м;

      существуют риски, связанные с возможным падением работника с высоты менее 1,8 м, если работа проводится над машинами или механизмами, водной поверхностью или выступающими предметами.

.3. Работы на высоте - это работы повышенной опасности. К работникам, выполняющим работы на высоте, предъявляются дополнительные требования охраны труда, включающие в себя специальные требования по обучению, аттестации, допуску к самостоятельной работе, инструктажу по охране труда и периодической проверке знаний по безопасности труда.

.4. К выполнению работ на высоте допускаются работники не моложе 18 лет, имеющие необходимую теоретическую и практическую подготовку, прошедшие медицинский осмотр и не имеющие противопоказаний по состоянию здоровья, прошедшие вводный и первичный на рабочем месте инструктажи по охране труда и обучение по специальной программе, аттестованные квалификационной комиссией и получившие допуск на право выполнения этой работы.

.5. Работники, выполняющие работы на высоте (далее именуются - работники), должны периодически, не реже одного раза в год, проходить обучение и проверку знаний требований охраны труда и получать допуск к работам повышенной опасности.

.7. Работники, не прошедшие своевременно инструктажи, обучение и проверку знаний по охране труда, к самостоятельной работе не допускаются.

.8. Работники, допускаемые к работам на высоте без применения инвентарных лесов и подмостей, а также с применением систем канатного доступа, делятся на следующие три группы по безопасности работ на высоте:

      1 группа - работники, допускаемые к работам в составе бригады или под непосредственным контролем работника, назначенного приказом работодателя (далее по тексту - работники 1 группы);

      2 группа - мастера, бригадиры, руководители стажировки, а также работники, назначаемые по наряду-допуску на производство работ на высоте ответственными исполнителями работ на высоте (далее по тексту - работники 2 группы);

      3 группа - работники, назначаемые работодателем ответственными за безопасную организацию и проведение работ на высоте, а также за проведение инструктажей; преподаватели и члены аттестационных комиссий, созданных приказом руководителя организации, проводящей обучение безопасным методам и приемам выполнения работ на высоте; работники, проводящие обслуживание и периодический осмотр средств индивидуальной защиты; работники, выдающие наряды-допуски; ответственные руководители работ на высоте, выполняемых по наряду-допуску; специалисты по охране труда; должностные лица, в полномочия которых входит утверждение плана производства работ на высоте (далее по тексту - работники 3 группы).

.9. Периодическое обучение работников 1 и 2 групп безопасным методам и приемам выполнения работ на высоте, проводимых без инвентарных лесов и подмостей, с использованием систем канатного доступа, осуществляется не реже одного раза в три года.

.10. Периодическое обучение работников 3 группы безопасным методам и приемам выполнения работ на высоте, проводимых без инвентарных лесов и подмостей с использованием систем канатного доступа, осуществляется не реже одного раза в пять лет.

.11. Работники, допускаемые к работам на высоте без применения инвентарных лесов и подмостей, а также с применением систем канатного доступа, после обучения безопасным методам и приемам выполнения работ на высоте должны сдать экзамен и получить удостоверение о допуске к работам на высоте без применения инвентарных лесов и подмостей, с применением систем канатного доступа и личную книжку учета работ на высоте без применения инвентарных лесов и подмостей, с применением систем канатного доступа.

.12. По окончании обучения безопасным методам и приемам выполнения работ на высоте работники обязаны пройти специальную стажировку продолжительностью не менее двух рабочих дней (смен) для закрепления теоретических знаний, необходимых для безопасного выполнения работ, а также для освоения и выработки непосредственно на рабочем месте практических навыков и умений, безопасных методов и приемов выполнения работ; проведение стажировки обеспечивает работодатель.

.13. Работники, допущенные к самостоятельному выполнению работ на высоте, должны знать:

      требования безопасности при выполнении конкретного вида работы на высоте;

      способы рациональной организации рабочего места;

      опасные и вредные производственные факторы, которые могут оказывать неблагоприятное воздействие на работников в процессе работы;

      правила, нормы и инструкции по охране труда и пожарной безопасности;

      правила пользования первичными средствами пожаротушения;

      способы оказания первой помощи при несчастных случаях;

      правила трудового распорядка организации.

.14. Работники, показавшие неудовлетворительные знания и практические навыки выполнения работ на высоте, к самостоятельной работе не допускаются.

.15. Работники, направленные для участия в несвойственных их профессии (должности) работах, должны пройти целевой инструктаж по безопасному выполнению предстоящих работ.

.16. Работники должны выполнять только те работы, которые им поручены в установленном порядке; не следует пользоваться инструментом, приспособлениями и оборудованием, с которыми они не имеют навыков безопасного обращения.

.17. Работодатель до начала выполнения работ на высоте должен утвердить перечень работ, выполняемых на высоте по наряду-допуску (далее по тексту - Перечень). В Перечень включаются работы на высоте, выполняемые на нестационарных рабочих местах. Для производства работ, указанных в Перечне, работодатель обязан обеспечить разработку плана производства работ (далее по тексту - ППР) на высоте. Работодатель назначает должностное лицо, ответственное за утверждение ППР на высоте.

.18. Основным опасным производственным фактором при работе на высоте является расположение рабочего места на значительной высоте относительно поверхности земли (пола) и связанное с этим возможное падение работника или падение предметов на работника.

.19. Кроме того, во время работы на высоте на работников могут оказывать неблагоприятное воздействие в основном следующие опасные и вредные производственные факторы:

      разрушающиеся конструкции (лестницы, стремянки, леса, подмости и другое вспомогательное оборудование);

      падающие предметы, инструмент, материалы и т. п.;

      повышенное скольжение (вследствие обледенения, увлажнения, замасливания поверхностей грунта, пола, трапов, стремянок, лестниц, лесов, подмостей и т. п.);

      движущиеся автотранспорт, самоходные механизмы, перемещающиеся изделия, материалы;

      повышенная скорость ветра;

      разряды атмосферного электричества (молнии);

      физическое перенапряжение (например, при длительном выполнении работы в неудобной позе);

      недостаточная освещенность рабочего места.

.20. Для предупреждения неблагоприятного воздействия на здоровье работников опасных и вредных производственных факторов им следует пользоваться спецодеждой, спецобувью и другими средствами индивидуальной защиты (в т. ч. защитными касками, противоскользящей обувью и т. п.), а также системами обеспечения безопасности работ на высоте (удерживающими системами, системами позиционирования, страховочными системами, системами спасения и эвакуации).

.21. Работники обязаны соблюдать трудовую и производственную дисциплину, Правила трудового распорядка, установленные для них режимы труда и отдыха.

.22. Для предупреждения возможности возникновения пожара работники должны соблюдать требования пожарной безопасности сами и не допускать нарушения этих требований другими работниками; курить разрешается только в специально отведенных для этого местах.

.23. Для предупреждения возможности заболеваний работникам следует соблюдать правила личной гигиены, в том числе перед приемом пищи необходимо тщательно мыть руки с мылом.

.24. В случае заболевания, плохого самочувствия, недостаточного отдыха работнику следует сообщить о своем состоянии непосредственному руководителю и обратиться за медицинской помощью.

.25. Если с кем-либо из работников произошел несчастный случай, то пострадавшему необходимо оказать первую помощь, сообщить о случившемся руководителю и сохранить обстановку происшествия, если это не создает опасности для окружающих.

.26. Работники при необходимости должны уметь оказать первую помощь, пользоваться медицинской аптечкой.

.27. Работник, допустивший нарушение или невыполнение требований инструкции по охране труда, рассматривается как нарушитель производственной дисциплины и может быть привлечен к дисциплинарной ответственности, а в зависимости от последствий - и к уголовной; если нарушение связано с причинением материального ущерба, то виновный может привлекаться к материальной ответственности в установленном порядке.

. ТРЕБОВАНИЯ ОХРАНЫ ТРУДА ПЕРЕД НАЧАЛОМ РАБОТЫ

.1. Перед началом работы следует надеть спецодежду, спецобувь и другие необходимые для работы средства индивидуальной защиты от воздействия опасных и вредных производственных факторов.

.2. Спецодежда должна быть соответствующего размера, чистой и не стеснять движений.

.3. Перед началом работы необходимо приготовить средства индивидуальной защиты, осмотреть их и убедиться в их полной исправности. Работники, допускаемые к работам на высоте, должны проводить осмотр выданных им средств индивидуальной защиты до и после каждого использования.

.4. В зависимости от конкретных условий работ на высоте работники должны быть обеспечены следующими средствами индивидуальной защиты - совместимыми с системами безопасности от падения с высоты:

      специальной одеждой - в зависимости от воздействующих вредных производственных факторов;

      касками - для защиты головы от травм, вызванных падающими предметами или ударами о предметы и конструкции, для защиты верхней части головы от поражения переменным электрическим током напряжением до 440 В;

      очками защитными, щитками, защитными экранами - для защиты от пыли, летящих частиц, яркого света или излучения;

      защитными перчатками или рукавицами, защитными кремами и другими средствами - для защиты рук;

      специальной обувью соответствующего типа - при работах с опасностью получения травм ног;

      средствами защиты органов дыхания - от пыли, дыма, паров и газов;

      индивидуальными кислородными аппаратами и другими средствами - при работе в условиях вероятной кислородной недостаточности;

      средствами защиты слуха;

      средствами защиты, используемыми в электроустановках;

      спасательными жилетами и поясами - при опасности падения в воду

      сигнальными жилетами - при выполнении работ в местах движения транспортных средств.

.5. Работники, выполняющие работы на высоте, обязаны пользоваться защитными касками с застегнутым подбородочным ремнем. Внутренняя оснастка и подбородочный ремень должны быть съемными и иметь устройства для крепления к корпусу каски. Подбородочный ремень должен регулироваться по длине, способ крепления должен обеспечивать возможность его быстрого отсоединения и не допускать самопроизвольного падения или смещения каски с головы работающего.

.6. В зависимости от конкретного вида работы, выполняемого на высоте, перед началом работы должны быть подготовлены соответствующие системы обеспечения безопасности работ на высоте (удерживающие системы, системы позиционирования, страховочные системы, системы спасения и эвакуации).

.7. Работники должны знать, что в качестве привязи в страховочных системах используется страховочная привязь. Использование безлямочных предохранительных поясов запрещено ввиду риска травмирования или смерти вследствие ударного воздействия на позвоночник работника при остановке падения, выпадения работника из предохранительного пояса или невозможности длительного статичного пребывания работника в предохранительном поясе в состоянии зависания.

.8. Прежде чем приступать к работе на высоте, следует осмотреть место предстоящей работы и привести его в порядок; если оно загромождено ненужными предметами, мешающими в работе, необходимо убрать все лишнее, не используемое в работе.

.9. При проведении работ на высоте необходимо обеспечить наличие защитных, страховочных и сигнальных ограждений и определить границы опасных зон исходя из действующих норм и правил с учетом наибольшего габарита перемещаемого груза, расстояния разлета предметов или раскаленных частиц металла (например, при сварочных работах), размеров движущихся частей машин и оборудования. Место установки ограждений и знаков безопасности указывается в технологических картах на проведение работ или в ППР на высоте в соответствии с действующими техническими регламентами, нормами и правилами.

.10. При установке и снятии ограждений необходимо соблюдать следующие требования охраны труда:

      установка и снятие ограждений должны осуществляться в технологической последовательности, обеспечивающей безопасность выполнения соответствующих работ;

      установка и снятие средств ограждений и защиты должны осуществляться с применением страховочных систем;

      установку и снятие ограждений должны выполнять специально обученные работники под непосредственным контролем ответственного исполнителя работ.

.11. При невозможности применения защитных ограждений допускается производство работ на высоте с применением систем безопасности.

.12. Для ограничения доступа работников и посторонних лиц в зоны повышенной опасности, где возможно падение с высоты, травмирование падающими с высоты материалами, инструментом и другими предметами, а также частями конструкций, находящихся в процессе сооружения, обслуживания, ремонта, монтажа или разборки, необходимо обеспечить их ограждение.

.13. При невозможности установки заграждений для ограничения доступа работников в зоны повышенной опасности ответственный исполнитель (производитель) работ должен осуществлять контроль местонахождения работников и запрещать им приближаться к зонам повышенной опасности.

.14. Проемы, в которые могут упасть работники, закрываются, ограждаются и обозначаются знаками безопасности.

.15. Проходы на площадках и рабочих местах должны отвечать следующим требованиям:

      ширина одиночных проходов к рабочим местам и на рабочих местах должна быть не менее 0,6 м, расстояние от пола прохода до элементов перекрытия (далее - высота в свету) - не менее 1,8 м;

      лестницы или скобы, применяемые для подъема или спуска работников на рабочие места на высоте более 5 м, должны быть оборудованы системами безопасности.

.16. При расположении рабочих мест на перекрытиях воздействие нагрузок от размещенных материалов, оборудования, оснастки и людей не должно превышать расчетных нагрузок на перекрытие, предусмотренных проектом.

.17. Работникам, допускаемым к работам на высоте без применения инвентарных лесов и подмостей, с применением систем канатного доступа по заданию работодателя на производство работ выдается оформленный на специальном бланке наряд-допуск на производство работ.

.18. В наряде-допуске должно быть определено место производства работ на высоте, их содержание, условия проведения работ, время начала и окончания работ, состав бригады, выполняющей работы, ответственных лиц при выполнении этих работ. Если работы на высоте проводятся одновременно с другими видами работ, требующими оформления наряда-допуска, то может оформляться один наряд-допуск с обязательным включением в него сведений о производстве работ на высоте и назначением лиц, ответственных за безопасное производство работ.

.19. В исключительных случаях (предупреждение аварии, устранение угрозы жизни работников, ликвидация последствий аварий и стихийных бедствий) работы на высоте могут быть начаты без оформления наряда-допуска под руководством работников, назначаемых работодателем ответственными за безопасную организацию и проведение работ на высоте. Если указанные работы выполняются более суток, оформление наряда-допуска должно быть произведено в обязательном порядке.

.20. При выполнении работ на высоте в охранных зонах сооружений или коммуникаций наряд-допуск выдается при наличии письменного разрешения владельца этого сооружения или коммуникации.

.21. До начала выполнения работ по наряду-допуску для выявления риска, связанного с возможным падением работника, необходимо провести осмотр рабочего места на предмет соответствия Правилам (далее по тексту - осмотр рабочего места).

.22. Осмотр рабочего места проводится ответственным руководителем работ в присутствии ответственного исполнителя работ.

.23. При осмотре рабочего места должны выявляться причины возможного падения работника, в том числе:

      ненадежность анкерных устройств;

      наличие хрупких (разрушаемых) поверхностей, открываемых или незакрытых люков, отверстий в зоне производства работ;

      наличие скользкой рабочей поверхности, имеющей не огражденные перепады высоты;

      возможная потеря работником равновесия при проведении работ со строительных лесов, с подмостей, стремянок, приставных лестниц, в люльках подъемника, нарушение их устойчивости, их разрушение или опрокидывание;

      разрушение конструкции, оборудования или их элементов при выполнении работ непосредственно на них.

.24. Лестницы и стремянки перед применением должны пройти осмотр ответственным исполнителем работ.

.25. При осмотре деревянных лестниц и стремянок следует обратить внимание на состояние древесины. Трещины в ступеньках и тетивах допускаются длиной не более 100 мм и глубиной не более 5 мм. Все детали деревянных лестниц и стремянок должны иметь гладкую обструганную поверхность.

.26. При осмотре металлических лестниц и стремянок следует убедиться в отсутствии деформации узлов, трещин в металле, заусенцев, острых краев, нарушений крепления ступенек к тетивам.

.27. Во время проверки исправности и устойчивости стремянок, лестниц, которые будут использоваться во время работы, следует помнить о следующем:

      конструкция приставных лестниц и стремянок должна исключать возможность сдвига и опрокидывания их при работе;

      на нижних концах приставных лестниц и стремянок должны быть оковки с острыми наконечниками для установки на земле. При использовании лестниц и стремянок на гладких опорных поверхностях (паркет, металл, плитка, бетон) на нижних концах должны быть надеты башмаки из резины или другого нескользкого материала

      при установке приставной лестницы в условиях, когда возможно смещение ее верхнего конца, последний необходимо надежно закрепить за устойчивые конструкции;

      верхние концы лестниц, приставляемых к трубам или проводам, снабжаются специальными крюками-захватами, предотвращающими падение лестницы от напора ветра или случайных толчков;

      у подвесных лестниц, применяемых для работы на конструкциях или проводах, должны быть приспособления, обеспечивающие прочное закрепление лестниц за конструкции или провода;

      устанавливать и закреплять лестницы и площадки на монтируемые конструкции следует до их подъема. Длина приставной лестницы должна обеспечивать работнику возможность работы в положении стоя на ступени, находящейся на расстоянии не менее 1 м от верхнего конца лестницы;

      не допускается установка лестниц на ступенях маршей лестничных клеток. Для выполнения работ в этих условиях следует применять подмости;

      леса, подмости и другие приспособления для выполнения работ на высоте должны быть изготовлены по типовым проектам и взяты организацией на инвентарный учет;

      на инвентарные леса и подмости должен иметься паспорт завода-изготовителя;

      применение неинвентарных лесов допускается в исключительных случаях, и их сооружение должно производиться по индивидуальному проекту с расчетами всех основных элементов на прочность, а лесов в целом - на устойчивость; проект должен быть завизирован лицом, назначенным в организации ответственным за безопасную организацию работ на высоте, и утвержден главным инженером (техническим директором) организации или непосредственно руководителем организации;

      вблизи проездов средства подмащивания устанавливают на расстоянии не менее 0,6 м от габарита транспортных средств;

      подмости и леса высотой до 4 м допускаются к эксплуатации после их приемки руководителем работ с отметкой в журнале приема и осмотра лесов и подмостей;

      леса высотой более 4 м от уровня земли, пола или площадки, на которой установлены стойки лесов, допускаются к эксплуатации после приемки лицом, назначенным ответственным за безопасную организацию работ на высоте. При выполнении работ подрядной организацией с использованием сооружаемых ею лесов последние должно принимать в эксплуатацию лицо, назначенное ответственным за безопасную организацию работ на высоте, подрядной организации в присутствии лица, ответственного за безопасную организацию работ на высоте организации, на территории которой проводятся работы. Результаты приемки лесов утверждаются главным инженером (техническим директором) организации, принимающей леса в эксплуатацию или непосредственно руководителем организации. Допускается утверждение результатов приемки лесов, сооружаемых подрядной организацией для своих нужд, начальником участка (цеха) этой организации. До утверждения результатов приемки лесов работа с лесов не допускается;

      леса, с которых в течение месяца и более работа не производилась, перед возобновлением работ подвергают приемке повторно;

      при приемке лесов и подмостей проверяется на соответствие паспорту завода-изготовителя: наличие связей и креплений, обеспечивающих устойчивость, прочность узлов крепления отдельных элементов; исправность рабочих настилов и ограждений; вертикальность стоек; надежность опорных площадок и наличие заземления (для металлических лесов);

      подвесные леса, подмости и люльки после их монтажа (сборки, изготовления) могут быть допущены к эксплуатации после соответствующих испытаний;

      подвесные леса во избежание раскачивания должны быть прикреплены к несущим частям здания (сооружения) или конструкциям;

      в местах подъема работников на леса и подмости должны размещаться плакаты с указанием схемы их размещения и величин допускаемых нагрузок, а также схемы эвакуации работников в случае возникновения аварийной ситуации;

      перед началом работы на высоте в составе бригады каждый член бригады должен быть проинструктирован и ознакомлен со своими конкретными обязанностями, ППР на высоте, нарядом-допуском, технологическими картами и другими нормативными документами в части, его касающейся;

      перед работой вблизи токоведущих частей, находящихся под напряжением и не защищенных от случайного прикосновения к ним, напряжение должно быть отключено; при этом у выключающего устройства должен быть вывешен предупредительный знак: «Не включать! Идут работы!»;

      перед началом работы нужно убедиться в достаточности освещения места предстоящего проведения работ;

      перед началом работы работник должен осмотреть инструмент, приспособления, вспомогательное оборудование, которые будут использоваться в работе, и убедиться в их полной исправности;

      работник должен лично убедиться в том, что все меры, необходимые для обеспечения безопасности предстоящей работы, выполнены;

      работник не должен приступать к работе, если у него имеются сомнения в обеспечении безопасности выполнения предстоящей работы.

.28. Не допускается выполнение работ на высоте:

      в открытых местах при скорости воздушного потока (ветра) 15 м/с и более;

      при грозе или тумане, исключающем видимость в пределах фронта работ, а также при гололеде с обледенелых конструкций и в случаях нарастания стенки гололеда на проводах, оборудовании, инженерных конструкциях (в т. ч. опорах линий электропередачи), деревьях;

      при монтаже (демонтаже) конструкций с большой парусностью при скорости ветра 10 м/с и более.

.1. Работник, находящийся в болезненном или переутомленном состоянии, а также под воздействием алкоголя, наркотических веществ или лекарств, притупляющих внимание и реакцию, не должен приступать к работе на высоте, так как это может привести к несчастному случаю.

.2. Во время работы работник должен вести себя спокойно и выдержанно, избегать конфликтных ситуаций, которые могут вызвать нервно-эмоциональное напряжение и отразиться на безопасности труда.

.3. Во время работы на высоте следует быть внимательным, не отвлекаться от выполнения своих обязанностей.

.4. Все работы на высоте должны выполняться в соответствии с технологической документацией и правилами технической эксплуатации применяемого оборудования, машин и механизмов с соблюдением требований, обеспечивающих защиту работника от воздействия опасных и вредных производственных факторов.

.5. Работы на высоте должны производиться со специально предназначенных для каждого вида работ и имеющих защитные ограждения вспомогательных приспособлений (стремянок, лестниц, подмостей, вышек, платформ и т. п.). Не допускается выполнять работы на высоте со случайных опорных поверхностей (ящиков, бочек, подоконников и т. п.), устраивать на них настилы для работы, а также пользоваться лесами, подмостями и платформами как опорными конструкциями для крепления грузоподъемных механизмов (талей, блоков и т. п.).

.6. Учитывая, что падения с высоты, в том числе со стремянок, лестниц, платформ, лесов, подмостей, являются наиболее распространенной причиной травматизма на производстве, работникам необходимо особое внимание проявлять к безопасной организации своего рабочего места.

.7. Организация рабочего места должна обеспечивать устойчивое положение и свободу движений работника.

.8. Не следует работать длительное время в неудобной рабочей позе (например, с вытянутыми или высоко поднятыми руками), которая вызывает повышенную утомляемость.

.9. Стремянку или лестницу при выполнении работ следует устанавливать так, чтобы отсутствовала необходимость перемещения своего центра тяжести за пределы рабочей площадки стремянки (габаритов лестницы).

.10. Приставные лестницы без рабочих площадок допускается применять только для перехода работников между отдельными ярусами здания или для выполнения работ, не требующих от работника упора в строительные конструкции здания.

.11. Не допускается работать на переносных лестницах и стремянках:

      над вращающимися (движущимися) механизмами, работающими машинами, транспортерами;

      с использованием электрического и пневматического инструмента, строительно-монтажных пистолетов;

      при выполнении газосварочных, газопламенных и электросварочных работ;

      при натяжении проводов и для поддержания на высоте тяжелых деталей.

.12. При использовании приставной лестницы или стремянок не допускается:

      работать с двух верхних ступенек стремянок, не имеющих перил или упоров;

      находиться на ступеньках приставной лестницы или стремянки более чем одному человеку;

      поднимать и опускать груз по приставной лестнице и оставлять на ней инструмент.

.13. При работе с приставной лестницы в местах с оживленным движением транспортных средств или людей для предупреждения ее падения от случайных толчков (независимо от наличия на концах лестницы наконечников) место ее установки следует ограждать или охранять. В случаях когда невозможно закрепить лестницу при установке ее на гладком полу, у ее основания должен стоять работник в каске и удерживать лестницу в устойчивом положении.

.14. При перемещении лестницы двумя работниками ее необходимо нести наконечниками назад, предупреждая встречных об опасности. При переноске лестницы одним работником она должна находиться в наклонном положении так, чтобы передний конец ее был приподнят над землей не менее чем на 2 м.

.15. При работе с приставной лестницы на высоте более 1,8 м надлежит применять страховочную систему, прикрепляемую к конструкции сооружения или к лестнице (при условии закрепления лестницы к строительной или другой конструкции).

.16. Оборудование, механизмы, ручной механизированный и другой инструмент, инвентарь, приспособления и материалы, используемые при выполнении работы на высоте, должны применяться с обеспечением мер безопасности, исключающих их падение (размещение в сумках и подсумках, крепление, строповка, размещение на достаточном удалении от границы перепада высот или закрепление к страховочной привязи работника).

.17. Инструменты, инвентарь, приспособления и материалы весом более 10 кг должны быть подвешены на отдельном канате с независимым анкерным устройством.

.18. Материалы, изделия, конструкции при приеме и складировании на рабочих местах, находящихся на высоте, должны приниматься в объемах, необходимых для текущей переработки, и укладываться так, чтобы не загромождать рабочее место и проходы к нему исходя из несущей способности лесов, подмостей, площадок, на которых производится размещение указанного груза.

.19. Для подъема груза на леса используют блоки, укосины и другие средства малой механизации, которые следует крепить согласно ППР на высоте.

.20. Настилы и лестницы лесов и подмостей необходимо периодически в процессе работы и ежедневно после окончания работы очищать от мусора, а в зимнее время - очищать от снега и наледи и при необходимости посыпать песком.

.21. Рабочие места должны содержаться в чистоте. Хранение заготовок, материалов, инструмента, готовой продукции, отходов производства должно быть осуществлено в соответствии с технологическими и маршрутными картами.

.22. На рабочем месте не допускается размещать и накапливать неиспользуемые материалы, отходы производства, запрещается загромождать пути подхода к рабочим местам и выхода от них.

.23. Для безопасного перехода на высоте с одного рабочего места на другое при невозможности устройства переходных мостиков с защитными ограждениями должны применяться страховочные системы, использующие в качестве анкерного устройства жесткие или гибкие анкерные линии, расположенные горизонтально или под углом до 7° к горизонту.

.24. Работы, выполняемые на высоте без защитных ограждений, производятся с применением удерживающих, позиционирующих, страховочных систем и (или) систем канатного доступа в соответствии с ППР на высоте или нарядом-допуском.

.25. Выполнение работ с люлек строительных подъемников (вышки) и фасадных подъемников в соответствии с осмотром рабочего места осуществляется с использованием удерживающих систем или страховочных систем.

.26. При эксплуатации передвижных средств подмащивания необходимо выполнять следующие требования:

      уклон поверхности, по которой осуществляется перемещение средств подмащивания в поперечном и продольном направлениях, не должен превышать величин, указанных в паспорте или инструкции завода-изготовителя для этого типа средств подмащивания;

      передвижение средств подмащивания при скорости ветра более 10 м/с не допускается;

      перед передвижением средства подмащивания должны быть освобождены от материалов и тары и на них не должно быть людей;

      двери в ограждении средств подмащивания должны открываться внутрь и иметь фиксирующее устройство двойного действия, предохраняющее их от самопроизвольного открытия.

.27. При выполнении работ на высоте в составе бригады каждый член бригады должен выполнять указания ответственного исполнителя работ, а также требования инструкций по охране труда по профессии и по видам работ, к которым он допущен.

.28. Безопасность работников при работе на высоте в подвесных люльках в дополнение к общим требованиям, предъявляемым к работе на лесах, должна обеспечиваться использованием страховочной системы безопасности.

.29. Система канатного доступа может применяться только в том случае, когда осмотр рабочего места указывает, что при выполнении работы использование других, более безопасных методов и оборудования, нецелесообразно.

.30. Для подъема и спуска работника по вертикальной (более 70° к горизонту) и наклонной (более 30° к горизонту) плоскостям, а также выполнения работ в состоянии подвеса в безопорном пространстве применяется система канатного доступа состоящая из анкерных(ого) устройств(а) и соединительной подсистемы (гибкая или жесткая анкерная линия, стропы, канаты, карабины, устройство для спуска, устройство для подъема).

.31. Работы с использованием систем канатного доступа производятся с обязательным использованием страховочной системы, состоящей из анкерного устройства, соединительной подсистемы (гибкая или жесткая анкерная линия, амортизатор, стропы, канаты, карабины, ловитель, страховочная привязь).

.32. Не допускается использование одного каната одновременно для страховочной системы и для системы канатного доступа.

.33. Работы с использованием системы канатного доступа на высоте требуют разработки ППР на высоте и выполняются по наряду-допуску.

.34. Места и способы закрепления системы канатного доступа и страховочной системы к анкерным устройствам указываются в ППР на высоте или наряде-допуске.

.35. Система канатного доступа и страховочная система должны иметь отдельные анкерные устройства. Точки крепления являются пригодными, если каждая выдерживает без разрушения нагрузку не менее 22 кН.

.36. Если планом мероприятий при аварийной ситуации и при проведении спасательных работ предполагается крепить системы спасения и эвакуации к используемым при работах точкам крепления, то они должны выдерживать без разрушения нагрузку не менее 24 кН.

.37. В местах, где канат может быть поврежден или защемлен, нужно использовать защиту каната.

.38. Все закрепленные одним концом канаты (гибкие анкерные линии) должны иметь конечные ограничители, например узел, во избежание возможности при спуске миновать конец каната. В соответствии с рекомендациями производителей СИЗ ограничитель на канате может быть совмещен с утяжелителем.

.39. При одновременном выполнении работ несколькими работниками работа одного работника над другим по вертикали не допускается.

.40. Использование узлов для крепления соединительной подсистемы к анкерному устройству в системах канатного доступа недопустимо. Узлы, используемые для подвешивания инструмента, инвентаря, приспособлений и материалов, а также применяемые на канатах оттяжки, должны быть указаны в ППР на высоте и не должны непреднамеренно распускаться или развязываться.

.41. В исключительных случаях (экстренная эвакуация, угроза жизни), принимая во внимание оценку рисков падения с высоты, может быть дано разрешение использовать только один канат для одновременного использования в системе канатного доступа и страховочной системе.

.42. При продолжительности работы с использованием системы канатного доступа более 30 минут должно использоваться рабочее сидение.

.43. Рабочее сидение, конструктивно не входящее в состав страховочной привязи, должно иметь опору для спины в области поясницы. Для улучшения эргономики рабочее сидение может предусматривать регулируемую по высоте опору для ног (подножку).

.44. В системах канатного доступа преимущественно применяются статические канаты, изготовленные из синтетических волокон. Допускается использование стальных канатов с использованием соответствующих устройств для подъема и спуска.

.45. Длина канатов, применяемых как в системе канатного доступа, так и в совместно используемой с ней страховочной системе, а также способы увеличения их длины, необходимой для выполнения работ, определяются ППР на высоте.

.46. При перерыве в работах на протяжении рабочей смены (например, на обед, по условиям работы) члены бригады должны быть удалены с рабочего места (с высоты), компоненты страховочных систем убраны, а канаты системы канатного доступа либо подняты, либо обеспечена невозможность доступа к ним посторонних лиц. Члены бригады не имеют права возвращаться после перерыва на рабочее место без ответственного исполнителя работ. Допуск после такого перерыва выполняет ответственный исполнитель работ без оформления в наряде-допуске.

.47. При скорости ветра 15 м/с и более, ухудшении видимости из-за темноты или тумана, приближении грозы или проявлении гололеда выполнение работ на высоте должно быть прекращено.


Заключение

Изучив новые строительные технологии, мы узнали о новых практичных и не дорогих строительных материалах. Мы ещё раз вспомнили о соотношении компонентов в различных видах растворов, а так же последовательность выполнения высококачественной штукатурки. Рассмотрели инструменты требуемые для нанесения раствора и последовательность штукатурных слоев, а так же требования к качеству высококачественной штукатурки. При этом мы изучили окраску по деревянным поверхностям; виды окрасочных составов; подготовку и обработку поверхности перед нанесение окрасочного состава, а так же технологию окраски. А также чтобы не травмироваться на производстве вспомнили технику безопасности при работе на высоте. К тому же мы провели расчёт расхода материалов при высококачественной штукатурке.

Похожие работы на - Штукатурка. Окраска по деревянным поверхностям

 

Не нашли материал для своей работы?
Поможем написать уникальную работу
Без плагиата!
Без нейросетей!